JP3600907B2 - 壁材への穿孔方法及び穿孔具 - Google Patents
壁材への穿孔方法及び穿孔具 Download PDFInfo
- Publication number
- JP3600907B2 JP3600907B2 JP31214696A JP31214696A JP3600907B2 JP 3600907 B2 JP3600907 B2 JP 3600907B2 JP 31214696 A JP31214696 A JP 31214696A JP 31214696 A JP31214696 A JP 31214696A JP 3600907 B2 JP3600907 B2 JP 3600907B2
- Authority
- JP
- Japan
- Prior art keywords
- wall material
- center
- hole
- blade
- piercing
- Prior art date
- Legal status (The legal status is an assumption and is not a legal conclusion. Google has not performed a legal analysis and makes no representation as to the accuracy of the status listed.)
- Expired - Fee Related
Links
- 239000000463 material Substances 0.000 title claims description 87
- 238000000034 method Methods 0.000 title claims description 7
- 238000005553 drilling Methods 0.000 claims description 45
- 230000002093 peripheral effect Effects 0.000 description 15
- 238000005520 cutting process Methods 0.000 description 6
- 238000004080 punching Methods 0.000 description 6
- 238000003780 insertion Methods 0.000 description 5
- 230000037431 insertion Effects 0.000 description 5
- 230000000149 penetrating effect Effects 0.000 description 5
- 239000002699 waste material Substances 0.000 description 5
- 230000000694 effects Effects 0.000 description 4
- 238000001514 detection method Methods 0.000 description 1
- 238000006073 displacement reaction Methods 0.000 description 1
- 239000011888 foil Substances 0.000 description 1
- 239000002184 metal Substances 0.000 description 1
- 238000003825 pressing Methods 0.000 description 1
- 230000002265 prevention Effects 0.000 description 1
- 230000001105 regulatory effect Effects 0.000 description 1
- 238000009987 spinning Methods 0.000 description 1
Images
Classifications
-
- B—PERFORMING OPERATIONS; TRANSPORTING
- B28—WORKING CEMENT, CLAY, OR STONE
- B28D—WORKING STONE OR STONE-LIKE MATERIALS
- B28D1/00—Working stone or stone-like materials, e.g. brick, concrete or glass, not provided for elsewhere; Machines, devices, tools therefor
- B28D1/14—Working stone or stone-like materials, e.g. brick, concrete or glass, not provided for elsewhere; Machines, devices, tools therefor by boring or drilling
- B28D1/146—Tools therefor
-
- B—PERFORMING OPERATIONS; TRANSPORTING
- B28—WORKING CEMENT, CLAY, OR STONE
- B28D—WORKING STONE OR STONE-LIKE MATERIALS
- B28D7/00—Accessories specially adapted for use with machines or devices of the preceding groups
- B28D7/02—Accessories specially adapted for use with machines or devices of the preceding groups for removing or laying dust, e.g. by spraying liquids; for cooling work
Landscapes
- Engineering & Computer Science (AREA)
- Mechanical Engineering (AREA)
- Mining & Mineral Resources (AREA)
- Drilling Tools (AREA)
- Two-Way Televisions, Distribution Of Moving Picture Or The Like (AREA)
- Perforating, Stamping-Out Or Severing By Means Other Than Cutting (AREA)
Description
【発明の属する技術分野】
本発明は穿孔具に関するものであり、より詳しくは、壁材に対して透孔を穿設する際に、壁材を貫通するセンタードリルの先端や、壁材に穿設された穿孔を介して壁材を貫通する穿孔刃によって、壁裏に配置されたケーブルや配線器具、配線ボックス内に収容されたケーブル、若しくは配線ボックス自体を破損することのない穿孔具に関するものである。
【0002】
【従来の技術】
従来より、壁材等に対して大径孔の透孔を穿設する穿孔具としては、多種多様のドリルが開発され市販されている。大径孔の透孔を円滑に穿設するために、開口周縁に穿孔刃を設けた円筒状のコアー体とセンタードリルとを組み合わせた一般にホルソー或いはコアードリルと称される穿孔具が広く実用されている。
【0003】
【発明が解決しようとする課題】
ところで、図14に一部破断正面図で示した特開平6−91417号公報記載の穿孔具30は、壁材に対してセンタードリル31で中心孔を先行して穿孔し、この後からコアー体32の穿孔刃33を切り込ませて大径孔の透孔を穿設するものである。
【0004】
かかる穿孔具30によって例えば壁裏に配置された配線ボックスの一側の略全体を壁表に臨ませるべく壁材に対して透孔を穿設する作業は、円筒状のコアー体32の開口周縁に設けた穿孔刃33を壁材に対して押し付けることにより行うが、壁材に対してセンタードリル31で中心孔を先行して穿孔するため、壁材を貫通したセンタードリル31の先端が、壁裏に配置されたケーブルや配線器具、壁裏に配置された配線ボックス内に収容されているケーブル、若しくは配線ボックス自体を破損する懸念があった。
【0005】
一方、壁材に対して透孔を穿設する際に、コアー体42の開口周縁に設けた穿孔刃43から後退可能に構成されたセンタードリル41を具備する穿孔具40が、実開昭63−97411号公報、実開平1−74009号公報、及び特開平5−8109号公報に記載されている。かかる穿孔具として例えば図15に示す特開平5−8109号公報に記載の穿孔具40は、壁材に対して透孔を穿設した後、コアー体42に備えた穿孔刃43が透孔から配線ボックス内に進入するから、この穿孔刃43によって、壁裏に配置されたケーブルや配線器具、配線ボックス内に収容されているケーブル、若しくは配線ボックス自体を破損する懸念があった。
【0006】
本発明は上記の点に鑑みなされたものであって、壁材に対して透孔を穿設する際に、壁材を貫通するセンタードリルの先端や、壁材に穿設された穿孔を介して壁材を貫通する穿孔刃によって、壁裏に配置されたケーブルや配線器具、配線ボックス内に収容されたケーブル、若しくは配線ボックス自体を破損することのない穿孔具を創案し、提供することをその目的とするものである。
【0007】
【課題を解決するための手段】
上記の目的を達成するため請求項1の発明の要旨とするところは、配線器具を設備するための透孔を穿孔刃によって壁材に穿設しうる穿孔具であって、回転して前記壁材に透孔を穿設する穿孔刃と、前記穿孔刃の回転中心に、前記穿孔刃に対して前記回転中心の軸方向に相対移動可能に取付けられ、前記透孔を穿設する際の位置決めとなるセンター軸と、前記穿孔刃に、前記穿孔刃に対して前記回転中心の軸方向に相対移動可能であって内部に該穿孔刃を回転自在に収容した状態で取付けられ、前記壁材の透孔の周縁外側の位置に当接して切り屑の散乱を防止するカバー体とを備え、前記穿孔刃は、前記カバー体より後方に後退して備えられ、前記カバー体より前方に突出させることによって前記壁材に透孔を穿設するとともに、前記カバー体より前方への移動距離が前記壁材の厚さに対応して制限され、前記センター軸は、その先端が前記カバー体における前記壁材との当接部より前方に突出させて備えられるとともに、前記カバー体が前記壁材に当接するまで後退可能に備えられたことを特徴とする穿孔具にある。
また、請求項4の発明の要旨とするところは、配線器具を設備するための透孔を穿孔刃によって壁材に穿設する穿孔方法であって、請求項1乃至請求項3のいずれか1項に記載の穿孔具を使用し、まず、壁材に対する穿孔中心を位置決めし、次いで、前記センター軸を前記壁材の穿孔中心に当接した後、その状態で前記センター軸を後退させつつ前記カバー体を前記壁材に当接し、次に、前記センター軸を前記壁材に付勢させた状態で前記穿孔刃を前方に前進させることにより、前記壁材に前記透孔を穿設することを特徴とする穿孔方法にある。
これらにより、センター軸が前方向に常時付勢されているから穿設する透孔の中心位置のズレ防止ができ、壁材に穿孔を穿設した後にあっては、センター軸と穿孔刃の移動距離が制限されているから、センター軸の先端や穿孔刃が配線ボックス内に進入して、壁裏に配置されたケーブルや、配線ボックス内に収容されているケーブル、配線ボックス自体等の破損を防止できる。
【0008】
請求項2の発明の要旨とするところは、請求項1に記載の穿孔具において、穿孔刃のカバー体より前方への移動量を透孔を穿設せしめる壁材の厚さに応じて自在に調整可能ならしめる調節手段が備えられていることを特徴とする穿孔具にあり、請求項1に記載の穿孔具の作用に加え、配線ボックスの前面に配設されている壁材の厚さが異なっていても自在に対応できる。
【0009】
請求項3の発明の要旨とするところは、請求項1または請求項2に記載の穿孔具において、前記センター軸がその先端に壁材に食い込んで透孔の中心位置を位置決めする尖端を有することを特徴とする穿孔具にあり、請求項1または請求項2に記載の穿孔具の作用に加え、壁材に穿設する透孔の中心位置のズレ防止ができ、所定の正確な位置に所定の真円形の透孔を容易に穿設できる。
【0011】
【発明の実施の形態】
以下、本発明の実施例を図面に基づいて説明する。
図1乃至図7において、第一実施例の穿孔具20は、
ハンディータイプの回転駆動工具に先端が着脱自在に取付され、該回転駆動工具により回転駆動する回転軸1と、該回転軸1に一端が着脱自在に止着され壁材に穿設する透孔10の穿孔中心の位置を提供するセンター軸2(2d)と、前記透孔10の穿孔中心の位置と同心状の中心貫通孔5aが形成され該中心貫通孔5aに前記回転軸1の下方が着脱自在に挿嵌され、かつ前記中心貫通孔5aより所定の間隔離間した相対向する両側に取り付けた刃体ブラケット3を介して固着せしめた穿孔刃4を有する回転体5とからなる本体ブロック6と、
側壁面に開口部7aが設けられ前記回転体5の全体を覆うカップ状の脚7bと、該脚7bの上部に一体形成され前記回転軸1が挿通される挿通孔7cを設けた筒状部7dと、前記開口部7aに着脱自在に係止させ該開口部7aの全体を覆うための蓋部材7eとからなるカバー体7と、
該カバー体7の上面に固設され前記本体ブロック6の移動距離を制限する切込み深さ調節装置13と、を含み構成され、
壁裏に配置された配線ボックス9の前面の略全体を壁表に臨ませるべく壁材8に対して透孔10を穿設する際に、壁裏に配置されたケーブルや配線器具、配線ボックス9自体、或いは、配線ボックス9内に収容されているケーブルなどを破損することなく透孔10を穿設できる。
【0012】
前記回転軸1は、回転駆動工具のチャッキングに着脱自在に取付可能な把持部1aと、該把持部1aから延び先端を開口する円筒状の空間を有するハウジング1bとを一体に備え、回転軸1の下部軸心に後述するセンター軸2に形設された被取着部2aに挿脱自在に挿入可能な取着部1cが形設されている。また、前記ハウジング1b内には、弾発力によりセンター軸2を突出方向に向けて常時付勢するとともに、弾発力に抗してハウジング1bの内方に没入可能とする、コイルスプリングに代表されるスプリング(弾性体)1dが内装されている。このスプリング1dは、一端をハウジング1bの内底面に弾支し、他端をセンター軸2に形成された被取着部2aに弾支せしめている。
【0013】
前記センター軸2は、一端に前記ハウジング1bに形成された取着部1cと対応する形状に形成された被取着部2aが形設されており、該被取着部2aに前記回転軸1に形設された取着部1cが挿脱自在に取り付けされ、ストッパーリング(着脱手段)2bにより回転軸1に対して空転するよう止着できるようになっている。一方、前記センター軸2他端に尖端2cが一体形成され壁材8に当接せしめる第二当接部2dを提供することができるようになっている。なお、前記センター軸2は、空転不能に備えても構わないし、空転しながら後退するものであってもよいなど、様々に設計変更できる。
【0014】
すなわち、このセンター軸2は、前記回転軸1に取り付けられ空転可能であり、前記回転軸1内に内装されたコイルスプリング1dの復元力により突出方向に付勢されているものの、本発明の穿孔具20の全体を壁材8に向けて押し付けると、前記尖端2cを壁材8の表面に進入させそのままの状態でセンター軸2をスプリング1dに抗して回転軸1の内方に向けて独立して没入させることができ、前記尖端2cは壁材8の表面に進入させ、壁材8に穿設する透孔10の穿孔中心の位置がずれないようにズレ防止として機能をするから、所定の正確な位置に所定の真円形の透孔10を容易に穿設できる。
【0015】
前記回転体5には、壁材8に穿設する透孔10の中心位置と同心状の中心貫通孔5aが形成されており、該中心貫通孔5aの内面には軸線方向へ切欠いた凹部が形成され、この凹部に前記回転軸1の下方外面に形成された凸部が枢支させた状態で挿脱自在に挿入可能で回り止めが施された状態で止着できるようになっている。また、この回転体5において、前記中心貫通孔5aより所定の間隔離間した相対向する両側の位置にそれぞれナット形状に形成された固着部5bが形成され該固着部5bに刃体ブラケット3をボルト止めできるようになっている。
【0016】
前記刃体ブラケット3は、略直方体形状に一体形成されている。図6に示すように、この刃体ブラケット3の外側の側壁に雌ネジ3aが螺刻され、該雌ネジ3aに螺着せじめたボルト11のボルト頭と刃体ブラケット3の側壁との間に、壁材8を切削するための穿孔刃4を挟持させるようになっている。また、刃体ブラケット3の中央部には穿孔刃4を備えた側壁と直交する方向に向けて長い貫通孔3bが形成されており、該貫通孔3bを貫通して備えたボルト11の先端部を前記ナット形状に形成された固着部5bに螺着することにより、前記回転体5の両側にこの刃体ブラケット3を固定するようになっている。但し、回転体5に取付ける刃体ブラケット3の形状や数量等を限定するものではなく、各穿孔刃4が前記センター軸2の中心を中心として同一の円軌跡を描くように固定されていればよく、これらは適宜設計変更可能であることは云うまでもないことである。
【0017】
穿孔刃4は、その刃先がV字形状に形成されていると、壁材を穿設する際の切れ味が良好であるから好ましい。
【0018】
前記カバー体7は、図7に斜視図で示すように、一側面に開口部7aが形成された全体の外観形状がカップ状の脚7bと、該脚7bの上部に一体形成され前記回転軸1が回転自在に挿通される挿通孔7cを設けた筒状部7dと、前記開口部7aに着脱自在に係止させこの開口部7aの全体を覆う蓋部材7eとから構成されており、前記挿通孔7cの中心位置から脚7bの周縁7fまでの間隔は、第二透孔の穿孔中心の位置を決めるための透孔中心表示部として利用できるように、所望する所定の間隔に形成されている。
【0019】
但し、前記カップ状の脚7bの周縁形状を制限するものではなく、例えば脚7bの周縁7fの形状が真円形でありかつ前記挿通孔7cの中心が偏心する位置に形成されていてもよく、脚7bの周縁7fの形状が真円形以外の楕円形状に形成されていてもよく、或いは脚7bの周縁7fが三角形から多角形にいたる様々な形状に形成されていても構わない。なお、例えば脚7bの周縁7f形状が楕円形に形成されていると、前記挿通孔7bの中心(回転軸1の中心)から周縁7f(透孔中心表示部)までの間隔を、短軸の長さと長軸の長さの間の中から適宜任意の長さとして選択できるゆえ、回転軸1の中心と透孔中心表示部との間隔を適宜所望する間隔となるように自在に選択でき、種類や大きさの異なる配線ボックスに一台で対応できるから好ましい。
【0020】
前記切込み深さ調節装置13は、本願出願人が出願した実公昭59−43045号公報に記載の「回転切削工具における切込み深さ調節装置」を援用するものであり、内周面に軸方向へ螺旋状に斜面を形成下円筒筒の下部に脚を備えた本体の筒状部に回転自在に外嵌するとともに、上部に軸方向へ摺動自在に内装された摺動子を筒状体から突出させて回転筒の螺旋状の斜面に対応させた構成からなるものである。
【0021】
次に、第一実施例に基づく穿孔具20の作用を説明する。
図8は、第一実施例に基づく穿孔具20によって、壁裏に配置された配線ボックスの一側の略全体を壁表に臨ませるため、前面に立設された壁体に2箇所の透孔を穿設する場合を例として、透孔の穿設方法を説明するための説明図であり、当該穿孔具20は上部を省略すると共に、全体が簡略化して図示されている。
【0022】
上述したように、前記回転軸1の把持部は、図示しないハンディタイプの回転駆動工具におけるチャッキング部に把持され、該回転駆動工具により回転駆動される。回転軸1は、壁材に穿設する透孔と同心状に設けたボデーの中心貫通孔に挿通され着脱自在に固着されるとともに、該ボデーには前記中心貫通孔から所定の距離離間した両側の相対向する位置に、穿孔刃4が取り付けられた刃体ブラケット3が着脱自在に固着されているから、前記回転軸1の駆動回転により、これらは一体的となって回転するようになっている。
従って、各穿孔刃4はいずれも前記センター軸2を中心として同一の円軌跡を描かせながら回転でき、また、センター軸2と刃体ブラケット3との間の距離は自在に設定できるから、口径の異なる円孔を穿設しうる。
【0023】
まず、図8に示すように、壁裏に配置された配線ボックスの偏心位置に設けられ予め金属箔や磁石が備えられた被探知部9aを、壁表から探知可能な探知機14によって探知し、被探知部9aの探知された位置に前記センター軸2の先端に備えられた尖端2cを押し当てると、該尖端2cは、壁材8の表面に進入して突き刺さり、第一透孔10aの中心位置を固定する位置決め10bとして機能する。すなわち、センター軸2のセンターが位置ズレするすることがなく、精度よく円孔を透設できる。
【0024】
ついで、図9に示すように、穿孔具20の全体を壁材8に向けて押し付けると、前記ハウジング内にコイルスプリング(弾性体)が内装され、センター軸2は突出方向に向けて常時付勢されているものの、尖端2cを壁材の表面に進入させたままの状態でセンター軸2をスプリングに抗してハウジングの内方に没入させることができ、透孔10aの周縁外側に対応する位置にカバー体7の周端7fを当接できる。該カバー体7は壁材8に透孔10を穿設する際に発生する切り屑の散乱防止カバーとして機能する。
なお、この時には、各穿孔刃4は壁材8に当接できないよう適宜調整された位置に固着されているから、壁材8に穿孔刃4が当たることがない。穿孔具20の全体を壁材8に向けてさらに押し付けると、尖端2cを壁材8の表面に進入させたままの状態でセンター軸2をスプリングに抗してハウジングの内方にさらに没入させることができ、前記穿孔刃4のすべてを壁材8に当接できる。
【0025】
ついで、前記ハンディタイプの回転駆動工具を回転駆動されながら穿孔具20の全体をさらに壁材8に向けて押し続けると、前記尖端2cを壁材8の表面に進入させたままの状態で穿孔刃4のみを前進させることができ、図10に示すように、穿孔刃4によって壁材8に真円形の第一透孔10aを穿設でき、壁裏に配置された配線ボックスの一側の一部を壁表に臨ませることができる。
【0026】
この時、切込み深さ調節装置13によって本体ブロック6すなわち穿孔刃4の移動距離を壁材8の厚さと略同一となるように制限されているから、穿孔刃4が壁材8の厚さ以上に前進することが原因となって、配線ボックス9自体や配線ボックス9内に収容されたケーブル、壁裏に配置されたケーブル等が破損されることを防止できる。
【0027】
穿孔を終えた時点でセンター軸2に設けた尖端7cが透孔10の中心に突き刺さった形で切抜き廃材が残るから、この切抜き廃材はこの尖端7cに突き刺さった状態で透孔10から脱し、破棄できる。
【0028】
また、壁材8の切り屑は、カバー体7に形成された開口部7aから適宜破棄できる。
【0029】
次に、第一実施例の穿孔具20において、前記センター軸2の軸心から前記脚7bの周縁部外側までの間隔は、配線ボックス9内に設けられ前記第一透孔10aによって壁表に臨ませた例えばボス部を兼ねる位置決め部12と第二透孔10cの穿孔中心の位置10dの間隔とが同一の長さとなるように構成されているから、図11に示すように、この位置決め部12にセンター軸2の先端を当接すれば第二透孔10cの穿孔中心の位置10dを前記脚7bの周縁部外側に容易に表わすことができる。すなわち、このように求めた第二透孔10cの穿孔中心の位置10dに、上記と同様の要領で、前記尖端2cを差し、壁材8に対して透孔10を設けると、確実に第二透孔10cが穿設できる。
【0030】
この場合において、上述したように、穿孔具20の全体を壁材8に向けて押し付けても、前記ハウジング1b内にコイルスプリング(弾性体)1dが内装され、センター軸2は突出方向に向けて常時付勢されているものの、尖端2cを壁材8の表面に進入させたままの状態でセンター軸2をスプリング1dに抗してハウジング1bの内方に没入させることができ、かつ、各穿孔刃4は壁材8に当接できないよう適宜調整された位置に固着されているから、穿孔刃4が壁材8に当たることもない。
【0031】
また、第三透孔以降の透孔10を穿設する場合も、上記と同様の要領で実施するから、繰り返し述べない。
【0032】
このようにして、壁裏に配置された配線ボックス9の一側の略全体を壁表8に臨ませるべく壁材8に対して複数の透孔10を穿設することができ、透孔10をすべて穿設した後、図12に示すように、前記被探知部9aが折取りタイプのものである場合には破棄し、着脱自在に掛止する再利用タイプのものである場合には、配線ボックス9から取り外して再利用する。なお、前記切抜き廃材の破棄と同時にこの操作を行っても構わない。
【0033】
つぎに、第二実施例の穿孔具は、回転軸の先端部に備えられたギヤーを介して回転駆動する2個の副回転軸を有し、該副回転軸と一体に回転する穿孔刃により、壁材に2つの透孔を相互に重ね合わせて同時穿孔させることができるように構成されている点を除き、他の構成は第一実施例の穿孔具と実質同一のものである。
なお、前記副回転軸の数量を限定するものではなく、例えば4個の副回転軸を設け、該副回転軸と一体に回転する穿孔刃により、壁材に4つの透孔を相互に重ね合わせて同時穿孔させることができるように構成されててもよい等、様々に設計変更できる。
【0034】
第三実施例の穿孔具は、尖端を壁材の表面に進入させたままの状態で回転軸を回転駆動させ、該回転軸の中間部に備えられたクランク部を介してこの回転軸の回転駆動を、壁材の孔形成部に対応させた周辺の穿孔刃を往復摺動運動させ、これにより壁材に方形の透孔を穿孔させるものである点を除き、他の構成は第一実施例の穿孔具と実質同一のものである。但し、例えば複数の穿孔刃を備えた無端ベルトを駆動させこれにより壁材に対して小判形の透孔を穿孔させるものであってもよいなど、様々に設計変更できる。
【0035】
ところで、第二、三実施例の穿孔具において、前記センター軸は、コイルスプリングの復元力により突出方向に付勢されているものの、当該穿孔具の全体を壁材に向けて押し付けると、スプリングに抗して内方に向けて独立して没入させることができ、壁材に対して穿設される上述した様々な形状の透孔の穿孔位置を正確に位置決めできるものであればよく、その取付け位置や数量を制限するものではない。
【0036】
例えば第二実施例の穿孔具にあっては、壁材に対して穿設される複数の透孔の中心位置にそれぞれ対応する複数のセンター軸が備えられているとかであり、また、例えば第三実施例の穿孔具にあっては、穿孔具の中心位置から偏心する位置に取付けできるとか、前記カバー体の対向する側壁下端に取付けできるとか等、である。すなわち、前記センター軸の取付け位置が、当該透孔の中心位置以外の位置となるように設計変更されている穿孔具であっても、該穿孔具に備えられたセンター軸は「センター軸」という用語で指称されているものであり、従って、これらはいずれも、叙上の特許請求の範囲に記載の穿孔具に相当するものである。
【0037】
したがって、第二、三実施例の穿孔具によれば、第一実施例の穿孔具と同様の作用が得られる。
【0038】
ところで、上述した各実施例の穿孔具は、本発明の代表的な実施態様として述べたものであるが、本発明を実施する場合には、様々な設計変更が可能であることはいうまでもないことである。
【0039】
例えば前面を覆う壁材8に対して、図13に示すように、透孔10を1箇所穿設することにより、壁裏に配置されていたケーブルとか、ケーブルに接続された配線器具15などを壁表に臨ませることもできる。
【0040】
【発明の効果】
請求項1に記載の発明によれば、従来の穿孔具には認められないつぎの格別顕著な作用効果を奏する。
(1) 回転軸にスプリングが内装され、センター軸は前方向に常時付勢されているから、透孔の中心位置を固定する位置決めとして機能するから、センター軸のセンターが位置ズレすることがなく、精度よく透孔を透設でき、
(2) 回転駆動されながら穿孔具の全体を壁材に向けて押し続けても、穿孔刃のみを前進させることができ、
(3) また、穿孔刃の移動距離が制限されているから、センター軸の先端や穿孔刃が配線ボックス内に進入して配線ボックス内に収容されているケーブルや、配線ボックス自体を破損することがなく、壁裏に配置されたケーブルや配線器具を破損することもなく、
(4) そして、センター軸と前記刃体ブラケットとの間の距離は自在に設定できるから、口径の異なる透孔を穿設でき、作業効率が向上する。
【0041】
(5) つぎに、穿孔刃の先端は、カバー体の周縁部より内方に配置されるように構成されているから、壁材に対してカバー体を当接させた場合でも、壁材に各穿孔刃が当たることがない。すなわち、第二透孔の中心位置決めの際に各穿孔刃が邪魔になることがなく、
(6) カバー体は、壁材に透孔を穿設する際に発生する切り屑の散乱防止カバーとして機能するとともにカバー体に開口部が形成されているから、壁材の切り屑を適宜破棄できる、作業現場が汚れない。
(7) また、センター軸の軸心から脚の周縁部外側までの間隔が、配線ボックス内に備えた例えばボス部のような位置決め部と第二透孔の穿孔中心の位置の間隔と同一の長さとなるように構成されているから、この位置決め部にセンター軸の先端を当接することにより、第二透孔の穿孔中心の位置を簡単に見いだすことができ、簡単かつ確実に第二透孔を穿設できる。
【0042】
請求項2に記載の発明によれば、穿孔刃の突出量を自在に調整可能とする調節手段が備えられてから、請求項1に記載の穿孔具の作用効果に加え、
(8) 配線ボックスの前面に配設されている壁材の厚さが異なっていても自在に対応できる。
【0043】
請求項3に記載の発明によれば、センター軸の先端に尖端が設けてあるから、請求項1または請求項2に記載の穿孔具の作用効果に加え、
(9) 尖端は壁材の表面に進入して突き刺さり、透孔の中心位置を固定する位置決めとして機能するから、センター軸のセンターが位置ズレすることがなく、所定の位置に所定の真円形の透孔を精度よく透設でき、
(10) 穿孔を終えた時点において、尖端が突き刺さった形で切抜き廃材が残るから、この切抜き廃材を突き刺さった状態で透孔から容易に脱し、破棄できる。
【図面の簡単な説明】
【図1】図1は、本発明の一実施例の穿孔具を示す一部を破断した正面図である。
【図2】図2は図1の穿孔具を示す一部を破断した側面図である。
【図3】図3は、図1の穿孔具に組み込まれた本体ブロックを示す斜視図である。
【図4】図4(a)は図3の本体ブロックに組み込まれた回転体の正面図、図4(b)はその平面図である。
【図5】図5は図3の本体ブロックに組み込まれた回転軸とセンター軸を示す一部破断正面図である。
【図6】図6(a)は図3の本体ブロックに組み込まれた刃体ブラケットの平面図であり、図6(b)は、この刃体ブラケットにおいて、穿孔刃が螺着される側面を示す側面図である。
【図7】図7は図1の穿孔具に組み込まれたカバー体の斜視図である。
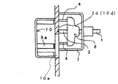
【図8】図8は、壁体における、配線ボックスの被探知部と対応する部分を、壁表から探知機によって探知している状態を示す縦断面図である。
【図9】図9は、穿孔具を用いて、配線ボックスの被探知部と対応する位置を穿孔中心とする第一透孔を壁体に対して穿孔している状態を示す縦断面図である。
【図10】図10は、配線ボックス9内に設けた位置決め部(ボス部)にセンター軸の先端を当接することによって、第二透孔の穿孔中心の位置を表示している状態を示す縦断面図である。
【図11】図11は、穿孔具を用いて、図10の方法で表示された第二透孔の穿孔中心の位置を穿孔中心とする第二透孔を壁体に対して穿孔している状態を示す縦断面図である。
【図12】図12は、壁裏に配置された配線ボックスの一側の略全体を壁表に臨ませるべく壁材に対して複数の透孔を穿設した後、被探知部を折取っている状態を示す縦断面図である。なお、着脱自在に掛止する再利用タイプのものである場合には、配線ボックスから取り外して再利用する。
【図13】図13は、図1に示した一実施例の穿孔具の使用に関する他の実施態様を説明するための斜視図である。
【図14】図14は特開平6−91417号公報記載の従来の穿孔具を示す一部破断正面図である。
【図15】図15(a)は特開平5−8109号公報記載の従来の穿孔具を示す正面図であり、図15(b)はその断面図である。
【符号の説明】
1…回転軸
1a…把持部
1b…ハウジング
1c…取着部
1d…スプリング(弾性体)
2…センター軸
2a…被取着部
2b…ストッパーリング(着脱手段)
2c…尖端
2d…第二当接部
3…刃体ブラケット
3a…雌ネジ
3b…貫通孔
4…穿孔刃
5…回転体
5a…中心貫通孔
5b…固着部
6…本体ブロック
7…カバー体
7a…開口部
7b…脚
7c…挿通孔
7d…筒状部
7e…蓋部材
7f…周縁
8…壁材
9…配線ボックス
9a…被探知部
10…透孔
10a…第一透孔
10b…第一透孔の中心位置
10c…第二透孔
10d…第二透孔の中心位置
11…ボルト
12…位置決め部(ボス部を兼ねる)
13…切込み深さ調節装置
14…探知機
15…配線器具
20…穿孔具
30…従来の一穿孔具
40…従来の他の一穿孔具
Claims (4)
- 配線器具を設備するための透孔を穿孔刃によって壁材に穿設しうる穿孔具であって、
回転して前記壁材に透孔を穿設する穿孔刃と、
前記穿孔刃の回転中心に、前記穿孔刃に対して前記回転中心の軸方向に相対移動可能に取付けられ、前記透孔を穿設する際の位置決めとなるセンター軸と、
前記穿孔刃に、前記穿孔刃に対して前記回転中心の軸方向に相対移動可能であって内部に該穿孔刃を回転自在に収容した状態で取付けられ、前記壁材の透孔の周縁外側の位置に当接して切り屑の散乱を防止するカバー体と
を備え、
前記穿孔刃は、前記カバー体より後方に後退して備えられ、前記カバー体より前方に突出させることによって前記壁材に透孔を穿設するとともに、前記カバー体より前方への移動距離が前記壁材の厚さに対応して制限され、
前記センター軸は、その先端が前記カバー体における前記壁材との当接部より前方に突出させて備えられるとともに、前記カバー体が前記壁材に当接するまで後退可能に備えられたことを特徴とする穿孔具。 - 前記穿孔具において、前記穿孔刃のカバー体より前方への移動量を透孔を穿設せしめる壁材の厚さに応じて自在に調整可能ならしめる調節手段が備えられていることを特徴とする請求項1に記載の穿孔具。
- 前記穿孔具において、前記センター軸が、その先端に、壁材に食い込んで透孔の中心位置を位置決めする尖端を有することを特徴とする請求項1または請求項2に記載の穿孔具。
- 配線器具を設備するための透孔を穿孔刃によって壁材に穿設する穿孔方法であって、
請求項1乃至請求項3のいずれか1項に記載の穿孔具を使用し、
まず、壁材に対する穿孔中心を位置決めし、次いで、前記センター軸を前記壁材の穿孔中心に当接した後、その状態で前記センター軸を後退させつつ前記カバー体を前記壁材に当接し、次に、前記センター軸を前記壁材に付勢させた状態で前記穿孔刃を前方に前進させることにより、前記壁材に前記透孔を穿設することを特徴とする穿孔方法。
Priority Applications (2)
| Application Number | Priority Date | Filing Date | Title |
|---|---|---|---|
| JP31214696A JP3600907B2 (ja) | 1996-05-01 | 1996-11-22 | 壁材への穿孔方法及び穿孔具 |
| KR1019970013249A KR970073903A (ko) | 1996-05-01 | 1997-04-10 | 천공구 (穿孔具) |
Applications Claiming Priority (3)
| Application Number | Priority Date | Filing Date | Title |
|---|---|---|---|
| JP11066696 | 1996-05-01 | ||
| JP8-110666 | 1996-05-01 | ||
| JP31214696A JP3600907B2 (ja) | 1996-05-01 | 1996-11-22 | 壁材への穿孔方法及び穿孔具 |
Publications (2)
| Publication Number | Publication Date |
|---|---|
| JPH1023063A JPH1023063A (ja) | 1998-01-23 |
| JP3600907B2 true JP3600907B2 (ja) | 2004-12-15 |
Family
ID=26450246
Family Applications (1)
| Application Number | Title | Priority Date | Filing Date |
|---|---|---|---|
| JP31214696A Expired - Fee Related JP3600907B2 (ja) | 1996-05-01 | 1996-11-22 | 壁材への穿孔方法及び穿孔具 |
Country Status (2)
| Country | Link |
|---|---|
| JP (1) | JP3600907B2 (ja) |
| KR (1) | KR970073903A (ja) |
Families Citing this family (1)
| Publication number | Priority date | Publication date | Assignee | Title |
|---|---|---|---|---|
| JP5285504B2 (ja) * | 2009-05-21 | 2013-09-11 | 未来工業株式会社 | 穿孔具 |
-
1996
- 1996-11-22 JP JP31214696A patent/JP3600907B2/ja not_active Expired - Fee Related
-
1997
- 1997-04-10 KR KR1019970013249A patent/KR970073903A/ko not_active Ceased
Also Published As
| Publication number | Publication date |
|---|---|
| KR970073903A (ko) | 1997-12-10 |
| JPH1023063A (ja) | 1998-01-23 |
Similar Documents
| Publication | Publication Date | Title |
|---|---|---|
| GB1576563A (ja) | ||
| JP3163392B2 (ja) | 切りかす受けカバーを備えた穿孔具 | |
| JP3600907B2 (ja) | 壁材への穿孔方法及び穿孔具 | |
| JPWO2002030602A1 (ja) | レール穿孔装置 | |
| US4984613A (en) | Hinge mortise guide and cutter | |
| JPS615505U (ja) | バリ切削装置 | |
| JP3965503B2 (ja) | 切粉受けカバー体を備えた穿孔具 | |
| JP3572574B2 (ja) | 穿孔具及びゲージ具 | |
| JP3054730B2 (ja) | 配線ボックスの開口形成孔の穿孔方法、該穿孔方法に使用される配線ボックス及び被探知具 | |
| US3783721A (en) | Rotary internal tube cutter | |
| JP2951586B2 (ja) | 配線用ボックス、及びその本体に装着される透孔穿孔案内具 | |
| JP5451127B2 (ja) | 穿孔具及び配線ボックスの開口形成穿孔装置 | |
| JPS6113274Y2 (ja) | ||
| JPH0632255Y2 (ja) | 穿孔バリ取り器 | |
| JP2005144649A (ja) | 壁孔穿孔器 | |
| JP2711344B2 (ja) | 小判穴用穴開け機 | |
| JP2660398B2 (ja) | パイプ用輪切り切断装置 | |
| JPH11333658A (ja) | 切粉受けカバー体を備えた穿孔具 | |
| JP2018062021A (ja) | ホールソー | |
| JP2021024087A (ja) | 配線ボックス用穴開け具 | |
| JP3153492B2 (ja) | 配線用ボックス装置、及び被探知部材装置、並びに壁体への透孔穿孔方法 | |
| KR100470757B1 (ko) | 탱크표면 자동절단기 | |
| JPH0796224B2 (ja) | 座掘りカツタ− | |
| JP2010017837A (ja) | 開口治具 | |
| JP2542121Y2 (ja) | 穿孔具 |
Legal Events
| Date | Code | Title | Description |
|---|---|---|---|
| A02 | Decision of refusal |
Free format text: JAPANESE INTERMEDIATE CODE: A02 Effective date: 20040216 |
|
| A521 | Written amendment |
Free format text: JAPANESE INTERMEDIATE CODE: A523 Effective date: 20040316 |
|
| A911 | Transfer to examiner for re-examination before appeal (zenchi) |
Free format text: JAPANESE INTERMEDIATE CODE: A911 Effective date: 20040422 |
|
| A131 | Notification of reasons for refusal |
Free format text: JAPANESE INTERMEDIATE CODE: A131 Effective date: 20040607 |
|
| A521 | Written amendment |
Free format text: JAPANESE INTERMEDIATE CODE: A523 Effective date: 20040804 |
|
| TRDD | Decision of grant or rejection written | ||
| A01 | Written decision to grant a patent or to grant a registration (utility model) |
Free format text: JAPANESE INTERMEDIATE CODE: A01 Effective date: 20040831 |
|
| A61 | First payment of annual fees (during grant procedure) |
Free format text: JAPANESE INTERMEDIATE CODE: A61 Effective date: 20040903 |
|
| R150 | Certificate of patent or registration of utility model |
Free format text: JAPANESE INTERMEDIATE CODE: R150 |
|
| FPAY | Renewal fee payment (event date is renewal date of database) |
Free format text: PAYMENT UNTIL: 20081001 Year of fee payment: 4 |
|
| FPAY | Renewal fee payment (event date is renewal date of database) |
Free format text: PAYMENT UNTIL: 20081001 Year of fee payment: 4 |
|
| FPAY | Renewal fee payment (event date is renewal date of database) |
Free format text: PAYMENT UNTIL: 20091001 Year of fee payment: 5 |
|
| FPAY | Renewal fee payment (event date is renewal date of database) |
Free format text: PAYMENT UNTIL: 20091001 Year of fee payment: 5 |
|
| FPAY | Renewal fee payment (event date is renewal date of database) |
Free format text: PAYMENT UNTIL: 20091001 Year of fee payment: 5 |
|
| FPAY | Renewal fee payment (event date is renewal date of database) |
Free format text: PAYMENT UNTIL: 20101001 Year of fee payment: 6 |
|
| FPAY | Renewal fee payment (event date is renewal date of database) |
Free format text: PAYMENT UNTIL: 20101001 Year of fee payment: 6 |
|
| FPAY | Renewal fee payment (event date is renewal date of database) |
Free format text: PAYMENT UNTIL: 20111001 Year of fee payment: 7 |
|
| FPAY | Renewal fee payment (event date is renewal date of database) |
Free format text: PAYMENT UNTIL: 20111001 Year of fee payment: 7 |
|
| FPAY | Renewal fee payment (event date is renewal date of database) |
Free format text: PAYMENT UNTIL: 20121001 Year of fee payment: 8 |
|
| FPAY | Renewal fee payment (event date is renewal date of database) |
Free format text: PAYMENT UNTIL: 20121001 Year of fee payment: 8 |
|
| FPAY | Renewal fee payment (event date is renewal date of database) |
Free format text: PAYMENT UNTIL: 20121001 Year of fee payment: 8 |
|
| FPAY | Renewal fee payment (event date is renewal date of database) |
Free format text: PAYMENT UNTIL: 20121001 Year of fee payment: 8 |
|
| FPAY | Renewal fee payment (event date is renewal date of database) |
Free format text: PAYMENT UNTIL: 20131001 Year of fee payment: 9 |
|
| R250 | Receipt of annual fees |
Free format text: JAPANESE INTERMEDIATE CODE: R250 |
|
| R250 | Receipt of annual fees |
Free format text: JAPANESE INTERMEDIATE CODE: R250 |
|
| R250 | Receipt of annual fees |
Free format text: JAPANESE INTERMEDIATE CODE: R250 |
|
| LAPS | Cancellation because of no payment of annual fees |