JP3588024B2 - 鉄道車両用軌間可変台車の軌間変更ロック解除装置 - Google Patents

鉄道車両用軌間可変台車の軌間変更ロック解除装置 Download PDF

Info

Publication number
JP3588024B2
JP3588024B2 JP34386999A JP34386999A JP3588024B2 JP 3588024 B2 JP3588024 B2 JP 3588024B2 JP 34386999 A JP34386999 A JP 34386999A JP 34386999 A JP34386999 A JP 34386999A JP 3588024 B2 JP3588024 B2 JP 3588024B2
Authority
JP
Japan
Prior art keywords
rail
gauge
axle
lock release
engaging
Prior art date
Legal status (The legal status is an assumption and is not a legal conclusion. Google has not performed a legal analysis and makes no representation as to the accuracy of the status listed.)
Expired - Fee Related
Application number
JP34386999A
Other languages
English (en)
Other versions
JP2001158351A (ja
Inventor
田 憲 暁 徳
辺 信 行 渡
輪 行 雄 箕
辺 晃 秀 渡
Current Assignee (The listed assignees may be inaccurate. Google has not performed a legal analysis and makes no representation or warranty as to the accuracy of the list.)
Railway Technical Research Institute
Subaru Corp
Original Assignee
Railway Technical Research Institute
Fuji Jukogyo KK
Priority date (The priority date is an assumption and is not a legal conclusion. Google has not performed a legal analysis and makes no representation as to the accuracy of the date listed.)
Filing date
Publication date
Application filed by Railway Technical Research Institute, Fuji Jukogyo KK filed Critical Railway Technical Research Institute
Priority to JP34386999A priority Critical patent/JP3588024B2/ja
Publication of JP2001158351A publication Critical patent/JP2001158351A/ja
Application granted granted Critical
Publication of JP3588024B2 publication Critical patent/JP3588024B2/ja
Anticipated expiration legal-status Critical
Expired - Fee Related legal-status Critical Current

Links

Images

Landscapes

  • Handcart (AREA)

Description

【0001】
【発明の属する技術分野】
本発明は、例えば新幹線と在来線のように軌間寸法が異なるレール上を連続して走行するために車輪間隔を変化させることができる鉄道車両用軌間可変台車に関し、より詳しくは車輪を軌間変更不能に固定するロックを確実に解除して軌間変更をスムーズに行えるようにする軌間変更ロック解除装置に関する。
【0002】
日本の鉄道においては、例えば新幹線等に使用されている軌間寸法1435mmの標準軌と、在来線等に使用されている軌間寸法1067mmの狭軌とが併用用されているが、これらの軌間の異なる軌道上を連続して走行し得る鉄道車両を開発すれば、乗客の利便性や、到達時間の短縮、鉄道建設費の低減等、そのメリットは極めて大きい。そこで、本願の出願人は種々の鉄道車両用軌間可変台車を開発し先に出願している。(特開平8−332950号公報他参照)
【0003】
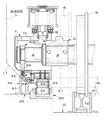
このような鉄道車両用軌間可変台車の構造の概略を図8を参照して説明すると、軸箱1に対して上下方向に昇降可能に支持された車軸2には、車軸外筒3が車軸2の軸線方向にスライド自在に嵌装されている。そしてこの車軸外筒3には、軸受4を介して車輪5が相対回転自在に支持されている。
一方、前記車軸外筒3の端部に固着されたロッキングブロック6の上面には、一対の係合突起7,8が車軸2の軸線方向に所定の間隔をあけて並置されている。他方、前記軸箱1には、前記係合突起7,8とそれぞれ係合可能な係合孔9と逃げ孔10とがそれぞれ貫設されている。
【0004】
これにより、図8中に実線で示したように、図示左側の係合突起7と係合孔9とが係合した状態では、ロッキングブロック6すなわち車輪5は狭軌対応状態で軌間変更不能にロックされる。これに対して、図8中に想像線で示したように、図示右側の係合突起8と係合孔9とが係合した状態では、車輪5は標準軌対応状態で軌間変更不能にロックされる。
【0005】
このように構成された軌間可変台車において、軌間を狭軌対応状態から標準軌対応状態に変更する際には、まず、水平に延びる車体支持レール11上に軸箱1を載置することにより、軸箱1すなわち車体を支持する。
次いで、進行方向前方に向かって下り勾配が付けられた軌道12上を車輪5が転動して前進すると、車輪5は車体支持レール11に対して徐々に下方に相対変位する。これに伴い、軸箱1に対して車軸2が下方に変位するので係合突起7と係合孔9との係合が解除される。
したがって、この状態で車軸外筒3を車軸2の端部側(図示左側)にスライドさせることにより、軌間を標準軌対応状態に変更することができる。
その後、進行方向前方に向かって上り勾配が付けられた軌道12上を車輪5が転動して前進すると、軸箱1に対して車軸2が徐々に上昇し、今度は係合突起8が係合孔9に係合する。これにより、車輪5は標準軌対応状態で軌間変更不能にロックされる。
【0006】
ところが、上述した軌間可変台車においては、係合突起7,8と係合孔9とが何らかの理由により固着し、その固着力が車輪5を含めた車軸2の重量(約2トン)を上回ると、軸箱1に対して車軸2が降下せず、係合突起7,8と係合孔9との係合を解除できなくなって軌間変更不能に陥るおそれがある。
【0007】
そこで本願の出願人は、車輪を軌間変更不能に固定するロックを確実に解除して軌間変更をスムーズに行えるようにする、鉄道車両用軌間可変台車の軌間変更ロック解除装置を開発して先に出願している。(特願平9−147656号参照)
【0008】
このロック解除装置の構造の概略を図9を参照して説明すると、車軸2の軸端に固着された軸端梁13には、車軸2と同軸な回転軸線を有する係合ローラ14が回転自在に取り付けられている。
一方、地上G側には、車体支持レール11と平行に延びるロック解除レール15が設置されている。
これにより、係合突起7,8と係合孔9とが固着して軸箱1に対して車軸2が降下しない状態のまま鉄道車両が軌間変更区間に進入すると、係合ローラ14がロック解除レール15の係合面16に当接して係合ローラ14すなわち車軸1が強制的に降下させられるので、係合突起7,8と係合孔9との係合を強制的に解除して軌間変更を支障無く行うことができる。
【0009】
【発明が解決しようとする課題】
ところで、上述した鉄道車両用軌間可変台車の軌間変更ロック解除装置(特願平9−147656号参照)においては、係合ローラ14が車軸2の端部よりも車体幅方向外側に突出するように取り付けられている。
一方、新幹線車両の車両限界は、図9中に示した第1縮小車両限界よりも車体幅方向外側に拡大されている。
したがって、上述した軌間変更ロック解除装置をそのまま新幹線車両に適用すると、地上に設けたロック解除レール15が車両限界内に大きく入り込み、車両に搭載した各種機器と衝突してしまう。このような衝突を回避するためには、車両に搭載する各種機器の大きさや配置を変更する必要性が出てくる。
また、係合ローラ14を回転させるためには軸受を用いることになり、上述した軌間変更ロック解除装置はその構造が複雑なものとなるおそれがある。
【0010】
そこで、本発明の目的は、上述した先願に係る軌間変更ロック解除装置をさらに改良し、新幹線車両に適用する際にも車両限界の内側へ入り込む量を最小限に抑えて、車両に搭載する各種機器の大きさや配置を変更する必要がなく、かつ構造が簡単で信頼性により優れた鉄道車両用軌間可変台車の軌間変更ロック解除装置を提供することにある。
【0011】
【課題を解決するための手段】
上記の課題を解決する本発明は、鉄道車両用軌間可変台車のための軌間変更ロック解除装置であって、
前記鉄道車両用軌間可変台車が、
軸箱に対して上下方向に昇降可能に支持された車軸と、
標準軌に対応する位置および狭軌に対応する位置においてそれぞれ前記軸箱に対して軌間変更不能にロック可能な、前記車軸にスライド自在に嵌装された車軸外筒と、
前記車軸外筒に軸受を介して回転可能に支持された車輪と、
前記軸箱に摺動自在に嵌装されたガイドピンにより軌間変更時における前記車軸の前記軸箱に対する昇降を案内する、前記車軸の軸端に取り付けられた軸端梁と、
前記軸端梁を車両限界の近傍まで下方に延設した部分に螺着されて、前記車両限界の内側に配置された係合部材と、を備え、
軌間変更時には前記車軸を前記軸箱に対して下方に変位させることにより前記軸箱に対する前記車軸外筒のロックを解除できるようになっており、
かつ地上の軌間変更区間には、軌間変更時に前記車軸が前記軸箱に対して下方に変位しないときには前記係合部材に接触して前記車軸を強制的に下方に変位させるための前記進行方向前方に向かって前下がりに傾斜する係合面を有したロック解除レールと、前記車輪がその上を転動する軌道とが並設されており、
さらに前記ロック解除レールの係合面は、前記ロック解除レールの上端部分で、前記車両限界のうち地上に接近するに連れて前記軌道側に接近する傾斜部分の近傍に位置するように配置されていることを特徴としている。
【0012】
好ましくは、前記係合部材に、前記軸端梁を下方に延設した部分に螺着される部分と、この部分から下方に延設されてその内部に左右方向に延びる貫通孔を形成する湾曲した弾性壁と、この弾性壁から前記ロック解除レール側に向かって延設された係合部分と、この 係合部分の上面に形成されて前記ロック解除レールの係合面と係合しつつ摺動する摺動面とを設ける。
また、前記ロック解除レールの前記係合面を、前記軌間可変台車の車輪が軌道から浮き上がらない場合には、前記係合部材の摺動面に対して所定の間隔を開けて上方に位置するように配置する。
また、前記係合部材の前記摺動面を、鉛直方向上方に向かって凸な曲面に形成する。
また、前記係合部材を、前記軸端部材に対する鉛直方向の取り付け位置を調整する取付調整手段を介して前記軸端部材に取り付ける。
【0013】
すなわち、本発明によれば、軸端部材を車両限界の近傍まで下方に延設した部分に係合部材を取り付けるとともに、ロック解除レールの係合面をロック解除レールの上端部で前記車両限界のうち地上に接近するに連れて軌道側に傾斜する傾斜部分の近傍に配置するから、ロック解除レールが車両限界の内側に入り込む量を最小限に抑えることができる。
これにより、本発明を新幹線車両に適用する場合でも、車両に搭載する各種機器のスペースを十分に確保することができる。
また、係合部材は、ロック解除レールの係合面と摺動しつつ係合する構成であるから、その構造がきわめて簡単であり、かつ十分な強度を持たせることができる。
また、軌間可変台車の車輪が軌道から浮上しない場合には、ロック解除レールの係合面と係合部材の摺動面とが接触しないから、ロック解除レールおよび係合部材の耐久性を向上させることができ、かつ保守点検も容易である。
また、前記摺動面を鉛直方向上方に向かって凸な曲面に形成するので、鉄道車両の車体の軌道に対する姿勢変化に伴って軸箱が車軸の軸線回りに揺動しても、ロック解除レールの係合面と係合部材の摺動面との間隔を所定の値に保つことができる。
また、軸端部材に対する鉛直方向の取り付け位置を調整する取付調整手段を介して係合部材を軸端部材に取り付けるので、車輪の踏面の削正に伴って車輪の外径寸法が減少しても、ロック解除レールに対する係合部材の上下方向位置を最適に保ってロック解除機能を確実に動作させることができる。
また、係合部材に弾性壁を設けるので、ロック解除レールが軸端部材を限度以上に引き下げる事態が生じても、係合部材や軸端部材等が破損することがない。
【0014】
【発明の実施の形態】
以下、本発明に係る鉄道車両用軌間可変台車の軌間変更ロック解除装置の一実施形態を、図1乃至図7を参照して詳細に説明する。
ここで、図1は本発明に係る鉄道車両用軌間可変台車の軌間変更ロック解除装置の一実施形態をロック解除前の狭軌対応状態で示す要部破断正面図、図2は図1に示した軌間変更ロック解除装置の側面図、図3は図1に示した軌間変更ロック解除装置の要部拡大正面図、図4は図1に示した軌間変更ロック解除装置をロック解除状態で示す要部破断正面図、図5は本発明に係る軌間変更ロック解除装置の作動を説明する概略側面図、図6は他の実施形態の係合部材を示す側面図、図7は図6中に示した係合部材のVII−VII破断線に沿った断面図である。
なお、以下の説明においては、上述した従来技術と同一の部分には同じ参照符号を用いるとともに、地上に対する鉛直方向を上下方向と、また鉄道車両の車体幅方向すなわち車軸の軸線方向を左右方向と、鉄道車両の進行方向を前後方向と呼ぶ。
【0015】
まず最初に図1および図2を参照し、本実施形態の軌間変更ロック解除装置を適用する鉄道車両用軌間可変台車の構造を概説すると、軸箱1に対して上下方向に昇降可能に支持された車軸2には、車軸外筒3が車軸2の軸線方向にスライド自在に嵌装されている。そして、この車軸外筒3には、図示されない軸受を介して車輪5が相対回転自在に支持されている。
【0016】
また、前記車軸外筒3の端部に固着されたロッキングブロック6の上面には、一対の係合突起7,8が車軸2の軸線方向に所定の間隔をあけて並置されている。他方、前記軸箱1には、前記係合突起7,8とそれぞれ係合可能な係合孔9と逃げ孔10とがそれぞれ貫設されている。
【0017】
これにより、図1に実線で示したように図示左側の係合突起7と係合孔9とが係合した状態では、ロッキングブロック6すなわち車輪5は狭軌対応状態で軌間変更不能にロックされる。これに対して図示右側の係合突起8と係合孔9とが係合する状態では、図1中に想像線で示したように、車輪5は標準軌対応状態で軌間変更不能にロックされる。
【0018】
一方、図1および図3に示したように、地上Gには車体支持レール20、車体案内レール30およびロック解除レール40が、軌道12と平行に延びるようにそれぞれ配置されている。
【0019】
前記車体支持レール20は、その断面形状が鉛直方向上方に開口したコ字形で、その内部には水平軸21によって回転自在に支持された多数の車体支持ローラ22が、図2に示したように車体支持レール20の長手方向に所定の間隔を開けて配置されている。
【0020】
前記車体案内レール30は、軸箱1が車体支持レール20によって支持された状態で進行する際に、軸箱1が車体支持レール20上からずれたり脱落したりしないように、軸箱1の進行を案内するために設けられている。そして、地上Gから上方に延びる本体部分31の上端部には、軌道12側に開口する凹溝32が凹設されている。
【0021】
前記ロック解除レール40は、本実施形態の軌間変更ロック解除装置を構成する部材で、地上Gから上方に延びる縦壁部分41と、この縦壁部分41の上端部から軌道12側に延設された水平部分42とを有し、かつこの水平部分42の地上Gと対向して延びる下面が係合面43となっている。
【0022】
他方、軸箱1の下端部には、前記車体支持レール20の車体支持ローラ22上を滑走するそり23が、左右方向に延びる支軸24によって揺動自在に支持されている。前記支軸24は複数枚のスペーサ25を介して軸箱1に螺着され、軸箱1に対して上下方向の位置調整が可能となっているので、車輪5の踏面の削正によって車輪5の外径寸法が減少しても、軌間変更の際に前記そり23を確実に車体支持ローラ22上に載置させることができる。
【0023】
また、軸箱1の下端部側面には、前記車体案内レール30の凹溝32内に回転可能に軸着された案内ローラ33に当接する摺板34が螺着されている。これにより、案内ローラ33は左右方向にずれないように軸箱1を案内するので、軸箱1は車体支持レール20上からずれたり脱落したりすることがない。
【0024】
また、車軸2の端部には、軸端梁(軸端部材)50が車軸2に対してその軸線回りに相対回転不能に螺着されている。
この軸端梁50は、図2に示したように、車軸2に外嵌された環状部分51と、この環状部分51から前後方向にそれぞれ延設された前後一対の支持腕52,53とを有している。そして、これらの支持腕52,53には、上方に延びる前後一対のガイドピン54,55がそれぞれ着脱自在に螺着されている。
これらのガイドピン54,55は、軸箱1にそれぞれ貫設されたガイド孔1a,1b内に摺動自在に嵌装されて、車軸2に作用する外力を軸箱1に伝達するとともに、軌間変更時における車軸2の軸箱1に対する昇降を案内する役割を果たしている。
また、前記軸端梁50の環状部分51の最下端部は真っ直ぐ下方に延設され、かつその延設部分56の下面には前記ロック解除レール40と係合可能な係合部材60が螺着されている。
また、前記延設部分56は、軸箱1に取り付けられた防塵カバー70に設けた貫通孔71を貫通して下方に延びている。これにより、軸箱1を前記防塵カバー70で覆って軸箱1内に塵埃が入り込むことを確実に防止できるから、軸箱1内におけるロッキングブロック6の滑らかな昇降動作を保証することができる。
【0025】
前記係合部材60は、複数枚のスペーサ61を介して前記延設部分56に螺着され、軸端梁50に対する上下方向の位置調整が可能となっている。これにより、車輪5の踏面の削正に伴って車輪5の外径寸法が減少しても、ロック解除レール40に対する係合部材60の上下方向位置を常に一定に保つことができる。
また、この係合部材60は、前記スペーサ61に密着する水平部分62と、この水平部分62の、軌道12側の端部から下方に延設された縦壁部分63と、この縦壁部分63の下端部からロック解除レール40側に延設された係合部分64とから形成され、その構造が簡単であるばかりでなく、十分な強度を有している。 前記係合部分64の上面は、ロック解除レール40の前記係合面43と係合可能な摺動面65とされているが、車輪5が軌道12上を転動しているときにはこの摺動面65と係合面43との間には所定の隙間が存在する。
これに対して、軌間変更時に軸箱1に対して車軸2が降下せずに車輪5が軌道12から浮き上がる異常時には、係合部材60の摺動面65がロック解除レール40の係合面43と摺動する。
さらに、前記摺動面65は、図2に示したように鉛直方向上方に向かって凸な円筒面状に形成されている。これにより、鉄道車両の車体の姿勢変化に伴って軸箱1が車軸2の軸線回りに揺動しても、ロック解除レール40の係合面43との間に所定の隙間が保たれる。そして、この係合部材60は車両限界L内に配置される。
【0026】
次に、ロック解除レール40および係合部材60と車両限界Lとの相対位置関係について図3を参照して説明すると、ロック解除レール40の係合面43は、ロック解除レール40の上端部分であって、かつ車両限界Lのうち地上Gに接近するに連れて軌道12側に接近する傾斜部分L1の近傍に位置するように配置されている。
これにより、ロック解除レール40の上端部がわずかに車両限界の内側に入り込んでいるが、その量はごくわずかであるから、鉄道車両、特に新幹線車両の車体に搭載する各種機器の搭載スペースや搭載位置に与える影響はほとんど無視できる程度である。
【0027】
次に、上述のように構成された本実施形態の軌間変更ロック解除装置の作動について図4を参照して説明する。
【0028】
軌間可変台車の軌間変更は、軌道12に対して車体支持レール20、車体案内レール30、ロック解除レール40が並設された軌間変更区間を、軌間可変台車が通過することによって自動的に行われる。
このとき、前記車体支持レール20は前記軌間変更区間の全体において水平に延びる。 これに対して、軌道12は、図5に示したように、車体支持レール20に対して上下方向に所定の間隔H1(図1参照)を開けて水平に延びる第1の水平部分12aと、この第1の水平部分12aの前端から軌間可変台車の進行方向前方に向かって下り勾配を有する傾斜部分12bと、この傾斜部分12bの前端から車体支持レール20に対して上下方向に所定の間隔H2(>H1:図4参照)をあけて水平に延びる第2の水平部分12cとを有している。
また、ロック解除レール40は、軌道12に対して常に上下方向に所定の間隔H3(図1および図4参照)をあけて平行に延びている。
【0029】
図5中に(1)で示したように、軌間可変台車の車輪5が軌道12の第1の水平部分12aにさしかかると、軸箱1の下端に設けられたそり23が車体支持ローラ22上に載り、軸箱1すなわち鉄道車両の車体は車体支持レール20によって支持される。
次いで、この状態で軌間可変台車がさらに前進し、その車輪5が軌道12の前記傾斜部分12bにさしかかると、車輪5は軌道12の降下に伴って軸箱1に対して徐々に下方に相対変位する。
これにより、ロッキングブロック6に設けられた係合突起7,8が軸箱1に貫設された係合孔9から離脱し、図4に示したように車輪5を軌間変更不能に固定するロックが解除される。
このとき、車輪5が軌道12から浮き上がることなく転動するので、係合部材60の摺動面65は、ロック解除レール40の係合面43に対して所定の間隔を開けて対向している。
【0030】
しかしながら、何らかの原因により係合突起7,8と係合孔9とが固着し、若しくは軸端梁50に設けたガイドピン54,55と軸箱1とが固着し、かつその固着力が車輪5を含めた車軸2の重量(約2トン)を上回る異常時には、車軸2が軸箱1に対して降下せず、軸箱1と共に水平に移動を続ける。
したがって、この状態で軌間可変台車の車輪5が軌道12の前記傾斜部分12bに差し掛かると、図5中に(2)で示したように車輪5が軌道12から浮き上がるので、係合部材60の摺動面65がロック解除レール40の係合面43に接触する。
そして、ロック解除レール40の係合面43は、前述したように軌道12の傾斜部分12bと平行に延びており、軌間可変台車の進行方向前方に向かって下り勾配を有するので、軌間可変台車が前進するにつれて係合部材60はロック解除レール40の係合面43と摺動しつつ下方に強制変位させられる。
【0031】
これにより、係合突起7,8と係合孔9とが固着した部分、若しくは軸端梁50に設けたガイドピン54,55と軸箱1とが固着した部分には、車輪5を含めた車軸2の重量に加えて、ロック解除レール40が係合部材60を下方に強制変位させる強制変位力が作用するので、係合突起7,8と係合孔9との固着、若しくは軸端梁50に設けたガイドピン54,55と軸箱1との固着は強制的に解消させられる。
これにより、係合突起7,8が係合孔9から離脱し、図4に示したように車輪5を軌間変更不能に固定するロックは解除される。
【0032】
そして、図5中に(3)で示したように軌間可変台車の車輪5が軌道12上を転動して第2の水平部分12cにさしかかったときには、図4に示したように、係合部材60の摺動面65はロック解除レール40の係合面43に対して所定の隙間を開けて対向し、両者が接触することはない。
【0033】
すなわち、本実施形態の軌間変更ロック解除装置によれば、係合突起7,8と係合孔9との係合が解除できなくなった状態で軌間可変台車の車輪5が軌間変更区間にさしかかった異常時に初めて、係合部材60の摺動面65がロック解除レール40の係合面43と接触して摺動する。
しかしながら、係合突起7,8と係合孔9との係合が通常通りに解除できるときには、係合部材60の摺動面65はロック解除レール40の係合面43と接触しない。
したがって、本実施形態の軌間変更ロック解除装置のように、係合部材60の摺動面65がロック解除レール40の係合面43と摺動する構成としても、その耐久性に問題が生じることはなく、かつその保守点検は容易である。
また、係合部材60の構造は極めて簡単であり、かつ十分な強度を与えることができる。
【0034】
また、本実施形態のロック軌間変更ロック解除装置においては、軸端梁50を下方に延設した延設部分56に係合部材60を取り付ける構成であるから、軌間可変台車のバネ下重量の増加や部品点数の増加を最小限に抑えることができる。
また、車軸2に対する係合部材60の取り付け位置を上下方向に調整することができるから、車輪5の踏面の削正によって車輪5の外径寸法が減少しても、ロック解除レール40に対する係合部材60の上下方向位置を最適位置に保って、ロック解除機能を確実に動作させることができる。
【0035】
次に図6および図7を参照し、上述した係合部材60の一部形状を変形させた係合部材80について説明する。
【0036】
図6および図7に示した係合部材80は、複数枚のスペーサ61を介して前記延設部分56にボルトBで螺着される水平部分81と、この水平部分81の軌道12側の端部から下方に延設されてその内部に左右方向に水平に延びる貫通孔82を形成する湾曲した弾性壁83と、この弾性壁83の下端からロック解除レール40に向かって下方に延設された係合部分84と、この係合部分84の上面に形成されてロック解除レール40の係合面43と係合しつつ摺動する摺動面85とを有している。
【0037】
前記弾性壁83は、ロック解除レール40と係合する係合部分84を、軸端梁50を下方に延設した延設部分56に対して弾性的に支持する役割を果たす。
このため、弾性壁83の肉厚は、この係合部材80がロック解除レール40と係合して軸端梁50を引き下げる場合には、適度に弾性変形しつつ引き下げ力を軸端梁50に伝達できるようにその肉厚tが選定される。
これにより、地上にロック解除レール40の設置するときの精度やスペーサ61の枚数の設定の誤り等の理由によりロック解除レール40が限度以上に係合部材80を引き下げる事態が生じても、弾性壁83が弾性変形するので、係合部材80や軸端梁50等が破損することがない。
【0038】
以上、本発明に係る鉄道車両用軌間可変台車の軌間変更ロック解除装置の一実施形態について詳しく説明したが、本発明は上述した実施形態によって限定されるものではなく、種々の変更が可能であることは言うまでもない。
例えば、上述した実施形態においては、ロック解除レール40と係合部材60とが係合する部分がいずれも断面形状L字形に形成されている。
これに対して、ロック解除レール40の上端部を断面形状「I字形」に形成して左右一対の係合面43,43を設けるとともに、係合部材60にもこれらの係合面43,43とそれぞれ係合する左右一対の摺動面65,65を設けることができる。
【0039】
【発明の効果】
以上の説明から明らかなように、本発明においては、軸端部材を車両限界の近傍まで下方に延設した部分に係合部材を取り付けるとともに、ロック解除レールの係合面をロック解除レールの上端部で前記車両限界のうち地上に接近するに連れて軌道側に傾斜する傾斜部分の近傍に配置するから、ロック解除レールが車両限界の内側に入り込む量を最小限に抑えることができる。
これにより、本発明を新幹線車両に適用する場合でも、車両に搭載する各種機器のスペースを十分に確保することができる。
また、係合部材は、ロック解除レールの係合面と摺動しつつ係合する構成であるから、その構造がきわめて簡単であり、かつ十分な強度を持たせることができる。
また、軌間可変台車の車輪が軌道から浮上しない場合には、ロック解除レールの係合面と係合部材の摺動面とが接触しないから、ロック解除レールおよび係合部材の耐久性を向上させることができ、かつ保守点検も容易である。
また、前記摺動面を鉛直方向上方に向かって凸な曲面に形成するので、鉄道車両の車体の軌道に対する姿勢変化に伴って軸箱が車軸の軸線回りに揺動しても、ロック解除レールの係合面と係合部材の摺動面との間隔を所定の値に保つことができる。
また、軸端部材に対する鉛直方向の取り付け位置を調整する取付調整手段を介して係合部材を軸端部材に取り付けるので、車輪の踏面の削正に伴って車輪の外径寸法が減少しても、ロック解除レールに対する係合部材の上下方向位置を最適に保ってロック解除機能を確実に動作させることができる。
さらに、係合部材に弾性壁を設けたので、ロック解除レールが軸端部材を限度以上に引き下げる事態が生じても、係合部材や軸端部材等が破損することがない。
【図面の簡単な説明】
【図1】本発明に係る鉄道車両用軌間可変台車の軌間変更ロック解除装置の一実施形態をロック解除前の狭軌対応状態で示す要部破断正面図。
【図2】図1に示した軌間変更ロック解除装置の側面図。
【図3】図1に示した軌間変更ロック解除装置の要部拡大正面図。
【図4】図1に示した軌間変更ロック解除装置をロック解除状態で示す要部破断正面図。
【図5】本発明に係る軌間変更ロック解除装置の作動を説明する概略側面図。
【図6】他の実施形態の係合部材を示す側面図。
【図7】図6中に示した係合部材のVII−VII破断線に沿った断面図。
【図8】先願に係る鉄道車両用軌間可変台車を示した要部破断正面図。
【図9】先願に係る軌間変更ロック解除装置を示す要部破断正面図。
【符号の説明】
1 軸箱
2 車軸
3 車軸外筒
4 軸受
5 車輪
6 ロッキングブロック
7,8 係合突起
9 係合孔
10 逃げ孔
11 車体支持レール
12 軌道
13 軸端梁
14 係合ローラ
15 ロック解除レール
16 係合面
20 車体支持レール
21 水平軸
22 車体支持ローラ
23 そり
24 支軸
30 車体案内レール
31 本体部分
32 凹溝
33 案内ローラ
34 摺板
40 ロック解除レール
41 縦壁部分
42 水平部分
43 係合面
50 軸端梁
51 環状部分
52、53 支持腕
54,55 ガイドピン
56 延設部分
60 係合部材
61 スペーサ
62 水平部分
63 縦壁部分
64 係合部分
65 摺動面
70 防塵カバー
71 貫通孔
80 係合部材
81 水平部分
82 貫通孔
83 弾性壁
84 係合部分
85 摺動面

Claims (5)

  1. 鉄道車両用軌間可変台車のための軌間変更ロック解除装置であって、
    前記鉄道車両用軌間可変台車が、
    軸箱に対して上下方向に昇降可能に支持された車軸と、
    標準軌に対応する位置および狭軌に対応する位置においてそれぞれ前記軸箱に対して軌間変更不能にロック可能な、前記車軸にスライド自在に嵌装された車軸外筒と、
    前記車軸外筒に軸受を介して回転可能に支持された車輪と、
    前記軸箱に摺動自在に嵌装されたガイドピンにより軌間変更時における前記車軸の前記軸箱に対する昇降を案内する、前記車軸の軸端に取り付けられた軸端梁と、
    前記軸端梁を車両限界の近傍まで下方に延設した部分に螺着されて、前記車両限界の内側に配置された係合部材と、
    を備え、
    軌間変更時には前記車軸を前記軸箱に対して下方に変位させることにより前記軸箱に対する前記車軸外筒のロックを解除できるようになっており、
    かつ地上の軌間変更区間には、軌間変更時に前記車軸が前記軸箱に対して下方に変位しないときには前記係合部材に接触して前記車軸を強制的に下方に変位させるための前記進行方向前方に向かって前下がりに傾斜する係合面を有したロック解除レールと、前記車輪がその上を転動する軌道とが並設されており、
    さらに前記ロック解除レールの係合面は、前記ロック解除レールの上端部分で、前記車両限界のうち地上に接近するに連れて前記軌道側に接近する傾斜部分の近傍に位置するように配置されている、
    ことを特徴とする鉄道車両用軌間可変台車のための軌間変更ロック解除装置。
  2. 前記係合部材は、前記軸端梁を下方に延設した部分に螺着される部分と、この部分から下方に延設されてその内部に左右方向に延びる貫通孔を形成する湾曲した弾性壁と、この弾性壁から前記ロック解除レール側に向かって延設された係合部分と、この係合部分の上面に形成されて前記ロック解除レールの係合面と係合しつつ摺動する摺動面とを有していることを特徴とする請求項1に記載した鉄道車両用軌間可変台車のための軌間変更ロック解除装置。
  3. 前記ロック解除レールの係合面は、前記軌間変更区間において前記車輪が前記軌道上を転動しているときには、前記係合部材の摺動面に対して所定の間隔を開けて上方に位置するように配置されていることを特徴とする請求項1または2に記載の鉄道車両用軌間可変台車の軌間変更ロック解除装置。
  4. 前記係合部材の摺動面は、鉛直方向上方に向かって凸な曲面に形成されていることを特徴とする請求項1乃至3のいずれかに記載の鉄道車両用軌間可変台車の軌間変更ロック解除装置。
  5. 前記係合部材は、複数枚のスペーサを介して前記軸端梁を下方に延設した部分に螺着され、前記軸端梁に対する上下方向の位置調整が可能となっていることを特徴とする請求項1乃至4のいずれかに記載の鉄道車両用軌間可変台車の軌間変更ロック解除装置。
JP34386999A 1999-12-02 1999-12-02 鉄道車両用軌間可変台車の軌間変更ロック解除装置 Expired - Fee Related JP3588024B2 (ja)

Priority Applications (1)

Application Number Priority Date Filing Date Title
JP34386999A JP3588024B2 (ja) 1999-12-02 1999-12-02 鉄道車両用軌間可変台車の軌間変更ロック解除装置

Applications Claiming Priority (1)

Application Number Priority Date Filing Date Title
JP34386999A JP3588024B2 (ja) 1999-12-02 1999-12-02 鉄道車両用軌間可変台車の軌間変更ロック解除装置

Publications (2)

Publication Number Publication Date
JP2001158351A JP2001158351A (ja) 2001-06-12
JP3588024B2 true JP3588024B2 (ja) 2004-11-10

Family

ID=18364877

Family Applications (1)

Application Number Title Priority Date Filing Date
JP34386999A Expired - Fee Related JP3588024B2 (ja) 1999-12-02 1999-12-02 鉄道車両用軌間可変台車の軌間変更ロック解除装置

Country Status (1)

Country Link
JP (1) JP3588024B2 (ja)

Families Citing this family (2)

* Cited by examiner, † Cited by third party
Publication number Priority date Publication date Assignee Title
CN108674443B (zh) * 2018-06-12 2024-01-30 吉林大学 一种适用于变轨距转向架的地面配套垂向承载装置
KR102932131B1 (ko) * 2021-12-14 2026-02-27 한국철도기술연구원 철도차량용 윤축의 비대칭 방지 구조

Family Cites Families (7)

* Cited by examiner, † Cited by third party
Publication number Priority date Publication date Assignee Title
JP3470986B2 (ja) * 1995-02-13 2003-11-25 財団法人鉄道総合技術研究所 鉄道車両用軌間可変台車
JP3265153B2 (ja) * 1995-06-06 2002-03-11 日本鉄道建設公団 鉄道車両の軌間可変台車
ES2130039B1 (es) * 1996-04-17 2000-02-16 Talgo Patentes Conjunto de eje ferroviario dotado de cambio automatico de ancho de via y adaptable a bogies convencionales de mercancias.
JP3558782B2 (ja) * 1996-06-14 2004-08-25 財団法人鉄道総合技術研究所 鉄道車両用軌間可変台車
JPH1035941A (ja) * 1996-07-18 1998-02-10 Mita Ind Co Ltd 画像形成装置の転写紙搬送機構
JP3845970B2 (ja) * 1996-11-13 2006-11-15 ブラザー工業株式会社 インク噴射装置
JP3499401B2 (ja) * 1997-06-05 2004-02-23 富士重工業株式会社 鉄道車両用軌間可変台車の軌間変更ロック解除装置

Also Published As

Publication number Publication date
JP2001158351A (ja) 2001-06-12

Similar Documents

Publication Publication Date Title
EP0596408B1 (en) Method of changing the gauge of a railway vehicle, variable gauge railway vehicle, and ground facility therefore
JP3652577B2 (ja) 鉄道車両用軌間可変台車
JP2502911B2 (ja) 鉄道車両用台車
JP6446293B2 (ja) 鉄道車両の軌間可変台車
AU2009242050B2 (en) Variable-width bogie with rotating axles and a stationary apparatus for changing track width
JP5428117B2 (ja) 可変レール・ゲージ用台車、及びレール・ゲージの変更ステーション
RU2567679C2 (ru) Смещаемая колесная тележка для железнодорожных вагонов
AU683686B2 (en) A guiding system applicable to a four-wheel bogie with variable gap between them
JP3470986B2 (ja) 鉄道車両用軌間可変台車
JP3588024B2 (ja) 鉄道車両用軌間可変台車の軌間変更ロック解除装置
EP0884231B1 (en) Articulated railway carriage for the tranport of cars, provided with single-axle running gears with movable independent wheels
US7254896B2 (en) Inner bearing split axle assembly
KR100969195B1 (ko) 철도 차량 이탈방지구
JP3588023B2 (ja) 鉄道車両用軌間可変台車
JP3652570B2 (ja) 鉄道車両用軌間可変台車
JPH06240608A (ja) 鉄道ゲージを変更するための固定設備
JP3499401B2 (ja) 鉄道車両用軌間可変台車の軌間変更ロック解除装置
JPH08169338A (ja) 鉄道車両の軌間可変台車及び軌間変更装置
JP4226975B2 (ja) 鉄道用搬送台車
JP2003137093A (ja) 鉄道車両用軌間可変台車のロック解除装置
KR102844179B1 (ko) 철도차량용 궤간가변 시스템 및 이를 이용한 궤간변환 방법
JP3678947B2 (ja) 台車のゲージ変更方法およびゲージ変更設備
JPH07267080A (ja) 車 両
KR200217990Y1 (ko) 경전철용 대차의 구조
JPS5852858B2 (ja) 極小半径走行台車

Legal Events

Date Code Title Description
A977 Report on retrieval

Free format text: JAPANESE INTERMEDIATE CODE: A971007

Effective date: 20040129

A131 Notification of reasons for refusal

Free format text: JAPANESE INTERMEDIATE CODE: A131

Effective date: 20040213

A521 Written amendment

Free format text: JAPANESE INTERMEDIATE CODE: A523

Effective date: 20040413

TRDD Decision of grant or rejection written
A01 Written decision to grant a patent or to grant a registration (utility model)

Free format text: JAPANESE INTERMEDIATE CODE: A01

Effective date: 20040716

A61 First payment of annual fees (during grant procedure)

Free format text: JAPANESE INTERMEDIATE CODE: A61

Effective date: 20040811

R150 Certificate of patent or registration of utility model

Free format text: JAPANESE INTERMEDIATE CODE: R150

FPAY Renewal fee payment (event date is renewal date of database)

Free format text: PAYMENT UNTIL: 20070820

Year of fee payment: 3

FPAY Renewal fee payment (event date is renewal date of database)

Free format text: PAYMENT UNTIL: 20080820

Year of fee payment: 4

FPAY Renewal fee payment (event date is renewal date of database)

Free format text: PAYMENT UNTIL: 20090820

Year of fee payment: 5

FPAY Renewal fee payment (event date is renewal date of database)

Free format text: PAYMENT UNTIL: 20100820

Year of fee payment: 6

FPAY Renewal fee payment (event date is renewal date of database)

Free format text: PAYMENT UNTIL: 20100820

Year of fee payment: 6

FPAY Renewal fee payment (event date is renewal date of database)

Free format text: PAYMENT UNTIL: 20110820

Year of fee payment: 7

FPAY Renewal fee payment (event date is renewal date of database)

Free format text: PAYMENT UNTIL: 20110820

Year of fee payment: 7

S533 Written request for registration of change of name

Free format text: JAPANESE INTERMEDIATE CODE: R313533

FPAY Renewal fee payment (event date is renewal date of database)

Free format text: PAYMENT UNTIL: 20110820

Year of fee payment: 7

R350 Written notification of registration of transfer

Free format text: JAPANESE INTERMEDIATE CODE: R350

FPAY Renewal fee payment (event date is renewal date of database)

Free format text: PAYMENT UNTIL: 20110820

Year of fee payment: 7

FPAY Renewal fee payment (event date is renewal date of database)

Free format text: PAYMENT UNTIL: 20120820

Year of fee payment: 8

FPAY Renewal fee payment (event date is renewal date of database)

Free format text: PAYMENT UNTIL: 20120820

Year of fee payment: 8

FPAY Renewal fee payment (event date is renewal date of database)

Free format text: PAYMENT UNTIL: 20130820

Year of fee payment: 9

LAPS Cancellation because of no payment of annual fees