JP3582008B2 - 黒板払きの掃除具 - Google Patents
黒板払きの掃除具 Download PDFInfo
- Publication number
- JP3582008B2 JP3582008B2 JP2000404748A JP2000404748A JP3582008B2 JP 3582008 B2 JP3582008 B2 JP 3582008B2 JP 2000404748 A JP2000404748 A JP 2000404748A JP 2000404748 A JP2000404748 A JP 2000404748A JP 3582008 B2 JP3582008 B2 JP 3582008B2
- Authority
- JP
- Japan
- Prior art keywords
- covering member
- base plate
- blackboard
- suction port
- chalkboard
- Prior art date
- Legal status (The legal status is an assumption and is not a legal conclusion. Google has not performed a legal analysis and makes no representation as to the accuracy of the status listed.)
- Expired - Fee Related
Links
Images
Landscapes
- Drawing Aids And Blackboards (AREA)
Description
【0001】
【発明の属する技術分野】
本発明は、黒板払きに付着しているチョーク粉末を吸引するようになる黒板払きの掃除具に関するものである。
【0002】
【従来の技術】
黒板払きに付着しているチョーク粉末等は黒板払きを棒等で打いて除去するようにしてあり、これを機械的に除去するものは皆無である。
【0003】
【発明が解決しようとする課題】
黒板払きを棒等で打いてチョーク粉末を除去すると、チョーク粉末が飛散し、周囲を汚す難点がある。
本発明は、前記従来の難点を一掃し、チョーク粉末の飛散を防止してこれを一定の箇所に吸引収集するようになる黒板払きの掃除具を提供しようとするものである。
【0004】
【課題を解決するための手段】
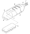
本発明は、前記の目的を達成する手段として、ベース板1状にゴム等の弾力性資材からなる被覆部材2を装着して内部に黒板拭きaを収納する格納部3を形成すると共に、前記被覆部材2の先端部に先細状の吸引口4を設け且つ被覆部材2の後端部を完全に解放させ、前記格納部3に黒板拭きaを収納し、前記ベース板1を含む被覆部材2を麻等の布製の袋体5に入れ、袋体5の一端を前記被覆部材2の吸引口4付近にゴム或いは布紐等で固定し、他端は面ファスナー6等により前記ベース板1の裏側で止着し、前記吸引口4をバキュームホース7に連結するようにした。
【0005】
【発明の実施の形態】
本発明の具体的な構成を図について説明すると、ベース板1は木製、プラスチック製等が用いられ、このベース板1に充分な反発力が得られる程度の肉厚を持つゴム製の被覆部材2を装着して、断面アーチ型状の格納部3をベース板1上に形成し、該被覆部材2は後端部が全面に亘って解放されており、先端部には先細状の吸引口4があり、この吸引口4をバキュームホース7に連結するようになる。
【0006】
つぎに、前記被覆部材2とベース板1を包みこむ袋体5は麻袋等の通気性良好な布製であって、その口部を前記被覆部材2の吸引口4の近傍にゴム或いは紐等でしっかりとりつけ、袋体5の後端部は面ファスナー6によって前記ベース板1の裏側で止着するようになる。
【0007】
而して本発明は、黒板払きaをその払拭面が上になるようにして前記格納部3に入れてバキュームを作動させ、且つ被覆部材2の上面を棒等を使って叩打すると黒板払きaに含侵しているチョーク粉末が格納部3内に飛散し、この飛散したチョークの粉末がバキュームの吸引によって所定位置に収集されるようになり、室内へのチョークの粉末の飛散が確実に防止されると共に被覆部材2は適度の肉厚を持つ反発力を有するゴム等からなり、被覆部材2の叩打時に形成される圧縮部分が瞬時にして復元し、チョーク粉末のたたき出しを反復継続して行うことができ、さらに被覆部材2の上面或いは側面等に複数個のスリット8を入れることによってその復元力が一層向上し、チョーク粉末のたたき出しを有利に遂行し得るものである。
【0008】
【発明の効果】
本発明は、袋体によって包囲されている被覆部材2内で黒板拭きaのチョーク粉末をたたき出してバキュームの吸引力によって所定位置に収集するようになるもので、チョーク粉末を室内に飛散させずに黒板拭きaの掃除を簡便且つ迅速に遂行し得る利点を有するものである。
【図面の簡単な説明】
【図1】黒板払きとその掃除具を示す斜視図
【図2】同掃除具の断面図
【図3】同掃除具の側面図
【図4】同掃除具を長手方向に切断した拡大断面図
【符号の説明】
1 ベース板
2 被覆部材
3 格納部
4 吸引口
5 袋体
8 スリット
【発明の属する技術分野】
本発明は、黒板払きに付着しているチョーク粉末を吸引するようになる黒板払きの掃除具に関するものである。
【0002】
【従来の技術】
黒板払きに付着しているチョーク粉末等は黒板払きを棒等で打いて除去するようにしてあり、これを機械的に除去するものは皆無である。
【0003】
【発明が解決しようとする課題】
黒板払きを棒等で打いてチョーク粉末を除去すると、チョーク粉末が飛散し、周囲を汚す難点がある。
本発明は、前記従来の難点を一掃し、チョーク粉末の飛散を防止してこれを一定の箇所に吸引収集するようになる黒板払きの掃除具を提供しようとするものである。
【0004】
【課題を解決するための手段】
本発明は、前記の目的を達成する手段として、ベース板1状にゴム等の弾力性資材からなる被覆部材2を装着して内部に黒板拭きaを収納する格納部3を形成すると共に、前記被覆部材2の先端部に先細状の吸引口4を設け且つ被覆部材2の後端部を完全に解放させ、前記格納部3に黒板拭きaを収納し、前記ベース板1を含む被覆部材2を麻等の布製の袋体5に入れ、袋体5の一端を前記被覆部材2の吸引口4付近にゴム或いは布紐等で固定し、他端は面ファスナー6等により前記ベース板1の裏側で止着し、前記吸引口4をバキュームホース7に連結するようにした。
【0005】
【発明の実施の形態】
本発明の具体的な構成を図について説明すると、ベース板1は木製、プラスチック製等が用いられ、このベース板1に充分な反発力が得られる程度の肉厚を持つゴム製の被覆部材2を装着して、断面アーチ型状の格納部3をベース板1上に形成し、該被覆部材2は後端部が全面に亘って解放されており、先端部には先細状の吸引口4があり、この吸引口4をバキュームホース7に連結するようになる。
【0006】
つぎに、前記被覆部材2とベース板1を包みこむ袋体5は麻袋等の通気性良好な布製であって、その口部を前記被覆部材2の吸引口4の近傍にゴム或いは紐等でしっかりとりつけ、袋体5の後端部は面ファスナー6によって前記ベース板1の裏側で止着するようになる。
【0007】
而して本発明は、黒板払きaをその払拭面が上になるようにして前記格納部3に入れてバキュームを作動させ、且つ被覆部材2の上面を棒等を使って叩打すると黒板払きaに含侵しているチョーク粉末が格納部3内に飛散し、この飛散したチョークの粉末がバキュームの吸引によって所定位置に収集されるようになり、室内へのチョークの粉末の飛散が確実に防止されると共に被覆部材2は適度の肉厚を持つ反発力を有するゴム等からなり、被覆部材2の叩打時に形成される圧縮部分が瞬時にして復元し、チョーク粉末のたたき出しを反復継続して行うことができ、さらに被覆部材2の上面或いは側面等に複数個のスリット8を入れることによってその復元力が一層向上し、チョーク粉末のたたき出しを有利に遂行し得るものである。
【0008】
【発明の効果】
本発明は、袋体によって包囲されている被覆部材2内で黒板拭きaのチョーク粉末をたたき出してバキュームの吸引力によって所定位置に収集するようになるもので、チョーク粉末を室内に飛散させずに黒板拭きaの掃除を簡便且つ迅速に遂行し得る利点を有するものである。
【図面の簡単な説明】
【図1】黒板払きとその掃除具を示す斜視図
【図2】同掃除具の断面図
【図3】同掃除具の側面図
【図4】同掃除具を長手方向に切断した拡大断面図
【符号の説明】
1 ベース板
2 被覆部材
3 格納部
4 吸引口
5 袋体
8 スリット
Claims (1)
- ベース板1上にゴム等の弾力性資材からなる被覆部材2を装着して内部に黒板拭きaを収納する格納部3を形成すると共に、前記被覆部材2の先端部に先細状の吸引口4をもうけ且つ被覆部材2の後端部を解放させ、前記格納部3に黒板拭きaを収納し、前記ベース板1を含む被覆部材2を麻等の布製の袋体5に入れ、袋体5の一端を前記被覆部材2の吸引口4付近にゴム或いは布紐等で固定し、他端は面ファスナー6等で前記ベース板1の裏側で止着し、前記吸引口4をバキュームホース7に連結するようになる黒板拭きの掃除具。
Priority Applications (1)
| Application Number | Priority Date | Filing Date | Title |
|---|---|---|---|
| JP2000404748A JP3582008B2 (ja) | 2000-12-27 | 2000-12-27 | 黒板払きの掃除具 |
Applications Claiming Priority (1)
| Application Number | Priority Date | Filing Date | Title |
|---|---|---|---|
| JP2000404748A JP3582008B2 (ja) | 2000-12-27 | 2000-12-27 | 黒板払きの掃除具 |
Publications (2)
| Publication Number | Publication Date |
|---|---|
| JP2002200028A JP2002200028A (ja) | 2002-07-16 |
| JP3582008B2 true JP3582008B2 (ja) | 2004-10-27 |
Family
ID=18868651
Family Applications (1)
| Application Number | Title | Priority Date | Filing Date |
|---|---|---|---|
| JP2000404748A Expired - Fee Related JP3582008B2 (ja) | 2000-12-27 | 2000-12-27 | 黒板払きの掃除具 |
Country Status (1)
| Country | Link |
|---|---|
| JP (1) | JP3582008B2 (ja) |
-
2000
- 2000-12-27 JP JP2000404748A patent/JP3582008B2/ja not_active Expired - Fee Related
Also Published As
| Publication number | Publication date |
|---|---|
| JP2002200028A (ja) | 2002-07-16 |
Similar Documents
| Publication | Publication Date | Title |
|---|---|---|
| US3574885A (en) | Pet brush | |
| KR101556177B1 (ko) | 진공 청소기 | |
| JP3937405B2 (ja) | 電気掃除機用吸込み具及びこれを備えた電気掃除機 | |
| GB2458221A (en) | Handheld vacuum cleaner | |
| CN102762139B (zh) | 真空吸尘器的吸嘴 | |
| JP6232353B2 (ja) | 電気掃除機の吸込口体 | |
| GB2081021A (en) | Magnet attachment for vacuum cleaners | |
| KR100640754B1 (ko) | 진공청소기 | |
| JP3582008B2 (ja) | 黒板払きの掃除具 | |
| CN217564539U (zh) | 宠物吸尘器 | |
| JP2004337499A (ja) | 電気掃除機用吸込具およびそれを用いた電気掃除機 | |
| KR20210045038A (ko) | 솔부가 구비된 청소용 장갑 | |
| JP4677128B2 (ja) | 網戸用清掃具 | |
| JPH1043115A (ja) | 清掃具 | |
| JPH0725159Y2 (ja) | 小型電気掃除機の吸込ノズル | |
| JP2000000193A (ja) | 携帯用集塵機 | |
| JP7096047B2 (ja) | 電動チリトリ | |
| JP2015058160A (ja) | トイレ用クリーナ | |
| KR200276440Y1 (ko) | 완구용 청소구 | |
| JP6485853B2 (ja) | 電気掃除機用吸込具及び電気掃除機 | |
| JP3039642U (ja) | 払拭清掃用具及び清掃シートそしてその組合せ体 | |
| JP3068412U (ja) | カ―ペット等のペットの毛等の掃除用具 | |
| JPH0825891A (ja) | 黒板拭き装置 | |
| JPH10201693A (ja) | 掃除具 | |
| KR200418114Y1 (ko) | 청소기 걸레부착부의 벨크로 구조 |
Legal Events
| Date | Code | Title | Description |
|---|---|---|---|
| A521 | Written amendment |
Free format text: JAPANESE INTERMEDIATE CODE: A523 Effective date: 20040318 |
|
| A521 | Written amendment |
Free format text: JAPANESE INTERMEDIATE CODE: A523 Effective date: 20040318 |
|
| TRDD | Decision of grant or rejection written | ||
| A01 | Written decision to grant a patent or to grant a registration (utility model) |
Free format text: JAPANESE INTERMEDIATE CODE: A01 Effective date: 20040525 |
|
| A61 | First payment of annual fees (during grant procedure) |
Free format text: JAPANESE INTERMEDIATE CODE: A61 Effective date: 20040715 |
|
| R150 | Certificate of patent or registration of utility model |
Free format text: JAPANESE INTERMEDIATE CODE: R150 |
|
| LAPS | Cancellation because of no payment of annual fees |