JP3556111B2 - 電子部品用パツケージ、それを用いた電子部品組立構体および電子部品組立構体の製造方法 - Google Patents
電子部品用パツケージ、それを用いた電子部品組立構体および電子部品組立構体の製造方法 Download PDFInfo
- Publication number
- JP3556111B2 JP3556111B2 JP36496898A JP36496898A JP3556111B2 JP 3556111 B2 JP3556111 B2 JP 3556111B2 JP 36496898 A JP36496898 A JP 36496898A JP 36496898 A JP36496898 A JP 36496898A JP 3556111 B2 JP3556111 B2 JP 3556111B2
- Authority
- JP
- Japan
- Prior art keywords
- electrode
- base
- electronic component
- sealing
- grounding
- Prior art date
- Legal status (The legal status is an assumption and is not a legal conclusion. Google has not performed a legal analysis and makes no representation as to the accuracy of the status listed.)
- Expired - Fee Related
Links
- 238000004519 manufacturing process Methods 0.000 title claims description 16
- 238000007789 sealing Methods 0.000 claims description 67
- 239000003566 sealing material Substances 0.000 claims description 39
- 239000000758 substrate Substances 0.000 claims description 17
- 239000004020 conductor Substances 0.000 claims description 10
- 229910052751 metal Inorganic materials 0.000 description 13
- 239000002184 metal Substances 0.000 description 13
- 239000013078 crystal Substances 0.000 description 8
- 239000000853 adhesive Substances 0.000 description 7
- 230000001070 adhesive effect Effects 0.000 description 7
- 238000000034 method Methods 0.000 description 7
- PNEYBMLMFCGWSK-UHFFFAOYSA-N Alumina Chemical compound [O-2].[O-2].[O-2].[Al+3].[Al+3] PNEYBMLMFCGWSK-UHFFFAOYSA-N 0.000 description 6
- 239000000463 material Substances 0.000 description 6
- 239000010453 quartz Substances 0.000 description 6
- VYPSYNLAJGMNEJ-UHFFFAOYSA-N silicon dioxide Inorganic materials O=[Si]=O VYPSYNLAJGMNEJ-UHFFFAOYSA-N 0.000 description 6
- 238000010586 diagram Methods 0.000 description 5
- 239000002241 glass-ceramic Substances 0.000 description 3
- 238000010438 heat treatment Methods 0.000 description 3
- 238000002844 melting Methods 0.000 description 3
- 230000008018 melting Effects 0.000 description 3
- 230000000694 effects Effects 0.000 description 2
- 229910052839 forsterite Inorganic materials 0.000 description 2
- 239000011521 glass Substances 0.000 description 2
- HCWCAKKEBCNQJP-UHFFFAOYSA-N magnesium orthosilicate Chemical compound [Mg+2].[Mg+2].[O-][Si]([O-])([O-])[O-] HCWCAKKEBCNQJP-UHFFFAOYSA-N 0.000 description 2
- 239000000843 powder Substances 0.000 description 2
- 229910000679 solder Inorganic materials 0.000 description 2
- 210000001217 buttock Anatomy 0.000 description 1
- 230000032798 delamination Effects 0.000 description 1
- 238000010304 firing Methods 0.000 description 1
- 239000000155 melt Substances 0.000 description 1
- 230000010355 oscillation Effects 0.000 description 1
- SWELZOZIOHGSPA-UHFFFAOYSA-N palladium silver Chemical compound [Pd].[Ag] SWELZOZIOHGSPA-UHFFFAOYSA-N 0.000 description 1
- 229910001220 stainless steel Inorganic materials 0.000 description 1
- 239000010935 stainless steel Substances 0.000 description 1
Images
Landscapes
- Mounting Components In General For Electric Apparatus (AREA)
- Structures For Mounting Electric Components On Printed Circuit Boards (AREA)
- Piezo-Electric Or Mechanical Vibrators, Or Delay Or Filter Circuits (AREA)
Description
【発明の属する技術分野】
本発明は、水晶振動素子、水晶発振素子、SAWデバイス素子等の電子素子を収納する電子部品用パッケージに関する。
本発明はまた、前記の電子部品用パッケージに電子素子を組み付けた電子部品中間構体を、プリント基板等の取付基板に組み付けた電子部品組立構体に関する。
本発明はさらに、前記電子部品組立構体の製造方法に関する。
【0002】
【従来の技術】
水晶振動子、水晶発振子、SAWデバイス用の気密パッケージとして、絶縁性ベースと、この絶縁性ベースの内方から絶縁性ベースの外方に導出された電極と、絶縁性ベースの開口部に封止材を介して気密に封止されたキャップとを有する気密パッケージがある。そのような気密パッケージは、水晶振動素子等の形状により各種のものがある。例えば、矩形板状の水晶振動素子用の気密パッケージとしては、実開平6−77328号公報に開示されているものがある。その典型的なものについて、以下説明する。
図11は従来の気密パッケージの斜視図で、図12はその封止材およびキャップの一部を除去した平面図、図13は図12のB−B線に沿う縦断面図である。
図11ないし図13において、71はアルミナセラミツク製の箱状の絶縁製ベースで、底板部72および枠体部73を有する。74、75は絶縁製ベース71の内方から外方に導出された銀パラジウムペースト等の塗布・焼成により形成された電極、76は前記電極74、75と同一材料で同時に形成された、後述する水晶振動素子等の電子素子を支持する、いわゆる「枕」と称される支持部である。2点鎖線で示す77は前記電極74、75に導電性接着材により接続固定された水晶振動素子等の電子素子、78は前記絶縁性ベース71の開口部を封止する封止材で、絶縁性ベース71の枠体部73の上面とアルミナセラミック製のキャップ79の下面とを封止している。
上記構成の気密パッケージにおいては、キャップ79としてアルミナセラミック等の絶縁性キャップを用いているため、機械的強度の点からその厚さ寸法t2の薄型化に限度があり、それに伴って気密パッケージ全体の厚さ寸法t3の薄型化にも限度がある。また、浮遊容量や外来電磁波に起因する電子素子7の特性変動を防止できない。
このため、アルミナセラミツク製の絶縁性キャップ79に代えて金属キャップを用いることも考えられている。しかしながら、アルミナセラミック製の絶縁性ベース71に金属キャップを組み合わすことは、両者の熱膨張係数差による応力で、封止材78に亀裂が生じたり、金属キャップが剥離するという問題がある。
そこで、アルミナセラミック製の絶縁性ベース71の枠体部73の上に、絶縁性ベース71と金属キャップとの中間の熱膨張係数の中間金属枠体部を介在することも考えられている。しかしながら、このような構成では、中間金属枠体部が必要になり、材料費および加工費が嵩むのみならず、気密パッケージ全体が嵩高になり、低背化にも反する。
【0003】
そこで、本出願人は、ガラス中にフォルステライト粉末を30〜70wt%混入した熱膨張係数が10〜15×10−6/℃のガラスセラミツクからなる絶縁性ベースを開発するとともに、この絶縁性ベースにこれと近似する熱膨張係数金属を有するステンレス鋼よりなる金属キャップを封止材で封止する気密パッケージを提案した。このような構成の気密パツケージによれば、絶縁性ベースと金属キャップとの熱膨張係数が近似しているので、熱膨張係数差に起因する応力発生がなく、電子素子の特性変動が生じない気密パツケージが提供できる。また、金属キャップを接地すれば、浮遊容量や外来電磁波に起因する電子素子の特性変動も生じない。
なお、上記の絶縁性ベース71を用いて電子素子77を気密に封止した気密パッケージを用いた電子部品およびその電子部品をプリント基板等の取付基板に組み付けた電子部品組立構体の製造方法を、図14の製造工程ブロック図に示す。まず、絶縁性ベース71を製作し(図14a)。次に、この絶縁性ベース71の電極74、75に電子素子77を組み付けて電子部品中間構体を製作する(図14b)。次に、絶縁ベース71の開口部を金属キャップで封止して電子部品を製作する(図14c)。そして、前記電子部品をその下面に形成した電極74、75を利用して、プリント基板等の取付基板に組み付けて電子部品組立構体を製造する(図14d)。
【0004】
【発明が解決しようとする課題】
しかしながら、上記の構成の気密パツケージにおいても、金属キャップが必要で、気密パッケージ全体の低背化には限度があり、しかもこの金属キャップを絶縁性ベースの枠体部に封止材を介して気密に封止する必要があるため、キャップの封止と、電子部品の取付基板への組み付けと、二度の加熱工程が必要になり、電子素子77の加熱に伴う特性変動が生じやすい。
そこで、本発明は、上記の気密パツケージ用からキャップを省略し得る電子部品用パッケージを提供することを目的とする。
本発明はまた、上記の電子部品用パツケージを用いた電子部品組立構体を提供することを目的とする。
本発明はさらにまた、電子部品用パツケージを用いた電子部品組立構体の製造方法を提供することを目的とする。
【0005】
【課題を解決するための手段】
本発明は、底板部および枠体部とを有するベースと、このベースの内方からベースの外方に導出され前記枠体部の端面部を通って枠体部の上面部まで形成された電子素子用電極と、前記ベースの枠体部の上面部に前記電子素子用電極と離隔して形成された接地兼封止用電極とを有する電子部品用パツケージである。
本発明はまた、底板部および枠体部とを有するベースと、このベースの内方からベースの外方に導出され前記枠体部の端面部を通って枠体部の上面部まで形成された電子素子用電極と、前記ベースの枠体部の上面部に前記電子素子用電極と離隔して形成された接地兼封止用電極と、前記接地兼封止用電極に被着された封止材とを有する電子部品用パツケージにおける前記電子素子用電極に電子素子を接続固着してなる電子部品中間構体を、前記電子素子用電極を取付基板の回路端子に接続するとともに、前記封止材で取付基板に気密に固着封止した電子部品組立構体である。
本発明はさらに、底板部および枠体部とを有するベースと、このベースの内方からベースの外方に導出され前記枠体部の端面部を通って枠体部の上面部まで形成された電子素子用電極と、前記ベースの枠体部の上面部に前記電子素子用電極と離隔して形成された接地兼封止用電極と、前記接地兼封止用電極に被着された導電性封止材とを有する電子部品用パツケージを用意する工程と、前記電子部品用パツケージにおける電子素子用電極に電子素子を接続固着して電子部品中間構体を製作する工程と、前記電子素子用電極を取付基板の回路端子に接続すると同時に、前記封止材で取付基板に気密に固着封止する工程とを有する電子部品組立構体の製造方法である。
【0006】
【発明の実施の形態】
本発明の請求項1記載の発明は、底板部および枠体部を有するベースと、このベースの内方から外方に導出され前記枠体部の端面部および上面部まで形成された電子素子用電極と、前記枠体部の上面部に前記電子素子用電極と離隔して形成された接地兼封止用電極とを有する電子部品用パッケージである。
【0007】
本発明の請求項2記載の発明は、底板部および枠体部を有するベースと、このベースの内方から外方に導出され前記枠体部の端面部および上面部まで形成された電子素子用電極と、前記枠体部の上面部に前記電子素子用電極と離隔して形成された接地兼封止用電極と、前記接地兼封止用電極に被着された封止材とを有する電子部品用パッケージである。
【0008】
本発明の請求項3記載の発明は、底板部および枠体部を有するベースと、このベースの内方から外方に導出され前記枠体部の端面部および上面部まで形成された電子素子用電極と、前記枠体部の上面部に前記電子素子用電極と離隔して形成された接地兼封止用電極と、前記接地兼封止用電極に被着された導電性封止材とを有する電子部品用パッケージである。
【0009】
本発明の請求項4記載の発明は、底板部および枠体部を有するベースと、このベースの内方から外方に導出され前記枠体部の端面部および上面部まで形成された電子素子用電極と、前記枠体部の上面部に前記電子素子用電極と離隔して枠状に形成された接地兼封止用電極と、前記接地兼封止用電極に被着されたはんだよりなる導電性封止材とを有する電子部品用パッケージである。
【0010】
本発明の請求項5記載の発明は、底板部および枠体部を有するベースと、このベースの内方から外方に導出され前記枠体部の端面部および上面部まで形成された電極と、前記枠体部の上面部に前記電子素子用電極と離隔して枠状に形成された接地兼封止用電極と、前記接地兼封止用電極に被着された導電性封止材とを有する電子部品用パッケージにおける、前記電子素子用電極に電子素子を接続固着した電子部品中間構体を、その開口部をキャップで封止することなく、前記電子素子用電極を取付基板の回路端子に電気的に接続するとともに、前記接地兼封止用電極を前記取付基板に前記封止材で気密に固着封止したことを特徴とする電子部品組立構体である。
【0011】
本発明の請求項6記載の発明は、底板部および枠体部を有するベースと、このベースの内方から外方に導出され前記枠体部の端面部および上面部まで形成された電子素子用電極と、前記枠体部の上面部に電子素子用電極と離隔して枠状に形成された接地兼封止用電極と、前記接地兼封止用電極に被着された導電性封止材とを有する電子部品用パッケージにおける、前記電子素子用電極に電子素子を接続固着した臀部品中間構体を、キャップで封止することなく、前記電子素子用電極を取付基板の回路電極に電気的に接続するとともに、前記接地兼封止用電極を前記取付基板に形成した接地電極に前記導電性封止材で気密に固着封止したことを特徴とする電子部品組立構体である。
【0012】
本発明の請求項7記載の発明は、底板部および枠体部を有するベースと、このベースの内方から外方に導出され前記枠体部の端面部および上面部まで形成された電子素子用電極と、前記枠体部の上面部に電子素子用電極と離隔して枠状に形成された接地兼封止用電極と、前記接地兼封止用電極に被着された導電性封止材とを有する電子素子用パツケージを用意する工程と、前記電子素子用電極に電子素子を接続固着した電子部品中間構体を製作する工程と、前記電子素子用電極を取付基板の回路端子に電気的に接続すると同時に、前記接地兼封止用電極を前記取付基板に形成した接地電極に前記導電性封止材で気密に固着封止することを特徴とするする電子部品組立構体の製造方法である。
【0013】
【実施例】
本発明の実施例について、以下、図面を参照して説明する。
図1は本発明の一実施例の電子部品用パツケージ用Aの斜視図、図2は図1の電子部品用パツケージ用Aの平面図、図3は図2の電子部品用パツケージ用AののA−A線に沿う縦断面図である。
また、図4は本発明の電子部品組立構体の製造方法について説明するための製造工程ブロック図である。
まず、図1ないし図3に示す電子部品用パツケージ用Aを製作する(図4a)。図1ないし図3に示す電子部品用パツケージ用Aにおいて、1はベースの一例としての熱膨張係数が10〜15×10−6/℃のガラスセラミック製の絶縁性ベース(以下、単にベースという)で、底板部2と枠体部3とを有し、長手方向の両端部に電子素子用電極を形成するための凹部4、5を有する。このような熱膨張係数のベース1は、例えば、ガラス中に30〜70wt%のフォルステライト粉末を含むガラスセラミックで製作することができる。6、7は前記底板部2の上面からベース1の内方から外方に導出されている電子素子用電極で、一方の電極6は前記一方の凹部4の端面部を通って前記枠体部3の上面にまで延在してされており、他方の電極7は枠体部3の下を迂回して他方の凹部5の端面部を通って枠体部3の上面にまで延在してされている。8は前記電極6、7と同一材料でかつ同時に形成された、後述する水晶振動素子等の電子素子を支持するための、いわゆる「枕」と称せられる支持部である。9は前記枠体部3の上面に前記電子素子用電極6、7と離隔して形成された枠状の接地兼封止用電極である。2点鎖線で示す10は、水晶振動素子等の電子素子である。
前記電子部品用パツケージ用Aにおいては、ベース1の開口部を図11ないし図13に示すようなキャップ79で封止していないので、図11ないし図13に示す従来の気密パツケージに比較して、そのキャップ9の高さ寸法t2だけ小さくなり、それに応じて全体の高さ寸法t1は従来の高さ寸法t3に比較して小さくでき、低背化ができる。
【0014】
次に、上記の電子部品用パッケージAを用いて、その枠体部3の上面の電子素子用電極6、7および接地兼封止用電極9にはんだ等の導電性接着材11、12および導電性封止材13を被着形成する。さらに前記電子素子用電極6、7に水晶振動素子等の電子素子10を導電性接着材14、15で電気的に接続するとともに機械的に固着して、図5に示す電子部品中間構体Bを製作する(図4b)。ここで、前記導電性封止材11、12および導電性封止材13は、この電子部品中間構体Bを後述するプリント基板等の取付基板に固着する際の温度で溶融する融点を有するもので形成する。また、前記水晶振動素子等の電子素子10を接続固着する導電性接着材14、15は、前記導電性封止材11、12および導電性封止材13の融点よりも高い融点のものを用いる。
【0015】
図6は前記電子部品中間構体Bと、この電子部品中間構体Bを組み付けるプリント基板等の取付基板50の組み付け前の斜視図である。図において、電子部品中間構体Bは、組み立てのために裏返しの状態になっており、取付基板50は、前記電子部品中間構体Bの電子素子用電極6、7を接続するための回路端子51、52と、この回路端子51、52から離隔した矩形状の接地電極53とを有する。
そして、前記電子部品中間構体Bの電子素子用電極6、7に被着された導電性接着材11、12をそれぞれ前記回路端子51、52に、また、前記接地兼封止用電極9に被着された導電性封止材13を前記接地電極53に重ね合わせ、加圧しながら加熱することにより、前記電子素子用電極6、7に被着された導電性接着材11、12を溶融させて電子素子用電極6、7をそれぞれ前記回路端子51、52に接続すると同時に、前記接地兼封止用電極9に被着された導電性封止材13を溶融させて接地兼封止用電極9を前記接地電極53に固着封止する(図4c)。このようにして、前記電子部品中間構体Bの開口部の封止と、電子部品中間構体Bの基板50への組み付けが同時に実施できる。
このため、電子素子10は、電子部品中間構体Bを取付基板50に組み付ける時に、一回だけ加熱されるだけであるから、加熱に伴う特性変動が生じ難くなるという特長がある。
図7は電子部品中間構体Bを基板50へ組み付けた状態の電子部品組立構体Cの縦断面図を示す。この電子部品組立構体Cにおいても、当然のことながら、キャップを用いていないので、全体の低背化が実現される。また、接地電極53によって、電子部品中間構体Bの接地兼封止電極9が接地されるので、浮遊容量や外来電磁波による電子素子10の特性変動が防止できる。
【0016】
なお、上記実施例は特定の構成の電子部品用パツケージAについて説明したが、本発明はこの構成の電子部品用パツケージAに限定されるものではなく、本発明の精神を逸脱しない範囲で各種の変形された構成が採用できる。
例えば、上記の電子部品用パツケージAでは、図に示す従来の絶縁性ベース1と同一寸法のベース1を用いてその枠体部3の上面に電子素子用電極6、7と、接地兼封止用電極9とを形成したものを示したが、図8に示す電子部品用パツケージDのように、絶縁性ベース21の長手方向の両端部の枠体部3の幅寸法w1を、短手方向の両端部の枠体部3の幅寸法w2よりも大きくしてもよい。そのようにすると、枠体部3の上面における電子素子用電極6、7と接地兼封止用電極9の面積を大きくできるので、取付基板50への組み付けが容易になるし、電子素子用電極6、7と接地兼封止用電極9とをさらに離隔して形成できるので、取付基板50への組み付け時に、高度の位置決めをしなくても、電子素子用電極6、7と接地兼封止用電極9とが短絡することを確実に防止できる特長がある。
【0017】
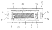
また、図9は電子素子用電極6、7を底板部2の長手方向の両端部に振り分けて形成した絶縁性ベース31を用いるとともに、水晶振動素子等の電子素子として両持ち用の電子素子32を用いたものでもよい。このようにすると、電極7を枠体部3の下を迂回して長手方向の他端部まで延在させる必要がなくなり、底板部2と枠体部3との密着性がよくなり、両者のデラミネーションが発生しなくなるのみならず、電極形成材料の使用量を節減できるし、電子素子32を安定して支持できる特長がある。
【0018】
さらに、上記実施例の電子部品用パツケージAおよびBは、ベース1、21または31の枠体部3の上面にのみ接地兼封止用電極9を形成する場合について説明したが、図10に示すように、ベース41の底板部2の全面に接地用導体層16を形成してもよい。なお、ベース41の長手方向の両端部に形成された凹部4、5の端面部には、図1に示す電子部品用パッケージAと異なり、上半分(図10の状態では下半分)のみに電子素子用電極6、7が形成されている。また、前記ベース41の短手方向の両端部には、凹部17、18を有し、これらの凹部17、18の端面部全面には、前記接地用導体層19が電気的に接続された接地用電極19、20が形成されている。
図中、60はプリント基板等の取付基板で、電子素子用電極6、7が接続される回路端子61、62と、ベース41の枠体部3の上面に形成された接地兼封止用電極9および前記ベース41の底板部2の下面に形成された接地用導体層16を接続固着するための接地電極63とを有する。ここで、前記接地電極63は、図6に示す接地電極51よりも大面積に形成されている。
このような構成によれば、前記ベース41の底板部2の下面の接地用導体層16が凹部17、18に形成された接地用電極19、20を介して接地されるので、浮遊容量や外来電磁波による電子素子10、32の特性変動をより確実に防止できるという特長がある。
【0019】
【発明の効果】
本発明は以上のように、底板部および枠体部とを有するベースと、このベースの内方からベースの外方に導出され前記枠体部の端面部を通って枠体部の上面部まで形成された電子素子用電極と、前記ベースの枠体部の上面部に前記電子素子用電極と離隔して形成された接地兼封止用電極とを有する電子部品用パッケージであるから、キャップを必要としない電子部品用パッージを提供できる。
本発明はまた、底板部および枠体部とを有するベースと、このベースの内方からベースの外方に導出され前記枠体部の端面部を通って枠体部の上面部まで形成された電子素子用電極と、前記ベースの枠体部の上面部に前記電子素子用電極と離隔して形成された接地兼封止用電極と、前記接地兼封止用電極に被着された導電性封止材とを有する電子部品用パツケージにおける前記電子素子用電極に電子素子を接続固着してなる電子部品中間構体を、前記ベースの開口部をキャップで封止することなく、前記電子素子用電極を取付基板の回路端子に接続するとともに、前記導電性封止材で取付基板に気密に固着封止した電子部品組立構体であるから、キャップを必要とせず、全体の低背化が実現できる。
本発明はさらに、底板部および枠体部とを有するベースと、このベースの内方からベースの外方に導出され前記枠体部の端面部を通って枠体部の上面部まで形成された電子素子用電極と、前記ベースの枠体部の上面部に前記電子素子用電極と離隔して形成された接地兼封止用電極と、前記接地兼封止用電極に被着された導電性封止材とを有する電子部品用パツケージを製造する工程と、前記電子部品用パツケージにおける電子素子用電極に電子素子を接続固着して電子部品中間構体を製作する工程と、前記ベースの開口部をキャップで封止することなく、前記電子素子用電極を取付基板の回路端子に接続すると同時に、前記導電性封止材で取付基板に気密に固着封止する工程とを有する電子部品組立構体の製造方法であるから、キャップを必要としない電子部品組立構体用が提供できるという効果を奏する。
【図面の簡単な説明】
【図1】本発明の一実施例の電子部品用パツケージ用Aの斜視図
【図2】図1の電子部品用パツケージ用Aの平面図
【図3】図2の電子部品用パツケージ用AのA−A線に沿う縦断面図
【図4】本発明の電子部品組立構体の製造方法を説明するための製造工程ブロック図
【図5】図1の電子部品用パツケージ用Aに電子素子を組み付けた電子部品中間構体Bの平面図
【図6】図5の電子部品中間構体Bを取付基板に組み付ける前の電子部品中間構体Bおよび取付基板の斜視図
【図7】図6の電子部品中間構体Bおよび取付基板の組み付け後の電子部品組立構体Cの縦断面図
【図8】本発明の第2実施例の電子部品用パッケージDの平面図
【図9】本発明の第3実施例の電子部品用パッケージを用いた電子部品中間構体Eの平面図
【図10】本発明の第4実施例の電子部品用パッケージを用いた電子部品中間構体Fおよび取付基板の組み付け前の斜視図
【図11】従来の気密パツケージを用いた電子部品の斜視図
【図12】図11の従来の気密パッケージを用いた電子部品のキャップおよび封止材の一部を除去した平面図
【図13】図12の従来の電子部品のB−B線に沿う縦断面図
【図14】従来の電子部品の製造方法を説明するための製造工程ブロック図
【符号の説明】
A、D 電子部品用パッケージ
B、E、F 電子部品中間構体
C 電子部品組立構体
1、21、31、41 ベース
2 底板部
3 枠体部
6、7 電子素子用電極
9 接地兼封止用電極
10、32 電子素子(水晶振動素子)
11、12、14、15 導電性接着材
13 導電性封止材
16 接地用導体層
19.20 接地用電極
60 取付基板(プリント基板)
52、61、62 回路端子
53、63 接地電極
Claims (7)
- 底板部および枠体部を有するベースと、このベースの内方から外方に導出され前記枠体部の端面部および上面部まで形成された電子素子用電極と、前記枠体部の上面部に前記電子素子用電極と離隔して形成された接地兼封止用電極とを有する電子部品用パッケージ。
- 底板部および枠体部を有するベースと、このベースの内方から外方に導出され前記枠体部の端面部および上面部まで形成された電子素子用電極と、前記枠体部の上面部に前記電子素子用電極と離隔して形成された接地兼封止用電極と、前記接地兼封止用電極に被着された導電性封止材とを有する電子部品用パッケージ。
- 底板部および枠体部を有するベースと、このベースの内方から外方に導出され前記枠体部の端面部および上面部まで形成された電子素子用電極と、前記枠体部の上面部に前記電子素子用電極と離隔して枠状に形成された接地兼封止用電極と、前記接地兼封止用電極に被着された導電性封止材とを有する電子部品用パッケージ。
- 底板部および枠体部を有するベースと、このベースの内方から外方に導出され前記枠体部の端面部および上面部まで形成された電子素子用電極と、前記枠体部の上面部に前記電子素子用電極と離隔して枠状に形成された接地兼封止用電極と、前記接地兼封止用電極に被着された導電性封止材と、前記ベースの端面部および底板部の下面に形成された接地用導体層とを有する電子部品用パッケージ。
- 底板部および枠体部を有するベースと、このベースの内方から外方に導出され前記枠体部の端面部および上面部まで形成された電子素子用電極電極と、前記枠体部の上面部に前記電子素子用電極と離隔して枠状に形成された接地兼封止用電極と、前記接地兼封止用電極に被着された導電性封止材とを有する電子部品用パッケージにおける、前記電子素子用電極に電子素子を接続固着した電子部品中間構体を、前記ベースの開口部をキャップで封止することなく、前記電子素子用電極を取付基板の回路端子に電気的に接続するとともに、前記接地兼封止用電極を前記取付基板に前記導電性封止材で気密に固着封止したことを特徴とするする電子部品組立構体。
- 底板部および枠体部を有するベースと、このベースの内方から外方に導出され前記枠体部の端面部および上面部まで形成された電子素子用電極と、前記枠体部の上面部に電子素子用電極と離隔して枠状に形成された接地兼封止用電極と、前記接地兼封止用電極に被着された導電性封止材とを有する電子部品用パッケージにおける、前記電子素子用電極に電子素子を接続固着した電子部品中間構体を、前ベースの開口部をキャップで封止することなく、前記電子素子用電極を取付基板の回路端子に電気的に接続するとともに、前記接地兼封止用電極を前記取付基板に形成した接地電極に前記導電性封止材で気密に固着封止したことを特徴とする電子部品組立構体。
- 底板部および枠体部を有するベースと、このベースの内方から外方に導出され前記枠体部の端面部および上面部まで形成された電子素子用電極と、前記枠体部の上面部に電子素子用電極と離隔して枠状に形成された接地兼封止用電極と、前記接地兼封止用電極に被着された導電性封止材とを有する電子素子用パツケージを製作する工程と、前記電子素子用電極に電子素子を接続固着して電子部品中間構体を製作する工程と、前記ベースの開口部をキャップで封止することなく、前記電子素子用電極を取付基板の回路端子に電気的に接続すると同時に、前記接地兼封止用電極を前記取付基板に形成した接地電極に前記導電性封止材で気密に固着封止する工程とを含むことを特徴とする電子部品組立構体の製造方法。
Priority Applications (1)
| Application Number | Priority Date | Filing Date | Title |
|---|---|---|---|
| JP36496898A JP3556111B2 (ja) | 1998-12-22 | 1998-12-22 | 電子部品用パツケージ、それを用いた電子部品組立構体および電子部品組立構体の製造方法 |
Applications Claiming Priority (1)
| Application Number | Priority Date | Filing Date | Title |
|---|---|---|---|
| JP36496898A JP3556111B2 (ja) | 1998-12-22 | 1998-12-22 | 電子部品用パツケージ、それを用いた電子部品組立構体および電子部品組立構体の製造方法 |
Publications (2)
| Publication Number | Publication Date |
|---|---|
| JP2000188459A JP2000188459A (ja) | 2000-07-04 |
| JP3556111B2 true JP3556111B2 (ja) | 2004-08-18 |
Family
ID=18483114
Family Applications (1)
| Application Number | Title | Priority Date | Filing Date |
|---|---|---|---|
| JP36496898A Expired - Fee Related JP3556111B2 (ja) | 1998-12-22 | 1998-12-22 | 電子部品用パツケージ、それを用いた電子部品組立構体および電子部品組立構体の製造方法 |
Country Status (1)
| Country | Link |
|---|---|
| JP (1) | JP3556111B2 (ja) |
-
1998
- 1998-12-22 JP JP36496898A patent/JP3556111B2/ja not_active Expired - Fee Related
Also Published As
| Publication number | Publication date |
|---|---|
| JP2000188459A (ja) | 2000-07-04 |
Similar Documents
| Publication | Publication Date | Title |
|---|---|---|
| US6456168B1 (en) | Temperature compensated crystal oscillator assembled on crystal base | |
| JP2002198739A (ja) | 表面実装型圧電発振器 | |
| JP2009044753A (ja) | 圧電発振器 | |
| JP2008131549A (ja) | 水晶振動デバイス | |
| JP2011199228A (ja) | 電子部品用パッケージのベース、電子部品用パッケージ | |
| JP3556111B2 (ja) | 電子部品用パツケージ、それを用いた電子部品組立構体および電子部品組立構体の製造方法 | |
| JP4730418B2 (ja) | 圧電発振器 | |
| JP4730419B2 (ja) | 圧電発振器の製造方法 | |
| JPH02105710A (ja) | 水晶振動子 | |
| JP2002084159A (ja) | 表面実装型圧電振動子 | |
| JP2010166626A (ja) | 圧電デバイス | |
| JPS6150413A (ja) | 圧電振動子の製造方法 | |
| JP2000269772A (ja) | 電子部品 | |
| JP2000315918A (ja) | 水晶発振器 | |
| JP2003133886A (ja) | 水晶振動子 | |
| JP3018977B2 (ja) | セラミックパッケージ、及び、表面実装型圧電振動子、並びに、セラミックパッケージの電極形成方法 | |
| JP2002261548A (ja) | 圧電デバイス | |
| JP3985489B2 (ja) | 圧電振動子の構造 | |
| JP2004064651A (ja) | 表面実装型圧電発振器 | |
| JP2003110398A (ja) | 圧電デバイス | |
| JP2004297208A (ja) | 表面実装型圧電発振器 | |
| JP2595933Y2 (ja) | 圧電振動子 | |
| JP2007124514A (ja) | 圧電発振器及びその製造方法 | |
| JP2007067832A (ja) | 圧電発振器及びその製造方法 | |
| JPS5825703A (ja) | 圧電振動装置 |
Legal Events
| Date | Code | Title | Description |
|---|---|---|---|
| TRDD | Decision of grant or rejection written | ||
| A01 | Written decision to grant a patent or to grant a registration (utility model) |
Free format text: JAPANESE INTERMEDIATE CODE: A01 Effective date: 20040511 |
|
| A61 | First payment of annual fees (during grant procedure) |
Free format text: JAPANESE INTERMEDIATE CODE: A61 Effective date: 20040511 |
|
| R150 | Certificate of patent or registration of utility model |
Free format text: JAPANESE INTERMEDIATE CODE: R150 |
|
| S531 | Written request for registration of change of domicile |
Free format text: JAPANESE INTERMEDIATE CODE: R313531 |
|
| R350 | Written notification of registration of transfer |
Free format text: JAPANESE INTERMEDIATE CODE: R350 |
|
| R250 | Receipt of annual fees |
Free format text: JAPANESE INTERMEDIATE CODE: R250 |
|
| FPAY | Renewal fee payment (event date is renewal date of database) |
Free format text: PAYMENT UNTIL: 20090521 Year of fee payment: 5 |
|
| LAPS | Cancellation because of no payment of annual fees |