JP3545552B2 - 感熱孔版原紙の製版方法及び装置 - Google Patents
感熱孔版原紙の製版方法及び装置 Download PDFInfo
- Publication number
- JP3545552B2 JP3545552B2 JP29582896A JP29582896A JP3545552B2 JP 3545552 B2 JP3545552 B2 JP 3545552B2 JP 29582896 A JP29582896 A JP 29582896A JP 29582896 A JP29582896 A JP 29582896A JP 3545552 B2 JP3545552 B2 JP 3545552B2
- Authority
- JP
- Japan
- Prior art keywords
- stencil sheet
- light
- emitting device
- heat
- stencil
- Prior art date
- Legal status (The legal status is an assumption and is not a legal conclusion. Google has not performed a legal analysis and makes no representation as to the accuracy of the status listed.)
- Expired - Fee Related
Links
- 238000000034 method Methods 0.000 title claims description 16
- 238000006243 chemical reaction Methods 0.000 claims description 38
- 239000000463 material Substances 0.000 claims description 38
- 230000001678 irradiating effect Effects 0.000 claims description 10
- 238000007599 discharging Methods 0.000 claims description 8
- 208000036829 Device dislocation Diseases 0.000 claims 1
- 239000007788 liquid Substances 0.000 description 22
- 238000010438 heat treatment Methods 0.000 description 3
- NJPPVKZQTLUDBO-UHFFFAOYSA-N novaluron Chemical compound C1=C(Cl)C(OC(F)(F)C(OC(F)(F)F)F)=CC=C1NC(=O)NC(=O)C1=C(F)C=CC=C1F NJPPVKZQTLUDBO-UHFFFAOYSA-N 0.000 description 3
- 239000003990 capacitor Substances 0.000 description 2
- 238000010586 diagram Methods 0.000 description 2
- 239000011159 matrix material Substances 0.000 description 2
- 238000003860 storage Methods 0.000 description 2
- 238000007664 blowing Methods 0.000 description 1
- 239000006229 carbon black Substances 0.000 description 1
- 238000001035 drying Methods 0.000 description 1
- 230000000694 effects Effects 0.000 description 1
- 229910052736 halogen Inorganic materials 0.000 description 1
- 150000002367 halogens Chemical class 0.000 description 1
- 238000004519 manufacturing process Methods 0.000 description 1
- 230000003287 optical effect Effects 0.000 description 1
- 239000011148 porous material Substances 0.000 description 1
- 238000003825 pressing Methods 0.000 description 1
- 229920005989 resin Polymers 0.000 description 1
- 239000011347 resin Substances 0.000 description 1
- 229920005992 thermoplastic resin Polymers 0.000 description 1
- 230000037303 wrinkles Effects 0.000 description 1
- 229910052724 xenon Inorganic materials 0.000 description 1
- FHNFHKCVQCLJFQ-UHFFFAOYSA-N xenon atom Chemical compound [Xe] FHNFHKCVQCLJFQ-UHFFFAOYSA-N 0.000 description 1
Images
Landscapes
- Manufacture Or Reproduction Of Printing Formes (AREA)
Description
【発明の属する技術分野】
本発明は感熱孔版原紙の製版方法及び製版装置に関し、詳しくは、感熱孔版原紙の表面に画像を再現するように光熱変換材料を転移させた後、可視光線又は赤外線を照射して前記光熱変換材料を発熱させて前記孔版原紙に前記画像状の穿孔を形成して製版する感熱孔版原紙の製版方法及び装置に関する。
【0002】
【従来の技術】
近年、孔版印刷に使用される孔版原紙は、熱可塑性樹脂フィルム単独、または、該樹脂フィルムとこれに積層された和紙等のインキ通過性の多孔質支持体とからなる感熱孔版原紙が一般的である。
【0003】
かかる感熱孔版原紙は、複数個の発熱素子をドットマトリックス状に配列してなるサーマルヘッドに密着させることよって溶融穿孔し、製版することができる。しかし、この場合、サーマルヘッドと孔版原紙との押し付け圧の不均一に起因する穿孔不良が生じ、また、製版時に孔版原紙に皺が発生したり、孔版原紙の搬送不良が起こることもあった。
【0004】
そこで、本出願人は、特願平7−284610号において、液体中に含有せしめた光熱変換材料を該液体とともに液体吐出装置から感熱孔版原紙上に吐出して該感熱孔版原紙に転移させた後、該感熱孔版原紙に可視光線又は赤外線を照射して、該光熱変換材料が転移した該感熱孔版原紙の部位を選択的に穿孔して製版することを特徴とする感熱孔版原紙の製版方法を提案した。
【0005】
この製版方法は、光熱変換材料を含有する液体を、感熱孔版原紙と非接触状態の液体吐出装置から該孔版原紙上に吐出して該光熱変換材料を該孔版原紙に転移させる第1工程と、発光装置を用いて該孔版原紙に可視光線又は赤外線を照射して、該光熱変換材料が転移した該孔版原紙の部位を選択的に穿孔する第2工程とからなる。
【0006】
この製版方法によれば、製版時に、液体吐出装置及び発光装置の何れも孔版原紙に接触することがなく、すなわち、従来の製版方法におけるような孔版原紙とサーマルヘッドとの密着を要することもないので、かかる密着不良に起因する穿孔不良の問題も生じることがなく、画像情報に忠実な製版が行なわれる点で好都合である。
【0007】
【発明が解決しようとする課題】
しかし、上記第2工程で用いる発光装置としては一般にフラッシュランプが用いられ、サーマルヘッドに比べて縦横の寸法が大きい。したがって、サーマルヘッドと同様に孔版原紙の幅方向に対応した発光装置を設けるとすれば、発光装置全体の大きさはサーマルヘッドよりもかなり大きくなる。
【0008】
また、一般的にフラッシュランプはそのサイズが大きくなるにつれ、孔版原紙の製版に必要な光量を出力するために必要とされる電力蓄積コンデンサの容量が大きくなる。電力蓄積コンデンサの容量が大きくなるにつれ、その充電時間も長くなり、繰り返しの発光には不利になる。また、フラッシュランプ自体のコスト含め、全体のコストも高くなる。
【0009】
本発明は、冒頭で述べた感熱孔版原紙の製版方法において、小型の発光装置を用いて容易に製版できるようにするとともに、製版装置全体を小型化、軽量化及び単純化することを目的とする。
【0010】
【課題を解決するための手段】
本発明によれば、上記目的は、感熱孔版原紙の表面に画像を再現するように光熱変換材料を転移させた後、可視光線又は赤外線を照射して前記光熱変換材料を発熱させて前記孔版原紙に前記画像状の穿孔を形成して製版する感熱孔版原紙の製版方法において、前記孔版原紙の表面の上方で移動可能な架台に取り付けられ、前記孔版原紙の表面の一部分に可視光線又は赤外線を照射する発光装置及び前記架台と同一の架台に取り付けられた光熱変換材料吐出装置を用い、前記架台により前記光熱変換材料吐出装置及び前記発光装置を一緒に移動させることにより、当該光熱変換材料吐出装置から前記光熱変換材料を吐出して前記孔版原紙の表面に転移させ、前記孔版原紙の表面の所望の部分に可視光線又は赤外線を照射することを特徴とする感熱孔版原紙の製版方法によって達成される。
【0011】
本発明の製版方法において、前記孔版原紙はプラテンローラのような搬送手段によって一方向に搬送し、前記発光装置はレールに沿って摺動する架台等に取り付けて、前記孔版原紙の前記搬送方向に直交する方向に移動できるようにすれば、前記孔版原紙の表面の所望の部分に照射を容易に施すことできる。
【0012】
このように、本発明によれば、発光装置が孔版原紙の所望の部分に移動可能とされているため、大型の発光装置を用いる必要がなく、小型の発光装置を用いればよく、これを実施する装置も小型、軽量、単純化できる。
【0013】
本発明において、発光装置は、キセノンランプ、フラッシュランプ、ハロゲンランプ、赤外線ヒーター等を用いることができ、さらに、孔版原紙の表面が概略矩形に照射されるように、適当な反射板と組み合わせると好都合である。このように、孔版原紙の表面を概略矩形部分毎に照射できる発光装置を用いれば、A)前記孔版原紙を静止させたまま、前記発光装置を摺動して発光させて、前記孔版原紙の前記搬送方向に直交する帯状部分全体を照射する第一工程と、B)照射された前記帯状部分に隣接する未照射部分と前記発光装置とが対向するように前記孔版原紙を前記搬送方向に搬送する第二工程と、を繰り返すことにより前記孔版原紙全体に照射して製版することができる。この場合、孔版原紙の表面全体に切れ目無く照射を施すために、照射される前記矩形部分は、これと隣接する同様の矩形部分と、前記搬送方向及びこれと直交する方向に互いに部分的に重なり合うようにすることが好ましい。
【0014】
本発明の製版方法は、感熱孔版原紙を搬送する搬送装置と、前記孔版原紙の表面の上方で前記搬送方向に直交する方向に移動可能な架台に取り付けられた発光装置及び前記架台と同一の架台に取り付けられ、前記架台により前記発光装置と一緒に移動される光熱変換材料吐出装置とを備えてなる発光型製版装置によって実施することができる。
【0015】
本発明の製版装置は、一つの装置で上記第一工程及び第二工程を実施可能とするために、感熱孔版原紙の表面に画像を再現するように光熱変換材料を吐出して転移させる光熱変換材料吐出装置を備えていることが好ましい。かかる吐出装置としては、例えば、1インチ当たり10〜2000個(10〜2000dpi)の開口部を有するノズル、スリット、多孔質材、多孔フィルム等を圧電素子、送液ポンプ等に接続し、光熱変換材料を含有する液体を文字及び模様等画像の電気的信号に従って間欠的又は連続的に、即ち、ドット状又はライン状に吐出するようにした装置が挙げられる。
【0016】
本発明の製版装置において、該吐出装置は、発光装置と同様の架台に取り付けられて、両者は該架台によって一緒に移動されるようにされていてもよく、また、孔版原紙の表面の上方でその搬送方向に直交する方向に移動可能な別の架台に取り付けられていてもよい。
【0017】
なお、本発明で用いる感熱孔版原紙、光熱変換材料及び該光熱変換材料を含有させる液体については、特願平7−284610号、特願平8−54103号等に記載のものを使用することができ、その詳細については当該出願明細書を参照されたい。
【0018】
以下、図面を参照しつつ、本発明の具体例を説明するが、本発明は以下の具体例のみに限定されるものではない。
【0019】
【発明を実施するための形態】
図1は本発明の製版装置の一具体例を示す斜視図である。該製版装置は、感熱孔版原紙1をその長手方向に搬送するプラテンローラ13を備えるとともに、該孔版原紙1の長手方向と直交する方向、即ち、孔版原紙1の幅方向に摺動可能な発光装置2を備えている。該発光装置2は架台3に取り付けられている。該架台3は、孔版原紙1の幅方向の両側に夫々配置された駆動モーター10とアイドルローラ14との間に架け渡された駆動ベルト11に連結し、孔版原紙1の幅方向に延在するレール12に沿って摺動する。これによって、発光装置2は、駆動ベルト11の動きに連動して孔版原紙1の表面から上方に僅かな間隔をおいて、孔版原紙1の幅方向に左右に摺動できるようにされている。
【0020】
架台3は、レール12と平行に配置された帯8を挿通して摺動する。該帯8は、印字解像度1ドット毎に白黒と変化する鉛直方向縞模様が形成された平面状の帯であり、架台3の移動に伴う白黒の変化を架台3に内蔵された光センサ(図示せず)によって読み、これをエンコーダパルスとして帯8の端からのエンコーダパルス数を加算、減算することによって、該端からの架台3の移動距離を割り出し、駆動モータ10の駆動を制御して、発光装置2の移動位置を制御できるようにしている。
【0021】
図2は、図1の装置の底面図である。図2から明らかなように、発光装置2は、孔版原紙1と対向する面にフラッシュランプ20を備えるとともにその周囲に矩形の反射板21を備えて、孔版原紙1の表面を概略矩形状に照射するようにされている。また、発光装置2の前記と同一の面には、架台3に隣接して、液体吐出装置4が設けられている。該液体吐出装置4は、通常のインクジェット方式のプリンタに用いられている印字ヘッドを利用したものであり、適当なモノクロ印刷用インキカートリッジ(図示せず)からカーボンブラック等の光熱変換材料を含有する液体を孔版原紙1上にドットマトリックス状に吐出することができる。このように、同一の架台3に発光装置2と液体吐出装置4を具備させることにより、装置全体を小型化することができる。
【0022】
製版時、まず、図2の矢印Eで示される架台摺動方向に、架台3をレール12に沿って移動させながら、液体吐出装置4から光熱変換材料を含有する液体を孔版原紙1上に吐出して、文字又は線図等の画像(図2ではAIUEOAの文字)として光熱変換材料5を孔版原紙1上に転移させる。その後、プラテンローラ13によって孔版原紙1を、発光装置2と液体吐出装置4との中心間距離Cだけ移動させる。そして、再び、架台3をレール12に沿って移動させながら、発光装置2から前記画像上に可視光線又は赤外線を照射すると、光熱変換材料が発熱して孔版原紙1に前記画像に対応する穿孔5′が形成され、かくして、孔版原紙1の製版が行なわれる。発光装置2の発光と同時に、液体吐出装置4から前記液体を孔版原紙1に吐出させて、前記穿孔5′に隣接させて光熱変換材料を文字又は線図等の画像5として転移させれば、製版時間の短縮が図られる。かかる発光装置2の摺動と孔版原紙の搬送を繰り返すことにより、孔版原紙1の全体に製版を行うことができることは明らかである。なお、架台3の位置は上記エンコーダパルスによって監視されているので、発光装置2の発光のタイミングと液体吐出装置の吐出のタイミングは、架台3の位置との関係を適切にプログラミングすることにより容易にコンピュータ制御することができる。
【0023】
発光装置2の発光は移動とともに連続的に行うことも可能であるが、図3に示すように、発光装置2は孔版原紙1の幅A及び長さBの概略矩形部分Dを一括して照射することができるため、孔版原紙1を該矩形部分毎に断続的に発光させることが好ましい。図3では、発光装置2が一度に照射可能な範囲が幅A長さBの矩形部分Dであるため、孔版原紙1を幅方向に幅A長さBの4つの矩形製版部分に分割し、該部分毎に4回にわけて断続的に照射をする図式を示している。この場合、孔版原紙1を長さBだけ送る毎に、架台3をレール12に沿って孔版原紙1を横断させ、その間、架台3が幅Aだけ移動する毎に発光装置2を発光させれば、孔版原紙1を幅方向に帯状に製版することができる。この孔版原紙1の長手方向への搬送工程と発光装置2の幅方向への搬送及び発光工程を交互に繰り返せば、最終的には孔版原紙1の表面全体に照射することができる。
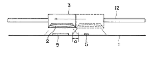
【0024】
図3のように孔版原紙1を分割製版する場合、孔版原紙1全体を均一に製版するために、上記矩形部分Dが、これと縦方向及び横方向で隣接する矩形部分D′及びD″と一部重複するようにすることが好ましい。本発明の装置において、かかる重複幅aを得るためには、図4に示されるように、架台3の移動距離を調整することにより容易に行うことができ、重複長bを得るためには、孔版原紙1のプラテンローラ13による移動距離を調整することにより容易に行うことができる。
【0025】
なお、液体吐出装置4から吐出される光熱変換材料含有液体が孔版原紙1の表面に転移した後、その乾燥が不十分な状態で発光装置2を発光させると、製版効率を著しく低下させる要因となる。これを解消するためには、光熱変換材料が十分に乾燥した後に発光装置2からの照射を受けるようにすることが望ましい。別法としては、図5に示されるように、発光装置2と光熱変換材料5が転移した孔版原紙1との間に送風する送風機7を設けたり、孔版原紙1を加熱する電熱器6等の加熱手段を設けることにより、光熱変換材料の乾燥を促進させることもできる。
【0026】
【発明の効果】
本発明によれば、感熱孔版原紙を、他の装置に接触させることなく、非接触製版できるだけでなく、可動の発光装置を用いるため、孔版原紙の寸法や製版領域の大小にかかわらず、小型の発光装置を用いて孔版原紙やその製版領域の全体を製版することができる。また、光熱変換材料が転移した部分のみに対して発光するように制御することもできるので、製版時間を短くすることも可能である。
【0027】
また、小型の発光装置を採用することにより、製版装置のコストを低減できるのみならず、光熱変換材料の吐出装置と発光装置を同一の架台に組み込むことにより、製版装置を小型化できるとともに、その構造を単純化することもできる。また、所望の製版領域に数回発光して、発光エネルギーを変化させることもできるので、孔版原紙の穿孔状態を部分的に変化させることも可能である。
【図面の簡単な説明】
【図1】本発明の感熱孔版原紙製版装置の一具体例を示す模式的斜視図である。
【図2】図1の装置の模式的底面図である。
【図3】図1の発光装置を用いて孔版原紙を矩形部分毎に分割製版する図式を示す模式的平面図である。
【図4】図3の発光装置の製版動作を示す模式的側面図である。
【図5】本発明の製版装置の他の具体例を示す側面図である。
【符号の説明】
1 感熱孔版原紙
2 発光装置
3 架台
4 液体吐出装置
5 光熱変換材料
5′ 穿孔
6 加熱器
7 送風機
8 帯
10 駆動モータ
11 駆動ベルト
12 レール
13 プラテンローラ
14 アイドルローラ
20 フラッシュランプ
21 反射板
A 製版部分幅
B 製版部分長
C 中心間距離
D、D′、D″ 矩形部分
E 架台摺動方向
a 重複幅
b 重複長
Claims (5)
- 感熱孔版原紙の表面に画像を再現するように光熱変換材料を転移させた後、可視光線又は赤外線を照射して前記光熱変換材料を発熱させて前記孔版原紙に前記画像状の穿孔を形成して製版する感熱孔版原紙の製版方法において、前記孔版原紙の表面の上方で移動可能な架台に取り付けられ、前記孔版原紙の表面の一部分に可視光線又は赤外線を照射する発光装置及び前記架台と同一の架台に取り付けられた光熱変換材料吐出装置を用い、前記架台により前記光熱変換材料吐出装置及び前記発光装置を一緒に移動させることにより、当該光熱変換材料吐出装置から前記光熱変換材料を吐出して前記孔版原紙の表面に転移させ、前記孔版原紙の表面の所望の部分に可視光線又は赤外線を照射することを特徴とする感熱孔版原紙の製版方法。
- 前記孔版原紙を一方向に搬送し、前記発光装置を前記孔版原紙の前記搬送方向に直交する方向に移動して、前記孔版原紙の表面の所望の部分に照射する請求項1に記載の製版方法。
- 前記発光装置は、前記孔版原紙の表面の概略矩形部分毎に照射可能であり、下記の工程A及びB
A:前記孔版原紙を静止させたまま、前記発光装置を摺動して発光させて、前記孔版原紙の前記搬送方向に直交する帯状部分全体を照射する、
B:照射された前記帯状部分に隣接する未照射部分と前記発光装置とが対向するように前記孔版原紙を前記搬送方向に搬送する、
を繰り返すことにより前記孔版原紙全体に照射して製版することを特徴とする請求項2に記載の製版方法。 - 照射される前記矩形部分は、これと隣接する同様の矩形部分と、前記搬送方向及びこれと直交する方向に互いに部分的に重なり合っている請求項3に記載の製版方法。
- 感熱孔版原紙を搬送する搬送装置と、前記孔版原紙の表面の上方で前記搬送方向に直交する方向に移動可能な架台に取り付けられた発光装置及び前記架台と同一の架台に取り付けられ、前記架台により前記発光装置と一緒に移動される光熱変換材料吐出装置とを備えてなる発光型製版装置。
Priority Applications (1)
| Application Number | Priority Date | Filing Date | Title |
|---|---|---|---|
| JP29582896A JP3545552B2 (ja) | 1996-10-16 | 1996-10-16 | 感熱孔版原紙の製版方法及び装置 |
Applications Claiming Priority (1)
| Application Number | Priority Date | Filing Date | Title |
|---|---|---|---|
| JP29582896A JP3545552B2 (ja) | 1996-10-16 | 1996-10-16 | 感熱孔版原紙の製版方法及び装置 |
Publications (2)
| Publication Number | Publication Date |
|---|---|
| JPH10119231A JPH10119231A (ja) | 1998-05-12 |
| JP3545552B2 true JP3545552B2 (ja) | 2004-07-21 |
Family
ID=17825711
Family Applications (1)
| Application Number | Title | Priority Date | Filing Date |
|---|---|---|---|
| JP29582896A Expired - Fee Related JP3545552B2 (ja) | 1996-10-16 | 1996-10-16 | 感熱孔版原紙の製版方法及び装置 |
Country Status (1)
| Country | Link |
|---|---|
| JP (1) | JP3545552B2 (ja) |
Families Citing this family (1)
| Publication number | Priority date | Publication date | Assignee | Title |
|---|---|---|---|---|
| KR102599850B1 (ko) * | 2022-08-03 | 2023-11-09 | 연세대학교 산학협력단 | 광열변환 이송 시스템과 이를 포함하는 에너지 이송 시스템, 및 이를 이용한 광열변환기반 이송방법 |
-
1996
- 1996-10-16 JP JP29582896A patent/JP3545552B2/ja not_active Expired - Fee Related
Also Published As
| Publication number | Publication date |
|---|---|
| JPH10119231A (ja) | 1998-05-12 |
Similar Documents
| Publication | Publication Date | Title |
|---|---|---|
| US5742315A (en) | Segmented flexible heater for drying a printed image | |
| US5754208A (en) | Liquid ink printer having dryer with integral reflector | |
| JP2003011935A (ja) | 画像形成装置および画像形成方法 | |
| US20010052920A1 (en) | Ink jet printer and ink jet printing method | |
| JP5034816B2 (ja) | 液体噴射装置 | |
| JPH09300678A (ja) | 記録装置 | |
| JPH11198362A (ja) | 記録媒体に液体キャリアを含む着色剤を含む画像を印刷する印刷装置 | |
| JPH10315456A (ja) | プリント装置及びインクジェットプリンタ | |
| JP2006056254A (ja) | 放射源を有するプリンタ装置 | |
| JPH1086353A (ja) | インクジェット記録装置 | |
| JP3545552B2 (ja) | 感熱孔版原紙の製版方法及び装置 | |
| JP2003237049A (ja) | 画像形成装置 | |
| JP2003305826A (ja) | 画像形成装置 | |
| US6460454B1 (en) | System for making heat-sensitive stencil master | |
| EP4509320A1 (en) | Liquid discharge apparatus | |
| JPH0516341A (ja) | インクジエツトプリンタ | |
| JPH0732572A (ja) | 感熱製版装置 | |
| JP2006051618A (ja) | 熱定着装置 | |
| JPH0459359A (ja) | インクジェット記録装置 | |
| JPH07304194A (ja) | 感熱式記録装置 | |
| JPS63197669A (ja) | 転写記録装置 | |
| JPH03281359A (ja) | 感熱転写記録装置 | |
| JP3515822B2 (ja) | カラーインクジェットプリンタおよび情報処理装置 | |
| JPS62138249A (ja) | インクジエツト記録装置 | |
| JPH07276615A (ja) | インクジェット記録装置 |
Legal Events
| Date | Code | Title | Description |
|---|---|---|---|
| TRDD | Decision of grant or rejection written | ||
| A01 | Written decision to grant a patent or to grant a registration (utility model) |
Free format text: JAPANESE INTERMEDIATE CODE: A01 Effective date: 20040330 |
|
| A61 | First payment of annual fees (during grant procedure) |
Free format text: JAPANESE INTERMEDIATE CODE: A61 Effective date: 20040408 |
|
| R150 | Certificate of patent or registration of utility model |
Free format text: JAPANESE INTERMEDIATE CODE: R150 |
|
| R250 | Receipt of annual fees |
Free format text: JAPANESE INTERMEDIATE CODE: R250 |
|
| FPAY | Renewal fee payment (event date is renewal date of database) |
Free format text: PAYMENT UNTIL: 20090416 Year of fee payment: 5 |
|
| FPAY | Renewal fee payment (event date is renewal date of database) |
Free format text: PAYMENT UNTIL: 20090416 Year of fee payment: 5 |
|
| FPAY | Renewal fee payment (event date is renewal date of database) |
Free format text: PAYMENT UNTIL: 20100416 Year of fee payment: 6 |
|
| LAPS | Cancellation because of no payment of annual fees |