JP3137962U - 光源装置 - Google Patents

光源装置 Download PDF

Info

Publication number
JP3137962U
JP3137962U JP2007007603U JP2007007603U JP3137962U JP 3137962 U JP3137962 U JP 3137962U JP 2007007603 U JP2007007603 U JP 2007007603U JP 2007007603 U JP2007007603 U JP 2007007603U JP 3137962 U JP3137962 U JP 3137962U
Authority
JP
Japan
Prior art keywords
light source
discharge lamp
pressure discharge
starting
arc tube
Prior art date
Legal status (The legal status is an assumption and is not a legal conclusion. Google has not performed a legal analysis and makes no representation as to the accuracy of the status listed.)
Expired - Fee Related
Application number
JP2007007603U
Other languages
English (en)
Inventor
木 教 一 柵
Current Assignee (The listed assignees may be inaccurate. Google has not performed a legal analysis and makes no representation or warranty as to the accuracy of the list.)
iwasakidenki
Original Assignee
iwasakidenki
Priority date (The priority date is an assumption and is not a legal conclusion. Google has not performed a legal analysis and makes no representation as to the accuracy of the date listed.)
Filing date
Publication date
Application filed by iwasakidenki filed Critical iwasakidenki
Priority to JP2007007603U priority Critical patent/JP3137962U/ja
Application granted granted Critical
Publication of JP3137962U publication Critical patent/JP3137962U/ja
Anticipated expiration legal-status Critical
Expired - Fee Related legal-status Critical Current

Links

Images

Landscapes

  • Projection Apparatus (AREA)
  • Non-Portable Lighting Devices Or Systems Thereof (AREA)
  • Discharge Lamps And Accessories Thereof (AREA)

Abstract

【課題】高圧放電ランプの生産性を低下させたり、その発光管の封止部の機械的強度を低下させることなく、高圧放電ランプの冷間時の始動性能と熱間時の再始動性能を確実に向上させる。
【解決手段】高圧放電ランプ1の点灯始動時に該ランプの放電容器3内に封入された始動用ガスを励起して電極5、5間の放電を促す紫外光を出力する始動用光源20が、凹面反射鏡9の外方に設置され、該光源20から出力される紫外光が石英光ファイバ21で伝送されて高圧放電ランプ1の放電容器3に照射されるように構成されている。
【選択図】図1

Description

本考案は、高圧放電ランプが凹面反射鏡内に取り付けられた光源装置に関する。
データプロジェクタやホームシアター用プロジェクタ等の液晶プロジェクタは、小型で且つ投影画像が明るいことが要求されるので、その光源装置には、小型で高輝度発光が得られるショートアークタイプの高圧水銀蒸気放電ランプが用いられているが、この種の高圧放電ランプは、概して冷間時(cold condition)の始動性能や熱間時(hot restrike)の再始動性能が良くないという問題がある。そのため、始動性能を高める手段を講ずる必要があるが、小型化されたランプの放電容器内にはその点灯始動時に電極間のアーク放電を促す始動用の補助電極等を設置し得るような余剰スペースは存しないので、従前は、ランプの点灯電圧(無負荷電圧)を高めに設定すると共に、その点灯電圧に高電圧パルスを印加することによって始動性能を高めることとしていた。
しかし、高圧放電ランプの始動性能をより高めるために高電圧パルスのパルス電圧を高くすると、ランプの点灯回路を構成する配線間に十分な絶縁距離を確保しなければならないので、その点灯回路が大型化して液晶プロジェクタの小型化が図れないという問題が生ずるのみならず、液晶プロジェクタの電子回路等に誤動作を起させるノイズが発生するおそれがあり、電気機器のノイズを規制する電気製品安全法の規定に違反する懸念もある。
そこで、図3に示す高圧放電ランプ51Aは、発光管52の外側に電極56、56間の放電を促進させるトリガ線あるいはアンテナと称する金属線53を装着させることにより比較的低電圧で点灯始動し得るようにしている。つまり、高圧放電ランプ51Aは、石英ガラスで成る発光管52の中間部に形成された放電容器54内に、一対のタングステン電極56、56が1〜2mm程度の電極間距離で互いに対向して配置されると共に、水銀と臭素等のハロゲンとアルゴンガス等の始動用ガスとが封入され、発光管52の両端側には、電極56と金属箔57と給電用ワイヤ58とを直列的に溶接した一対の電極アセンブリ55、55が夫々挿通されて、その発光管52の両端側をシュリンクシールによって気密に封止した封止部59R、59Lが形成されたショートアークタイプの高圧水銀蒸気放電ランプであって、該ランプ51Aを低電圧で点灯始動させるための金属線53は、その片端部53aが、発光管52の封止部59Rから突出せられた電極アセンブリ55の給電用ワイヤ58に接続され、その他端部53bが、発光管52の封止部59Lの外周部にループ状もしくはスパイラル状に巻回されている(特許文献1〜4参照)。
しかし、上記金属線53を発光管52の表面に密着させるように配線すると、その金属線53に引き寄せられるプラスイオンの作用で発光管52を形成する石英ガラスが脆弱化して、発光管52の機械的強度が低下するおそれがある。このため、金属線53は、発光管52の表面に接触させずにその表面から少なくとも数ミリ程度離して配線するのが望ましいとされているが、金属線53を発光管52の表面から離せば、その分だけランプの始動性能を高める効果が低下する。
なお、金属線53の全体を発光管52の表面に近接させるように配線して、ランプの始動性能を最大限に高めようとしても、金属線53は、ランプ点灯時に約900℃前後の高温に熱せられて、熱膨張による伸びを生じ、金属線53よりも熱膨張率が小さい発光管52の表面から浮き上がってその表面から離れてしまうため、熱間時における再始動性能が芳しくないという問題がある。また、金属線53は、熱膨張による伸びを生じて全体的に弛みや撓みが生ずるので、発光管52の表面から離れ易いうえに、一旦弛みや撓みを生じた金属線53は、ランプ消灯後に冷えて熱収縮しても、発光管52の表面に密着させた当初の状態に復帰し得ないため、冷間時における始動性能も当初より低下することとなる。
特開2004−335457号公報 特開平9−265947号公報 特開平8−87984号公報 再公表2004/90934号公報
次に、図4(a)に平面図、同図(b)に部分拡大縦断面図を示す高圧放電ランプ51Bは、その発光管52の両端側をシュリンクシールして封止部59R、59Lを形成する際に、封止部59L内に金属箔57の一部が収容される空洞60を形成すると共に、その空洞60内に水銀蒸気を含むアルゴンガス等の希ガスを封入する加工を施して、空洞60が形成された封止部59Lの外周部に、片端部が封止部59Rから突出する給電用ワイヤ58に接続された金属線53の他端部を巻回することにより、点灯電圧と高電圧パルスが印加されるランプの点灯始動時に、封止部59Lの空洞60内に収容された金属箔57と、封止部59Lの外周部に巻回された金属線53との間にグロー放電を生じさせ、その放電時に放出される電子と空洞60内に封入された水銀の作用により発生する紫外線で放電容器54内に封入された始動用ガスを励起して電極56、56間のアーク放電を促進させる構成となっている(特許文献5参照)。
しかしながら、高圧放電ランプの製造工程において、発光管52の封止部59L内に空洞60を形成してその空洞60内に水銀と希ガスを封入する加工を施すのは、非常に面倒であり、殊に、グロー放電によって紫外線を発生させるには、空洞60内に封入する水銀の量や希ガスの容量・ガス圧等を適正に調整しなければならないため、発光管52の封止部59L内に空洞60を形成する加工に手間取ってランプの生産性が著しく低下するおそれがある。また、発光管52の封止部59L内に空洞60を形成すると、封止部59Lの機械的強度が低下して、発光管52の破裂を生ずるおそれもある。
更に、高圧放電ランプ51Bの点灯中は、該ランプを取り付けた凹面反射鏡内の雰囲気温度が平均300℃以上の高温となり、その高温の影響で空洞60内の水銀蒸気圧が過度に上昇して、ランプの消灯後も暫くは、金属箔57と金属線53との間に点灯電圧と高電圧パルスが印加されても空洞60内の水銀蒸気圧が高過ぎてグロー放電を生じ得ない状態となり、凹面反射鏡内の雰囲気温度が平均100℃程度まで低下して漸くグロー放電を開始し得る状態となる。したがって、図4の高圧放電ランプ51Bは、消灯直後に再点灯させる熱間時の再始動性能が良くないという欠点を有している。
特表2003−526182号公報
本考案は、高圧放電ランプの生産性を低下させたり、その発光管の封止部の機械的強度を低下させることなく、高圧放電ランプの冷間時の始動性能と熱間時の再始動性能を確実に向上させることを技術的課題としている。
上記の課題を解決するために、本考案は、石英ガラスで成る発光管の中間部に、少なくとも水銀と始動用ガスが封入されると共に、一対の電極が対向して配置された放電容器が形成され、発光管の両端側に、その両端側を気密に封止する封止部が形成された高圧放電ランプが、該ランプから放射される光を反射する凹面反射鏡内に取り付けられた光源装置において、前記高圧放電ランプの点灯始動時に紫外光を出力する始動用光源が、前記凹面反射鏡の外方に設置され、その始動用光源から出力される紫外光が石英光ファイバで伝送されて前記放電容器に照射されるように構成されていることを特徴とする。
本考案によれば、高圧放電ランプの点灯始動時に、凹面反射鏡の外方に設置された始動用光源から紫外光が出力され、その紫外光が、石英光ファイバで伝送されて高圧放電ランプの発光管に形成された放電容器に照射され、該放電容器内に封入された始動用ガスが紫外光で励起されて電極間のアーク放電が誘発される。すなわち、高圧放電ランプの点灯始動時に紫外光を出力する始動用光源と、該光源から出力される紫外光を伝送する石英光ファイバとで成る簡便な構成によって、高圧放電ランプの始動性能を確実に高めることができるという優れた効果がある。
また、始動用光源は、凹面反射鏡内に取り付けられた高圧放電ランプの放射熱による熱的影響が緩和される凹面反射鏡の外方に設置されているので、その始動用光源として紫外線発光ダイオード(UV−LED)を用いても、該LEDが高温による輝度の低下や素子の劣化を生ずるおそれが少ないという効果があり、また、通電されると瞬時に紫外光を出力するUV−LEDを用いれば、高圧放電ランプの始動性能を確実に向上させることができる。また、始動用光源から出力される紫外光を伝送する石英光ファイバは、600℃超の耐熱性を有し、紫外線透過率が高くて、紫外線劣化のおそれもないから、信頼性が高いうえに、細くて透明であるから、高圧放電ランプから放射される光を遮るおそれもない。なお、始動用光源は、UV−LEDに限らず、高圧放電ランプの点灯始動時に紫外光を出力し得るものであればよい。
また、本考案によれば、高圧放電ランプの製造工程で図4の如く発光管52の封止部59L内に空洞60を形成して該空洞60内に水銀蒸気を含むアルゴンガス等の希ガスを封入する面倒な加工を施さなくとも、その始動性能を高めることができるので、ランプの生産性が低下することがないし、発光管の破裂を招来するおそれもない。
本考案に係る光源装置の最良の実施形態は、高圧放電ランプの点灯始動時に紫外光を出力する始動用光源が、波長355〜365nm程度の紫外光を出力するUV−LEDで形成され、該LEDから出力される紫外光を伝送する石英光ファイバの光出射端が、凹面反射鏡に形成された孔もしくは空隙に挿通されて、高圧放電ランプの発光管の中間部に形成された放電容器の外表面と対向する位置もしくは発光管の片端面と対向する位置に配されている。
これにより、高圧放電ランプの点灯始動時に凹面反射鏡の外方に設置されたUV−LEDから出力される紫外光が、石英光ファイバで伝送されて、高圧放電ランプの発光管に形成された放電容器に照射され、その紫外光で放電容器内に封入された始動用ガスが励起されて電極間のアーク放電が誘発される。
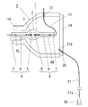
図1は本考案に係る光源装置の一例を示し、その光源となる高圧放電ランプ1は、石英ガラスで成る発光管2の中間部に形成された放電容器3内に、一対のタングステン電極5、5が1〜2mm程度の極間距離で互いに対向して配置されると共に、水銀と臭素等のハロゲンとアルゴンガス等の始動用ガスとが封入され、発光管2の両端側には、電極5とモリブデン箔で成る金属箔6とモリブデンワイヤで成る給電用ワイヤ7とを直列的に溶接した一対の電極アセンブリ4、4が夫々挿通されて、その発光管2の両端側をシュリンクシールによって気密に封止した封止部8R、8Lが形成されたショートアークタイプの高圧水銀蒸気放電ランプであって、発光管2の封止部8L側の端部を凹面反射鏡9のボトム部10にセメント等(図示せず)で固定して該反射鏡9内に取り付けられている。
凹面反射鏡9は、高圧放電ランプ1の発光管2の封止部8Rから突出する給電用ワイヤ7に溶接されたリード線11を反射鏡9の外側に引き出すための配線孔12と、高圧放電ランプ1を冷却するための冷却エアを流通させる通風孔13とが穿設され、前面開口部にはその開口部を閉塞する透明カバー14が取り付けられている。
そして、凹面反射鏡9の外方には、高圧放電ランプ1の点灯装置(図示せず)によって電極5、5間に点灯電圧と高電圧パルスが印加される点灯始動時にその点灯装置により約2〜3秒間だけ点灯せられて波長355〜365nm程度の紫外光を出力する始動用光源20が設置され、該光源20から出力される紫外光が、紫外線透過率が高く、紫外線劣化のおそれもない耐熱温度600℃超の石英光ファイバ21で伝送されて高圧放電ランプ1Aの発光管2に形成された放電容器3に照射されるようになっている。
始動用光源20は、パルスでの使用も可能なUV−LEDで成り、該LEDから出力される紫外光がレンズ23、24等の光学系で集光されて石英光ファイバ21の光入射端21aに入射されるようになっている。また、石英光ファイバ21は、その光出射端21bが、凹面反射鏡9の外方から該反射鏡に穿設された冷却エアの通風孔13に挿通されて、高圧放電ランプ1の放電容器3の外表面と対向する位置に配されている。これにより、石英光ファイバ21の光出射端21bから放電容器3に照射される紫外光で放電容器3内に封入された始動用ガスが励起されて、放電容器3内に対向して配置された電極5、5間の放電が促進され、高圧放電ランプ1の始動性能が向上する。
なお、石英光ファイバ21は、その光出射端21bを冷却エアの通風孔13に挿通せずに、図1に破線Xで示す如く、凹面反射鏡9に穿設されたリード線11の配線孔12に挿通してもよいし、破線Xで示す如く、凹面反射鏡9のボトム部10とそのボトム部に固定される高圧放電ランプ1の発光管2の端部との間に生ずる空隙等に挿通してもよい。また、実線と破線XおよびXで示す石英光ファイバ21は、光出射端21bが発光管2の中間部に形成された放電容器3の外表面と対向する位置に配されているが、破線X3で示すように、発光管2の封止部8L側の片端面と対向する位置に配されている場合であってもよく、この場合は、石英光ファイバ21の光出射端21bから出射した紫外光が、発光管2の封止部8L内を透過して放電容器3内に照射される。また、石英光ファイバ21は、これを複数本束めてバンドルファイバとしたものであってもよい。
図2は本考案に係る光源装置の他の例を示す図である。本例の光源装置は、これを設置する液晶プロジェクタ内に、石英光ファイバ21を凹面反射鏡9の背面側に配線するスペースが存しない場合等に有用なものであり、始動用光源20から出力された紫外光を伝送する石英光ファイバ21の光出射端21bが、凹面反射鏡9の外方からその前面開口部を塞ぐ透明カバー14に穿設された貫通孔30に挿通されて、放電容器3の外表面と対向する位置に配された構成となっている点で図1の光源装置と相違し、その他の構成は、図1の光源装置と共通するので同一符号を付して詳細説明は省略する。
なお、石英光ファイバ21の光出射端21bを凹面反射鏡9の前面開口部側からその内方に向けて配置すると、該光出射端21bから出射した紫外光が高圧放電ランプ1の放電容器4に直接照射されるのみならず、その一部が凹面反射鏡9で反射されて高圧放電ランプ1の放電容器4に照射されるので、光出射端21bは、必ずしもその端面を放電容器4の外表面と正対させるように配置する必要はなく、凹面反射鏡9の内方に向けて配置されていればよい。
本考案は、液晶プロジェクタ等の光源装置に用いられる高圧放電ランプの始動性能向上に資するものである。
本考案に係る光源装置の一例を示す図 本考案に係る光源装置の他の例を示す図 従来の光源装置に用いる高圧放電ランプを示す図 従来の光源装置に用いる高圧放電ランプを示す図
符号の説明
1…高圧放電ランプ
2…発光管
3…放電容器
5…電極
8R…封止部
8L…封止部
9…凹面反射鏡
20…始動用光源
21…石英光ファイバ
21b…石英光ファイバの光出射端

Claims (4)

  1. 石英ガラスで成る発光管の中間部に、少なくとも水銀と始動用ガスが封入されると共に、一対の電極が対向して配置された放電容器が形成され、発光管の両端側に、その両端側を気密に封止する封止部が形成された高圧放電ランプが、該ランプから放射される光を反射する凹面反射鏡内に取り付けられた光源装置において、前記高圧放電ランプの点灯始動時に紫外光を出力する始動用光源が、前記凹面反射鏡の外方に設置され、その始動用光源から出力される紫外光が石英光ファイバで伝送されて前記放電容器に照射されるように構成されていることを特徴とする光源装置。
  2. 前記始動用光源が紫外線発光ダイオードである請求項1記載の光源装置。
  3. 前記石英光ファイバの光出射端が前記放電容器の外表面と対向する位置に配されている請求項1又は2記載の光源装置。
  4. 前記石英光ファイバの光出射端が前記発光管の片端面と対向する位置に配されている請求項1又は2記載の光源装置。
JP2007007603U 2007-10-03 2007-10-03 光源装置 Expired - Fee Related JP3137962U (ja)

Priority Applications (1)

Application Number Priority Date Filing Date Title
JP2007007603U JP3137962U (ja) 2007-10-03 2007-10-03 光源装置

Applications Claiming Priority (1)

Application Number Priority Date Filing Date Title
JP2007007603U JP3137962U (ja) 2007-10-03 2007-10-03 光源装置

Publications (1)

Publication Number Publication Date
JP3137962U true JP3137962U (ja) 2007-12-13

Family

ID=43288289

Family Applications (1)

Application Number Title Priority Date Filing Date
JP2007007603U Expired - Fee Related JP3137962U (ja) 2007-10-03 2007-10-03 光源装置

Country Status (1)

Country Link
JP (1) JP3137962U (ja)

Cited By (2)

* Cited by examiner, † Cited by third party
Publication number Priority date Publication date Assignee Title
JP2011146275A (ja) * 2010-01-15 2011-07-28 Iwasaki Electric Co Ltd 光源装置
WO2019176600A1 (ja) * 2018-03-13 2019-09-19 フェニックス電機株式会社 放電灯を含む光源装置、照射装置、および放電灯の判定方法

Cited By (2)

* Cited by examiner, † Cited by third party
Publication number Priority date Publication date Assignee Title
JP2011146275A (ja) * 2010-01-15 2011-07-28 Iwasaki Electric Co Ltd 光源装置
WO2019176600A1 (ja) * 2018-03-13 2019-09-19 フェニックス電機株式会社 放電灯を含む光源装置、照射装置、および放電灯の判定方法

Similar Documents

Publication Publication Date Title
CN102395827A (zh) 光源装置
JP4626708B2 (ja) 光源装置
JP3137962U (ja) 光源装置
CN102177569B (zh) 光源装置
JP2008140614A (ja) 高圧金属蒸気放電ランプおよび照明器具
JP3137961U (ja) 光源装置
JP2011222217A (ja) 光学装置
JP4588784B2 (ja) 高圧放電ランプの製造方法、高圧放電ランプ、ランプユニット及び投写型画像表示装置
JP5126030B2 (ja) 高圧放電ランプ、この高圧放電ランプを用いたランプユニット、およびこのランプユニットを用いたプロジェクタ
JP3235357B2 (ja) 反射鏡付管球
JP2006236919A (ja) 高圧金属蒸気放電ランプおよび照明器具
JP4996146B2 (ja) 高圧放電ランプ及びリアプロジェクタ装置
JP5062269B2 (ja) 発光管、光源装置及びプロジェクタ
JP4048376B2 (ja) 放電ランプ及びプロジェクター
JP3665160B2 (ja) 放電ランプ、ランプ装置、点灯装置および液晶プロジェクタ
JP2005228711A (ja) 光学装置
JP5640838B2 (ja) 放電ランプ装置
JP2011154931A (ja) 光源装置および投射型表示装置
JP2005077585A (ja) ランプ装置及びこれを備えたプロジェクタ
JP2006236756A (ja) ショートアーク型放電灯
JP2008281628A (ja) プロジェクタ
JP6671591B2 (ja) ショートアーク型放電ランプ
JP2011138713A (ja) 光源装置及びプロジェクター
JPH087839A (ja) 低圧放電ランプ装置およびこれを用いた光学的読取り装置
JPH087841A (ja) 反射鏡付きメタルハライドランプ

Legal Events

Date Code Title Description
R150 Certificate of patent or registration of utility model

Free format text: JAPANESE INTERMEDIATE CODE: R150

FPAY Renewal fee payment (event date is renewal date of database)

Free format text: PAYMENT UNTIL: 20101121

Year of fee payment: 3

FPAY Renewal fee payment (event date is renewal date of database)

Free format text: PAYMENT UNTIL: 20101121

Year of fee payment: 3

S531 Written request for registration of change of domicile

Free format text: JAPANESE INTERMEDIATE CODE: R323531

R350 Written notification of registration of transfer

Free format text: JAPANESE INTERMEDIATE CODE: R350

FPAY Renewal fee payment (event date is renewal date of database)

Free format text: PAYMENT UNTIL: 20101121

Year of fee payment: 3

FPAY Renewal fee payment (event date is renewal date of database)

Free format text: PAYMENT UNTIL: 20111121

Year of fee payment: 4

LAPS Cancellation because of no payment of annual fees