JP3104515U - シャツ - Google Patents

シャツ Download PDF

Info

Publication number
JP3104515U
JP3104515U JP2004001922U JP2004001922U JP3104515U JP 3104515 U JP3104515 U JP 3104515U JP 2004001922 U JP2004001922 U JP 2004001922U JP 2004001922 U JP2004001922 U JP 2004001922U JP 3104515 U JP3104515 U JP 3104515U
Authority
JP
Japan
Prior art keywords
button
drum
front body
shirt
washer
Prior art date
Legal status (The legal status is an assumption and is not a legal conclusion. Google has not performed a legal analysis and makes no representation as to the accuracy of the status listed.)
Expired - Lifetime
Application number
JP2004001922U
Other languages
English (en)
Inventor
隆生 矢島
Original Assignee
フレックスジャパン株式会社
Priority date (The priority date is an assumption and is not a legal conclusion. Google has not performed a legal analysis and makes no representation as to the accuracy of the date listed.)
Filing date
Publication date
Application filed by フレックスジャパン株式会社 filed Critical フレックスジャパン株式会社
Priority to JP2004001922U priority Critical patent/JP3104515U/ja
Application granted granted Critical
Publication of JP3104515U publication Critical patent/JP3104515U/ja
Anticipated expiration legal-status Critical
Expired - Lifetime legal-status Critical Current

Links

Images

Landscapes

  • Details Of Garments (AREA)

Abstract

【課題】着用時に鼓ボタンの座金部分が肌に直接触れないようにした着心地の良いシャツを提供する。
【解決手段】鼓ボタン10を採用したシャツに関し、下前身頃5の前身端7で裏側に折り重ねられてステッチSで縫い付けられた部分に、このステッチSの縫い付けにより袋綴じにされて前記鼓ボタン10の座金部分10bを被覆し得るように折り返された比翼部16を形成する。
【選択図】図1

Description

本考案は、鼓ボタンを採用したシャツに関するものである。
日本国内におけるシャツで一般的に用いられているボタン留め形式は、一方の衣料生地に縫着したボタンを、他方の衣料生地に形成したボタン孔に掛け留めして両衣料生地を閉じ合わせるというものが主流であるが、インド等の海外で生産されているシャツには、鼓ボタンと呼称される金属製の特殊ボタンを用いたボタン留め形式が採用されている例も多い。
図5及び図6は鼓ボタンを採用したシャツの一例を示すもので、図5はシャツの前を閉じ合わせた時の状態を示し、図6はシャツの前を閉じ合わせる前の状態を示しており、図中1はシャツ、2は衿、3は衿台、4は上前身頃(シャツ1の前を閉じ合わせた時に上側になる前面部分)、5は下前身頃(シャツ1の前を閉じ合わせた時に下側になる前面部分)を示しており、上前身頃4と下前身頃5の両方の前身端6,7に複数のボタン孔8,9が形成され、両ボタン孔8,9に通した鼓ボタン10により上前身頃4及び下前身頃5の前身端6,7同士が閉じ合わされるようになっている。
即ち、鼓ボタン10は、図7に概略的に示す如きボタン本体10aと座金部分10bとを連結部10cで連結して構成されており、下前身頃5のボタン孔9の裏側に座金部分10bを掛止させた状態で上前身頃4のボタン孔8の表側にボタン本体10aを掛止させることでボタン留めが成されるようにしてある。
また、衿台3の両方の端部にもボタン孔11,12が形成されていて、両ボタン孔11,12に通した鼓ボタン10により衿元が閉じ合わされるようにしてあり、更には、カフス部13の両方の端部にもボタン孔14,15が形成されていて、両ボタン孔14,15に通した鼓ボタン10により袖口が閉じ合わされるようにしてある(図5参照)。
しかしながら、鼓ボタン10を採用した従来のシャツ1では、シャツ1の前を閉じ合わせる前の状態において、鼓ボタン10が下前身頃5側の前身端7のボタン孔9や、衿台3の下前身頃5側の端部のボタン孔12に鼓ボタン10が保持されるようになっており、また、袖口を閉じ合わせる前の状態においては、カフス部13の下側に重なる端部のボタン孔15に鼓ボタン10が保持されるようになっているが、これらボタン孔9,12,15の何れに保持されている鼓ボタン10も、その座金部分10bが衣料生地の裏側に露出してしまうので、着用時に鼓ボタン10の座金部分10bが肌に直接触れて不快な冷感を感じてしまうという不具合があった。
尚、下前身頃5側の前身端7のボタン孔9に保持されている鼓ボタン10の詳細は図8に示す通りであり、下前身頃5の前身端7で裏側に折り重ねられてステッチSで縫い付けられた二重の部分にボタン孔9が形成されていて、このボタン孔9に鼓ボタン10の連結部10cが通され、表側にボタン本体10aが、裏側に座金部分10bが夫々露出するようになっている。
他方、衿台3やカフス部13のボタン孔12,15に保持されている鼓ボタン10の詳細は図9に示す通りであり、これら衿台3やカフス部13の何れも保形性を高めるために二重になっており、ここに形成されたボタン孔12やボタン孔15に鼓ボタン10の連結部10cが通され、表側にボタン本体10aが、裏側に座金部分10bが夫々露出するようになっている。
本考案は、上述の実情に鑑みてなしたもので、着用時に鼓ボタンの座金部分が肌に直接触れないようにした着心地の良いシャツを提供することを目的としている。
本考案の請求項1に記載の考案は、上前身頃及び下前身頃の両方の前身端にボタン孔を形成し、両ボタン孔に通した鼓ボタンにより上前身頃及び下前身頃の前身端同士を閉じ合わせるようにしたシャツにおいて、下前身頃の前身端の裏側に、該前身端における各鼓ボタンの座金部分を被覆し得るように比翼部を形成したことを特徴とするものである。
而して、このようにすれば、上前身頃及び下前身頃の前身端同士を閉じ合わせるにあたり、下前身頃の前身端の裏側に掛止される鼓ボタンの座金部分が比翼部により被覆されて肌に直接触れなくなるので、シャツの着用時に鼓ボタンの座金部分が肌に触れることで不快な冷感を感じてしまう不具合が未然に回避される。
また、本考案の請求項2に記載の考案は、衿台の両方の端部にボタン孔を形成し、両ボタン孔に通した鼓ボタンにより衿元を閉じ合わせるようにしたシャツにおいて、衿台の下前身頃側のボタン孔の裏側に、鼓ボタンの座金部分を被覆し得るように別の生地を宛がって袋状に縫い付けたことを特徴とするものである。
而して、このようにすれば、衿元を閉じ合わせるにあたり、衿台の下前身頃側端部の裏側に掛止される鼓ボタンの座金部分が別の生地により被覆されて肌に直接触れなくなるので、シャツの着用時に鼓ボタンの座金部分が肌に触れることで不快な冷感を感じてしまう不具合が未然に回避される。
更に、本考案の請求項3に記載の考案は、カフス部の両方の端部にボタン孔を形成し、両ボタン孔に通した鼓ボタンにより袖口を閉じ合わせるようにしたシャツにおいて、カフス部の下側に重なる端部のボタン孔の裏側に、鼓ボタンの座金部分を被覆し得るように別の生地を宛がって袋状に縫い付けたことを特徴とするものである。
而して、このようにすれば、袖口を閉じ合わせるにあたり、カフス部の下側に重なる端部の裏側に掛止される鼓ボタンの座金部分が別の生地により被覆されて肌に直接触れなくなるので、シャツの着用時に鼓ボタンの座金部分が肌に触れることで不快な冷感を感じてしまう不具合が未然に回避される。
上記した本考案のシャツによれば、下記の如き種々の優れた効果を奏し得る。
(I)シャツの着用時に鼓ボタンの座金部分が肌に触れることで不快な冷感を感じてしまう不具合を未然に回避することができるので、鼓ボタンを採用したシャツの着心地を著しく改善することができる。
(II)外気温度が高い時にシャツの胸元を開けたり、汚れ仕事や水仕事のために袖口を折り返したりしても、裏地側に鼓ボタンの座金部分が露出しないので、シャツの美観を良好に保つことができる。
以下本考案の実施の形態を図示例と共に説明する。
図1〜図4は本考案の実施の形態の一例を示すもので、図中図5〜図9と同一の符号を付した部分は同一物を表わしている。
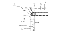
前述した図5〜図9と同様に鼓ボタン10を採用したシャツ1に関し、本形態例においては、先に説明した従来例の図8と同じ破断位置で見た図1の断面図に示す如く、下前身頃5の前身端7で裏側に折り重ねられてステッチSで縫い付けられた部分に、このステッチSの縫い付けにより袋綴じにされて前記鼓ボタン10の座金部分10bを被覆し得るように折り返された比翼部16が形成されている。
即ち、この比翼部16は、下前身頃5の前身端7で裏側に折り込まれる部分を従来より長めに確保しておき、これを左右交互に計三回折り返して葛折りにしたものをステッチSで縫い付けることにより形成されており、アイロンプレス等により鼓ボタン10の座金部分10bを被覆した状態で形付けられている。
また、図2に下前身頃5を裏側から見た状態を示しているように、衿台3の下前身頃5側のボタン孔12の裏側には、鼓ボタン10の座金部分10bを被覆し得るように別の生地17が宛がわれて袋状に縫い付けられている。
更に、図3にカフス部13を展開して裏側から見た状態を示しているように、カフス部13の下側に重なる端部のボタン孔15の裏側には、鼓ボタン10の座金部分10bを被覆し得るように別の生地18が宛がわれて袋状に縫い付けられている。
尚、これら図2及び図3の要部に関する断面図は図4に示す通りであるが、この図4は、先の図1の断面図に倣い、表側から見た衿台3やカフス部13の要部を水平に破断して見上げた方向の断面で示してある。
而して、このようにシャツ1を構成すれば、上前身頃4及び下前身頃5の前身端6,7同士を閉じ合わせるにあたり、下前身頃5の前身端7の裏側に掛止される鼓ボタン10の座金部分10bが比翼部16により被覆されて肌に直接触れなくなり、しかも、衿元を閉じ合わせるにあたっても、衿台3の下前身頃5側端部の裏側に掛止される鼓ボタン10の座金部分10bが別の生地17により被覆されて肌に直接触れなくなり、更には、袖口を閉じ合わせるにあたっても、カフス部13の下側に重なる端部の裏側に掛止される鼓ボタン10の座金部分10bが別の生地18により被覆されて肌に直接触れなくなるので、シャツ1の着用時に鼓ボタン10の座金部分10bが肌に触れることで不快な冷感を感じてしまう不具合が未然に回避されることになる。
従って、上記形態例によれば、シャツ1の着用時に鼓ボタン10の座金部分10bが肌に触れることで不快な冷感を感じてしまう不具合を未然に回避することができるので、鼓ボタン10を採用したシャツ1の着心地を著しく改善することができる。
また、外気温度が高い時にシャツ1の胸元を開けたり、汚れ仕事や水仕事のために袖口を折り返したりしても、裏地側に鼓ボタン10の座金部分10bが露出しないので、シャツ1の美観を良好に保つことができるという利点もある。
尚、本考案のシャツは、上述の形態例にのみ限定されるものではなく、本考案の要旨を逸脱しない範囲内において種々変更を加え得ることは勿論である。
本考案の実施の形態の一例を示す断面図である。 図1の下前身頃を裏側から見た状態を示す背面図である。 カフス部を展開して裏側から見た状態を示す平面図である。 図2及び図3の要部に関する断面図である。 鼓ボタンでシャツの前を閉じ合わせた状態を示す正面図である。 図5のシャツの前を閉じ合わせる前の状態を示す正面図である。 鼓ボタンの概略を示す斜視図である。 従来の鼓ボタンの保持状態の一例を示す断面図である。 従来の鼓ボタンの保持状態の別の例を示す断面図である。
符号の説明
1 シャツ
2 衿
3 衿台
4 上前身頃
5 下前身頃
6 前身端
7 前身端
8 ボタン孔
9 ボタン孔
10 鼓ボタン
10a ボタン本体
10b 座金部分
10c 連結部
11 ボタン孔
12 ボタン孔
13 カフス部
14 ボタン孔
15 ボタン孔
16 比翼部
17 別の生地
18 別の生地
S ステッチ

Claims (3)

  1. 上前身頃及び下前身頃の両方の前身端にボタン孔を形成し、両ボタン孔に通した鼓ボタンにより上前身頃及び下前身頃の前身端同士を閉じ合わせるようにしたシャツにおいて、下前身頃の前身端の裏側に、該前身端における各鼓ボタンの座金部分を被覆し得るように比翼部を形成したことを特徴とするシャツ。
  2. 衿台の両方の端部にボタン孔を形成し、両ボタン孔に通した鼓ボタンにより衿元を閉じ合わせるようにしたシャツにおいて、衿台の下前身頃側のボタン孔の裏側に、鼓ボタンの座金部分を被覆し得るように別の生地を宛がって袋状に縫い付けたことを特徴とするシャツ。
  3. カフス部の両方の端部にボタン孔を形成し、両ボタン孔に通した鼓ボタンにより袖口を閉じ合わせるようにしたシャツにおいて、カフス部の下側に重なる端部のボタン孔の裏側に、鼓ボタンの座金部分を被覆し得るように別の生地を宛がって袋状に縫い付けたことを特徴とするシャツ。
JP2004001922U 2004-04-08 2004-04-08 シャツ Expired - Lifetime JP3104515U (ja)

Priority Applications (1)

Application Number Priority Date Filing Date Title
JP2004001922U JP3104515U (ja) 2004-04-08 2004-04-08 シャツ

Applications Claiming Priority (1)

Application Number Priority Date Filing Date Title
JP2004001922U JP3104515U (ja) 2004-04-08 2004-04-08 シャツ

Publications (1)

Publication Number Publication Date
JP3104515U true JP3104515U (ja) 2004-09-30

Family

ID=43257926

Family Applications (1)

Application Number Title Priority Date Filing Date
JP2004001922U Expired - Lifetime JP3104515U (ja) 2004-04-08 2004-04-08 シャツ

Country Status (1)

Country Link
JP (1) JP3104515U (ja)

Cited By (1)

* Cited by examiner, † Cited by third party
Publication number Priority date Publication date Assignee Title
JP7534168B2 (ja) 2020-09-23 2024-08-14 直美 西岡 衣服及び輪ゴム止め鼓ボタン

Cited By (1)

* Cited by examiner, † Cited by third party
Publication number Priority date Publication date Assignee Title
JP7534168B2 (ja) 2020-09-23 2024-08-14 直美 西岡 衣服及び輪ゴム止め鼓ボタン

Similar Documents

Publication Publication Date Title
US7591706B2 (en) Reversible sport bra
CN202122098U (zh) 衬衫
JP4769956B2 (ja) ズボン
JP2010255137A (ja) カット・アンド・ソーンによるニットシャツ
US20100263105A1 (en) Comfortable and Cool Shirt Collar
JP3104515U (ja) シャツ
JP3184077U (ja) リバーシブルズボン
JP5383165B2 (ja) アクセサリーの着脱自在な被服
JP3174287U (ja) タックアップカフス
JP5528909B2 (ja) 被服
JP4609956B1 (ja) 和服用肌着
JP3077486U (ja) シャツ
JP4636674B2 (ja) 一枚製着衣
JP3190402U (ja) シャツ
US1021071A (en) Knitted collar for garments.
JP3017082U (ja) ズボン
CN213908548U (zh) 一种穿戴多用针织衫
JP3108683U (ja) 衣料品
CN211185904U (zh) 一种西服
JP4752070B2 (ja) かぶり着する短袖のワイシャツおよび長袖のワイシャツ
JP3100559U (ja) 長袖ワイシャツ
JP2025172977A (ja) リバーシブル衣服のポケット構造
JP3213672U (ja) 装飾用襟布とこれを用いた上着
JP3157668U (ja) スリーウェイコート
JP3096780U (ja) 着衣及び組み合わせ着衣

Legal Events

Date Code Title Description
R150 Certificate of patent or registration of utility model

Free format text: JAPANESE INTERMEDIATE CODE: R150

FPAY Renewal fee payment (event date is renewal date of database)

Free format text: PAYMENT UNTIL: 20070721

Year of fee payment: 3

FPAY Renewal fee payment (event date is renewal date of database)

Free format text: PAYMENT UNTIL: 20080721

Year of fee payment: 4

FPAY Renewal fee payment (event date is renewal date of database)

Free format text: PAYMENT UNTIL: 20080721

Year of fee payment: 4

FPAY Renewal fee payment (event date is renewal date of database)

Free format text: PAYMENT UNTIL: 20090721

Year of fee payment: 5

FPAY Renewal fee payment (event date is renewal date of database)

Free format text: PAYMENT UNTIL: 20100721

Year of fee payment: 6

EXPY Cancellation because of completion of term
FPAY Renewal fee payment (event date is renewal date of database)

Free format text: PAYMENT UNTIL: 20100721

Year of fee payment: 6