JP2022040105A - 制御パネル付きの田植機 - Google Patents

制御パネル付きの田植機 Download PDF

Info

Publication number
JP2022040105A
JP2022040105A JP2021139401A JP2021139401A JP2022040105A JP 2022040105 A JP2022040105 A JP 2022040105A JP 2021139401 A JP2021139401 A JP 2021139401A JP 2021139401 A JP2021139401 A JP 2021139401A JP 2022040105 A JP2022040105 A JP 2022040105A
Authority
JP
Japan
Prior art keywords
control
rice transplanter
hydraulic valve
control panel
detecting element
Prior art date
Legal status (The legal status is an assumption and is not a legal conclusion. Google has not performed a legal analysis and makes no representation as to the accuracy of the status listed.)
Granted
Application number
JP2021139401A
Other languages
English (en)
Other versions
JP7201757B2 (ja
Inventor
云 夏
Yun Xia
迪 呉
Susumu Go
遠 姚
Yuan Yao
友偉 徐
Youwei Xu
Current Assignee (The listed assignees may be inaccurate. Google has not performed a legal analysis and makes no representation or warranty as to the accuracy of the list.)
Fengjiang Intelligent Shenzhen Co Ltd
Original Assignee
Fengjiang Intelligent Shenzhen Co Ltd
Priority date (The priority date is an assumption and is not a legal conclusion. Google has not performed a legal analysis and makes no representation as to the accuracy of the date listed.)
Filing date
Publication date
Priority claimed from CN202021847668.7U external-priority patent/CN214708704U/zh
Priority claimed from CN202010883058.0A external-priority patent/CN113115613B/zh
Application filed by Fengjiang Intelligent Shenzhen Co Ltd filed Critical Fengjiang Intelligent Shenzhen Co Ltd
Publication of JP2022040105A publication Critical patent/JP2022040105A/ja
Application granted granted Critical
Publication of JP7201757B2 publication Critical patent/JP7201757B2/ja
Active legal-status Critical Current
Anticipated expiration legal-status Critical

Links

Images

Landscapes

  • Guiding Agricultural Machines (AREA)
  • Transplanting Machines (AREA)

Abstract

【課題】田植機の走行主体、挿植主体及びボディ本体の稼働状態を制御でき、操作が容易であり、田植機の操作効率を向上させ、操作者の作業負担を軽減し、田植機のリアルタイム状態をリアルタイムに把握しやすい田植機を提供する。【解決手段】制御パネル付きの田植機は、田植機本体及び制御パネルを含み、田植機本体は、ボディ本体と、ボディ本体に設けられる走行主体及び挿植主体とを含み、制御パネルは、ボディ本体の後部に保持されて、ボディ本体、走行主体及び挿植主体に接続され、且つボディ本体、走行主体及び挿植主体の稼働状態を制御することができ、操作が容易であり、田植機の操作効率を向上させる。【選択図】図1

Description

本発明は、田植機分野に関し、特に制御パネル付きの田植機に関する。
近年、人手作業の作業負担を軽減し、人手作業の環境を改善し、人的コストを節約するために、農業機械化は、大幅に発展し、急速に普及し、田植機は、普及度が高い農業機械の1つとなり、ますます多くの農家により、農地作業に応用されている。田植機は、従来の人手田植えに比べて、作業効率が高く、特に高速田植機の出現は、挿植効率を大幅に向上させる。また、田植機は、苗の株間距離と行間を合理的に抑えることができ、科学的な挿植作業は苗の成長及び増産に役立つ。
従来の田植機は、主に運転室内の運転者によって制御される。具体的には、田植機の前進、後進、加速、減速及び挿植機構の昇降などの動作を制御する操作レバーとコンソールなどの装置は、全て運転室内に位置し、運転者が容易に操作できる。しかし、実際の運転中において、田植機に幾つかの小さな故障が発生する可能性があり、例えば、挿植機構が正常な挿植作業を行うことができず、運転者が運転室から離れて検査し修理する必要がある。修理が完了した後、運転者は運転室に戻って田植機が正常に作業できるか否かを確認し、田植機が依然として正常に作業できなければ、運転者は再び運転室から離れて田植機の後部まで行って挿植機構の状況を検査する。田植機の前部と後部を往復し、運転者の時間を浪費し、修理の効率を低下させる。運転者は農地を歩いたり、運転室に頻繁に入ったりするため、運転室環境が汚れやすく、後続の安全運転にも不利である。
また、運転室内の視野が限られ、挿植機構の全ての実際状態、例えば、挿植機構の高さ位置、苗の株間距離と行間が合理的であるか否かなどを観察するのは困難である。例えば、運転者は挿植機構をデバッギングするとき、田植機を運転して所定時間挿植した後に、降ろして、挿植された苗の株間距離と行間が予め設定されたものとずれているか否かを検査する必要があり、作業効率が低い。一般的に、もう一人の作業者が運転者と互いに協力する必要があり、一人が運転室内で制御し、もう一人がデバッグ及び修理を行う。このような人員配置のため、人件費を増加させてしまう。
本発明の1つの目的は、制御パネル付きの田植機を提供することであり、前記田植機の前記制御パネルを用いることで、前記田植機の走行主体、挿植主体及びボディ本体の稼働状態を制御でき、操作が容易であり、前記田植機の操作効率を向上させ、人的コストを節約することに寄与する。
本発明の別の目的は、制御パネル付きの田植機を提供することであり、前記田植機の前記制御パネルは、前記ボディ本体の後部に設けられ、操作者は、前記田植機の前後を往復せずに、前記田植機の後部において前記田植機の稼働状態を制御でき、操作者の作業負担を軽減し、人的コストを節約することに寄与する。
本発明の別の目的は、制御パネル付きの田植機を提供することであり、前記田植機の前記制御パネルは、前記ボディ本体の後部に設けられ、操作者により広い操作視野を提供し、操作者が前記田植機のリアルタイム状態をリアルタイムに把握しやすい。
本発明の別の目的は、制御パネル付きの田植機を提供することであり、前記制御パネルは、前記田植機の前記挿植主体に近く、操作者が前記制御パネルを操作するとき、前記挿植主体の実際状態を観察でき、さらに前記挿植主体の実際状態に応じて調整することで、操作者が1回だけで適切な位置まで調整することに寄与し、繰り返し作業を回避する。
本発明の別の目的は、制御パネル付きの田植機を提供することであり、前記制御パネルが設けられることによって、操作者が運転室に入らずに前記田植機を制御することが可能となり、操作者が前記田植機を修理するとき、運転室内に繰り返して入らずに、制御パネルによってデバッグすることができ、修理効率を向上させるとともに、運転室をきれいに維持することに寄与する。
本発明の別の目的は、制御パネル付きの田植機を提供することであり、前記制御パネルは、複数の制御キー及び制御マザーボードを含み、複数の前記制御キーが前記制御マザーボードに設けられることで、取り付け空間を節約するとともに、前記田植機の電気化と集積化度を向上させる。
本発明の一態様によれば、制御パネル付きの田植機は、ボディ本体と、前記ボディ本体に設けられる走行主体及び挿植主体とを含む田植機本体と、
前記ボディ本体の後部に保持されて、前記ボディ本体、前記走行主体及び前記挿植主体に接続され、且つ前記ボディ本体、前記走行主体及び前記挿植主体の稼働状態を制御できる制御パネルと、を含む。
本発明の一実施例によれば、前記制御パネルは、制御マザーボード及び制御コンポーネントを含み、前記制御コンポーネントは、前記制御マザーボードに通信可能に接続され、前記制御コンポーネントは、操作命令を入力するように操作され得る。
本発明の一実施例によれば、前記制御コンポーネントは、前記走行主体に接続される前記制御マザーボードに接続される速度制御キーを含む。
本発明の一実施例によれば、前記制御コンポーネントは、前記挿植主体に接続される前記制御マザーボードに通信可能に接続される昇降制御キーを含む。
本発明の一実施例によれば、前記制御コンポーネントは、前記ボディ本体のライトコンポーネントに接続される前記制御マザーボードに通信可能に接続されるライト制御キーを含む。
本発明の一実施例によれば、前記田植機本体は、デフロックシステムを含み、前記制御コンポーネントは、前記デフロックシステムに接続される前記制御マザーボードに通信可能に接続されるデフロック制御キーを含む。
本発明の一実施例によれば、前記制御コンポーネントは、前記ボディ本体の音声コンポーネントに接続される前記制御マザーボードに通信可能に接続される音声制御キーを含む。
本発明の一実施例によれば、前記速度制御キー、昇降制御キー、前記ライト制御キー、前記デフロック制御キー及び前記音声制御キーは、ノブ、プッシュロッド及びボタンからなるタイプ群から選択される。
本発明の一実施例によれば、前記制御パネルは、内部に前記制御マザーボードが密封される、前記制御コンポーネントが可動に取り付けられる保護ケースを含む。
本発明の一実施例によれば、前記田植機本体は、ガードレールを含み、前記ガードレールは、左側ガードレール、右側ガードレール及び中間ガードレールを含み、前記左側ガードレール及び前記右側ガードレールがそれぞれ前記ボディ本体の左側と右側に設けられ、前記中間ガードレールの両端がそれぞれ前記左側ガードレール及び前記右側ガードレールに取り付けられ、且つ前記左側ガードレール、前記右側ガードレール及び前記中間ガードレールが前記ボディ本体の後部に位置し、前記制御パネルは、前記保護ケースに設けられる組み立て部材を含み、前記組み立て部材は、前記左側ガードレール、前記右側ガードレール又は前記中間ガードレールに取り付けられるように前記ボディ本体の後部に保持される。
本発明の一実施例によれば、前記制御パネル付きの田植機は、田植機制御システムをさらに含み、前記田植機制御システムは、コントローラ、制御ハンドル及び挿植制御ユニットを含み、前記走行主体は、油圧伝動装置、及び前記油圧伝動装置に駆動可能に接続される走行手段を含み、前記挿植主体は、油圧弁及び挿植機構を含み、前記油圧弁は、弁本体、及び前記弁本体に操作可能に接続される油圧弁棒を含み、前記挿植機構が前記弁本体に接続され、前記制御ハンドルは、前記コントローラに通信可能に接続され、前記挿植制御ユニットは、前記コントローラに制御可能に接続され、前記挿植制御ユニットは、前記挿植主体の前記油圧弁の前記油圧弁棒に接続される。
本発明の一実施例によれば、前記田植機制御システムは、前記制御ハンドルと前記コントローラに駆動可能に接続される、前記走行主体の前記油圧伝動装置に接続される走行制御ユニットをさらに含む。
本発明の一実施例によれば、前記走行制御ユニットは、ハンドル位置検出素子、HST状態検出素子及びHST制御モーターを含み、前記ハンドル位置検出素子は、前記制御ハンドルに接続され、前記制御ハンドルの位置を検出し、前記油圧伝動装置は、前記HST制御モーターに制御可能に接続され、前記HST検出素子は、前記HST制御モーターに接続され、前記HST制御モーターの回転を検出する。
本発明の一実施例によれば、前記ハンドル位置検出素子は、前記コントローラに通信可能に接続され、前記コントローラは、前記ハンドル位置検出素子によってフィードバックされた情報に基づいて、前記HST制御モーターの回転を制御する。
本発明の一実施例によれば、前記HST状態検出素子は、前記コントローラに通信可能に接続され、前記コントローラは、前記HST状態検出素子によってフィードバックされた情報に基づいて前記HST制御モーターの回転を制御する。
本発明の一実施例によれば、前記走行制御ユニットは、ハンドル駆動棒、第1取付板、支持フレーム及び第1リンクをさらに含み、前記ハンドル駆動棒の両端は、それぞれ前記制御ハンドルと前記支持フレームに接続され、前記支持フレームは、前記田植機本体の前記ボディ本体に取り付けられ、前記第1取付板は、前記ボディ本体に固定され、前記第1リンクは、前記支持フレームに取り付けられ、前記ハンドル位置検出素子は、前記ハンドル位置検出素子に接続され、前記制御ハンドルは、回転するときに、前記ハンドル駆動棒を駆動して回転させ、前記ハンドル駆動棒は、前記第1リンクを駆動して回転させ、さらに前記ハンドル位置検出素子を駆動して偏向させる。
本発明の一実施例によれば、前記走行制御ユニットは、回転板、第2取付板及び第2リンクをさらに含み、前記HST制御モーターが前記第2取付板を介して前記ボディ本体に取り付けられ、前記回転板がそれぞれ前記HST制御モーターと前記油圧伝動装置に接続され、前記HST制御モーターは、回転するときに、前記回転板を駆動して前記油圧伝動装置に対して回転させ、前記油圧伝動装置から出力される動力の大きさを調節し、前記第2リンクは、それぞれ前記回転板と前記HST状態検出素子に接続され、前記HST状態検出素子は、前記回転板とともに偏向する。
本発明の一実施例によれば、前記挿植制御ユニットは、油圧弁状態検出素子及び油圧弁制御モーターを含み、前記油圧弁制御モーターは、前記コントローラに通信可能に接続され、前記挿植主体の前記油圧弁の前記油圧弁棒は、前記油圧弁制御モーターに駆動可能に接続され、前記油圧弁状態検出素子は、前記油圧弁棒の回転を検出する。
本発明の一実施例によれば、前記挿植制御ユニットは、第1可動板、第2可動板及び第3リンクをさらに含み、前記油圧弁状態検出素子と前記油圧弁制御モーターは前記第2可動板を介して前記ボディ本体に取り付けられ、前記第1可動板は前記油圧弁棒に取り付けられ、前記第3リンクの両端はそれぞれ前記第1可動板と前記油圧弁状態検出素子に接続され、前記油圧弁制御モーターが前記第1可動板を駆動して回転させるときに、前記第1可動板は、前記油圧弁の前記油圧弁棒を作動させるとともに、前記油圧弁状態検出素子を駆動して偏向させる。
本発明の一実施例によれば、前記油圧弁状態検出素子は、コントローラに通信可能に接続され、前記コントローラは、前記油圧弁状態検出素子によってフィードバックされた情報に基づいて前記油圧弁制御モーターを回転制御する。
本発明の一実施例によれば、前記挿植制御ユニットは、挿植位置検出素子、第1取付板、第4リンク及び第5リンクをさらに含み、前記挿植位置検出素子は前記第3取付板を介して前記ボディ本体に取り付けられ、前記第5リンクの両端はそれぞれ前記挿植主体の前記挿植機構と前記第4リンクに接続され、前記第4リンクの両端はそれぞれ前記第5リンクと前記挿植位置検出素子に接続され、前記挿植機構は、作動中に、前記第4リンクと前記第5リンクを引っ張って移動し、前記挿植位置検出素子を駆動して回転させる。
本発明の一実施例によれば、前記挿植位置検出素子は、前記コントローラに通信可能に接続され、前記コントローラは、前記挿植位置検出素子によってフィードバックされた情報に基づいて前記油圧弁制御モーターを制御する。
本発明の一実施例によれば、前記田植機制御システムは、操舵検出ユニットをさらに含み、前記操舵検出ユニットは、操舵角度検出素子、取付台、連結棒、駆動棒及び操舵板を含み、前記取付台は前記田植機本体の前記ボディ本体に取り付けられ、前記操舵角度検出素子は前記取付台に取り付けられ、前記駆動棒は前記操舵板と前記接続部品に接続され、前記接続部品は前記操舵角度検出素子に接続され、前記回転板は前記走行手段のステアリングホイールに接続され、前記走行手段のステアリングホイールを操舵するときに、前記走行手段の前記ステアリングホイールは前記操舵板を駆動して回転させ、前記操舵板は前記接続部品を駆動して回転させ、前記接続部品は前記操舵角度検出素子を駆動して偏向させる。
本発明の一実施例によれば、前記ハンドル位置検出素子、前記HST状態検出素子、前記油圧弁状態検出素子、前記挿植位置検出素子及び前記操舵角度検出素子は、角度センサーとして実施される。
は本発明の好適な実施例の田植機の斜視模式図である。 本発明の上記好適な実施例による前記田植機の斜視模式図である。 本発明の上記好適な実施例による前記田植機の制御システムの制御ハンドルの斜視模式図である。 本発明の上記好適な実施例による前記田植機の制御システムの走行制御ユニットの構造模式図である。 本発明の上記好適な実施例による前記田植機の制御システムの走行制御ユニットの構造模式図である。 本発明の上記好適な実施例による前記田植機の制御システムの前記走行制御ユニットの構造模式図である。 本発明の上記好適な実施例による前記田植機の制御システムの前記走行制御ユニットの構造模式図である。 本発明の上記好適な実施例による前記田植機の制御システムの挿植制御ユニットの構造模式図である。 本発明の上記好適な実施例による前記田植機の制御システムの挿植制御ユニットの構造模式図である。 本発明の上記好適な実施例による前記田植機制御システムの前記挿植制御ユニットの構造模式図である。 本発明の上記好適な実施例による前記田植機制御システムの前記挿植制御ユニットの構造模式図である。 本発明の上記好適な実施例による前記田植機制御システムの操舵検出ユニットの構造模式図である。 本発明の上記好適な実施例による前記田植機制御システムの操舵検出ユニットの構造模式図である。 本発明の上記好適な実施例による前記田植機のデフロックシステムの構造模式図である。 本発明の上記好適な実施例による前記田植機のデフロックシステムの構造模式図である。 本発明の上記好適な実施例による前記田植機の一部の構造の下面模式図である。 本発明の上記好適な実施例による前記田植機の一部の構造の模式図である。 本発明の上記好適な実施例による前記田植機の制御パネル及びガードレールの構造模式図である。 本発明の上記好適な実施例による前記田植機の制御パネル及びガードレールの構造模式図である。 本発明の上記好適な実施例による前記田植機の前記制御パネルの斜視模式図である。 本発明の上記好適な実施例による前記田植機の前記制御パネルの平面模式図である。 本発明の上記好適な実施例による前記田植機の前記制御パネルの底面模式図である。
以下の説明は、当業者が本発明を実施できるように、本発明を開示するために使用される。以下の説明の好適な実施例は、例に過ぎず、当業者は、他の明瞭な変形を想到できる。以下の説明で定義される本発明の基本原理は、その他の実施手段、変形手段、改良手段、等価手段、及び本発明の精神および範囲から逸脱しないその他の技術の解決手段に適用できる。
当業者であれば理解できるように、本発明の開示では、「縦方向」、「横方向」、「上」、「下」、「前」、「後」、「左」、「右」、「垂直」、「水平」、「頂」、「底」、「内」、「外」などの用語により指示される方位又は位置関係は、図面に示される方位又は位置関係に基づくものであり、本発明の説明及び説明の簡単化のために過ぎず、示される装置又は要素が特定方位を有したり、特定方位で構成又は操作されたりすることを指示又は示唆するものではなく、よって、上記用語は、本発明に対する限定としては理解されないことを理解すべきである。
用語の「1つ」は、「少なくとも1つ」又は「1つ又は複数」として理解すべきであり、すなわち、1つの実施例では、1つの素子の数は、1つであってもよいが、他の実施例では、該素子の数は、複数であってもよく、用語の「1つ」は、数に対する限定として理解すべきではない。
明細書の図1~図10Bを参照すると、本発明の好適な実施例による田植機1000とその田植機制御システム100については、以下の記述で説明される。前記田植機1000に対して電気化改造を行うことで、運転者の操作頻度が高い複数の動作に対して電気制御化と集積化を行い、前記田植機1000の電気化度を向上させ、運転者の作業環境を改善し、運転者の作業負担を軽減する。
前記田植機1000は、前記田植機制御システム100及び田植機本体200を含み、前記田植機本体200は、ボディ本体210、走行主体220及び挿植主体230を含み、前記走行主体210と前記挿植主体230は、前記ボディ本体210に取り付けられ、前記走行主体220は、前記ボディ本体210と前記挿植主体230を移動駆動し、前記挿植主体230は、前記走行主体220が走行中に田植作業を行う。
前記走行主体220は、走行手段221及び油圧伝動装置222を含み、前記走行手段221は、前記油圧伝動装置222に駆動可能に接続され、前記油圧伝動装置222は、前記走行手段221を運転駆動でき、さらに前記田植機1000を駆動して前進、後進、加速及び減速などをさせる。好ましくは、前記油圧伝動装置222は、静油圧式伝動装置であり、すなわち、前記油圧伝動装置は、パワー素子及び制御素子などからなる閉式オイルラインシステムであり、英語の略語がHSTである。
前記挿植主体230は、挿植機構231及び油圧弁232を含み、前記油圧弁232は、弁本体2321及び油圧弁棒2322を含み、前記油圧弁棒2322は、前記弁本体2321に可動に接続され、前記弁本体の稼働状態を制御し、前記弁本体2321は、前記挿植機構231に接続され、前記挿植機構231を駆動して昇降することができる。
前記田植機制御システム100は、制御ハンドル10、走行制御ユニット20、挿植制御ユニット30及びコントローラ40を含み、前記制御ハンドル10が前記走行制御ユニット20に接続され、前記制御ハンドル10を操作することで、前記田植機1000の前記走行主体220の前進、後進、加速及び減速などを制御することができる。前記制御ハンドル10が前記コントローラ40に通信可能に接続され、前記挿植制御ユニット30が前記コントローラ40に制御可能に接続され、前記制御ハンドル10を操作することで、前記田植本体230の前記挿植機構231の昇降を制御することができる。好ましくは、前記制御ハンドル10が前記走行主体220のステアリングホイールのそばに保持され、それにより、運転者が操作しやすい。
つまり、前記田植機1000が電気化改造された後、運転者の操作頻度が高い複数の動作が前記制御ハンドル10に集積され、運転者が前記制御ハンドル10を操作することで、前記田植機1000を制御することを実現できる。さらに、初期段階に前記田植機1000を簡単に操作すれば、前記田植機1000が自動運転でき、さらに運転者が不要になり、運転者の作業環境と作業負担を著しく改善し、挿植作業の人的コストを低減させることに寄与する。
図3を参照すると、前記制御ハンドル10は、制御本体11、前記制御本体11から下へ延伸する連結棒12、及び前記制御本体11に可動に設けられる操作キー13を含む。前記制御本体11を把握しながら前又は後へ移動させることによって、前記田植機本体100を制御して前進、後進、加速及び減速をさせることができる。各前記操作キー13が異なる操作命令に対応し、異なる前記操作キー13を選択することで、前記制御ハンドル10が対応する前記操作命令を発行する。前記コントローラ40は、前記操作命令に基づいて前記挿植制御ユニット30を制御し、前記田植本体230の前記挿植機構231を昇降させることを実現する。
具体的には、前記制御ハンドル10の前記制御本体11の前部と後部は、弧曲面であり、前記制御本体11の面は、内へ凹み、且つ凹み形状は、人体の手部が軽く握る状態と一致し、運転者の把握習慣を満たす。
好ましくは、前記操作キー13は、挿植ボタン131、走行ボタン132及びレバー133を含み、前記挿植ボタン131に対応する操作命令が田植であり、運転者が前記挿植ボタン131を押すと、前記挿植主体230の前記挿植機構231が田植作業を開始し、前記挿植ボタン131をもう1回押すと、田植作業を停止できる。前記走行件ボタン132に対応する操作が前記田植機1000の自動走行であり、運転者が前記走行ボタン132を押すと、前記走行主体220の前記走行手段221が自動走行し、前記走行ボタン132をもう1回押すと、自動走行をキャンセルできる。前記レバー133に対応する操作が前記挿植主体230の前記挿植機構231の昇降であり、前記レバー133を下へ引くと、前記挿植機構231が降下し、前記レバー133を上へ引くと、前記挿植機構231が上昇する。前記操作キー13の具体的な実施形態は、単なる例に過ぎず、前記操作キー13が他の制御機能を含むように実施されてもよいことは、当業者は理解すべきである。
本発明のこの具体的な実施例では、前記挿植ボタン131と前記レバー133が前記制御本体11の左側部に設けられ、運転者が前記制御本体11を把握しているとき、前記挿植ボタン131と前記レバー133が運転者の親指に近く、運転者が操作しやすい。前記走行ボタン132が前記制御本体11の下部に位置し、前記走行ボタン132を用いる必要があるとき、手部を下へ移動させればよい。好ましくは、前記走行ボタン132が前記制御本体11の後部下方に位置し、運転者の誤タッチを防止することに寄与する。
図4A~図5Bを参照すると、前記走行制御ユニット20は、ハンドル位置検出素子21、HST状態検出素子22及びHST制御モーター23を含む。前記ハンドル位置検出素子21は、前記制御ハンドル10に接続され、前記制御ハンドル10の位置変化を検出する。前記HST制御モーター23は、前記制御ハンドル10の位置変化に応じて、前記油圧伝動装置222を制御して対応する位置に到達させる。前記HST制御モーター23は、前記油圧伝動装置222に接続され、前記HST状態検出素子22は、前記HST制御モーター23に接続され、前記HST制御モーター23の回転角度に基づいて前記油圧伝動装置222の稼働状態を取得する。前記HST制御モーター23が対応する角度まで回転したことを前記HST状態検出素子22がフィードバックした後、前記HST制御モーターが回転を停止させる。前記油圧伝動システム222は、このときの稼働状態を維持して動力を連続的に出力し、さらに前記田植機1000の前進、後進、加速及び減速を実現する。
図4Aと図4Bを参照すると、具体的には、前記走行制御ユニット20は、ハンドル駆動棒24、第1取付板25、支持フレーム26及び第1リンク27をさらに含み、前記ハンドル駆動棒24の一端が前記制御ハンドル10に接続され、他端が前記支持フレーム26に取り付けられ、前記支持フレーム26が前記田植機本体200の前記ボディ本体210に回転可能に取り付けられる。前記第1取付板25が前記ボディ本体210に固定され、前記第1リンク27と前記ハンドル位置検出素子21がそれぞれ前記第1取付板25の両側に保持され、且つ前記第1リンク27が前記ハンドル位置検出素子21に接続され、前記第1リンク27が前記支持フレーム26に取り付けられる。運転者が前記田植機1000を運転しながら、前記田植機1000を前進、後進、加速及び減速させる必要があると、前記制御ハンドル10を推進して、前記制御ハンドル10で前記ハンドル駆動棒24を駆動して回転させ、前記ハンドル駆動棒24が前記第1リンク27を駆動して回転させるすることで、前記ハンドル位置検出素子21を所定角度偏向させる。このようにして、前記ハンドル位置検出素子21は、前記制御ハンドル10の位置変化を検出できる。
図5Aと図5Bを参照すると、前記走行制御ユニット20は、回転板28、第2取付板29及び第2リンク201をさらに含み、前記回転板28は、歯止め部281、及び前記歯止め部281まで一体に延伸する調節部282を含む。前記HST制御モーター23は、前記第2取付板29を介して前記ボディ本体210に取り付けられる。前記回転板28の前記歯止め部281は、前記HST制御モーター23に接続され、前記調節部282は、前記油圧伝動装置222に取り付けられ、前記HST制御モーター23は、回転するとき、前記回転板28を駆動して前記油圧伝動装置222に対して相対回転させ、前記油圧伝動装置222から出力される動力の大きさを調節する。前記第2リンク201は、それぞれ前記回転板28と前記HST状態検出素子22に接続される。前記HST状態検出素子22は、前記回転板28とともに偏向し、さらに前記回転板28の回転角度を検出することで、前記HST制御モーター23の回転角度と前記油圧伝動装置222の対応する稼働状態、例えば、前記油圧伝動装置222から出力される動力の大きさ(これに限られない)を取得する。つまり、前記HST制御モーター23の回転角度は、前記油圧伝動装置222の稼働状態を表し、前記HST制御モーター23の回転角度を検出することで、前記油圧伝動装置222の稼働状態を取得することができる。好ましくは、前記回転板28は、歯付き板として実施される。
本発明のこの具体的な実施例では、前記ハンドル位置検出素子21と前記HST状態検出素子22は、それぞれ角度センサーとして実施され、前記ハンドル位置検出素子21は、偏向角度を検出することで前記制御ハンドル10の位置変化を取得し、前記HST状態検出素子22は、前記HST制御モーター23の回転角度を検出することで、前記油圧伝動装置222の対応する稼働状態を取得する。前記ハンドル位置検出素子21と前記HST状態検出素子22の具体的な実施形態は、単なる例に過ぎず、本発明の前記田植機制御システム100の内容と範囲を限定するものではないことは、当業者であれば理解すべきである。
さらに、前記ハンドル位置検出素子21が前記コントローラ40に通信可能に接続され、前記ハンドル位置検出素子21によって検出された前記制御ハンドル10の位置情報が前記コントローラ40に転送され、前記HST制御モーター23が前記コントローラ40に制御可能に接続され、前記コントローラ40は、前記制御ハンドル10の位置情報に基づいて前記HST制御モーター23を制御して対応する角度回転させ、さらに前記油圧伝動装置222の稼働状態を調節する。前記HST状態検出素子22が前記コントローラ40に通信可能に接続され、前記HST検出素子22によって取得された前記油圧伝動装置222の状態信号が前記コントローラ40に転送され、前記HST制御モーター23が対応する角度まで回転し、すなわち、前記油圧伝動装置222が前記制御ハンドル10の位置に対応する稼働状態まで調整された後、前記コントローラ40は、前記HST制御モーター23を制御して回転を停止させる。前記油圧伝動システム222は、このときの稼働状態を維持して動力を連続的に出力し、さらに前記田植機1000の前進、後進、加速及び減速を実現する。
図6A~図7Bを参照すると、前記挿植制御ユニット30は、油圧弁状態検出素子31及び油圧弁制御モーター32を含み、前記油圧弁制御モーター32は、前記コントローラ40に制御可能に接続され、前記挿植主体230の前記油圧弁232の前記油圧弁棒2322は、前記油圧弁制御モーター32に駆動可能に接続され、前記油圧弁状態検出素子31は、前記油圧弁323の稼働状態を検出できる。前記コントローラ40は、受信された前記制御ハンドル10の前記操作キー13から発行された前記操作命令に基づいて、前記油圧弁制御モーター32を回転制御し、前記油圧弁棒2322を移動駆動し、さらに前記油圧弁本体2321の稼働状態を変え、前記油圧弁本体2321に駆動可能に接続される前記田植本体230の前記挿植機構231を昇降させることを実現する。
具体的には、図6Aと図6Bを参照すると、前記挿植制御ユニット30は、第1可動板33、第2可動板34及び第3リンク35をさらに含み、前記油圧弁状態検出素子31と前記油圧弁制御モーター32が前記第2可動板34を介して前記ボディ本体210に取り付けられ、前記第1可動板33が前記油圧弁231の前記油圧弁棒2322に取り付けられ、前記第3リンク35の両端がそれぞれ前記第1可動板33と前記油圧弁状態検出素子31に接続される。好ましくは、前記第1可動板33と前記第2可動板34は、歯付き板として実施される。
前記第1可動板33は、接続部331、駆動部332及び接続柱333を含み、前記駆動部332は、前記接続部331まで一体に延伸し、前記接続柱333は、前記駆動部332から外へ延伸し、前記第3リンク35は、可動貫通孔3501を有し、前記第1可動板33の前記接続柱333は、前記第3リンク35の前記可動貫通孔3501に可動に保持される。
運転者が前記制御ハンドル10の前記操作キー13を操作することで、前記操作命令を発行し、前記コントローラ40は、前記操作命令を受信すると、前記油圧弁制御モーター32を制御して回転させ、前記油圧弁制御モーター32は、前記第1可動板33を駆動して回転させ、前記第1可動板33は、前記油圧弁231の前記油圧弁棒2322を作動させる。これと同時に、前記第1可動板33は、回転するときに、前記油圧弁状態検出素子31を駆動して所定角度偏向させ、さらに、前記油圧弁状態検出素子31は、前記油圧弁棒2322の位置をフィードバックできる。前記油圧弁棒2322の異なる位置は、前記油圧弁本体2321の異なる稼働状態に対応する。つまり、前記油圧弁棒2322の位置を検出することで、前記油圧弁本体2321の対応する稼働状態を取得することができる。
さらに、前記油圧弁状態検出素子31は、前記コントローラ40に通信可能に接続され、前記油圧弁状態検出素子31は、前記油圧弁棒2322の位置情報を前記コントローラ40にフィードバックし、すなわち、前記コントローラ40は、前記油圧弁本体2321の稼働状態を取得することができる。前記油圧弁棒2322が前記操作命令の実施に必要な位置まで回転したとき、前記コントローラ40は、前記油圧弁状態検出素子31によってフィードバックされた情報に基づいて、前記油圧弁制御モーター32を制御して回転を停止させる。このようにして、前記制御ハンドル10を用いれば、前記田植機本体200の前記挿植主体230の前記挿植機構231の昇降などの作業を制御することができる。
本発明の前記田植機制御システム100のこの具体的な実施例では、前記挿植制御ユニット30は、前記挿植主体230の前記挿植機構231のリアルタイムな位置をフィードバックでき、前記挿植機構231を所定高さに保持でき、また、運転者が前記挿植機構231の実際高さを把握しやすく、前記挿植機構231の具体的な作業を容易に制御する。
具体的には、図7Aと図7Bを参照すると、前記挿植制御ユニット30は、挿植位置検出素子36、第3取付板37、第4リンク38及び第5リンク39をさらに含む。前記挿植位置検出素子36は、前記第3取付板37を介して前記ボディ本体210に取り付けられる。前記第5リンク39の両端がそれぞれ前記挿植主体230の前記挿植機構231と前記第4リンク38に接続される。前記第4リンク38の両端がそれぞれ前記第5リンク39と前記挿植位置検出素子36に接続される。前記挿植機構231は、作動中に、前記第5リンク39と前記第4リンク38を引っ張って移動し、これにより、前記挿植位置検出素子36は、駆動されて回転し、さらに前記挿植位置検出素子36は、前記挿植機構231の位置変化情報をフィードバックすることができる。
さらに、前記挿植位置検出素子36は、前記コントローラ40に通信可能に接続され、前記コントローラ40は、前記挿植位置検出素子36によってフィードバックされた位置情報に基づいて前記油圧弁制御モーター32の稼働状態を制御でき、さらに前記挿植機構231を前記所定高さに保持することができる。例えば、前記挿植機構231が所定高さまで上昇したことを前記挿植位置検出素子36が検出すると、前記コントローラ40は、前記油圧弁制御モーター32を回転制御し、さらに前記油圧弁231を制御して中立位置まで到達させ、前記挿植機構231を所定高さに保持する。
本発明のこの具体的な実施例では、前記油圧弁状態検出素子31と前記挿植位置検出素子36は、それぞれ角度センサーとして実施される。前記油圧弁状態検出素子31は、前記油圧弁制御モーター32の回転角度を検出することで、前記油圧弁本体2321の稼働状態を取得する。前記挿植位置検出素子36は、前記挿植機構231に接続されるリンクの回転角度を検出することで、前記挿植機構231の昇降位置を取得する。前記油圧弁状態検出素子31と前記挿植位置検出素子36の具体的な実施形態は、単なる例に過ぎず、本発明の前記田植機制御システム100の内容や範囲に対する限定を構成しないことは、当業者は理解すべきである。
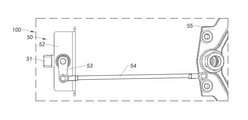
図8Aと図8Bを参照すると、本発明の前記田植機制御システム100のこの具体的な実施例では、前記田植機制御システム100は、前記田植機本体200の前記走行主体220のタイヤの方向変化をリアルタイムに検出できる操舵制御ユニット50をさらに含む。
具体的には、前記操舵制御ユニット50は、操舵角度検出素子51、取付台52、接続部品53、駆動棒54及び操舵板55を含み、前記取付台52が前記田植機本体200の前記ボディ本体210に取り付けられ、前記操舵角度検出素子51が前記取付台52に取り付けられ、前記駆動棒54が前記操舵板55と前記接続部品53に接続され、前記接続部品53が前記操舵角度検出素子51に接続され、前記操舵板55が前記走行手段221のステアリングホイールに接続される。
前記田植機1000を操舵する必要があるとき、前記走行手段221の前記ステアリングホイールを操舵し、前記ステアリングホイールが前記操舵板55を駆動して回転させ、前記操舵板55が前記接続部品53を駆動して回転させ、前記接続部品53が前記操舵角度検出素子51を駆動して所定角度偏向させ、さらに前記操舵角度検出素子51が前記走行手段221のタイヤの回転角度を取得することができる。
さらに、前記操舵角度検出素子51は、前記コントローラ40に通信可能に接続され、前記走行手段221のタイヤの角度変化情報を前記コントローラ40にフィードバックし、さらに運転者は、前記タイヤのリアルタイムな方向を把握でき、前記田植機1000の走行を制御することに寄与する。
本発明の他の態様によれば、本発明は、前記田植機制御システム100の制御方法をさらに提供し、前記制御方法は、
前記制御ハンドルの位置情報を取得するステップ(a)と、
前記制御ハンドルの位置情報に基づいて前記HTS制御モーターの回転を制御するステップ(b)と、
前記HST制御モーターが前記油圧伝動装置の稼働状態を調節するステップ(c)とを含む。
具体的には、前記ステップ(a)で、角度センサーを用い前記制御ハンドルの位置変化を検出する。前記ステップ(b)で、前記角度センサーは、前記制御ハンドルの位置情報を前記コントローラ40に送信し、前記コントローラ40は、前記HST制御モーターの回転を制御する。
さらに、前記ステップ(c)の後に、前記HST制御モーターの回転角度を取得するステップ(d)をさらに含む。好ましくは、前記ステップ(d)で、角度センサーを用い前記HST制御モーターの回転角度を検出する。
前記ステップ(d)の後、前記HST制御モーターが前記ハンドルの位置に対応する角度まで回転した後、前記HST制御モーターを制御して回転を停止させ、前記油圧伝動装置がこのときの稼働状態を維持し、動力を連続的に出力するステップ(e)をさらに含む。具体的には、前記ステップ(e)で、前記角度センサーは、前記HST制御モーターの回転角度を前記コントローラ40にフィードバックし、前記コントローラ40は、前記HST制御モーターを制御して回転を停止させる。
前記制御方法は、前記コントローラ40が前記制御ハンドル10の前記操作命令を実行するとき、前記油圧弁制御モーター32を回転制御し、前記油圧弁232を対応する稼働状態に調節するステップ(f)をさらに含む。
前記制御方法は、角度センサーを用い前記挿植機構231の位置変化を検出するステップ(g)をさらに含む。さらに、前記コントローラ40は、前記挿植機構231の位置情報に基づいて前記油圧弁制御モーター32の稼働状態を制御し、さらに前記挿植機構231を前記所定高さに保持することができる。
図9A~図10Bを参照すると、本発明に記載の田植機1000のこの具体的な実施例では、前記田植機1000は、前記田植機本体200の前記走行主体220の前記走行手段221に接続されるデフロックシステム300をさらに含む。前記デフロックシステム300は、ロック状態とアンロック状態を切り替えるように電動制御でき、前記デフロックシステム300が前記ロック状態であると、前記走行手段221の車輪が一体にロックされ、且つ同じ回転方向と回転数に維持され、前記田植機100が滑りやすい領域を高速に通過したり、又は、畔を渡ったりすることができる。前記デフロックシステム300が前記アンロック状態であると、前記走行手段221の車輪は、正常に動作できる。このようにして、前記田植機の電気化度を向上させ、運転者の作業環境を改善し、運転者の作業負担を軽減する。
図9Aと図9Bを参照すると、前記デフロックシステム300は、差動装置310、差動装置ペダル320及び電気駆動コンポーネント330をさらに含み、差動装置ペダル320が前記差動装置310に接続され、前記電気駆動コンポーネント330が前記差動装置ペダル320に接続される。前記電気駆動コンポーネント330は、運転者の操作命令に答えて、前記差動装置ペダル320を駆動して回転させる。さらに、前記差動装置ペダル320は、前記差動装置310が前記ロック状態と前記アンロック状態との間で切り替えるように駆動する。
前記電気駆動コンポーネント330は、電気駆動素子3310及び接続素子3312を含み、前記接続素子3312の両端がそれぞれ前記電気駆動素子3310と前記差動装置ペダル320に接続され、前記電気駆動素子3310は、運転者の操作命令に応じて、電気的に伸縮するとともに、前記接続素子3312を牽引して移動させ、さらに前記差動装置ペダル320を動かして回動させて、差動器310の作動状態を変化させるように電気的に駆動する。
好ましくは、前記デフロックシステム300の前記電気駆動コンポーネント330の前記電気駆動素子3310は、前記制御システム100の前記コントローラ40に通信可能に接続され、前記コントローラ40は、前記電気駆動コンポーネント330の伸縮状態を制御することができる。本発明の1つの具体例では、前記コントローラ40は、前記操作命令を入力することを可能にし、前記電気駆動素子3310を制御して前記操作命令を実行させることで、前記差動装置310の稼働状態を変える。本発明の他の具体例では、前記制御ハンドル10の前記操作キー13を用いて前記制御指令を入力し、前記コントローラ40は、前記制御指令に基づいて前記電気駆動素子3310の伸縮状態を制御する。つまり、運転者が前記制御ハンドル10を操作することで、前記デフロック310の稼働状態を力をかけずに楽に調節でき、運転者の作業負担を軽減し、前記田植機1000の作業効率を向上させる。
例を挙げると、前記田植機1000が農地の滑りやすい道路部分を通過するとき、運転者が前記ロック状態に対応する前記操作命令を入力すると、前記電気駆動素子3310は、前記操作命令を実行するとき、自体長さを縮め、前記接続素子3312を引いて前記電気駆動素子3310に向かって移動させ、さらに前記差動装置ペダル320は、前記ボディ本体210に対して反時計回り回転し、下へ引き、前記差動装置310は、嵌め合い、前記アンロック状態から前記ロック状態に切り替え、前記走行手段221の車輪も回転する。前記田植機1000が滑りやすい道路部分を通過した後、前記アンロック状態に対応する前記操作命令を入力すると、前記電気駆動素子3310は、前記操作命令を実行するとき、自体長さを伸ばし、前記接続素子3312を押して前記電気駆動素子3310から離れる方向へ移動させ、さらに前記差動装置ペダル320は、前記ボディ本体210に対して時計回り回転する、初期位置まで回復し、前記差動装置310は、分離し、前記ロック状態から前記アンロック状態に切り替える。又は、前記差動装置310は、運転者が前記操作キー113を押すと、前記ロック状態に切り替え、運転者が前記操作キー113を緩めると、前記アンロック状態に切り替える。前記差動装置310を制御して前記ロック状態と前記アンロック状態を切り替えさせる具体的な方法は、例に過ぎず、本発明の前記田植機1000とそのデフロックシステム300の内容や範囲に対する限定を構成しないことは、当業者は理解すべきである。例えば、前記差動装置310を制御する前記操作キー113は、独立して設けられてもよい。
ただし、前記電気駆動素子3310と前記接続素子3312の具体的な実施形態については限定しない。好ましくは、前記電気駆動素子3310は、電気プッシュロッドとして実施され、前記接続素子3312は、コード又は連結棒として実施される。
本発明のこの具体的な実施例では、前記電気駆動コンポーネント330は、両端がそれぞれ前記接続素子3312と前記電気駆動素子3310に接続される弾性素子333をさらに含み、前記差動装置310が前記ロック状態にすぐに切り替えることができないとき、前記弾性素子333は、前記差動装置310に緩衝時間を提供でき、過負荷保護の作用を果たす。
例えば、前記走行手段221の車輪が泥沼に深くはまったため回転できないとき、前記電気駆動コンポーネント330の前記電気駆動素子3310は、操作命令を実行するとき、前記接続素子3312と前記差動装置ペダル320を要求される位置まですぐに引くことができず、すなわち、前記差動装置310がすぐに嵌め合うことができない。このとき、前記弾性素子333は伸ばされ、弾性ポテンシャルエネルギーを蓄積する。前記走行手段221の車輪が適切な位置までゆっくりと回転した後、前記差動装置310は、嵌め合い、ロック状態に切り替え、前記弾性素子333に蓄積された弾性ポテンシャルエネルギーが徐々にリリースされ、前記電気駆動素子3310、前記接続素子3312及び前記差動装置ペダル320を破損することを回避し、前記デフロックシステム300の耐用年数をさらに伸ばす。
好ましくは、前記弾性素子333は、前記接続素子3312と前記差動装置ペダル320に接続され、同様に、緩衝時間を提供でき、過負荷保護の作用を果たす。
さらに、前記電気駆動コンポーネント330は、組み立て板334、固定板335及びガイドパイプ336を含み、前記組み立て板334と前記固定板335がそれぞれ前記ボディ本体210に取り付けられ、前記電気駆動素子3310が前記組み立て板334に取り付けられ、前記ガイドパイプ336が前記組み立て板334と前記固定板335に取り付けられる。前記ガイドパイプ336は、前記接続素子3312が可動に保持されるガイドチャンネル3361を有する。前記ガイドパイプ336によって、前記接続素子3312の延伸方向をまとめ、また、前記ガイドパイプ336で包まれることによって、前記接続素子3312が頻繁に移動しながら、周囲の部品と摩擦したり、衝突したりすることを回避することに寄与する。
ただし、前記デフロックシステム300の前記差動装置ペダル320は、運転者が踏むことで駆動されて回転することが可能であり、つまり、前記差動装置310は、電気的に駆動されて前記ロック状態と前記アンロック状態を切り替えてもよいし、手動で駆動されて前記ロック状態と前記アンロック状態を切り替えてもよい。
本発明の他の態様によれば、本発明は、前記差動装置制御システム300の制御方法をさらに提供し、前記制御方法は、
前記差動装置ペダル320を電動駆動して回転させるステップ(a)と、
前記差動装置310を駆動して前記ロック状態と前記アンロック状態を切り替えさせるステップ(b)とを含む。
具体的には、前記ステップ(a)で、前記電気駆動素子3310は、電動に伸縮することで、前記接続素子3312を引いて移動させ、さらに前記差動装置ペダル320を駆動して回転させる。
さらに、前記ステップ(a)で、前記電気駆動素子3310は、収縮すると、前記接続素子3312を引いて前記電気駆動素子3310に向かって移動させ、さらに前記差動装置ペダル320を引いて所定位置まで回転させる。前記電気駆動素子3310は、伸展すると、前記電気駆動素子3310から離れる方向に向かって移動し、前記差動装置ペダル320は、初期位置まで回転する。
本発明のこの具体的な実施例では、前記制御方法は、前記電気駆動素子3310が収縮するとき、前記弾性素子333が伸ばされるように変形し、前記差動装置ペダル320が所定位置まで回転した後、前記弾性素子333が初期状態に回復するステップ(c)をさらに含む。
図11A~図13Bを参照すると、本発明に記載の田植機1000のこの具体的な実施例では、前記田植機1000は、前記田植機本体200の前記ボディ本体210に取り付けられる、前記田植機本体200の前記走行主体210、前記挿植主体220及び前記ボディ本体230に接続される制御パネル400をさらに含み、前記制御パネル400を操作することで、前記走行主体210、前記挿植主体220及び前記ボディ本体230の稼働状態を制御することができる。
好ましくは、前記田植機1000の前記制御パネル400は、前記ボディ本体230の後部に取り付けられ、すなわち、前記ボディ本体230の前部に設けられる運転室から離れ、操作者は、運転室に入らずに、前記田植機1000を容易に制御することができる。つまり、前記制御パネル400が運転室の外部に設けられることで、操作者は、より広い視野を取得でき、前記田植機1000の実際な稼働状態を観察でき、容易且つリアルタイムに調整でき、運転室内に頻繁に戻ることを回避する。
具体的には、前記制御パネル400は、制御マザーボード410及び制御コンポーネント420を含み、前記制御コンポーネント420が前記制御マザーボード410に通信可能に接続され、前記制御マザーボード410が前記走行主体210、前記挿植主体220及び前記ボディ本体230に通信可能に接続され、操作者は、前記制御素子420を操作することで操作命令を入力でき、前記走行主体210と前記挿植主体220の稼働状態を制御する。
好ましくは、前記制御コンポーネント420は、速度制御キー421を含み、前記速度制御キー421は、前記制御マザーボード410に接続され、前記制御マザーボード410は、前記走行主体220の駆動部材、例えば、前記油圧伝動装置222(これに限られない)に接続され、前記速度制御キー421を操作することで、前記走行主体220の走行速度を調節できる。前記速度制御キー421は、ノブ又はプッシュロッドなどとして実施されてもよいが、これらに限られない。好ましくは、前記速度制御キー421は、減衰付きのノブとして実施されてもよく、車速を連続的に調節でき、且つボタンが固く、ストロークが短く且つ突出が小さく、誤タッチを効果的に防止できる。
好ましくは、前記制御コンポーネント420は、前記挿植主体230の前記挿植機構231に接続される前記制御マザーボード410に通信可能に接続される昇降制御キー422を含み、前記昇降制御キー422に対応する操作命令は、前記挿植主体230の前記挿植機構231を昇降制御することである。好ましくは、前記昇降制御キー422は、ノブ、プッシュロッド又はボタンなどとして実施されてもよいが、これらに限られない。本発明の1つの具体的な実施例では、前記昇降制御キー422は、一方が上昇制御し、他方が降下制御する2つの制御キーとして実施されてもよい。
好ましくは、前記制御コンポーネント420は、前記ボディ本体210のライトコンポーネント、例えば、前後ランプに接続される前記制御マザーボード410に通信可能に接続されるライト制御キー423を含む。前記ライト制御キー423を操作することで、前記ライトコンポーネントのオン/オフ、光の強さなどを調節できる。好ましくは、前記ライト制御キー423は、ノブ、プッシュロッド又はボタンなどとして実施されてもよいが、これらに限られない。
好ましくは、前記制御コンポーネント420は、前記デフロックシステム300に接続される前記制御マザーボード410に通信可能に接続されるデフロック制御キー424を含み、前記デフロック制御キー424に対応する操作命令は、前記デフロックシステム300の前記差動装置310を制御して前記ロック状態と前記アンロック状態を切り替えさせることである。好ましくは、前記デフロック制御キー424は、ノブ、プッシュロッド又はボタンなどとして実施されてもよいが、これらに限られない。
好ましくは、前記制御コンポーネント420は、前記ボディ本体210の音声コンポーネント、例えばスピーカ(これに限られない)に接続される前記制御マザーボード410に通信可能に接続される音声制御キー425を含む。周囲の人に注意するために、前記音声制御キー425を操作することで、報知音を生成し又は音声の大きさを調節することができる。好ましくは、前記音声制御キー425は、ノブ、プッシュロッド又はボタンなどとして実施されてもよいが、これらに限られない。
なお、前記制御コンポーネント420の具体的な実施形態は限定されず、使用ニーズに応じて、その他の機能を有する制御キーを前記制御コンポーネント420に追加してもよく、機能は、例えば、前記田植機1000を制御して進退、自動走行などをさせる機能であるが、これらに限られない。また、複数の制御キーが前記制御パネル400に集積され、前記制御パネル400の体積を減少させ、組み立て空間を節約する。
前記制御パネル400は、保護ケース430をさらに含み、前記制御マザーボード410が前記保護ケース430内に隠されることで、外部の水流が前記制御マザーボード410の正常動作に影響を与えることを回避する。前記制御コンポーネント420が前記保護ケース430に設けられることで、操作者が使用しやすい。
前記制御パネル400は、前記保護ケース430に設けられる、前記ボディ本体210の後部に取り外し可能に保持される組み立て部材440をさらに含む。
本発明の前記田植機1000のこの具体的な実施例では、前記田植機本体200は、前記ボディ本体210の後部に取り付けられるガードレール240をさらに含み、前記制御パネル400は、前記ガードレール240に設けられるように、前記ボディ本体210の後部に保持される。
前記ガードレール240は、左側ガードレール241、右側ガードレール242及び中間ガードレール243を含み、前記左側ガードレール241と前記右側ガードレール242がそれぞれ前記ボディ本体210の左側と右側に設けられ、前記中間ガードレール243の両端がそれぞれ前記左側ガードレール241と前記右側ガードレール242に取り付けられる。
好ましくは、前記制御パネル400は、前記組み立て部材440を介して前記左側ガードレール241に固定されるように、前記ボディ本体210の後部に保持される。好ましくは、前記制御パネル400は、前記組み立て部材440を介して前記右側ガードレール242に固定されるように、前記ボディ本体210の後部に保持される。前記ボディ本体210の両側に分布する前記制御パネル400によって、操作者が容易に操作する。好ましくは、前記制御パネル400は、前記組み立て部材440を介して前記中間ガードレール243に固定されるように、前記ボディ本体210の後部に保持される。
また、前記制御パネル400が前記挿植主体230の前記挿植機構231に近く、それにより、操作者は、前記制御パネル400を操作するとき、前記挿植主体230の実際状態、例えば実際高さ(これに限られない)を観察でき、それにより、1回だけで適切な位置まで調整でき、繰り返し作業を回避する。
なお、前記制御パネル400の前記組み立て部材440と前記ガードレール240の具体的な接続方式は限定されず、例えば、前記組み立て部材440がスナップ固定され、ロック固定されるように前記ガードレール240に取り付けられるが、これらに限られない。
本発明のこの具体的な実施例では、前記ガードレール240は、前記制御パネル400を囲繞する保持部材244をさらに含む。具体的には、前記保持部材244は、保持空間を有し、前記制御パネル400が前記保持空間内に保持され、例えば、前記制御パネル400のサイズが前記保持部材244の前記保持空間と一致し、前記制御パネル400が前記保持部材244の前記保持空間に係合され、前記制御パネル400が前記ガードレール240と分離することをさらに回避する。
前記制御パネル400は、前記制御マザーボード410に電気的に接続される電源ポート450をさらに含む。前記電源ポート450は、前記保護ケース430の裏面に設けられ、前記ボディ本体210の給電手段に電気的に接続されることが可能であり、前記電源ポート450によって、前記制御パネル400の正常作動のために、電気エネルギーを取得することができる。本発明の他の具体的な実施例では、前記制御パネル400は、制御パネル付きの電源として実施されてもよい。
当業者であれば理解できるように、以上の実施例は単なる例であり、そのうち異なる実施例の特徴は互いに組み合わせることができ、それにより本発明に開示された内容に基づいて容易に想到できるが図面に明確に指摘されていない実施形態を得る。
当業者であれば理解されるように、上記説明及び図面に示された本発明の実施例は単に例として本発明を限定するものではない。本発明の目的は完全かつ効果的に実現される。本発明の機能及び構造原理は実施例において示され説明され、前記原理から逸脱することなく、本発明の実施形態は任意の変形又は修正を行うことができる。

Claims (24)

  1. 制御パネル付きの田植機であって、
    ボディ本体と、前記ボディ本体に設けられる走行主体及び挿植主体とを含む田植機本体と、
    前記ボディ本体の後部に保持されて、前記ボディ本体、前記走行主体及び前記挿植主体に接続され、且つ前記ボディ本体、前記走行主体及び前記挿植主体の稼働状態を制御できる制御パネルと、を含むことを特徴とする制御パネル付きの田植機。
  2. 前記制御パネルは、制御マザーボード及び制御コンポーネントを含み、前記制御コンポーネントは、前記制御マザーボードに通信可能に接続され、操作命令を入力するように操作され得る、請求項1に記載の制御パネル付きの田植機。
  3. 前記制御コンポーネントは、前記制御マザーボードに接続される速度制御キーを含み、前記制御マザーボードは、前記走行主体に接続される、請求項2に記載の制御パネル付きの田植機。
  4. 前記制御コンポーネントは、前記挿植主体に接続される前記制御マザーボードと通信可能に接続される昇降制御キーを含む、請求項3に記載の制御パネル付きの田植機。
  5. 前記制御コンポーネントは、前記ボディ本体のライトコンポーネントに接続される前記制御マザーボードに通信可能に接続されるライト制御キーを含む、請求項4に記載の制御パネル付きの田植機。
  6. 前記田植機本体は、デフロックシステムを含み、前記制御コンポーネントは、前記デフロックシステムに接続される前記制御マザーボードに通信可能に接続されるデフロック制御キーを含む、請求項5に記載の制御パネル付きの田植機。
  7. 前記制御コンポーネントは、前記ボディ本体の音声コンポーネントに接続される前記制御マザーボードに通信可能に接続される音声制御キーを含む、請求項6に記載の制御パネル付きの田植機。
  8. 前記速度制御キー、昇降制御キー、前記ライト制御キー、前記デフロック制御キー及び前記音声制御キーは、ノブ、プッシュロッド及びボタンからなるタイプ群から選択される、請求項7に記載の制御パネル付きの田植機。
  9. 前記制御パネルは、内部に前記制御マザーボードが密封される保護ケースを含み、前記制御コンポーネントは、前記保護ケースの内部に可動に取り付けられる、請求項8に記載の制御パネル付きの田植機。
  10. 前記田植機本体は、ガードレールを含み、前記ガードレールは、左側ガードレール、右側ガードレール及び中間ガードレールを含み、前記左側ガードレール及び前記右側ガードレールがそれぞれ前記ボディ本体の左側と右側に設けられ、前記中間ガードレールの両端がそれぞれ前記左側ガードレール及び前記右側ガードレールに取り付けられ、且つ前記左側ガードレール、前記右側ガードレール及び前記中間ガードレールが前記ボディ本体の後部に位置し、
    前記制御パネルは、前記保護ケースに設けられる組み立て部材を含み、前記組み立て部材は、前記左側ガードレール、前記右側ガードレール又は前記中間ガードレールに取り付けられるように前記ボディ本体の後部に保持される、請求項9に記載の制御パネル付きの田植機。
  11. コントローラ、制御ハンドル及び挿植制御ユニットを含む田植機制御システムをさらに含み、
    前記走行主体は、油圧伝動装置、及び前記油圧伝動装置に駆動可能に接続される走行手段を含み、
    前記挿植主体は、油圧弁及び挿植機構を含み、前記油圧弁は、弁本体及び前記弁本体に操作可能に接続される油圧弁棒を含み、
    前記挿植機構は、前記弁本体に接続され、前記制御ハンドルは、前記コントローラに通信可能に接続され、前記挿植制御ユニットは、前記コントローラに制御可能に接続され、前記挿植制御ユニットは、前記挿植主体の前記油圧弁の前記油圧弁棒に接続される、請求項1~l0のいずれかに記載の制御パネル付きの田植機。
  12. 前記田植機制御システムは、前記制御ハンドルと前記コントローラに駆動可能に接続され、且つ前記走行主体の前記油圧伝動装置に接続される走行制御ユニットをさらに含む、請求項llに記載の制御パネル付きの田植機。
  13. 前記走行制御ユニットは、ハンドル位置検出素子、HST状態検出素子及びHST制御モーターを含み、
    前記ハンドル位置検出素子は、前記制御ハンドルに接続されて、前記制御ハンドルの位置を検出し、
    前記油圧伝動装置は、前記HST制御モーターに制御可能に接続され、前記HST検出素子は、前記HST制御モーターに接続されて、前記HST制御モーターの回転を検出する、請求項l2に記載の制御パネル付きの田植機。
  14. 前記ハンドル位置検出素子は、前記コントローラに通信可能に接続され、前記コントローラは、前記ハンドル位置検出素子によってフィードバックされた情報に基づいて、前記HST制御モーターの回転を制御する、請求項l3に記載の制御パネル付きの田植機。
  15. 前記HST状態検出素子は、前記コントローラに通信可能に接続され、前記コントローラは、前記HST状態検出素子によってフィードバックされた情報に基づいて、前記HST制御モーターの回転を制御する、請求項l4に記載の制御パネル付きの田植機。
  16. 前記走行制御ユニットは、ハンドル駆動棒、第1取付板、支持フレーム及び第1リンクをさらに含み、前記ハンドル駆動棒の両端は、それぞれ前記制御ハンドルと前記支持フレームに接続され、前記支持フレームは、前記田植機本体の前記ボディ本体に取り付けられ、前記第1取付板は、前記ボディ本体に固定され、前記第1リンクは、前記支持フレームに取り付けられ、前記ハンドル位置検出素子は、前記ハンドル位置検出素子に接続され、
    前記制御ハンドルは、回転するときに、前記ハンドル駆動棒を駆動して回転させ、前記ハンドル駆動棒は、前記第1リンクを動かして回転させ、さらに前記ハンドル位置検出素子を動かして偏向させる、請求項l5に記載の制御パネル付きの田植機。
  17. 前記走行制御ユニットは、回転板、第2取付板及び第2リンクをさらに含み、前記HST制御モーターは、前記第2取付板を介して前記ボディ本体に取り付けられ、前記回転板は、それぞれ前記HST制御モーターと前記油圧伝動装置に接続され、前記HST制御モーターは、回転するときに、前記回転板を駆動して前記油圧伝動装置に対して相対回転させ、且つ前記油圧伝動装置から出力される動力の大きさを調節し、
    前記第2リンクは、それぞれ前記回転板と前記HST状態検出素子に接続され、前記HST状態検出素子は、前記回転板とともに偏向する、請求項l6に記載の制御パネル付きの田植機。
  18. 前記挿植制御ユニットは、油圧弁状態検出素子及び油圧弁制御モーターを含み、
    前記油圧弁制御モーターは、前記コントローラに通信可能に接続され、前記挿植主体の前記油圧弁の前記油圧弁棒は、前記油圧弁制御モーターに駆動可能に接続され、前記油圧弁状態検出素子は、前記油圧弁棒の回転を検出する、請求項l5に記載の制御パネル付きの田植機。
  19. 前記挿植制御ユニットは、第1可動板、第2可動板及び第3リンクをさらに含み、前記油圧弁状態検出素子と前記油圧弁制御モーターは、前記第2可動板を介して前記ボディ本体に取り付けられ、
    ここで、前記第1可動板は、前記油圧弁棒に取り付けられ、前記第3リンクの両端は、それぞれ前記第1可動板と前記油圧弁状態検出素子に接続され、
    前記油圧弁制御モーターが前記第1可動板を駆動して回転させるときに、前記第1可動板は、前記油圧弁の前記油圧弁棒を作動させるとともに、前記油圧弁状態検出素子を駆動して偏向させる、請求項l8に記載の制御パネル付きの田植機。
  20. 前記油圧弁状態検出素子は、前記コントローラに通信可能に接続され、前記コントローラは、前記油圧弁状態検出素子によってフィードバックされた情報に基づいて前記油圧弁制御モーターの回転を制御する、請求項l9に記載の制御パネル付きの田植機。
  21. 前記挿植制御ユニットは、挿植位置検出素子、第1取付板、第4リンク及び第5リンクをさらに含み、
    前記挿植位置検出素子は、前記第3取付板を介して前記ボディ本体に取り付けられ、前記第5リンクの両端は、それぞれ前記挿植主体の前記挿植機構と前記第4リンクに接続され、前記第4リンクの両端は、それぞれ前記第5リンクと前記挿植位置検出素子に接続され、
    前記挿植機構は、作動中に、前記第4リンクと前記第5リンクを引っ張って移動し、且つ前記挿植位置検出素子を駆動して回転させる、請求項l8に記載の制御パネル付きの田植機。
  22. 前記挿植位置検出素子は、前記コントローラに通信可能に接続され、前記コントローラは、前記挿植位置検出素子によってフィードバックされた情報に基づいて前記油圧弁制御モーターを制御する、請求項2lに記載の制御パネル付きの田植機。
  23. 前記田植機制御システムは、操舵検出ユニットをさらに含み、前記操舵検出ユニットは、操舵角度検出素子、取付台、連結棒、駆動棒及び操舵板を含み、
    前記取付台は前記田植機本体の前記ボディ本体に取り付けられ、前記操舵角度検出素子は前記取付台に取り付けられ、前記駆動棒は前記操舵板と前記接続部品に接続され、前記接続部品は前記操舵角度検出素子に接続され、前記回転板は前記走行手段のステアリングホイールに接続され、
    前記走行手段のステアリングホイールが操舵されるときに、前記走行手段の前記ステアリングホイールは前記操舵板を駆動して回転させ、前記操舵板は前記接続部品を駆動して回転させ、前記接続部品は前記操舵角度検出素子を駆動して偏向させる、請求項22に記載の制御パネル付きの田植機。
  24. 前記ハンドル位置検出素子、前記HST状態検出素子、前記油圧弁状態検出素子、前記挿植位置検出素子及び前記操舵角度検出素子は、角度センサーとして実施される、請求項23に記載の制御パネル付きの田植機。
JP2021139401A 2020-08-28 2021-08-27 制御パネル付きの田植機 Active JP7201757B2 (ja)

Applications Claiming Priority (4)

Application Number Priority Date Filing Date Title
CN202021847668.7U CN214708704U (zh) 2020-08-28 2020-08-28 带有控制面板的插秧机
CN202021847668.7 2020-08-28
CN202010883058.0 2020-08-28
CN202010883058.0A CN113115613B (zh) 2020-08-28 2020-08-28 带有控制面板的插秧机

Publications (2)

Publication Number Publication Date
JP2022040105A true JP2022040105A (ja) 2022-03-10
JP7201757B2 JP7201757B2 (ja) 2023-01-10

Family

ID=80498739

Family Applications (1)

Application Number Title Priority Date Filing Date
JP2021139401A Active JP7201757B2 (ja) 2020-08-28 2021-08-27 制御パネル付きの田植機

Country Status (1)

Country Link
JP (1) JP7201757B2 (ja)

Citations (5)

* Cited by examiner, † Cited by third party
Publication number Priority date Publication date Assignee Title
JPS6368708U (ja) * 1986-10-25 1988-05-09
JPH0686101U (ja) * 1993-05-27 1994-12-13 山武ハネウエル株式会社 農業機械におけるコントローラ
JPH08191615A (ja) * 1995-01-13 1996-07-30 Mitsubishi Agricult Mach Co Ltd 歩行型作業車における操作装置
JP2013074815A (ja) * 2011-09-29 2013-04-25 Iseki & Co Ltd 作業車両
WO2019146381A1 (ja) * 2018-01-23 2019-08-01 株式会社クボタ 作業車両

Patent Citations (5)

* Cited by examiner, † Cited by third party
Publication number Priority date Publication date Assignee Title
JPS6368708U (ja) * 1986-10-25 1988-05-09
JPH0686101U (ja) * 1993-05-27 1994-12-13 山武ハネウエル株式会社 農業機械におけるコントローラ
JPH08191615A (ja) * 1995-01-13 1996-07-30 Mitsubishi Agricult Mach Co Ltd 歩行型作業車における操作装置
JP2013074815A (ja) * 2011-09-29 2013-04-25 Iseki & Co Ltd 作業車両
WO2019146381A1 (ja) * 2018-01-23 2019-08-01 株式会社クボタ 作業車両

Also Published As

Publication number Publication date
JP7201757B2 (ja) 2023-01-10

Similar Documents

Publication Publication Date Title
US9909280B2 (en) Mechanical linkage for control of power machine
US10934684B2 (en) Control system for power machine
CN103850285B (zh) 用于行驶控制启用的方法和设备
JP2022040105A (ja) 制御パネル付きの田植機
JP4108913B2 (ja) 土工機械用運転室
CN113115613B (zh) 带有控制面板的插秧机
CN213117357U (zh) 插秧机和其差速锁系统
KR100596014B1 (ko) 무논작업기
JP4321141B2 (ja) 農作業車
KR20220080256A (ko) 농업용 작업차량
US20200024829A1 (en) Cylinder in boom
KR101173388B1 (ko) 농작업 차량용 작업기의 승강높이 제어장치
KR20210143481A (ko) 농업용 작업차량
JP3901149B2 (ja) 農作業機の操作装置
JP2016015936A (ja) 作業車両、及びその昇降装置の制御方法
JP3659859B2 (ja) 水田作業機
JP4506967B2 (ja) 走行車両
KR102680208B1 (ko) 농업용 작업차량
JP2595931Y2 (ja) 移動農機の作業機昇降制御装置
JP4483397B2 (ja) 農作業車
JP2000106723A (ja) 移動農機の油圧制御装置
WO2002094643A1 (fr) Structure d'agencement de levier de commande d'une machine de repiquage de riz
JP3443401B2 (ja) 対地作業機
WO2025197261A1 (ja) 作業車
JPS6033765Y2 (ja) 乗用型田植機の操作部構造

Legal Events

Date Code Title Description
A621 Written request for application examination

Free format text: JAPANESE INTERMEDIATE CODE: A621

Effective date: 20210827

A977 Report on retrieval

Free format text: JAPANESE INTERMEDIATE CODE: A971007

Effective date: 20220715

A131 Notification of reasons for refusal

Free format text: JAPANESE INTERMEDIATE CODE: A131

Effective date: 20220830

A521 Request for written amendment filed

Free format text: JAPANESE INTERMEDIATE CODE: A523

Effective date: 20221118

TRDD Decision of grant or rejection written
A01 Written decision to grant a patent or to grant a registration (utility model)

Free format text: JAPANESE INTERMEDIATE CODE: A01

Effective date: 20221206

A61 First payment of annual fees (during grant procedure)

Free format text: JAPANESE INTERMEDIATE CODE: A61

Effective date: 20221222

R150 Certificate of patent or registration of utility model

Ref document number: 7201757

Country of ref document: JP

Free format text: JAPANESE INTERMEDIATE CODE: R150

R250 Receipt of annual fees

Free format text: JAPANESE INTERMEDIATE CODE: R250