JP2020184847A - 電力変換装置 - Google Patents

電力変換装置 Download PDF

Info

Publication number
JP2020184847A
JP2020184847A JP2019088746A JP2019088746A JP2020184847A JP 2020184847 A JP2020184847 A JP 2020184847A JP 2019088746 A JP2019088746 A JP 2019088746A JP 2019088746 A JP2019088746 A JP 2019088746A JP 2020184847 A JP2020184847 A JP 2020184847A
Authority
JP
Japan
Prior art keywords
capacitor
main body
power conversion
heat
cooling surface
Prior art date
Legal status (The legal status is an assumption and is not a legal conclusion. Google has not performed a legal analysis and makes no representation as to the accuracy of the status listed.)
Granted
Application number
JP2019088746A
Other languages
English (en)
Other versions
JP6867432B2 (ja
Inventor
泰介 岩切
Taisuke Iwakiri
泰介 岩切
広隆 尾山
Hirotaka Oyama
広隆 尾山
Current Assignee (The listed assignees may be inaccurate. Google has not performed a legal analysis and makes no representation or warranty as to the accuracy of the list.)
Mitsubishi Electric Corp
Original Assignee
Mitsubishi Electric Corp
Priority date (The priority date is an assumption and is not a legal conclusion. Google has not performed a legal analysis and makes no representation as to the accuracy of the date listed.)
Filing date
Publication date
Application filed by Mitsubishi Electric Corp filed Critical Mitsubishi Electric Corp
Priority to JP2019088746A priority Critical patent/JP6867432B2/ja
Priority to US16/830,511 priority patent/US11622478B2/en
Priority to DE102020205236.0A priority patent/DE102020205236B4/de
Priority to CN202010331580.8A priority patent/CN111917311A/zh
Publication of JP2020184847A publication Critical patent/JP2020184847A/ja
Application granted granted Critical
Publication of JP6867432B2 publication Critical patent/JP6867432B2/ja
Active legal-status Critical Current
Anticipated expiration legal-status Critical

Links

Images

Classifications

    • HELECTRICITY
    • H05ELECTRIC TECHNIQUES NOT OTHERWISE PROVIDED FOR
    • H05KPRINTED CIRCUITS; CASINGS OR CONSTRUCTIONAL DETAILS OF ELECTRIC APPARATUS; MANUFACTURE OF ASSEMBLAGES OF ELECTRICAL COMPONENTS
    • H05K7/00Constructional details common to different types of electric apparatus
    • H05K7/20Modifications to facilitate cooling, ventilating, or heating
    • H05K7/2089Modifications to facilitate cooling, ventilating, or heating for power electronics, e.g. for inverters for controlling motor
    • H05K7/20927Liquid coolant without phase change
    • HELECTRICITY
    • H02GENERATION; CONVERSION OR DISTRIBUTION OF ELECTRIC POWER
    • H02MAPPARATUS FOR CONVERSION BETWEEN AC AND AC, BETWEEN AC AND DC, OR BETWEEN DC AND DC, AND FOR USE WITH MAINS OR SIMILAR POWER SUPPLY SYSTEMS; CONVERSION OF DC OR AC INPUT POWER INTO SURGE OUTPUT POWER; CONTROL OR REGULATION THEREOF
    • H02M7/00Conversion of AC power input into DC power output; Conversion of DC power input into AC power output
    • H02M7/003Constructional details, e.g. physical layout, assembly, wiring or busbar connections
    • HELECTRICITY
    • H01ELECTRIC ELEMENTS
    • H01GCAPACITORS; CAPACITORS, RECTIFIERS, DETECTORS, SWITCHING DEVICES, LIGHT-SENSITIVE OR TEMPERATURE-SENSITIVE DEVICES OF THE ELECTROLYTIC TYPE
    • H01G2/00Details of capacitors not covered by a single one of groups H01G4/00-H01G11/00
    • H01G2/08Cooling arrangements; Heating arrangements; Ventilating arrangements
    • HELECTRICITY
    • H01ELECTRIC ELEMENTS
    • H01GCAPACITORS; CAPACITORS, RECTIFIERS, DETECTORS, SWITCHING DEVICES, LIGHT-SENSITIVE OR TEMPERATURE-SENSITIVE DEVICES OF THE ELECTROLYTIC TYPE
    • H01G4/00Fixed capacitors; Processes of their manufacture
    • H01G4/002Details
    • H01G4/224Housing; Encapsulation
    • HELECTRICITY
    • H01ELECTRIC ELEMENTS
    • H01GCAPACITORS; CAPACITORS, RECTIFIERS, DETECTORS, SWITCHING DEVICES, LIGHT-SENSITIVE OR TEMPERATURE-SENSITIVE DEVICES OF THE ELECTROLYTIC TYPE
    • H01G4/00Fixed capacitors; Processes of their manufacture
    • H01G4/002Details
    • H01G4/228Terminals
    • HELECTRICITY
    • H01ELECTRIC ELEMENTS
    • H01LSEMICONDUCTOR DEVICES NOT COVERED BY CLASS H10
    • H01L23/00Details of semiconductor or other solid state devices
    • H01L23/34Arrangements for cooling, heating, ventilating or temperature compensation ; Temperature sensing arrangements
    • H01L23/36Selection of materials, or shaping, to facilitate cooling or heating, e.g. heatsinks
    • H01L23/373Cooling facilitated by selection of materials for the device or materials for thermal expansion adaptation, e.g. carbon
    • HELECTRICITY
    • H02GENERATION; CONVERSION OR DISTRIBUTION OF ELECTRIC POWER
    • H02MAPPARATUS FOR CONVERSION BETWEEN AC AND AC, BETWEEN AC AND DC, OR BETWEEN DC AND DC, AND FOR USE WITH MAINS OR SIMILAR POWER SUPPLY SYSTEMS; CONVERSION OF DC OR AC INPUT POWER INTO SURGE OUTPUT POWER; CONTROL OR REGULATION THEREOF
    • H02M7/00Conversion of AC power input into DC power output; Conversion of DC power input into AC power output
    • H02M7/42Conversion of DC power input into AC power output without possibility of reversal
    • HELECTRICITY
    • H02GENERATION; CONVERSION OR DISTRIBUTION OF ELECTRIC POWER
    • H02MAPPARATUS FOR CONVERSION BETWEEN AC AND AC, BETWEEN AC AND DC, OR BETWEEN DC AND DC, AND FOR USE WITH MAINS OR SIMILAR POWER SUPPLY SYSTEMS; CONVERSION OF DC OR AC INPUT POWER INTO SURGE OUTPUT POWER; CONTROL OR REGULATION THEREOF
    • H02M7/00Conversion of AC power input into DC power output; Conversion of DC power input into AC power output
    • H02M7/42Conversion of DC power input into AC power output without possibility of reversal
    • H02M7/44Conversion of DC power input into AC power output without possibility of reversal by static converters
    • H02M7/48Conversion of DC power input into AC power output without possibility of reversal by static converters using discharge tubes with control electrode or semiconductor devices with control electrode
    • HELECTRICITY
    • H05ELECTRIC TECHNIQUES NOT OTHERWISE PROVIDED FOR
    • H05KPRINTED CIRCUITS; CASINGS OR CONSTRUCTIONAL DETAILS OF ELECTRIC APPARATUS; MANUFACTURE OF ASSEMBLAGES OF ELECTRICAL COMPONENTS
    • H05K7/00Constructional details common to different types of electric apparatus
    • H05K7/14Mounting supporting structure in casing or on frame or rack
    • H05K7/1422Printed circuit boards receptacles, e.g. stacked structures, electronic circuit modules or box like frames
    • H05K7/1427Housings
    • H05K7/1432Housings specially adapted for power drive units or power converters
    • H05K7/14329Housings specially adapted for power drive units or power converters specially adapted for the configuration of power bus bars
    • HELECTRICITY
    • H05ELECTRIC TECHNIQUES NOT OTHERWISE PROVIDED FOR
    • H05KPRINTED CIRCUITS; CASINGS OR CONSTRUCTIONAL DETAILS OF ELECTRIC APPARATUS; MANUFACTURE OF ASSEMBLAGES OF ELECTRICAL COMPONENTS
    • H05K7/00Constructional details common to different types of electric apparatus
    • H05K7/20Modifications to facilitate cooling, ventilating, or heating
    • H05K7/2089Modifications to facilitate cooling, ventilating, or heating for power electronics, e.g. for inverters for controlling motor
    • H05K7/209Heat transfer by conduction from internal heat source to heat radiating structure
    • HELECTRICITY
    • H05ELECTRIC TECHNIQUES NOT OTHERWISE PROVIDED FOR
    • H05KPRINTED CIRCUITS; CASINGS OR CONSTRUCTIONAL DETAILS OF ELECTRIC APPARATUS; MANUFACTURE OF ASSEMBLAGES OF ELECTRICAL COMPONENTS
    • H05K7/00Constructional details common to different types of electric apparatus
    • H05K7/20Modifications to facilitate cooling, ventilating, or heating
    • H05K7/2089Modifications to facilitate cooling, ventilating, or heating for power electronics, e.g. for inverters for controlling motor
    • H05K7/20909Forced ventilation, e.g. on heat dissipaters coupled to components
    • HELECTRICITY
    • H01ELECTRIC ELEMENTS
    • H01LSEMICONDUCTOR DEVICES NOT COVERED BY CLASS H10
    • H01L23/00Details of semiconductor or other solid state devices
    • H01L23/34Arrangements for cooling, heating, ventilating or temperature compensation ; Temperature sensing arrangements
    • H01L23/46Arrangements for cooling, heating, ventilating or temperature compensation ; Temperature sensing arrangements involving the transfer of heat by flowing fluids
    • H01L23/467Arrangements for cooling, heating, ventilating or temperature compensation ; Temperature sensing arrangements involving the transfer of heat by flowing fluids by flowing gases, e.g. air
    • HELECTRICITY
    • H01ELECTRIC ELEMENTS
    • H01LSEMICONDUCTOR DEVICES NOT COVERED BY CLASS H10
    • H01L23/00Details of semiconductor or other solid state devices
    • H01L23/34Arrangements for cooling, heating, ventilating or temperature compensation ; Temperature sensing arrangements
    • H01L23/46Arrangements for cooling, heating, ventilating or temperature compensation ; Temperature sensing arrangements involving the transfer of heat by flowing fluids
    • H01L23/473Arrangements for cooling, heating, ventilating or temperature compensation ; Temperature sensing arrangements involving the transfer of heat by flowing fluids by flowing liquids

Landscapes

  • Engineering & Computer Science (AREA)
  • Microelectronics & Electronic Packaging (AREA)
  • Power Engineering (AREA)
  • Physics & Mathematics (AREA)
  • Thermal Sciences (AREA)
  • Manufacturing & Machinery (AREA)
  • Condensed Matter Physics & Semiconductors (AREA)
  • General Physics & Mathematics (AREA)
  • Computer Hardware Design (AREA)
  • Chemical & Material Sciences (AREA)
  • Materials Engineering (AREA)
  • Inverter Devices (AREA)
  • Cooling Or The Like Of Electrical Apparatus (AREA)
  • Cooling Or The Like Of Semiconductors Or Solid State Devices (AREA)

Abstract

【課題】性能の向上を図ることができるとともに、半導体モジュール及びコンデンサモジュールのそれぞれをより確実に冷却することができる電力変換装置を得る。【解決手段】電力変換装置1において、コンデンサモジュール5は、冷却器6の冷却面10から離れた状態で冷却面10に対向しているコンデンサモジュール本体50と、コンデンサモジュール本体50に設けられた熱伝導部材54とを有している。コンデンサモジュール本体50は、半導体モジュール4にN側バスバー7及びP側バスバー8を介して接続されている。熱伝導部材54の放熱部541は、コンデンサモジュール本体50の半導体モジュール4側の端部よりも半導体モジュール4から遠い位置で冷却面10に熱的に接続されている。【選択図】図3

Description

この発明は、半導体モジュール及びコンデンサモジュールを有する電力変換装置に関する。
従来、発熱部品である半導体モジュールにバスバーを介してコンデンサモジュールを接続した電力変換装置が知られている。このような従来の電力変換装置では、半導体モジュールで発生した熱がバスバーを介してコンデンサモジュールに伝わりやすい。従って、従来の電力変換装置では、コンデンサモジュールに含まれているコンデンサ素子の温度が上昇しやすくなり、コンデンサモジュールの寿命が短くなりやすい。
従来、半導体モジュール及びコンデンサモジュールのそれぞれの温度の上昇を抑制するために、半導体モジュール及びコンデンサモジュールを共通の冷却器に取り付けた電力変換装置が提案されている(例えば特許文献1参照)。
特開2013−146179号公報
ここで、電力変換装置では、電力変換装置の性能の向上を図るために、半導体モジュールの位置にコンデンサモジュールの位置を近づけてバスバーのインダクタンスを低くすることが望ましい。しかし、特許文献1に示されている従来の電力変換装置では、半導体モジュールにコンデンサモジュールを近づけると、半導体モジュールの発熱の影響によって温度が高くなった冷却器の範囲にコンデンサモジュールが配置されることになる。これにより、従来の電力変換装置では、コンデンサモジュールが冷却器によって冷却されにくくなってしまう。
この発明は、上記のような課題を解決するためになされたものであり、性能の向上を図ることができるとともに、半導体モジュール及びコンデンサモジュールのそれぞれをより確実に冷却することができる電力変換装置を得ることを目的とする。
この発明による電力変換装置は、冷却面が形成された冷却器、冷却面に設けられた半導体モジュール、及び冷却面から離れた状態で冷却面に対向しているコンデンサモジュール本体と、コンデンサモジュール本体に設けられた熱伝導部材とを有するコンデンサモジュールを備え、コンデンサモジュール本体は、半導体モジュールにバスバーを介して接続されており、熱伝導部材は、放熱部を有しており、放熱部は、コンデンサモジュール本体の半導体モジュール側の端部よりも半導体モジュールから遠い位置で冷却面に熱的に接続されている。
この発明による電力変換装置によれば、電力変換装置の性能の向上を図ることができるとともに、半導体モジュール及びコンデンサモジュールのそれぞれをより確実に冷却することができる。
この発明の実施の形態1による電力変換装置を示す回路図である。 図1の電力変換装置を示す上面図である。 図2のIII−III線に沿った断面図である。 この発明の実施の形態2による電力変換装置を示す断面図である。 この発明の実施の形態3による電力変換装置を示す断面図である。 この発明の実施の形態4による電力変換装置を示す断面図である。 この発明の実施の形態5による電力変換装置を示す断面図である。
以下、この発明の実施の形態について図面を参照して説明する。
実施の形態1.
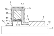
図1は、この発明の実施の形態1による電力変換装置を示す回路図である。また、図2は、図1の電力変換装置を示す上面図である。さらに、図3は、図2のIII−III線に沿った断面図である。電力変換装置1は、電源と負荷との間で電気エネルギを変換する装置である。この例では、ハイブリッド自動車、電気自動車などの車両に搭載される車両用電力変換装置が電力変換装置1として用いられている。
電力変換装置1は、複数の半導体モジュール4と、コンデンサモジュール5と、冷却器6とを有している。この例では、三相の各相に対応する3個の半導体モジュール4が電力変換装置1に含まれている。
コンデンサモジュール5には、直流電源であるバッテリ2が電気的に接続される。バッテリ2からの直流電圧は、コンデンサモジュール5によって平滑化される。
コンデンサモジュール5には、N側バスバー7及びP側バスバー8が複数のバスバーとして設けられている。N側バスバー7及びP側バスバー8のそれぞれは、銅などの導電性材料によって構成されている。コンデンサモジュール5は、N側バスバー7及びP側バスバー8のそれぞれを介して各半導体モジュール4に個別に電気的に接続されている。また、コンデンサモジュール5は、N側バスバー7及びP側バスバー8のそれぞれを介して各半導体モジュール4に熱的にも接続されている。
各半導体モジュール4は、コンデンサモジュール5で平滑化された直流電圧を交流電圧に変換する。各半導体モジュール4は、図1に示すように、複数のスイッチング素子41を有している。この例では、互いに直列に接続された2個のスイッチング素子41が各半導体モジュール4に含まれている。半導体モジュール4の2個のスイッチング素子41のうち、一方のスイッチング素子41はN側バスバー7に接続され、他方のスイッチング素子41はP側バスバー8に接続されている。
各スイッチング素子41は、図示しない制御装置の制御によってスイッチング動作を個別に行う。従って、各半導体モジュール4は、各スイッチング素子41のスイッチング動作によって発熱する発熱部品である。コンデンサモジュール5で平滑化された直流電圧は、各スイッチング素子41のスイッチング動作によって三相交流電圧に変換される。
各半導体モジュール4には、負荷であるモータ3が電気的に接続される。モータ3は、各半導体モジュール4からモータ3への三相交流電圧の供給により作動する。
冷却器6は、半導体モジュール4及びコンデンサモジュール5を冷却する。冷却器6には、図3に示すように、冷却面10が形成されている。また、冷却器6には、冷却媒体が流れる図示しない流路が形成されている。冷却媒体は、冷却器6の流路入口から冷却器6の流路に入る。冷却器6の流路を流れた冷却媒体は、冷却器6の流路出口から冷却器6の外部へ排出される。
冷却面10は、冷却媒体が冷却器6を流れることにより冷却される。冷却媒体としては、水、油、空気などが用いられている。この例では、空気を冷却媒体とする空冷式の冷却器が冷却器6として用いられている。
半導体モジュール4は、冷却面10に設けられている。また、半導体モジュール4の外面の一部は、冷却面10に接触している。これにより、各半導体モジュール4は、冷却面10に熱的に接続されている。半導体モジュール4で発生した熱は、冷却面10へ放散される。これにより、半導体モジュール4が冷却される。冷却面10に伝わった熱は、冷却器6を流れる冷却媒体へ放散される。
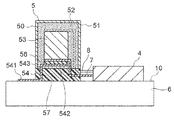
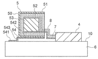
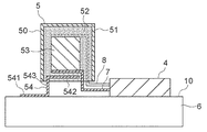
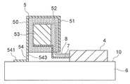
コンデンサモジュール5は、コンデンサモジュール本体50と、コンデンサモジュール本体50に設けられた複数の熱伝導部材54とを有している。
コンデンサモジュール本体50は、各半導体モジュール4から離して配置されている。また、コンデンサモジュール本体50は、各半導体モジュール4にN側バスバー7及びP側バスバー8を介して電気的及び熱的に接続されている。さらに、コンデンサモジュール本体50は、冷却面10から離して配置されている。また、コンデンサモジュール本体50は、冷却面10に対向している。従って、コンデンサモジュール本体50と冷却面10との間には、空間が生じている。
コンデンサモジュール本体50は、コンデンサケース51と、コンデンサケース51の内部に配置された複数のコンデンサ素子53と、コンデンサケース51の内部で複数のコンデンサ素子53を覆う樹脂製の充填部材52とを有している。
コンデンサケース51には、図2に示すように、複数の固定部55が設けられている。各固定部55は、冷却面10に固定されている。これにより、コンデンサモジュール本体50が冷却面10から離れた状態が保たれている。冷却面10に直交する方向に沿って電力変換装置1を見たとき、各半導体モジュール4と各固定部55との間の距離は、各半導体モジュール4とコンデンサモジュール本体50との間の距離よりも長くなっている。
コンデンサケース51には、開口部が設けられている。この例では、コンデンサケース51の開口部を冷却面10に向けてコンデンサケース51が配置されている。また、コンデンサケース51の外面は、外気に露出している。コンデンサケース51は、熱伝導性能を持つ金属で構成されている。コンデンサケース51の熱伝導率は、充填部材52の熱伝導率よりも高くなっている。
N側バスバー7及びP側バスバー8のそれぞれは、コンデンサケース51の開口部からコンデンサケース51の内部に挿入されている。また、N側バスバー7及びP側バスバー8のそれぞれは、充填部材52を貫通して各コンデンサ素子53に接続されている。さらに、N側バスバー7及びP側バスバー8のそれぞれは、充填部材52を介してコンデンサケース51に保持されている。
充填部材52は、コンデンサケース51の内部に充填されている。N側バスバー7の一部、P側バスバー8の一部及び各コンデンサ素子53は、充填部材52に埋まっている。これにより、充填部材52は、コンデンサケース51の内部で各コンデンサ素子53を密封している。充填部材52を構成する材料である樹脂は、熱伝導性能を持つ材料である。
各半導体モジュール4で発生した熱の一部は、N側バスバー7及びP側バスバー8のそれぞれを伝わってコンデンサモジュール本体50に達する。各半導体モジュール4からコンデンサモジュール本体50に達した熱の一部は、充填部材52を伝わってコンデンサケース51の外面から外気へ放散される。
各熱伝導部材54は、熱伝導性能を持つ材料によって構成されている。この例では、各熱伝導部材54が銅などの金属で構成されている。各熱伝導部材54の熱伝導率は、充填部材52の熱伝導率よりも高くなっている。また、この例では、N側バスバー7、P側バスバー8、コンデンサケース51及びコンデンサ素子53のそれぞれから離れた位置に熱伝導部材54が配置されている。
各熱伝導部材54は、冷却面10に接触している板状の放熱部541と、コンデンサモジュール本体50に取り付けられている板状の取付部542と、放熱部541を取付部542に繋ぐ繋ぎ部543とを有している。
取付部542は、充填部材52に埋まった状態でコンデンサモジュール本体50の内部に配置されている。これにより、各熱伝導部材54は、充填部材52を介してコンデンサケース51に保持されている。
繋ぎ部543は、取付部542からコンデンサケース51の開口部を通ってコンデンサケース51の外部へ延びている。また、繋ぎ部543は、充填部材52の内部から充填部材52の外部へ冷却面10に向けて延びている。これにより、コンデンサモジュール本体50の内部の熱は、取付部542及び繋ぎ部543を通ってコンデンサモジュール本体50の外部へ伝わる。さらに、繋ぎ部543は、冷却面10で放熱部541に繋がっている。
放熱部541は、コンデンサモジュール本体50から離れた位置に配置されている。また、放熱部541は、冷却面10に接触することにより冷却面10に熱的に接続されている。これにより、コンデンサモジュール本体50の熱は、各熱伝導部材54を通って冷却面10へ放散される。
また、放熱部541は、コンデンサモジュール本体50の各半導体モジュール4側の端部よりも各半導体モジュール4から遠い位置で冷却面10に接触している。即ち、冷却面10に直交する方向に沿って電力変換装置1を見たとき、各半導体モジュール4とコンデンサモジュール本体50との間の距離よりも、各半導体モジュール4と放熱部541との間の距離が長くなっている。
また、放熱部541は、繋ぎ部543から各半導体モジュール4側とは反対側へ冷却面10に沿って延びている。これにより、放熱部541の一部は、コンデンサモジュール本体50に対向する冷却面10の領域よりも各半導体モジュール4から遠い位置に達している。即ち、冷却面10に直交する方向に沿って電力変換装置1を見たとき、放熱部541の一部は、図2に示すように、各半導体モジュール4側とは反対側へコンデンサモジュール本体50の領域から突出している。
コンデンサモジュール本体50と各半導体モジュール4とは、冷却器6を流れる冷却媒体の流れの方向へ並んで配置されている。放熱部541は、冷却媒体の流れにおいて各半導体モジュール4の位置よりも上流側の位置で冷却面10に接触している。即ち、放熱部541は、各半導体モジュール4の位置よりも冷却器6の流路入口に近い位置で冷却面10に接触している。これにより、冷却器6を流れる冷却媒体は、放熱部541から熱を吸収した後、各半導体モジュール4から熱を吸収する。
ここで、コンデンサモジュール本体50を各半導体モジュール4に近づけて、N側バスバー7及びP側バスバー8のそれぞれの長さを短くすると、N側バスバー7及びP側バスバー8のそれぞれのインダクタンスが低くなる。これにより、電力変換装置1の性能が向上する。従って、コンデンサモジュール本体50の位置は、各半導体モジュール4に近いほどよい。
一方、各半導体モジュール4の周囲では、各半導体モジュール4で発生した熱によって冷却面10の温度が高くなっている。特に、冷却能力の低い空冷式の冷却器を冷却器6として用いた場合には、各半導体モジュール4の周囲で冷却面10の温度が高くなりやすい。従って、各半導体モジュール4に近い位置でコンデンサモジュール本体50を冷却面10に接触させた場合、温度の高い冷却面10にコンデンサモジュール本体50が接触することになる。この場合、コンデンサモジュール本体50から冷却面10へ熱を効率良く放散することができない。
しかし、本実施の形態による電力変換装置1では、コンデンサモジュール本体50が冷却面10から離れている。このため、各半導体モジュール4で発生した熱が冷却面10を介してコンデンサモジュール本体50へ流れることを防止することができる。これにより、コンデンサモジュール本体50の位置を各半導体モジュール4に近づけることができる。従って、N側バスバー7及びP側バスバー8のそれぞれのインダクタンスを低くすることができ、電力変換装置1の性能の向上を図ることができる。
また、放熱部541は、コンデンサモジュール本体50の各半導体モジュール4側の端部よりも各半導体モジュール4から遠い位置で冷却面10に接触している。このため、各半導体モジュール4からの熱の影響が及びにくい位置で冷却面10に放熱部541を接触させることができる。これにより、コンデンサモジュール本体50の熱を放熱部541から冷却面10へ効率良く放散することができる。このようなことから、各半導体モジュール4だけでなくコンデンサモジュール5もより確実に冷却することができる。
また、放熱部541は、冷却面10を冷却する冷却媒体の流れにおいて各半導体モジュール4の位置よりも上流側の位置で冷却面10に接触している。このため、各半導体モジュール4から熱を吸収する前の冷却媒体が流れる位置で放熱部541を冷却面10に接触させることができる。これにより、放熱部541が接触する位置での冷却面10の温度を低い状態に維持することができ、コンデンサモジュール本体50の熱を放熱部541から冷却面10へさらに効率良く放散することができる。従って、コンデンサモジュール5をさらに確実に冷却することができる。
また、熱伝導部材54は、コンデンサモジュール本体50の内部に配置された取付部542を有している。このため、コンデンサモジュール本体50の内部の熱をコンデンサモジュール本体50の外部へ熱伝導部材54を通して効率良く導くことができる。これにより、コンデンサモジュール5をさらに確実に冷却することができる。さらに、熱伝導部材54をコンデンサモジュール本体50と一体化することができることから、電力変換装置1の製造時にコンデンサモジュール本体50及び熱伝導部材54を1つの部品として取り扱うことができる。これにより、電力変換装置1の製造作業を容易にすることができる。
また、N側バスバー7及びP側バスバー8のそれぞれは、充填部材52を貫通してコンデンサ素子53に接続されている。さらに、N側バスバー7及びP側バスバー8のそれぞれは、充填部材52を介してコンデンサケース51に保持されている。このため、各半導体モジュール4からN側バスバー7及びP側バスバー8のそれぞれを伝わってコンデンサモジュール本体50に達した熱の一部を充填部材52によってコンデンサケース51へ導くことができる。これにより、コンデンサケース51から外気へ熱を放散することができ、コンデンサモジュール5の温度の上昇をさらに確実に抑制することができる。
実施の形態2.
図4は、この発明の実施の形態2による電力変換装置を示す断面図である。N側バスバー7と取付部542との間には、充填部材52とは異なる絶縁部材としての絶縁紙56が介在している。これにより、熱伝導部材54の取付部542は、コンデンサケース51の内部で絶縁紙56を介してN側バスバー7に配置されている。絶縁紙56の熱伝導率は、充填部材52の熱伝導率よりも高くなっている。また、絶縁紙56は、電気絶縁性能を持つ絶縁部材である。絶縁紙56の電気絶縁性能は、充填部材52の電気絶縁性能よりも高くなっている。
N側バスバー7に伝わった熱の一部は、絶縁紙56を通って取付部542に伝わる。N側バスバー7から取付部542に伝わった熱は、繋ぎ部543及び放熱部541を通って冷却面10へ放散される。他の構成は、実施の形態1と同様である。
このような電力変換装置1では、充填部材52よりも熱伝導率の高い絶縁紙56が熱伝導部材54の取付部542とN側バスバー7との間に介在している。このため、N側バスバー7から熱伝導部材54へ熱が伝わりやすくすることができる。これにより、コンデンサモジュール本体50の熱を冷却面10へさらに効率良く放散することができる。
なお、上記の例では、取付部542とN側バスバー7との間に介在する絶縁部材として絶縁紙56が用いられている。しかし、充填部材52よりも熱伝導率の高い絶縁部材であれば、絶縁紙56でなくてもよい。従って、樹脂製の伝熱シート、セラミック板などを絶縁部材として用いてもよい。
また、上記の例では、取付部542とN側バスバー7との間に絶縁紙56が介在している。しかし、コンデンサケース51の内部で取付部542をP側バスバー8に対向させて配置し、取付部542とP側バスバー8との間に絶縁紙56を介在させてもよい。さらに、コンデンサケース51の内部で取付部542をコンデンサ素子53に対向させて配置し、取付部542とコンデンサ素子53との間に絶縁紙56を介在させてもよい。このようにしても、コンデンサモジュール本体50の熱を冷却面10へさらに効率良く放散することができる。従って、N側バスバー7、P側バスバー8及びコンデンサ素子53の少なくともいずれかと取付部542との間に絶縁紙56を介在させることにより、コンデンサモジュール本体50の熱を冷却面10へさらに効率良く放散することができる。
実施の形態3.
図5は、この発明の実施の形態3による電力変換装置を示す断面図である。コンデンサモジュール本体50と冷却面10との間には、断熱部材57が介在している。また、コンデンサモジュール本体50は、断熱部材57を介して冷却面10に支持されている。
断熱部材57は、コンデンサモジュール本体50よりも熱伝導率の低い材料で構成されている。即ち、断熱部材57は、コンデンサケース51、充填部材52及びコンデンサ素子53のそれぞれよりも熱伝導率の低い材料で構成されている。断熱部材57を構成する材料としては、樹脂、ゴムなどが用いられている。他の構成は、実施の形態2と同様である。
このような電力変換装置1では、コンデンサモジュール本体50よりも熱伝導率の低い材料で構成された断熱部材57がコンデンサモジュール本体50と冷却面10との間に介在している。このため、冷却面10からコンデンサモジュール本体50への熱の移動を断熱部材57によってさらに確実に抑制することができる。これにより、各半導体モジュール4及びコンデンサモジュール5をさらに確実に冷却することができる。さらに、冷却面10にコンデンサモジュール本体50を断熱部材57によって安定して支持することができる。これにより、電力変換装置1の耐振性能を向上させることができ、電力変換装置1の故障の発生を抑制することができる。
実施の形態4.
図6は、この発明の実施の形態4による電力変換装置を示す断面図である。熱伝導部材54の取付部542は、コンデンサモジュール本体50の外面に取り付けられている。また、取付部542は、コンデンサモジュール本体50の外面に接触している。取付部542は、コンデンサモジュール本体50の外面に接触することによりコンデンサモジュール本体50の外面に熱的に接続されている。この例では、コンデンサケース51の外面に取付部542が接触している。従って、この例では、熱伝導部材54がコンデンサモジュール本体50の内部に挿入されていない。
コンデンサケース51は、コンデンサケース51の開口部を各半導体モジュール4側に向けて配置されている。これにより、冷却面10には、コンデンサケース51の外面の一部が対向している。
取付部542は、コンデンサケース51の外面のうち、冷却面10に対向する部分に取り付けられている。コンデンサモジュール本体50の熱は、コンデンサケース51から熱伝導部材54を通って冷却面10へ放散される。他の構成は、実施の形態1と同様である。
このように、熱伝導部材54の取付部542をコンデンサモジュール本体50の外面に取り付けても、コンデンサモジュール本体50の熱が熱伝導部材54に効率良く伝わるようにすることができる。これにより、コンデンサモジュール本体50をより確実に冷却することができる。
なお、上記の例では、取付部542がコンデンサモジュール本体50の外面に接触している。しかし、熱伝導性能を持つ密着部材を介してコンデンサモジュール本体50の外面に取付部542を取り付けてもよい。この場合、密着部材は、コンデンサモジュール本体50の外面及び取付部542のそれぞれに隙間なく密着する。また、この場合、取付部542は、密着部材を介してコンデンサモジュール本体50の外面に取り付けられることによりコンデンサモジュール本体50の外面に熱的に接続される。密着部材としては、放熱グリス、樹脂製の伝熱シートなどが用いられる。密着部材の熱伝導率は、コンデンサケース51及び熱伝導部材54のそれぞれの熱伝導率よりも高いことが望ましい。ただし、密着部材の熱伝導率は、コンデンサケース51及び熱伝導部材54のそれぞれの熱伝導率と同じでもよいし、低くてもよい。このようにすれば、コンデンサモジュール本体50の外面と取付部542との間に生じる隙間を密着部材で埋めることができ、コンデンサモジュール本体50の熱が熱伝導部材54にさらに効率良く伝わるようにすることができる。従って、コンデンサモジュール本体50をさらに確実に冷却することができる。
また、上記の例では、コンデンサケース51の開口部を各半導体モジュール4側に向けてコンデンサモジュール本体50が配置されている。しかし、コンデンサケース51の開口部は、冷却面10に対向していてもよい。
実施の形態5.
図7は、この発明の実施の形態5による電力変換装置を示す断面図である。熱伝導部材54は、コンデンサケース51と一体に形成されている。また、コンデンサケース51は、熱伝導部材54と同じ材料で構成されている。即ち、同じ材料で構成された単一部材の一部がコンデンサケース51になっており、単一部材の残りの部分が熱伝導部材54になっている。コンデンサケース51及び熱伝導部材54を構成する材料としては、高い熱伝導性能を持つアルミニウムなどの金属が用いられている。コンデンサケース51及び熱伝導部材54が一体となった部材の熱伝導率は、充填部材52の熱伝導率よりも高くなっている。
熱伝導部材54は、コンデンサケース51の開口部の縁部から冷却面10に向けて突出している。また、熱伝導部材54は、冷却面10に接触している板状の放熱部541と、放熱部541をコンデンサケース51に繋ぐ繋ぎ部543とを有している。放熱部541及び繋ぎ部543のそれぞれの構成は、実施の形態1と同様である。他の構成も、実施の形態1と同様である。
このような電力変換装置1では、熱伝導部材54がコンデンサケース51と一体に形成されている。このため、コンデンサケース51及び熱伝導部材54を1つの部品として取り扱うことができ、部品点数の低減を図ることができる。これにより、電力変換装置1の製造作業を容易にすることができる。
なお、上記の例では、N側バスバー7、P側バスバー8及びコンデンサ素子53のそれぞれとコンデンサケース51との間に充填部材52が介在している。しかし、N側バスバー7、P側バスバー8及びコンデンサ素子53の少なくともいずれかとコンデンサケース51との間に、充填部材52とは異なる絶縁部材を介在させてもよい。この場合、充填部材52よりも熱伝導率の高い部材が絶縁部材として用いられる。また、この場合、充填部材52よりも電気絶縁性能の高い部材が絶縁部材として用いられる。絶縁部材としては、絶縁紙、樹脂製の伝熱シート、セラミック板などが用いられる。このようにすれば、N側バスバー7、P側バスバー8及びコンデンサ素子53の少なくともいずれかからコンデンサケース51及び熱伝導部材54へ熱が伝わりやすくすることができる。これにより、コンデンサモジュール本体50の熱を冷却面10へさらに効率良く放散することができる。
また、実施の形態3では、実施の形態2の電力変換装置1に断熱部材57が適用されている。しかし、実施の形態1、4又は5の電力変換装置1に断熱部材57を適用してもよい。
また、各上記実施の形態では、放熱部541が冷却面10に接触している。しかし、熱伝導性能を持つ伝熱物を介して放熱部541が冷却面10に配置されていてもよい。この場合、放熱部541は、伝熱物を介して冷却面10に熱的に接続される。また、この場合、伝熱物は、放熱部541及び冷却面10のそれぞれに隙間なく密着した状態で放熱部541と冷却面10との間に介在する。伝熱物としては、放熱グリス、樹脂製の伝熱シートなどが用いられる。伝熱物の熱伝導率は、熱伝導部材54の熱伝導率よりも高いことが望ましい。ただし、伝熱物の熱伝導率は、熱伝導部材54の熱伝導率と同じでもよいし、低くてもよい。このようにすれば、放熱部541と冷却面10との間に生じる隙間を伝熱物で埋めることができ、放熱部541からの熱を冷却面10へ効率良く伝えることができる。従って、コンデンサモジュール本体50の熱を冷却面10へさらに効率良く放散することができる。
また、各上記実施の形態では、冷却媒体の流れにおいて半導体モジュール4の位置よりも上流側の位置で放熱部541が冷却面10に熱的に接続されている。しかし、放熱部541の位置は、半導体モジュール4の位置よりも冷却冷媒の流れの上流側の位置に限定されない。例えば、冷却媒体の流れの方向に直交する方向へ半導体モジュール4の位置から外れた位置で放熱部541を冷却面10に熱的に接続させてもよい。
また、各上記実施の形態では、コンデンサモジュール本体50に対向する冷却面10の領域よりも各半導体モジュール4から遠い位置に放熱部541の一部が配置されている。しかし、コンデンサモジュール本体50に対向する冷却面10の領域よりも各半導体モジュール4から遠い位置に放熱部541の全部が配置されていてもよい。
1 電力変換装置、4 半導体モジュール、5 コンデンサモジュール、6 冷却器、7 N側バスバー、8 P側バスバー、10 冷却面、50 コンデンサモジュール本体、51 コンデンサケース、52 充填部材、53 コンデンサ素子、54 熱伝導部材、57 断熱部材、541 放熱部、542 取付部。

Claims (10)

  1. 冷却面が形成された冷却器、
    前記冷却面に設けられた半導体モジュール、及び
    前記冷却面から離れた状態で前記冷却面に対向しているコンデンサモジュール本体と、前記コンデンサモジュール本体に設けられた熱伝導部材とを有するコンデンサモジュール
    を備え、
    前記コンデンサモジュール本体は、前記半導体モジュールにバスバーを介して接続されており、
    前記熱伝導部材は、放熱部を有しており、
    前記放熱部は、前記コンデンサモジュール本体の前記半導体モジュール側の端部よりも前記半導体モジュールから遠い位置で前記冷却面に熱的に接続されている電力変換装置。
  2. 前記冷却面は、前記冷却器を流れる冷却媒体によって冷却されるようになっており、
    前記放熱部は、前記冷却媒体の流れにおいて前記半導体モジュールの位置よりも上流側の位置で前記冷却面に熱的に接続されている請求項1に記載の電力変換装置。
  3. 前記コンデンサモジュール本体と前記冷却面との間には、前記コンデンサモジュール本体よりも熱伝導率の低い材料で構成された断熱部材が介在している請求項1又は請求項2に記載の電力変換装置。
  4. 前記熱伝導部材は、前記コンデンサモジュール本体の内部に配置された取付部を有している請求項1から請求項3のいずれか一項に記載の電力変換装置。
  5. 前記熱伝導部材は、前記コンデンサモジュール本体の外面に接触した取付部を有している請求項1から請求項3のいずれか一項に記載の電力変換装置。
  6. 前記熱伝導部材は、熱伝導性能を持つ密着部材を介して前記コンデンサモジュール本体の外面に取り付けられた取付部を有しており、
    前記密着部材は、前記コンデンサモジュール本体の外面及び前記取付部のそれぞれに密着している請求項1から請求項3のいずれか一項に記載の電力変換装置。
  7. 前記コンデンサモジュール本体は、コンデンサケースと、前記コンデンサケースの内部に配置されたコンデンサ素子と、前記コンデンサケースの内部で前記コンデンサ素子を覆う樹脂製の充填部材とを有しており、
    前記バスバーは、前記充填部材を貫通して前記コンデンサ素子に接続されており、かつ前記充填部材を介して前記コンデンサケースに保持されている請求項1から請求項3のいずれか一項に記載の電力変換装置。
  8. 前記コンデンサケースは、前記熱伝導部材と同じ材料で構成されており、
    前記熱伝導部材は、前記コンデンサケースと一体に形成されている請求項7に記載の電力変換装置。
  9. 前記コンデンサ素子及び前記バスバーの少なくともいずれかと前記コンデンサケースとの間には、前記充填部材よりも熱伝導率の高い絶縁部材が介在している請求項8に記載の電力変換装置。
  10. 前記熱伝導部材は、前記充填部材の内部に配置された取付部を有しており、
    前記コンデンサ素子及び前記バスバーの少なくともいずれかと前記取付部との間には、前記充填部材よりも熱伝導率の高い絶縁部材が介在している請求項7に記載の電力変換装置。
JP2019088746A 2019-05-09 2019-05-09 電力変換装置 Active JP6867432B2 (ja)

Priority Applications (4)

Application Number Priority Date Filing Date Title
JP2019088746A JP6867432B2 (ja) 2019-05-09 2019-05-09 電力変換装置
US16/830,511 US11622478B2 (en) 2019-05-09 2020-03-26 Power converter having improved cooling
DE102020205236.0A DE102020205236B4 (de) 2019-05-09 2020-04-24 Leistungswandler
CN202010331580.8A CN111917311A (zh) 2019-05-09 2020-04-24 功率转换装置

Applications Claiming Priority (1)

Application Number Priority Date Filing Date Title
JP2019088746A JP6867432B2 (ja) 2019-05-09 2019-05-09 電力変換装置

Publications (2)

Publication Number Publication Date
JP2020184847A true JP2020184847A (ja) 2020-11-12
JP6867432B2 JP6867432B2 (ja) 2021-04-28

Family

ID=72943368

Family Applications (1)

Application Number Title Priority Date Filing Date
JP2019088746A Active JP6867432B2 (ja) 2019-05-09 2019-05-09 電力変換装置

Country Status (4)

Country Link
US (1) US11622478B2 (ja)
JP (1) JP6867432B2 (ja)
CN (1) CN111917311A (ja)
DE (1) DE102020205236B4 (ja)

Cited By (2)

* Cited by examiner, † Cited by third party
Publication number Priority date Publication date Assignee Title
JPWO2023162051A1 (ja) * 2022-02-22 2023-08-31
JP2023141447A (ja) * 2022-03-24 2023-10-05 三菱電機株式会社 電力変換装置

Families Citing this family (4)

* Cited by examiner, † Cited by third party
Publication number Priority date Publication date Assignee Title
JP7366077B2 (ja) * 2021-03-09 2023-10-20 三菱電機株式会社 電力変換装置
JP7183373B1 (ja) * 2021-11-15 2022-12-05 三菱電機株式会社 電力変換装置
JP7391134B2 (ja) * 2022-04-19 2023-12-04 三菱電機株式会社 電力変換装置
DE102022124194A1 (de) * 2022-09-21 2024-03-21 Valeo Eautomotive Germany Gmbh Gleichspannungszwischenkreiskondensator für eine Schaltzelle

Citations (10)

* Cited by examiner, † Cited by third party
Publication number Priority date Publication date Assignee Title
JP2001197753A (ja) * 2000-01-13 2001-07-19 Mitsubishi Electric Corp 電力変換装置
JP2008061476A (ja) * 2006-09-04 2008-03-13 Nissan Motor Co Ltd 電力変換装置
JP2008067546A (ja) * 2006-09-08 2008-03-21 Toyota Motor Corp コンデンサの冷却構造およびその冷却構造を備えたモータ
JP2010187504A (ja) * 2009-02-13 2010-08-26 Mitsubishi Electric Corp インバータ装置
JP2012199350A (ja) * 2011-03-22 2012-10-18 Panasonic Corp ケースモールド型コンデンサ
JP2013146179A (ja) * 2011-12-13 2013-07-25 Denso Corp 電力変換装置
JP2017108524A (ja) * 2015-12-09 2017-06-15 富士電機株式会社 電力変換装置
JP2017188998A (ja) * 2016-04-05 2017-10-12 三菱電機株式会社 電力変換装置
JP2018133889A (ja) * 2017-02-14 2018-08-23 株式会社デンソー 電力変換装置
WO2019021532A1 (ja) * 2017-07-28 2019-01-31 株式会社日立製作所 電力変換装置

Family Cites Families (15)

* Cited by examiner, † Cited by third party
Publication number Priority date Publication date Assignee Title
DE10056474B4 (de) * 2000-11-15 2004-10-28 Epcos Ag Gehäuse, Gehäuseanordnung, Elektrolyt-Kondensator mit dem Gehäuse und Anordnung des Elektrolyt-Kondensators
JP4859443B2 (ja) 2005-11-17 2012-01-25 日立オートモティブシステムズ株式会社 電力変換装置
US7864506B2 (en) * 2007-11-30 2011-01-04 Hamilton Sundstrand Corporation System and method of film capacitor cooling
JP5326760B2 (ja) * 2009-04-14 2013-10-30 株式会社デンソー 電力変換装置
JP5550927B2 (ja) * 2010-01-29 2014-07-16 本田技研工業株式会社 電力変換装置
JP5351107B2 (ja) 2010-07-23 2013-11-27 三菱電機株式会社 コンデンサの冷却構造およびインバータ装置
KR101541181B1 (ko) 2014-05-16 2015-08-03 주식회사 이지트로닉스 전기자동차용 전력 변환 장치
US10084388B2 (en) * 2014-08-22 2018-09-25 Mitsubishi Electric Corporation Power conversion device
US9756755B2 (en) * 2014-10-31 2017-09-05 Denso Corporation Electric power converter
JP2016158358A (ja) * 2015-02-24 2016-09-01 株式会社デンソー 半導体モジュール
DE102015111541B4 (de) * 2015-07-16 2023-07-20 Halla Visteon Climate Control Corporation Verfahren zur Herstellung einer Verbindung zwischen mindestens einem zylindrischen Elektrolytkondensator und einem Kühlkörper
WO2017072870A1 (ja) * 2015-10-28 2017-05-04 三菱電機株式会社 電力変換装置
JP6919348B2 (ja) * 2017-06-07 2021-08-18 株式会社デンソー 電力変換装置
WO2019208406A1 (ja) * 2018-04-25 2019-10-31 株式会社デンソー 電力変換装置
US11282640B2 (en) * 2019-04-12 2022-03-22 Karma Automotive Llc DC link capacitor cooling system

Patent Citations (10)

* Cited by examiner, † Cited by third party
Publication number Priority date Publication date Assignee Title
JP2001197753A (ja) * 2000-01-13 2001-07-19 Mitsubishi Electric Corp 電力変換装置
JP2008061476A (ja) * 2006-09-04 2008-03-13 Nissan Motor Co Ltd 電力変換装置
JP2008067546A (ja) * 2006-09-08 2008-03-21 Toyota Motor Corp コンデンサの冷却構造およびその冷却構造を備えたモータ
JP2010187504A (ja) * 2009-02-13 2010-08-26 Mitsubishi Electric Corp インバータ装置
JP2012199350A (ja) * 2011-03-22 2012-10-18 Panasonic Corp ケースモールド型コンデンサ
JP2013146179A (ja) * 2011-12-13 2013-07-25 Denso Corp 電力変換装置
JP2017108524A (ja) * 2015-12-09 2017-06-15 富士電機株式会社 電力変換装置
JP2017188998A (ja) * 2016-04-05 2017-10-12 三菱電機株式会社 電力変換装置
JP2018133889A (ja) * 2017-02-14 2018-08-23 株式会社デンソー 電力変換装置
WO2019021532A1 (ja) * 2017-07-28 2019-01-31 株式会社日立製作所 電力変換装置

Cited By (4)

* Cited by examiner, † Cited by third party
Publication number Priority date Publication date Assignee Title
JPWO2023162051A1 (ja) * 2022-02-22 2023-08-31
JP7767575B2 (ja) 2022-02-22 2025-11-11 Astemo株式会社 電力変換装置
JP2023141447A (ja) * 2022-03-24 2023-10-05 三菱電機株式会社 電力変換装置
JP7370408B2 (ja) 2022-03-24 2023-10-27 三菱電機株式会社 電力変換装置

Also Published As

Publication number Publication date
US20200359533A1 (en) 2020-11-12
DE102020205236A1 (de) 2020-11-12
CN111917311A (zh) 2020-11-10
JP6867432B2 (ja) 2021-04-28
DE102020205236B4 (de) 2025-11-27
US11622478B2 (en) 2023-04-04

Similar Documents

Publication Publication Date Title
JP6867432B2 (ja) 電力変換装置
JP6932225B1 (ja) 電力変換装置
KR102786035B1 (ko) 차량, 및 차량용 전력 변환 장치
US11956933B2 (en) Power conversion device and motor-integrated power conversion device
JP6887521B2 (ja) 電力変換装置
KR102801834B1 (ko) 냉각 장치를 구비한 펄스 제어 인버터 및 펄스 제어 인버터를 구비한 자동차
JP7366082B2 (ja) 電力変換装置
US12249922B2 (en) Power conversion device
CA3063005A1 (en) Cooling structure of power conversion device
CN113728546A (zh) 电力转换装置
JP6961047B1 (ja) 電力変換装置
JP5169092B2 (ja) 電力変換装置
CN112313869B (zh) 电力转换装置
CN114446643B (zh) 功率转换装置
WO2019142543A1 (ja) パワー半導体装置
JP7234845B2 (ja) コンデンサユニット
CN215580872U (zh) 电容模块、电力转换装置和车辆
WO2015140944A1 (ja) パワーモジュール
WO2025109770A1 (ja) 電力変換装置
WO2025150090A1 (ja) 電子機器、およびこの電子機器を備えた電動駆動装置
CN115528906A (zh) 功率转换装置

Legal Events

Date Code Title Description
A621 Written request for application examination

Free format text: JAPANESE INTERMEDIATE CODE: A621

Effective date: 20190509

A131 Notification of reasons for refusal

Free format text: JAPANESE INTERMEDIATE CODE: A131

Effective date: 20200519

A131 Notification of reasons for refusal

Free format text: JAPANESE INTERMEDIATE CODE: A131

Effective date: 20200804

A521 Request for written amendment filed

Free format text: JAPANESE INTERMEDIATE CODE: A523

Effective date: 20200925

A02 Decision of refusal

Free format text: JAPANESE INTERMEDIATE CODE: A02

Effective date: 20201208

A521 Request for written amendment filed

Free format text: JAPANESE INTERMEDIATE CODE: A523

Effective date: 20210302

C60 Trial request (containing other claim documents, opposition documents)

Free format text: JAPANESE INTERMEDIATE CODE: C60

Effective date: 20210302

A911 Transfer to examiner for re-examination before appeal (zenchi)

Free format text: JAPANESE INTERMEDIATE CODE: A911

Effective date: 20210315

C21 Notice of transfer of a case for reconsideration by examiners before appeal proceedings

Free format text: JAPANESE INTERMEDIATE CODE: C21

Effective date: 20210316

TRDD Decision of grant or rejection written
A01 Written decision to grant a patent or to grant a registration (utility model)

Free format text: JAPANESE INTERMEDIATE CODE: A01

Effective date: 20210406

A61 First payment of annual fees (during grant procedure)

Free format text: JAPANESE INTERMEDIATE CODE: A61

Effective date: 20210408

R150 Certificate of patent or registration of utility model

Ref document number: 6867432

Country of ref document: JP

Free format text: JAPANESE INTERMEDIATE CODE: R150

R250 Receipt of annual fees

Free format text: JAPANESE INTERMEDIATE CODE: R250

S111 Request for change of ownership or part of ownership

Free format text: JAPANESE INTERMEDIATE CODE: R313111

R350 Written notification of registration of transfer

Free format text: JAPANESE INTERMEDIATE CODE: R350

R250 Receipt of annual fees

Free format text: JAPANESE INTERMEDIATE CODE: R250