JP2020125713A - ベースプレートおよび給水装置 - Google Patents

ベースプレートおよび給水装置 Download PDF

Info

Publication number
JP2020125713A
JP2020125713A JP2019018242A JP2019018242A JP2020125713A JP 2020125713 A JP2020125713 A JP 2020125713A JP 2019018242 A JP2019018242 A JP 2019018242A JP 2019018242 A JP2019018242 A JP 2019018242A JP 2020125713 A JP2020125713 A JP 2020125713A
Authority
JP
Japan
Prior art keywords
pair
water supply
supply device
anchor bolt
holes
Prior art date
Legal status (The legal status is an assumption and is not a legal conclusion. Google has not performed a legal analysis and makes no representation as to the accuracy of the status listed.)
Pending
Application number
JP2019018242A
Other languages
English (en)
Inventor
勇樹 清水
Yuki Shimizu
勇樹 清水
篤志 木村
Atsushi Kimura
篤志 木村
Current Assignee (The listed assignees may be inaccurate. Google has not performed a legal analysis and makes no representation or warranty as to the accuracy of the list.)
Ebara Corp
Original Assignee
Ebara Corp
Priority date (The priority date is an assumption and is not a legal conclusion. Google has not performed a legal analysis and makes no representation as to the accuracy of the date listed.)
Filing date
Publication date
Application filed by Ebara Corp filed Critical Ebara Corp
Priority to JP2019018242A priority Critical patent/JP2020125713A/ja
Publication of JP2020125713A publication Critical patent/JP2020125713A/ja
Pending legal-status Critical Current

Links

Images

Landscapes

  • Details Of Reciprocating Pumps (AREA)
  • Structures Of Non-Positive Displacement Pumps (AREA)

Abstract

【課題】改修工事等の制限された設置状況下であっても速やかに給水装置を設置できる、給水装置用のベースプレートを提供する。【解決手段】給水装置用のベースプレート60は、ポンプ2およびモータ3が配置される配置部60aと、配置部60aの両側から張り出しており、かつ床面に固定可能な第1固定部60bおよび第2固定部60cと、を備えている。第1固定部60bおよび第2固定部60cのそれぞれは、一対のアンカーボルト孔70と、一対のアンカーボルト孔70に隣接して配置された一対の予備孔71と、を備えている。【選択図】図4

Description

本発明は、ベースプレート、特に、給水装置用のベースプレートおよび給水装置に関するものである。
一般的に、マンションやビル、工場などの建物に水を給水する給水装置では、故障による突発的な断水を避けるために、定期的に消耗部品の交換を行いながら運用し、約20年から30年程度にて給水装置自体の更新がなされる改修工事が行われる。改修工事中は居住中の建物を断水するため、改修工事は新築の建物に設置される場合に比べて早急な設置工事が要求される。
特開2017−227216号公報
給水装置は、基礎上にアンカーボルトにより固定される。例えば、水道本管圧を増圧して建物へ給水する直結給水装置は、排水防水処理を行った場所に形成された基礎上に設置される。当該基礎の周りには減圧式の逆流防止器からの漏水や異常な水漏れに備えて排水溝が設けられるため、給水装置は地面より一段高い基礎上に設置される。同様に、受水槽等に貯水した水を加圧して建物の給水する給水装置でも異常な水漏れに備え、地面より一段高い基礎上に設置されることがある。ここで、改修工事の時には、既設の基礎のアンカーをそのまま使用することができる場合は、工事期間の短縮のため、既設の基礎のアンカーを使用したい、という要望がある。そのため、新規の給水装置は、製品改良等で装置自体の大きさや部品配置が変更されていても既設の基礎のアンカーをそのまま使用することができるように、アンカーボルトの孔位置は所定の機種群毎に統一されている。
しかしながら、老朽化等で既設の基礎のアンカーをそのまま使用することができない場合は、既設の基礎に新規にアンカーボルトを打ち込む必要がある。そこで、新規にアンカーボルトを打ち込む場合、新規の給水装置の大きさに対する既設の基礎の大きさに余裕がないと、既設の給水装置の設置位置から大きく離れた位置に新規の給水装置を配置することができず、結果として、新規のアンカー位置を既設の基礎のアンカー位置の直近にしなければならない。しかしながら、既設のアンカー位置の直近に新規のアンカーボルトを打ち込んだ際に、経年を経た既設の基礎が破損してしまうおそれがある。基礎が割れる等で破損してしまうと、コンクリート等で基礎を補修したり新規に基礎を作成するため、工事期間が長くなり、結果的に建物の断水時間が長くなってしまう。
また、新設する給水装置を既設の基礎上に設置する改修工事においては、既設のアンカー位置では作業に時間を要する場合がある。なぜならば、改修工事では、既設の給水装置と新規の給水装置とで装置自体の大きさや部品の配置が異なる、既存の構造物が障害となる等で、特にアンカーボルトの締結などの工具を用いる作業が制限される要因が複数重なるからである。
そこで、本発明は、改修工事等の制限された設置状況下であっても速やかに給水装置を設置できる、給水装置用のベースプレートを提供することを目的とする。
本発明は、改修工事等の制限された設置状況下であっても速やかに給水装置を設置できる、給水装置用のベースプレートを備えた給水装置を提供することを目的とする。
一態様では、ポンプおよびモータを備える給水装置用のベースプレートであって、前記ベースプレートは、前記ポンプおよび前記モータが配置される配置部と、前記配置部の両側から張り出しており、かつ床面に固定可能な第1固定部および第2固定部と、を備えており、前記第1固定部および前記第2固定部のそれぞれは、一対のアンカーボルト孔と、前記一対のアンカーボルト孔に隣接して配置された一対の予備孔と、を備えている、ベースプレートが提供される。
一態様では、前記一対の予備孔は、前記一対のアンカーボルト孔の内側に配置されている。
一態様では、前記一対の予備孔は、前記一対のアンカーボルト孔の外側に配置されており、前記給水装置の上方から見て露出している。
一態様では、前記一対のアンカーボルト孔の少なくとも1つは、長孔であり、前記一対の予備孔の少なくとも1つは、長孔である。
一態様では、前記一対のアンカーボルト孔は、互いに垂直な方向に延びる長孔であり、前記一対の予備孔は、互いに垂直な方向に延びる長孔である。
一態様では、前記第1固定部に形成された前記一対のアンカーボルト孔および前記一対の予備孔は、前記第1固定部の最も外側の領域に配置されており、前記第2固定部に形成された前記一対のアンカーボルト孔および前記一対の予備孔は、前記第2固定部の最も外側の領域に配置されている。
一態様では、ポンプおよびモータと、前記ポンプおよび前記モータを据え付けるために、床面に固定可能なベースプレートと、を備え、前記ベースプレートは、前記ポンプおよび前記モータが配置される配置部と、前記配置部の両側から張り出しており、かつ前記床面に固定可能な第1固定部および第2固定部と、を備えており、前記第1固定部および前記第2固定部のそれぞれは、一対のアンカーボルト孔と、前記一対のアンカーボルト孔に隣接して配置された一対の予備孔と、を備えている、給水装置が提供される。
一態様では、前記一対の予備孔は、前記一対のアンカーボルト孔の内側に配置されている。
一実施形態では、前記一対の予備孔は、前記一対のアンカーボルト孔の外側に配置されており、前記給水装置の上方から見て露出している。
一態様では、前記一対のアンカーボルト孔の少なくとも1つは、長孔であり、前記一対の予備孔の少なくとも1つは、長孔である。
一態様では、前記一対のアンカーボルト孔は、互いに垂直な方向に延びる長孔であり、前記一対の予備孔は、互いに垂直な方向に延びる長孔である。
一態様では、前記第1固定部に形成された前記一対のアンカーボルト孔および前記一対の予備孔は、前記第1固定部の最も外側の領域に配置されており、前記第2固定部に形成された前記一対のアンカーボルト孔および前記一対の予備孔は、前記第2固定部の最も外側の領域に配置されている。
一態様では、前記給水装置は逆流防止装置を更に備え、前記逆流防止装置の漏水を排水する排水管が設置される。
一態様では、前記給水装置は、前記モータの可変速手段であるインバータと、前記ポンプを制御する制御部が格納された制御盤と、を更に備え、前記インバータは、前記ポンプの軸線方向に沿って前記モータに直列的に配置される。
給水装置のベースプレートは、アンカーボルト孔に加えて、予備孔を備えている。したがって、設置位置や作業環境が制限された設置状況下であっても、作業者はアンカーボルト孔および/または予備孔のうちの最も設置環境に適した孔を選択して使用できるので、所望する位置に給水装置を設置できる。そのため、給水装置の設置が確実に且つ迅速に行える。
給水装置の一実施形態を示す模式図である。 複数のポンプを備えた給水装置の内部構造の一実施形態を示す正面図である。 図2に示す給水装置の左側面図である。 一実施形態に係るベースプレートの平面図である。 図4のA−A線断面図である。 ベースプレートの他の実施形態を示す図である。 ベースプレートのさらに他の実施形態を示す図である。 ベースプレートのさらに他の実施形態を示す図である。 ベースプレートのさらに他の実施形態を示す図である。 アンカーボルト孔および予備孔の形成位置を説明するための図である。 給水装置の他の実施形態を示す図である。 給水装置の他の実施形態を示す図である。 図11および図12に示す実施形態に係るベースプレートの平面図である。 図13のB線方向から見た図である。 図13および図14に示す実施形態に係るベースプレートに設けられたアンカーボルト孔および予備孔の形成位置を示す図である。 図12に示す実施形態の一変形例を示す図である。 図12に示す実施形態の他の変形例を示す図である。
以下、本発明の実施形態について図面を参照して説明する。
図1は、給水装置1の一実施形態を示す模式図である。この給水装置1は、オフィスビルや集合住宅などの建物への給水に使用される給水装置である。図1に示すように、給水装置1の吸込口1aは、導入管5を介して水道本管または受水槽といった、水供給源4に接続されている。給水装置1の吐出し口1bには配水管7が接続されており、この配水管7は、建物の内部に配置された給水器具(例えば蛇口)に連通している。給水装置1は、水供給源4からの水を加圧して建物の各給水器具に供給するためのポンプ装置である。
給水装置1は、導入管5を介して水供給源4から供給される水を加圧するポンプ2と、このポンプ2を駆動する駆動源としてのモータ3と、モータ3の可変速手段の一例であるインバータ21と、給水装置1の給水動作(すなわちポンプ2の運転)を制御する制御部20と、ポンプ2の下流側に配置された逆止弁22と、逆止弁22の下流側に配置された流量検出器(フロースイッチ)24、吐出し側圧力センサ26、および圧力タンク28と、を備えている。これら構成要素(すなわち、ポンプ2,モータ3,インバータ21,制御部20,逆止弁22,流量検出器24,圧力タンク28など)は、キャビネット30内に収容されている。
逆止弁22は、ポンプ2の吐出し口に接続された吐出し管8に設けられており、ポンプ2が停止したときの水の逆流を防止するための弁である。流量検出器24は吐出し管8を流れる水の流量が所定の小水量以下であることを検出する装置である。吐出し側圧力センサ26は、ポンプ2の吐出し側圧力を測定するための水圧測定器である。圧力タンク28は、ポンプ2が停止している間の吐出し側圧力を保持するための圧力保持器である。配水管7は吐出し管8に接続されている。
ポンプ2の吸込口には吸込管9の一端が接続されており、吸込管9の他端は導入管5に接続されている。吸込管9には、逆流防止器(図2で後述する減圧式逆流防止器15)と吸込側圧力センサ(図2で後述する吸込側圧力センサ17)が取り付けられてもよい。逆流防止器は、導入管5への水の逆流を防止するために設置される。
水供給源4の水は、導入管5および吸込管9を通じてポンプ2に供給される。モータ3がポンプ2を駆動すると、ポンプ2は水を加圧して建物に水を供給する。ポンプ2によって加圧された水の一部は圧力タンク28内に蓄えられる。ポンプ2の運転が停止しているとき、配水管7内の水圧は圧力タンク28によって保持される。
給水装置1は、ポンプ2を迂回するバイパス管11を備えてもよい。バイパス管11の上流側端部は吸込管9に接続され、バイパス管11の下流側端部は吐出し管8に接続されている。バイパス管11には逆止弁16が取り付けられており、バイパス管11内での水の逆流を防止している。このバイパス管11は、流入圧のみで給水を可能とするために設けられている。
制御部20は、インバータ21およびモータ3の動作を制御することによって、ポンプ2の動作を制御する。より具体的には、制御部20は、吐出し側圧力センサ26の出力信号に基づいて、ポンプ2の回転速度を制御する。一般的には、吐出し側圧力センサ26により測定された圧力信号が設定された目標圧力と一致するようにポンプ2の回転速度を制御してポンプ2の吐出し圧力が一定になるように制御する吐出し圧力一定制御や、ポンプ2の吐出し圧力の目標値を適切に変化させることにより、建物内で最も下流側(末端)に配置された給水器具における水圧が一定となるように推定しながら制御する推定末端圧力一定制御などが行われる。
また、制御部20は、ポンプ2の起動および停止を制御する。一般的には、制御部20は、吐出し側圧力センサ26により測定された圧力信号が設定された始動圧より低くなるとポンプ2を起動し、流量検出器24が吐出し管8を流れる水の流量が所定の小水量以下であることを検出すると、圧力タンク28に蓄圧をしてポンプ2を停止する。ここで、本実施形態の給水装置1において、ポンプ2が固定速運転を行う場合は、可変速手段であるインバータ21はなくてもよい。
図2は、複数のポンプを備えた給水装置1の内部構造の一実施形態を示す正面図であり、図3は図2に示す給水装置1の左側面図である。なお、図1と同様の構成には同じ符号を付与し、説明を省略する。キャビネット30の内部には、2台のポンプ2a,2bが横並びに配置されている。ポンプ2a,2bは立軸形ポンプであり、例えばブースタポンプから構成される。これらポンプ2a,2bはそれぞれモータ3a,3bに連結されている。ポンプ2a,2bの吸込側には、水平方向に延びる吸込ヘッダ18が配置されており、ポンプ2a,2bの吸込口は吸込ヘッダ18に連結されている。この吸込ヘッダ18とストレーナ付きボール弁12を備えた入口管10との間に、減圧式逆流防止器15が配置されている。入口管10には、吸込側の圧力を検出する吸込側圧力センサ17が取付けられている。ストレーナ付きボール弁12のストレーナ部に導入管(図1の符号5参照)を連結し、ボール弁12を開いた状態で各ポンプ2a,2bを運転すると、導入管(図1の符号5参照)の水が入口管10、減圧式逆流防止器15、および吸込ヘッダ18を経由して、各ポンプ2a,2bに吸い込まれる。本実施形態では、入口管10および吸込ヘッダ18は、図1に示す吸込管9を構成する。
ポンプ2a,2bの吐出し側には、吐出しエルボ管27がそれぞれ連結されており、各吐出しエルボ管27に、吐出された水の逆流を防止する逆止弁22並びに小水量を検出して信号を制御部20に送る流量検出器(フロースイッチ)24が配置されている。さらに、各吐出しエルボ管27は、ポンプ2a,2bから吐出された水を集合(合流)させる吐出し集合管34に連結されており、この吐出し集合管34には、吐出し側の圧力を検出する吐出し側圧力センサ26を有するバイパスヘッダ38の上端が接続され、このバイパスヘッダ38の長手方向に沿った所定の位置に、圧力タンク28から延びる圧力タンク配管28aが接続されている。さらに、このバイパスヘッダ38の下端は、ボール弁33を有する出口管29に連結される。この出口管29は、逆止弁(図1の符号16参照)が内部に配置されたバイパス管11を介して吸込ヘッダ18に連通している。本実施形態では、吐出しエルボ管27,吐出し集合管34,バイパスヘッダ38,および出口管29は、図1に示す吐出し管8を構成する。
この構成により、ポンプ2a(および/またはポンプ2b)の運転に伴って該ポンプ2a(および/またはポンプ2b)から吐出された水は、吐出しエルボ管27、逆止弁22、吐出し集合管34、バイパスヘッダ38、および出口管29を経由して外部(図1の配水管7)に吐出される。吸込ヘッダ18内の水の圧力が充分に高い場合には、吸込ヘッダ18内の水が直接出口管29に導かれて外部に吐出される。圧力タンク28は、ポンプ2a,2bから吐出された加圧水を蓄圧することでポンプ2a,2bの頻繁な起動停止を防止し、且つ給水圧を円滑に一定に保つ作用をする。
キャビネット30内におけるポンプ2a,2bの上方位置には、インバータ21を収納するインバータケース23が、ヒンジ25を介して前方に開閉自在に配置されている。インバータケース23は、例えばアルミニウム製で放熱フィン23Aを有するヒートシンク23Bを有しており、このヒートシンク23Bの上面にインバータ21が載置されている。インバータ21は、ポンプ2a,2bにそれぞれ連結されたモータ3a,3bに交流電力を周波数および電圧を変えて供給することで各モータ3a,3bを可変速駆動するための装置であり、内部に冷却が必要な半導体デバイスを有している。
各モータ3a,3bは、その上部において、モータ3a,3bの駆動に伴って回転する主軸94を外部に延出させている。そして、この各主軸94には、主軸94と一体に回転し、この回転に伴って上方へ向かう空気の流れを作る冷却ファン101が取付けられる。さらに、これら冷却ファン101は、モータ3a,3bに沿って上下に延びる円筒状のファンカバー102でそれぞれ覆われている。
モータ3a,3bによりポンプ2a,2bを運転すると、主軸94と一体に冷却ファン101が回転し、この冷却ファン101の回転に伴って、インバータケース23の放熱フィン23Aに向かう気流が形成される。ファンカバー102は、この気流をヒートシンク23Bの放熱フィン23Aに案内する。すると、ポンプ2a,2bで冷却された空気がモータ3a,3bの外周部を通って放熱フィン23Aに衝突し、この空気でモータ3a,3bが冷却され、更に放熱フィン23Aが冷却されてインバータ21が冷却される。そして、この気流は、放熱フィン23Aに衝突してその向きを変え、キャビネット30内に大きく循環する気流となる。このキャビネット30内の大きな気流の循環により、制御部20などが吸込管9、減圧式逆流防止器15、吸込ヘッダ18などの周辺から運ばれた冷却された空気と接触して冷却される。即ち、この冷却ファン101によって、キャビネット30内を全体的に循環する気流が形成されることにより、キャビネット30内の空気が常に攪拌され、その内部温度が均一化される。
キャビネット30の右側面部には、制御部20が備えられており、この制御部20は、上記圧力センサ17,26などの信号を受けて、建物の各給水器具における給水圧が所定の圧力となるようにポンプ2a,2bを可変速運転する制御などを行う。より具体的には、制御部20は、上記圧力センサ17,26の出力信号に基づいて、建物内における給水圧を所定の圧力に維持するための指令信号をインバータ21に送る。インバータ21は、制御部20から送られた指令信号に基づいて、モータ3a,3bの回転速度を変更する。このような構成で、給水装置1は、水供給源4からの水を所定圧まで加圧して、この加圧された水を建物内に供給する。
給水装置1は、地面より一段高い基礎F上に配置されている。図2に示すように、施工の一例として、基礎Fの内部には、排水管59の一部が埋め込まれている。排水管59は、減圧式逆流防止器15の下方に配置されており、減圧式逆流防止器15から漏出した水を外部に排出するための部材である。また、給水装置1の基礎Fの周囲には、減圧式逆流防止器15の漏出や異常な水漏れに備えてユニット排水溝F1が設けられてあり、このため基礎Fが地面より一段高い。
図2および図3に示すように、給水装置1は、キャビネット30が載置されたベースプレート60を備えている。ベースプレート60は、基礎Fに固定されている。特に、図2に示すような直結給水装置は、受水槽がないため省スペースで設置することができる。よって、設置環境に制限の多い都市部に多く普及しており、基礎Fが既設の給水装置が設置可能な最小面積である場合も多い。上述したように、改修工事にて、給水装置1(より具体的には、ベースプレート60)の大きさに対する既設の基礎Fの大きさに余裕がない場合、新規の給水装置1は既設の給水装置とほぼ同じ位置に配置される。しかしながら、既設の給水装置と新規の給水装置1のアンカー位置が同じである場合、新規の給水装置1のためのアンカー位置は既設の基礎Fのアンカー位置の直近となる。結果として、経年を経ている既設の基礎Fは、アンカーボルトを打ち込んだ際に基礎Fが割れてしまうおそれがある。
また一方では、改修工事中は、居住中の建物の断水をするため、改修工事は、新築の建物に設置される場合に比べて早急な設置工事が要求されるため、可能であれば、導入管5、配水管7、基礎F等は既設のものを継続して使いたい、という要望もある。
本実施形態では、ベースプレート60は、基礎Fのような制限された設置状況下であっても、新規のアンカーボルトを確実に打ち込むことができ、且つ、既設の基礎Fのアンカーを使用したい場合には、新規のアンカーボルトを打つことなく、既設の基礎Fのアンカーを使用することができる構造を有している。以下、本実施形態に係るベースプレート60について、説明する。
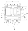
図4は、一実施形態に係るベースプレート60の平面図である。図5は、図4のA−A線断面図である。図4および図5に示すように、ベースプレート60は、ポンプ2およびモータ3が配置される配置部60aと、配置部60aの両側から張り出しており、かつ基礎F(すなわち、床面)に固定可能な第1固定部60bおよび第2固定部60cと、を備えている。なお、図2並びに図3に記載のキャビネット型の給水装置の場合、ベースプレート60は、給水装置1の底から導入管5、配水管7、排水管59等の配管ができるようフレーム構造を有している。そのため、本実施形態における配置部60aはキャビネット30の両側面、背面、前面にて囲まれた領域となる。
第1固定部60bおよび第2固定部60cのそれぞれは、一対のアンカーボルト孔70と、一対のアンカーボルト孔70に隣接して配置された一対の予備孔71と、を備えている。本実施形態では、一対の予備孔71は、一対のアンカーボルト孔70の内側に配置されているが、一実施形態では、一対の予備孔71は、一対のアンカーボルト孔70の外側に配置されてもよい。本実施形態では、互いに隣接するアンカーボルト孔70および予備孔71の間の距離は、50mm〜120mm程度である。
新規に給水装置1を設置する場合には、基礎Fの二対の(すなわち、4つ)アンカーボルト孔70の位置にアンカー75を打ち込み、給水装置1を基礎F上に固定具であるボルト76にて固定する。この場合、二対の(すなわち、4つの)予備孔71は使用されない。給水装置1の改修工事等で、既設の基礎Fの老朽化や既存の構造物が障害となる等の原因によって、アンカーボルト孔70の位置のアンカーが使用できない場合に、予備孔71は使用される。但し、これに限らず、給水装置1を固定するために、アンカーボルト孔70と予備孔71のうちの何れか4つが使用されればよい。なお、本実施形態では、改修工事にてアンカーを新設したと仮定して予備孔71が使用されている。
ベースプレート60は、アンカーボルト孔70の他に予備孔71を備えている。したがって、アンカーボルト孔70の何れかを使用することができない事態が生じた場合であっても、予備孔71を使用して、給水装置1(より具体的には、ベースプレート60)を既設の基礎F上に固定することができる。特に、本実施形態の様に地面より一段高い基礎Fでは、アンカー位置が基礎Fの中心から外側になる程、アンカーを打ち込む衝撃で基礎Fが割れる等、破損する確率が高くなる。よって、予備孔71はアンカーボルト孔70の外側よりも内側に配置される方が、アンカーを打ち込む際の衝撃による基礎Fの破損を抑制できる。また、予備孔71はアンカーボルト孔70に隣接して配置されることで、予備孔71を用いてもアンカーボルト孔70で固定するのと同じ強度で、図2に示すような高さ方向に長いキャビネット30で覆われた給水装置1を基礎Fに固定できる。給水装置1を基礎F上に配置する場合のように、給水装置1は、制限された設置場所に配置される場合がある。本実施形態によれば、予備孔71を使用することにより、作業者は、給水装置1の設置位置を移動することなく、確実にアンカーボルトを基礎Fに打ち込むことができる。
図6は、ベースプレート60の他の実施形態を示す図である。図7は、ベースプレート60のさらに他の実施形態を示す図である。図8は、ベースプレート60のさらに他の実施形態を示す図である。特に説明しない本実施形態の構成は、上述した実施形態と同じであるので、その重複する説明を省略する。
図4に示す実施形態では、アンカーボルト孔70および予備孔71のいずれも丸孔であるが、一対のアンカーボルト孔70の少なくとも1つは、長孔であってもよく、同様に、一対の予備孔71の少なくとも1つは、長孔であってもよい。図6に示す実施形態では、アンカーボルト孔70は、丸孔であり、予備孔71は、第1固定部60bの長手方向と平行に延びる長孔である。なお、第1固定部60bの長手方向は、アンカーボルト孔70および予備孔71の配列方向と平行な方向である。
図7に示す実施形態では、アンカーボルト孔70は、第1固定部60bの長手方向と垂直に延びる長孔である。予備孔71は、丸孔である。図8に示す実施形態では、アンカーボルト孔70は、第1固定部60bの長手方向と垂直に延びる長孔であり、予備孔71は、第1固定部60bの長手方向と平行に延びる長孔である。これらアンカーボルト孔70および予備孔71は、互いに垂直である。一実施形態では、アンカーボルト孔70および予備孔71は、いずれも、互いに平行に延びる長孔であってもよい。
図9は、ベースプレート60のさらに他の実施形態を示す図である。図9に示すように、一対のアンカーボルト孔70は、互いに垂直な方向に延びる長孔であり、一対の予備孔71は、互いに垂直な方向に延びる長孔であってもよい。一対のアンカーボルト孔70、一対の予備孔71が、互いに垂直な方向に延びる長孔であれば、設置時にアンカー位置を微調整できる自由度が増し、且つ、ポンプ運転時の振動にて給水装置1の位置がずれてしまうのを防ぐことができる。
一対のアンカーボルト孔70のどちらか一方の孔を長穴とし、他方を丸穴としてもよい。同様に、一対の予備孔71のどちらか一方の孔を長穴とし、他方を丸穴としてもよい。
本実施形態では、アンカーボルト孔70とは別に予備孔71を設けることで、基礎Fが既設の給水装置1が設置可能な最小面積であるような制限された設置状況下であっても、アンカー位置を微調整できるので、新規のアンカーを既設の基礎Fの適切な位置に打ち込むことができる。また、アンカーボルト孔70の内側に予備孔71を設けることで、地面より一段高い既設の基礎F上に新規のアンカーを打ち込む際に、基礎Fが破損するのを抑制することができる。且つ、既設の基礎Fのアンカーをそのまま使用したい場合には、アンカーボルト孔70を利用することで、新規にアンカーを打つことなく、既設の基礎Fのアンカーを使用できる。このように、作業者がアンカーボルト孔70および/または予備孔71のうちの最も設置環境に適した孔を選択して使用できるため、改修工事等の制限された設置状況下であっても速やかに給水装置1を設置できる。
図10は、アンカーボルト孔70および予備孔71の形成位置を説明するための図である。図10に示すように、第1固定部60bに形成された一対のアンカーボルト孔70および一対の予備孔71は、第1固定部60bの最も外側の領域(第1領域)に配置されている。第2固定部60cに形成された一対のアンカーボルト孔70および一対の予備孔71は、第2固定部60cの最も外側の領域(第2領域)に配置されている。
図10では、ベースプレート60を2等分したときの長さL1aおよび長さL1bは、互いに等しい長さを有している(L1a=L1b)。ベースプレート60を4等分したときの長さL2a、長さL2b、長さL2c、および長さL2dは、互いに等しい長さを有している(L2a=L2b=L2c=L2d)。一対のアンカーボルト孔70の一方および一対の予備孔71の一方は、長さL2aで示された範囲内に配置されており、アンカーボルト孔70の他方および予備孔71の他方は、長さL2dで示された範囲内に配置されている。
ここで、図10の第1領域並びに第2領域は、当該領域内のアンカーボルトにて給水装置1を基礎Fに固定すれば、どの位置でもほぼ同じ強度で固定できる領域であればよく、上述した例に限らない。例えば、給水装置1の運転試験や該知のシミュレーション等にて、アンカーボルト孔70の内側の任意のアンカー位置で固定した場合の設置強度(例えば、ポンプの運転に伴う振動等)を測定し、当該測定結果をアンカーボルト孔70にて固定した場合の設置強度と比較して所定の範囲内であれば、測定した任意のアンカー位置から外側直近のアンカーボルト孔70を含む領域を第1領域および第2領域としてもよい。このように、予備孔71がアンカーボルト孔70で固定するのとほぼ同じ強度で基礎Fに固定できる位置に設けられていれば、作業者はアンカーボルト孔70および/または予備孔71のうちの最も設置環境に適した孔位置を選択して給水装置1を基礎Fに固定できる。よって、所望する位置に速やかに給水装置を設置できる。
図11および図12は、給水装置1の他の実施形態を示す図である。図1の模式図に示す給水装置は、図11および図12に示す構造を有してもよい。図11および図12に示す給水装置100では、ポンプ2a,2bは、横軸形ポンプである。給水装置100は、モータ3aおよびインバータ21aの組み合わせおよびモータ3bおよびインバータ21bの組み合わせを備えている。モータ3aおよびインバータ21aの組み合わせは、電動機組立体90aであり、モータ3bおよびインバータ21bの組み合わせは、電動機組立体90bである。電動機組立体90a,90bは、インバータが内蔵された一体型構造を有する機械装置である。なお、本実施形態では、給水装置100は受水槽等に貯水した水を加圧して建物の給水する加圧式の給水装置であり、吸込管9に取り付けられた逆流防止器15と吸込側圧力センサ17が省略される。一実施形態では、給水装置100は、直結給水装置でもよい。その場合、吸込管9に逆流防止器と吸込側圧力センサ(図2で後述する吸込側圧力センサ17)が取り付けられる。
インバータ21aは、駆動軸96(図11参照)の軸線CL方向に沿ってモータ3aに直列的に配置されている。インバータ21bも同様である。このような構造を有することにより、配線が短くできたり、モータ3とインバータ21の冷却ファンを共通とできるため、電動機組立体90a,90bのそれぞれは、インバータを制御盤内に配置するのに比して、給水装置100はコンパクトな構造を有することができる。
制御部20は、制御盤95の内部に収容されている。制御盤95は、支持部材65に支持されている。図11に示すように、支持部材65は、ベースプレート60に固定され、かつベースプレート60の配置部60aから上方に向かって延びる脚部66と、脚部66に固定され、かつ制御盤95が載置される架台67とを備えている。架台67は、ベースプレート60の配置部60aと平行(すなわち、水平)に延びており、制御盤95および圧力タンク28が載置可能な大きさを有している。本実施形態では、架台67上には、制御盤95および圧力タンク28が載置されている。
互いに隣接するように並列に配置された2つのポンプ2a,2bには、2つの吐出し配管99a,99bがそれぞれ並列に接続されており、これら2つの吐出し配管99a,99bには、集合配管98が連結されている。互いに隣接する2台の電動機組立体90a,90bは並列に配置されており、2つの軸線CLは平行である。
図13は、図11および図12に示す実施形態に係るベースプレート60の平面図である。図14は、図13のB線方向から見た図である。図14では、基礎Fは断面図で描かれている。図13および図14に示すように、ベースプレート60は、ポンプ2およびモータ3が配置される配置部60aと、配置部60aの両側から張り出しており、かつ基礎F(すなわち、床面)に固定可能な第1固定部60bおよび第2固定部60cと、を備えている。そして、第1固定部60bおよび第2固定部60cのそれぞれは、一対のアンカーボルト孔70と、一対のアンカーボルト孔70に隣接して配置された一対の予備孔71と、を備えている。なお、図11並びに図12に記載の本実施形態における給水装置1の場合、ベースプレート60は、一枚の板を折り曲げた構造である。そのため、本実施形態における配置部60aは図14に示すように、ベースプレート60の凸部によって形成される。
図13に示すように、予備孔71は、アンカーボルト孔70の外側に配置されており、アンカーボルト孔70の内側に予備孔71が配置されているのに比して、作業者が給水装置1の横方向からアンカー位置にアクセスしやすくなる。また、予備孔71は図12に示すように給水装置1の上方から見て露出している。予備孔71が給水装置1の上方から見てポンプ等の他の部品と重ならないように露出していることにより、作業者は上方から接地面のアンカー位置にアクセスでき、改修工事で作業環境に制限がある場合でも、給水装置を基礎Fに固定する作業を簡単に行うことができる。また、アンカーボルト孔70は、既設の基礎Fのアンカーを使用したい場合に用いられる。そのため、アンカーボルト孔70を既設の基礎Fのアンカー位置と同じとする必要がある。つまり、アンカーボルト孔70は、機種群毎に統一されている所定の位置に配置される必要がある。しかしながら、給水装置100を設計する際に、アンカーボルト孔70がポンプ等の他の部品と重ならないように配慮すると、部品配置が制限され給水装置1自体の小型化が困難となったり、流路が複雑になってポンプ効率が落ちてしまう等、様々な制約がでてくるおそれがある。本実施形態では、アンカーボルト孔70の他に予備孔71を設けるため、ポンプ等の部品配置の設計自由度が増し、給水装置100を小型化できる等の効果も得られる。
図15は、図13および図14に示す実施形態に係るベースプレート60に設けられたアンカーボルト孔70および予備孔71の形成位置を示す図である。図15に示す実施形態においても、図10に示す実施形態と同様に、第1固定部60bに形成された一対のアンカーボルト孔70および一対の予備孔71は、第1固定部60bの最も外側の領域(第1最外側領域)に配置されている。第2固定部60cに形成された一対のアンカーボルト孔70および一対の予備孔71は、第2固定部60cの最も外側の領域(第2最外側領域)に配置されている。これにより、作業者はアンカーボルト孔70および/または予備孔71のうちの最も設置環境に適した孔位置を選択して給水装置100を基礎Fに固定できる。よって、所望する位置に速やかに給水装置を設置できる。
(変形例1)
図16は、図11および図12に示す実施形態における一変形例である。図16の給水装置200は、上から見て、アンカーボルト孔70がポンプ2a,2b並びにインバータ21の下に配置され、予備孔71が露出して配置されている点が図12示す給水装置1と異なる。また、給水装置200は、対向するアンカーボルト孔70間の距離L3,L4と、対向する予備孔71間の距離L6,L7がそれぞれ異なる(L3≠L6、L4≠L7)点が図12の給水装置1と異なる。
本変形例では、前記ポンプの軸線方向に沿って前記モータに直列的に配置されたインバータ21が、所定の機種群毎に統一された位置にあるアンカーボルト孔70の上に配置されている。その一方で、上方から見て予備孔71はポンプ2a,2b並びにインバータ21a,21bより露出して配置されている。ここで、改修工事において、既存の構造物が障害となる、既設の基礎のアンカーが経年劣化により使用できない等の理由でインバータ21a,21bの下のアンカーボルト孔70を用いた設置作業が困難になる場合がある。その場合でも、該当するアンカーボルト孔70の直近の予備孔71が露出しているため、当該予備孔71を用いることができる。このように、給水装置200は、アンカーボルト孔70および/または予備孔71のうちの最も設置環境に適した孔を作業者が選択でき、速やかに給水装置を設置できる。
(変形例2)
図17は、図11および図12に示す実施形態における他の変形例である。図17の給水装置300は、インバータ21が制御盤内に収められ、図12の給水装置100および図16の給水装置200に比して軸線CL方向の部品の長さが短くなっている。そして、第1固定部60bの予備孔71がアンカーボルト孔70の内側と外側の両方に設けられている点で、図12示す給水装置100と異なる。
図16に示す給水装置200と図17に示す給水装置300は、アンカーボルト孔70位置が統一された同じ機種群である。具体的には、給水装置200のアンカーボルト孔70間の距離L3,L4が給水装置300のアンカーボルト孔70間の距離L3,L4と同じである。しかしながら、給水装置200と給水装置300は、装置自体の大きさや部品の配置が異なる。給水装置200と給水装置300とが取り換えられるような改修工事の場合でも、アンカーボルト孔70および/または予備孔71のうちの最も設置環境に適した孔を作業者が選択でき、これにより速やかに給水装置を設置できる。
なお、上述した全ての実施形態において、一対のアンカーボルト孔70の他に一対の予備孔71が設けられている。しかしながら、アンカーボルト孔70並びに予備孔71は、それぞれ二対以上あってもよい。
図1乃至図10で示す実施形態においても、予備孔71は、給水装置1の上方から見たとき、露出している。また、図11乃至図17に示す実施形態においても、一対のアンカーボルト孔70の少なくとも1つは、長孔であってもよく、同様に、一対の予備孔71の少なくとも1つは、長孔であってもよい。
これまで本発明の実施形態について説明したが、本発明は上述の実施形態に限定されず、その技術思想の範囲内において、種々の異なる形態で実施されてよいことは勿論である。
1 給水装置
1a 吸込口
1b 吐出し口
2 ポンプ
3 モータ
4 水供給源
5 導入管
7 配水管
8 吐出し管
9 吸込管
10 入力管
11 バイパス管
12 ストレーナ付きボール弁
15 減圧式逆流防止器
16 逆止弁
17 吸込側圧力センサ
18 吸込ヘッダ
20 制御部
21 インバータ
22 逆止弁
23 インバータケース
23A 放熱フィン
23B ヒートシンク
24 流量検出器
25 ヒンジ
26 吐出し側圧力センサ
27 吐出しエルボ管
28 圧力タンク
28a 圧力タンク配管
29 出口管
30 キャビネット
33 ボール弁
34 吐出し集合管
38 バイパスヘッダ
59 排水管
60 ベースプレート
60a 配置部
60b 第1固定部
60c 第2固定部
65 支持部材
66 脚部
67 架台
70 アンカーボルト孔
71 予備孔
75 アンカー
76 アンカーボルト
90a 電動機組立体
90b 電動機組立体
94 主軸
95 制御盤
96 駆動軸
98 集合配管
99a,99b 吐出し配管
100,200,300 給水装置
101 冷却ファン
102 ファンカバー

Claims (14)

  1. ポンプおよびモータを備える給水装置用のベースプレートであって、
    前記ベースプレートは、
    前記ポンプおよび前記モータが配置される配置部と、
    前記配置部の両側から張り出しており、かつ床面に固定可能な第1固定部および第2固定部と、を備えており、
    前記第1固定部および前記第2固定部のそれぞれは、
    一対のアンカーボルト孔と、
    前記一対のアンカーボルト孔に隣接して配置された一対の予備孔と、を備えている、ベースプレート。
  2. 前記一対の予備孔は、前記一対のアンカーボルト孔の内側に配置されている、請求項1に記載のベースプレート。
  3. 前記一対の予備孔は、前記一対のアンカーボルト孔の外側に配置されており、前記給水装置の上方から見て露出している、請求項1に記載のベースプレート。
  4. 前記一対のアンカーボルト孔の少なくとも1つは、長孔であり、
    前記一対の予備孔の少なくとも1つは、長孔である、請求項1乃至3のいずれか一項に記載のベースプレート。
  5. 前記一対のアンカーボルト孔は、互いに垂直な方向に延びる長孔であり、
    前記一対の予備孔は、互いに垂直な方向に延びる長孔である、請求項1乃至4のいずれか一項に記載のベースプレート。
  6. 前記第1固定部に形成された前記一対のアンカーボルト孔および前記一対の予備孔は、前記第1固定部の最も外側の領域に配置されており、
    前記第2固定部に形成された前記一対のアンカーボルト孔および前記一対の予備孔は、前記第2固定部の最も外側の領域に配置されている、請求項1乃至5のいずれか一項に記載のベースプレート。
  7. ポンプおよびモータと、
    前記ポンプおよび前記モータを据え付けるために、床面に固定可能なベースプレートと、を備え、
    前記ベースプレートは、
    前記ポンプおよび前記モータが配置される配置部と、
    前記配置部の両側から張り出しており、かつ前記床面に固定可能な第1固定部および第2固定部と、を備えており、
    前記第1固定部および前記第2固定部のそれぞれは、
    一対のアンカーボルト孔と、
    前記一対のアンカーボルト孔に隣接して配置された一対の予備孔と、を備えている、給水装置。
  8. 前記一対の予備孔は、前記一対のアンカーボルト孔の内側に配置されている、請求項7に記載の給水装置。
  9. 前記一対の予備孔は、前記一対のアンカーボルト孔の外側に配置されており、前記給水装置の上方から見て露出している、請求項7に記載の給水装置。
  10. 前記一対のアンカーボルト孔の少なくとも1つは、長孔であり、
    前記一対の予備孔の少なくとも1つは、長孔である、請求項7乃至9のいずれか一項に記載の給水装置。
  11. 前記一対のアンカーボルト孔は、互いに垂直な方向に延びる長孔であり、
    前記一対の予備孔は、互いに垂直な方向に延びる長孔である、請求項7乃至10のいずれか一項に記載の給水装置。
  12. 前記第1固定部に形成された前記一対のアンカーボルト孔および前記一対の予備孔は、前記第1固定部の最も外側の領域に配置されており、
    前記第2固定部に形成された前記一対のアンカーボルト孔および前記一対の予備孔は、前記第2固定部の最も外側の領域に配置されている、請求項7乃至11のいずれか一項に記載の給水装置。
  13. 前記給水装置は逆流防止装置を更に備え、
    前記逆流防止装置の漏水を排水する排水管が設置される、
    請求項7乃至12のいずれか一項に記載の給水装置。
  14. 前記給水装置は、
    前記モータの可変速手段であるインバータと、
    前記ポンプを制御する制御部が格納された制御盤と、を更に備え、
    前記インバータは、前記ポンプの軸線方向に沿って前記モータに直列的に配置される、
    請求項7乃至13のいずれか一項に記載の給水装置。
JP2019018242A 2019-02-04 2019-02-04 ベースプレートおよび給水装置 Pending JP2020125713A (ja)

Priority Applications (1)

Application Number Priority Date Filing Date Title
JP2019018242A JP2020125713A (ja) 2019-02-04 2019-02-04 ベースプレートおよび給水装置

Applications Claiming Priority (1)

Application Number Priority Date Filing Date Title
JP2019018242A JP2020125713A (ja) 2019-02-04 2019-02-04 ベースプレートおよび給水装置

Publications (1)

Publication Number Publication Date
JP2020125713A true JP2020125713A (ja) 2020-08-20

Family

ID=72083779

Family Applications (1)

Application Number Title Priority Date Filing Date
JP2019018242A Pending JP2020125713A (ja) 2019-02-04 2019-02-04 ベースプレートおよび給水装置

Country Status (1)

Country Link
JP (1) JP2020125713A (ja)

Citations (5)

* Cited by examiner, † Cited by third party
Publication number Priority date Publication date Assignee Title
JP2002195167A (ja) * 2000-12-22 2002-07-10 Kawamoto Pump Mfg Co Ltd ポンプユニット用鋼板製ベース
JP2010001730A (ja) * 2008-05-23 2010-01-07 Fm Railing Kk 既設の地覆コンクリートにおける取替え用の橋梁用防護柵支柱
JP3164441U (ja) * 2010-06-30 2010-12-02 日本エフ・アール・ピー株式会社 設備機器設置用架台を支持する基礎台の構造
JP2015231903A (ja) * 2014-06-10 2015-12-24 東芝エレベータ株式会社 制御装置用プールボックス
JP2017227216A (ja) * 2016-06-21 2017-12-28 株式会社荏原製作所 給水装置

Patent Citations (5)

* Cited by examiner, † Cited by third party
Publication number Priority date Publication date Assignee Title
JP2002195167A (ja) * 2000-12-22 2002-07-10 Kawamoto Pump Mfg Co Ltd ポンプユニット用鋼板製ベース
JP2010001730A (ja) * 2008-05-23 2010-01-07 Fm Railing Kk 既設の地覆コンクリートにおける取替え用の橋梁用防護柵支柱
JP3164441U (ja) * 2010-06-30 2010-12-02 日本エフ・アール・ピー株式会社 設備機器設置用架台を支持する基礎台の構造
JP2015231903A (ja) * 2014-06-10 2015-12-24 東芝エレベータ株式会社 制御装置用プールボックス
JP2017227216A (ja) * 2016-06-21 2017-12-28 株式会社荏原製作所 給水装置

Similar Documents

Publication Publication Date Title
JP5807954B2 (ja) エンジン作業機
AU2017307124A1 (en) Tower bottom cooling device for wind power generator unit, and control method
JP2020125713A (ja) ベースプレートおよび給水装置
CN108808983B (zh) 一种电机散热机构及散热方法
CN117791933A (zh) 一种用于天然气加臭系统中的防爆电机
JP2009144620A (ja) 自動給水配管ユニット
JP2019206837A (ja) ポンプシステム
SE512070C2 (sv) Anordning för högtryckspumpning eller homogenisering av vätskor
JP2020020336A (ja) 給水装置
JP5231761B2 (ja) 給水装置
JP7162446B2 (ja) ポンプシステム
JP2019206839A (ja) ポンプシステム
JP4712234B2 (ja) 給水装置
JP6581806B2 (ja) ポンプユニット、給水装置
JP4033740B2 (ja) 給水装置の配管固定構造
JP2022053349A (ja) カバー
JP2001132623A (ja) 揚水装置
JP2018145873A (ja) 給水装置
JP7055737B2 (ja) 複数の電動機組立体を備えた駆動装置
JP2005057934A (ja) インバータ装置、キャビネット型の給水装置
JP3836059B2 (ja) 給水装置
JP7162447B2 (ja) ポンプシステム
JP2004092088A (ja) 給水装置
JP2005054731A (ja) キャビネット型の給水装置
JP2022053351A (ja) カバー、給水装置、および屋根部材をフレームに取り付ける方法

Legal Events

Date Code Title Description
A621 Written request for application examination

Free format text: JAPANESE INTERMEDIATE CODE: A621

Effective date: 20210909

A977 Report on retrieval

Free format text: JAPANESE INTERMEDIATE CODE: A971007

Effective date: 20220627

A131 Notification of reasons for refusal

Free format text: JAPANESE INTERMEDIATE CODE: A131

Effective date: 20220705

A521 Request for written amendment filed

Free format text: JAPANESE INTERMEDIATE CODE: A523

Effective date: 20220819

A02 Decision of refusal

Free format text: JAPANESE INTERMEDIATE CODE: A02

Effective date: 20221129

A521 Request for written amendment filed

Free format text: JAPANESE INTERMEDIATE CODE: A523

Effective date: 20230124

C60 Trial request (containing other claim documents, opposition documents)

Free format text: JAPANESE INTERMEDIATE CODE: C60

Effective date: 20230124

A911 Transfer to examiner for re-examination before appeal (zenchi)

Free format text: JAPANESE INTERMEDIATE CODE: A911

Effective date: 20230201

C21 Notice of transfer of a case for reconsideration by examiners before appeal proceedings

Free format text: JAPANESE INTERMEDIATE CODE: C21

Effective date: 20230207

A912 Re-examination (zenchi) completed and case transferred to appeal board

Free format text: JAPANESE INTERMEDIATE CODE: A912

Effective date: 20230331

C211 Notice of termination of reconsideration by examiners before appeal proceedings

Free format text: JAPANESE INTERMEDIATE CODE: C211

Effective date: 20230404