JP2018009822A - ゴムの耐摩耗性評価方法 - Google Patents

ゴムの耐摩耗性評価方法 Download PDF

Info

Publication number
JP2018009822A
JP2018009822A JP2016137238A JP2016137238A JP2018009822A JP 2018009822 A JP2018009822 A JP 2018009822A JP 2016137238 A JP2016137238 A JP 2016137238A JP 2016137238 A JP2016137238 A JP 2016137238A JP 2018009822 A JP2018009822 A JP 2018009822A
Authority
JP
Japan
Prior art keywords
test sample
wear
rubber
test
circumferential surface
Prior art date
Legal status (The legal status is an assumption and is not a legal conclusion. Google has not performed a legal analysis and makes no representation as to the accuracy of the status listed.)
Granted
Application number
JP2016137238A
Other languages
English (en)
Other versions
JP6794684B2 (ja
Inventor
剛 侯
Takeshi Ko
剛 侯
畑中 進
Susumu Hatanaka
畑中  進
Current Assignee (The listed assignees may be inaccurate. Google has not performed a legal analysis and makes no representation or warranty as to the accuracy of the list.)
Yokohama Rubber Co Ltd
Original Assignee
Yokohama Rubber Co Ltd
Priority date (The priority date is an assumption and is not a legal conclusion. Google has not performed a legal analysis and makes no representation as to the accuracy of the date listed.)
Filing date
Publication date
Application filed by Yokohama Rubber Co Ltd filed Critical Yokohama Rubber Co Ltd
Priority to JP2016137238A priority Critical patent/JP6794684B2/ja
Priority to PCT/JP2017/007440 priority patent/WO2018012023A1/ja
Priority to US16/316,027 priority patent/US10989641B2/en
Priority to DE112017003531.7T priority patent/DE112017003531B4/de
Priority to CN201780029998.XA priority patent/CN109154547B/zh
Priority to AU2017296469A priority patent/AU2017296469B2/en
Publication of JP2018009822A publication Critical patent/JP2018009822A/ja
Application granted granted Critical
Publication of JP6794684B2 publication Critical patent/JP6794684B2/ja
Active legal-status Critical Current
Anticipated expiration legal-status Critical

Links

Images

Classifications

    • GPHYSICS
    • G01MEASURING; TESTING
    • G01NINVESTIGATING OR ANALYSING MATERIALS BY DETERMINING THEIR CHEMICAL OR PHYSICAL PROPERTIES
    • G01N19/00Investigating materials by mechanical methods
    • G01N19/02Measuring coefficient of friction between materials
    • GPHYSICS
    • G01MEASURING; TESTING
    • G01NINVESTIGATING OR ANALYSING MATERIALS BY DETERMINING THEIR CHEMICAL OR PHYSICAL PROPERTIES
    • G01N3/00Investigating strength properties of solid materials by application of mechanical stress
    • G01N3/56Investigating resistance to wear or abrasion
    • GPHYSICS
    • G01MEASURING; TESTING
    • G01NINVESTIGATING OR ANALYSING MATERIALS BY DETERMINING THEIR CHEMICAL OR PHYSICAL PROPERTIES
    • G01N3/00Investigating strength properties of solid materials by application of mechanical stress
    • G01N3/08Investigating strength properties of solid materials by application of mechanical stress by applying steady tensile or compressive forces
    • G01N3/14Investigating strength properties of solid materials by application of mechanical stress by applying steady tensile or compressive forces generated by dead weight, e.g. pendulum; generated by springs tension

Landscapes

  • Physics & Mathematics (AREA)
  • Health & Medical Sciences (AREA)
  • Life Sciences & Earth Sciences (AREA)
  • Chemical & Material Sciences (AREA)
  • Analytical Chemistry (AREA)
  • Biochemistry (AREA)
  • General Health & Medical Sciences (AREA)
  • General Physics & Mathematics (AREA)
  • Immunology (AREA)
  • Pathology (AREA)
  • Engineering & Computer Science (AREA)
  • Automation & Control Theory (AREA)
  • Investigating Strength Of Materials By Application Of Mechanical Stress (AREA)

Abstract

【課題】信頼性の高い評価をすることが可能なゴムの耐摩耗性評価方法を提供する。【解決手段】駆動モータ5により回転する回転体4の円周面4aに向かって、ゴムの試験サンプルSを所定の定位置で付加力Fで圧着させつつ、試験サンプルSを付加力Fとは反対方向への移動を常に許容した状態で保持して、試験サンプルSを摩耗させる摩耗試験を行い、耐摩耗性を評価する際には、試験サンプルSの摩耗量Dに加えて、摩耗試験中の駆動モータ5の回転駆動に要する電力Wおよび試験サンプルSの温度Tの2項目うちの少なくとも1項目に基づいた指標を用いる。【選択図】図1

Description

本発明は、ゴムの耐摩耗性評価方法に関し、さらに詳しくは、信頼性の高い評価をすることが可能なゴムの耐摩耗性評価方法に関するものである。
従来、ゴムの耐摩耗性を評価する試験機として、DIN摩耗試験機やウィリアムス摩耗試験機が知られている。これら摩耗試験機は、基本的に試験によるゴムの摩耗量に基づいて耐摩耗性を評価する。
ゴムの耐摩耗性を評価する他の方法としては、例えば、タイヤのトレッドゴムを評価するために、回転する砥石の周面に、回転するゴム試験片の周面を押圧してゴム試験片を摩耗させる方法が提案されている(特許文献1参照)。この提案の方法では、試験片を回転させるトルクを所望のパターンに変化させる等、実際のタイヤに近似した条件で試験が実施できるようにしている。
しかしながら、従来の評価方法は、摩耗量という1つの評価項目だけに注目して耐摩耗性を評価するため、単独の評価項目だけでは、ゴムの耐摩耗性を十分に評価できないことがある。それ故、より信頼性の高い評価をするには改善の余地がある。
特開2008−185475号公報
本発明の目的は、信頼性の高い評価をすることが可能なゴムの耐摩耗性評価方法を提供することにある。
上記目的を達成するため本発明のゴムの耐摩耗性評価方法は、ゴムの試験サンプルに対して、駆動モータにより回転する回転体の円周面に向かう付加力を付与することにより、前記試験サンプルを所定の定位置で前記円周面に圧着しつつ、前記試験サンプルを前記付加力とは反対方向への移動を常に許容した状態で保持して、前記試験サンプルの前記円周面との接触面を摩耗させる摩耗試験を行い、前記試験サンプルの摩耗量に加えて、前記摩耗試験中の前記駆動モータの回転駆動に要する電力および前記試験サンプルの温度の2項目うちの少なくとも1項目に基づいて、前記試験サンプルの耐摩耗性を評価することを特徴とする。
本発明によれば、上記の摩耗試験を行って試験サンプルの耐摩耗性を評価する際には、前記試験サンプルの摩耗量だけでなく、前記摩耗試験中の前記駆動モータの回転駆動に要する電力および前記摩耗試験中の前記試験サンプルの温度の2項目うちの少なくとも1項目に基づく評価指標を用いるので、摩耗量のデータに偏重しない信頼性の高い評価をすることが可能になる。
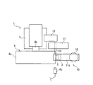
本発明によるゴムの耐摩耗性を評価するために用いる試験装置を正面視で例示する説明図である。 図1の試験装置の一部を平面視で例示する説明図である。 スティック・スリップ現象を例示する説明図である。 回転体の円周面の周速がある所定速度の場合の試験サンプルの摩耗量と付加力との関係を例示するグラフ図である。 円周面の周速を図3の3倍にした場合の摩耗量と付加力との関係を例示するグラフ図である。 摩耗量と見かけの摩擦エネルギとの関係を例示するグラフ図である。 円周面の周速と駆動モータの電力および試験サンプルの動摩擦係数との関係を例示するグラフ図である。 駆動モータの電力の変動を例示するグラフ図である。 試験サンプルの温度変化を例示するグラフ図である。
以下、本発明のゴムの耐摩耗性評価方法を、図に示した実施形態に基づいて説明する。
本発明では、図1〜図2に例示する試験装置1を使用する。この試験装置1は、試験対象とするゴムの試験サンプルSは環状体ではなく、ブロック状などの塊を用いる。この試験装置1は、試験サンプルSを保持する保持部3と、回転体4と、回転体4を回転駆動する駆動モータ5と、圧着機構10とを備えている。さらに、この試験装置1は、動力計6a、温度センサ6b、カメラ6c、制御部7、温調機構8およびスクレーパ16を備えていて、動力計6aおよび制御部7を除く構成部品がベース2の上に設置されたケーシング2aによって覆われている。
保持部3は試験サンプルSを着脱自在に保持する。保持部3は単数に限らず、複数設けることもできる。
回転体4は、円柱状または円筒状の研磨輪であり、試験サンプルSが接触する円周面4aを有している。円周面4aが試験サンプルSに対する研磨面となる。回転体4は、その円中心に設けられている回転軸4bを中心にして回転可能になっている。
円周面4aの材質や表面粗さ等は、試験条件によって適切な仕様が選択される。例えば、円周面4aの仕様が異なる複数の回転体4を用意しておき、必要な円周面4aの仕様に応じて回転体4を交換する構成にする。或いは、円周面4aのみ交換可能な回転体4にすることもできる。この場合は、必要な仕様の円周面4aを回転体4のコアに装着する。
駆動モータ5は制御部7に接続されている。制御部7によって回転体4(回転軸4b)の回転速度が所望の速度に制御される。回転体4の外径は既知なので、制御部7では円周面4aの周速Vが算出される。この実施形態では、動力計6aを介して駆動モータ5と制御部7とが接続されている。動力計6aは回転体4の回転駆動に要する駆動モータ5の電力Wを計測する。動力計6aによる計測データは制御部7に入力、記憶される。
圧着機構10は、保持部3に保持されている試験サンプルSに対して、円周面4aに向けた付加力Fを付与する。これにより、保持部3に保持されている試験サンプルSを、回転駆動されている回転体4に対して所定の定位置で円周面4aに圧着させる。圧着機構10はさらに、付加力Fと反対方向への試験サンプルSの移動を常に許容する構成になっている。
具体的には、この実施形態の圧着機構10は、保持部3が連結されたL字状の保持アーム11aと、保持アーム11aに一端が接続されたワイヤ12と、このワイヤ12の他端に接続された錘15とで構成されている。回転体4の回転軸4bと平行に配置されている支持軸14が、ベース2に立設されている支柱11を貫通して回転自在に支持されている。この支持軸14の一端部に保持アーム11aが固定され、他端部にはバランサー13が固定されている。
錘15の重量が、ワイヤ12を介して保持アーム11aに作用する。そのため、ワイヤ12の張力によって、保持アーム11aと一体化している保持部3は、試験サンプルSとともに、支持軸14を中心にして回転する。即ち、錘15の重量が保持部3に保持されている試験サンプルSに作用して、試験サンプルSに対して円周面4aに向けた付加力Fを付与する。
付加力Fの大きさは、錘15の重量を変更することで容易に変えることができる。或いは、保持アーム11aに対するワイヤ12の接続位置と支持軸14との水平距離や、バランサー13の重量を変更することで付加力Fの大きさを変更することもできる。また、錘15を取り除いた状態で付加力Fがゼロとなるようにバランサー13を設置することもできる。例えば、錘15を取り除いた状態の圧着機構10の自重を打ち消して付加力Fがゼロとなるように、バランサー13の重量と支持軸14からの距離を選択する。錘15を取り除いた状態で付加力Fがゼロとなるようにバランサー13を設置し、且つ、試験サンプルSと支持軸14との距離と、保持アーム11aに対するワイヤ12の接続位置と支持軸14との距離とを等しくすることにより、錘15の重量と付加力Fとを等しくすることができる。
円周面4aに対向する試験サンプルSの表面は、常に一定の大きさの付加力F(規定荷重)によって円周面4aに押圧されて接触した状態になる。付加力Fの向きは、回転体4の回転中心(回転軸4b)に向かう方向にすることが好ましい。この方向にすることで、付加力Fによって試験サンプルSを安定して円周面4aに押圧して接触させることができる。支持軸14を中心とした保持アーム11aの回転を円滑にするために、例えばベアリングを介して支持軸14を支柱11で支持するとよい。
ここで、試験サンプルSは、錘15の重量に基づいて円周面4aに向かって押圧されているだけである。そのため、保持アーム11aが支持軸14を中心に回転することで、試験サンプルSは付加力Fと反対方向に常時、移動が可能になっている。これに伴い、試験サンプルSに対して付加力Fと反対方向の力が作用すれば、試験サンプルSは円周面4aから離反する方向に移動することが可能である。
圧着機構10は、この実施形態に例示した構成に限定されない。圧着機構10は、保持部3に保持されている試験サンプルSに対して、円周面4aに向けた付加力Fを付与して所定の定位置で円周面4aに圧着させるとともに、付加力Fと反対方向への試験サンプルSの移動を常に許容する構成であれば、様々な構成を採用することができる。
この実施形態では、試験サンプルSが回転軸4bと同じ水平レベル位置で円周面4aに接触しているが、試験サンプルSが円周面4aに接触する位置(回転体4の周方向位置)はこれに限らない。例えば、回転軸4bの上方の位置で試験サンプルSが円周面4aに接触する構成にすることもできる。このように試験サンプルSを円周面4aに圧着させる所定の定位置は、適宜設定することができる。
温度センサ6bは、試験サンプルSの温度Tを検知する。温度センサ6bによる検知データは、制御部7に入力、記憶される。カメラ6cは、試験サンプルSの動きを撮影し、撮影した動画データは、制御部7に入力、記憶される。
温調機構8は、試験サンプルSを所望の温度に調整する。この実施形態では、動力計6aおよび制御部7を除く、多くの部材(部品)が、ベース2の上に設置されたケーシング2bによって覆われている。温調機構8はケーシング2bの上面に備わっている。温調機構8によってケーシング2bの内部温度を所定温度に調整することで、間接的に試験サンプルSの温度Tが調整される。
温調機構8は制御部7によって制御される。試験サンプルSを直接加温するヒータや、直接冷却する冷却器を温調機構8として採用することもできる。
スクレーパ16は例えばブラシ状であり、円周面4aに接触している。回転体4が回転することにより、円周面4aに付着している試験サンプルSの摩耗くず等は、スクレーパ16によって除去される。そのため、円周面4aを常に一定の表面粗さに維持し易くなるため、試験サンプルSのゴムの摩耗状態を精度よく把握するには有利になっている。
以下、この試験装置1を用いた本発明の評価方法を説明する。
図1、2に例示するように、保持部3には試験サンプルSを保持させる。円周面4aは所望の仕様に設定する。例えば、試験サンプルSとしてコンベヤベルトの上カバーゴム17aを評価する場合には、そのコンベヤベルトによって搬送する搬送物20の形状等に整合する表面粗さの円周面4aを用いる。また、試験サンプルSに所望の付加力Fが付与されるように錘15の重量を設定し、設定した所望の速度で回転体4を回転させる。また、温調機構8を作動させて試験サンプルSを所望の温度に設定する。これらの設定は例えば、試験サンプルSのゴムが実使用される条件に合致するように行われる。
このように設定した摩耗試験装置1では、図1に例示するように試験サンプルSには、回転する回転体4の円周面4aに向けた付加力Fが付与される。試験サンプルSは回転体4に対して所定の定位置で、付加力Fによって円周面4aに押圧されて接触する。回転体4は回転しているため、試験サンプルSと円周面4aとは摺動状態となり、試験サンプルSの円周面4aとの接触面は徐々に摩耗する。
一般に、対象物とゴムとが接触状態で相対移動して、ゴムに対して対象物が摺動している場合、両者は常に一様に接触している訳ではなく、いわゆるスティック・スリップ現象が生じている。スティック・スリップ現象では、ゴムが対象物から受ける力(摩擦力)に対抗して弾性変形する工程(粘り工程)と、この摩擦力に対抗できずに弾性変形が解消されて対象物に対してゴムが滑る工程(滑り工程)とを繰り返す。
この粘り工程と滑り工程とを繰り返すことにより、図3に例示するように、対象物が摺動するゴムRの表面には、摺動方向FDに所定のピッチPで摩耗の筋Lが形成される。このピッチPは滑り工程に対応し、摩耗の筋Lは粘り工程に対応する。
この試験装置1では、試験サンプルSは付加力Fと反対方向への移動が常に許容されているため、円周面4aで摺動している試験サンプルSでは、粘り工程と、滑り工程とを繰り返すことができる。即ち、スティック・スリップ現象を再現することが可能になっている。それ故、実使用に合致したゴムの摩耗状態を、より高精度で把握することが可能になる。例えば、コンベヤベルトの上カバーゴムの摩耗状態を精度よく把握できる。
本発明の評価方法では、上記のように試験サンプルSの摩耗試験を所定時間行い、試験サンプルSの摩耗量Dに基づいて試験サンプルSのゴムの耐摩耗性を評価する。さらには、この摩耗試験中の駆動モータ5の回転駆動に要する電力Wおよび試験サンプルSの温度Tの2項目うちの少なくとも1項目に基づいて、試験サンプルSの耐摩耗性を評価する。
摩耗量Dに基づいた評価としては、例えば、付加力Fおよび周速Vを異ならせて摩耗試験を行って摩耗量Dを測定する。これにより、図4、5に例示するデータが得られる。図4は、ゴム種の異なる複数の試験サンプルS(S1、S2、S3)について、周速Vがある所定速度の場合の摩耗量Dと付加力Fとの関係を例示している。図5は、図4の場合に対して、周速Vを3倍にしたことのみを異ならせて摩耗試験を行った場合の摩耗量Dと付加力Fとの関係を示している。
試験サンプルS1はNRリッチ配合のゴム、S2はSBRリッチ配合のゴム、S3はBRリッチ配合のゴムである。図4、5では摩耗量Dはある基準値で除した指数で示している。
図4、5のデータにより、いずれの試験サンプルSも、付加力F、周速Vが増大すると摩耗量Dが多くなることが分かる。また、試験サンプルSによってデータの傾きが異なっているので、ゴム種によって摩耗量Dに対する付加力F、周速Vの影響度が異なることが分かる。
試験サンプルSが付加力Fで周速Vの円周面4aに押圧されている場合の見かけの摩擦エネルギE1は、付加力F×周速V(E1=F×V)とみなして算出することができる。そこで例えば、制御部7によって、それぞれの試験サンプルSの見かけの摩擦エネルギE1を算出することで、図6に例示する見かけの摩擦エネルギE1と摩耗量Dとの関係を取得できる。図6のデータにより、ゴム種毎に、見かけの摩擦エネルギE1と摩耗量Dとの関係を把握することができる。
摩耗試験中の電力Wに基づく評価としては、例えば、動力計6aが検知した電力Wに基づいて、試験サンプルSの円周面4aに対する摩擦力Ffを算出する。そして、算出した摩擦力Ffの大きさを用いて耐摩耗性を評価する。
具体的には、試験サンプルSを回転体4の円周面4aに接触させた場合と、接触させない場合とで、回転体4を所定速度で回転駆動させる際に要するエネルギを比較し、両者の差が試験サンプルSと円周面4aとの摩擦によって生じている摩擦エネルギE2として算出できる。単位時間当たりの摩擦エネルギE2は、E2=摩擦力Ff×周速Vとして考えられるので、摩擦力Ff=E2/周速Vとなる。これにより、試験サンプルSの動摩擦係数μを、μ=摩擦力Ff/付加力Fとして算出できる。
図7では、それぞれの試験サンプルS1、S2、S3について、周速Vと電力Wの関係を実線で示し、周速Vと動摩擦係数μとの関係を一点鎖線で示している。図7のデータにより、ゴム種毎の摩耗特性を把握することができる。
摩耗試験中の電力Wの変動に基づいて、試験サンプルSに生じるスティック・スリップ現象の発生周期fを算出することもできる。図8に、試験サンプルS1の摩耗試験中に動力計6aにより計測した電力Wの経時変化を例示する。スティック・スリップ現象の粘り工程では電力Wが相対的に大きくなり、滑り工程では相対的に小さくなると考えられる。そのため、図8のデータのそれぞれのピークどうしの間隔が発生周期fになる。この摩耗試験での周速Vは既知なので、図3に例示した摩耗の筋Lが形成される所定ピッチPは、P=周速V/発生周期fとして算出できる。
この発生周期f(所定ピッチP)はゴム種によって異なる。また、発生周期f(所定ピッチP)の違いによって摩耗モードには違いが生じるため、ゴムの耐摩耗性を評価する1つの指標になる。
この試験装置1では、カメラ6cによって試験サンプルSの動きを撮影することで、スティック・スリップ現象における試験サンプルSの挙動を確認することができる。スティック・スリップ現象の発生周期fは例えば0.01秒〜0.03秒程度である。したがって、1秒で100コマ以上の撮影ができる高速度のカメラ6cを用いるとよい。
また、カメラ6cの撮影データにより、試験サンプルSの押圧方向の変形量を把握することもできる。したがって、試験サンプルSの変形量と付加力Fとの関係、この変形量と摩擦力Ffとの関係を把握することも可能になる。
摩耗試験中の試験サンプルSの温度Tに基づく評価としては、例えば、温度センサ6bにより検知した温度Tに基づいて、試験サンプルSが摩耗する際の熱エネルギE3を算出する。そして、算出した熱エネルギE3の大きさにより耐摩耗性を評価する。
図9は、試験サンプルS1、S2、S3について、同条件の摩耗試験での温度Tの経時変化を例示している。熱エネルギE3は、温度上昇した試験サンプルSの質量m、比熱c、上昇温度△Tとすれば、E3=m×c×△Tとなるので、例えば、制御部7により熱エネルギE3を算出することができる。
ゴム種によって熱エネルギE3の大きさは異なる。そして、ゴム種毎に耐摩耗性の温度依存性も異なるため、ゴム種毎に熱エネルギE3を把握することで、各ゴム種の耐摩耗性を精度よく評価するには有利になる。また、損失係数(tanδ)、貯蔵弾性率(E’)、損失弾性率(E’’)などで規定されるゴムの粘弾性が小さい程、熱エネルギE2が小さい傾向があるので、ゴムの粘弾性と耐摩耗性の関係を把握することもできる。
上述したように、本発明では所定の摩耗試験を行って、試験サンプルSの耐摩耗性を評価する際には、摩耗量Dだけでなく、上述した電力Wおよび試験サンプルSの温度Tの2項目うちの少なくとも1項目に基づいた評価指標を用いる。そのため、それぞれの評価指標による評価結果の整合性を確認することができる。これにより、摩耗量Dのデータに偏重しない信頼性の高い評価が可能になる。摩耗量Dに加えて、電力Wおよび試験サンプルSの温度Tの3項目に基づいてゴムの耐摩耗性を評価してもよい。
1 試験装置
2 ベース
3 保持部
4 回転体
4a 円周面
4b 回転軸
5 駆動モータ
6a 動力計
6b 温度センサ
6c カメラ
7 制御部
8 温調機構
9 投入機構
10 圧着機構
11 支柱
11a 保持アーム
12 ワイヤ
13 バランサー
14 支持軸
15 錘
16 スクレーパ
S(S1、S2、S3) 試験サンプル

Claims (5)

  1. ゴムの試験サンプルに対して、駆動モータにより回転する回転体の円周面に向かう付加力を付与することにより、前記試験サンプルを所定の定位置で前記円周面に圧着しつつ、前記試験サンプルを前記付加力とは反対方向への移動を常に許容した状態で保持して、前記試験サンプルの前記円周面との接触面を摩耗させる摩耗試験を行い、前記試験サンプルの摩耗量に加えて、前記摩耗試験中の前記駆動モータの回転駆動に要する電力および前記試験サンプルの温度の2項目うちの少なくとも1項目に基づいて、前記試験サンプルの耐摩耗性を評価することを特徴とするゴムの耐摩耗性評価方法。
  2. 前記摩耗量と前記付加力の大きさおよび前記円周面の周速に基づいて、前記試験サンプルの耐摩耗性を評価する請求項1に記載のゴムの耐摩耗性評価方法。
  3. 前記電力に基づいて、前記試験サンプルの前記円周面に対する摩擦力を算出し、この摩擦力の大きさに基づいて前記試験サンプルの耐摩耗性を評価する請求項1または請求項2に記載のゴムの耐摩耗性評価方法。
  4. 前記電力の変動に基づいて、前記試験サンプルに生じるスティック・スリップ現象の発生周期を算出し、この周期の大きさに基づいて前記試験サンプルの耐摩耗性を評価する請求項1〜3のいずれかに記載のゴムの耐摩耗性評価方法。
  5. 前記温度に基づいて、前記試験サンプルが摩耗する際の熱エネルギを算出し、この熱エネルギの大きさに基づいて前記試験サンプルの耐摩耗性を評価する請求項1〜4のいずれかに記載のゴムの耐摩耗性評価方法。
JP2016137238A 2016-07-12 2016-07-12 ゴムの耐摩耗性評価方法 Active JP6794684B2 (ja)

Priority Applications (6)

Application Number Priority Date Filing Date Title
JP2016137238A JP6794684B2 (ja) 2016-07-12 2016-07-12 ゴムの耐摩耗性評価方法
PCT/JP2017/007440 WO2018012023A1 (ja) 2016-07-12 2017-02-27 ゴムの耐摩耗性評価方法
US16/316,027 US10989641B2 (en) 2016-07-12 2017-02-27 Rubber wear resistance evaluation method
DE112017003531.7T DE112017003531B4 (de) 2016-07-12 2017-02-27 Verfahren zur Bewertung von Kautschukabriebbeständigkeit
CN201780029998.XA CN109154547B (zh) 2016-07-12 2017-02-27 橡胶的耐磨耗性评价方法
AU2017296469A AU2017296469B2 (en) 2016-07-12 2017-02-27 Method for evaluating wear resistance of rubber

Applications Claiming Priority (1)

Application Number Priority Date Filing Date Title
JP2016137238A JP6794684B2 (ja) 2016-07-12 2016-07-12 ゴムの耐摩耗性評価方法

Publications (2)

Publication Number Publication Date
JP2018009822A true JP2018009822A (ja) 2018-01-18
JP6794684B2 JP6794684B2 (ja) 2020-12-02

Family

ID=60952535

Family Applications (1)

Application Number Title Priority Date Filing Date
JP2016137238A Active JP6794684B2 (ja) 2016-07-12 2016-07-12 ゴムの耐摩耗性評価方法

Country Status (6)

Country Link
US (1) US10989641B2 (ja)
JP (1) JP6794684B2 (ja)
CN (1) CN109154547B (ja)
AU (1) AU2017296469B2 (ja)
DE (1) DE112017003531B4 (ja)
WO (1) WO2018012023A1 (ja)

Families Citing this family (10)

* Cited by examiner, † Cited by third party
Publication number Priority date Publication date Assignee Title
JP6743472B2 (ja) * 2016-04-22 2020-08-19 横浜ゴム株式会社 衝撃試験方法および装置
EP3489655B1 (en) * 2016-07-21 2022-04-20 Hitachi Metals, Ltd. Abrasion test apparatus
CN110887650B (zh) * 2019-11-29 2022-07-29 山东金麒麟股份有限公司 获取刹车片的耐高温范围的测试方法
CN112304760B (zh) * 2020-10-30 2022-12-16 广西玉柴机器股份有限公司 一种评估非金属垫片拉伸强度的方法
CN112284954B (zh) * 2020-11-02 2023-09-15 重庆交通职业学院 一种橡胶摩擦磨损实验台
CN112362454B (zh) * 2020-11-20 2022-10-04 中国石油天然气集团有限公司 一种钻具耐磨带实物性能检测评价装置和试验方法
CN113405899B (zh) * 2021-05-07 2023-11-03 安徽省江海橡塑制品有限责任公司 一种用于检测橡胶制品的装置
CN113624587B (zh) * 2021-07-30 2023-06-23 华电电力科学研究院有限公司 一种旋转式催化剂磨损强度检测装置及测试方法
US12130225B2 (en) * 2022-05-12 2024-10-29 Gm Cruise Holdings Llc Rotary seal testing apparatus
CN115326617B (zh) * 2022-07-21 2025-07-18 长春汽车检测中心有限责任公司 一种汽车车身耐磨性试验装置

Citations (5)

* Cited by examiner, † Cited by third party
Publication number Priority date Publication date Assignee Title
JPS61210926A (ja) * 1985-03-15 1986-09-19 Agency Of Ind Science & Technol 多連式摩擦摩耗試験機
JP2001242056A (ja) * 2000-02-28 2001-09-07 Bridgestone Corp 摩耗試験装置および摩耗試験方法
JP2004037286A (ja) * 2002-07-04 2004-02-05 Yokohama Rubber Co Ltd:The 室内タイヤ耐久試験方法
JP2013178163A (ja) * 2012-02-28 2013-09-09 Kayaba Ind Co Ltd プラスチック材料の評価方法
JP2016061597A (ja) * 2014-09-16 2016-04-25 横浜ゴム株式会社 摩耗試験装置および方法

Family Cites Families (17)

* Cited by examiner, † Cited by third party
Publication number Priority date Publication date Assignee Title
US1711866A (en) * 1927-06-01 1929-05-07 Grasselli Chemical Co Method of and apparatus for testing materials
US2990713A (en) * 1957-03-20 1961-07-04 American Viscose Corp Multi-purpose friction tester
US2929240A (en) * 1957-05-16 1960-03-22 Huber Corp J M Apparatus for testing materials for wear resistance
BE655226A (ja) * 1964-11-04 1965-05-04
JPS4824784B1 (ja) * 1970-10-09 1973-07-24
JPS4824784U (ja) 1971-07-27 1973-03-23
US3899917A (en) * 1973-12-06 1975-08-19 Frederick N Kisbany Laboratory wear resistance test machine for tires
US4995197A (en) * 1990-01-29 1991-02-26 Shieh Chiung Huei Method of abrading
US5689058A (en) * 1996-12-20 1997-11-18 Cooper Industries, Inc. Friction material evaluation apparatus
JP3320654B2 (ja) * 1998-05-08 2002-09-03 株式会社ブリヂストン ゴム摩耗度測定方法
EP1637863A1 (en) * 2004-09-20 2006-03-22 PIRELLI PNEUMATICI S.p.A. Method for calculating a friction-slippage curve for a tire
JP4963978B2 (ja) 2007-01-30 2012-06-27 株式会社ブリヂストン ゴム摩耗試験機、および、それを用いたタイヤトレッド用ゴムの摩耗試験方法
CN201004038Y (zh) 2007-02-05 2008-01-09 华南理工大学 一种橡胶磨耗测试设备
US9581534B2 (en) * 2010-07-09 2017-02-28 Tribis Engineering, Inc. Tribometer
JP6002462B2 (ja) * 2012-06-15 2016-10-05 横浜ゴム株式会社 コンベヤベルトの支持ローラ乗り越え抵抗力測定方法およびその装置
CN203164071U (zh) * 2013-03-18 2013-08-28 高铁检测仪器(东莞)有限公司 橡胶耐磨测试装置
CN105628528A (zh) * 2014-10-28 2016-06-01 南宁市生润科技有限公司 橡胶耐磨实验装置

Patent Citations (5)

* Cited by examiner, † Cited by third party
Publication number Priority date Publication date Assignee Title
JPS61210926A (ja) * 1985-03-15 1986-09-19 Agency Of Ind Science & Technol 多連式摩擦摩耗試験機
JP2001242056A (ja) * 2000-02-28 2001-09-07 Bridgestone Corp 摩耗試験装置および摩耗試験方法
JP2004037286A (ja) * 2002-07-04 2004-02-05 Yokohama Rubber Co Ltd:The 室内タイヤ耐久試験方法
JP2013178163A (ja) * 2012-02-28 2013-09-09 Kayaba Ind Co Ltd プラスチック材料の評価方法
JP2016061597A (ja) * 2014-09-16 2016-04-25 横浜ゴム株式会社 摩耗試験装置および方法

Also Published As

Publication number Publication date
US20190310175A1 (en) 2019-10-10
DE112017003531T5 (de) 2019-03-28
CN109154547B (zh) 2021-11-12
US10989641B2 (en) 2021-04-27
JP6794684B2 (ja) 2020-12-02
CN109154547A (zh) 2019-01-04
AU2017296469B2 (en) 2020-08-20
DE112017003531B4 (de) 2024-12-12
AU2017296469A1 (en) 2019-02-21
WO2018012023A1 (ja) 2018-01-18

Similar Documents

Publication Publication Date Title
JP2018009822A (ja) ゴムの耐摩耗性評価方法
JP7018938B2 (ja) ゴム摩耗を測定するための装置
US6494765B2 (en) Method and apparatus for controlled polishing
JP4527728B2 (ja) 摩耗試験機および試験方法
AU2016253804B2 (en) Abrasive wear test device and method
JP6821981B2 (ja) ゴムの摩耗試験装置
JP6531363B2 (ja) 摩耗試験装置および方法
CN102782814A (zh) 垫片状态化刮扫力矩模式化以达成恒定移除率
JP5534587B2 (ja) ゴム試験機
JP4299692B2 (ja) 摩擦試験装置
JP2001502807A (ja) 潤滑油の機能有効性を検出する方法
JP2011047906A (ja) 負荷試験装置
JP6844148B2 (ja) 摩耗試験装置
JP2012202926A (ja) 摩耗試験装置
JP3185975U (ja) ボール試験機
JP4538007B2 (ja) 摩擦計
JP2016133388A (ja) 摩耗試験機
JP2016045133A (ja) 摩擦特性測定装置および摩擦特性測定方法
TWI464378B (zh) A component testing device containing a ball
JP2016045134A (ja) 摩擦特性測定装置および摩擦特性測定方法
JP2012108077A (ja) 摩耗試験装置

Legal Events

Date Code Title Description
A621 Written request for application examination

Free format text: JAPANESE INTERMEDIATE CODE: A621

Effective date: 20190705

A131 Notification of reasons for refusal

Free format text: JAPANESE INTERMEDIATE CODE: A131

Effective date: 20200602

A521 Request for written amendment filed

Free format text: JAPANESE INTERMEDIATE CODE: A523

Effective date: 20200706

TRDD Decision of grant or rejection written
A01 Written decision to grant a patent or to grant a registration (utility model)

Free format text: JAPANESE INTERMEDIATE CODE: A01

Effective date: 20201013

A61 First payment of annual fees (during grant procedure)

Free format text: JAPANESE INTERMEDIATE CODE: A61

Effective date: 20201026

R150 Certificate of patent or registration of utility model

Ref document number: 6794684

Country of ref document: JP

Free format text: JAPANESE INTERMEDIATE CODE: R150

S531 Written request for registration of change of domicile

Free format text: JAPANESE INTERMEDIATE CODE: R313531

R350 Written notification of registration of transfer

Free format text: JAPANESE INTERMEDIATE CODE: R350

R250 Receipt of annual fees

Free format text: JAPANESE INTERMEDIATE CODE: R250

R250 Receipt of annual fees

Free format text: JAPANESE INTERMEDIATE CODE: R250

R250 Receipt of annual fees

Free format text: JAPANESE INTERMEDIATE CODE: R250