JP2017195437A - Pll周波数シンセサイザ - Google Patents

Pll周波数シンセサイザ Download PDF

Info

Publication number
JP2017195437A
JP2017195437A JP2016082947A JP2016082947A JP2017195437A JP 2017195437 A JP2017195437 A JP 2017195437A JP 2016082947 A JP2016082947 A JP 2016082947A JP 2016082947 A JP2016082947 A JP 2016082947A JP 2017195437 A JP2017195437 A JP 2017195437A
Authority
JP
Japan
Prior art keywords
capacitive element
phase difference
voltage value
capacitance
value
Prior art date
Legal status (The legal status is an assumption and is not a legal conclusion. Google has not performed a legal analysis and makes no representation as to the accuracy of the status listed.)
Granted
Application number
JP2016082947A
Other languages
English (en)
Other versions
JP6746161B2 (ja
Inventor
久保 俊一
Shunichi Kubo
俊一 久保
Current Assignee (The listed assignees may be inaccurate. Google has not performed a legal analysis and makes no representation or warranty as to the accuracy of the list.)
THine Electronics Inc
Original Assignee
THine Electronics Inc
Priority date (The priority date is an assumption and is not a legal conclusion. Google has not performed a legal analysis and makes no representation as to the accuracy of the date listed.)
Filing date
Publication date
Application filed by THine Electronics Inc filed Critical THine Electronics Inc
Priority to JP2016082947A priority Critical patent/JP6746161B2/ja
Publication of JP2017195437A publication Critical patent/JP2017195437A/ja
Application granted granted Critical
Publication of JP6746161B2 publication Critical patent/JP6746161B2/ja
Active legal-status Critical Current
Anticipated expiration legal-status Critical

Links

Images

Landscapes

  • Stabilization Of Oscillater, Synchronisation, Frequency Synthesizers (AREA)

Abstract

【課題】所望の伝達関数を容易に実現することができるPLL周波数シンセサイザを提供する。【解決手段】PLL周波数シンセサイザ1は、基準発振器10、位相比較部20、第1チャージポンプ30A、第2チャージポンプ30B、ループフィルタ40、電圧制御発振器50および分周器60を備える。電圧制御発振器50は、LC-VCOのタイプのものであって、制御電圧値に応じて変化する容量値を有する容量素子51a,51bを含む。第2チャージポンプ30Bは、位相比較部20から出力される位相差信号の値に応じて変化する容量値を有する容量素子31をAC結合容量素子として用いて、この容量素子31を介して位相差信号を出力する。電圧値Vでの容量素子51a,51bの容量値と容量素子31の容量値との比は、電圧値Vの一定範囲において電圧値Vによらず一定である。【選択図】図2

Description

本発明は、PLL周波数シンセサイザに関するものである。
一般に、PLL(Phase Locked Loop)周波数シンセサイザは、電圧制御発振器(Voltage Controlled Oscillator、VCO),位相比較部,チャージポンプおよびループフィルタを備え、これらによりループが構成されている。PLL周波数シンセサイザは、基準発振信号の周波数を定数倍した周波数を有する発振信号を出力することができる。
PLL周波数シンセサイザは以下のように動作する。電圧制御発振器に制御電圧値が入力され、この制御電圧値に応じた周波数を有する発振信号が電圧制御発振器から出力される。電圧制御発振器から出力される発振信号、または、この発振信号を分周した信号が、帰還発振信号として位相比較部に入力される。また、基準発振信号も位相比較部に入力される。位相比較部において、これら帰還発振信号と基準発振信号との位相差が検出されて、この検出された位相差を表す位相差信号が出力される。
この位相差信号を入力するチャージポンプから、この位相差信号が表す位相差に応じた充放電電流が出力される。この充放電電流はループフィルタに入力される。例えば、ループフィルタは、互いに直列的に接続された抵抗器および容量素子を含み、また、これらに対して並列的に設けられた他の容量素子をも含む。ループフィルタから出力される制御電圧値が電圧制御発振器に入力される。このようにして、PLL周波数シンセサイザから、基準発振信号の周波数を定数倍した周波数を有する発振信号が出力される。
このように構成されるPLL周波数シンセサイザの伝達関数は、積分項および比例項を含む。ループフィルタにおいて抵抗器と容量素子とが互いに並列的に設けられていると、ループフィルタの時定数を小さくすることが困難である。それ故、このPLL周波数シンセサイザは、出力される発振信号の周波数を高速に切り替えることが要求される用途(例えばBang-Bang-CDR)には不向きである。仮に、Bang-Bang-CDR(Clock Data Recovery)において周波数切り替えが高速に行われないとすると、帯域が要求仕様を満たすことができず、或いは、位相ロックを正確に行うことができない場合がある。
このような問題点を解消する為の発明が特許文献1に開示されている。この文献に開示された発明のPLL周波数シンセサイザは、AC結合容量素子を介して位相差信号をループフィルタに与えることで比例項の改善を図り、これにより発振信号の周波数切り替えの高速化を図る。
特開2010−272968号公報
ところで、電圧制御発振器は、Ring-VCO,LC-VCOおよびVCXOの3タイプに大別される。Ring-VCOは、奇数個のインバータ回路をリング状に接続した構成を有し、インバータの個数および遅延に応じた周波数の発振信号を出力する。LC-VCOは、インダクタ素子(コイル)および容量素子を含み、制御電圧値によって容量素子の容量値を変化させて発振信号の周波数を調整する。また、VCXOは、LC-VCOにおいてインダクタ素子に替えて水晶発振子を含む構成としたものである。
これらのうち、LC-VCOは、他のタイプのものと比較すると、位相雑音特性や高周波特性の点で優れている。それ故、PLL周波数シンセサイザにおいても電圧制御発振器としてLC-VCOが用いられるのが好ましい。
しかしながら、本発明者は、特許文献1に開示された発明のPLL周波数シンセサイザにおいて電圧制御発振器としてLC-VCOを用いると、実際の伝達関数が設計どおりとならない場合があり、要求される仕様を満たさない場合があることを見出した。
本発明は、上記問題点を解消する為になされたものであり、所望の伝達関数を容易に実現することができるPLL周波数シンセサイザを提供することを目的とする。
本発明のPLL周波数シンセサイザは、(1) 制御電圧値を入力し、この制御電圧値に応じて変化する容量値を有する第1容量素子を含み、この第1容量素子の容量値に応じた周波数を有する発振信号を出力する電圧制御発振器と、(2) 電圧制御発振器から出力される発振信号または該発振信号を分周した信号を帰還発振信号として入力するとともに、基準発振信号をも入力し、これら帰還発振信号と基準発振信号との間の位相差を検出して、この位相差を表す位相差信号を出力する位相比較部と、(3) 位相比較部から出力される位相差信号を入力し、この位相差信号が表す位相差に応じた充放電電流を出力する第1チャージポンプと、(4) 位相比較部から出力される位相差信号を入力し、この位相差信号の値に応じて変化する容量値を有する第2容量素子をAC結合容量素子として用いて、この第2容量素子を介して位相差信号を出力する第2チャージポンプと、(5) 第1チャージポンプから出力される充放電電流および第2チャージポンプから出力される位相差信号に基づいて設定される第1容量素子と第2容量素子との接続点の電圧値を制御電圧値として電圧制御発振器へ与えるループフィルタと、を備える。さらに、電圧値Vでの第1容量素子の容量値と第2容量素子の容量値との比は、電圧値Vの一定範囲において電圧値Vによらず一定である。
本発明において、第1容量素子および第2容量素子それぞれが、バラクタであるのが好適であり、或いは、MOSトランジスタのドレインとソースとが互いに接続された構成を有するのも好適である。
本発明において、電圧制御発振器が、第1容量素子と接続されたDCカット容量素子と、第1容量素子とDCカット容量素子との接続点に接続された出力端を有する第1インバータ回路とを含み、第2チャージポンプが、第2容量素子の前段に設けられた第2インバータ回路を含み、第1インバータ回路を構成するPMOSトランジスタおよびNMOSトランジスタの双方が動作時にオン状態とされるのが好適である。
本発明のPLL周波数シンセサイザは、所望の伝達関数を容易に実現することができる。
図1は、PLL周波数シンセサイザ1の構成を示す図である。 図2は、PLL周波数シンセサイザ1の要部の構成を示す図である。 図3は、容量素子51a,51bの構成例を示す図である。 図4は、PLL周波数シンセサイザ1の位相領域モデルを示す図である。
以下、添付図面を参照して、本発明を実施するための形態を詳細に説明する。なお、図面の説明において同一の要素には同一の符号を付し、重複する説明を省略する。本発明は、これらの例示に限定されるものではなく、特許請求の範囲によって示され、特許請求の範囲と均等の意味および範囲内でのすべての変更が含まれることが意図される。
図1は、PLL周波数シンセサイザ1の構成を示す図である。PLL周波数シンセサイザ1は、基準発振器10、位相比較部20、チャージポンプ30、ループフィルタ40、電圧制御発振器50および分周器60を備える。
基準発振器10は、例えば水晶振動子を含み、高精度に安定化された一定周波数の基準発振信号を位相比較部20へ出力する。位相比較部20は、この基準発振信号を入力する。また、位相比較部20は、分周器60から出力される帰還発振信号を入力する。位相比較部20は、これら帰還発振信号と基準発振信号との間の位相差を検出して、この位相差を表す位相差信号をチャージポンプ30へ出力する。位相差信号は、基準発振信号および帰還発振信号のうち何れの信号の位相が進んでいるかを表す。
チャージポンプ30は、位相比較部20から出力される位相差信号を入力して、この位相差信号が表す位相差に応じた充放電電流をループフィルタ40へ出力する。チャージポンプ30からループフィルタ40へ出力へ出力される充放電電流は、基準発振信号および帰還発振信号のうち何れの信号の位相が進んでいるかに応じて極性が異なる。ループフィルタ40は、チャージポンプ30から出力される充放電電流を入力して充放電される容量素子を含み、この充放電量に応じて増減される制御電圧値を電圧制御発振器50へ出力する。ループフィルタ40は、容量素子の他に抵抗器をも含む。
電圧制御発振器50は、ループフィルタ40から出力される制御電圧値を入力し、この制御電圧値に応じた周波数を有する発振信号を出力する。分周器60は、電圧制御発振器50から出力される発振信号を入力し、この発振信号をN分周して帰還発振信号を生成し、この帰還発振信号を位相比較部20へ出力する。
位相比較部20、チャージポンプ30、ループフィルタ40、電圧制御発振器50および分周器60はループを構成している。このループにおいて、位相比較部20に入力される基準発振信号と帰還発振信号との位相差が小さくなるように、チャージポンプ30からループフィルタ40へ充放電電流が入力される。そして、このループの動作が安定した状態では、電圧制御発振器50から出力される発振信号は、基準発振信号の周波数をN倍した周波数を有する。なお、分周器60は設けられなくてもよく、この場合には、電圧制御発振器50から出力される発振信号は、基準発振信号の周波数と同じ周波数を有する。
図2は、PLL周波数シンセサイザ1の要部の構成を示す図である。この図には、チャージポンプ30として第1チャージポンプ30Aおよび第2チャージポンプ30Bが示され、また、ループフィルタ40および電圧制御発振器50が示されている。ループフィルタ40は、容量素子41およびアンプ42を含む他、電圧制御発振器50の第1容量素子51a,51bをも含んで構成される。
第1チャージポンプ30Aは、位相比較部20から出力される位相差信号を入力し、この位相差信号が表す位相差に応じた充放電電流Ipを出力する。
第2チャージポンプ30Bは、第2容量素子31、第2インバータ回路32および第3インバータ回路33を含む。第2チャージポンプ30Bは、位相比較部20から出力される位相差信号を入力し、インバータ回路33,32からなるバッファを経た位相差信号を、容量素子31を介して出力する。容量素子31はAC結合容量素子として用いられる。
容量素子41は、第1チャージポンプ30Aの出力端と接地電位端との間に設けられている。アンプ42は、2つの入力端および1つの出力端を有し、一方の入力端に容量素子41の電圧値が入力され、他方の入力端が出力端に接続されている。アンプ42は、ボルテージフォロワ構成となっている。アンプ42は、容量素子41の電圧値に応じた電圧値を出力端から出力する。
容量素子51a,51bと容量素子31との接続点の電圧値Vcは、第1チャージポンプ30Aから出力される充放電電流Ipおよび第2チャージポンプから出力される位相差信号に基づいて設定される。ループフィルタ40は、この接続点の電圧値を制御電圧値として電圧制御発振器50へ与える。
電圧制御発振器50は、LC-VCOのタイプのものである。電圧制御発振器50は、第1容量素子51a,51b、DCカット容量素子52a,52b、インダクタ素子53a,53b、NMOSトランジスタ54a,54b、可変容量部55a,55b、および、第1インバータ回路56a,56bを含む。
容量素子51aと容量素子51bとは互いに同じ電気的特性を有する。DCカット容量素子52aとDCカット容量素子52bとは互いに同じ電気的特性を有する。インダクタ素子53aとインダクタ素子53bとは互いに同じ電気的特性を有する。NMOSトランジスタ54aとNMOSトランジスタ54bとは互いに同じ電気的特性を有する。可変容量部55aと可変容量部55bとは互いに同じ電気的特性を有する。また、インバータ回路56aとインバータ回路56bとは互いに同じ電気的特性を有する。
容量素子51a、DCカット容量素子52aおよびインダクタ素子53aは、直列的に順に接続されている。容量素子51aの一端は制御電圧値Vcが入力される。インダクタ素子53aの一端は電源電位VDDが与えられる。NMOSトランジスタ54aのドレインおよび可変容量部55aの一端は、DCカット容量素子52aとインダクタ素子53aとの接続点に接続されている。NMOSトランジスタ54aのソースおよび可変容量部55aの他端は、接地電位が与えられる。
容量素子51b、DCカット容量素子52bおよびインダクタ素子53bは、直列的に順に接続されている。容量素子51bの一端は制御電圧値Vcが入力される。インダクタ素子53bの一端は電源電位VDDが与えられる。NMOSトランジスタ54bのドレインおよび可変容量部55bの一端は、DCカット容量素子52bとインダクタ素子53bとの接続点に接続されている。NMOSトランジスタ54bのソースおよび可変容量部55bの他端は、接地電位が与えられる。
NMOSトランジスタ54aのゲートは、NMOSトランジスタ54bのドレインと接続されている。NMOSトランジスタ54bのゲートは、NMOSトランジスタ54aのドレインと接続されている。
可変容量部55a,55bそれぞれは、直列的に接続された容量素子およびスイッチを1組として、複数組が並列的に設けられた構成を有している。可変容量部55a,55bそれぞれは、複数のスイッチのうちオン状態のスイッチの個数に応じた容量値を有する。
インバータ回路56aの出力端は、容量素子51aとDCカット容量素子52aとの接続点に接続されている。インバータ回路56aは、容量素子51aとDCカット容量素子52aとの接続点を所定のバイアス電位に設定するものである。インバータ回路56aを構成するPMOSトランジスタおよびNMOSトランジスタの双方は動作時にオン状態とされる。
インバータ回路56bの出力端は、容量素子51bとDCカット容量素子52bとの接続点に接続されている。インバータ回路56bは、容量素子51bとDCカット容量素子52bとの接続点を所定のバイアス電位に設定するものである。インバータ回路56bを構成するPMOSトランジスタおよびNMOSトランジスタの双方は動作時にオン状態とされる。
容量素子51a,51bそれぞれは、制御電圧値Vcに応じて変化する容量値を有する。容量素子51a,51bそれぞれは、バラクタであってもよいし、図3に示されるようにMOSトランジスタのドレインとソースとが互いに接続された構成を有するものであってもよい。後者の場合、ドレインとソースとの接続点を一端とし、ゲートを他端とする容量素子が構成される。
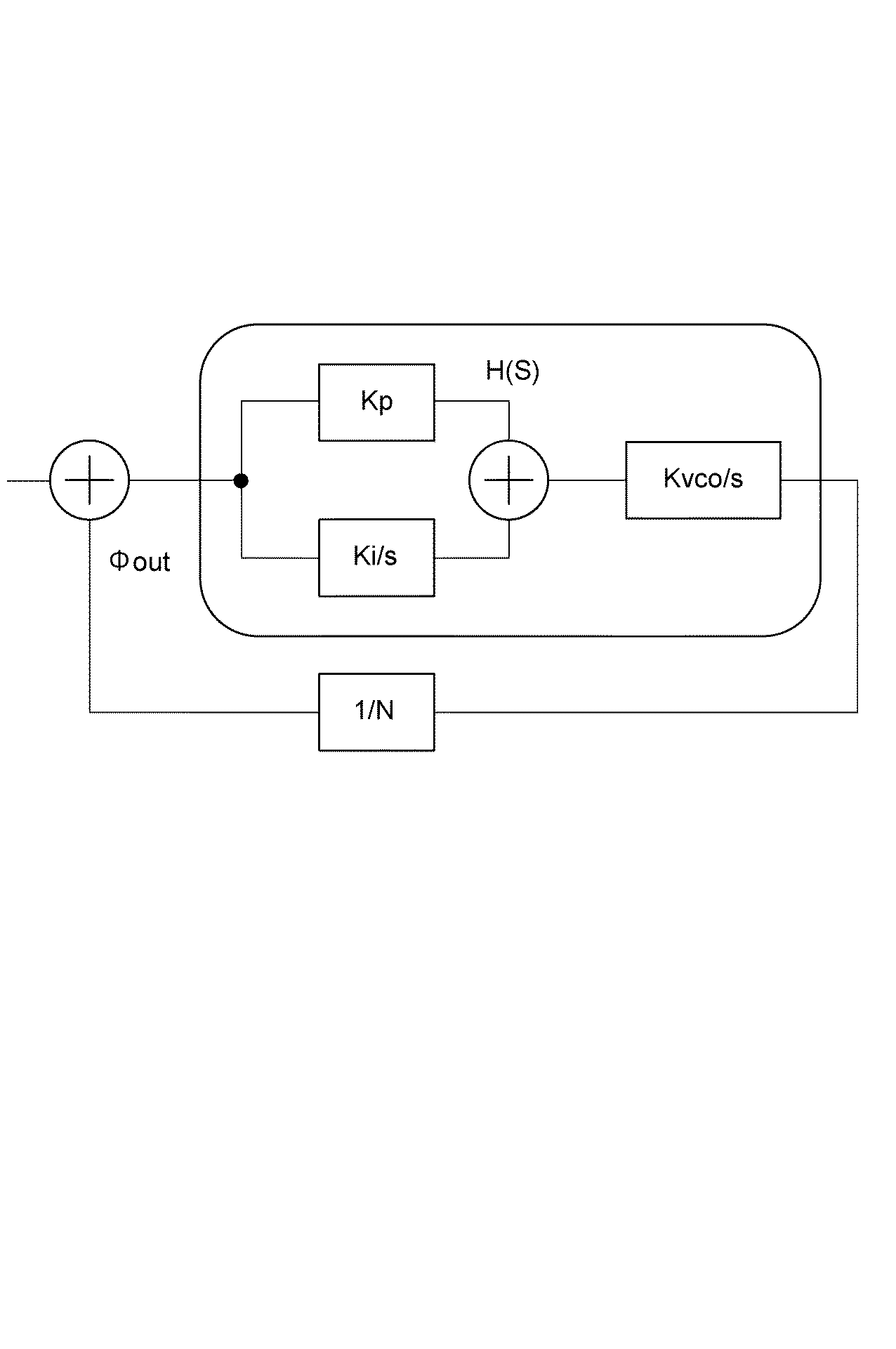
図4は、PLL周波数シンセサイザ1の位相領域モデルを示す図である。PLL周波数シンセサイザ1のオープンループ特性H(s)は下記(1)式で表される。Kvcoは、電圧制御発振器50の特性(制御電圧値に対する発振信号の周波数の依存性)を示す。Kpは、ループフィルタ40の比例項である。Kiは、ループフィルタ40の積分項である。
Figure 2017195437
第2チャージポンプ30Bの容量素子31の容量値をC31とし、電圧制御発振器50の容量素子51a,51bの容量値をC51とする。このとき、比例項Kpは下記(2)式で表される。一般に容量素子31の容量値C31と比べると容量素子51a,51bの容量値C51は非常に大きいので、(2)式は下記(3)式で近似される。
Figure 2017195437
Figure 2017195437
電圧制御発振器50の容量素子51a,51bの容量値C51は制御電圧値Vcに応じて変化する。もし、第2チャージポンプ30Bの容量素子31が例えばMOM(Metal-Oxide-Metal)容量であると、容量素子31の容量値C31は電圧値に依らず一定である。この場合、制御電圧値Vcが変化すると、上記(2)式または(3)式で表される比例項Kpも変化する。制御電圧値Vcによって比例項Kpが変化すると、ジッタが増加する問題が生じ、また、位相合わせが正しく行えなくなる問題が生じて、電圧制御発振器50から出力される発振信号をクロックとして用いる回路が正しく動作しない可能性がある。
そこで、本実施形態では、第2チャージポンプ30Bの容量素子31は、電圧値に応じて変化する容量値を有するものとされる。容量素子31は、バラクタであってもよいし、図3に示されるようにMOSトランジスタのドレインとソースとが互いに接続された構成を有するものであってもよい。
容量素子51a,51bおよび容量素子31それぞれの電気的特性は互いに同じである。容量素子51a,51bおよび容量素子31それぞれに与えられる電圧値をVとしたとき、電圧値Vでの容量素子51a,51bの容量値C51(V)と容量素子31の容量値C31(V)との比(C51(V)/C31(V))は、電圧値Vの一定範囲(実際の動作における制御電圧値の範囲)において電圧値Vによらず一定である。
本実施形態では、このようにすることで、制御電圧値Vcが変化しても、上記(2)式または(3)式で表される比例項Kpは一定である。したがって、ジッタの増加が抑制され、また、位相合わせが正しく行われて、電圧制御発振器50から出力される発振信号をクロックとして用いる回路の誤動作が抑制される。したがって、所望の伝達関数を容易に実現することができる。
本発明者による実験によれば、容量素子51a,51bがバラクタであって容量素子31がMOM容量である場合(比較例)では、制御電圧値Vcは113mV±17mV(16%誤差)であった。これに対して、容量素子51a,51bおよび容量素子31がバラクタである場合(実施例)では、制御電圧値Vcは105mV±2mV(2%誤差)であった。このように、比較例と比べて実施例では制御電圧値Vcは安定したものとなった。
また、本実施形態では、第2チャージポンプ30Bにおいて容量素子31の前段にインバータ回路32が設けられる。その結果、第2チャージポンプ30Bの出力信号は、電源電位または接地電位からのノイズの影響を受ける場合がある。そこで、電圧制御発振器50においては、容量素子51aとDCカット容量素子52aとの接続点がインバータ回路56aにより所定のバイアス電位に設定され、容量素子51bとDCカット容量素子52bとの接続点がインバータ回路56bにより所定のバイアス電位に設定される。インバータ回路56a,56bそれぞれを構成するPMOSトランジスタおよびNMOSトランジスタの双方は動作時にオン状態とされる。このようなインバータ回路56a,56bが設けられることにより、電源電位または接地電位のノイズがバイアス電位に流れ込んで、第2チャージポンプ30Bの出力信号におけるノイズの影響が低減される。
本実施形態の上記の説明では、ループフィルタ40が容量素子41およびアンプ42を含む構成とした。ループフィルタ40がアンプ42を含む場合、消費電力や半導体基板上の面積が大きくなり、また、ノイズが大きくなってジッタ増加の要因となる。そこで、電圧制御発振器50の容量素子51a,51bの容量値C51が十分に大きい場合、容量素子41を容量素子51a,51bで共用するとともに、アンプ42を設けない構成としてもよい。このようにすることで、消費電力や半導体基板上の面積を小さくすることができ、また、ジッタを低減することができる。
本発明は、上記実施形態に限定されるものではなく、種々の変形が可能である。例えば、電圧制御発振器は、様々な構成のものがあり、上記実施形態で説明した構成とは異なる構成のものであってもよい。
1…PLL周波数シンセサイザ、10…基準発振器、20…位相比較部、30…チャージポンプ、30A…第1チャージポンプ、30B…第2チャージポンプ、31…第2容量素子、32…第2インバータ回路、40…ループフィルタ、41…容量素子、42…アンプ、50…電圧制御発振器、51a,51b…第1容量素子、52a,52b…DCカット容量素子、53a,53b…インダクタ素子、54a,54b…NMOSトランジスタ、55a,55b…可変容量部、56a,56b…第1インバータ回路、60…分周器。

Claims (4)

  1. 制御電圧値を入力し、この制御電圧値に応じて変化する容量値を有する第1容量素子を含み、この第1容量素子の容量値に応じた周波数を有する発振信号を出力する電圧制御発振器と、
    前記電圧制御発振器から出力される発振信号または該発振信号を分周した信号を帰還発振信号として入力するとともに、基準発振信号をも入力し、これら帰還発振信号と基準発振信号との間の位相差を検出して、この位相差を表す位相差信号を出力する位相比較部と、
    前記位相比較部から出力される位相差信号を入力し、この位相差信号が表す位相差に応じた充放電電流を出力する第1チャージポンプと、
    前記位相比較部から出力される位相差信号を入力し、この位相差信号の値に応じて変化する容量値を有する第2容量素子をAC結合容量素子として用いて、この第2容量素子を介して前記位相差信号を出力する第2チャージポンプと、
    前記第1チャージポンプから出力される充放電電流および前記第2チャージポンプから出力される位相差信号に基づいて設定される前記第1容量素子と前記第2容量素子との接続点の電圧値を前記制御電圧値として前記電圧制御発振器へ与えるループフィルタと、
    を備え、
    電圧値Vでの前記第1容量素子の容量値と前記第2容量素子の容量値との比は、電圧値Vの一定範囲において電圧値Vによらず一定である、
    PLL周波数シンセサイザ。
  2. 前記第1容量素子および前記第2容量素子それぞれがバラクタである、
    請求項1に記載のPLL周波数シンセサイザ。
  3. 前記第1容量素子および前記第2容量素子それぞれが、MOSトランジスタのドレインとソースとが互いに接続された構成を有する、
    請求項1に記載のPLL周波数シンセサイザ。
  4. 前記電圧制御発振器が、前記第1容量素子と接続されたDCカット容量素子と、前記第1容量素子と前記DCカット容量素子との接続点に接続された出力端を有する第1インバータ回路とを含み、
    前記第2チャージポンプが、前記第2容量素子の前段に設けられた第2インバータ回路を含み、
    前記第1インバータ回路を構成するPMOSトランジスタおよびNMOSトランジスタの双方が動作時にオン状態とされる、
    請求項1〜3の何れか1項に記載のPLL周波数シンセサイザ。
JP2016082947A 2016-04-18 2016-04-18 Pll周波数シンセサイザ Active JP6746161B2 (ja)

Priority Applications (1)

Application Number Priority Date Filing Date Title
JP2016082947A JP6746161B2 (ja) 2016-04-18 2016-04-18 Pll周波数シンセサイザ

Applications Claiming Priority (1)

Application Number Priority Date Filing Date Title
JP2016082947A JP6746161B2 (ja) 2016-04-18 2016-04-18 Pll周波数シンセサイザ

Publications (2)

Publication Number Publication Date
JP2017195437A true JP2017195437A (ja) 2017-10-26
JP6746161B2 JP6746161B2 (ja) 2020-08-26

Family

ID=60155593

Family Applications (1)

Application Number Title Priority Date Filing Date
JP2016082947A Active JP6746161B2 (ja) 2016-04-18 2016-04-18 Pll周波数シンセサイザ

Country Status (1)

Country Link
JP (1) JP6746161B2 (ja)

Citations (3)

* Cited by examiner, † Cited by third party
Publication number Priority date Publication date Assignee Title
JPH0232240U (ja) * 1988-08-24 1990-02-28
JPH10233682A (ja) * 1997-02-20 1998-09-02 Nec Corp 制御電圧生成回路、それを備えたpll回路およびそれを備えたcd−romドライブ
JP2011009849A (ja) * 2009-06-23 2011-01-13 Panasonic Corp Pll周波数シンセサイザ

Patent Citations (3)

* Cited by examiner, † Cited by third party
Publication number Priority date Publication date Assignee Title
JPH0232240U (ja) * 1988-08-24 1990-02-28
JPH10233682A (ja) * 1997-02-20 1998-09-02 Nec Corp 制御電圧生成回路、それを備えたpll回路およびそれを備えたcd−romドライブ
JP2011009849A (ja) * 2009-06-23 2011-01-13 Panasonic Corp Pll周波数シンセサイザ

Also Published As

Publication number Publication date
JP6746161B2 (ja) 2020-08-26

Similar Documents

Publication Publication Date Title
US7298183B2 (en) High frequency divider circuits and methods
CN105743493B (zh) 具有频率控制环路的振荡器
US20140085011A1 (en) Supply regulated voltage controlled oscillator including active loop filter and phase locked loop using the same
JP2001119296A (ja) Pll回路
KR101252048B1 (ko) 자기잡음제거 전압제어발진기를 이용한 주파수-위상고정루프
CN107528567B (zh) 注入锁定振荡器及包括其的半导体器件
JP5876368B2 (ja) 改良された帯域幅を備える電圧制御発振器を有する位相同期ループ回路
CN104601168A (zh) 自偏置锁相环
CN110784177A (zh) 电压控制振荡器、pll电路和cdr装置
US8547150B2 (en) Phase-locked loop with two negative feedback loops
US9407137B2 (en) Charge pump circuit and PLL circuit
KR20120012386A (ko) 락 검출 회로 및 이를 포함하는 위상 동기 루프
JP5053413B2 (ja) 同期回路
US8786328B2 (en) RF logic divider
US8970311B2 (en) Voltage-controlled oscillator with amplitude and frequency independent of process variations and temperature
JP4636107B2 (ja) Pll回路
JP6746161B2 (ja) Pll周波数シンセサイザ
US7391275B2 (en) Circuits and methods for a ring oscillator with adjustable delay and/or resonator tank stage
JP4510039B2 (ja) 位相同期回路
US6985045B2 (en) Gain control circuits for voltage controlled oscillators
US20090206893A1 (en) Charge pump circuit and pll circuit
US8598958B1 (en) Temperature and/or voltage independent voltage controlled oscillator with programmable gain and/or output frequency range
US20100026397A1 (en) Pll circuit
JP2018074231A (ja) 位相同期ループ
CN112886962A (zh) 五倍频器及其方法

Legal Events

Date Code Title Description
A621 Written request for application examination

Free format text: JAPANESE INTERMEDIATE CODE: A621

Effective date: 20190416

A521 Request for written amendment filed

Free format text: JAPANESE INTERMEDIATE CODE: A523

Effective date: 20190524

A977 Report on retrieval

Free format text: JAPANESE INTERMEDIATE CODE: A971007

Effective date: 20191211

A131 Notification of reasons for refusal

Free format text: JAPANESE INTERMEDIATE CODE: A131

Effective date: 20200107

A521 Request for written amendment filed

Free format text: JAPANESE INTERMEDIATE CODE: A523

Effective date: 20200226

TRDD Decision of grant or rejection written
A01 Written decision to grant a patent or to grant a registration (utility model)

Free format text: JAPANESE INTERMEDIATE CODE: A01

Effective date: 20200721

A61 First payment of annual fees (during grant procedure)

Free format text: JAPANESE INTERMEDIATE CODE: A61

Effective date: 20200731

R150 Certificate of patent or registration of utility model

Ref document number: 6746161

Country of ref document: JP

Free format text: JAPANESE INTERMEDIATE CODE: R150

R250 Receipt of annual fees

Free format text: JAPANESE INTERMEDIATE CODE: R250

R250 Receipt of annual fees

Free format text: JAPANESE INTERMEDIATE CODE: R250

R250 Receipt of annual fees

Free format text: JAPANESE INTERMEDIATE CODE: R250