JP2017191024A - 画像用基準光点照射装置 - Google Patents
画像用基準光点照射装置 Download PDFInfo
- Publication number
- JP2017191024A JP2017191024A JP2016080960A JP2016080960A JP2017191024A JP 2017191024 A JP2017191024 A JP 2017191024A JP 2016080960 A JP2016080960 A JP 2016080960A JP 2016080960 A JP2016080960 A JP 2016080960A JP 2017191024 A JP2017191024 A JP 2017191024A
- Authority
- JP
- Japan
- Prior art keywords
- reference light
- subject
- light spot
- distance
- image
- Prior art date
- Legal status (The legal status is an assumption and is not a legal conclusion. Google has not performed a legal analysis and makes no representation as to the accuracy of the status listed.)
- Pending
Links
Images
Landscapes
- Length Measuring Devices By Optical Means (AREA)
- Measurement Of Optical Distance (AREA)
- Optical Radar Systems And Details Thereof (AREA)
Abstract
【課題】撮影面がヨー方向および/またはピッチ方向に傾斜している場合においても、撮影した画像からの被写体の寸法読み取りを補助する基準光点を被写体に照射する画像用基準光点照射装置を提供する。【解決手段】画像用基準光点照射装置10は、被写体Tに第1のレーザ光r1を照射し、該被写体T上に第1の基準光点p1を生成するとともに該第1の基準光点p1までの距離を測定する第1の測距部21と、被写体Tに第2のレーザ光r2を照射し、該被写体T上に第2の基準光点p2を生成するとともに該第2の基準光点p2までの距離を測定する第2の測距部22と、被写体Tに第3のレーザ光r3を照射し、該被写体T上に第3の基準光点p3を生成するとともに該第3の基準光点p3までの距離を測定する第3の測距部23と、を備え、第1〜第3の基準光点p1〜p3は、第1のレーザ光r1に直交する仮想投射面N上で三角形の頂点をなす位置関係にある。【選択図】図1
Description
本発明は撮影した画像を利用して当該画像中の被写体の寸法を読みとる際に用いられる基準光点を照射する画像用基準光点照射装置に関する。
撮影した画像から被写体の寸法を測定する単純な方法として、画像中の被写体の寸法を計測し、実際の寸法を画像の縮尺から逆算して求める方法があるが、画像の尺度が変わると正確な測定は困難となる。また、基準となるメジャー等を被写体とともに画像内に写し込むようにしても、撮影面がカメラの正対面に対してヨー方向および/またはピッチ方向に傾斜している場合、寸法測定が可能な部分は限られたものとなる。
本発明の目的は、撮影面がヨー方向および/またはピッチ方向に傾斜している場合においても、撮影した画像からの被写体の寸法読み取りを補助する基準光点を被写体に照射する装置を提供することにある。
本発明は上記課題を解決するためになされたものであり、本発明の画像用基準光点照射装置は、
画像中の被写体の寸法を読み取る際に用いられる基準光点を照射する画像用基準光点照射装置であって、
被写体に第1のレーザ光を照射し、該被写体上に第1の基準光点を生成するとともに該第1の基準光点までの距離を測定する第1の測距部と、
被写体に第2のレーザ光を照射し、該被写体上に第2の基準光点を生成するとともに該第2の基準光点までの距離を測定する第2の測距部と、
被写体に第3のレーザ光を照射し、該被写体上に第3の基準光点を生成するとともに該第3の基準光点までの距離を測定する第3の測距部と、を備え、
前記第1〜第3の基準光点は、前記第1のレーザ光に直交する仮想投射面上で三角形の頂点をなす位置関係にあることを特徴とするものである。
画像中の被写体の寸法を読み取る際に用いられる基準光点を照射する画像用基準光点照射装置であって、
被写体に第1のレーザ光を照射し、該被写体上に第1の基準光点を生成するとともに該第1の基準光点までの距離を測定する第1の測距部と、
被写体に第2のレーザ光を照射し、該被写体上に第2の基準光点を生成するとともに該第2の基準光点までの距離を測定する第2の測距部と、
被写体に第3のレーザ光を照射し、該被写体上に第3の基準光点を生成するとともに該第3の基準光点までの距離を測定する第3の測距部と、を備え、
前記第1〜第3の基準光点は、前記第1のレーザ光に直交する仮想投射面上で三角形の頂点をなす位置関係にあることを特徴とするものである。
なお、本発明の有利な態様では、前記仮想投射面上で、前記第1および第2の基準光点を通る第1の直線と前記第1および第3の基準光点を通る第2の直線とは互いに直角をなす。
また、本発明の有利な態様では、第1の軸線周りに回転し、前記第2のレーザ光を偏向して前記第2の基準光点を前記第1の直線上で移動させる第1の回転ミラーをさらに備える。
さらに、本発明の有利な態様では、ユーザからの、前記第2の基準光点の移動方向および移動量に関する指示を受け付け、その指示に応じて前記第1の回転ミラーを前記第1の軸線周りに回転させる第1の操作手段をさらに備える。
さらに、本発明の有利な態様では、第2の軸線周りに回転し、前記第3のレーザ光を偏向して前記第3の基準光点を前記第2の直線上で移動させる第2の回転ミラーをさらに備える。
さらに、本発明の有利な態様では、ユーザからの、前記第3の基準光点の移動方向および移動量に関する指示を受け付け、その指示に応じて前記第2の回転ミラーを前記第2の軸線周りに回転させる第2の操作手段をさらに備える。
さらに、本発明の有利な態様では、被写体を前記第1〜3の基準光点とともに撮影する撮影手段をさらに備える。
さらに、本発明の有利な態様では、前記第1および第2のレーザ光のなす角と前記第1および第2の測距部で測定された第1および第2の基準光点までの距離とから、前記第1および第2の基準光点間の距離を演算するとともに、前記第1および第3のレーザ光のなす角と前記第1および第3の測距部で測定された第1および第3の基準光点までの距離とから、前記第1および第3の基準光点間の距離を演算する演算手段をさらに備える。
本発明の画像用基準光点照射装置によれば、撮影する壁等の被写体に正確な相対位置関係が既知である3つの基準光点を照射し、被写体をこれら基準光点とともに撮影することにより、撮影時に被写体が当該画像用基準光点照射装置の正対面に対してヨー方向および/またはピッチ方向に傾いている場合でも当該傾きを考慮した上で撮影された画像中の第1および第2の基準光点間距離と第1および第3の基準光点間距離とに基づき画像内の被写体の寸法を正確に求めることができる。
以下、本発明の実施の形態を図面に基づき詳細に説明する。ここに図1は、本発明の一実施形態に係る画像用基準光点照射装置の外観を示し、(a)は正面側の斜視図、(b)は背面側の斜視図であり、図2は図1の画像用基準光点照射装置の内部構造を説明する概略斜視図である。
図1には、縦型ハンディタイプの画像用基準光点照射装置10が示され、このものは、図2に示すように、独立した第1,第2,第3のレーザ光r1,r2,r3を構造物の壁面や柱などの被写体T上に同時に照射し、当該被写体T上に第1,第2,第3の基準光点p1,p2,p3を生成するとともにこれら基準光点p1〜p3までの距離を測定するものであり、第1〜第3の基準光点p1〜p3は、図1(b)に示すように、第1のレーザ光r1の光軸に直交する仮想投射面(yz平面であり、以下「正対面」ともいう。)N上で三角形の頂点をなす位置関係にある。特に本例では、第1〜第3の基準光点p1〜p3は、当該仮想照射面N上で第1の基準光点p1および第2の基準光点p2を通る第1の直線s1と第1の基準光点p1および第3の基準光点p3を通る第2の直線s2とが互いに直角をなす直角三角形の頂点をなす位置関係にある。
偏平直方体をなす筐体11の正面には、画像表示部12と、電源ボタン13と、撮影ボタン14と、第1,第2の指示入力部15A,15Bと、が設けられており、筐体11の背面には、第1〜第3のレーザ光r1〜r3を透過させるとともに筐体11内部の構成機器を埃や水分等から保護する例えばガラス製の保護窓16と、後述する撮影部17の撮影レンズ17aとが設けられている。
画像表示部12は、例えば液晶ディスプレイであり、後述の演算制御部18から入力された制御信号に基づき撮影画像や各種情報を表示する。画像表示部12は、液晶ディスプレイに限らず、例えば有機ELディスプレイであってもよい。この他、画像表示部12は、ユーザの画面操作に応じた入力信号を演算制御部18へ出力するタッチパネル入力機能を有するものであってもよい。
第1,第2の指示入力部15A,15Bは、例えば可変抵抗器を有する操作つまみや操作レバーであり、被写体T上に生成された第2,第3の基準光点p2,p3の移動に関する指示をユーザから受け付け、ユーザの回転操作(回転方向、回転量)に応じた入力信号を演算制御部18へ出力する。
また、図2に示すように、画像用基準光点照射装置10は、筐体11の内部に3つの測距部21,22,23を備えている。第1の測距部21は、第1のレーザ光r1を照射して被写体T上に第1の基準光点p1を生成するとともに、当該第1の基準光点p1までの距離を測定する。第2の測距部22は、第1のレーザ光r1と同一平面(xy平面)内で第2のレーザ光r2を照射して被写体T上に第2の基準光点p2を生成するとともに、当該第2の基準光点p2までの距離を測定する。第3の測距部23は、第1のレーザ光r1と同一平面(xz平面)内で第3のレーザ光r3を照射して被写体T上に第3の基準光点p3を生成するとともに、当該第3の基準光点p3までの距離を測定する。
各測距部21,22,23は公知の光電距離センサであり、図示は省略するが、レーザ光r1,r2,r3を出射する光源およびそこから出射されたレーザ光r1,r2,r3を平行光にする投光レンズ等からなる投光器と、被写体T上で反射したレーザ光r1,r2,r3の反射光を集光する受光レンズおよびそれにより集光された反射光を検知する受光素子等からなる受光器とを有している。
光源としては、図示例では可視光を出射する可視光レーザダイオードを用いているが、赤外光などの不可視光を出射する不可視光レーザダイオードと可視光レーザダイオードとを併用し、不可視光レーザダイオードにより被写体Tまでの距離測定を行うとともに可視光レーザダイオードにより第1〜第3の基準光点p1,p2,p3を被写体T上に生成するようにしてもよい。
受光素子は、被写体Tで反射したレーザ光r1,r2,r3の反射光を受光して信号を出力するものであり、例えばフォトダイオードやフォトトランジスタを用いることができる。
各測距部21,22,23において、被写体Tまでの距離はTOF(Time of Flight)方式により測定することができる。TOF方式とは、光源から出た光が被写体Tで反射し、受光素子に届くまでの光の飛行時間と光の速度から距離を求めるものであり、この方式は、投光波長と受光波長との間の位相差に基づき距離を算出する位相差測距方式と、所定のパルス幅のレーザ光を投光し、投光時をスタートトリガ、受光時をストップトリガとして投光時と受光時の時間差を計測し、その値に基づき距離を算出するパルス伝播方式とに大別されるが、本実施形態ではいずれの方式を用いてもよい。TOF方式に基づく距離測定のための演算は後述の演算制御部18によって行われる。
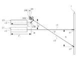
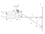
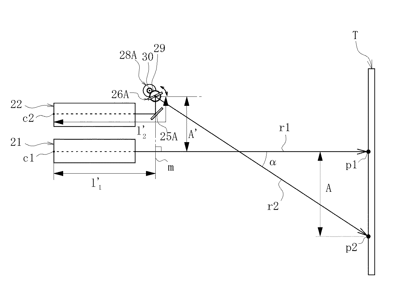
また、第2の測距部22の出側には、第1の固定ミラー25Aと第1の回転ミラー26Aが配設されており、第1の固定ミラー25Aは、第2の測距部22から出射された第2のレーザ光r2を第1の回転ミラー26Aに向けて偏向し、第1の回転ミラー26Aは、第1および第2のレーザ光r1,r2の延在平面(xy平面)に対し垂直な第1の回転軸線z1周りに回転自在とされ、第1の固定ミラー25Aで反射された第2のレーザ光r2を第1のレーザ光r1と同一平面(xy平面)内で偏向方向調整可能に偏向して被写体Tまで導く。
同様に、第3の測距部23の出側には、第2の固定ミラー25Bと第2の回転ミラー26Bが配設されており、第2の固定ミラー25Bは、第3の測距部23から出射された第3のレーザ光r3を第2の回転ミラー26Bに向けて偏向し、第2の回転ミラー26Bは、第1および第3のレーザ光r1,r3の延在平面(xz平面)に対し垂直な第2の回転軸線y1周りに回転自在とされ、第2の固定ミラー25Bで反射された第3のレーザ光r3を第1のレーザ光r1と同一平面(xz平面)内で偏向方向調整可能に偏向して被写体Tまで導く。
本実施形態において、第1,第2の回転ミラー26A,26Bの回転駆動は、回転ミラー駆動手段としての第1,第2のモータ28A,28Bによりそれぞれ行われる。これらのモータ28A,28Bは、回転向き(正回転、逆回転)および回転角(回転量)を制御できるものであれば特に限定はなく、ステッピングモータやサーボモータ(回転検出器付きモータ)などを用いることができる。また、本実施形態では各回転ミラー26A,26Bはギヤ29とピニオン30を介してモータ28A,28Bからの回転動力が伝達されるようになっており、ギヤ29およびピニオン30間のギヤ比を大きくすることで回転角制御の精度を高めることができる。
なお、第1の測距部21の出側には、固定ミラーや回転ミラーは配設されておらず、第1の測距部21から照射された第1のレーザ光r1は水平前方(x方向)に真直ぐ進み、被写体Tに直接投射される。
この画像用基準光点照射装置10には、図3の回路構成例に示すように、各種回路に電流を供給する電池等の電源31と、第1,第2のモータ28A,28Bを駆動する第1,第2のモータドライバ32A,32Bと、被写体Tを第1〜第3の基準光点p1〜p3とともに撮影する撮影手段としての撮影部17と、撮影部17で撮影された画像データや各測距部21〜23で測定された測定データ等をスマートフォンやパーソナルコンピュータなどの不図示の外部端末に送信する送信器33と、外部メモリ34と、演算制御部18とが内蔵されている。
撮影部17は、CCD(Charge Couple Device)やCMOS(Complementary Metal
Oxide Semiconductor)などの撮像素子、撮影レンズ、不図示の絞りおよびシャッタからなり、撮影ボタン14からの入力操作に応じて静止画や動画の撮像を行い、撮影画像をデジタルデータとして取得してSDカード等の外部メモリ34や不図示の内蔵メモリに記録する。
Oxide Semiconductor)などの撮像素子、撮影レンズ、不図示の絞りおよびシャッタからなり、撮影ボタン14からの入力操作に応じて静止画や動画の撮像を行い、撮影画像をデジタルデータとして取得してSDカード等の外部メモリ34や不図示の内蔵メモリに記録する。
演算制御部18は、第1〜第3の測距部21〜23、第1,第2のモータ28A,28B、送信器33、画像表示部12、撮影部17を含む全ての制御を司る機能を有するとともに、第1の測距部21からの距離データと、第2の測距部22からの距離データと、第1および第2のレーザ光r1,r2のなす角(第1のモータ28Aの回転角)αに基づき被写体T上の第1および第2の基準光点p1,p2間の距離Aを演算するとともに、第1の測距部21からの距離データと、第3の測距部23からの距離データと、第1および第3のレーザ光r1,r3のなす角(第2のモータ28Bの回転角)βに基づき被写体T上の第1および第3の基準光点p1,p3間の距離Bを演算する演算手段としての機能を有する。また、筐体11正面に設けられた第1,第2の指示入力部15A,15Bも当該演算制御部18に接続されており、ユーザが指示入力部15A,15Bを操作するとその信号が演算制御部18を経て第1,第2のモータドライバ32A,32Bに伝わり、第1,第2の指示入力部15A,15Bの操作方向および操作量に応じて第1,第2のモータ28A,28Bが駆動されるようになっている。従って、第1,第2の指示入力部15A,15Bと当該演算制御部18と第1,第2のモータドライバ32A,32Bと第1,第2のモータ28A,28Bとは、第1,第2の操作手段を構成する。
次に、本実施形態の画像用基準光点照射装置10の動作について説明する。
まず、ユーザが電源ボタン13を押すとその信号が演算制御部18に入力され、図1および図2に示すように、第1〜第3の測距部21〜22から第1〜第3のレーザ光r1〜r3が出射され、ユーザが筐体11の背面側を被写体に向けることで、図2に示すように被写体T上に相互に三角形の位置関係をなす第1〜第3の基準光点p1〜p3が生成され、その様子は撮影部17を介して、図4に示すように画像表示部12に映し出される。画像表示部12の画面中の被写体Tから第2,第3のレーザ光r2,r3が外れている場合には、ユーザは指示入力部15A,15Bを適宜操作することで第2,第3のレーザ光r2,r3の向きを変更して被写体T上に第2,第3の基準光点p2,p3を位置させることができる。このようにレーザ光r1〜r3が照射されている間、演算制御部18は、第1および第2の基準光点p1,p2間の距離Aと第1および第3の基準光点p2,p3間の距離Bとを常時演算する。
具体的には、図5に示すように、第1および第2の基準光点間の距離Aは、第1および第2の測距部21,22の光源位置c1,c2から被写体Tまでのレーザ光r1,r2の長さをl1,l2とし、第2の測距部22の光源位置c2から第1の回転ミラー26A上の反射点までのレーザ光r2の長さをl2’とし、第1の測距部21の光源位置c1から、第1の回転ミラー26A上の上記反射点から第1の測距部21のレーザ光r1に引いた垂線mまでのレーザ光r1の長さをl1’とし、第1のモータ28Aの回転角から得られる2本のレーザ光r1,r2の交差角度をαとし、第1の回転ミラー26Aの上記反射点および第1の測距部21のレーザ光r1間の上記垂線mに沿った距離をA’とすると、被写体T上の基準光点p1,p2間の距離Aは、三角測量の原理に基づき、
・・・(1)
により求めることができる。
により求めることができる。
また、第1および第3の基準光点間の距離Bも、距離Aと同様に求めることができ、図6に示すように、第1および第3の測距部21,23の各光源位置c1,c3から被写体Tまでのレーザ光r1,r3の長さをl1,l3とし、第3の測距部23の光源位置c3から第2の回転ミラー26B上の反射点までのレーザ光r3の長さをl3’とし、第1の測距部21の光源位置c1から、第2の回転ミラー26B上の上記反射点から第1の測距部21のレーザ光r1に引いた垂線mまでのレーザ光r1の長さをl1’とし、第2のモータ28Bの回転角から得られる2本のレーザ光r1,r3の交差角度をβとし、第2の回転ミラー26Bの上記反射点および第1の測距部21のレーザ光r1間の上記垂線mに沿った距離をB’とすると、被写体T上の基準光点p1,p3間の距離Bは、三角測量の原理に基づき、
・・・(2)
により求めることができる。
により求めることができる。
これらの距離A,Bを求める演算は、レーザ光r1〜r3が照射されている間常時行われる。なお、第1,第2の回転ミラー26A,26Bの回転中心は第1,第2の回転ミラー26A,26Bの厚み方向中央にあるのに対しレーザ光r2,r3の反射点は第1,第2の回転ミラー26A,26Bの表面上にあり、両者は完全には一致していない等の理由により、第1,第2の回転ミラー26A,26Bの回転角に応じて測定距離に誤差が生じる可能性があるが、この場合、第1,第2の回転ミラー26A,26Bの各回転位置における検出誤差をあらかじめ測定もしくは計算して得られた誤差テーブルを不図示のメモリの格納しておき、演算制御部18において、当該誤差テーブルに基づく誤差補正演算を行うようにしてもよい。
そして、このように第1〜第3の基準光点p1〜p3が画像表示部12の画面中の被写体T上に存在している状態でユーザが筐体11正面の撮影ボタン14を押すと撮影部17により撮影が行われるとともに、距離A,Bの測定結果はラッチされ、測定データは画像データとともに外部メモリ等に記録される。また、これら画像データおよび測定データは送信器33を介してスマートフォンやパーソナルコンピュータなどの外部端末に送信されるようにしてもよい。
図7に、画像用基準光点照射装置10の撮影部17により被写体Tを3つの基準光点p1〜p3とともに様々な傾斜角度で撮影した様子を示す。図7(a)は、被写体Tが撮影部17の正対面Nに対して鉛直軸線周りにヨー方向に傾いた様子を示し、図7(b)は、被写体Tが撮影部17の正対面Nに対して垂直軸線周りにピッチ方向に傾いた様子を示し、図7(c)は、被写体Tが撮影部17の正対面Nに対してヨー方向およびピッチ方向に傾いた様子を示している。
図7(a)に示すように、被写体Tが撮影部17の正対面Nに対してヨー方向に傾いている場合には、第1および第2の基準光点p1,p2の位置関係、つまり当該基準光点p1,p2までの距離と2点間距離Aとからその傾きを求めることができる。同様に、図7(b)に示すように、被写体Tが撮影部17の正対面Nに対してピッチ方向に傾いている場合には、第1および第3の基準光点p1,p3の位置関係、つまり当該基準光点p1,p3までの距離と2点間距離Bとからその傾きを求めることができる。一方、被写体Tが撮影部17の正対面Nに対してヨー方向およびピッチ方向に同時に傾く場合には、図8に示すように、第1および第2の基準光点p1,p2を結ぶ直線s1と第1および第3の基準光点p1、p3を結ぶ直線s2とのなす角θが変化するため、つまり本例の場合には90°でなくなるため、この角度変化を読み取ることで被写体Tの、正対面Nに対するヨー方向およびピッチ方向の傾きを求めることができる。
つまり、外部メモリ34等に画像データとともに2点間距離A,Bに関する距離データを関連付けして記憶しておくことで、この画像を画像表示部12または外部端末のディスプレイに呼び出し、第1および第2の基準光点p1,p2を結ぶ直線s1と第1および第3の基準光点p1,p3を結ぶ直線s2のなす角度θを読みとるで、被写体Tの、撮影部17の正対面Nに対する3次元的な傾きを求めることができ、この3次元的な傾きを考慮した上で2点間距離A,Bから画像内に写されているすべての被写体の寸法を解析することができる。
また、外部メモリ34等に画像データとともに第1〜第3の測距部21〜23から被写体Nまでの各距離および2点間距離A,Bを関連付けして記憶しておくことで、上記2本の直線s1,s2のなす角θの変化を読みとるのに代えて、これらの各種情報に基づいて第1〜第3の基準光点p1〜p3の含まれる面を確定し、面内にあるすべての点の位置関係を演算により求めることもできる。
したがって、本実施形態の画像用基準光点照射装置10によれば、撮影する壁等の被写体Tに正確な相対位置関係が既知である3つの基準光点p1〜p3を照射し、被写体Tをこれら基準光点p1〜p3とともに撮影することにより、撮影時に被写体Tが撮影部17の正対面Nに対してヨー方向および/またはピッチ方向に傾いている場合でも当該傾きを考慮した上で撮影された画像中の2点間距離A,Bに基づき画像内の被写体Tの寸法を正確に求めることができる。
また、本実施形態の画像用基準光点照射装置10によれば、撮影部17の正対面N上で、第1および第2の基準光点p1,p2を通る第1の直線s1と第1および第3の基準光点p1,p3を通る第2の直線s2とが互いに直角をなすようにしたので、被写体Tに正対して撮影する場合には、測定したい2点に第1の基準光点p1と第2の基準光点p2または第3の基準光点p3とをそれぞれ合わせるだけで、2点間の横寸法または縦寸法を簡単に測定することができる。
さらに、本実施形態の画像用基準光点照射装置10によれば、第1,第2の回転ミラー26A,26Bを介して第2,第3のレーザ光r2,r3の偏向方向、ひいては第2,第3の基準光点p2,p3の位置を調整可能な構成としたことにより、画像表示部12の画面中の被写体T上の所期の位置に第2,第3の基準光点p2,p3を容易に移動させることができる。
さらに、本実施形態の画像用基準光点照射装置10によれば、被写体Tを第1〜3の基準光点p1〜p3とともに撮影する撮影部17を一体に備えるようにしたので、取扱いが容易であるとともに、撮影時の撮影部17の向きと第1〜第3の測距部21〜23の向きを固定して撮影および測距を行うことができるため、高い測定精度を得ることができる。
以上、図示例に基づき本発明を説明したが、本発明は前述の実施の形態に限定されるものではなく、特許請求の範囲の記載範囲内において種々の変更を行うことが可能である。例えば、第1〜第3の測距部21〜23は同一方向に配置する必要はなく、図9に示すように、第1および第2の測距部21,22を縦方向に、第3の測距部23を横方向に配置してもよい。より詳細には、第1の測距部21の出側には垂直上向きに出射された第1のレーザ光r1を水平方向前方(x方向)に偏向する固定ミラー35が設けられ、第2の測距部22の出側には、第1の回転ミラー26Aが、垂直上向きに出射されたレーザ光r2を中心として周回可能に設けられている。この第1の回転ミラー26Aは第1のモータ28Aによりリング状のギヤ29とピニオン30を介して回転駆動され、回転ミラー26Aを回転させることで第2の測距部22から照射されたレーザ光r2の偏向方向を水平面(xy平面)内で調整することができる。他方、横向きに配置された第3の測距部23の出側には、第2の回転ミラー26Bが、横向きに出射されたレーザ光r3を中心として周回可能に設けられ、この第2の回転ミラー26Bは、第1の回転ミラー26Aと同様、第2のモータ28Bによりリング状のギヤ29とピニオン30を介して回転駆動され、回転ミラー26Bを回転させることで第3の測距部23から照射されたレーザ光r3の偏向方向を垂直方向(xz平面)内で調整することができる。なお、第1,第2の回転ミラー26A,26Bを回転させると第2,第3の測距部22,23で受光される反射光の、回転ミラー26A,26B上での反射位置は相対的に変化するが、第2,第3の基準光点p2,p3までの距離が同じであれば当該第2,第3の基準光点p2,p3から第2,第3の測距部22,23の各受光素子までの距離は同じであるため、第2,第3の基準光点p2,p3までの距離測定への影響はほぼ無いが、第1,第2の回転ミラー26A,26Bの回転角に応じて誤差が生じる場合には、第1,第2の回転ミラー26A,26Bの各回転位置における検出誤差をあらかじめ測定もしくは計算して得られた誤差テーブルを不図示のメモリの格納しておき、演算制御部18において、当該誤差テーブルに基づく誤差補正演算を行うようにしてもよい。
また、前述の実施形態では、回転ミラー駆動手段としてモータ28A,28Bを設けると説明したが、これに代えて指示入力部15A,15Bからの操作を機械的に回転ミラー26A,26Bに伝達する歯車機構やリンク機構を設けてもよく、この場合回転ミラー26A,26Bの回転角を検出するロータリエンコーダなどの回転角センサを別途に設け、第1,第2のレーザ光r1,r2の交差角度αと第1,第3のレーザ光r1,r3の交差角度βとを求めるようにしてもよい。
さらに、前述の実施形態では、2つの回転ミラー26A,26Bをモータ28A,28Bにより駆動すると説明したが、回転ミラー26A,26Bは、外周に複数の刻みが形成された円板と該刻み内に脱出可能に嵌り込む球と該球を刻み内に付勢するばねとからなる回転つまみ等を介して、手動による所定角(例えば5°)毎の回転が可能な構成としてもよく、これによれば画像用基準光点照射装置を安価に製作することができる。
さらに、前述の実施形態では、レーザ光r1,r2,r3を画像用基準光点照射装置10と被写体Tとの間で交差させる例について説明したが、出射されたレーザ光r1,r2,r3の延長線同士を光源よりも手前側で仮想交点として交差させてもよい。
さらに、本発明の画像用基準光点照射装置10は、撮影部17を持たず、第1〜第3の測距部21〜23による各種測距結果をカメラ付きのスマートフォン等の外部端末に送信し、当該外部端末のカメラによる撮影時に各種測距結果を画像データとともに関連付けて記録するようにしてもよい。
本発明の画像用基準光点照射装置によれば、撮影面がヨー方向および/またはピッチ方向に傾斜している場合においても、撮影した画像からの被写体の寸法読み取りを補助する基準光点を被写体に照射することができる。
10 画像用基準光点照射装置
11 筐体
12 画像表示部
13 電源ボタン
14 撮影ボタン
15A 第1の指示入力部
15B 第2の指示入力部
17 撮影部
18 演算制御部
21 第1の測距部
22 第2の測距部
23 第3の測距部
25A 第1の固定ミラー
25B 第2の固定ミラー
26A 第1の回転ミラー
26B 第2の回転ミラー
28A 第1のモータ
28B 第2のモータ
31 電源
33 送信器
34 外部メモリ
p1 第1の基準光点
p2 第2の基準光点
p3 第3の基準光点
r1 第1のレーザ光
r2 第2のレーザ光
r3 第3のレーザ光
N 仮想投射面、正対面
T 被写体
11 筐体
12 画像表示部
13 電源ボタン
14 撮影ボタン
15A 第1の指示入力部
15B 第2の指示入力部
17 撮影部
18 演算制御部
21 第1の測距部
22 第2の測距部
23 第3の測距部
25A 第1の固定ミラー
25B 第2の固定ミラー
26A 第1の回転ミラー
26B 第2の回転ミラー
28A 第1のモータ
28B 第2のモータ
31 電源
33 送信器
34 外部メモリ
p1 第1の基準光点
p2 第2の基準光点
p3 第3の基準光点
r1 第1のレーザ光
r2 第2のレーザ光
r3 第3のレーザ光
N 仮想投射面、正対面
T 被写体
Claims (8)
- 画像中の被写体の寸法を読み取る際に用いられる基準光点を照射する画像用基準光点照射装置であって、
被写体に第1のレーザ光を照射し、該被写体上に第1の基準光点を生成するとともに該第1の基準光点までの距離を測定する第1の測距部と、
被写体に第2のレーザ光を照射し、該被写体上に第2の基準光点を生成するとともに該第2の基準光点までの距離を測定する第2の測距部と、
被写体に第3のレーザ光を照射し、該被写体上に第3の基準光点を生成するとともに該第3の基準光点までの距離を測定する第3の測距部と、を備え、
前記第1〜第3の基準光点は、前記第1のレーザ光に直交する仮想投射面上で三角形の頂点をなす位置関係にあることを特徴とする画像用基準光点照射装置。 - 前記仮想投射面上で、前記第1および第2の基準光点を通る第1の直線と前記第1および第3の基準光点を通る第2の直線とは互いに直角をなす、請求項1に記載の画像用基準光点照射装置。
- 第1の軸線周りに回転し、前記第2のレーザ光を偏向して前記第2の基準光点を前記第1の直線上で移動させる第1の回転ミラーをさらに備える、請求項2に記載の画像用基準光点照射装置。
- ユーザからの、前記第2の基準光点の移動方向および移動量に関する指示を受け付け、その指示に応じて前記第1の回転ミラーを前記第1の軸線周りに回転させる第1の操作手段をさらに備える、請求項3に記載の画像用基準光点照射装置。
- 第1の軸線周りに回転し、前記第3のレーザ光を偏向して前記第3の基準光点を前記第2の直線上で移動させる第2の回転ミラーをさらに備える、請求項2〜4のいずれか一項に記載の画像用基準光点照射装置。
- ユーザからの、前記第3の基準光点の移動方向および移動量に関する指示を受け付け、その指示に応じて前記第2の回転ミラーを前記第2の軸線周りに回転させる第2の操作手段をさらに備える、請求項5に記載の画像用基準光点照射装置。
- 被写体を前記第1〜3の基準光点とともに撮影する撮影手段をさらに備える、請求項1〜6のいずれか一項に記載の画像用基準光点照射装置。
- 前記第1および第2のレーザ光のなす角と前記第1および第2の測距部で測定された第1および第2の基準光点までの距離とから、前記第1および第2の基準光点間の距離を演算するとともに、前記第1および第3のレーザ光のなす角と前記第1および第3の測距部で測定された第1および第3の基準光点までの距離とから、前記第1および第3の基準光点間の距離を演算する演算手段をさらに備える、請求項1〜7のいずれか一項に記載の画像用基準光点照射装置。
Priority Applications (1)
| Application Number | Priority Date | Filing Date | Title |
|---|---|---|---|
| JP2016080960A JP2017191024A (ja) | 2016-04-14 | 2016-04-14 | 画像用基準光点照射装置 |
Applications Claiming Priority (1)
| Application Number | Priority Date | Filing Date | Title |
|---|---|---|---|
| JP2016080960A JP2017191024A (ja) | 2016-04-14 | 2016-04-14 | 画像用基準光点照射装置 |
Publications (1)
| Publication Number | Publication Date |
|---|---|
| JP2017191024A true JP2017191024A (ja) | 2017-10-19 |
Family
ID=60084893
Family Applications (1)
| Application Number | Title | Priority Date | Filing Date |
|---|---|---|---|
| JP2016080960A Pending JP2017191024A (ja) | 2016-04-14 | 2016-04-14 | 画像用基準光点照射装置 |
Country Status (1)
| Country | Link |
|---|---|
| JP (1) | JP2017191024A (ja) |
Cited By (4)
| Publication number | Priority date | Publication date | Assignee | Title |
|---|---|---|---|---|
| WO2022176061A1 (ja) * | 2021-02-17 | 2022-08-25 | 三菱電機ビルテクノサービス株式会社 | 測定装置及びエレベーター装置 |
| JP2023549942A (ja) * | 2021-10-15 | 2023-11-29 | 杭州宇▲樹▼科技有限公司 | 3dレーザーレーダーおよび脚式ロボット |
| WO2024200575A1 (en) * | 2023-03-28 | 2024-10-03 | Sony Semiconductor Solutions Corporation | Object tracking circuitry and object tracking method |
| KR102807272B1 (ko) * | 2024-10-08 | 2025-05-16 | 주식회사 서랩 | 다중 레이저 센서를 이용한 농기계의 자율주행 보조장치 |
Citations (8)
| Publication number | Priority date | Publication date | Assignee | Title |
|---|---|---|---|---|
| JPH07324911A (ja) * | 1994-05-31 | 1995-12-12 | Keiutsudo:Kk | 距離測定装置 |
| JPH1078305A (ja) * | 1996-09-04 | 1998-03-24 | Kansai Electric Power Co Inc:The | コンクリートのひび割れ計測方法及び計測装置 |
| JPH10221018A (ja) * | 1997-02-07 | 1998-08-21 | Puropooto:Kk | 三次元測定方法 |
| JP2001165645A (ja) * | 1999-12-13 | 2001-06-22 | Sharp Corp | 携帯用測定装置 |
| JP2003269955A (ja) * | 2002-03-11 | 2003-09-25 | Junko Suginaka | 距離等測定装置 |
| JP2012063173A (ja) * | 2010-09-14 | 2012-03-29 | Konica Minolta Opto Inc | レーザ測距装置 |
| EP2863175A1 (en) * | 2013-10-18 | 2015-04-22 | Techtronic Power Tools Technology Limited | Method for measuring an area of a target surface |
| JP2017187386A (ja) * | 2016-04-06 | 2017-10-12 | 株式会社インザライフ | レーザ測距計 |
-
2016
- 2016-04-14 JP JP2016080960A patent/JP2017191024A/ja active Pending
Patent Citations (8)
| Publication number | Priority date | Publication date | Assignee | Title |
|---|---|---|---|---|
| JPH07324911A (ja) * | 1994-05-31 | 1995-12-12 | Keiutsudo:Kk | 距離測定装置 |
| JPH1078305A (ja) * | 1996-09-04 | 1998-03-24 | Kansai Electric Power Co Inc:The | コンクリートのひび割れ計測方法及び計測装置 |
| JPH10221018A (ja) * | 1997-02-07 | 1998-08-21 | Puropooto:Kk | 三次元測定方法 |
| JP2001165645A (ja) * | 1999-12-13 | 2001-06-22 | Sharp Corp | 携帯用測定装置 |
| JP2003269955A (ja) * | 2002-03-11 | 2003-09-25 | Junko Suginaka | 距離等測定装置 |
| JP2012063173A (ja) * | 2010-09-14 | 2012-03-29 | Konica Minolta Opto Inc | レーザ測距装置 |
| EP2863175A1 (en) * | 2013-10-18 | 2015-04-22 | Techtronic Power Tools Technology Limited | Method for measuring an area of a target surface |
| JP2017187386A (ja) * | 2016-04-06 | 2017-10-12 | 株式会社インザライフ | レーザ測距計 |
Cited By (7)
| Publication number | Priority date | Publication date | Assignee | Title |
|---|---|---|---|---|
| WO2022176061A1 (ja) * | 2021-02-17 | 2022-08-25 | 三菱電機ビルテクノサービス株式会社 | 測定装置及びエレベーター装置 |
| JPWO2022176061A1 (ja) * | 2021-02-17 | 2022-08-25 | ||
| JP7276635B2 (ja) | 2021-02-17 | 2023-05-18 | 三菱電機ビルソリューションズ株式会社 | 測定装置及びエレベーター装置 |
| JP2023549942A (ja) * | 2021-10-15 | 2023-11-29 | 杭州宇▲樹▼科技有限公司 | 3dレーザーレーダーおよび脚式ロボット |
| JP7510730B2 (ja) | 2021-10-15 | 2024-07-04 | 杭州宇▲樹▼科技有限公司 | 3dレーザーレーダーおよび脚式ロボット |
| WO2024200575A1 (en) * | 2023-03-28 | 2024-10-03 | Sony Semiconductor Solutions Corporation | Object tracking circuitry and object tracking method |
| KR102807272B1 (ko) * | 2024-10-08 | 2025-05-16 | 주식회사 서랩 | 다중 레이저 센서를 이용한 농기계의 자율주행 보조장치 |
Similar Documents
| Publication | Publication Date | Title |
|---|---|---|
| EP3457080B1 (en) | Surveying instrument | |
| CN105890578B (zh) | 姿势检测装置以及数据取得装置 | |
| CN103492870B (zh) | 与远程投射器协作以输送信息的六自由度激光追踪器 | |
| JP6616077B2 (ja) | 測定装置及び3次元カメラ | |
| CN102159921B (zh) | 具备准直辅助装置的手动式测量机 | |
| CN100464159C (zh) | 位置检测装置 | |
| JP6577295B2 (ja) | 測定装置 | |
| JP7313955B2 (ja) | 測量装置、測量方法および測量用プログラム | |
| JP6823482B2 (ja) | 三次元位置計測システム,三次元位置計測方法,および計測モジュール | |
| US11629959B2 (en) | Surveying instrument | |
| JP2005025415A (ja) | 位置検出装置 | |
| CN103206926B (zh) | 一种全景三维激光扫描装置 | |
| US7490019B2 (en) | Method and apparatus for three-dimensional measurement | |
| CN108700408A (zh) | 三维形状数据及纹理信息生成系统、拍摄控制程序、以及三维形状数据及纹理信息生成方法 | |
| JP2022136224A (ja) | ターゲット、測量方法およびプログラム | |
| JP2017191024A (ja) | 画像用基準光点照射装置 | |
| JP2014219393A (ja) | 機械要素の位置を求める装置 | |
| JP2017187386A (ja) | レーザ測距計 | |
| US10809379B2 (en) | Three-dimensional position measuring system, three-dimensional position measuring method, and measuring module | |
| JP7060377B2 (ja) | 測量装置、測量用制御装置、測量制御方法および測量制御処理用プログラム | |
| CN109470201B (zh) | 用于运行手持式激光测距仪的方法和手持式激光测距仪 | |
| JP2004205222A (ja) | 測距装置 | |
| CN116697886A (zh) | 测量装置 | |
| US20230280160A1 (en) | Surveying instrument | |
| CN215813342U (zh) | 深度数据测量头和局部深度数据测量设备 |
Legal Events
| Date | Code | Title | Description |
|---|---|---|---|
| A621 | Written request for application examination |
Free format text: JAPANESE INTERMEDIATE CODE: A621 Effective date: 20190410 |
|
| A977 | Report on retrieval |
Free format text: JAPANESE INTERMEDIATE CODE: A971007 Effective date: 20200227 |
|
| A131 | Notification of reasons for refusal |
Free format text: JAPANESE INTERMEDIATE CODE: A131 Effective date: 20200407 |
|
| A02 | Decision of refusal |
Free format text: JAPANESE INTERMEDIATE CODE: A02 Effective date: 20201020 |
