JP2017190586A - スラブ構造 - Google Patents

スラブ構造 Download PDF

Info

Publication number
JP2017190586A
JP2017190586A JP2016079527A JP2016079527A JP2017190586A JP 2017190586 A JP2017190586 A JP 2017190586A JP 2016079527 A JP2016079527 A JP 2016079527A JP 2016079527 A JP2016079527 A JP 2016079527A JP 2017190586 A JP2017190586 A JP 2017190586A
Authority
JP
Japan
Prior art keywords
steel
slab
steel beam
joined
slab structure
Prior art date
Legal status (The legal status is an assumption and is not a legal conclusion. Google has not performed a legal analysis and makes no representation as to the accuracy of the status listed.)
Granted
Application number
JP2016079527A
Other languages
English (en)
Other versions
JP6864991B2 (ja
Inventor
晃治 福本
Koji Fukumoto
晃治 福本
Current Assignee (The listed assignees may be inaccurate. Google has not performed a legal analysis and makes no representation or warranty as to the accuracy of the list.)
Takenaka Komuten Co Ltd
Original Assignee
Takenaka Komuten Co Ltd
Priority date (The priority date is an assumption and is not a legal conclusion. Google has not performed a legal analysis and makes no representation as to the accuracy of the date listed.)
Filing date
Publication date
Application filed by Takenaka Komuten Co Ltd filed Critical Takenaka Komuten Co Ltd
Priority to JP2016079527A priority Critical patent/JP6864991B2/ja
Publication of JP2017190586A publication Critical patent/JP2017190586A/ja
Application granted granted Critical
Publication of JP6864991B2 publication Critical patent/JP6864991B2/ja
Expired - Fee Related legal-status Critical Current
Anticipated expiration legal-status Critical

Links

Images

Landscapes

  • Joining Of Building Structures In Genera (AREA)

Abstract

【課題】耐火被覆工事を減らすことのできるスラブ構造を提供する。
【解決手段】スラブ構造は、耐火性能を有する大梁16と、全体又は一部が耐火被覆処理されず、大梁16に接合された鉄骨小梁18と、大梁16と鉄骨小梁18とに支持される鉄筋コンクリート製のスラブ12と、を有する。
【選択図】図2

Description

本発明は、スラブ構造に関する。
例えば特許文献1に示すように、鉄筋コンクリート製の大梁及び鉄骨製の小梁に鉄筋コンクリート製のスラブが支持されるスラブ構造が知られている。
特許第2842199号公報
特許文献1に記載のスラブ構造では、鉄骨製である小梁の露出表面全体を予め耐火材成形板によって被覆しなければならず、被覆作業に時間や工数が必要となっていた。
本発明は上記事実に鑑み、耐火被覆工事を減らすことのできるスラブ構造を提供することを目的とする。
請求項1に記載のスラブ構造は、耐火性能を有する大梁と、全体又は一部が耐火被覆処理されず、前記大梁に接合された鉄骨小梁と、前記大梁と前記鉄骨小梁とに支持される鉄筋コンクリート製のスラブと、を有する。
上記構成によれば、全体又は一部の鉄骨小梁の耐火被覆処理を省略することで、耐火被覆工事を減らすことができる。また、鉄骨小梁を設けることで、大梁に囲まれたスラブの変形を抑制することができ、鉛直下向きの床荷重に耐え得るスラブを設計することができる。
ここで、火災時には、熱によって鉄骨小梁の耐荷重が低下する虞がある。しかし、熱によって鉄骨小梁の耐荷重が低下しても、スラブは耐火性能を有する大梁に支持されており、また長期応力を考慮してスラブを設計することで、耐力的な問題は生じない。
請求項2に記載のスラブ構造は、請求項1に記載のスラブ構造であって、前記大梁は、鉄筋コンクリート製とされ、前記鉄骨小梁の端部は、前記大梁に剛接合されている。
上記構成によれば、大梁が鉄筋コンクリート製とされているため、耐火被覆処理する必要がない。また、鉄骨小梁の端部が大梁に剛接合されているため、鉄骨小梁の変形を抑制することができる。
請求項3に記載のスラブ構造は、請求項2に記載のスラブ構造であって、前記鉄骨小梁はH形鋼梁であり、前記大梁の上部には、前記H形鋼梁の上フランジが接合される水平鋼板が跨り、前記大梁の側面には、前記H形鋼梁の端部が接合される鉛直鋼板が固定されている。
上記構成によれば、鉄筋コンクリート製の大梁とH形鋼梁が剛接合されており、鉛直鋼板によってせん断力が大梁へ伝達される。また、H形鋼梁が撓んだときのH形鋼梁による圧縮応力は鉛直鋼板が受け、引張応力は水平鋼板によって大梁に伝達される。
本発明によれば、耐火被覆工事を減らすことのできるスラブ構造を提供することができる。
本発明の実施形態の一例におけるスラブ構造を示す全体図である。 本発明の実施形態の一例におけるスラブ構造を示す立断面図である。 (A)は本発明の実施形態の一例におけるスラブ構造の小梁の連結部を示す立断面図であり、(B)はB−B線断面図である。 火災時におけるスラブ構造を示す立断面図である。 本発明の実施形態の変形例におけるスラブ構造を示す立断面図である。
以下、本発明の実施形態に係るスラブ構造の一例について、図1〜図4に従って説明する。
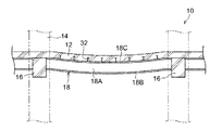
図1、図2に示すように、建物10のスラブ12は、鉄筋コンクリート製であって、柱14間に架け渡された大梁16と、大梁16間に架け渡された鉄骨小梁18とによって支持されている。また、大梁16は鉄筋コンクリート製とされ、大梁16にはスラブ12の四辺が剛接合されている。
一方、鉄骨小梁18は、全体が耐火被覆処理されていないH形鋼梁からなり、上フランジ18Cに溶接された複数のスタッド32によってスラブ12と一体化されている。なお、「耐火被覆処理」とは、鉄骨小梁18の構造耐久上支障のある変形、溶解、破損その他の損傷を生じない状態を保持するために温度上昇を抑制するための被覆処理をいう。
また、図3に示すように、一対の鉄骨小梁18は、大梁16を挟んで隣合うよう配置され、端部がそれぞれ大梁16の側面に剛接合されることによって連梁とされている。具体的には、大梁16の両側面に矩形板状の金属製のシアコッタープレート20がアンカー22で取付けられており、鉄骨小梁18のウェブ18Aの端面及び下フランジ18Bの端面が、それぞれシアコッタープレート20に溶接され接合されている。
なお、鉄骨小梁18の端部には、鉄骨小梁18のウェブ18Aの両面に水平方向へ補強リブ24が設けられており、補強リブ24の端面は鉄骨小梁18のウェブ18A及びシアコッタープレート20に溶接され接合されている。
一方、鉄骨小梁18の上フランジ18Cの上面及び下面には、2枚のスプライスプレート28の一端がそれぞれボルト26で接合されている。このスプライスプレート28は、大梁16の上部を跨り、中央部分が上端筋30Aの下方を通って大梁16に埋設され、両端部分が大梁16から張出している。
上記のスラブ構造を施工するには、まず、図示しない型枠内に梁主筋30として上端筋30A及び下端筋30Bを配筋してスターラップ31を巻掛け、シアコッタープレート20を側面に配置した後、コンクリートを打設して大梁16を形成する。このとき、上端筋30Aはコンクリートから露出している。
次に、鉄骨小梁18のウェブ18Aの端面及び下フランジ18Bの端面を、それぞれシアコッタープレート20に溶接して接合する。ここで、鉄骨小梁18の上フランジ18Cの端部とシアコッタープレート20の上端との間には、スプライスプレート28を挿入するための隙間をあけておく。
次に、大梁16の上部を跨ぐように、一対の鉄骨小梁18の上フランジ18Cの上面間及び下面間にそれぞれスプライスプレート28を掛け渡し、2枚のスプライスプレート28を鉄骨小梁18の上フランジ18Cにボルト26で接合する。
その後、大梁16及び鉄骨小梁18の上部に図示しない型枠を形成して図示しないスラブ鉄筋を配筋し、型枠内にコンクリートを打設してスラブ12を形成する。このとき、大梁16の上端筋30A及びスプライスプレート28の中央部分がコンクリートに埋設される。また、大梁16及び鉄骨小梁18とスラブ12とが一体化される。
ここで、スラブ12の厚さは、スラブ12に生じる長期応力のみを考慮して設計される。具体的には、スラブ12の設計時には鉄骨小梁18を考慮せず、四方を大梁16に囲まれた大版スラブとしてスラブ12を考え、スラブ12に生じる長期応力に耐え得る鉄筋量と厚さを設計する。
このとき、スラブ12に生じる長期たわみについては考慮しない。次に、四方を大梁16及び鉄骨小梁18で囲まれた小版スラブとしてスラブ12を考え、スラブ12が長期たわみに耐え得るよう鉄骨小梁18の数や梁成を設計する。
本実施形態によれば、小梁を鉄骨小梁18としているため、小梁を鉄筋コンクリート製とする構成と比較して型枠工事等を減らすことができるとともに、同じ梁成で支持できるスパンが大きくなる。このため、梁成を小さくすることができ、階高空間を広くすることができる。また、鉄骨小梁18はスラブ12のコンクリート打設時の仮設梁として利用することができるため、支保工を減らすことができる。
また、耐火被覆処理されていない鉄骨小梁18を用いているため、耐火被覆処理された鉄骨小梁18を用いる構成と比較して耐火被覆工事を減らすことができる。さらに、鉄骨小梁18を設けることで、スラブ12の変形を抑制することができ、鉛直下向きの床荷重に耐え得るスラブ12を設計することができる。
ここで、火災時には、図4に示すように、熱によって鉄骨小梁18の耐荷重が低下したり鉄骨小梁18が溶解する場合がある。しかし、スラブ12は、鉄骨小梁18が無くても長期応力に耐え得る厚さに設計されているため、スラブ12自体の耐力によりスラブ12の脱落が抑制される。つまり、鉄骨小梁18の耐荷重が低下したり鉄骨小梁18が溶解した場合でも、スラブ構造に耐力的な問題は生じない。
また、大梁16が鉄筋コンクリート製とされているため、耐火被覆処理する必要がなく、火災時に鉄骨小梁18の耐荷重が低下したり鉄骨小梁18が溶解した場合でも、大梁16によってスラブ12を支持することができる。
さらに、鉄骨小梁18が連梁とされており、シアコッタープレート20及びスプライスプレート28によって大梁16に剛接合されている。このため、鉄骨小梁18に生じるせん断力及び鉄骨小梁18が撓んだときの圧縮応力はシアコッタープレート20によって大梁16へ伝達される。
また、鉄骨小梁18が撓んだときの引張応力は、スプライスプレート28によって大梁16及び大梁16を挟んで隣合う鉄骨小梁18へ伝達される。したがって、鉄骨小梁18と大梁16とを容易に剛接合でき、鉄骨小梁18の変形を抑制することができる。
なお、本発明について実施形態の一例を説明したが、本発明はかかる実施形態に限定されるものではなく、本発明の範囲内にて他の種々の実施形態が可能である。
例えば、上記実施形態では、鉄骨小梁18の全体が耐火被覆処理されていなかったが、図5に示すように、大梁16に接合される鉄骨小梁18の両端部が耐火被覆処理された耐火被覆部34とされていてもよい。
なお、耐火被覆処理の方法としては、耐火性の吹付け材を吹付ける方法や、耐火性の被覆部材を巻付ける方法、塗布型の被覆部材を塗布する方法、ボード状の被覆材を取付ける方法等が挙げられる。
鉄骨小梁18の両端部を耐火被覆部34とすることで、大梁16との接合部分において耐荷重の低下や溶解の虞が少なくなる。このため、火災時における鉄骨小梁18によるスラブ12の支持面積が大きくなり、スラブ12の変形を小さくすることができる。
また、上記実施形態では鉄骨小梁18が連梁とされていたが、大梁16が鉄骨小梁18から伝達される引張応力に耐え得るねじれ強度を有している場合には、鉄骨小梁18は連梁とされている必要はなく、大梁16の片側のみに鉄骨小梁18が剛接合されていてもよい。さらに、鉄骨小梁18は、大梁16に対してウェブ18Aのみがボルトで接合される、いわゆるピン接合とされていてもよい。
また、大梁16は鉄筋コンクリート製とされていたが、耐火性能を有していれば鉄筋コンクリート製でなくてもよく、耐火被覆処理された鉄骨製とされていてもよい。さらに、鉄骨小梁18の大梁16への接合方法も上記実施形態には限られず、シアコッタープレート20やスプライスプレート28が用いられていなくてもよい。
12 スラブ
16 大梁
18 鉄骨小梁
18C 上フランジ
20 シアコッタープレート(鉛直鋼板)
28 スプライスプレート(水平鋼板)

Claims (3)

  1. 耐火性能を有する大梁と、
    全体又は一部が耐火被覆処理されず、前記大梁に接合された鉄骨小梁と、
    前記大梁と前記鉄骨小梁とに支持される鉄筋コンクリート製のスラブと、
    を有するスラブ構造。
  2. 前記大梁は、鉄筋コンクリート製とされ、
    前記鉄骨小梁の端部は、前記大梁に剛接合されている、
    請求項1に記載のスラブ構造。
  3. 前記鉄骨小梁はH形鋼梁であり、
    前記大梁の上部には、前記H形鋼梁の上フランジが接合される水平鋼板が跨り、
    前記大梁の側面には、前記H形鋼梁の端部が接合される鉛直鋼板が固定されている、 請求項2に記載のスラブ構造。
JP2016079527A 2016-04-12 2016-04-12 スラブ構造 Expired - Fee Related JP6864991B2 (ja)

Priority Applications (1)

Application Number Priority Date Filing Date Title
JP2016079527A JP6864991B2 (ja) 2016-04-12 2016-04-12 スラブ構造

Applications Claiming Priority (1)

Application Number Priority Date Filing Date Title
JP2016079527A JP6864991B2 (ja) 2016-04-12 2016-04-12 スラブ構造

Publications (2)

Publication Number Publication Date
JP2017190586A true JP2017190586A (ja) 2017-10-19
JP6864991B2 JP6864991B2 (ja) 2021-04-28

Family

ID=60085736

Family Applications (1)

Application Number Title Priority Date Filing Date
JP2016079527A Expired - Fee Related JP6864991B2 (ja) 2016-04-12 2016-04-12 スラブ構造

Country Status (1)

Country Link
JP (1) JP6864991B2 (ja)

Cited By (3)

* Cited by examiner, † Cited by third party
Publication number Priority date Publication date Assignee Title
JP2022144692A (ja) * 2021-03-19 2022-10-03 日本製鉄株式会社 床構造及び床構造の設計方法
JP2023008571A (ja) * 2021-07-06 2023-01-19 日本製鉄株式会社 耐火構造物の設計方法、耐火構造物の施工方法、及び耐火構造物
JP7723175B1 (ja) * 2024-12-03 2025-08-13 ミサワホーム株式会社 接合構造及び接合方法

Citations (2)

* Cited by examiner, † Cited by third party
Publication number Priority date Publication date Assignee Title
JPH0544264A (ja) * 1991-08-09 1993-02-23 Fujita Corp 大梁と鉄骨小梁の接合構造
JPH0651328U (ja) * 1992-12-21 1994-07-12 清水建設株式会社 鉄筋コンクリート大梁に鉄骨小梁を組合せた架構構造

Patent Citations (2)

* Cited by examiner, † Cited by third party
Publication number Priority date Publication date Assignee Title
JPH0544264A (ja) * 1991-08-09 1993-02-23 Fujita Corp 大梁と鉄骨小梁の接合構造
JPH0651328U (ja) * 1992-12-21 1994-07-12 清水建設株式会社 鉄筋コンクリート大梁に鉄骨小梁を組合せた架構構造

Cited By (5)

* Cited by examiner, † Cited by third party
Publication number Priority date Publication date Assignee Title
JP2022144692A (ja) * 2021-03-19 2022-10-03 日本製鉄株式会社 床構造及び床構造の設計方法
JP7736982B2 (ja) 2021-03-19 2025-09-10 日本製鉄株式会社 床構造及び床構造の設計方法
JP2023008571A (ja) * 2021-07-06 2023-01-19 日本製鉄株式会社 耐火構造物の設計方法、耐火構造物の施工方法、及び耐火構造物
JP7617425B2 (ja) 2021-07-06 2025-01-20 日本製鉄株式会社 耐火構造物の設計方法、耐火構造物の施工方法、及び耐火構造物
JP7723175B1 (ja) * 2024-12-03 2025-08-13 ミサワホーム株式会社 接合構造及び接合方法

Also Published As

Publication number Publication date
JP6864991B2 (ja) 2021-04-28

Similar Documents

Publication Publication Date Title
JP6347930B2 (ja) 鉄骨梁の仕口構造
KR100946940B1 (ko) 강관 기둥과 철근콘크리트 플랫슬래브 간의 전단보강 접합구조
US6871462B2 (en) Composite action system and method
KR101125917B1 (ko) 프리스트레스가 도입된 강콘크리트 합성보
JP6864991B2 (ja) スラブ構造
JP3830767B2 (ja) 橋梁用連続桁
JP6769549B2 (ja) 小梁接合方法、小梁接合構造、及び、支持部材
JP6508866B2 (ja) 柱梁架構
JP4447632B2 (ja) 梁、および梁と柱の接合構造ならびにその接合方法
JP6574336B2 (ja) 鉄骨鉄筋コンクリート造の柱、及びこれを用いた建物
KR101825580B1 (ko) 철골-프리캐스트 콘크리트 합성보
JP5344702B2 (ja) 柱とスラブの接合構造
KR101188367B1 (ko) 무량판 슬래브 펀칭 전단보강체
JP7663810B2 (ja) 耐火構造物の設計方法、耐火構造物の施工方法、及び耐火構造物
JP7228337B2 (ja) 梁床構造
JP6961408B2 (ja) プレキャストコンクリート板、およびコンクリート構造スラブ
KR101579037B1 (ko) 샌드위치 프리캐스트 콘크리트 합성보 및 그 제조방법
KR102635417B1 (ko) 하이브리드 골조
KR20110046708A (ko) 래티스형 철선을 이용한 슬래브-기둥 접합부의 펀칭전단 보강구조
KR102741732B1 (ko) 필로티 건축물의 슬래브 전단하중 취약구간의 보강구조 및 이를 구비한 건축물
JP6357303B2 (ja) 鉄筋コンクリート造の方立壁
JP7617425B2 (ja) 耐火構造物の設計方法、耐火構造物の施工方法、及び耐火構造物
KR101287031B1 (ko) 복합보 구조
KR101376782B1 (ko) 철골 보와 프리캐스트 콘크리트 보의 연결구조물
JP7345170B2 (ja) 鉄筋コンクリート造梁及び構造物

Legal Events

Date Code Title Description
A621 Written request for application examination

Free format text: JAPANESE INTERMEDIATE CODE: A621

Effective date: 20190325

A977 Report on retrieval

Free format text: JAPANESE INTERMEDIATE CODE: A971007

Effective date: 20200121

A131 Notification of reasons for refusal

Free format text: JAPANESE INTERMEDIATE CODE: A131

Effective date: 20200128

A521 Request for written amendment filed

Free format text: JAPANESE INTERMEDIATE CODE: A523

Effective date: 20200324

A131 Notification of reasons for refusal

Free format text: JAPANESE INTERMEDIATE CODE: A131

Effective date: 20200915

A521 Request for written amendment filed

Free format text: JAPANESE INTERMEDIATE CODE: A523

Effective date: 20201008

TRDD Decision of grant or rejection written
A01 Written decision to grant a patent or to grant a registration (utility model)

Free format text: JAPANESE INTERMEDIATE CODE: A01

Effective date: 20210330

A61 First payment of annual fees (during grant procedure)

Free format text: JAPANESE INTERMEDIATE CODE: A61

Effective date: 20210405

R150 Certificate of patent or registration of utility model

Ref document number: 6864991

Country of ref document: JP

Free format text: JAPANESE INTERMEDIATE CODE: R150

LAPS Cancellation because of no payment of annual fees