JP2017014618A - フレキシブル基板を処理する方法 - Google Patents

フレキシブル基板を処理する方法 Download PDF

Info

Publication number
JP2017014618A
JP2017014618A JP2016109883A JP2016109883A JP2017014618A JP 2017014618 A JP2017014618 A JP 2017014618A JP 2016109883 A JP2016109883 A JP 2016109883A JP 2016109883 A JP2016109883 A JP 2016109883A JP 2017014618 A JP2017014618 A JP 2017014618A
Authority
JP
Japan
Prior art keywords
substrate
electron beam
flexible substrate
barrier layer
electron
Prior art date
Legal status (The legal status is an assumption and is not a legal conclusion. Google has not performed a legal analysis and makes no representation as to the accuracy of the status listed.)
Pending
Application number
JP2016109883A
Other languages
English (en)
Inventor
ゲルト ホフマン,
Hoffmann Gerd
ゲルト ホフマン,
ギュンター クレム,
Klemm Guenter
ギュンター クレム,
ハンス−ゲオルク ロッツ,
Lotz Hans-Georg
ハンス−ゲオルク ロッツ,
アレクサンダー ヴォルフ,
Wolff Alexander
アレクサンダー ヴォルフ,
Current Assignee (The listed assignees may be inaccurate. Google has not performed a legal analysis and makes no representation or warranty as to the accuracy of the list.)
Applied Materials Inc
Original Assignee
Applied Materials Inc
Priority date (The priority date is an assumption and is not a legal conclusion. Google has not performed a legal analysis and makes no representation as to the accuracy of the date listed.)
Filing date
Publication date
Application filed by Applied Materials Inc filed Critical Applied Materials Inc
Priority to JP2016109883A priority Critical patent/JP2017014618A/ja
Publication of JP2017014618A publication Critical patent/JP2017014618A/ja
Pending legal-status Critical Current

Links

Images

Landscapes

  • Physical Vapour Deposition (AREA)
  • Chemical Vapour Deposition (AREA)
  • Formation Of Insulating Films (AREA)
  • Treatments Of Macromolecular Shaped Articles (AREA)
  • Laminated Bodies (AREA)

Abstract

【課題】フレキシブル基板をコーティングの前に事前処理して、コーティングされた基板のバリア特性を改善する方法の提供。【解決手段】重合面を有するフレキシブル基板を用意する工程202、電子ビームを放出する工程204、重合面を1keVから6keVの電子エネルギーを有する電子ビームに曝す工程206、処理ドラムに隣接して配置される第一のローラとの間で電子ビームに曝すことによって重合面の化学結合を破壊することを含む改変をする工程208、および改変面にバリア層を堆積する工程210を含む基板のバリア特性を改善する方法。【選択図】図4

Description

本開示の諸実施形態は、フレキシブル基板を処理する方法に関する。詳細には、これらの実施形態は、フレキシブル基板をコーティングの前に事前処理して、コーティングされた基板のバリア特性を改善する方法に関する。
プラスチックのフィルムまたは箔などのフレキシブル基板の処理は、パッケージング業界、半導体業界および他の業界において大きな需要がある。処理は、フレキシブル基板を所望の材料でコーティングすることから成ることが多い。
この作業を実施するシステムは一般に、基板を搬送する処理システムに結合された処理ドラム、例えば円筒形ローラを含み、この処理ドラムの上で基板の少なくとも一部分が処理される。例えば、フレキシブル基板が搬送されている間に、処理ドラムの上でフレキシブル基板の一部分をコーティングすることができる。
食品包装用のプラスチックフィルムは、金属またはシリコンを含む層でコーティングして、コーティングがなければプラスチック材料を透過して包装済み商品を劣化させることになる酸素および水蒸気からパッケージ内部の食品を保護することができる。そのために、コーティングされたプラスチック基板のバリア特性は、種々の要素、例えば、プラスチック材料自体、コーティングの厚さおよび性質、ならびにコーティング処理中の様々な処理パラメータによって決まる。いくつかのパラメータにより、水蒸気または酸素のバリア特性を改善することができるが、これらのパラメータは、基板特性全体に関する他の態様に悪影響を及ぼすこともある。
したがって、プラスチック基板上のコーティングのバリア特性を全般的に改善する方法があることが望ましい。
一態様では、フレキシブル基板を処理する方法が提供される。この方法は、重合面を有するフレキシブル基板を用意すること、電子ビームを放出すること、重合面を電子ビームに曝すこと、電子ビームに曝すことによって重合面を改変すること、および改変面にバリア層を堆積することを含む。
本発明の上述の特徴が得られる方法が細部にわたり理解できるように、上で簡潔に要約した本発明のより具体的な説明が、添付の図面に示されている本発明の実施形態を参照することによって得られよう。
諸実施形態によるフレキシブル基板を処理する例示的システムの概略図である。 図1に示された実施形態の処理ドラムの概略斜視図である。 別の実施形態によるフレキシブル基板を処理するシステムの概略図である。 諸実施形態によるフレキシブル基板を処理する例示的方法を示す流れ図である。
次に、各図に1つまたは複数の例が示されている様々な実施形態を細部にわたり参照する。各例は、説明として提示されており、限定を意味するものではない。例えば、一実施形態の一部として図示または説明された特徴を用いて、または他の実施形態と組み合わせて、さらに別の実施形態を得ることができる。本開示は、このような修正形態または変形形態を含むことが意図されている。
本明細書で開示される実施形態は、フィルムをシリコン層、酸化シリコン層、金属層、金属酸化物層または金属窒化物層で、一例としてはアルミニウム、酸化アルミニウムまたは窒化アルミニウムでコーティングする前に、電子ビームでプラスチック基板を処理する方法に関する。本発明者らは、電子で事前処理することによりコーティング後のフィルムのバリア特性が、同じコーティングを備えるがコーティング前に電子処理をしない同じフィルムと比較して、予想外に改善することを見出した。したがって、電子で処理されるフィルムの面は通常、それだけには限らないが、後の処理ロールから離れる方向に向けられる面であり、かつ後でコーティングによって覆われる面である。
認められる効果は、電子処理の様々な部分的効果の組合せであることが想定される。電子ビームを重合基板上に向けることによって、基板の表面粗さが低減される。さらに、衝突電子によってフィルム表面の電子構造が変えられ、例えば励起され、その結果、プラスチックフィルム表面と後で施されるコーティングとの間の接着性が変化し、水蒸気および酸素に対するバリア特性が改善されることになる。さらに、ポリマーフィルムの表面の結合が破壊され、その結果、後のコーティングとフィルムの間の結合の性質が変わり、それぞれ改善されることになる。
上述の効果の少なくとも一部分の性質は、プラスチックフィルムの表面が構造的に改変されるようなものであり、それぞれ不可逆的に改変される。さらに、表面の分離水または水分子の量が減少し、それゆえに表面は、電子ビームによって洗浄される。本明細書に記載の基板は、通常はすでに完全に重合されていることに留意されたい。すなわち、電子ビームは、表面上の重合反応を促進するのに寄与せず、かつ/または基板は、電子ビームによって処理されるように通常はすでに事前に硬化されている。
諸実施形態において、電子ビームによる事前処理は、プラスチックフィルムの上方の空間にガスを付加することと組み合わせることができる。ガス分子は電子ビームによって励起され、それぞれイオン化される。適切なガスはArであること、あるいは、より具体的には、ヘリウム、またはNもしくはOのような反応性ガス、または前者の任意の混合物であることが判明した。
図面についての以下の説明の中で、同じ参照番号は同じ構成要素を指す。一般に、個々の実施形態に関して相違点のみが説明される。
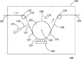
図1は、それだけには限らないが、ウエブ、フィルム、または箔などのフレキシブルプラスチック基板110を処理する例示的システム100を示す。この例示的実施形態は、真空チャンバ180を含む。諸実施形態によれば、フレキシブル基板の処理は真空チャンバ180の中で行われる。具体的には、処理ドラム105が、例示的システム100の真空チャンバ180内に配置される。それによって、処理は真空状態で行うことができる。真空チャンバ180は通常、その中に真空状態を維持しながら基板110をチャンバの中に導入しやすくするように適合された入口185と、処理された基板150用の出口190とを備える。あるいは、巻出しローラおよび巻取りローラ(図1に図示せず)を含むロールツーロールシステム全体を真空チャンバ180内に収容することもできる。
本明細書の実施形態によれば、システム100は、フレキシブル基板110を搬送するように、かつ/または横方向に引っ張るように適合された第1のローラ125を含む。具体的には、本明細書の実施形態によれば、第1のローラ125は、フレキシブル基板110が横方向に引っ張られる(すなわち、基板幅に沿って引っ張られる)ように構成され、例えば処理ドラム105に対して配置される。それによって、処理ドラム105の上までフレキシブル基板110を適切に搬送しやすくなる。
諸実施形態によれば、第1のローラ125は、処理ドラム105に隣接して配置される。すなわち、第1のローラ125と処理ドラム105の間に延びる基板搬送路内には他のいかなるローラもない。諸実施形態によれば、第1のローラ125は案内ローラである。特定の実施形態によれば、例示的システム100のように、第1のローラ125は真空チャンバ180の中に配置される。あるいは、第1のローラ125は、真空チャンバ180の外側に配置することもできる。第1のローラ125は、例えば、それだけには限らないが、円筒形状を有することができる。
本明細書の実施形態によれば、処理ドラム105は、その縦軸に対して回転可能である。それによって、フレキシブル基板110は、回転している処理ドラム105を越えて移動させることによって搬送し、処理することができる。諸実施形態によれば、縦軸106は、処理ドラム105の中心軸と一致する。諸実施形態によれば、処理ドラム105は、縦軸106に沿って、図2に示されるような処理ドラム長107を有する。
本明細書の実施形態によれば、フレキシブル基板は、ローラ125に供給される前にロール(図示せず)から巻き出される。コーティングされた基板150は通常、ローラ130を越えて真空チャンバ180の外へと出口まで案内され、フレキシブル基板は通常、真空チャンバ180内で処理された後に、または同じもしくは別の真空チャンバ内での別の処理ステップの後に、ロール(図示せず)上に巻かれる。
諸実施形態によれば、処理ドラム長107は、基板110の幅の少なくとも105%の長さである。諸実施形態によれば、フレキシブル基板110のコーティングは、例えば、それだけには限らないが、処理ドラム105の上でフレキシブル基板110の一部分にコーティングを行うことによって、処理ドラム105の上で作用する。
諸実施形態によれば、電子ビーム120は、基板をコーティングする前に、基板110の表面112に対し向けられる。ビーム120は通常、ローラ125と処理ドラム105との間の表面112に対して、より具体的には、基板が処理ドラム105と接触するドラムの領域114に対して向けられる。第1の領域114は、真空チャンバ180に相対的と見なされる領域であること、すなわち、フレキシブル基板110の処理中に通常は静止している要素であることに留意されたい。つまり、本明細書では、第1の領域114は、処理ドラム105と共に回転する領域ではない。電子ビーム120を放出する電子ビームデバイス115は、電子ビームが基板に対してその幅全体にわたり作用するように適合され、その結果、基板110が縦方向に移動することにより、真空チャンバ180を通過する基板の(一方の側の)全表面が電子ビーム120で処理されることになる。電子ビームデバイス115は、例えば、電子フラッド銃、リニア電子銃、電子ビーム、または同様のものなどの電子源でよい。電子源に使用されるガスは、アルゴン、O、N、CO、またはHeでよく、とりわけO、N、CO、またはHeであればよい。
したがって、放出電子で処理された重合面112は、後でコーティングされる基板のバリア特性の改善を実現するために、物理的に、それぞれ構造的に変えられることが強調される。所望の効果は、電子を1keVから6keVのエネルギーで、より典型的には1keVから4keV、例えば2keV、3keV、または4keVのエネルギーで供給することによって得ることができる。典型的な電子流は、20mAから1500mAまでで、例えば500mAである。
諸実施形態によれば、電子ビームデバイス115は、フレキシブル基板110に対して、そのさらなる処理の前に作用する。それによって、基板110の基板表面112の改変はまた、フレキシブル基板110と処理ドラム105の間に電位差をもたらすこともある。具体的には、電子ビームデバイス115は、フレキシブル基板110に電子を供給することによって、フレキシブル基板110を帯電させることがある。それによって、負電荷がフレキシブル基板に加えられる可能性がある。処理ドラム105のグランド118へのグランド接続108によって例示的に示されているように(図1および図3に示す)、処理ドラム105が接地されている場合、フレキシブル基板110上の電荷が、接地された処理ドラム105に対する電位差をもたらす。しかし、この帯電効果は単に、本明細書で開示される方法の副産物として見られるべきものにすぎない。これは通常、上述の基板表面112の物理的/構造的変更に寄与せず、したがってまた、諸実施形態によるバリア特性の改善にも寄与しない。
諸実施形態によれば、電子ビームデバイス115は、フレキシブル基板110に対し、フレキシブル基板の幅の大部分を横切って延びるラインに沿って同時に作用するように構成される。具体的には、電子ビームデバイス115はリニア供給源でよく、すなわち、リニア電子源などの、細長い領域に沿って荷電粒子を同時に放出する供給源でよい。例えば、電子ビームデバイス115は、長い方の長さがおよそ基板幅、より具体的には基板幅の少なくとも95%であり、短い方の長さが基板幅の0.5%から10%の間であるほぼ長方形の領域の上に、電子を同時に放出することができる。電子ビームデバイス115の開口部の基板表面からの距離は、5mmから120mmまで、より典型的には20mmから100mmまででよい。
荷電粒子のリニア供給源は、フレキシブル基板の高速処理をしやすくすることができ、その結果、基板の搬送速度を最大化することが可能になる。代替実施形態によれば、電子ビームデバイス115は走査電子源であり、すなわち、電子を放出すると共に、図1に示された領域114などのラインまたは区域に沿って、典型的には基板幅全体に沿って、放出方向を走査する供給源である。それに応じて、本明細書で使用される用語の「電子ビーム」は、ある個所に合焦されるビームに限定されず、これにはまた、走査され、あるラインまたは領域の上をそれぞれ掃引されるビーム、ならびにより大きい領域から基板上のターゲット領域の方向に放出される複数の電子が含まれ、それゆえに大量の電子の流れも含まれることを理解されたい。リニア電子源の例は、2007年12月21日に出願の「Linear electron source,evaporator using linear electron source,and applications of electron sources」という名称の欧州特許出願第2073243A1号に記載されており、同出願は参照により、同出願が本開示と矛盾しない範囲で本明細書に組み込まれる。その中でリニアプラズマ電子源が言及されており、この電子源は、第1の電極として機能し、側壁を有する筐体と、電子ビームを通過させ、電子源の長さ方向を画定する筐体内のスリット開口部と、筐体内に配列され、スリット開口部と対向する第1の側面を有する第2の電極であって、第1の側面がスリット開口部から第1の距離だけ間隔があけられ、電子源の長さ方向の長さが第1の距離の少なくとも5倍であり、少なくとも70cmである第2の電極と、筐体内にガスを供給する少なくとも1つのガス供給源とを含み、第1の電極はアノードであり、第2の電極はカソードである。
諸実施形態によれば、フレキシブル基板には、それだけには限らないが、ポリプロピレン含有基板、ポリエステル基板、ナイロン基板、OPP基板(すなわち、配向ポリプロピレンフィルム)、およびCPP基板(すなわち、キャスティングポリプロピレンフィルム)が含まれる。諸実施形態によれば、フレキシブル基板は厚さが50μm未満、より詳細には5μm、さらに詳細には2μmである。例えば、フレキシブル基板はOPP基板であり、厚さが、例えば20μmなど、50μm以下であればよい。本明細書に記載の実施形態ではまた、フレキシブル基板は、2μm以下、例えば0.7μの厚さを有する超薄フィルムであることも企図されている。
諸実施形態によれば、システム100は、処理ドラム105上のフレキシブル基板110の少なくとも一部分をコーティングするための、処理ドラム105に対向して配置されたコーティングユニット140を含む。諸実施形態によれば、コーティングユニット140は、第1の領域114の下流であり第2の領域116の上流でもあるところの、フレキシブル基板110の一部分をコーティングするように配置され、第2の領域ではコーティングされた基板150は、ローラ130によって処理ドラム105から遠ざかるように案内される。
コーティングユニット140は、フレキシブル基板110をコーティング材料135のフィルムでコーティングするために設けられ、その結果、コーティングされたフレキシブル基板150が製作されることになる。本明細書に記載の実施形態のいずれとも組み合わせることができる異なる実施形態によれば、コーティングは、熱蒸発、電子ビーム蒸発、スパッタリング処理、CVD処理、プラズマ促進処理、またはこれらの組合せによって実現することができる。コーティングユニット140は、コーティングされる層の均一性の改善が容易になるように、例えば、スタガボート蒸発器から成るものでよい。
諸実施形態によれば、コーティングユニット140は、フレキシブル基板110を金属層、金属酸化物層、または金属窒化物層でコーティングするように構成される。例えば、コーティングユニット140は、フレキシブル基板110をアルミニウム層でコーティングするように構成することができる。コーティングされた金属層は通常、厚さが500nm未満、より詳細には450nm未満、さらに詳細には100nm未満である。さらに、諸実施形態によれば、コーティングされた金属層は、少なくとも5nm、より詳細には少なくとも8nm、さらに詳細には少なくとも10nmの厚さがある。例えば、それだけには限らないが、フレキシブル基板110は、厚さが約10nmから100nmまでの範囲のアルミニウム層、または厚さが約8nmから450nmの範囲の酸化アルミニウム(AlO)層もしくは窒化アルミニウム層でコーティングすることができる。AlOを用いるなど、場合によって、コーティングは光学的に透明になり得る。諸実施形態において、基板110は、シリコン層または酸化シリコン層でコーティングされる。
諸実施形態によれば、水蒸気および/または酸素に対するコーティングされた基板150のバリア特性は、電子ビームが基板表面112に作用する前に、放出電子ビームで処理ガスを付加的に励起することによってさらに改善される。この目的のために、処理ガスが、基板表面112の付近で電子ビーム120と相互作用することができる位置または領域で、真空チャンバ180の中に導入される。ガス注入口160が図3に概略的に示されており、ガス165は、基板110の表面112に近接する領域に向けられている。ガス分子は、電子ビーム120と相互作用した後、基板表面と相互作用する。それによって、表面は励起された処理ガスに曝される。適切な処理ガスは、アルゴン、ヘリウム、窒素と酸素の混合物などの反応性ガスの混合物、および前者のうちのいずれかの組合せであり、より具体的には窒素と酸素、ヘリウム、およびこれらの混合物であることが判明した。励起された処理ガスが使用される場合、約1keVから6keVの電子エネルギーがガスの十分な励起を生じさせるのに適しており、より詳細には1keVから4keVが適している。
図4は、諸実施形態によるフレキシブル基板を処理する方法200を概略的に示す。この方法は、202で重合表面を有するフレキシブル基板を用意すること、204で電子ビームを放出すること、206で重合面を電子ビームに曝すこと、208で電子ビームに曝すことによって重合面を改変すること、および210で改変面にバリア層を堆積することを含む。
諸実施形態において、電子ビームによって改変された基板表面112上では、金属、金属酸化物、シリコン、または酸化シリコンのバリア層のコーティングの前に、別の層が基板110に付けられる。この別の層には、AlO、またはトリアジン(Triazine)もしくはアクリレート(Acrylate)のような有機層が含まれてよい。加えて、または別法として、別の層がバリア層の上に、すなわち基板表面から離れた側に付けられてもよい。この別の層には、AlO、またはトリアジンもしくはアクリレートのような有機層が含まれてよい。
基板を処理するシステムおよび方法の例示的な諸実施形態が上で詳細に説明されている。これらのシステムおよび方法は、本明細書に記載の特定の実施形態に限定されるのではなく、システムの諸構成要素および/または方法の諸ステップは別々に、また本明細書に記載の他の構成要素および/またはステップとは別に利用することができる。例えば、コーティングステップの前に電子ビームによって基板表面を改変することは、説明されたものと異なるシステム、例えば専用の処理ドラムがないシステムで実行することができ、本明細書で説明された組合せに限定されない。
本発明の様々な実施形態の具体的な特徴は、一部の図面に示され、他の図面には示されていないことがあるが、これは単に便宜のためにすぎない。本発明の原理によれば、ある図面のどの特徴も、他の任意の図面のどの特徴とも組み合わせて参照および/または特許請求することができる。
本明細書では諸例を用いて、ベストモードを含めて本発明を開示し、また当業者が本発明を実施することを、任意のデバイスまたはシステムを作製および使用すること、および組み込まれる任意の方法を実施することを含めて可能にしている。様々な特定の諸実施形態を上記で開示したが、当業者には、特許請求の趣旨および範囲で、等しく効果的な修正形態が可能であることが理解されよう。特に、上述の実施形態の互いに非排他的な特徴は、互いに組み合わせることができる。本発明の特許可能な範囲は特許請求の範囲に定義されており、また当業者に想到される他の例を含むことができる。このような他の例は、それが特許請求の範囲の文字通りの言葉と相違しない構造要素を有する場合、または特許請求の範囲の文字通りの言葉とは実質的な違いがない等価の構造要素を有する場合には、特許請求の範囲内にあるものとする。

Claims (15)

  1. フレキシブル基板を処理する方法であって、
    重合面を有するフレキシブル基板を用意すること、
    電子ビームを放出すること、
    前記重合面を前記電子ビームに曝すこと、
    前記電子ビームに曝すことによって前記重合面を改変すること、および
    前記改変面にバリア層を堆積することを含む、方法。
  2. 前記フレキシブル基板が、ポリプロピレン含有基板、ポリエステル基板、ナイロン基板、OPP基板、およびCPP基板から成る群から選択される、請求項1に記載の方法。
  3. 前記改変することが前記表面を清浄にすること、特に前記表面から水蒸気を除去することを含む、請求項1または2に記載の方法。
  4. 前記改変することが前記表面の表面粗さを低減することを含む、請求項1ないし3のいずれか一項に記載の方法。
  5. 前記改変することが前記基板の前記重合面の化学結合を破壊することを含む、請求項1ないし4のいずれか一項に記載の方法。
  6. 前記電子ビームが1keVから6keVの電子エネルギーを有する、請求項1ないし5のいずれか一項に記載の方法。
  7. 前記電子ビームが20mAから1500mAのビーム電流で放出される、請求項1ないし6のいずれか一項に記載の方法。
  8. 処理ガスを入れること、
    前記処理ガスを前記放出電子ビームによって励起すること、および
    前記基板表面を前記励起された処理ガスに曝すことをさらに含む、請求項1ないし7のいずれか一項に記載の方法。
  9. 前記処理ガスが、アルゴン、より具体的には窒素または酸素、窒素と酸素の混合物、および前者の組合せから成る群から選択される、請求項8に記載の方法。
  10. 前記フレキシブル基板をロールから巻き出すこと、および
    前記フレキシブル基板をロール上に巻くことをさらに含む、請求項1ないし9のいずれか一項に記載の方法。
  11. 前記バリア層が、アルミニウム、酸化アルミニウム、窒化アルミニウム、シリコン、酸化シリコンから成る群からの少なくとも1つの要素を含む、請求項1ないし10のいずれか一項に記載の方法。
  12. 前記バリア層が、酸素および/または水蒸気に対する、特に酸素および水蒸気に対する光学的に透明なバリアである、請求項1ないし11のいずれか一項に記載の方法。
  13. 前記フレキシブル基板と前記バリア層の間にAlO、またはトリアジンもしくはアクリレート層のような有機層を堆積すること、および/または
    前記バリア層の上にAlO、またはトリアジンもしくはアクリレート層のような有機層を堆積することをさらに含む、請求項1ないし12のいずれか一項に記載の方法。
  14. 前記重合基板表面が前記電子ビームによって不可逆的に改変される、請求項1ないし13のいずれか一項に記載の方法。
  15. 前記フレキシブル基板がPETを含み、前記堆積されたバリア層がAlを含み、電子エネルギーが5keVであり、電子流が500mAである、請求項1ないし14のいずれか一項に記載の方法。
JP2016109883A 2016-06-01 2016-06-01 フレキシブル基板を処理する方法 Pending JP2017014618A (ja)

Priority Applications (1)

Application Number Priority Date Filing Date Title
JP2016109883A JP2017014618A (ja) 2016-06-01 2016-06-01 フレキシブル基板を処理する方法

Applications Claiming Priority (1)

Application Number Priority Date Filing Date Title
JP2016109883A JP2017014618A (ja) 2016-06-01 2016-06-01 フレキシブル基板を処理する方法

Related Parent Applications (1)

Application Number Title Priority Date Filing Date
JP2014517476A Division JP2014523940A (ja) 2011-07-05 2011-07-05 フレキシブル基板を処理する方法

Publications (1)

Publication Number Publication Date
JP2017014618A true JP2017014618A (ja) 2017-01-19

Family

ID=57829057

Family Applications (1)

Application Number Title Priority Date Filing Date
JP2016109883A Pending JP2017014618A (ja) 2016-06-01 2016-06-01 フレキシブル基板を処理する方法

Country Status (1)

Country Link
JP (1) JP2017014618A (ja)

Cited By (2)

* Cited by examiner, † Cited by third party
Publication number Priority date Publication date Assignee Title
CN110904428A (zh) * 2019-12-25 2020-03-24 惠州市迪思特精细化工有限公司 工程塑料表面金属化电镀方法
WO2020203279A1 (ja) * 2019-04-03 2020-10-08 竹本容器株式会社 複合酸化珪素膜又は複合金属酸化膜を有する樹脂製包装容器、及びその製造方法

Citations (8)

* Cited by examiner, † Cited by third party
Publication number Priority date Publication date Assignee Title
US5085939A (en) * 1990-10-24 1992-02-04 Minnesota Mining And Manufacturing Company Thin film-coated polymer webs
JPH04212842A (ja) * 1990-12-06 1992-08-04 Toppan Printing Co Ltd 蒸着フィルム
JP2000234032A (ja) * 1999-02-16 2000-08-29 Dainippon Printing Co Ltd レトルト用バリア性包材
JP2000340556A (ja) * 1999-05-31 2000-12-08 Sony Corp 絶縁物の表面処理方法
JP2002037907A (ja) * 2000-07-24 2002-02-06 Seiko Epson Corp プラスチック部材の改質方法および改質装置、プラスチック部材の製造方法
JP2003502845A (ja) * 1999-06-11 2003-01-21 エレクトロン ビジョン コーポレーション 化学気相成長前に電子線処理を用いて薄膜を処理する方法
US20050230242A1 (en) * 2004-04-14 2005-10-20 Darrin Leonhardt Large area metallization pretreatment and surface activation system
JP2010515599A (ja) * 2007-01-11 2010-05-13 ディーエスエム アイピー アセッツ ビー.ブイ. 高湿度においてバリヤー性を有する基材

Patent Citations (8)

* Cited by examiner, † Cited by third party
Publication number Priority date Publication date Assignee Title
US5085939A (en) * 1990-10-24 1992-02-04 Minnesota Mining And Manufacturing Company Thin film-coated polymer webs
JPH04212842A (ja) * 1990-12-06 1992-08-04 Toppan Printing Co Ltd 蒸着フィルム
JP2000234032A (ja) * 1999-02-16 2000-08-29 Dainippon Printing Co Ltd レトルト用バリア性包材
JP2000340556A (ja) * 1999-05-31 2000-12-08 Sony Corp 絶縁物の表面処理方法
JP2003502845A (ja) * 1999-06-11 2003-01-21 エレクトロン ビジョン コーポレーション 化学気相成長前に電子線処理を用いて薄膜を処理する方法
JP2002037907A (ja) * 2000-07-24 2002-02-06 Seiko Epson Corp プラスチック部材の改質方法および改質装置、プラスチック部材の製造方法
US20050230242A1 (en) * 2004-04-14 2005-10-20 Darrin Leonhardt Large area metallization pretreatment and surface activation system
JP2010515599A (ja) * 2007-01-11 2010-05-13 ディーエスエム アイピー アセッツ ビー.ブイ. 高湿度においてバリヤー性を有する基材

Cited By (3)

* Cited by examiner, † Cited by third party
Publication number Priority date Publication date Assignee Title
WO2020203279A1 (ja) * 2019-04-03 2020-10-08 竹本容器株式会社 複合酸化珪素膜又は複合金属酸化膜を有する樹脂製包装容器、及びその製造方法
JP2020169356A (ja) * 2019-04-03 2020-10-15 竹本容器株式会社 複合酸化珪素膜又は複合金属酸化膜を有する樹脂製包装容器、及びその製造方法
CN110904428A (zh) * 2019-12-25 2020-03-24 惠州市迪思特精细化工有限公司 工程塑料表面金属化电镀方法

Similar Documents

Publication Publication Date Title
US20160045934A1 (en) Method for processing a flexible substrate
JP2014523940A (ja) フレキシブル基板を処理する方法
JP6724967B2 (ja) プラズマを使った前処理装置を有した蒸着装置
US6919107B2 (en) Method and device for treating surfaces using a glow discharge plasma
JP4516304B2 (ja) 巻取式真空蒸着方法及び巻取式真空蒸着装置
JP2014189890A (ja) 成膜装置及び成膜方法
KR102106358B1 (ko) 막 형성방법 및 권취식 막 형성장치
JP5504720B2 (ja) 成膜装置
US20150371834A1 (en) Apparatus and Methods for Defining a Plasma
JP4747658B2 (ja) 成膜装置及び成膜方法
JP2017014618A (ja) フレキシブル基板を処理する方法
JP2010185124A (ja) 蒸着方法及び蒸着装置
JP5423539B2 (ja) 蒸着フィルム製造方法
JP2022132500A (ja) 成膜装置及び成膜方法
JP2006152448A (ja) 巻取式真空蒸着装置及び巻取式真空蒸着方法
JP7186234B2 (ja) 堆積装置、フレキシブル基板をコーティングする方法、及びコーティングを有するフレキシブル基板
JP2010163693A (ja) 巻取式真空蒸着方法
JP2013237897A (ja) 真空成膜装置、ガスバリアフィルム、ガスバリア性積層体
JP2009275251A (ja) 成膜装置および成膜方法
JP2013072100A (ja) 真空成膜装置ならびにガスバリア性積層体およびその製造方法
KR102422431B1 (ko) 마찰대전수단을 구비한 진공증착장치
JP2015028196A (ja) 積層体の製造方法
JP2005232564A (ja) 巻取式真空蒸着装置
CN102165089B (zh) 用于在塑料衬底上沉积阻挡层的方法以及其涂覆装置和层系统
JP2019183253A (ja) 成膜装置及び成膜方法

Legal Events

Date Code Title Description
A977 Report on retrieval

Free format text: JAPANESE INTERMEDIATE CODE: A971007

Effective date: 20170529

A131 Notification of reasons for refusal

Free format text: JAPANESE INTERMEDIATE CODE: A131

Effective date: 20170606

A601 Written request for extension of time

Free format text: JAPANESE INTERMEDIATE CODE: A601

Effective date: 20170901

A601 Written request for extension of time

Free format text: JAPANESE INTERMEDIATE CODE: A601

Effective date: 20171030

A02 Decision of refusal

Free format text: JAPANESE INTERMEDIATE CODE: A02

Effective date: 20180403