JP2016200201A - 多方向より動力を取り出すことができるギヤ機構およびハンド機構 - Google Patents

多方向より動力を取り出すことができるギヤ機構およびハンド機構 Download PDF

Info

Publication number
JP2016200201A
JP2016200201A JP2015080035A JP2015080035A JP2016200201A JP 2016200201 A JP2016200201 A JP 2016200201A JP 2015080035 A JP2015080035 A JP 2015080035A JP 2015080035 A JP2015080035 A JP 2015080035A JP 2016200201 A JP2016200201 A JP 2016200201A
Authority
JP
Japan
Prior art keywords
gear
output
gear mechanism
shaft
orthogonal
Prior art date
Legal status (The legal status is an assumption and is not a legal conclusion. Google has not performed a legal analysis and makes no representation as to the accuracy of the status listed.)
Granted
Application number
JP2015080035A
Other languages
English (en)
Other versions
JP6568381B2 (ja
Inventor
和志 染谷
Kazuyuki Someya
和志 染谷
Current Assignee (The listed assignees may be inaccurate. Google has not performed a legal analysis and makes no representation or warranty as to the accuracy of the list.)
Oriental Motor Co Ltd
Original Assignee
Oriental Motor Co Ltd
Priority date (The priority date is an assumption and is not a legal conclusion. Google has not performed a legal analysis and makes no representation as to the accuracy of the date listed.)
Filing date
Publication date
Application filed by Oriental Motor Co Ltd filed Critical Oriental Motor Co Ltd
Priority to JP2015080035A priority Critical patent/JP6568381B2/ja
Publication of JP2016200201A publication Critical patent/JP2016200201A/ja
Application granted granted Critical
Publication of JP6568381B2 publication Critical patent/JP6568381B2/ja
Active legal-status Critical Current
Anticipated expiration legal-status Critical

Links

Images

Landscapes

  • Manipulator (AREA)
  • Gear Transmission (AREA)
  • Retarders (AREA)
  • Gears, Cams (AREA)

Abstract

【課題】 一つの入力軸から直交する一つまたは複数の出力軸が得られ、フェース歯車機構のフェース歯車部の全周から出力軸を多方向に出すことができる多方向に自在に出力を取り出すギヤ機構を提供する。【解決手段】 入力軸に対して出力軸が直交方向になるギヤ機構において、入力段に遊星歯車機構100を設け、出力段の方向変換に直交軸歯車機構を設け、前記遊星歯車機構100の太陽歯車1を入力軸とし、前記遊星歯車機構100のキャリアの出力端に直交軸歯車機構の歯車6aを設け、該直交軸歯車機構の歯車6aに噛み合う出力歯車9を前記入力軸と直交する出力軸10に装着したことにある。【選択図】 図1

Description

本発明は、遊星歯車機構と直交軸歯車機構を用いたギヤ機構に係り、直交軸歯車機構からの出力として1またはそれ以上の追加の動力を多方向より取り出すことができるギヤ機構、さらに、このギヤ機構を応用したハンド機構に関する。
従来、この種のギヤ機構として、特許文献1に記載されているものがある。特許文献1には、原動機から延在したピニオンシャフトの一端にスパーギヤ形式のピニオンを有し、このピニオンは、フェースギヤと噛み合っている。ピニオンが回転することで、フェースギヤを駆動している。ピニオンからフェースギヤの周辺を180°回った位置に非遊動スパーギヤが取り付けられている。この非遊動スパーギヤを支持するシャフトの他端は、補助装置に作動連結されて、シャフトからの動力を受け取るようにすることができる。さらに、複数の非遊動スパーギヤおよびシャフトがフェースギヤの周辺に沿って追加されて補助装置に動力を供給することができる。
特許第3075483号公報
しかしながら、特許文献1の技術では、フェースギヤに噛み合う遊動ピニオンを回転することでフェースギヤを駆動するため、遊動ピニオンの方向に出力することができない。さらに、遊動ピニオンからフェースギヤは減速となるが、フェースギヤから非遊動ピニオンへは増速となる。つまり、入力となる遊動ピニオンと出力となる非遊動ピニオンの回転速度比は、1:1の関係となり、出力トルクを上げることができないという問題点があった。
本発明は、上記課題を解決し、一つの入力軸から直交する一つまたは複数の出力軸が得られ、直交軸歯車機構の歯車部の全周から出力軸を多方向に出すことができる多方向に自在に出力を取り出すギヤ機構およびハンド機構を提供することを目的とする。
本発明は、上記課題を解決するため、入力軸に対して出力軸が直交方向になるギヤ機構において、入力段に遊星歯車機構を設け、出力段の方向変換に直交軸歯車機構を設け、前記遊星歯車機構の太陽歯車を入力軸とし、前記遊星歯車機構のキャリアの出力端に直交軸歯車機構を設け、該直交軸歯車機構に噛み合う出力歯車を前記入力軸と直交する出力軸に装着したことにある。また、前記直交軸歯車機構に噛み合う出力歯車を複数設け、これら複数の出力歯車を前記入力軸に直交して設けられた複数の出力軸にそれぞれ装着して複数の個所から出力を取り出すことができる。さらに、前記複数の出力軸が、出力方向から見た回転方向がすべて等しく設定されていることから各方向にそれぞれ同一の出力を取り出すことができる。また、前記複数の出力軸にそれぞれロボットハンドを取り付け、前記出力軸の回転に伴ってロボットハンドを操作して作業ロボットに設定することができる。
前記直交軸歯車機構の歯車にフェース歯車または、かさ歯車を用いることができる。
本発明によれば、遊星歯車機構の原理に基づいて、遊星歯車は2個または4個など、その他の個数でも良い。また減速比も自由に設定することができる。キャリアの出力端に設けられた直交軸歯車機構の歯数および出力歯車の歯数を設定することで、増速、減速、その比率も自由に設定することができる。
本発明の実施の形態による多方向に自在に出力を取り出すギヤ機構を示す正面図である。 図1のA−A線断面図である。 図1の斜視図である。 本発明の実施の形態による3方向に出力を取り出すギヤ機構を示す斜視図である。 本発明の他の実施の形態による90°の角度を成す2方向に出力を取り出すギヤ機構を示す斜視図である。 本発明の他の実施の形態による180°の角度を成す2方向に出力を取り出すギヤ機構を示す斜視図である。 本発明の他の実施の形態による1方向に出力を取り出すギヤ機構を示す斜視図である。 本発明の他の実施の形態による出力軸を180°の角度を成す対角に設置した出力歯車で減速して2方向に出力を取り出すギヤ機構を示す斜視図である。 モータと減速機を組み付けた実施の形態で、モータの出力軸を太陽歯車とした、多方向自在出力ギヤ機構に組み付けた構造を示す概念図である。 図9のB−B線断面図である。 図9の多方向自在出力ギヤ機構に2個の爪部材を取り付けた実施の形態を示す斜視図である。 図9の多方向自在出力ギヤ機構に4個の爪部材を取り付けた実施の形態を示す斜視図である。 図9の多方向自在出力ギヤ機構にガイドレールと駆動ネジ軸を設け、駆動ネジ軸に支持された2個の爪部材をガイドレールに沿って接離自在に移動させる実施の形態を示す斜視図である。 図9の多方向自在出力ギヤ機構にガイドレールと駆動ネジ軸を設け、駆動ネジ軸に支持された4個の爪部材をガイドレールに沿って接離自在に移動させる実施の形態を示す斜視図である。 図9の多方向自在出力ギヤ機構に移動カムを設け、移動カムにより爪部材を取り付けたテーブルを操作する実施の形態を示す斜視図である。 本発明の実施の形態による8方向に出力を取り出すギヤ機構を示す斜視図である。
以下本発明の第1の実施の形態を、図1ないし図3を参照しながら詳細に説明する。
図1ないし図3は、本発明の実施の形態による多方向に自在に出力を取り出すギヤ機構を示したもので、遊星歯車機構100と、フェース歯車機構200で構成されている。
遊星歯車機構100は、モータなどの駆動源の出力軸から構成される太陽歯車1と、この太陽歯車1と同心状に配置された内歯車2と、前記太陽歯車1に噛み合うとともに、前記内歯車2の内歯車部2bに噛合する3個の遊星歯車3とで構成されている。前記3個の遊星歯車3は、太陽歯車1を中心とする円周方向に一定間隔で配置されており、これら3個の遊星歯車3は、各遊星シャフト4に遊星軸受5を介して回転可能にそれぞれ支持されている。前記3本の遊星シャフト4は有底円筒状のキャリア兼フェース歯車6のキャリア60を構成する底部円板部61に圧入して固定されている。前記キャリア兼フェース歯車6は、キャリア60の円筒部62の軸方向端面63に内周縁に沿って、フェース歯車機構200のフェース歯車部6aが一体となって構成されている。キャリア兼フェース歯車6と反対側の遊星シャフト4には、遊星カラー13によって遊星軸受5の抜け防止をしている。前記3本の遊星シャフト4は遊星シャフト補強リング8にネジ8aで固定されており、3個の遊星歯車3が、安定して自転、公転ができるようにしている。前記キャリア兼フェース歯車6は、キャリア兼フェース歯車軸受7を支持する内歯車軸受ホルダ20に、キャリア兼フェース歯車軸受7を介して支持されている。内歯車軸受ホルダ20には、前記内歯車2がネジ2aを介して固定されている。
これにより太陽歯車1を回転させると、3個の遊星歯車3は、自転しながら公転動作となる。
前記キャリア兼フェース歯車6のキャリア60の外周面は、キャリア兼フェース歯車軸受7によって回転自在に内歯車軸受ホルダ20により支持されている。
太陽歯車1による3個の遊星歯車3は自転しながら内歯車2の内周を公転し、公転運動が遊星シャフト4を介してキャリア兼フェース歯車6を回転駆動させるものである。
前記キャリア兼フェース歯車6は、フェース歯車機構200のフェース歯車部6aがキャリア60と一体となって構成されており、フェース歯車部6aの周方向90°毎に4個の出力歯車9がフェース歯車部6aの面と直交方向に配置されて、噛み合わされている。この出力歯車9の中心には、フェース歯車部6aの面と平行に配置された出力軸10がそれぞれ締結されており、これら出力軸10は支持部に支持された1対の出力軸軸受11a,11bにより回転自在に支持されている。
出力軸10の基端側を支持する出力軸軸受11aはフランジ12に設けられた中空の箱型のケース部12aに支持されている。このケース部12aには4面の壁部に開口穴12bが設けられ、この開口穴12bに前記基端側の出力軸軸受11aが組み付けられている。出力軸10の先端側を支持する出力軸軸受11bは出力軸軸受ハウジング22により支持されている。また、各一対の出力軸軸受11a,11bの間には出力軸10に支持された前記出力歯車9がケース部12aの各面に平行にそれぞれ設けられている。
次に上記ギヤ機構の作用を説明する。
遊星歯車機構100の太陽歯車1を回転させると、3個の遊星歯車3が太陽歯車1と噛み合いながら太陽歯車1を中心に、内歯車2に沿って自転しながら太陽歯車1の周囲を公転する。
こうして、遊星歯車3は太陽歯車1に対して遊星(惑星)のように回転(公転)する。
太陽歯車1の回転により遊星歯車機構100の原理により、キャリア兼フェース歯車6が減速されて回転する。そして、キャリア兼フェース歯車6のフェース歯車部6aが、周方向に回転し、4個の出力歯車9が出力軸10に支持されてフェース歯車部6aの面と直交する4つの面上を回転する。太陽歯車1から直交する方向で、それぞれ90°ごとに異なる4つの方向に延出された出力軸10から回転出力を得ることができる。出力軸10の回転方向は、軸の出力方向から見た回転方向が全て等しくなる。
図1ないし図3の場合、太陽歯車1の歯数が20、遊星歯車3の歯数が40、内歯車2の歯数が100とすると、遊星歯車減速機(プラネタリ型)の原理により、キャリア兼フェース歯車6は、1/6に減速される。
キャリア兼フェース歯車6のフェース歯車部6aの歯数は120、出力歯車9の歯数は100とすると、キャリア兼フェース歯車6から出力歯車9へ1.2倍に増速となり、太陽歯車1から出力歯車9は約1/5に減速される。
図4ないし図7は、本発明の他の実施の形態で、出力軸を自由に設定できることを示している。また、図1ないし図3と同一部分は同符号を付して同一部分の説明は省略して説明する。
図4の実施の形態では、出力歯車9を3個とし、これら出力歯車9をそれぞれ支持する3本の出力軸10から3方向に出力を取り出すようにしたものである。
図5の実施の形態では、互いに90°角度を変えた出力歯車9を2個とし、これら出力歯車9をそれぞれ支持する2本の出力軸10から90°方向の異なる2方向に出力を取り出すようにしたものである。
図6の実施の形態では、互いに180°角度を変えた出力歯車9を2個とし、これら出力歯車9をそれぞれ支持する2本の出力軸10から180°方向の異なる2方向に出力を取り出すようにしたものである。
図7の実施の形態では、出力歯車9を1個とし、この出力歯車9を支持する1本の出力軸10から1方向に出力を取り出すようにしたものである。
このように4方向に自由に選択、出力することができる。
次に図8は、出力軸の回転を減速した実施の形態を示したもので、図1ないし図3と同一部分は同符号を付して同一部分の説明は省略して説明する。
図8は、2個の出力歯車9Bを180°異なる対角に配置したもので、出力歯車9Bの歯数Yをキャリア兼フェース歯車6のフェース歯車部6aの歯数Kよりも多くY>Kに設定している。
図1ないし図3の実施の形態の場合、太陽歯車1の歯数20、遊星歯車3の歯数40、内歯車2の歯数100とすると、遊星歯車減速機(プラネタリ型)の原理により、キャリア兼フェース歯車6は、1/6に減速されている。
そして、キャリア兼フェース歯車6のフェース歯車部6aの歯数は120、出力歯車9Bの歯数は180とすると、フェース歯車部6aから出力歯車9Bへ1/1.5倍に減速となり、太陽歯車1から出力歯車9Bは約1/9に減速される。
図9および図10は、モータの出力軸を太陽歯車1とし、多方向自在出力ギヤ機構に組み付けた例を示している。この場合も、図1ないし図3と同一部分は同符号を付して同一部分の説明は省略して説明する。
20はキャリア兼フェース歯車6のキャリア兼フェース歯車軸受7を支持する内歯車軸受ホルダ20であり、この内歯車軸受ホルダ20は、フランジ12とともに、出力ギヤケース21の両側開口部を支持している。出力ギヤケース21は角筒状の四面に形成された開口部に前記出力軸10を支持する出力軸軸受ハウジング22がそれぞれ設けられている。この出力軸軸受ハウジング22には前記出力軸10を回転自在に支持する前記出力軸軸受11a,11bの一方軸受11bが内装されている。前記各出力軸10を回転自在に支持する前記出力軸軸受11a,11bの他方軸受11aは前記フランジ12の中空部に内装されており、これら一対の出力軸軸受11a,11bの間には前記出力ギヤ9が前記出力軸10に支持されている。内歯車軸受ホルダ20の壁面に形成された開口穴にはモータ部23の回転軸(出力軸)23aによって構成される太陽歯車1が挿入されて、組み付けられている。
この場合、モータ部23の駆動によって太陽歯車1が回転すると、内歯車2に沿って遊星歯車3が回転し、遊星シャフト4によってキャリア兼フェース歯車6が回転する。キャリア兼フェース歯車6の回転によりフェース歯車部6aが周方向に回転し、4個の出力歯車9が出力軸10に支持されて回転する。こうして、太陽歯車1から直交する方向で、それぞれ90°ごとに異なる4つの方向に延出された出力軸10から回転出力を得ることができる。
図11ないし図15は、多方向に自在に出力を取り出すギヤ機構を利用した応用例を示したものである。
いずれも前記した実施の形態の機構を用いたもので、図9および図10の出力軸10から動力を取り出したものである。
図11は、ギヤ機構の対角に設けられた出力軸10に爪部材30を装着したものである。一対の爪部材30は腕部となるアーム31の途中に互いに近づく方向に折り曲げた部分32を設けて、アーム31の先端爪部33が互いに同一の円弧上を移動するように構成されている。こうして先端爪部33の互いに対向する面に把持部34を形成し、これら把持部34を互いに接離させることで、搬送物を挟持する電動ハンドを構成している。
図12は、ギヤ機構の4か所の出力軸10に図11と同様の爪部材30をそれぞれ装着したものである。これにより、対角となる爪部材30相互が互いに接離することで、4個の先端爪部33が集中したり離れたり移動し、把持部34により搬送物を挟持する電動ハンドを構成することができる。
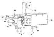
図13は、内歯車軸受ホルダ20の外面に水平方向に延びる長尺の平板状ガイドフレーム41を取り付け、このガイドフレーム41の下面に長手方向に設けられたガイドレール42に摺動自在にガイドブロック43が組み付けられている。ガイドブロック43はガイドレール42に沿って摺動するもので、ガイドブロック43の下面側にはテーブル44が装着されている。テーブル44にはガイドレール42と同方向に延びる駆動ネジ軸45が装着されており、この駆動ネジ軸45の先端は前記ギヤ機構の出力軸10に装着されている。駆動ネジ軸45はテーブル44に装着された駆動ネジナット46に螺合しており、出力軸10の回転に伴って駆動ネジ軸45が回転し、駆動ネジナット46をガイドレール42に沿って移動させるものである。テーブル44の下面にはハンド爪47が装着されており、駆動ネジ軸45の回転に伴ってハンド爪47が往復動操作されるものである。ハンド爪47は対角に設けられており、テーブル44、ガイドフレーム41、ガイドレール42等はカバー48によって覆われている。
この実施の形態では、モータ部23の駆動で、ギヤ機構を作動し、内歯車軸受ホルダ20の両側の出力軸10を駆動する。
これら出力軸10の回転に伴って両側の駆動ネジ軸45が回転し、駆動ネジナット46をガイドレール42に沿って互いに移動させる。駆動ネジナット46はテーブル44に装着されているので、テーブル44がガイドレール42に沿って移動し、ハンド爪47を図示矢印X、X´のように移動させる。180°対角側は、回転が逆となるためハンド爪47の動きは対称的な動きとなりハンド爪47が平行移動できるハンド機構ができる。こうして、ハンド爪47を互いに接離させることにより搬送物の挟持を行い、ロボットハンドとして装置を組み付けることにより作業用ロボットのハンド機構として作業を行うことができる。
図14は、図13の機構を90°対角に4方向に設置したものであり、4本のハンド爪47を備えた機構となる。こうして4本のハンド爪47によりロボットハンドとして装置に組み付けることができる。
図15は、また、別の実施の形態で、ギヤ機構のフランジ12を下面側に配置し、このフランジ12の端面にガイドフレーム51を固定している。ガイドフレーム51の下面側に設けられたガイドレール52に2個のガイドブロック53を組み付け、それぞれテーブル54を支持している。テーブル54の側面には、一端部を出力軸10に取り付けられた移動カム55の他端部に設けられた長穴55aがテーブル案内ピン56に係止されて搖動可能に支持されている。一対の移動カム55は180°の対角に設けられた出力軸10にそれぞれ一端部を装着されており、移動カム55の他端部に形成された長穴55aがテーブル案内ピン56に係止されている。こうして、出力軸10が回転すると、テーブル54に取り付けられたハンド爪57は移動カム55の回動動作に従って図示矢印X、X´のように互いに接離可能に操作され、ハンド機構として動作する。
以上のように、上記実施の形態によれば、入力段に遊星歯車機構100を設け、出力段の方向変換にフェース歯車機構200を設け、前記遊星歯車機構100の太陽歯車1を入力軸とし、前記遊星歯車機構100のキャリアにキャリア兼フェース歯車6を用いるとともに、このフェース歯車部6aのフェース歯車に噛み合う出力歯車9を前記入力軸と直交する出力軸10に装着したので、フェース歯車機構200のフェース歯車部6aの全周から出力軸を多方向に出すことができる。遊星歯車機構100およびフェース歯車機構200により必要な減速(トルクアップ)が得られる。遊星歯車機構100の内歯車に直接、フェース歯車機構200のフェース歯車を成形しているので、部品点数の削減を図れ、入力軸方向が小型になる。180°対角の軸は反対方向の動作ができるため、対称的動作が必要な機構を簡単に製造できる。
本発明は、前記実施の形態のみに限定されず、例えば、前記第1の実施の形態では、遊星歯車3には3個の場合について説明したが、遊星歯車減速機構の原理に基づいて、遊星歯車3は、2個または4個等、その他の個数でも良い。また、減速比も自由に設定できる。キャリア兼フェース歯車6のフェース歯車部6aの歯数、出力歯車9の歯数の設定により、増速、減速、その比率も自由に設定できる。
さらに、図4から図7で説明した他の実施の形態では、90°ごとに角度を変えて1方向から3方向に出力を取り出すことができるように構成したが、フェース歯車6aの中心から放射線状上に3方向、6方向、図16に示す8方向等自由に配置し、出力軸を配置することができる。図16は、8方向に動力を取り出すもので、図1〜図3と同一部分は同符号を付して説明を省略して示したものである。
なお、直交軸歯車機構として、フェース歯車機構で説明したが、かさ歯車機構など、他の直交軸歯車機構でも構成することができる。
1 太陽歯車
2 内歯車
3 遊星歯車
4 遊星シャフト
5 遊星軸受
6 キャリア兼フェース歯車
6a フェース歯車部
7 キャリア兼フェース歯車軸受
9 出力歯車
10 出力軸
11a,11b 出力軸軸受
100 遊星歯車機構
200 フェース歯車機構

Claims (6)

  1. 入力軸に対して出力軸が直交方向になるギヤ機構において、入力段に遊星歯車機構を設け、出力段の方向変換に直交軸歯車機構を設け、前記遊星歯車機構の太陽歯車を入力軸とし、前記遊星歯車機構のキャリアの出力端に直交軸歯車機構の歯車を設け、該直交軸歯車機構の歯車に噛み合う出力歯車を前記入力軸と直交する出力軸に装着したことを特徴とする多方向に自在に出力を取り出すギヤ機構。
  2. 前記直交軸歯車機構の歯車に噛み合う出力歯車を複数設け、これら複数の出力歯車を前記入力軸に直交して設けられた複数の出力軸にそれぞれ装着したことを特徴とする請求項1に記載の多方向に自在に出力を取り出すギヤ機構。
  3. 前記複数の出力軸が、出力方向から見た回転方向がすべて等しく設定されていることを特徴とする請求項2に記載の多方向に自在に出力を取り出すギヤ機構。
  4. 前記複数の出力軸にそれぞれロボットハンドを取り付け、前記出力軸の回転に伴ってロボットハンドを操作することを特徴とする請求項2に記載の多方向に自在に出力を取り出すギヤ機構。
  5. 前記直交軸歯車機構の歯車がフェース歯車であることを特徴とする請求項1〜4のいずれか1項に記載の多方向に自在に出力を取り出すギヤ機構。
  6. 前記直交軸歯車機構の歯車がかさ歯車であることを特徴とする請求項1〜4のいずれか1項に記載の多方向に自在に出力を取り出すギヤ機構。
JP2015080035A 2015-04-09 2015-04-09 多方向より動力を取り出すことができるギヤ機構およびハンド機構 Active JP6568381B2 (ja)

Priority Applications (1)

Application Number Priority Date Filing Date Title
JP2015080035A JP6568381B2 (ja) 2015-04-09 2015-04-09 多方向より動力を取り出すことができるギヤ機構およびハンド機構

Applications Claiming Priority (1)

Application Number Priority Date Filing Date Title
JP2015080035A JP6568381B2 (ja) 2015-04-09 2015-04-09 多方向より動力を取り出すことができるギヤ機構およびハンド機構

Publications (2)

Publication Number Publication Date
JP2016200201A true JP2016200201A (ja) 2016-12-01
JP6568381B2 JP6568381B2 (ja) 2019-08-28

Family

ID=57423985

Family Applications (1)

Application Number Title Priority Date Filing Date
JP2015080035A Active JP6568381B2 (ja) 2015-04-09 2015-04-09 多方向より動力を取り出すことができるギヤ機構およびハンド機構

Country Status (1)

Country Link
JP (1) JP6568381B2 (ja)

Cited By (3)

* Cited by examiner, † Cited by third party
Publication number Priority date Publication date Assignee Title
CN107598961A (zh) * 2017-09-28 2018-01-19 深圳市优必选科技有限公司 一种机器人手臂
CN108908388A (zh) * 2018-08-31 2018-11-30 四川晟实科技有限公司 一种微型齿轮机械爪及其工作方法
JP2021136070A (ja) * 2020-02-21 2021-09-13 コマツNtc株式会社 電池製造用搬送治具

Citations (5)

* Cited by examiner, † Cited by third party
Publication number Priority date Publication date Assignee Title
US5062824A (en) * 1988-01-22 1991-11-05 Prokopius Josef P Multifunction gearing mechanism
JPH074879U (ja) * 1993-06-11 1995-01-24 サンデン株式会社 圧縮機駆動装置
JP3075483B2 (ja) * 1992-05-26 2000-08-14 ルーカス ウエスタン,インコーポレイテッド エンジンの出力シャフトからトルクを伝達するギヤ構造
JP2000274496A (ja) * 1999-03-25 2000-10-03 Yamazaki Kyoiku Kizai Kk 遊星ギヤユニット及び駆動コントロールボックス
JP2010284795A (ja) * 2009-06-12 2010-12-24 Hon Hai Precision Industry Co Ltd クランプ装置

Patent Citations (5)

* Cited by examiner, † Cited by third party
Publication number Priority date Publication date Assignee Title
US5062824A (en) * 1988-01-22 1991-11-05 Prokopius Josef P Multifunction gearing mechanism
JP3075483B2 (ja) * 1992-05-26 2000-08-14 ルーカス ウエスタン,インコーポレイテッド エンジンの出力シャフトからトルクを伝達するギヤ構造
JPH074879U (ja) * 1993-06-11 1995-01-24 サンデン株式会社 圧縮機駆動装置
JP2000274496A (ja) * 1999-03-25 2000-10-03 Yamazaki Kyoiku Kizai Kk 遊星ギヤユニット及び駆動コントロールボックス
JP2010284795A (ja) * 2009-06-12 2010-12-24 Hon Hai Precision Industry Co Ltd クランプ装置

Cited By (4)

* Cited by examiner, † Cited by third party
Publication number Priority date Publication date Assignee Title
CN107598961A (zh) * 2017-09-28 2018-01-19 深圳市优必选科技有限公司 一种机器人手臂
CN108908388A (zh) * 2018-08-31 2018-11-30 四川晟实科技有限公司 一种微型齿轮机械爪及其工作方法
JP2021136070A (ja) * 2020-02-21 2021-09-13 コマツNtc株式会社 電池製造用搬送治具
JP7470529B2 (ja) 2020-02-21 2024-04-18 コマツNtc株式会社 電池製造用搬送治具

Also Published As

Publication number Publication date
JP6568381B2 (ja) 2019-08-28

Similar Documents

Publication Publication Date Title
US9095982B2 (en) Drive apparatus and robot
JP6486904B2 (ja) 外転サイクロイド歯車列
JP6659035B2 (ja) 多方向駆動装置及び自動カメラ
KR101408203B1 (ko) 유성기어 방식의 rv감속기
WO2013018229A1 (ja) 複合駆動装置及びロボット
JP6249361B2 (ja) 細胞培養用重力変動装置
JP6568381B2 (ja) 多方向より動力を取り出すことができるギヤ機構およびハンド機構
JP2010084842A (ja) 回転駆動装置、ロボットの関節構造及びロボットアーム
CN103264399A (zh) 机器人腰臂一体化同步双驱机构及其控制方法
JP5966209B1 (ja) 差動装置及びこれを利用した加工装置
JP6061022B2 (ja) 複合駆動装置およびロボット
JPWO2008136405A1 (ja) 回転駆動装置、ロボットの関節構造及びロボットアーム
JP6571962B2 (ja) 多方向に自在に出力を取り出すギヤ機構
US10759047B1 (en) Speed reducer and robot
JP2016003754A (ja) 減速機、ロボットおよびロボットシステム
JPH09144818A (ja) 遊星歯車装置
JP2009074611A (ja) 回転駆動装置、ロボットの関節構造及びロボットアーム
JPH10257716A (ja) ボールスクリュースプライン軸の駆動方法
JP2018035881A (ja) 回動直線駆動装置
JP4818818B2 (ja) 内接揺動噛合型遊星歯車減速機
TWI822542B (zh) 單動力源二自由度行星齒輪增速複合機構
KR102888819B1 (ko) 유성기어 동력전달장치 및 이를 구비한 로봇
TW201121740A (en) Industrial robot
JP2007263254A (ja) 減速機
US20090023543A1 (en) Gear Mechanism, In Particular Linkage Mechanism

Legal Events

Date Code Title Description
A621 Written request for application examination

Free format text: JAPANESE INTERMEDIATE CODE: A621

Effective date: 20180226

A977 Report on retrieval

Free format text: JAPANESE INTERMEDIATE CODE: A971007

Effective date: 20181213

A131 Notification of reasons for refusal

Free format text: JAPANESE INTERMEDIATE CODE: A131

Effective date: 20181221

A521 Request for written amendment filed

Free format text: JAPANESE INTERMEDIATE CODE: A523

Effective date: 20190212

TRDD Decision of grant or rejection written
A01 Written decision to grant a patent or to grant a registration (utility model)

Free format text: JAPANESE INTERMEDIATE CODE: A01

Effective date: 20190709

A61 First payment of annual fees (during grant procedure)

Free format text: JAPANESE INTERMEDIATE CODE: A61

Effective date: 20190802

R150 Certificate of patent or registration of utility model

Ref document number: 6568381

Country of ref document: JP

Free format text: JAPANESE INTERMEDIATE CODE: R150

R250 Receipt of annual fees

Free format text: JAPANESE INTERMEDIATE CODE: R250

R250 Receipt of annual fees

Free format text: JAPANESE INTERMEDIATE CODE: R250

R250 Receipt of annual fees

Free format text: JAPANESE INTERMEDIATE CODE: R250

R250 Receipt of annual fees

Free format text: JAPANESE INTERMEDIATE CODE: R250