JP2016123717A - 生体情報測定モジュール、および生体情報測定機器 - Google Patents
生体情報測定モジュール、および生体情報測定機器 Download PDFInfo
- Publication number
- JP2016123717A JP2016123717A JP2015000116A JP2015000116A JP2016123717A JP 2016123717 A JP2016123717 A JP 2016123717A JP 2015000116 A JP2015000116 A JP 2015000116A JP 2015000116 A JP2015000116 A JP 2015000116A JP 2016123717 A JP2016123717 A JP 2016123717A
- Authority
- JP
- Japan
- Prior art keywords
- light
- biological information
- light emitting
- unit
- convex portion
- Prior art date
- Legal status (The legal status is an assumption and is not a legal conclusion. Google has not performed a legal analysis and makes no representation as to the accuracy of the status listed.)
- Pending
Links
Images
Landscapes
- Measuring Pulse, Heart Rate, Blood Pressure Or Blood Flow (AREA)
Abstract
【課題】測定の正確さを維持しつつ、携帯性の良好な生体情報測定モジュールおよび生体情報測定機器を提供する。【解決手段】支持面160aを有し、支持面160a上に発光部150および受光部140を支持する基板160と、支持面160aに配置され、少なくとも一部が発光部150と受光部140との間に配置された第1凸部79と、支持面160aに配置され、発光部150に対して第1凸部79と反対側に配置された第2凸部78と、を備え、第1凸部79の支持面160aからの高さは、第2凸部78の支持面160aからの高さよりも高い生体情報測定モジュールとしてのセンサー部40を備えた生体情報測定機器。【選択図】図5
Description
本発明は、生体情報測定モジュール、および生体情報測定モジュールを備えた生体情報測定機器に関する。
従来、バンド等によって手首等の部位に装着され、装着者の脈波等の生体情報を測定する測定機器や、当該生体情報の測定機能を有する腕時計状の電子機器が知られている。例えば特許文献1には、装着者(被験者)の腕(手首)に装着し、光学式脈波検出センサーを用いて脈波などの生体情報を計測する生体情報測定モジュールが搭載された腕装着型測定装置が開示されている。
このような機器(測定機器、電子機器)では、測定対象物である皮膚表面の血流を光学的に測定し、信号化することによって脈波などの生体情報を得ており、発光部および受光部とその周辺構成が正確な情報を得るために非常に重要な要素となる。特に、発光部から射出された光が生体(例えば、装着者の皮膚表面)から反射されて受光部に入射するまでの間に、ノイズ成分を含ませないような構成とすることが必要である。また、併せて発光部からの光が、直接受光部に入射することも防ぐ必要がある。
また、このような機器(測定機器、電子機器)を、例えばスポーツ関連用途に用いる場合には、装着された機器が装着者(被験者)のパフォーマンスに影響を与えることの無いようにするため、携帯性、小型化、軽量化は、非常に重要な観点である。また、例えば、医療・健康用途に用いる場合においても、患者や被験者に負荷をかけないような配慮が必要となり、携帯性、小型化、軽量化は、非常に重要な観点である。このように、手首等の部位に装着されて生体情報を得る機器においては、携帯性、小型化、軽量化について、厳格(シビア)に追求することが求められる。
しかしながら、特許文献1の腕装着型測定装置では、発光部および受光部とその周辺の構成に関する詳細な記載は無く、上述したようなノイズを含ませないような構成、或いは発光部からの光が直接受光部に入射することを防ぐための構成に係る課題への言及はなされていない。
本発明は、上述の課題の少なくとも一部を解決するためになされたものであり、以下の形態または適用例として実現することが可能である。
[適用例1]本適用例に係る生体情報測定モジュールは、対象物に対して光を射出する発光部と、前記対象物を経由した光を受光する受光部と、支持面を有し、前記支持面上に前記発光部および前記受光部を支持する支持部と、前記支持面に配置され、少なくとも一部が前記発光部と前記受光部との間に配置された第1凸部と、前記支持面に配置され、前記発光部に対して前記第1凸部と反対側に配置された第2凸部と、を備え、前記第1凸部の前記支持面からの高さは、前記第2凸部の前記支持面からの高さよりも高いことを特徴とする。
本適用例によれば、支持面からの高さが、第2凸部より高い第1凸部が発光部と受光部との間に配置されているため、発光部から射出される光が第1凸部によって遮られ、受光部に直接届く(入射する)ことを防止することができる。これにより、対象物に強い光を照射することができるとともに、ノイズの少ない強い光を受光部に入射させることができ、生体情報測定モジュールの測定精度をより向上させることが可能となる。
[適用例2]上記適用例に記載の生体情報測定モジュールにおいて、前記第1凸部および前記第2凸部は、前記支持部と一体であることが好ましい。
本適用例によれば、第1凸部、第2凸部、および支持部が一体であることから、それらを同時に形成することができるため、生体情報測定モジュールの製造コストを低減させることが可能となる。
[適用例3]上記適用例に記載の生体情報測定モジュールにおいて、前記第1凸部は、前記受光部の周囲を囲むように配置されていることが好ましい。
支持面からの高さが高い第1凸部によって受光部が囲まれているため、発光部から射出される直接光や散乱光などの外乱光を第1凸部によって遮光することができ、受光部においてノイズ成分を減少させた光の受光が可能となる。これにより、的確な生体情報を取得することが可能な生体情報測定モジュールを提供することが可能となる。
[適用例4]上記適用例に記載の生体情報測定モジュールにおいて、前記支持面から前記第1凸部の頂面までの高さは、前記支持面から前記受光部の頂面までの高さより高いことが好ましい。
本適用例によれば、支持面からの高さが高い第1凸部によって受光部が囲まれているため、発光部から受光部へ直接入射する光を遮るとともに、第1凸部が対象物のストッパー(度当たり)として機能し、対象物と受光部との接触する圧力(押圧力)を安定させることができる。これにより、的確な生体情報を取得することが可能な生体情報測定モジュールを提供することが可能となる。
[適用例5]上記適用例に記載の生体情報測定モジュールにおいて、前記第1凸部と前記第2凸部との間に前記発光部が配置され、前記発光部の周囲の少なくとも一部には、前記発光部から射出された光を反射する反射機能層が設けられていることが好ましい。
本適用例によれば、発光部の周囲方向に射出された光が反射機能層によって反射され、対象物に向かう光とすることができる。これにより、対象物に向かう光の強度(発光強度)を高めることができ、生体情報の測定精度を安定化させることが可能となる。
[適用例6]上記適用例に記載の生体情報測定モジュールにおいて、前記第1凸部と前記発光部の前記受光部側の第1側面との間の距離aは、前記第2凸部と前記第1側面と反対側の前記発光部の第2側面との間の距離bよりも小さいことが好ましい。
本適用例によれば、発光部と第1凸部との間の距離aが小さいため、発光部から第1凸部(受光部側)に向かって射出される光が散乱する前に第1凸部において遮光することができる。これにより、発光部から射出される光が受光部に直接届く(入射する)ことを防止することができる。これにより、直接光が受光部に入射することによるノイズ成分を減少させることができ、生体情報測定モジュールの測定精度を向上させることが可能となる。
[適用例7]上記適用例に記載の生体情報測定モジュールにおいて、回路基板を備え、前記支持部は、前記回路基板と、前記発光部および前記受光部の少なくとも一方とを電気的に接続する導通部を備えていることが好ましい。
本適用例によれば、発光部および受光部の少なくとも一方が、支持部に設けられている導通部を介して回路基板と電気的に接続されているため、発光部や受光部や回路基板などをコンパクトに配置することができ、生体情報測定モジュールの省スペース化、小型化を実現することが可能となる。
[適用例8]上記適用例に記載の生体情報測定モジュールにおいて、前記支持部、前記第1凸部および前記第2凸部は、波長が495nm〜570nmの光を遮光することが好ましい。
本適用例によれば、生体情報を取得するために有用な光である波長が495nm〜570nmの光(緑光)を、支持部、第1凸部、および第2凸部が遮ることにより、発光部から出射され、対象物へ向かわない光や反射光以外の外乱光に含まれるこの波長の光(緑光)の、受光部への入射を減少させることが可能となる。
[適用例9]上記適用例に記載の生体情報測定モジュールにおいて、前記支持部は、前記支持面に沿って設けられている遮光層を備えていることが好ましい。
本適用例によれば、支持面に沿って設けられている遮光層によって、支持部から反射されたり、支持部を透過したりする外乱光を遮光することができ、的確な生体情報を取得することが可能となる。
[適用例10]上記適用例に記載の生体情報測定モジュールにおいて、前記遮光層は、絶縁層および導電層を含むことを特徴とする。
本適用例によれば、遮光層に絶縁層および導電層が含まれることにより、遮光効果に加えて、例えば静電気などが支持部に帯電することを防止することが可能となり、静電気などによる誤計測を防止することが可能となる。
[適用例11]本適用例に係る生体情報測定機器は、上記適用例のいずれか一例に記載の生体情報測定モジュールが搭載されていることを特徴とする。
本適用例によれば、より正確に検出(測定)を行うことが可能、且つ小型で携帯性に優れた生体情報測定モジュールを備えているため、運動時などにおいても安定的な生体情報が検出できるとともに、小型で携帯性(装着性)に優れた生体情報測定機器を提供することができる。
以下、本実施形態について説明する。なお、以下で説明する本実施形態は、特許請求の範囲に記載された本発明の内容を不当に限定するものではない。また、本実施形態で説明される構成の全てが、本発明の必須構成要件であるとは限らない。
(実施形態1)
1.生体情報測定機器の全体構成例
図1(A)、図1(B)、図2に、実施形態1に係る生体情報測定機器(生体情報検出装置)の概略の外観図を示す。図1(A)は、生体情報測定機器を正面方向側から見た図であり、図1(B)は、図1(A)における斜め上方向側から見た図であり、図2は側面方向側から見た図である。
1.生体情報測定機器の全体構成例
図1(A)、図1(B)、図2に、実施形態1に係る生体情報測定機器(生体情報検出装置)の概略の外観図を示す。図1(A)は、生体情報測定機器を正面方向側から見た図であり、図1(B)は、図1(A)における斜め上方向側から見た図であり、図2は側面方向側から見た図である。
図1(A)、図1(B)、および図2に示すように本実施形態の生体情報測定機器はバンド部10とケース部30と生体情報測定モジュールとしてのセンサー部40を有する。ケース部30はバンド部10に取り付けられる。センサー部40は、ケース部30に設けられる。また生体情報測定機器は後述する図4に示すように処理部200を有する。処理部200は、ケース部30に設けられ、センサー部40からの検出信号に基づいて生体情報を検出する。なお、本実施形態の生体情報測定機器は図1(A)、図1(B)、および図2の構成に限定されず、その構成要素の一部を省略したり、他の構成要素に置き換えたり、他の構成要素を追加したりするなどの種々の変形実施が可能である。
生体情報測定モジュールとしてのセンサー部40は、図5を用いて後述するように、基板160と、発光部150と、受光部140と、フレーム70としての第1壁部71および第2壁部72と、絞り部80(80a,80b)を有する光検出ユニットと、他の部材とから構成される。図5の例であれば、他の部材とは、透光部材50により実現される凸部52、溝部54、凹部56、押圧抑制部58等である。ただし、本実施形態に係る光検出ユニットがそれらの部材を含む、即ち、センサー部40全体が、光検出ユニットに対応する等の変形実施も可能である。
図1および図2に戻る。バンド部10は装着者(以下、ユーザーともいう)の手首に巻き付けて生体情報測定機器を装着するためのものである。バンド部10はバンド穴12、バックル部14を有する。バックル部14はバンド挿入部15と突起部16を有する。ユーザーは、バンド部10の一端側を、バックル部14のバンド挿入部15に挿入し、バンド部10のバンド穴12にバックル部14の突起部16を挿入することで、生体情報測定機器を手首に装着する。この場合、どのバンド穴12に突起部16を挿入するかに応じて、後述するセンサー部40の押圧(手首表面に対する押圧)の大きさが調整される。
ケース部30は、生体情報測定機器の本体部に相当するものである。ケース部30の内部には、センサー部40、処理部200(図4参照)等の生体情報測定機器の種々の構成部品が設けられる。即ち、ケース部30は、これらの構成部品を収納する筐体である。このケース部30は、例えば手首と反対側に位置するトップケース34と、手首側に位置するボトムケース36を有する。なおケース部30は、トップケース34とボトムケース36に分離される態様のものでなくてもよい。
ケース部30には発光窓部32が設けられている。発光窓部32は透光部材により形成されている。そしてケース部30には、フレキシブル基板に実装された発光部(LED、光検出ユニットの発光部150とは異なる報知用の発光部)が設けられており、この発光部からの光が、発光窓部32を介してケース部30の外部に射出される。
図2に示すようにケース部30には端子部35が設けられている。生体情報測定機器を図示しないクレードルに装着すると、クレードルの端子部とケース部30の端子部35とが電気的に接続される。これによりケース部30に設けられる二次電池(バッテリー)の充電が可能になる。
生体情報測定モジュールとしてのセンサー部40は、例えば被検体の脈波等の生体情報を検出するものである。例えばセンサー部40は、後述する図4、図5に示すように受光部140と発光部150を有する。またセンサー部40は、透光部材50により形成され、被検体の皮膚表面に接触して押圧を与える凸部52を有する。このように凸部52が皮膚表面に押圧を与えた状態で、発光部150が光を射出し、その光が被検体(血管)により反射された光を受光部140が受光し、その受光結果が検出信号として処理部200に出力される。そして処理部200は、センサー部40からの検出信号に基づいて脈波等の生体情報を検出する。そして、センサー部40は、後述する図5(A)に示すように、ケース部30に、例えばOリング55を介して挿入され、保持されている。なお、本実施形態の生体情報測定機器の検出対象となる生体情報は、脈波(脈拍数)には限定されず、生体情報測定機器は、脈波以外の生体情報(例えば血液中の酸素飽和度、体温、心拍等)を検出する装置であってもよい。
図3は生体情報測定機器400の装着および端末装置420との通信についての概略を示す説明図である。図3に示すように被検体であるユーザーは手首410に生体情報測定機器400を時計のように装着する。図2に示すように、ケース部30の被検体側の面にはセンサー部40が設けられている。従って、生体情報測定機器400が装着されると、センサー部40の凸部52が手首410の皮膚表面に接触して押圧を与え、その状態でセンサー部40の発光部150が光を発光し、受光部140が反射光を受光することで、脈波等の生体情報が検出される。
生体情報測定機器400と端末装置420は通信接続されて、データのやり取りが可能になっている。端末装置420は、例えばスマートフォン、携帯電話機、フューチャーフォン等の携帯型通信端末である。或いは端末装置420は、タブレット型コンピューター等の情報処理端末であってもよい。生体情報測定機器400と端末装置420の通信接続としては、例えばブルートゥース(Bluetooth(登録商標))等の近接無線通信を採用できる。このように生体情報測定機器400と端末装置420が通信接続されることで、端末装置420の表示部430(LCD等)に、脈拍数や消費カロリーなどの各種の情報を表示できる。即ち、センサー部40の検出信号に基づき求められた各種の情報を表示できる。なお脈拍数や消費カロリーなどの情報の演算処理は、生体情報測定機器400において実行してもよいし、その少なくとも一部を端末装置420において実行してもよい。
生体情報測定機器400には、発光窓部32が設けられており、報知用の発光体(図示せず)の発光(点灯、点滅)により、各種の情報をユーザーに報知する。例えば消費カロリーなどの情報において脂肪燃焼ゾーンに入った場合や脂肪燃焼ゾーンから出た場合に、これを、発光窓部32を介した発光体の発光により報知する。また端末装置420においてメール等が受信されると、それが端末装置420から生体情報測定機器400に通知される。そして生体情報測定機器400の発光体が発光することで、メール等の受信がユーザーに通知される。
このように図3に示す例では、生体情報測定機器400にはLCD等の表示部が設けられておらず、文字や数字等で報知する必要がある情報は、端末装置420の表示部430に表示される。このように図3に示す例では、LCD等の表示部を設けずに、必要最小限の情報を発光体の発光によりユーザーに報知することで、生体情報測定機器400の小型化を実現している。また生体情報測定機器400に表示部を設けないことで、生体情報測定機器400の美観についても向上できる。
図4に本実施形態の生体情報測定機器の機能ブロック図を示す。図4に示す生体情報測定機器は、生体情報測定モジュールとしてのセンサー部40、体動センサー部170、振動発生部180、処理部200、記憶部240、通信部250、アンテナ252、報知部260を含む。なお本実施形態の生体情報測定機器は、図4に示す構成に限定されず、その構成要素の一部を省略したり、他の構成要素に置き換えたり、他の構成要素を追加するなどの種々の変形実施が可能である。
生体情報測定モジュールとしてのセンサー部40は、脈波等の生体情報を検出するものであり、受光部140、発光部150を含む。これらの受光部140、発光部150等により脈波センサー(光電センサー)が実現される。センサー部40は、脈波センサーにより検出された信号を、脈波検出信号として出力する。
体動センサー部170は、種々のセンサーのセンサー情報に基づいて、体動に応じて変化する信号である体動検出信号を出力する。体動センサー部170は、体動センサーとして例えば加速度センサー172を含む。なお、体動センサー部170は、体動センサーとして圧力センサーやジャイロセンサーなどを有していてもよい。
処理部200は、例えば記憶部240をワーク領域として、各種の信号処理や制御処理を行うものであり、例えばCPU等のプロセッサー或いはASICなどの論理回路により実現できる。処理部200は、信号処理部210と、拍動情報演算部220と、報知制御部230とを含む。
信号処理部210は各種の信号処理(フィルター処理等)を行うものであり、例えば、センサー部40からの脈波検出信号や体動センサー部170からの体動検出信号などに対して信号処理を行う。例えば信号処理部210は体動ノイズ低減部212を含む。体動ノイズ低減部212は、体動センサー部170からの体動検出信号に基づいて、脈波検出信号から、体動に起因したノイズである体動ノイズを低減(除去)する処理を行う。具体的には、例えば適応フィルターなどを用いたノイズ低減処理を行う。
拍動情報演算部220は、信号処理部210からの信号等に基づいて、拍動情報の演算処理を行う。拍動情報は例えば脈拍数などの情報である。具体的には、拍動情報演算部220は、体動ノイズ低減部212でのノイズ低減処理後の脈波検出信号に対してFFT等の周波数解析処理を行って、スペクトルを求め、求めたスペクトルにおいて代表的な周波数を心拍の周波数とする処理を行う。求めた周波数を60倍にした値が、一般的に用いられる脈拍数(心拍数)となる。なお、拍動情報は脈拍数そのものには限定されず、例えば脈拍数を表す他の種々の情報(例えば心拍の周波数や周期等)であってもよい。また、拍動の状態を表す情報であってもよく、例えば血液量そのものを表す値を拍動情報としてもよい。
報知制御部230は報知部260を制御する。報知部260(報知デバイス)は、報知制御部230の制御により、ユーザーに各種の情報を報知する。報知部260としては例えば報知用の発光体を用いることができる。この場合には報知制御部230はLEDに流れる電流を制御することで、発光体の点灯、点滅等を制御する。なお報知部260は、LCD等の表示部やブザー等であってもよい。
また報知制御部230は振動発生部180の制御を行う。振動発生部180は、振動により各種の情報をユーザーに報知するものである。振動発生部180は例えば振動モーター(バイブレーター)により実現できる。振動モーターは、例えば、偏芯した錘を回転させることで振動を発生する。具体的には駆動軸(ローター軸)の両端に偏心した錘を取り付けてモーター自体が揺れるようにする。振動発生部180の振動は報知制御部230により制御される。なお振動発生部180はこのような振動モーターには限定されず、種々の変形実施が可能である。例えばピエゾ素子などにより振動発生部180を実現してもよい。
振動発生部180による振動により、例えば電源オン時のスタートアップの報知、初回の脈波検出の成功の報知、脈波が検出できない状態が一定時間続いた時の警告、脂肪燃焼ゾーンの移動時の報知、電池電圧低下時の警告、起床アラームの通知、或いはスマートフォン等の端末装置からのメールや電話等の通知などが可能になる。なお、これらの情報は、報知用の発光部により報知してもよいし、振動発生部180、発光部の両者で報知してもよい。
通信部250は、図3で説明したように外部の端末装置420との通信処理を行う。例えばブルートゥース(Bluetooth(登録商標))などの規格にしたがった無線通信の処理を行う。具体的には通信部250は、アンテナ252からの信号の受信処理や、アンテナ252への信号の送信処理を行う。この通信部250の機能は通信用のプロセッサー或いはASICなどの論理回路により実現できる。
2.生体情報測定モジュールとしてのセンサー部の構成例
図5を参照して、生体情報測定モジュールとしてのセンサー部40の詳細な構成例について説明する。図5は、センサー部40の構成例1を示す図であり、図5(A)は正断面図、図5(B)は図5(A)のA−Aから見た平面図であり、図5(C)は、図5(B)のB−B断面図である。
図5を参照して、生体情報測定モジュールとしてのセンサー部40の詳細な構成例について説明する。図5は、センサー部40の構成例1を示す図であり、図5(A)は正断面図、図5(B)は図5(A)のA−Aから見た平面図であり、図5(C)は、図5(B)のB−B断面図である。
(センサー部の構成例1)
図5に示す構成例1のセンサー部40は、受光部140と二つの発光部150,154を有する。これらの受光部140および発光部150,154は、所定の間隔を有して図中X軸方向に並び、支持部としての基板160(センサー基板)に実装されている。また、支持部としての基板160の支持面160aと表裏関係をなす裏面160bには、制御部270を構成する回路基板271が実装されている。
図5に示す構成例1のセンサー部40は、受光部140と二つの発光部150,154を有する。これらの受光部140および発光部150,154は、所定の間隔を有して図中X軸方向に並び、支持部としての基板160(センサー基板)に実装されている。また、支持部としての基板160の支持面160aと表裏関係をなす裏面160bには、制御部270を構成する回路基板271が実装されている。
発光部150,154は、対象物(被検体等)に対して光を射出する。そして、受光部140は、対象物を経由した光(反射光、透過光等)を受光する。例えば発光部150,154が光を射出し、その光が対象物(例えば血管)により反射されると、受光部140が、その反射光を受光して検出する。受光部140は、例えばフォトダイオード等の受光素子により実現できる。発光部150,154は、例えばLED等の発光素子により実現できる。例えば受光部140は、半導体の基板に形成されたPN接合のダイオード素子などにより実現できる。この場合に、受光角度を絞るための角度制限フィルターや受光素子に入射する光の波長を制限する波長制限フィルター(光学フィルター膜)を、このダイオード素子上に形成してもよい。
なお、発光部150,154に設けられる集光部としてのドーム型レンズ151,153(広義には集光レンズ)は、発光部150,154に樹脂封止(光透過樹脂で封止)されるLEDチップ(広義には発光素子チップ)からの光を集光するためのレンズである。即ち、表面実装型の発光部150,154では、LEDチップがドーム型レンズ151,153の下方に配置されており、LEDチップからの光は、ドーム型レンズ151,153により集光されて対象物に射出される。これにより、対象物に照射される光の強度を強くすることができることから、光検出ユニットの光学的な効率を向上でき、より正確な測定を行うことが可能となる。
生体情報測定機器として、脈拍計を例にとると、発光部150,154から射出された光は、対象物である被検体の内部を進み、表皮、真皮および皮下組織等で拡散、または散乱する。その後、この光は、血管(被検出部位)に到達し、反射される。この際に、光の一部は血管により吸収される。そして、脈拍の影響により血管での光の吸収率が変化し、反射光の光量も変化するため、受光部140がこの反射光を受光して、その光量の変化を検出することで、生体情報である脈拍数等を検出できるようになる。
このような生体情報測定機器では、皮膚表面の血流を光学的に測定し、信号化することによって脈波、脈拍などの生体情報を得ている。したがって、測定の正確性や携帯性を向上させるためには、発光部150,154から受光部140までの間の光路における外乱光などのノイズ成分を減少させたり、発光部150,154から受光部140に直接入射される光(直接光等)を減少させたりすることが重要である。
本構成例1におけるセンサー部40には、受光部140などと同様に、支持部としての基板160(センサー基板)に実装されているフレーム70が設けられている。フレーム70は、受光部140の外周140aを囲む第2壁部72、および発光部150,154の外周150c,154cをそれぞれ囲む第1壁部71を備えている。第2壁部72は、受光部140側に設けられた二つの辺である第1凸部79と、二つの第1凸部79の両端を結ぶ二つの辺73を含み、受光部140の外周140aを囲んでいる。第1壁部71は、第2壁部72を構成する第1凸部79を一辺とし、発光部150に対して第1凸部79と反対側に配置された第2凸部78を備え、発光部150,154の外周150c,154cをそれぞれ囲んでいる。即ち、第1壁部71および第2壁部72は、第1凸部79の部分で接続された一体構造をなしている。この一体構造をなした第1壁部71および第2壁部72によって、フレーム70が構成されている。そして、第1凸部79は、支持面160aからの高さh1を、第2凸部78の支持面160aからの高さh2よりも高くして設けられている。なお、本実施形態においては、高さh1,h2は支持面160aからの高さとしているが、第1凸部79および第2凸部78が接する面を基準として、高さh1,h2を定義してもよい。例えば、図5(B)では、第1凸部79および第2凸部78と、後述する遮光層280の面とが接しており、この遮光層280の面からの高さを高さh1,h2と定義しても良い。
このように、高さの高い第1凸部79が発光部150,154と受光部140との間に配置されていることにより、発光部150,154から射出される光が第1凸部79によって遮られ、受光部140に直接届く(入射する)ことを防止することができる。これにより、対象物に強い光を照射することができるとともに、ノイズの少ない強い光を受光部140に入射させることができ、センサー部40の測定精度を向上させることが可能となる。
また、第1壁部71を構成する第1凸部79と、発光部150,154の受光部140側の第1側面150a,154aとの間の距離aは、第2凸部78と、第1側面150a,154aと反対側の発光部150,154の第2側面150b,154bとの間の距離bよりも小さくなるように構成されている。
このような構成によれば、発光部150,154と第1凸部79との間の距離aが小さいため、発光部150,154から第1凸部79(受光部140側)に向かって射出される光が散乱する前に第1凸部79において遮光することができる。これにより、発光部150,154から射出される光が受光部140に直接届く(入射する)ことを防止することができる。これにより、直接光が受光部140に入射することによるノイズ成分を減少させることができ、センサー部40の測定精度を向上させることが可能となる。
なお、支持面160aからの高さh1の第1凸部79が、受光部140の外周140aの周囲を囲むように配置されていてもよい。また、第1凸部79の支持面160aからの高さh1は、支持面160aから受光部140の頂面(上面)までの高さh3より高いことが望ましい。即ち、第2壁部72は、支持面160aから受光部140の頂面(上面)までの高さh3より高い、支持面160aからの高さh1で受光部140の外周140aの周囲を囲むように設けられることが望ましい。
このような第2壁部72(第1凸部79)とすることにより、発光部150,154から射出される直接光や散乱光などの外乱光を第1凸部79の高さh1の第2壁部72によって遮光することができ、例えば発光部150,154から受光部140に直接届く直接光や受光部140に入射される外乱光などのノイズ成分の少ない光を受光部140に入射させることが可能となる。
また、センサー部40においては、測定の対象物(例えば被験者の皮膚)を経由した光を受光部140で的確に受光し、正確な生体情報を取得するためには、対象物から受光部140までの距離(間隔)が重要であり、この距離(間隔)を容易に所定値とすることが可能な構成が求められる。具体的には、対象物から受光部140までの距離(間隔)は、大き過ぎると対象物と受光部140の頂面(上面)との間に空間が生じてしまい、対象物と受光部140の頂面(上面)との間に空気層が存在することで光のロスが大きくなってしまう。一方、対象物から受光部140までの距離(間隔)が小さ過ぎると、対象物の動作などに起因する測定環境の変化や、体動ノイズの影響が大きくなるために、受光部140における受光が不安定になってしまう、あるいはSN比が低下してしまう。上述の構成では、支持面160aからの高さが高い第2壁部72によって受光部140が囲まれているため、第2壁部72(第1凸部79)が対象物のストッパー(度当たり)として機能し、対象物からの反射光を受光部140で的確に受光するために必要である対象物と受光部との間の間隔を、容易に且つ確実に設けることができる。
また、第1凸部および第2凸部は、生体情報を取得するために有用な光である波長が495nm〜570nmの光を遮光することが好ましい。このように、第1凸部および第2凸部が、波長495nm〜570nmの光(緑光)を遮ることにより、反射光以外の外乱光に含まれるこの波長の光(緑光)の、受光部への入射を減少させることが可能となり、より的確な生体情報を取得することができる。
上述の機能を得るためには、フレーム70(第1凸部79および第2凸部78を含む第1壁部71および第2壁部72)は、例えば金属板の板金加工により形成することができる。このように、フレーム70を金属板の板金加工で形成すれば、上述の効果に加え、安価な材料で容易に強度の優れたフレーム70とすることができるとともに、金属のフレーム70によって光の反射が可能となり、発光部150,154から射出された光を効率よく対象物である被検体に照射したり、被検体からの反射光を効率よく受光部140に入射したりすることができる。なお、フレーム70は、他にも金属材料以外の材料として、波長495nm〜570nmの光(緑光)を吸収することができるゴム等の樹脂(天然樹脂および合成樹脂を含む)があげられる。これらの材料は、安価に、また容易に入手が可能であり、且つフレーム70を容易に形成することができる。
なお、第1凸部79および第2凸部78を含むフレーム70(第1壁部71および第2壁部72)は、支持部としての基板160と同一材料で一体として形成されていてもよい。このように基板160とフレーム70とが一体に設けられた構成では、基板160とフレーム70とを同時に形成することができるため、製造工程を削減することができ、結果的にセンサー部のコスト低減を図ることが可能となる。
上述したように、発光部150は、フレーム70を構成する第1凸部79と第2凸部78との間、且つ第2壁部72の内側に配置されている。このような配置において、発光部150の周囲に設けられている第2壁部72の少なくとも一部に、発光部150から射出された光を反射する反射機能層(図示せず)が設けられていることが好ましい。このようにすれば、発光部150の周囲方向に射出された光が反射機能層によって反射され、反射された光を対象物に向かう光とすることができる。これにより、対象物に向かう光の強度(発光強度)を高めることができ、結果的に生体情報の測定精度を安定化させることが可能となる。
また、発光部150,154の外周150c、154cと第1壁部71との間の領域、および受光部140の外周140aと第2壁部72との間の領域には、透光性を備えた樹脂、例えば透明な樹脂を充填して形成された樹脂層159,149が設けられている。本構成のような枠状の第1壁部71および第2壁部72が設けられていることにより、樹脂が第1壁部71および第2壁部72によって堰き止められ、それより外側への樹脂の流れ出しを防ぐことができ、容易に樹脂を充填することができる。また、このように設けられた樹脂層159,149により、第1壁部71および第2壁部72の強度を高めることができ、さらにはセンサー部40としての強度も高めることができる。なお、樹脂層159,149は、発光部150,154の外周150c,154cと第1壁部71との間の領域、および受光部140の外周140aと第2壁部72との間の領域の少なくとも一方に設けられていればよく、同様な効果を奏する。
また、支持部としての基板160(センサー基板)の支持面160aには、図示しない回路配線によって発光部150,154や受光部140と電気的に接続された第1接続端子274が設けられている。第1接続端子274には、基板160の裏面160bと導通するスルーホール273が設けられている。また、基板160の裏面160bには、第2接続端子275が設けられており、スルーホール273を介して第1接続端子274と電気的に接続されている。このように設けられた回路配線(図示せず)、第1接続端子274、スルーホール273、および第2接続端子275などが導通部として機能する。なお、第1接続端子274および第2接続端子275は、電気的な接続を取るための端子であり、金属層、例えば銅(Cu)層に金(Au)メッキを施すなどによって形成することができる。
第2接続端子275には、制御部270を構成する回路基板271が接続されている。制御部270は、ベース部としての回路基板271と、回路基板271に実装された回路素子272を備えている。制御部270は、実施形態1で説明した、例えば処理部200、記憶部240、および通信部250などを含むことができ、脈波等の生体情報を検出するための受発光の制御や信号処理などを行う機能を少なくとも備えることができる。そして、制御部270は、回路基板271の図示しない端子と基板160の第2接続端子275とが電気的な導通を取って接続されている。
このような構成では、スルーホール273を介した第2接続端子275により、基板160と制御部270とが接続できる。これにより、例えば基板160の支持面160a側に受光部140、発光部150、第1壁部71、および第2壁部72を配置し、裏面160b側に制御部270を配置することができる。このような配置により、省スペース化、小型化を実現することが可能な、生体情報測定モジュールとしてのセンサー部40bを実現することが可能となる。
また、支持部としての基板160(センサー基板)の側面には、図5(A)、図5(C)に示すように外周溝部57が全周に亘って設けられていてもよい。外周溝部57には、例えばOリング53などのシーリング部材が嵌め込まれており、このシーリング部材(Oリング53)を介して基板160がセンサー部40に挿入され取り付けられている。このシーリング部材(Oリング53)により、受光部140、発光部150、フレーム70などが設けられているスペース(後述する凹部56)の防水性を向上させることができ、センサー部40の信頼性を高めることが可能となる。
また、第2壁部72の少なくとも受光部140側の面には、反射抑制加工を行ってもよい。例えば、第2壁部72の表面(内側面等)の色を、黒色等の所定色にして、光の乱反射を防ぐようにする。或いは、第2壁部72の表面をモスアイ構造にしてもよい。例えば数十〜数百nm周期の凹凸構造を表面に形成して、反射防止構造とする。このような反射抑制加工をすれば、例えば第2壁部72の表面での反射光が迷光となって、検出信号のノイズ成分となってしまう事態を効果的に抑制できる。
前述でも述べたが、受光部140、発光部150、およびフレーム70は、支持部としての基板160(センサー基板)の支持面(表面)160aに実装される。基板160は、例えばリジッド基板である。基板160には、受光部140の信号・電源の端子(図示せず)と接続するための端子(図示せず)や、外部のメイン基板との間で信号・電源を接続するための端子(図示せず)が設けられている。例えば受光部140の端子と基板160の端子とは、ワイヤボンディング等により接続される。このように、受光部140、発光部150、およびフレーム70などが、基板160に実装(支持)されていることにより、発光部150および受光部140と測定対象物との距離が短くなり、光に混入するノイズを減少させることができ、測定精度を向上させることが可能となる。
また、基板160は、支持面(表面)160aに沿って設けられた遮光層280を備えている。遮光層280は、基板160を平面視したときに、少なくとも受光部140や発光部150と重なる領域に設けられていることが好ましく、本例では、第1接続端子274、スルーホール273、および第2接続端子275などが設けられている部分を除いた領域に備えられている。遮光層280は、図5(C)に示すような、例えば、支持面160a側に設けられた導電層としての金属層281と、金属層281の上面に設けられた絶縁層282の二層構成によって実現できるが、その構成は問わない。図示しないが、例えば支持面160aに絶縁層を設け、その上に金属層を設け、さらに金属層上に絶縁層を設ける多層構成(三層構成)を用いたり、遮光層280を裏面160b側に設けたりすることもできる。このような遮光層280を設けることにより、基板160から反射されたり、基板160を透過したりする外乱光を遮光することができ、的確な生体情報を取得することが可能となる。なお、遮光層280に含まれる導電層としての金属層281は、例えば接地電極などとして用いることができ、遮光効果に加えて、例えば基板160における静電気などの帯電を防止することが可能となり、静電気などによる誤計測を防止することが可能となる。
また、生体情報を取得するために有用な光である波長495nm〜570nmの光(緑光)を、基板160が遮ることが好ましい。基板160が波長495nm〜570nmの光を遮ることにより、反射光以外の外乱光に含まれるこの波長の光(緑光)の、受光部への入射を減少させることが可能となり、より的確な生体情報を取得することができる。このような性質を有する基板160は、その基材を495nm〜570nmの波長を通過させない材質にしたり、支持面160aや裏面160bに495nm〜570nmの波長を反射または吸収する性質の樹脂層や金属層などを設けたりすることによって実現することができる。
また、図5(A)に示すように、センサー部40には絞り部80a,80bが設けられていてもよい。絞り部80は、被検体とセンサー部40の間の光路において、被検体からの光を絞ったり、発光部150からの光を絞ったりする。図5では、絞り部80a,80bは、透光部材50と発光部150の間に設けられている。但し、絞り部80a,80bを透光部材50と被検体との間や透光部材50内に設けてもよい。
図5(A)に示す透光部材50は、生体情報測定機器の被検体に接触する側の面に設けられ、被検体からの光を透過する。また透光部材50は、被検体の生体情報の測定時に、被検体に接触する。例えば透光部材50の凸部52(検出窓)が被検体に接触する。なお凸部52の表面形状は、曲面形状(球面形状)であることが望ましいが、これに限定されるものではなく、種々の形状を採用できる。また、透光部材50は、被検体からの光の波長を透過することができるものであればよく、透明な材料を用いてもよいし、有色の材料を用いてもよい。
透光部材50の凸部52の周囲には、押圧変動等を抑制するための溝部54が設けられている。また、透光部材50において凸部52が設けられる側の面を第1の面とした場合に、透光部材50は、その第1の面の裏側の第2の面において凸部52に対応する位置に、凹部56を有している。この凹部56のスペースに、受光部140、発光部150、フレーム70、絞り部(80a,80b)が設けられている。
また生体情報測定機器の被検体側の面には、凸部52が被検体(手首の肌)に与える押圧を抑制する押圧抑制部58が設けられている。図5では押圧抑制部58は、透光部材50の凸部52を囲むように設けられている。そして、凸部52は、押圧抑制部(押圧抑制面)58よりも被検体側に突出している。
このような凸部52を設けることで、例えば静脈消失点を超えるための初期押圧を被検体に対して与えることが可能になる。また、凸部52が被検体に与える押圧を抑制するための押圧抑制部58を設けることで、生体情報測定機器により生体情報の測定を行う使用範囲において、押圧変動を最小限に抑えることが可能になり、ノイズ成分等の低減を図れる。また、凸部52が押圧抑制部58から突出していれば、凸部52が被検体に接触して初期押圧を与えた後に、押圧抑制部58が被検体に接触して、凸部52が被検体に与える押圧を抑制できるようになる。ここで静脈消失点とは、被検体に凸部52を接触させ押圧を次第に強くした時に、脈波信号に重畳された静脈に起因する信号が消失、または脈波測定に影響しない程度に小さくなる点のことである。
また、センサー部40のケース部30に挿入される外周面には、外周溝部59が全周に亘って設けられている。外周溝部59には、例えばOリング55などのシーリング部材が配置され、ケース部30にこのシーリング部材(Oリング55)を介して挿入されている。このように、シーリング部材(Oリング55)を介してケース部30に保持することにより、防水性を高めることができる。
上述した実施形態1の構成によれば、支持面160aからの高さが、第2凸部78より高い第1凸部79が発光部150と受光部140との間に配置されているため、発光部150から射出された光が第1凸部79によって遮られ易く、射出された光が受光部140に直接届く(入射する)ことを防止することができる。また、第2壁部72(第1凸部79)によって受光部140が囲まれているため、散乱光などの外乱光を遮光することができ、受光部140の受光において、外乱光によるノイズ成分を減少させることが可能となる。また、第2壁部72(第1凸部79)によって受光部140が囲まれているため、第2壁部72(第1凸部79)が対象物のストッパー(度当たり)として機能し、対象物からの反射光を受光部140において、的確に受光するために必要である対象物と受光部140との間の間隔を、容易に且つ確実に設けることができる。
これらにより、センサー部40の測定精度をより向上させることが可能となり、的確な生体情報を取得することができる生体情報測定モジュールとしてのセンサー部40、およびセンサー部40を備えた生体情報測定機器を提供することが可能となる。
これらにより、センサー部40の測定精度をより向上させることが可能となり、的確な生体情報を取得することができる生体情報測定モジュールとしてのセンサー部40、およびセンサー部40を備えた生体情報測定機器を提供することが可能となる。
(センサー部の変形例)
次に、センサー部40の変形例について、図6、図7および図8を参照して説明する。図6は、センサー部の変形例1を示す平面図である。図7は、センサー部40の変形例2を示し、図7(A)は平面図、図7(B)は図7(A)の正断面図、図7(C)は図7(B)の部分拡大図(正断面図)。図8は、センサー部40の変形例3を示し、図8(A)は平面図、図8(B)は図8(A)の正面図である。なお、図6、図7、および図8では、受光部140、発光部150、およびフレームとしての第1壁部71、第2壁部72の配置を中心に図示しており、他の構成要素の図示を省略している。また、前述の実施形態1と同様な構成については同符号を付しており、その説明を省略することもある。また、以下の変形例においても、第1凸部79の高さh1、受光部140の高さh3、発光部150の高さh2、発光部150と第2壁部72との間の距離a、発光部150と第1壁部71との間の距離bなどに係る構成およびそれらの関係は、上述の第1実施形態と同様に適用することができる。
次に、センサー部40の変形例について、図6、図7および図8を参照して説明する。図6は、センサー部の変形例1を示す平面図である。図7は、センサー部40の変形例2を示し、図7(A)は平面図、図7(B)は図7(A)の正断面図、図7(C)は図7(B)の部分拡大図(正断面図)。図8は、センサー部40の変形例3を示し、図8(A)は平面図、図8(B)は図8(A)の正面図である。なお、図6、図7、および図8では、受光部140、発光部150、およびフレームとしての第1壁部71、第2壁部72の配置を中心に図示しており、他の構成要素の図示を省略している。また、前述の実施形態1と同様な構成については同符号を付しており、その説明を省略することもある。また、以下の変形例においても、第1凸部79の高さh1、受光部140の高さh3、発光部150の高さh2、発光部150と第2壁部72との間の距離a、発光部150と第1壁部71との間の距離bなどに係る構成およびそれらの関係は、上述の第1実施形態と同様に適用することができる。
(変形例1)
先ず、図6を参照してセンサー部40の変形例1について説明する。本変形例1の構成は、前述の実施形態1と比し、発光部150が一つであること、および、それに伴いフレーム70としての第1壁部71および第2壁部72の構成が異なる。変形例1のセンサー部40aは、支持部としての基板160の支持面160aに受光部140と発光部150とが並んで実装されている。さらに、基板160の支持面160aには、フレーム70が設けられている。フレーム70は、受光部140の外周140bを囲む第2壁部72、および発光部150の外周150cを囲む第1壁部71を備えている。第2壁部72は、受光部140側に設けられた辺である第1凸部79を有し、受光部140の外周140bを囲んでいる。第1壁部71は、第2壁部72を構成する第1凸部79を一辺とし、発光部150に対して第1凸部79と反対側に配置された第2凸部78を備え、発光部150の外周150cを囲んでいる。即ち、第1壁部71および第2壁部72は、第1凸部79の部分で接続された一体構造をなしている。この一体構造をなした第1壁部71および第2壁部72によって、フレーム70が構成されている。
先ず、図6を参照してセンサー部40の変形例1について説明する。本変形例1の構成は、前述の実施形態1と比し、発光部150が一つであること、および、それに伴いフレーム70としての第1壁部71および第2壁部72の構成が異なる。変形例1のセンサー部40aは、支持部としての基板160の支持面160aに受光部140と発光部150とが並んで実装されている。さらに、基板160の支持面160aには、フレーム70が設けられている。フレーム70は、受光部140の外周140bを囲む第2壁部72、および発光部150の外周150cを囲む第1壁部71を備えている。第2壁部72は、受光部140側に設けられた辺である第1凸部79を有し、受光部140の外周140bを囲んでいる。第1壁部71は、第2壁部72を構成する第1凸部79を一辺とし、発光部150に対して第1凸部79と反対側に配置された第2凸部78を備え、発光部150の外周150cを囲んでいる。即ち、第1壁部71および第2壁部72は、第1凸部79の部分で接続された一体構造をなしている。この一体構造をなした第1壁部71および第2壁部72によって、フレーム70が構成されている。
(変形例2)
次に、図7(A)〜図7(C)を参照してセンサー部40の変形例2について説明する。本変形例2の構成は、前述の実施形態1と比し、発光部150が一つであること、およびフレームとしての第1壁部71および第2壁部72が個別の構成であることが異なる。変形例2のセンサー部40bは、支持部としての基板160の支持面160aに受光部140と発光部150とが並んで実装されている。さらに、基板160の支持面160aには、受光部140の外周140aを囲む第2壁部72、および発光部150の外周150cを囲む第1壁部71を備えている。第2壁部72は、支持面160aからの高さが同じである壁部が受光部140の外周140aを囲んでいる。また、第1壁部71は、受光部140側に設けられた第1凸部79と、発光部150に対して第1凸部79と反対側に配置された第2凸部78を備え、発光部150の外周150cを囲んでいる。前述の実施形態1と同様に、第1凸部79の支持面160aからの高さは、第2凸部78の支持面160aからの高さよりも高く構成されている。
次に、図7(A)〜図7(C)を参照してセンサー部40の変形例2について説明する。本変形例2の構成は、前述の実施形態1と比し、発光部150が一つであること、およびフレームとしての第1壁部71および第2壁部72が個別の構成であることが異なる。変形例2のセンサー部40bは、支持部としての基板160の支持面160aに受光部140と発光部150とが並んで実装されている。さらに、基板160の支持面160aには、受光部140の外周140aを囲む第2壁部72、および発光部150の外周150cを囲む第1壁部71を備えている。第2壁部72は、支持面160aからの高さが同じである壁部が受光部140の外周140aを囲んでいる。また、第1壁部71は、受光部140側に設けられた第1凸部79と、発光部150に対して第1凸部79と反対側に配置された第2凸部78を備え、発光部150の外周150cを囲んでいる。前述の実施形態1と同様に、第1凸部79の支持面160aからの高さは、第2凸部78の支持面160aからの高さよりも高く構成されている。
前述の実施形態1および変形例においても同様であるが、図7(C)に示すように、基板160の支持面160aに実装された受光部140を囲む第2壁部72は、その頂面(上面)72bで対象物である被検体、例えば被験者の皮膚411を保持し、受光部140の上部に所望の空間を形成することができる。詳細に述べると、被験者の皮膚411を経由した光を受光部140で的確に受光し、正確な生体情報を取得するためには、対象物から受光部140までの距離(間隔CL)が重要であり、この距離(間隔CL)を容易に所定値とすることが可能な構成が求められる。具体的には、対象物から受光部140までの距離(間隔CL)は、大き過ぎるとこの間を通過する光にノイズ成分が混在しやすくなり、小さ過ぎるもしくは対象物と受光部140の頂面(上面)140cとが接触してしまうと受光部140における受光ができなくなってしまう。しかしながら、受光部140を囲む第2壁部72によって、被験者の皮膚411を保持することができ、皮膚411から受光部140までの距離(間隔CL)を確保して、受光部140の上部に所望の空間を形成することができる。
また、第1壁部71および第2壁部72の上部の開放端面である頂面71b,72bの断面形状が、角部の無い滑らかな形状、例えば円弧形状などの湾曲形状(曲線形状)であることが好ましい。頂面71b,72bの断面形状を湾曲形状とすることにより、第1壁部71および第2壁部72が、測定対象物に接する場合に、湾曲部分(アール面)が接触するため、例えばユーザーの皮膚へのくい込みなどを生じ難くすることができ、違和感を減少させることができる。これにより、センサーモジュールとしてのセンサー部40bまたはこのセンサー部40bを搭載した生体情報測定機器を装着する場合のユーザーの装着感を向上させることが可能となる。なお、この第1壁部71および第2壁部72の上部の開放端面である頂面71b,72bが湾曲形状(曲線形状)である構成は、本明細書中にて説明する実施形態や他の変形例においても適用することができる。
また、本変形例2においても、発光部150の外周150cと第1壁部71との間の領域、および受光部140の外周140aと第2壁部72との間の領域には、透光性を備えた樹脂、例えば透明な樹脂を充填して形成された樹脂層159,149が設けられていてもよい。
(変形例3)
次に、図8(A)、図8(B)を参照してセンサー部40の変形例2について説明する。本変形例2の構成は、前述の実施形態1と比し、発光部150が一つであること、および第1壁部71および第2壁部72が個別、且つ発光部150および受光部140を囲んでいない構成であることが異なる。
次に、図8(A)、図8(B)を参照してセンサー部40の変形例2について説明する。本変形例2の構成は、前述の実施形態1と比し、発光部150が一つであること、および第1壁部71および第2壁部72が個別、且つ発光部150および受光部140を囲んでいない構成であることが異なる。
変形例3のセンサー部40cは、支持部としての基板160の支持面160aに受光部140と発光部150とが並んで実装されている。さらに、基板160の支持面160aには、第2壁部72、および第1壁部71を備えている。第2壁部72は、受光部140と発光部150との間にあって、受光部140の外周140aと発光部150の第1側面150aに沿って延在する壁面を有している。第1壁部71は、発光部150に対して第2壁部72と反対側に設けられている。なお、本変形例3では、第1壁部71が第1凸部79に相当し、第2壁部72が第2凸部78に相当する。第2壁部72、および第1壁部71は、前述の実施形態1と同様に、第2壁部72の支持面160aからの高さが、第1壁部71の支持面160aからの高さよりも高くなるように構成されている。そして、発光部150の受光部140側の第1側面150aと、第2壁部72との間の距離aは、第1側面150aと反対側の発光部150の側面150cと、第1壁部71との間の距離bよりも小さくなるように構成されている。
このような構成によれば、発光部150と第2壁部72(第1凸部79)との間の距離aが小さいため、発光部150から第2壁部72(受光部140側)に向かって射出される光が散乱する前に第2壁部72において遮光することができる。これにより、発光部150から射出される光が受光部140に直接届く(入射する)ことを防止することができる。
上述した変形例1から変形例3の構成のセンサー部40a,40b,40cにおいても、実施形態1のセンサー部40と同様に、支持面160aからの高さが、第2凸部78より高い第1凸部79が発光部150と受光部140との間に配置されているため、発光部150から射出された光が第1凸部79によって遮られ易く、射出された光が受光部140に直接届く(入射する)ことを防止することができる。
(実施形態2)
次に、本発明の実施形態2について図面を用いて説明する。
実施形態2に係る生体情報測定機器は、前述の実施形態1と同様に、生体情報を測定される生体(例えば人体)に装着され、脈拍(心拍数)等の生体情報を測定する心拍数監視装置である。なお、以下に示す各図においては、各構成要素を図面上で認識され得る程度の大きさとするため、各構成要素の寸法や比率を実際の構成要素とは適宜に異ならせて記載する場合がある。また、以下の実施形態2〜5においても、実施形態1で説明した第2壁部72(第2凸部78)の高さh2、第1壁部71(第1凸部79)の高さh1、および受光部140の高さh3、発光部150と第2壁部72との間の距離a、発光部150と第1壁部71との間の距離bなど、フレーム70と発光部150と受光部140と、に係る構成は、同様に適用することができる。
次に、本発明の実施形態2について図面を用いて説明する。
実施形態2に係る生体情報測定機器は、前述の実施形態1と同様に、生体情報を測定される生体(例えば人体)に装着され、脈拍(心拍数)等の生体情報を測定する心拍数監視装置である。なお、以下に示す各図においては、各構成要素を図面上で認識され得る程度の大きさとするため、各構成要素の寸法や比率を実際の構成要素とは適宜に異ならせて記載する場合がある。また、以下の実施形態2〜5においても、実施形態1で説明した第2壁部72(第2凸部78)の高さh2、第1壁部71(第1凸部79)の高さh1、および受光部140の高さh3、発光部150と第2壁部72との間の距離a、発光部150と第1壁部71との間の距離bなど、フレーム70と発光部150と受光部140と、に係る構成は、同様に適用することができる。
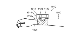
まず、実施形態2に係る生体情報測定機器としての心拍数監視装置1010について説明する前に、図9を用いて実施形態2に係る生体情報測定機器としての心拍数監視装置の従来例について説明する。
図9は、心拍数監視装置を装着しているユーザー(被験者)1000(同図では、ユーザーの腕を示す)の、生理的パラメーター(生体情報)を測定する従来例の生体情報測定機器としての心拍数監視装置1010を示す断面図である。心拍数監視装置1010は、ユーザー1000の少なくとも一つの生理的パラメーターとしての心拍数を計測するセンサー1012と、センサー1012を収納しているケース1014を備えている。心拍数監視装置1010は、固定部1016(例えばバンド)によって、ユーザー1000の腕1001に装着される。
このセンサー1012は、二つのセンサーエレメントである発光部としての発光素子1121および受光部としての受光素子1122を備え、心拍数を測定するかまたはモニターするための心拍数監視センサーである。しかし、一つ以上の生理的パラメーター(例えば心拍数、血圧、呼気量、皮膚伝導率、皮膚湿度など)を測定するセンサーであってもよい。また、ケース1014が、バンドタイプのハウジングを備えている場合は、例えばスポーツにおいて使われる腕時計型の監視装置として用いることができる。なお、ケース1014の形は、主にユーザー1000に関して所望の位置でセンサー1012を保持することができればよく、任意に電池、処理ユニット、表示、ユーザー・インターフェイスなどのような更なる要素を収納することができてもよい。
従来例の生体情報測定機器は、ユーザーの心拍数をモニターするための心拍数監視装置1010である。そして、センサー1012は発光素子1121および受光素子1122から成る光学センサーである。光学センサーを用いた光学的心拍数モニターは、皮膚に光をあてる光源としての発光素子1121(通常LEDが用いられる)に依存する。発光素子1121から皮膚に照射された光は、皮膚下の血管を流れる血液によって一部が吸収されるが、残りの光は反射され皮膚を出る。そして、反射された光は、受光素子1122(通常フォトダイオードが用いられる)によって、捕捉される。受光素子1122からの受光信号は、血管を流れる血液量に相当する情報を含む信号である。血管を流れる血液量は、心臓の脈動によって変化する。そして、このように、受光素子1122上の信号は心臓の拍動に対応して変化する。つまり、受光素子1122の信号の変化は、心拍数のパルスに相当するものである。そして、単位時間当たりパルス数を計数することによって(例えば10秒当たり)、心臓が1分間に打つ数(即ち心拍数)が得られる。
以下、図10を用いて実施形態2に係る生体情報測定機器としての心拍数監視装置1020について説明する。図10は、実施形態2に係る生体情報測定機器としての心拍数監視装置を示す斜視図である。実施形態2に係る生体情報測定機器としての心拍数監視装置1020は、図10では図示していないが、前述の実施形態1と同様に、バンドなどの固定部によって、ユーザーの腕に装着される。
実施形態2に係る生体情報測定機器としての心拍数監視装置1020は、複数(本例では二つ)の発光部としての発光素子1221,1223と、一つの受光部としての受光素子1222とが、一列に並び配置されている。具体的には、少なくとも二つのセンサーエレメントを備えたセンサー1022(本例では、三つのセンサーエレメントとして、第1の発光部および第2の発光部としての二つの発光素子1221,1223と、受光部としての受光素子1222とを用いている)を有している。なお、図示しないが、受光素子1222と発光素子1221との間、および受光素子1222と発光素子1223との間に、上述した実施形態1と同様の構成の第1壁部71、第2壁部72(図5参照)を備えていることが望ましい。
そして、第1の発光部および第2の発光部としての二つの発光素子1221,1223の間に受光部としての受光素子1222が配置されている。また、第1の発光部および第2の発光部としての二つの発光素子1221,1223は、受光部としての受光素子1222の中心を通る仮想線に対して線対称の位置に配置されている。発光素子1221,1223および受光素子1222を、このような配置とすることにより、デッドスペースが減少し、省スペース化を図ることができる。また、線対称位置にある第1の発光部、および第2の発光部を併せた光が受光部に集まり、より正確な検出を行うことができる。
センサーエレメントは、センサー信号を検出する。センサー1022は、ユーザーの皮膚に対して発光するための二つのLEDを用いた発光素子1221,1223から成る光学センサーと、皮膚から反射した光を受信するための少なくとも一つの受光素子1222(フォトダイオード)とを備えている。さらに、心拍数監視装置1020は、ケースまたはハウジング(図示せず)を有している。ケースまたはハウジングは、図9に示されるケース1014と類似、あるいは同一でもよいし、上述の実施形態1におけるケース部30と類似、あるいは同一でもよい。
そして、センサー1022は、キャリア(基板)1026の一面に担持されている。ここで、キャリア(基板)1026と、キャリア(基板)1026上に担持されたセンサー1022とを含む構成が生体情報測定モジュールに該当する。なお、以下の実施形態3〜5においても同様である。発光素子1221,1223から射出された光は、皮膚などに吸収されずに反射され、受光素子1222に直接到達することができる。心拍数監視装置1020において、キャリア1026と発光素子1221,1223の上面1221a,1223aとの間の距離は、キャリア1026と受光素子1222の上面1222aとの間の距離より小さい。即ち、キャリア1026と発光素子1221,1223の上面1221a,1223aとの間の距離と、キャリア1026と受光素子1222の上面1222aとの間の距離との差が、Δhである。そして、受光素子1222は、一番上の表層であるその上面1222aから光を受信する。それらの構成によれば、発光素子1221,1223から射出された光の大部分は皮膚に向かい、反射光は、空気層などの介入なしに直接受光素子1222に入射される効果がある。換言すれば、受光素子1222が皮膚に密着する構造であるため、受光素子1222の上面(受光面)1222aと皮膚との間に隙間が生じにくい構造とすることができ、これにより外光などのノイズ源となる光が上面1222aに入射することを抑制することができる。また、皮膚を通過しない発光素子1221,1223からの光、例えば発光素子1221,1223から直接受光素子1222に入射する光は、受光素子1222の上面1222aに到達することができない。
(実施形態3)
次に、図11を参照して実施形態3に係る生体情報測定機器としての心拍数監視装置1030について説明する。図11は、実施形態3に係る生体情報測定機器としての心拍数監視装置を示す正面図である。なお、実施形態3に係る生体情報測定機器としての心拍数監視装置1030は、図11では図示していないが、前述の実施形態1と同様に、バンドなどの固定部によって、ユーザーの腕に装着される。
次に、図11を参照して実施形態3に係る生体情報測定機器としての心拍数監視装置1030について説明する。図11は、実施形態3に係る生体情報測定機器としての心拍数監視装置を示す正面図である。なお、実施形態3に係る生体情報測定機器としての心拍数監視装置1030は、図11では図示していないが、前述の実施形態1と同様に、バンドなどの固定部によって、ユーザーの腕に装着される。
図11に示すように、発光部としての発光素子1221,1223および受光部としての受光素子1222の電気的接続端子1034は、電気的要素の保護のために絶縁性材料(例えばエポキシ樹脂)1032で、好ましくは覆われていなければならない。また、絶縁性材料1032が発光素子1221,1223や受光素子1222を覆わないように構成することができる。具体的には、発光素子1221と受光素子1222との間の領域、発光素子1223と受光素子1222との間の領域を絶縁性材料1032で埋めるように構成することができる。換言すれば、少なくとも受光素子1222の上面1222a、発光素子1221,1223の上面1221a,1223aが絶縁性材料1032に覆われないように構成することができる。このように構成することで、皮膚と発光素子1221,1223との間のエアギャップによる妨害を抑制することができる。さらに、絶縁性材料1032が発光素子1221,1223の上面1221a,1223aや受光素子1222の上面1222aを覆うように構成しても良い。このように構成することで、皮膚と接触する受光素子1222の上面1222aや、発光素子1221,1223の上面1221a,1223aを保護することができるので、受光素子1222の上面1222aや、発光素子1221,1223の上面1221a,1223aの損傷を防ぐことができる。この場合、絶縁性材料1032は保護膜とみなすこともできる。
本実施形態3に係る生体情報測定機器としての心拍数監視装置1030では、一般に可能性がある実施例として、エポキシ樹脂を用いた絶縁性材料1032を設けている。図11においては、絶縁性材料1032は、発光素子1221,1223の上面1221a,1223aを覆うことなく配置され、電気的接続端子1034を保護する。発光素子1221,1223から射出されている光は、矢印にて表される。
このように、絶縁性材料1032の配置は、心拍数監視装置1030の正しい機能を妨げない程度の最小限で行うことにより、発光素子1221,1223および受光素子1222の電気的接続端子1034を保護することで、この心拍数監視装置1030は更に改良されることができる。なお、図示しないが、受光素子1222と発光素子1221との間、および受光素子1222と発光素子1223との間に、上述した実施形態1と同様な第1壁部71、第2壁部72(図5参照)を備えていることがさらに好適である。
なお、本実施形態3におけるエポキシ樹脂を注入する構成に変えて、図12に示すような実施形態4に係る生体情報測定機器としての心拍数監視装置1040とすることがさらに好適である。
(実施形態4)
次に、実施形態4に係る生体情報測定機器としての心拍数監視装置1040について、図12を参照して説明する。図12は、実施形態4に係る生体情報測定機器としての心拍数監視装置を示す斜視図である。なお、実施形態4に係る生体情報測定機器としての心拍数監視装置1040は、図12では図示していないが、前述の実施形態1と同様に、バンドなどの固定部によって、ユーザーの腕に装着される。
次に、実施形態4に係る生体情報測定機器としての心拍数監視装置1040について、図12を参照して説明する。図12は、実施形態4に係る生体情報測定機器としての心拍数監視装置を示す斜視図である。なお、実施形態4に係る生体情報測定機器としての心拍数監視装置1040は、図12では図示していないが、前述の実施形態1と同様に、バンドなどの固定部によって、ユーザーの腕に装着される。
実施形態4に係る生体情報測定機器としての心拍数監視装置1040は、作成されたフレーム1041,1042,1043が配置される。フレーム1041,1042,1043は、発光部としての発光素子1221,1223および受光部としての受光素子1222の周囲に配置され、フレーム1041,1042,1043と、発光素子1221,1223および受光素子1222との間の隙間1036が形成される。そして、フレーム1041,1042,1043をガイドとして絶縁性材料(図12では図示されない)が注入され、発光素子1221,1223および受光素子1222の電気的接続端子1034を覆う。
実施形態4に示す例では、発光素子1221,1223および受光素子1222は、個々のフレーム1041,1042,1043によって囲まれる。なお、他の例としては、すべてのフレーム1041,1042,1043は、互いに結合されてもよく、または、すべてのセンサーエレメントは一体のフレームによって囲まれてもよい。なお、フレーム1041,1042,1043を遮光部の一例としての遮光壁として用いることができる。フレーム1041,1042,1043を遮光壁として用いることにより、発光素子1221,1223から射出された光が、直接受光素子1222に入ることを防止することができる。
心拍数監視装置1040の機能に影響を及ぼさないための改善点として、発光素子1221,1223のまわりのフレーム1041,1043の上部エッジ1041a,1043aは、好ましくは発光素子1221,1223の上面1221a,1223aより低いことが好ましい。換言すれば、個別のフレーム1041,1043の上部エッジ1041a,1043aとキャリア1026との距離hFR−LEDは、個別のフレーム1041,1043で囲まれている発光素子1221,1223の上面1221a,1223aとキャリア1026との距離hLEDと、同じか小さい(hFR−LED≦hLED)。
好ましくは、発光素子1221,1223の上面1221a,1223aとキャリア1026との距離hLEDと、フレーム1041,1043の上部エッジ1041a,1043aとキャリア1026との距離hFR−LEDとの差は、0.1mmから0.8mmの範囲に設定する。なお、さらに好ましくは、発光素子1221,1223の上面1221a,1223aとキャリア1026との距離hLEDと、フレーム1041,1043の上部エッジ1041a,1043aとキャリア1026との距離hFR−LEDとの差は、0.2mmから0.5mmの範囲に設定する。
好ましくは、発光素子1221,1223の上面1221a,1223aとキャリア1026との距離hLEDと、フレーム1041,1043の上部エッジ1041a,1043aとキャリア1026との距離hFR−LEDとの差は、0.1mmから0.8mmの範囲に設定する。なお、さらに好ましくは、発光素子1221,1223の上面1221a,1223aとキャリア1026との距離hLEDと、フレーム1041,1043の上部エッジ1041a,1043aとキャリア1026との距離hFR−LEDとの差は、0.2mmから0.5mmの範囲に設定する。
また、受光素子1222のまわりのフレーム(レシーバーフレーム)1042の上部エッジ1042aは、好ましくは受光素子1222の上面1222aより高いことが好ましい。換言すれば、フレーム1042の上部エッジ1042aとキャリア1026との距離hFR−PDは、フレーム1042で囲まれている受光素子1222の上面1222aとキャリア1026との距離hPDより大きい(hFR−PD>hPD)。
好ましくは、受光素子1222の上面1222aとキャリア1026との距離hPDと、フレーム1042の上部エッジ1042aとキャリア1026との距離hFR−PDの差は、0mmから0.5mmの範囲に設定する。なお、さらに好ましくは、受光素子1222の上面1222aとキャリア1026との距離hPDと、フレーム1042の上部エッジ1042aとキャリア1026との距離hFR−PDの差は、0.1mmから0.2mmの範囲に設定する。
さらに、フレーム1042の上部エッジ1042aとキャリア1026との距離hFR−PDは、発光素子1221,1223の上面1221a,1223aとキャリア1026との距離hLEDよりも大きい(hFR−PD>hLED)。
好ましくは、受光素子1222の上面1222aとキャリア1026との距離hPDと、フレーム1042の上部エッジ1042aとキャリア1026との距離hFR−PDの差は、0mmから0.5mmの範囲に設定する。なお、さらに好ましくは、受光素子1222の上面1222aとキャリア1026との距離hPDと、フレーム1042の上部エッジ1042aとキャリア1026との距離hFR−PDの差は、0.1mmから0.2mmの範囲に設定する。
さらに、フレーム1042の上部エッジ1042aとキャリア1026との距離hFR−PDは、発光素子1221,1223の上面1221a,1223aとキャリア1026との距離hLEDよりも大きい(hFR−PD>hLED)。
なお、例えば、受光素子1222および発光素子1221,1223が間近である場合、受光素子1222と発光素子1221,1223との間に、1枚のフレーム壁だけが存在する構成であってもよい。これは、製造容易性の理由で発生する場合がある。その1枚のフレーム壁がケースである場合、受光素子1222および発光素子1221,1223で両方のフレームのフレーム壁は一致する。これは、発光素子1221,1223のフレーム壁がより高くなることを意味する、詳述すると、発光素子1221,1223を囲むフレーム1041,1043の内の、受光素子1222がある側のフレーム壁が高くなり、他のフレーム壁は発光素子1221,1223の上面1221a,1223aより低くなる。
さらに、フレーム1041,1042,1043に代えて、受光素子1222と発光素子1221、あるいは発光素子1223との間に第1の壁部を設け、発光素子1221,1223の外側、つまり受光素子1222に対して第1の壁部とは反対側に第2の壁部を設けるように構成しても良い。
このように構成した場合、キャリア1026と第1の壁部の上面との距離は、キャリア1026と第2の壁部の上面との距離よりも大きくなるように構成しても良い。このように構成することで、図13のように発光素子や受光素子を囲うように構成した場合に比べ、より少ない部材でフレームの機能を実現することができる。
さらに、フレーム1041,1042,1043に代えて、受光素子1222と発光素子1221、あるいは発光素子1223との間に第1の壁部を設け、発光素子1221,1223の外側、つまり受光素子1222に対して第1の壁部とは反対側に第2の壁部を設けるように構成しても良い。
このように構成した場合、キャリア1026と第1の壁部の上面との距離は、キャリア1026と第2の壁部の上面との距離よりも大きくなるように構成しても良い。このように構成することで、図13のように発光素子や受光素子を囲うように構成した場合に比べ、より少ない部材でフレームの機能を実現することができる。
なお、本実施形態4のようにフレーム1041,1043やフレーム1042を用いることにより、注入されるエポキシ樹脂などの絶縁性材料が流れ出すことを防ぐことができる。またこのように、追加構造を作成してエポキシ樹脂などの絶縁性材料を区切ることは、高い量産性を可能にするオプションである。なお、フレーム1041,1043やフレーム1042は、キャリア1026と同じ材料によって構成されても良い。例えばエポキシ系樹脂やポリカーボネイト系樹脂を用いて射出成型でフレームが形成されても良い。
前述したように、絶縁性材料1032(図11参照)は、センサーエレメント(発光素子1221,1223および受光素子1222)の電気的接続端子1034を保護する。しかしながら、これらの電気的接続端子1034は他の要素である追加電子機器(例えばドライバー、検出エレクトロニクス、プロセッサーまたは電源)と、さらに接触しなければならない。そして、キャリア1026(プリント基板(PCB)でもよい)に、これらの追加電子機器とのなんらかの電気接続があることを意味する。また、本実施形態に係る心拍数監視装置の構造は、心拍数のみならず、脈波、脈拍の計測装置にも適用できる。
(実施形態5)
図13を参照して、実施形態5に係る生体情報測定機器としての心拍数監視装置1050を説明する。図13は、実施形態5に係る生体情報測定機器としての心拍数監視装置を示す断面図である。なお、実施形態5に係る生体情報測定機器としての心拍数監視装置1050は、図13では図示していないが、前述の実施形態1と同様に、バンドなどの固定部によって、ユーザーの腕に装着される。
図13を参照して、実施形態5に係る生体情報測定機器としての心拍数監視装置1050を説明する。図13は、実施形態5に係る生体情報測定機器としての心拍数監視装置を示す断面図である。なお、実施形態5に係る生体情報測定機器としての心拍数監視装置1050は、図13では図示していないが、前述の実施形態1と同様に、バンドなどの固定部によって、ユーザーの腕に装着される。
実施形態5に係る生体情報測定機器としての心拍数監視装置1050は、前述した追加電子機器(例えばプロセッサー1052およびドライバー1054)を備えている。外部電気接続端子(図示せず)は、センサーエレメント(発光部としての発光素子1221および受光部としての受光素子1222)と同じキャリア1026に配置されない。つまり、追加電子機器は、センサーエレメントとは別のキャリアあるいは基板に配置されている。このように構成することで、皮膚とセンサーエレメント(発光素子1221および受光素子1222)との良好な接触を維持しつつ、必要な追加電子機器を心拍数監視装置1050に搭載することができる。例えば、外部電気接続端子は、キャリア1026の側面に配置されることができる。
上述したように、異なる種類のセンサーが、本発明に係る生体情報測定機器において用いられることが可能である。例えば、上述の受光素子1222が電気センサーである場合は、ユーザーの皮膚に接触して、ユーザーの伝導率を測定するための2本の皮膚コンダクタンス電極(例えば、センサーエレメント(図10に示される発光素子1221、受光素子1222))は、皮膚でおおわれる。なお、さらなる、二つ以上の種類のセンサーが、この種の生体情報測定機器において、用いられることが可能である、さらに、センサーエレメントの数は問わない。
実施形態2〜5において、提唱される生理的パラメーターを測定する生体情報測定機器を製造する方法のフローチャートは、図14において示される。
第1ステップS1において、センサー信号を検出するための少なくとも二つのセンサーエレメント(発光素子1221および受光素子1222)から成るセンサー1022は、キャリア1026上に配置される。第2ステップS2において、上記センサーエレメントの電気的接触をキャリア1026に形成する。第3ステップS3において、一つ以上のフレーム1041,1042は、センサー1022および/または個々のセンサーエレメント(発光素子1221および受光素子1222)周辺で、キャリア1026の上に形成される。第4ステップS4において、キャリア1026に備えられているセンサーエレメント(発光素子1221および受光素子1222)の上面1221a,1222aを覆わない、それぞれのフレーム1041,1042によって囲まれる領域に絶縁性材料1032が注入され満たされる。
第1ステップS1において、センサー信号を検出するための少なくとも二つのセンサーエレメント(発光素子1221および受光素子1222)から成るセンサー1022は、キャリア1026上に配置される。第2ステップS2において、上記センサーエレメントの電気的接触をキャリア1026に形成する。第3ステップS3において、一つ以上のフレーム1041,1042は、センサー1022および/または個々のセンサーエレメント(発光素子1221および受光素子1222)周辺で、キャリア1026の上に形成される。第4ステップS4において、キャリア1026に備えられているセンサーエレメント(発光素子1221および受光素子1222)の上面1221a,1222aを覆わない、それぞれのフレーム1041,1042によって囲まれる領域に絶縁性材料1032が注入され満たされる。
上記実施形態2〜5によれば、生体情報測定機器の性能に負の影響を及ぼすことのない電気的接触の保護を成し遂げる方法が提案される。そして、センサーの性能を保つような方法で形成される。例えば、これらのフレーム1041,1043の少なくとも一つは、皮膚に対するセンサーの位置がシフトすることを防ぐ。さらに、これらのフレーム1041,1043の少なくとも一つは、射出された直射的な光が受光素子1222に入射するのを防止するのに役立つことができる。好ましくは、受光素子1222の向きになっている側の、発光素子1221,1223のまわりのフレーム1041,1043の高さは、発光素子1221,1223の上面1221a,1223aの高さより小さくなければならない。加えて、受光素子1222のまわりのフレーム1042は、受光素子1222の上面1222aより高くてもよい。
上述した実施形態2〜5に係る生体情報測定機器においても、実施形態1で説明した発光部および受光部との間隔の構成を適用することができる。このような構成とすることにより、実施形態1と同様な効果を得ることができる。
(実施形態6)
上述した実施形態1〜5の生体情報測定機器は、ひずみ計、温度計、体温計、加速度センサー、ジャイロセンサー、圧電センサー、気圧センサー、血圧計、電気化学的センサー、GPS(Global Positioning System)、振動計、等の各種センサーを備えていてもよい。これらのセンサーを備えることで、心拍、脈拍、拍動間の変異、EKG(ElektroKardiogram:心電図)、ECG(Electrocardiogram:心電図)、呼吸数、皮膚温度、体温、体の熱流、電気皮膚反応、GSR(Galvanic skin reflex:皮膚電気反射)、EMG(Electromyogram:筋電図)、EEG(electroencephalogram:脳電図)、EOG(Electrooculography:眼球電図)、血圧、体脂肪、水分補給レベル、活動レベル、体動、酸素消費量、グルコース、血糖値、筋肉量、筋肉にかかる圧力、骨にかかる圧力、紫外線吸収、睡眠状態、体調、ストレス状態、体位(例えば、横臥、直立、座位、等)等の、1または1以上の生理学的パラメーターを示すデータに基づいて、個人の生理学的状態に関する情報を導出することができる。また、これらの各種センサーによって得られた値を、例えば、スマートフォン、携帯電話機、フィーチャーフォン等の携帯型通信端末やコンピューターやタブレット型コンピューター等の情報処理端末に送信して、携帯型通信端末や情報処理端末にて生理学的パラメーターの演算処理を実行してもよい。
上述した実施形態1〜5の生体情報測定機器は、ひずみ計、温度計、体温計、加速度センサー、ジャイロセンサー、圧電センサー、気圧センサー、血圧計、電気化学的センサー、GPS(Global Positioning System)、振動計、等の各種センサーを備えていてもよい。これらのセンサーを備えることで、心拍、脈拍、拍動間の変異、EKG(ElektroKardiogram:心電図)、ECG(Electrocardiogram:心電図)、呼吸数、皮膚温度、体温、体の熱流、電気皮膚反応、GSR(Galvanic skin reflex:皮膚電気反射)、EMG(Electromyogram:筋電図)、EEG(electroencephalogram:脳電図)、EOG(Electrooculography:眼球電図)、血圧、体脂肪、水分補給レベル、活動レベル、体動、酸素消費量、グルコース、血糖値、筋肉量、筋肉にかかる圧力、骨にかかる圧力、紫外線吸収、睡眠状態、体調、ストレス状態、体位(例えば、横臥、直立、座位、等)等の、1または1以上の生理学的パラメーターを示すデータに基づいて、個人の生理学的状態に関する情報を導出することができる。また、これらの各種センサーによって得られた値を、例えば、スマートフォン、携帯電話機、フィーチャーフォン等の携帯型通信端末やコンピューターやタブレット型コンピューター等の情報処理端末に送信して、携帯型通信端末や情報処理端末にて生理学的パラメーターの演算処理を実行してもよい。
ユーザーは、生体情報を測定する前に、生体情報測定機器、携帯型通信端末、もしくは情報処理端末にユーザー自身のプロフィールを入力する。これによりユーザーは、そのプロフィールと生体情報測定結果とに基づき、推奨される健康なライフスタイルを確立し維持する可能性を最大にするために、対処が必要となるユーザーの特異な特性情報、環境情報の提供を受けることができる。提供される情報としては、運動種別、運動強度、運動時間、等のような運動情報、食事時間、食事の量、推奨される摂取食材や摂取メニュー、避けるべき摂取食材や摂取メニュー、等のような食事情報、睡眠時間、睡眠の深さ、睡眠の質、起床時間、着床時間、就労時間、ストレス情報、消費カロリー、摂取カロリー、カロリー収支、等のような生活支援情報、基礎代謝、体脂肪量、体脂肪率、筋肉量、等のような身体情報、投薬情報、サプリメント摂取情報、医療情報、等の一つもしくは複数が挙げられる。
事前に入力するユーザー自身のプロフィールとしては、例えば、年齢、生年月日、性別、趣味、職種、血液型、過去のスポーツ歴、活動レベル、食事、睡眠の規則性、排便習慣の規則性、状況適応性、持続性、応答性、反応の強さ、性質等のユーザーの性格、ユーザーの自主独立レベル、自立形成、自己管理、社交性、記憶力および学問的成就能力、ユーザーの覚醒レベル、認知速度、注意力疎外要因の回避能力、覚醒状態および自己監督能力を含むユーザーの注意力、注意持続能力、体重、身長、血圧、ユーザーの健康状態、医者による診察結果、医者による診察日、医者や健康管理者との接触の有無、現在服用中の薬剤およびサプリメント、アレルギーの有無、アレルギー歴、現在のアレルギー症状、健康に関連する挙動の所見、ユーザーの病気歴、ユーザーの手術歴、家族歴、個人による調整を必要とした離婚または失業のような社会的事象、ユーザーの健康優先度に関する所信、価値観、振舞いを変える能力、生活のストレス原因と考えられる事象、ストレス管理方法、ユーザーの自己意識度、ユーザーの感情移入度、ユーザーの権限委譲度、ユーザーの自尊心、ユーザーの運動、睡眠状態、弛緩状態、毎日の活動の現在のルーチン、ユーザーの生活における重要な人物(例えば、配偶者、友人、同僚または上司)の性格、重要な人物の関係において健康なライフスタイルを阻害するまたはストレスに寄与する衝突が存在するか否かについてのユーザーの受け止め方、等の一つもしくは複数が挙げられる。
ここで、推奨される健康的なライフスタイルを確立し維持する可能性を最大にするために、対処が必要となるユーザーの特異な特性情報、環境情報の提供を受けることができる実施形態6に係る生体情報測定機器について、図15〜図21を用いて説明する。図15は、実施形態6の生体情報測定機器におけるヘルスマネージャーの起点となるウェブページの概略を示す図である。図16は、栄養ウェブページの一例を示す図であり、図17は、活動レベルウェブページの一例を示す図である。また、図18は、精神集中ウェブページの一例を示す図であり、図19は、睡眠ウェブページの一例を示す図である。また、図20は、毎日の活動ウェブページの一例を示す図であり、図21は、健康度ウェブページの一例を示す図である。
実施形態6に係る生体情報測定機器は、図示しないが、例えばマイクロプロセッサーに接続されたセンサー装置を備えている。そして、実施形態6に係る生体情報測定機器では、最終的にモニターユニットへ送られて保存される種々の生活活動に関するデータや、モニターユニットにより維持されるウェブサイトからユーザーによって入力される個人データもしくは生活情報が、マイクロプロセッサーによって処理され、生体情報として提供される。以下に、具体的な一例を示し説明する。
ユーザーは、ウェブページ、アプリケーションソフト、その他の通信媒体を介して、そのユーザーのためのヘルスマネージャーにアクセスする。図15は、一例として、ヘルスマネージャーの起点となるウェブページ550を示す。図15に示すヘルスマネージャーのウェブページ550では、多様なデータをユーザーへ提供する。このようにして提供されるデータは、例えば、(1)種々のセンサー装置が測定した値に基づく種々の生理学的パラメーターを示すデータ、(2)種々の生理学的パラメーターを示すデータから導出されるデータ、(3)センサー装置により発生される種々のコンテキストパラメーターを示すデータおよびユーザーが入力するデータのうちの、1つまたはそれ以上である。
分析状態データは、(1)センサー装置が取得する種々の生理学的パラメーターを示すデータ、(2)種々の生理学的パラメーターから導出されるデータ、(3)センサー装置が取得する種々のコンテキストパラメーターを示すデータおよびユーザーが入力するデータのうちの1つまたはそれ以上を計算により求める健康度、(4)壮健度およびライフスタイル指数などに変換するために、ある特定のユーティリティーまたはアルゴリズムを利用する点に特徴がある。例えば、摂取した食料に関連してユーザーが入力するデータに基づきカロリー、たんぱく質、脂肪、炭水化物およびある特定のビタミンの量のようなものを計算することができる。また、別の例として、皮膚温度、心拍数、呼吸数、熱流および/またはGSRを用いることにより、所望の時間にわたるストレスレベルの指数をユーザーに提供することができる。さらに別の例として、皮膚温度、熱流、拍動間変異、心拍数、脈拍、呼吸数、中心部体温、電気皮膚反応、EMG、EEG、EOG、血圧、酸素消費量、周囲の音および加速度計のような装置で検出される体の動きを用いることにより、所望の時間にわたる睡眠パターンの指数をユーザーに提供することができる。
図15に示すウェブページ550には、健康度としての健康指標555が表示されている。この健康指標555は、ユーザーの成績および推奨される健康な日課を達成した度合いを測定し、それらをメンバーユーザーにフィードバックするためのグラフィックなユーティリティーである。このように、健康指標555は、メンバーユーザーに対して彼らの健康状態や健康維持に関する行動の進捗状況を示す。健康指標555は、ユーザーの健康およびライフスタイルに関する6つのカテゴリー、即ち、栄養、活動レベル、精神集中、睡眠、毎日の活動、および元気度(総合的な所感)を含む。「栄養」のカテゴリーは、その人(ユーザー)が何を、いつ、そしてどのくらい食べて飲んだかの情報に関する。「活動レベル」のカテゴリーは、その人がどのくらい動き回るかの運動量に関する。「精神集中」のカテゴリーは、その人(ユーザー)の精神が高度に集中した状態で弛緩状態となるための活動の質(能力)、およびその人がその活動に集中する時間に関する。「睡眠」のカテゴリーは、その人(ユーザー)の睡眠の質、および量に関する。「毎日の活動」のカテゴリーは、その人(ユーザー)が毎日行わなければならないこと、およびその人が遭遇する健康リスクに関する。「元気度(所感)」のカテゴリーは、ある特定の日について気分がよいか否かの一般的な受け止め方に関する。各カテゴリーには、好ましくは、「悪い」から「よい」の間で変化するスケールで、ユーザーがそのカテゴリーに関してどのような実績をあげたかを示すレベル表示または棒グラフを備えている。
各メンバーユーザーが上述した最初の調査を終了すると、ユーザーに対して、自身の特性、および生活環境の要約を提供するプロフィールが作成され、推奨される健康的な日課および/または目標が提示される。推奨される健康的な日課には、適当な栄養、運動、精神集中、およびユーザーの毎日の活動(生活)に関する特定のアドバイス、における任意の組み合わせが含まれる。これら推奨される健康的な日課に係る活動をユーザーの生活に如何に取り込むかのガイドとして、模範的なスケジュールなどを提示してもよい。ユーザーはその調査を定期的に受け、その結果に基づき、上述したような項目をそれに応じて実践する。
「栄養」のカテゴリーは、ユーザーが入力するデータと、センサー装置が感知するデータとの両方から計算される。ユーザーが入力するデータには、朝食、昼食、夕食、および任意のおやつの時刻や飲食時間と、飲食する食料、ビタミンのようなサプリメントおよび予め選択した時間の間に飲む水や他の液体(飲料水や液体状の食料)とが含まれる。このデータや種々の食料の公知の特性に関する蓄積されたデータに基づき、中央モニターユニットは、消費カロリー、またはたんぱく質、脂肪、炭水化物、ビタミンなどの含有量のような、よく知られた栄養学的な値を計算する。
「栄養」のカテゴリーにおいては、健康指標555の栄養を示す棒グラフに基づいて、推奨される健康的な日課に関して決定することができる。この推奨される健康的な日課は、ユーザーの性別、年齢、身長/体重のような情報に基づき調整することができる。なお、毎日摂取するカロリーやたんぱく質、繊維、脂肪、炭水化物などの栄養素や水の量、および全体の摂取量に対する割合に関するある特定の栄養の目標を、ユーザー、またはユーザーに代わって代理者が設定することができる。棒グラフの計算に用いるパラメーターには、1日の食事回数、水の消費量、毎日食べる食物の種類、および量をユーザーが入力したものが含まれる。
栄養学的情報は、図16に示すような栄養ウェブページ560によりユーザーに提示される。栄養ウェブページ560は、栄養の実際および目標となる数値をそれぞれ円グラフで示す栄養数値チャート565,570と、実際の栄養摂取総量および目標となる栄養摂取総量をそれぞれ示す栄養摂取チャート575,580を含むことが好ましい。栄養数値チャート565,570は、炭水化物、たんぱく質および脂肪のような項目を百分比で示すのが好ましく、栄養摂取チャート575,580は、カロリーの合計値および目標値を、脂肪、炭水化物、たんぱく質およびビタミンのような成分で分けて示すのが好ましい。ウェブページ560は、食物および水を消費した時間を示す履歴585、ユーザーが栄養に関連するニュース記事、栄養に関する日課を改善するためのアドバイス、およびネットワーク上のどこかの関連の広告を直接チェックできるようにするハイパーリンク590、および適用期間などを選択可能なカレンダー595も含む。ハイパーリンク590で示す項目は、調査により個人について知り得た情報、および健康指標により測定された個人の成績に基づいて選択することができる。
健康指標555の「活動レベル」のカテゴリーは、その日にユーザーが、いつ、どのように活動したか(動いたか)などに関するユーザーのチェックを、支援するように設計されており、ユーザーが入力するデータと、センサー装置が感知するデータとの両方を利用する。ユーザーが入力するデータには、例えば、ユーザーが午前8時から午後5時まで机に向かって仕事をした後、午後6時から午後7時までエアロビクス講習を受けるというようなユーザーの毎日の活動に関する詳細事項が含まれる。センサー装置により感知される関連のデータには、心拍数、加速度計のような装置により感知される運動、熱流、呼吸数、消費カロリー量、GSR、および水分補給レベルが含まれ、これらはセンサー装置または中央モニターユニットにより取り出すことができる。消費カロリー量は、ユーザーが入力する運動の種類とユーザーが入力する運動の持続時間との掛け算、感知する運動と運動の時間およびフィルター定数との掛け算、または感知される熱流と時間とフィルター定数との掛け算のような種々の方法で計算することができる。
「活動レベル」のカテゴリーでは、健康指標555の活動レベルを示す棒グラフに基づいて、推奨される健康的な日課に関して決定することができる。この推奨される健康的な日課は、活動において消費される最小目標カロリーなどである。なお、最小目標カロリーは、ユーザーの性別、年齢、身長、体重のような情報に基づき設定可能である。棒グラフの計算に用いるパラメーターには、各種の運動または精力的なライフスタイル活動に費やす時間であって、ユーザーが入力したものおよび/またはセンサー装置が感知したものや予め計算したエネルギー消費パラメーター以上に燃焼したカロリー数が含まれる。
個人ユーザーの活動(動き)に関する情報は、図17に示す活動レベルウェブページ600によりユーザーに提示される。この活動レベルウェブページ600は、ユーザーの活動を3つのカテゴリー、即ち、所定の単位時間に関して「高」、「中」、「低」でモニターする棒グラフの形をした活動度グラフ605を含む。円グラフの形の活動百分比チャート610は、ユーザーが各カテゴリーで費やした、例えば1日のような所定の期間の百分比を示すために提示することができる。また、活動レベルウェブページ600は、燃焼カロリー総量、毎日の燃焼カロリー目標値、カロリー摂取合計値、およびエアロビクス運動時間のような項目を表示するためのカロリー表示(図示せず)を設けることもできる。活動レベルウェブページ600は、ユーザーが、関連のニュース記事、活動レベルに関する日課を改善するためのアドバイス、およびネットワーク上の関連広告を直接チェックできるようにするため、少なくとも1つのハイパーリンク620を含む。
活動レベルウェブページ600は種々のフォーマットで見ることができるが、棒グラフ、円グラフ、およびその両方のようなグラフまたはチャートをユーザーが選択可能とすることができ、活動レベルチェックボックス625により選択可能である。活動レベルカレンダー630は、適用期間などを選択できるようにするために提供される。ハイパーリンク620に示す項目は、調査によりその個人から抽出した情報および健康指標により測定される成績に基づき選択することができる。
健康指標555の「精神集中」のカテゴリーは、ユーザーが、精神を集中しながら深い弛緩状態に体が到達できるようにする活動を行う時間に関するパラメーターを、モニターすることを支援するように設計されており、ユーザーが入力するデータとセンサー装置が感知するデータとの両方に基づくものである。詳説すると、ユーザーはヨガまたは瞑想のような弛緩活動の開始時間および終了時間を入力することができる。精神集中の深さにより決まるこれらの活動の品質は、センサー装置により感知される皮膚温度、心拍数、呼吸数および熱流を含むパラメーターをモニターすることにより測定可能である。センサー装置または中央モニターユニットの何れかにより得られるGSRの百分比変化を利用することもできる。
「精神集中」のカテゴリーにおいては、健康指標555の精神集中の活動レベルを示す棒グラフに基づいて、推奨される健康的な日課に関して決定することができる。この推奨される健康的な日課は、精神を高度に集中した状態にしながら体を深く弛緩させる活動への毎日の参加が含まれて表示される。この棒グラフの計算に使用するパラメーターには、精神集中活動に費やす時間の長さ、および精神集中活動の深さ、または品質を示すベースラインからの、センサー装置により感知される皮膚温度、心拍数、呼吸数、熱流またはGSRの百分比変化が含まれる。
深く自己を顧みる行動(内省)、および体を深く弛緩させるなどの精神集中活動のために費やす時間に関する情報は、図18に示す精神集中ウェブページ650によりユーザーに提示される。なお、精神集中活動は、セッションと呼ばれることがある。精神集中ウェブページ650は、セッションに費やした時間655、目標時間660、精神集中の深さの目標値および実際の値を示す比較部分665、皮膚温度、心拍数、呼吸数、熱流および/またはGSRのようなものから導出される全体的なストレスレベルを示すヒストグラム670を含む。
比較部分665では、目標となる精神集中状態を示す人間の輪郭は実線で示され、実際の精神集中状態を示す人間の輪郭は、精神集中のレベルに応じてぼやけた状態(図18では破線で表す)と実線の間で変化する。また、好ましい精神集中ウェブページ650は、ユーザーが関連のニュース記事、精神集中に関する日課の改善に関するアドバイス、およびネットワーク上の関連広告を直接チェックできるようにするハイパーリンク680、精神集中に関する日課の改善に関するアドバイスおよび関連の広告と、適用期間を選択可能にするカレンダー685とを含む。ハイパーリンク680で示す項目は、調査により個人から知り得た情報および健康指標により測定される成績に基づき選択することができる。
健康指標555の「睡眠」のカテゴリーは、ユーザーが睡眠パターンおよび睡眠の質をモニターすることを支援できるように設計されている。このカテゴリーは、ユーザーが健康なライフスタイルにおける睡眠の重要性と、体の機能の毎日の通常の変化である日周期に対する睡眠の関係と、についての学習を助けるように意図されている。「睡眠」のカテゴリーは、ユーザーが入力するデータとセンサー装置が感知するデータとの両方に基づくものである。関連の各時間インターバルの間にユーザーが入力するデータには、ユーザーの入眠時刻と起床時刻(睡眠時間)および睡眠の質のランクが含まれる。センサー装置から得られる関連性のあるデータには、皮膚温度(体温)、熱流、拍動間変異、心拍数、脈拍数、呼吸数、中心部体温、電気皮膚反応、EMG、EEG、EOG、血圧および酸素消費量が含まれる。また、周囲の音および加速度計のような装置により検知される体の動きも関連性を有する。その後、このデータを用いて、入眠時刻および起床時刻、睡眠中断および睡眠の質、および睡眠の深さなどについて計算し導出することができる。
健康指標555の睡眠を示す棒グラフは、毎晩の好ましい最小睡眠時間の確保、予測可能な就寝時刻、および起床時刻を含む健康な日課について表示される。この棒グラフの計算を可能にする特定のパラメーターには、センサー装置により感知されるかユーザーが入力する毎日の睡眠時刻および起床時刻と、ユーザーが等級をつけるかまたは他のデータから導出される睡眠の質が含まれる。
睡眠に関する情報は、図19に示す睡眠ウェブページ690によりユーザーに提示される。睡眠ウェブページ690は、センサー装置からのデータまたはユーザーが入力するデータの何れかに基づく睡眠時間表示695と、ユーザーの就寝時刻表示700、および起床時刻表示705を含む。なお、ユーザーにより入力される睡眠の質について、睡眠の質ランク710を利用し表示することも可能である。また、1日の時間インターバルを超える表示を睡眠ウェブページ690において行う場合、睡眠時間表示695は累計値として表示し、就寝時刻表示700、起床時刻表示705、および睡眠の質ランク710は平均値として計算し、表示することができる。また、睡眠ウェブページ690は、所定の時間インターバルにわたって1つの睡眠関連パラメーターを計算し表示するユーザーにより選択可能な睡眠グラフ715も含む。図19は、1日にわたる熱流(体温)の変化を示すが、この熱流は、睡眠中は低く、起きている時は高くなる傾向がある。この情報から、その人のバイオリズムを得ることが可能である。
また、睡眠グラフ715は、体の動きをモニターするセンサー装置に組み込んだ加速度計からのデータをグラフ表示する。また、睡眠ウェブページ690は、ユーザーが睡眠に関連するニュース記事、睡眠に関する日課を改善するためのアドバイス、およびネットワーク上にある関連の広告を直接チェックできるようにするハイパーリンク720と、関連の時間インターバルを選択するための睡眠カレンダー725とを含むことができる。ハイパーリンク720で示す項目は、調査において個人から知り得た情報、および健康指標により測定される成績に基づき特別に選択することができる。
健康指標555の「毎日の活動」のカテゴリーは、健康や安全に関連するある特定の活動、およびリスクをユーザーがモニターすることを支援できるように設計されており、すべてユーザーにより入力されるデータに基づくものである。毎日の生活の活動に関する「毎日の活動」のカテゴリーは、下位概念の4つのカテゴリーが挙げられる。具体的には、(1)歯ブラシまたはフロスを用いる歯の手入れやシャワーを浴びるような活動をユーザーがモニターするのを可能にする個人的衛生に係る項目、(2)ユーザーが処方箋通りの薬またはサプリメントを飲んでいるか否かを追跡し、煙草またはアルコールの消費量などをユーザーがモニターするのを可能にする健康維持に係る項目、(3)家族または友人と共に過ごす時間やレジャーおよび精神集中活動をユーザーがモニターするのを可能にする個人的時間に係る項目、(4)家庭の雑用のような仕事および家計活動をユーザーがモニターするのを可能にする責任に係る項目、に分けられる。
「毎日の活動」のカテゴリーにおいて、健康指標555の「毎日の活動」を示す棒グラフは、以下に述べる推奨される健康的な日課について表示することが好ましい。個人の衛生に関する日課の一例としては、ユーザーが毎日シャワーを浴びるか入浴し、毎日ブラシとフロスを用いて歯を清潔に保ち、規則的な便通を維持することが望ましい。また、健康維持に関する日課の一例としては、ユーザーが薬、ビタミン剤および/またはサプリメントを飲み、禁煙し、節酒し、健康マネージャーにより毎日、健康をモニターすることが望ましい。個人的時間に関する日課の一例としては、ユーザーが毎日少なくとも所定時間は家族と過ごす時間を創出し、および/または友人と良質な時間を過ごし、仕事を行う時間を減らし、レジャーまたは遊びの時間を取り入れ、頭を使う活動を行うことが望ましい。責任に関する日課の一例としては、ユーザーが家の雑事を行い、仕事に遅れず、約束を守ることが望ましい。棒グラフは、ユーザーが入力する情報により決定される、および/またはユーザーが毎日リストアップされた活動を完了する度合いに基づき計算される。
これらの活動に関する情報は、図20に示す毎日の活動ウェブページ730によりユーザーに提示される。毎日の活動ウェブページ730における活動チャート735は、ユーザーがその日課により必要とされることを実行したか否かを示す。活動チャート735は、下位概念のうちの1つまたはそれ以上について選択可能である。活動チャート735では、色または影がついたボックスは、必要とされる活動をユーザーが実行したことを示し、色または影のないボックスは、その活動をユーザーが実行していないことを示している。活動チャート735は、選択可能な時間インターバルにおいて作成し、見ることが可能である。図20は、特定の週における個人的衛生および個人的時間のカテゴリーを一例として示している。さらに、毎日の活動ウェブページ730は、ユーザーが関連のあるニュース記事、毎日の生活の活動に関する日課を改善するためのアドバイス、およびネットワーク上の関連の広告を直接チェックできるようにするハイパーリンク740と、関連の時間インターバルを選択するための毎日の活動のカレンダー745とを含むことができる。ハイパーリンク740に示す項目は、調査において個人から知り得た情報、および健康指標により決定される成績に基づき選択することができる。
健康指標555の「元気度」のカテゴリーは、特定の日に元気であったか否かの認識をユーザーがモニターするのを可能にするように設計され、ユーザーが直接入力する本質的に主観的な等級情報に基づくものである。ユーザーは、以下の9つの領域、即ち、(1)精神的鋭敏さ、(2)精神的および心理的幸福度、(3)エネルギーレベル、(4)人生のストレスへの対処能力、(5)対面を重んじる度合い、(6)物理的幸福度、(7)自己抑制、(8)動機、(9)他人との関係による慰め、に関して、好ましくは1から5までのスケールを用いてランク付けを行う。これらの度合い(等級)を平均して、健康指標555の棒グラフの計算に使用する。
図21は、元気度のウェブページ750を示す。元気度のウェブページ750は、連続または不連続の任意の日にちを含む、ユーザーが選択可能な時間インターバルにわたる元気度を、ユーザーがチェックできるようにする。なお、図21で示す例では、元気度を健康指数として表示している。元気度のウェブページ750では、元気度の選択ボックス760を用いることにより、ユーザーは、1つのカテゴリーについて元気度の棒グラフ755をチェックする選択を行うか、または2つのカテゴリー、またはそれ以上のカテゴリーについて元気度の棒グラフ755を並べて比較することができる。例えば、ユーザーは、前月と比べて総合的な睡眠の等級が改善されたか否かをチェックするために、睡眠の棒グラフだけを作動状態にしたい場合があるあるいは、睡眠と活動レベルとを同時に表示することにより、睡眠の等級とそれに対応する活動レベルの等級とを比較評価して、それぞれの日にちの間に何らかの相関関係が存在するか否かをチェックする場合がある。所定の時間インターバルについて栄養の等級と元気度の等級とを表示して、毎日の食事習慣とそのインターバルの間の食事習慣と元気度との間に何らかの相関関係が存在するか否かをチェックする場合がある。図21は、説明のための一例として、6月8日から6月14日の週の睡眠と活動レベルの棒グラフによる比較を示す。また、元気度のウェブページ750は、ユーザーがログインしてヘルスマネージャーを利用した日数の合計、ユーザーが入会以来ヘルスマネージャーを利用した日にちの割合、およびユーザーがデータを収集するためにセンサー装置を利用した時間の割合のようなアクセス情報、および統計を表示する追跡計算器765も含む。
図15に示すヘルスマネージャーの起点となるウェブページ550の一例は、それぞれが健康度としての健康指標555のカテゴリーに対応するユーザーにより選択可能な複数のカテゴリーの要約556aないし556fを含む。各カテゴリーの要約556aないし556fは、対応するカテゴリーに関して予め選択しフィルターをかけたデータの副集合を提示する。栄養カテゴリーの要約556aは、カロリー摂取量の毎日の目標値と実際値とを示す。活動レベルカテゴリーの要約556bは、燃焼カロリー量の毎日の目標値と実際値とを示す。精神集中の要約556cは、精神集中の深さの目標値および実際値を示す。睡眠カテゴリーの要約556dは、目標の睡眠時間、実際の睡眠時間、および睡眠の質の等級を示す。毎日の活動カテゴリーの要約556eは、推奨される健康的な日課(毎日の活動)に対する完了した活動の割合に基づく目標点数および実際点数を表示する。元気度のカテゴリーの要約556fは、その日の健康度の目標および実際の等級を示す。
また、ウェブページ550は、ニュース記事へのハイパーリンク(不図示)、最初の調査によりチェックされる栄養不良のような傾向に基づくユーザーへのコメント(不図示)、および合図(不図示)を含むこともできる。情報を毎日ユーザーに提供する毎日の日課部分557を含むこともできる。毎日の日課部分557のコメントとしては、例えば、毎日必要となる水の摂取量や、それを可能とする具体的手段のアドバイスなどを表示することができる。また、ウェブページ550は、健康指標555の各カテゴリーにおけるユーザーの成績を積極的に評価して改善のためのアドバイスを提示する問題解決セクション558を含むことができる。例えば、システムによりユーザーの睡眠レベルが「低」で、ユーザーが不眠症であることを示唆する場合、問題解決セクション558は睡眠を改善するための方法をアドバイスすることができる。また、問題解決セクション558は、成績の改善に関するユーザーの質問を含むことができる。また、ウェブページ550は、入力ダイアログボックスを立ち上げる毎日のデータセクション559を含むことができる。入力ダイアログボックスにより、ユーザーはヘルスマネージャーにより必要とされる種々のデータの入力を容易に行うことができる。当該技術分野において知られているように、データの入力は予め提示されたリストまたは普通の自由テキスト形式の入力かの選択が可能である。また、ウェブページ550は、ユーザーの身長、体重、体の測定値、BMI、および心拍数、血圧または任意の生理学的パラメーターのような生命兆候に関する情報を与える体の状態セクション561を含むことができる。
(受光部の変形例)
ここで、上述した実施形態1に係る受光部140の変形例について、図22を参照して説明する。図22は、受光部の変形例を示す部分断面図である。図22に示すように、基板160(センサー基板)に実装されている受光部140は、半導体の基板141に形成されたPN接合のダイオード素子142などにより実現できる。この場合に、受光角度を絞るための角度制限フィルターや受光素子に入射する光の波長を制限する波長制限フィルター(光学フィルター膜)148を、このダイオード素子142上に形成してもよい。なお、波長制限フィルター(光学フィルター膜)148は、例えばダイオード素子142側から第1酸化膜143、第1窒化膜144、第2酸化膜145、および第2窒化膜146の順に形成された構成とすることができる。なお、本受光部の変形例は、上述した実施形態のいずれにおいても適用可能である。
ここで、上述した実施形態1に係る受光部140の変形例について、図22を参照して説明する。図22は、受光部の変形例を示す部分断面図である。図22に示すように、基板160(センサー基板)に実装されている受光部140は、半導体の基板141に形成されたPN接合のダイオード素子142などにより実現できる。この場合に、受光角度を絞るための角度制限フィルターや受光素子に入射する光の波長を制限する波長制限フィルター(光学フィルター膜)148を、このダイオード素子142上に形成してもよい。なお、波長制限フィルター(光学フィルター膜)148は、例えばダイオード素子142側から第1酸化膜143、第1窒化膜144、第2酸化膜145、および第2窒化膜146の順に形成された構成とすることができる。なお、本受光部の変形例は、上述した実施形態のいずれにおいても適用可能である。
このような構成とすることにより、より少ない領域に波長制限フィルター(光学フィルター膜)148を設けることができ、より小型の生体情報測定モジュールおよび生体情報測定機器を提供することが可能となる。
(発光部の変形例)
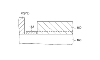
次に、上述した実施形態1に係る発光部150の変形例について、図23を参照して説明する。図23は、発光部の変形例を示す部分断面図である。図23に示すように、基板160(センサー基板)に実装されている発光部150の周囲には、壁部としてのフレーム70(図5に示す第1凸部79)と、発光部150から周囲方向に射出された光を反射する反射機能層152とが設けられている。なお、反射機能層152は、基板160の上面側から見た平面視で、発光部150の周囲を全周に亘って囲むように設けられていてもよいし、発光部150の周囲の少なくとも一部に設けられていてもよい。なお、本受光部の変形例は、上述した実施形態のいずれにおいても適用可能である。
次に、上述した実施形態1に係る発光部150の変形例について、図23を参照して説明する。図23は、発光部の変形例を示す部分断面図である。図23に示すように、基板160(センサー基板)に実装されている発光部150の周囲には、壁部としてのフレーム70(図5に示す第1凸部79)と、発光部150から周囲方向に射出された光を反射する反射機能層152とが設けられている。なお、反射機能層152は、基板160の上面側から見た平面視で、発光部150の周囲を全周に亘って囲むように設けられていてもよいし、発光部150の周囲の少なくとも一部に設けられていてもよい。なお、本受光部の変形例は、上述した実施形態のいずれにおいても適用可能である。
このような構成とすることにより、発光部150の周囲方向に射出された光を、反射機能層152によって反射し、測定対象物に向かう光とすることができる。これにより、測定対象物に向かう光の強度(発光強度)を高めることができ、生体情報の測定精度を向上させるとともに安定化させることが可能となる。
なお、以上のように実施形態について詳細に説明したが、本発明の新規事項および効果から実体的に逸脱しない多くの変形が可能であることは当業者には容易に理解できるであろう。従って、このような変形例はすべて本発明の範囲に含まれるものとする。例えば、明細書又は図面において、少なくとも一度、より広義または同義な異なる用語と共に記載された用語は、明細書又は図面のいかなる箇所においても、その異なる用語に置き換えることができる。また生体情報測定モジュール、光検出ユニット、生体情報測定機器等の構成、動作も本実施形態で説明したものに限定されず、種々の変形実施が可能である。
10…バンド部、12…バンド穴、14…バックル部、15…バンド挿入部、16…突起部、30…ケース部、32…発光窓部、34…トップケース、35…端子部、36…ボトムケース、40,40a,40b,40c…生体情報測定モジュールとしてのセンサー部、50…透光部材、52…凸部、53,55…Oリング、54…溝部、56…凹部、57,59…外周溝部、58…押圧抑制部、70…フレーム、71…第1壁部、72…第2壁部、72b…壁部の頂面、78…第2凸部、79…第1凸部、80(80a,80b)…絞り部、140…受光部、140a…受光部の外周、150,154…発光部、150a,154a…第1側面、150b,154b…第2側面、150c,154c…発光部の外周、151,153…ドーム型レンズ、152…反射機能層、160…支持部としての基板、160a…支持面(表面)、160b…裏面、170…体動センサー部、172…加速度センサー、180…振動発生部、200…処理部、210…信号処理部、212…体動ノイズ低減部、220…拍動情報演算部、230…報知制御部、240…記憶部、250…通信部、252…アンテナ、260…報知部、270…制御部、271…ベース部としての回路基板、272…回路素子、273…スルーホール、274…第1接続端子、275…第2接続端子、280…遮光層、281…導電層としての金属層、282…絶縁層、400…生体情報測定機器、410…手首、411…対象物としての皮膚、420…端末装置、430…表示部、a…第1凸部と発光部との間の距離、b…第2凸部と発光部との間の距離、h1…第1凸部の高さ、h2…第2凸部の高さ、h3…受光部の高さ。
Claims (11)
- 対象物に対して光を射出する発光部と、
前記対象物を経由した光を受光する受光部と、
支持面を有し、前記支持面上に前記発光部および前記受光部を支持する支持部と、
前記支持面に配置され、少なくとも一部が前記発光部と前記受光部との間に配置された第1凸部と、
前記支持面に配置され、前記発光部に対して前記第1凸部と反対側に配置された第2凸部と、を備え、
前記第1凸部の前記支持面からの高さは、前記第2凸部の前記支持面からの高さよりも高いことを特徴とする生体情報測定モジュール。 - 前記第1凸部および前記第2凸部は、前記支持部と一体であることを特徴とする請求項1に記載の生体情報測定モジュール。
- 前記第1凸部は、前記受光部の周囲を囲むように配置されていることを特徴とする請求項1または請求項2に記載の生体情報測定モジュール。
- 前記支持面から前記第1凸部の頂面までの高さは、前記支持面から前記受光部の頂面までの高さより高いことを特徴とする請求項3に記載の生体情報測定モジュール。
- 前記第1凸部と前記第2凸部との間に前記発光部が配置され、前記発光部の周囲の少なくとも一部には、前記発光部から射出された光を反射する反射機能層が設けられていることを特徴とする請求項1ないし請求項4のいずれか一項に記載の生体情報測定モジュール。
- 前記第1凸部と前記発光部の前記受光部側の第1側面との間の距離aは、前記第2凸部と前記第1側面と反対側の前記発光部の第2側面との間の距離bよりも小さいことを特徴とする請求項1ないし請求項5のいずれか一項に記載の生体情報測定モジュール。
- 回路基板を備え、
前記支持部は、前記回路基板と、前記発光部および前記受光部の少なくとも一方とを電気的に接続する導通部を備えていることを特徴とする請求項1ないし請求項6のいずれか一項に記載の生体情報測定モジュール。 - 前記支持部、前記第1凸部および前記第2凸部は、波長が495nm〜570nmの光を遮光することを特徴とする請求項1ないし請求項7のいずれか一項に記載の生体情報測定モジュール。
- 前記支持部は、前記支持面に沿って設けられている遮光層を備えていることを特徴とする請求項1ないし請求項8のいずれか一項に記載の生体情報測定モジュール。
- 前記遮光層は、絶縁層および導電層を含むことを特徴とする請求項9に記載の生体情報測定モジュール。
- 請求項1ないし請求項10のいずれか一項に記載の生体情報測定モジュールが搭載されていることを特徴とする生体情報測定機器。
Priority Applications (1)
| Application Number | Priority Date | Filing Date | Title |
|---|---|---|---|
| JP2015000116A JP2016123717A (ja) | 2015-01-05 | 2015-01-05 | 生体情報測定モジュール、および生体情報測定機器 |
Applications Claiming Priority (1)
| Application Number | Priority Date | Filing Date | Title |
|---|---|---|---|
| JP2015000116A JP2016123717A (ja) | 2015-01-05 | 2015-01-05 | 生体情報測定モジュール、および生体情報測定機器 |
Publications (1)
| Publication Number | Publication Date |
|---|---|
| JP2016123717A true JP2016123717A (ja) | 2016-07-11 |
Family
ID=56357226
Family Applications (1)
| Application Number | Title | Priority Date | Filing Date |
|---|---|---|---|
| JP2015000116A Pending JP2016123717A (ja) | 2015-01-05 | 2015-01-05 | 生体情報測定モジュール、および生体情報測定機器 |
Country Status (1)
| Country | Link |
|---|---|
| JP (1) | JP2016123717A (ja) |
Cited By (6)
| Publication number | Priority date | Publication date | Assignee | Title |
|---|---|---|---|---|
| WO2018032454A1 (zh) * | 2016-08-18 | 2018-02-22 | 深圳市柔宇科技有限公司 | 一种可穿戴设备及控制方法 |
| CN109833033A (zh) * | 2017-11-24 | 2019-06-04 | 精工电子有限公司 | 生物体信息检测装置 |
| JP2019111193A (ja) * | 2017-12-25 | 2019-07-11 | セイコーエプソン株式会社 | 生体情報測定装置及び生体情報検出センサー |
| JP2020199044A (ja) * | 2019-06-09 | 2020-12-17 | 廉士 澤田 | 生体センサ |
| WO2024161714A1 (ja) * | 2023-02-02 | 2024-08-08 | オムロンヘルスケア株式会社 | 生体情報測定装置 |
| WO2026034352A1 (ja) * | 2024-08-09 | 2026-02-12 | 株式会社ジャパンディスプレイ | 検出装置 |
-
2015
- 2015-01-05 JP JP2015000116A patent/JP2016123717A/ja active Pending
Cited By (8)
| Publication number | Priority date | Publication date | Assignee | Title |
|---|---|---|---|---|
| WO2018032454A1 (zh) * | 2016-08-18 | 2018-02-22 | 深圳市柔宇科技有限公司 | 一种可穿戴设备及控制方法 |
| CN109833033A (zh) * | 2017-11-24 | 2019-06-04 | 精工电子有限公司 | 生物体信息检测装置 |
| JP2019092910A (ja) * | 2017-11-24 | 2019-06-20 | セイコーインスツル株式会社 | 生体情報検出装置 |
| JP2019111193A (ja) * | 2017-12-25 | 2019-07-11 | セイコーエプソン株式会社 | 生体情報測定装置及び生体情報検出センサー |
| JP2020199044A (ja) * | 2019-06-09 | 2020-12-17 | 廉士 澤田 | 生体センサ |
| JP7264462B2 (ja) | 2019-06-09 | 2023-04-25 | 廉士 澤田 | 生体センサ |
| WO2024161714A1 (ja) * | 2023-02-02 | 2024-08-08 | オムロンヘルスケア株式会社 | 生体情報測定装置 |
| WO2026034352A1 (ja) * | 2024-08-09 | 2026-02-12 | 株式会社ジャパンディスプレイ | 検出装置 |
Similar Documents
| Publication | Publication Date | Title |
|---|---|---|
| JP5817943B1 (ja) | 生体情報測定モジュール、および生体情報測定機器 | |
| JP6609932B2 (ja) | 生体情報測定装置 | |
| US9808198B2 (en) | Biological information measuring device | |
| US20160242659A1 (en) | Pulse-wave measuring module, biological-information measuring module, and electronic device | |
| US20160198966A1 (en) | Biological information measuring module, biological information measuring apparatus, light detecting apparatus, light detecting module, and electronic apparatus | |
| JP2016140641A (ja) | 生体情報測定装置 | |
| JP2016123713A (ja) | 生体情報測定モジュール、および生体情報測定機器 | |
| JP2016123715A (ja) | 生体情報測定モジュール、および生体情報測定機器 | |
| JP2016123714A (ja) | 生体情報測定モジュール、および生体情報測定機器 | |
| JP2016144560A (ja) | ウェアラブル機器、生体情報測定装置、生体情報測定システム、および生体情報測定装置の充電方法 | |
| US7020508B2 (en) | Apparatus for detecting human physiological and contextual information | |
| JP2016158701A (ja) | 生体情報測定モジュール、および生体情報測定機器 | |
| JP2016123717A (ja) | 生体情報測定モジュール、および生体情報測定機器 | |
| US20170112391A1 (en) | Apparatus for detecting human physiological and contextual information | |
| JP6056946B2 (ja) | 生体情報測定モジュール、および生体情報測定機器 | |
| JP2016131604A (ja) | 生体情報測定システム、生体情報測定装置および生体情報測定方法 | |
| JP5880747B1 (ja) | 脈波測定モジュール、および電子機器 | |
| JP6128241B2 (ja) | 脈波測定モジュール、および電子機器 | |
| JP5850190B1 (ja) | 生体情報測定モジュール、および生体情報測定機器 | |
| JP2017140439A (ja) | 脈波測定モジュール、および電子機器 | |
| JP2016165331A (ja) | 生体情報測定モジュール、および生体情報測定機器 | |
| ES2429364T3 (es) | Aparato para monitorizar la salud, el bienestar y la forma física | |
| JP2016123846A (ja) | 生体情報測定センサ、および生体情報測定機器 | |
| JP2016179124A (ja) | 生体情報測定機器 | |
| JP6365644B2 (ja) | 生体情報測定機器 |