JP2016123714A - 生体情報測定モジュール、および生体情報測定機器 - Google Patents
生体情報測定モジュール、および生体情報測定機器 Download PDFInfo
- Publication number
- JP2016123714A JP2016123714A JP2015000108A JP2015000108A JP2016123714A JP 2016123714 A JP2016123714 A JP 2016123714A JP 2015000108 A JP2015000108 A JP 2015000108A JP 2015000108 A JP2015000108 A JP 2015000108A JP 2016123714 A JP2016123714 A JP 2016123714A
- Authority
- JP
- Japan
- Prior art keywords
- light
- light emitting
- unit
- biological information
- light receiving
- Prior art date
- Legal status (The legal status is an assumption and is not a legal conclusion. Google has not performed a legal analysis and makes no representation as to the accuracy of the status listed.)
- Pending
Links
- 238000005259 measurement Methods 0.000 title claims abstract description 82
- 239000000758 substrate Substances 0.000 claims description 34
- 230000003287 optical effect Effects 0.000 claims description 20
- 239000002184 metal Substances 0.000 claims description 7
- 239000011347 resin Substances 0.000 claims description 5
- 229920005989 resin Polymers 0.000 claims description 5
- 238000010586 diagram Methods 0.000 abstract description 10
- 230000000694 effects Effects 0.000 description 74
- 230000036541 health Effects 0.000 description 53
- 230000002354 daily effect Effects 0.000 description 52
- 230000004048 modification Effects 0.000 description 42
- 238000012986 modification Methods 0.000 description 42
- 230000007958 sleep Effects 0.000 description 41
- 238000001514 detection method Methods 0.000 description 33
- 238000012545 processing Methods 0.000 description 33
- 210000003491 skin Anatomy 0.000 description 33
- 230000033001 locomotion Effects 0.000 description 25
- 230000036649 mental concentration Effects 0.000 description 25
- 238000012806 monitoring device Methods 0.000 description 24
- 235000016709 nutrition Nutrition 0.000 description 22
- 230000006854 communication Effects 0.000 description 18
- 238000004891 communication Methods 0.000 description 17
- 230000035764 nutrition Effects 0.000 description 17
- 239000011810 insulating material Substances 0.000 description 14
- 238000012544 monitoring process Methods 0.000 description 14
- 210000000707 wrist Anatomy 0.000 description 13
- 230000010349 pulsation Effects 0.000 description 10
- 230000000903 blocking effect Effects 0.000 description 9
- 239000003925 fat Substances 0.000 description 9
- 235000019197 fats Nutrition 0.000 description 9
- 230000004622 sleep time Effects 0.000 description 9
- 210000004204 blood vessel Anatomy 0.000 description 8
- 238000004364 calculation method Methods 0.000 description 8
- 230000003860 sleep quality Effects 0.000 description 8
- 230000001629 suppression Effects 0.000 description 8
- 239000008280 blood Substances 0.000 description 7
- 210000004369 blood Anatomy 0.000 description 7
- 230000036772 blood pressure Effects 0.000 description 7
- 230000008859 change Effects 0.000 description 7
- 238000000034 method Methods 0.000 description 7
- 238000003825 pressing Methods 0.000 description 7
- 230000036387 respiratory rate Effects 0.000 description 7
- 235000019577 caloric intake Nutrition 0.000 description 6
- 239000003822 epoxy resin Substances 0.000 description 6
- 230000006870 function Effects 0.000 description 6
- 229920000647 polyepoxide Polymers 0.000 description 6
- 230000009467 reduction Effects 0.000 description 6
- XLYOFNOQVPJJNP-UHFFFAOYSA-N water Substances O XLYOFNOQVPJJNP-UHFFFAOYSA-N 0.000 description 6
- 150000001720 carbohydrates Chemical class 0.000 description 5
- 235000014633 carbohydrates Nutrition 0.000 description 5
- 230000003203 everyday effect Effects 0.000 description 5
- 239000002346 layers by function Substances 0.000 description 5
- 239000000463 material Substances 0.000 description 5
- 235000018102 proteins Nutrition 0.000 description 5
- 102000004169 proteins and genes Human genes 0.000 description 5
- 108090000623 proteins and genes Proteins 0.000 description 5
- 230000036760 body temperature Effects 0.000 description 4
- 230000000875 corresponding effect Effects 0.000 description 4
- 238000002570 electrooculography Methods 0.000 description 4
- 235000013305 food Nutrition 0.000 description 4
- 230000006872 improvement Effects 0.000 description 4
- 235000012054 meals Nutrition 0.000 description 4
- 230000008569 process Effects 0.000 description 4
- 239000013589 supplement Substances 0.000 description 4
- 229940088594 vitamin Drugs 0.000 description 4
- 235000013343 vitamin Nutrition 0.000 description 4
- 239000011782 vitamin Substances 0.000 description 4
- 229930003231 vitamin Natural products 0.000 description 4
- 206010040914 Skin reaction Diseases 0.000 description 3
- 230000001133 acceleration Effects 0.000 description 3
- 230000006399 behavior Effects 0.000 description 3
- 229940079593 drug Drugs 0.000 description 3
- 239000003814 drug Substances 0.000 description 3
- 230000010365 information processing Effects 0.000 description 3
- 238000003780 insertion Methods 0.000 description 3
- 230000037431 insertion Effects 0.000 description 3
- 238000004519 manufacturing process Methods 0.000 description 3
- 210000003205 muscle Anatomy 0.000 description 3
- 230000036284 oxygen consumption Effects 0.000 description 3
- 230000008447 perception Effects 0.000 description 3
- 230000002093 peripheral effect Effects 0.000 description 3
- 238000005549 size reduction Methods 0.000 description 3
- 230000035483 skin reaction Effects 0.000 description 3
- 231100000430 skin reaction Toxicity 0.000 description 3
- 238000003860 storage Methods 0.000 description 3
- 210000003462 vein Anatomy 0.000 description 3
- 239000013585 weight reducing agent Substances 0.000 description 3
- LFQSCWFLJHTTHZ-UHFFFAOYSA-N Ethanol Chemical compound CCO LFQSCWFLJHTTHZ-UHFFFAOYSA-N 0.000 description 2
- 241000628997 Flos Species 0.000 description 2
- 206010020751 Hypersensitivity Diseases 0.000 description 2
- 230000009471 action Effects 0.000 description 2
- 210000000577 adipose tissue Anatomy 0.000 description 2
- 230000007815 allergy Effects 0.000 description 2
- 238000004458 analytical method Methods 0.000 description 2
- 230000008901 benefit Effects 0.000 description 2
- 230000004397 blinking Effects 0.000 description 2
- 230000017531 blood circulation Effects 0.000 description 2
- 230000036757 core body temperature Effects 0.000 description 2
- 235000006694 eating habits Nutrition 0.000 description 2
- 230000036571 hydration Effects 0.000 description 2
- 238000006703 hydration reaction Methods 0.000 description 2
- 239000004615 ingredient Substances 0.000 description 2
- 238000012423 maintenance Methods 0.000 description 2
- 238000007726 management method Methods 0.000 description 2
- 230000003340 mental effect Effects 0.000 description 2
- 150000004767 nitrides Chemical class 0.000 description 2
- 235000006286 nutrient intake Nutrition 0.000 description 2
- 230000004044 response Effects 0.000 description 2
- 239000004065 semiconductor Substances 0.000 description 2
- 230000035945 sensitivity Effects 0.000 description 2
- 238000001228 spectrum Methods 0.000 description 2
- 238000012795 verification Methods 0.000 description 2
- WQZGKKKJIJFFOK-GASJEMHNSA-N Glucose Natural products OC[C@H]1OC(O)[C@H](O)[C@@H](O)[C@@H]1O WQZGKKKJIJFFOK-GASJEMHNSA-N 0.000 description 1
- 125000002066 L-histidyl group Chemical group [H]N1C([H])=NC(C([H])([H])[C@](C(=O)[*])([H])N([H])[H])=C1[H] 0.000 description 1
- 208000002720 Malnutrition Diseases 0.000 description 1
- 241000208125 Nicotiana Species 0.000 description 1
- 235000002637 Nicotiana tabacum Nutrition 0.000 description 1
- 206010062519 Poor quality sleep Diseases 0.000 description 1
- 208000013738 Sleep Initiation and Maintenance disease Diseases 0.000 description 1
- 238000010521 absorption reaction Methods 0.000 description 1
- 230000003044 adaptive effect Effects 0.000 description 1
- 230000000172 allergic effect Effects 0.000 description 1
- 230000037007 arousal Effects 0.000 description 1
- QVGXLLKOCUKJST-UHFFFAOYSA-N atomic oxygen Chemical compound [O] QVGXLLKOCUKJST-UHFFFAOYSA-N 0.000 description 1
- 208000010668 atopic eczema Diseases 0.000 description 1
- 230000003796 beauty Effects 0.000 description 1
- 210000000988 bone and bone Anatomy 0.000 description 1
- 235000021152 breakfast Nutrition 0.000 description 1
- 230000015556 catabolic process Effects 0.000 description 1
- 239000003795 chemical substances by application Substances 0.000 description 1
- 230000002060 circadian Effects 0.000 description 1
- 230000036648 cognitive speed Effects 0.000 description 1
- 230000009850 completed effect Effects 0.000 description 1
- 239000012141 concentrate Substances 0.000 description 1
- 239000000470 constituent Substances 0.000 description 1
- 230000001276 controlling effect Effects 0.000 description 1
- 230000001186 cumulative effect Effects 0.000 description 1
- 230000013872 defecation Effects 0.000 description 1
- 238000006731 degradation reaction Methods 0.000 description 1
- 210000004207 dermis Anatomy 0.000 description 1
- 238000013461 design Methods 0.000 description 1
- 235000005911 diet Nutrition 0.000 description 1
- 230000000378 dietary effect Effects 0.000 description 1
- 235000015872 dietary supplement Nutrition 0.000 description 1
- 235000005686 eating Nutrition 0.000 description 1
- 238000005265 energy consumption Methods 0.000 description 1
- 230000007613 environmental effect Effects 0.000 description 1
- 210000002615 epidermis Anatomy 0.000 description 1
- 239000000835 fiber Substances 0.000 description 1
- 239000008103 glucose Substances 0.000 description 1
- 230000003760 hair shine Effects 0.000 description 1
- 230000003862 health status Effects 0.000 description 1
- 230000001121 heart beat frequency Effects 0.000 description 1
- 230000001771 impaired effect Effects 0.000 description 1
- 238000001746 injection moulding Methods 0.000 description 1
- 206010022437 insomnia Diseases 0.000 description 1
- 230000001788 irregular Effects 0.000 description 1
- 238000005304 joining Methods 0.000 description 1
- 239000010410 layer Substances 0.000 description 1
- 230000031700 light absorption Effects 0.000 description 1
- 239000007788 liquid Substances 0.000 description 1
- 235000021056 liquid food Nutrition 0.000 description 1
- 230000001071 malnutrition Effects 0.000 description 1
- 235000000824 malnutrition Nutrition 0.000 description 1
- 230000004060 metabolic process Effects 0.000 description 1
- 239000007769 metal material Substances 0.000 description 1
- 230000008450 motivation Effects 0.000 description 1
- 239000000025 natural resin Substances 0.000 description 1
- 235000015097 nutrients Nutrition 0.000 description 1
- 208000015380 nutritional deficiency disease Diseases 0.000 description 1
- 229910052760 oxygen Inorganic materials 0.000 description 1
- 239000001301 oxygen Substances 0.000 description 1
- 206010033675 panniculitis Diseases 0.000 description 1
- 230000002688 persistence Effects 0.000 description 1
- 230000035790 physiological processes and functions Effects 0.000 description 1
- 229920005668 polycarbonate resin Polymers 0.000 description 1
- 239000004431 polycarbonate resin Substances 0.000 description 1
- 230000001681 protective effect Effects 0.000 description 1
- 230000010490 psychological well-being Effects 0.000 description 1
- 230000011514 reflex Effects 0.000 description 1
- 230000029058 respiratory gaseous exchange Effects 0.000 description 1
- 230000004043 responsiveness Effects 0.000 description 1
- 230000033764 rhythmic process Effects 0.000 description 1
- 238000004904 shortening Methods 0.000 description 1
- 230000008054 signal transmission Effects 0.000 description 1
- 230000000391 smoking effect Effects 0.000 description 1
- 235000011888 snacks Nutrition 0.000 description 1
- 230000000087 stabilizing effect Effects 0.000 description 1
- 210000004304 subcutaneous tissue Anatomy 0.000 description 1
- 239000002344 surface layer Substances 0.000 description 1
- 238000001356 surgical procedure Methods 0.000 description 1
- 208000024891 symptom Diseases 0.000 description 1
- 229920003002 synthetic resin Polymers 0.000 description 1
- 239000000057 synthetic resin Substances 0.000 description 1
- 235000021076 total caloric intake Nutrition 0.000 description 1
- 239000012780 transparent material Substances 0.000 description 1
- 235000019195 vitamin supplement Nutrition 0.000 description 1
- 230000002618 waking effect Effects 0.000 description 1
- 230000036642 wellbeing Effects 0.000 description 1
Images
Classifications
-
- A—HUMAN NECESSITIES
- A61—MEDICAL OR VETERINARY SCIENCE; HYGIENE
- A61B—DIAGNOSIS; SURGERY; IDENTIFICATION
- A61B5/00—Measuring for diagnostic purposes; Identification of persons
- A61B5/0059—Measuring for diagnostic purposes; Identification of persons using light, e.g. diagnosis by transillumination, diascopy, fluorescence
-
- A—HUMAN NECESSITIES
- A61—MEDICAL OR VETERINARY SCIENCE; HYGIENE
- A61B—DIAGNOSIS; SURGERY; IDENTIFICATION
- A61B5/00—Measuring for diagnostic purposes; Identification of persons
- A61B5/68—Arrangements of detecting, measuring or recording means, e.g. sensors, in relation to patient
- A61B5/6801—Arrangements of detecting, measuring or recording means, e.g. sensors, in relation to patient specially adapted to be attached to or worn on the body surface
- A61B5/6802—Sensor mounted on worn items
- A61B5/681—Wristwatch-type devices
-
- A—HUMAN NECESSITIES
- A61—MEDICAL OR VETERINARY SCIENCE; HYGIENE
- A61B—DIAGNOSIS; SURGERY; IDENTIFICATION
- A61B5/00—Measuring for diagnostic purposes; Identification of persons
- A61B5/74—Details of notification to user or communication with user or patient; User input means
- A61B5/742—Details of notification to user or communication with user or patient; User input means using visual displays
- A61B5/743—Displaying an image simultaneously with additional graphical information, e.g. symbols, charts, function plots
-
- A—HUMAN NECESSITIES
- A61—MEDICAL OR VETERINARY SCIENCE; HYGIENE
- A61B—DIAGNOSIS; SURGERY; IDENTIFICATION
- A61B5/00—Measuring for diagnostic purposes; Identification of persons
- A61B5/74—Details of notification to user or communication with user or patient; User input means
- A61B5/742—Details of notification to user or communication with user or patient; User input means using visual displays
- A61B5/7435—Displaying user selection data, e.g. icons in a graphical user interface
-
- A—HUMAN NECESSITIES
- A61—MEDICAL OR VETERINARY SCIENCE; HYGIENE
- A61B—DIAGNOSIS; SURGERY; IDENTIFICATION
- A61B2562/00—Details of sensors; Constructional details of sensor housings or probes; Accessories for sensors
- A61B2562/02—Details of sensors specially adapted for in-vivo measurements
- A61B2562/0233—Special features of optical sensors or probes classified in A61B5/00
- A61B2562/0238—Optical sensor arrangements for performing transmission measurements on body tissue
-
- A—HUMAN NECESSITIES
- A61—MEDICAL OR VETERINARY SCIENCE; HYGIENE
- A61B—DIAGNOSIS; SURGERY; IDENTIFICATION
- A61B2562/00—Details of sensors; Constructional details of sensor housings or probes; Accessories for sensors
- A61B2562/06—Arrangements of multiple sensors of different types
Landscapes
- Health & Medical Sciences (AREA)
- Life Sciences & Earth Sciences (AREA)
- Engineering & Computer Science (AREA)
- Medical Informatics (AREA)
- Surgery (AREA)
- Biophysics (AREA)
- Biomedical Technology (AREA)
- Heart & Thoracic Surgery (AREA)
- Physics & Mathematics (AREA)
- Molecular Biology (AREA)
- Pathology (AREA)
- Animal Behavior & Ethology (AREA)
- General Health & Medical Sciences (AREA)
- Public Health (AREA)
- Veterinary Medicine (AREA)
- Nuclear Medicine, Radiotherapy & Molecular Imaging (AREA)
- Radiology & Medical Imaging (AREA)
- Human Computer Interaction (AREA)
- Measuring Pulse, Heart Rate, Blood Pressure Or Blood Flow (AREA)
Abstract
【課題】測定の正確さを維持しつつ、携帯性の良好な生体情報測定モジュールおよび生体情報測定機器を提供する。【解決手段】対象物に対して光を射出する発光部150と、対象物からの光を受光する受光部140と、を含み、発光部150と受光部140との間隔が、0.8mm以上1.0mm以下である生体情報測定モジュールとしてのセンサー部40を備えた生体情報測定機器。【選択図】図5
Description
本発明は、生体情報測定モジュール、および生体情報測定モジュールを備えた生体情報測定機器に関する。
従来、バンド等によって手首等の部位に装着され、装着者の脈波等の生体情報を測定する測定機器や、当該生体情報の測定機能を有する腕時計状の電子機器が知られている。例えば特許文献1には、装着者(被験者)の腕(手首)に装着し、光学式脈波検出センサーを用いて脈波などの生体情報を計測する生体情報測定モジュールが搭載された腕装着型測定装置が開示されている。
このような機器(測定機器、電子機器)では、皮膚表面の血流を光学的に測定し、信号化することによって脈波などの生体情報を得ており、発光部および受光部の寸法関係の構成が非常に重要となる。特に、受光部と発光部との距離は重要であり、その距離によって測定(センシング)の結果に大きな影響を及ぼすことになる。
また、このような機器(測定機器、電子機器)を、例えばスポーツ関連用途に用いる場合には、装着された機器が装着者(被験者)のパフォーマンスに影響を与えることの無いようにするため、携帯性、小型化、軽量化は、非常に重要な観点である。また、例えば、医療・健康用途に用いる場合においても、患者や被験者に負荷をかけないような配慮が必要となり、携帯性、小型化、軽量化は、非常に重要な観点である。このように、手首等の部位に装着されて生体情報を得る機器においては、携帯性、小型化、軽量化について、厳格(シビア)に追求することが求められる。
しかしながら、特許文献1の腕装着型測定装置では、受光部と発光部との距離に関する記載は無く、上述したような発光部および受光部の寸法関係の構成にかかる問題点への言及はなされていない。
本発明は、上述の課題の少なくとも一部を解決するためになされたものであり、以下の形態または適用例として実現することが可能である。
[適用例1]本適用例に係る生体情報測定モジュールは、対象物に対して光を射出する発光部と、前記対象物によって反射された反射光を受光する受光部と、を含み、前記発光部と前記受光部との間隔は、0.4mm以上1.7mm以下であることを特徴とする。
発光部と受光部との間隔が0.4mmより小さいと、発光部から射出された光が直接受光部に入ってしまったり、例えば遮光壁などの外乱光を遮蔽する遮光部を設けるスペースを確保することができず、外乱光の影響を受けて正確な測定ができなかったりする。
本適用例によれば、発光部と受光部との間隔が、0.4mm以上であることから、発光部から射出された光が直接受光部に入ってしまうことを防止することができ、併せて例えば遮光壁などを設けるスペースを確保することができる。また、発光部と受光部との間隔が大きくなるに連れて測定機器の大きさも大きくなってしまう。これに対して、発光部と受光部との間隔を、1.7mm以下とすることにより、携帯性に優れた小型の生体情報測定モジュールを実現することができる。
なお、発光部と受光部との間隔とは、受光部と対向する側の発光部の外周辺と、該発光部と対向する側の受光部の外周辺との間の距離をいう。
本適用例によれば、発光部と受光部との間隔が、0.4mm以上であることから、発光部から射出された光が直接受光部に入ってしまうことを防止することができ、併せて例えば遮光壁などを設けるスペースを確保することができる。また、発光部と受光部との間隔が大きくなるに連れて測定機器の大きさも大きくなってしまう。これに対して、発光部と受光部との間隔を、1.7mm以下とすることにより、携帯性に優れた小型の生体情報測定モジュールを実現することができる。
なお、発光部と受光部との間隔とは、受光部と対向する側の発光部の外周辺と、該発光部と対向する側の受光部の外周辺との間の距離をいう。
[適用例2]上記適用例に記載の生体情報測定モジュールにおいて、前記発光部と前記受光部との間隔は、0.6mm以上1.3mm以下であることが好ましい。
本適用例によれば、発光部と受光部との間隔が、0.6mm以上であることから、発光部から射出された光が直接受光部に入ってしまうことを、より確実に防止することができる。また、発光部と受光部との間隔を、1.3mmより小さくすることにより、生体情報測定モジュールをより小型化することができ、携帯性を高めることが可能となる。
[適用例3]上記適用例に記載の生体情報測定モジュールにおいて、前記発光部と前記受光部との間隔は、0.8mm以上1.0mm以下であることが好ましい。
本適用例によれば、発光部と受光部との間隔を0.8mm以上1.0mm以下とすることにより、例えば遮光壁など外乱光を遮蔽する遮光部を設けるスペースを確保しつつ、受光部が受光する光強度を高くできることにより測定の安定化を図ることができる。また、光強度が高いことから、発光部および受光部の実装位置のバラツキなどによる光強度の低下を許容できる実装位置の範囲を広くすることができ、製造において容易に実装を行うことができ、生産性を向上させることができる。また、より小型で携帯性に優れた生体情報測定モジュールを提供することが可能となる。
[適用例4]上記適用例に記載の生体情報測定モジュールにおいて、基板を有し、前記発光部および前記受光部は、前記基板に支持されていることが好ましい。
上述のような生体情報測定モジュールにおいては、発光部および受光部を、容易に基板上に実装することができる。また、発光部および受光部が基板上に支持されているため、発光部および受光部と測定対象物との距離が短くなることから、混入するノイズを減少させることができ、測定精度を向上させることが可能となる。
[適用例5]上記適用例に記載の生体情報測定モジュールにおいて、前記発光部の周囲の少なくとも一部には、前記発光部から射出された光を反射する反射機能層が設けられていることが好ましい。
本適用例によれば、発光部の周囲方向に射出された光を、反射機能層によって反射し、対象物に向かう光とすることができる。これにより、対象物に向かう光の強度(発光強度)を高めることができ、生体情報の測定精度を安定化させることが可能となる。
[適用例6]上記適用例に記載の生体情報測定モジュールにおいて、前記発光部と前記受光部との間には、遮光部が設けられていることが好ましい。
本適用例によれば、例えば遮光壁などの遮光部により、外乱光や反射光の迷光、或いは発光部からの直接光などの不要な光を遮ることができるため、より正確に検出(測定)を行うことが可能となる。
[適用例7]上記適用例に記載の生体情報測定モジュールにおいて、前記遮光部は、樹脂または金属の少なくとも一方を含み設けられていることが好ましい。
本適用例によれば、遮光部を安価な材料で容易に形成することができる。また、金属を含むことにより、強度の優れた遮光部とすることができる。
[適用例8]上記適用例に記載の生体情報測定モジュールにおいて、前記受光部の受光領域には、光学フィルター膜が設けられていることが好ましい。
本適用例によれば、より少ない領域に光学フィルターを設けることができ、より小型の生体情報測定モジュールを提供することが可能となる。
[適用例9]上記適用例に記載の生体情報測定モジュールにおいて、前記発光部と前記対象物との間に、前記発光部から射出される光を集光する集光部が設けられていることが好ましい。
本適用例によれば、発光部から射出された光を集光部で集光させて対象部に照射することができるため、光の強度が強くなり、より正確な測定を行うことが可能となる。
[適用例10]上記適用例に記載の生体情報測定モジュールにおいて、前記発光部は、複数設けられていることが好ましい。
本適用例によれば、発光部が複数設けられていることから、さらに十分な発光強度の確保ができるとともに、複数の発光部からの光を検出することによって生体情報を検出することから、より測定精度を向上させた生体情報測定モジュールとすることができる。
[適用例11]上記適用例に記載の生体情報測定モジュールにおいて、複数の前記発光部は、第1の発光部および第2の発光部を含み、前記第1の発光部と前記受光部との間隔と、前記第2の発光部と前記受光部との間隔とが、同じであることが好ましい。
本適用例によれば、第1の発光部と受光部および第2の発光部と受光部の、それぞれの光路長が略同じになり、第1の発光部および第2の発光部から射出された光が略同時に受光部に入射するため、S/N比を向上させることができる。
[適用例12]上記適用例に記載の生体情報測定モジュールにおいて、複数の前記発光部は、第1の発光部および第2の発光部を含み、前記第1の発光部と前記受光部との間隔と、前記第2の発光部と前記受光部との間隔とが、異なっていることが好ましい。
本適用例によれば、第1の発光部と受光部および第2の発光部と受光部のそれぞれの光路長や第1の発光部および第2の発光部から受光部に入射するタイミングが異なることから、より多くの生体情報を取得することが可能となる。
[適用例13]上記適用例に記載の生体情報測定モジュールにおいて、前記第1の発光部と前記第2の発光部との間隔は、1.0mm以上4.9mm以下であることが好ましい。
本適用例によれば、光の強度を強くできることから正確な測定を行うことができるとともに、コンパクトな配置から生体情報測定モジュールを小型化でき、例えばこのモジュールを用いた生体情報測定機器の装着感などの携帯性を高めることが可能となる。
[適用例14]本適用例に係る生体情報測定機器は、上記適用例のいずれか一例に記載の生体情報測定モジュールが搭載されていることを特徴とする。
本適用例によれば、より正確に検出(測定)を行うことが可能、且つ小型で携帯性に優れた生体情報測定モジュールを備えているため、安定的な生体情報が検出できるとともに、小型で携帯性に優れた生体情報測定機器を提供することができる。
以下、本実施形態について説明する。なお、以下で説明する本実施形態は、特許請求の範囲に記載された本発明の内容を不当に限定するものではない。また、本実施形態で説明される構成の全てが、本発明の必須構成要件であるとは限らない。
(実施形態1)
1.生体情報測定機器の全体構成例
図1(A)、図1(B)、図2に、実施形態1に係る生体情報測定機器(生体情報検出装置)の概略の外観図を示す。図1(A)は、生体情報測定機器を正面方向側から見た図であり、図1(B)は、図1(A)における斜め上方向側から見た図であり、図2は側面方向側から見た図である。
1.生体情報測定機器の全体構成例
図1(A)、図1(B)、図2に、実施形態1に係る生体情報測定機器(生体情報検出装置)の概略の外観図を示す。図1(A)は、生体情報測定機器を正面方向側から見た図であり、図1(B)は、図1(A)における斜め上方向側から見た図であり、図2は側面方向側から見た図である。
図1(A)、図1(B)、および図2に示すように本実施形態の生体情報測定機器はバンド部10とケース部30と生体情報測定モジュールとしてのセンサー部40を有する。ケース部30はバンド部10に取り付けられる。センサー部40は、ケース部30に設けられる。また生体情報測定機器は後述する図4に示すように処理部200を有する。処理部200は、ケース部30に設けられ、センサー部40からの検出信号に基づいて生体情報を検出する。なお、本実施形態の生体情報測定機器は図1(A)、図1(B)、および図2の構成に限定されず、その構成要素の一部を省略したり、他の構成要素に置き換えたり、他の構成要素を追加したりするなどの種々の変形実施が可能である。
生体情報測定モジュールとしてのセンサー部40は、図5を用いて後述するように、基板160と、発光部150と、受光部140と、遮光用部材70と、絞り部80(80a,80b)を有する光検出ユニットと、他の部材とから構成される。図5の例であれば、他の部材とは、透光部材50により実現される凸部52、溝部54、凹部56、押圧抑制部58等である。ただし、本実施形態に係る光検出ユニットがそれらの部材を含む、即ち、センサー部40全体が、光検出ユニットに対応する等の変形実施も可能である。
図1および図2に戻る。バンド部10は装着者(以下、ユーザーともいう)の手首に巻き付けて生体情報測定機器を装着するためのものである。バンド部10はバンド穴12、バックル部14を有する。バックル部14はバンド挿入部15と突起部16を有する。ユーザーは、バンド部10の一端側を、バックル部14のバンド挿入部15に挿入し、バンド部10のバンド穴12にバックル部14の突起部16を挿入することで、生体情報測定機器を手首に装着する。この場合、どのバンド穴12に突起部16を挿入するかに応じて、後述するセンサー部40の押圧(手首表面に対する押圧)の大きさが調整される。
ケース部30は、生体情報測定機器の本体部に相当するものである。ケース部30の内部には、センサー部40、処理部200(図4参照)等の生体情報測定機器の種々の構成部品が設けられる。即ち、ケース部30は、これらの構成部品を収納する筐体である。このケース部30は、例えば手首と反対側に位置するトップケース34と、手首側に位置するボトムケース36を有する。なおケース部30は、トップケース34とボトムケース36に分離される態様のものでなくてもよい。
ケース部30には発光窓部32が設けられている。発光窓部32は透光部材により形成されている。そしてケース部30には、フレキシブル基板に実装された発光部(LED、光検出ユニットの発光部150とは異なる報知用の発光部)が設けられており、この発光部からの光が、発光窓部32を介してケース部30の外部に射出される。
図2に示すようにケース部30には端子部35が設けられている。生体情報測定機器を図示しないクレードルに装着すると、クレードルの端子部とケース部30の端子部35とが電気的に接続される。これによりケース部30に設けられる二次電池(バッテリー)の充電が可能になる。
生体情報測定モジュールとしてのセンサー部40は、例えば被検体の脈波等の生体情報を検出するものである。例えばセンサー部40は、後述する図4、図5に示すように受光部140と発光部150を有する。またセンサー部40は、透光部材50により形成され、被検体の皮膚表面に接触して押圧を与える凸部52を有する。このように凸部52が皮膚表面に押圧を与えた状態で、発光部150が光を射出し、その光が被検体(血管)により反射された光を受光部140が受光し、その受光結果が検出信号として処理部200に出力される。そして処理部200は、センサー部40からの検出信号に基づいて脈波等の生体情報を検出する。なお本実施形態の生体情報測定機器の検出対象となる生体情報は、脈波(脈拍数)には限定されず、生体情報測定機器は、脈波以外の生体情報(例えば血液中の酸素飽和度、体温、心拍等)を検出する装置であってもよい。
図3は生体情報測定機器400の装着及び端末装置420との通信についての概略を示す説明図である。図3に示すように被検体であるユーザーは手首410に生体情報測定機器400を時計のように装着する。図2に示すように、ケース部30の被検体側の面にはセンサー部40が設けられている。従って、生体情報測定機器400が装着されると、センサー部40の凸部52が手首410の皮膚表面に接触して押圧を与え、その状態でセンサー部40の発光部150が光を発光し、受光部140が反射光を受光することで、脈波等の生体情報が検出される。
生体情報測定機器400と端末装置420は通信接続されて、データのやり取りが可能になっている。端末装置420は、例えばスマートフォン、携帯電話機、フューチャーフォン等の携帯型通信端末である。或いは端末装置420は、タブレット型コンピューター等の情報処理端末であってもよい。生体情報測定機器400と端末装置420の通信接続としては、例えばブルートゥース(Bluetooth(登録商標))等の近接無線通信を採用できる。このように生体情報測定機器400と端末装置420が通信接続されることで、端末装置420の表示部430(LCD等)に、脈拍数や消費カロリーなどの各種の情報を表示できる。即ち、センサー部40の検出信号に基づき求められた各種の情報を表示できる。なお脈拍数や消費カロリーなどの情報の演算処理は、生体情報測定機器400において実行してもよいし、その少なくとも一部を端末装置420において実行してもよい。
生体情報測定機器400には、発光窓部32が設けられており、報知用の発光体(図示せず)の発光(点灯、点滅)により、各種の情報をユーザーに報知する。例えば消費カロリーなどの情報において脂肪燃焼ゾーンに入った場合や脂肪燃焼ゾーンから出た場合に、これを、発光窓部32を介した発光体の発光により報知する。また端末装置420においてメール等が受信されると、それが端末装置420から生体情報測定機器400に通知される。そして生体情報測定機器400の発光体が発光することで、メール等の受信がユーザーに通知される。
このように図3に示す例では、生体情報測定機器400にはLCD等の表示部が設けられておらず、文字や数字等で報知する必要がある情報は、端末装置420の表示部430に表示される。このように図3に示す例では、LCD等の表示部を設けずに、必要最小限の情報を発光体の発光によりユーザーに報知することで、生体情報測定機器400の小型化を実現している。また生体情報測定機器400に表示部を設けないことで、生体情報測定機器400の美観についても向上できる。
図4に本実施形態の生体情報測定機器の機能ブロック図を示す。図4に示す生体情報測定機器は、生体情報測定モジュールとしてのセンサー部40、体動センサー部170、振動発生部180、処理部200、記憶部240、通信部250、アンテナ252、報知部260を含む。なお本実施形態の生体情報測定機器は、図4に示す構成に限定されず、その構成要素の一部を省略したり、他の構成要素に置き換えたり、他の構成要素を追加するなどの種々の変形実施が可能である。
生体情報測定モジュールとしてのセンサー部40は、脈波等の生体情報を検出するものであり、受光部140、発光部150を含む。これらの受光部140、発光部150等により脈波センサー(光電センサー)が実現される。センサー部40は、脈波センサーにより検出された信号を、脈波検出信号として出力する。
体動センサー部170は、種々のセンサーのセンサー情報に基づいて、体動に応じて変化する信号である体動検出信号を出力する。体動センサー部170は、体動センサーとして例えば加速度センサー172を含む。なお、体動センサー部170は、体動センサーとして圧力センサーやジャイロセンサーなどを有していてもよい。
処理部200は、例えば記憶部240をワーク領域として、各種の信号処理や制御処理を行うものであり、例えばCPU等のプロセッサー或いはASICなどの論理回路により実現できる。処理部200は、信号処理部210と、拍動情報演算部220と、報知制御部230とを含む。
信号処理部210は各種の信号処理(フィルター処理等)を行うものであり、例えば、センサー部40からの脈波検出信号や体動センサー部170からの体動検出信号などに対して信号処理を行う。例えば信号処理部210は体動ノイズ低減部212を含む。体動ノイズ低減部212は、体動センサー部170からの体動検出信号に基づいて、脈波検出信号から、体動に起因したノイズである体動ノイズを低減(除去)する処理を行う。具体的には、例えば適応フィルターなどを用いたノイズ低減処理を行う。
拍動情報演算部220は、信号処理部210からの信号等に基づいて、拍動情報の演算処理を行う。拍動情報は例えば脈拍数などの情報である。具体的には、拍動情報演算部220は、体動ノイズ低減部212でのノイズ低減処理後の脈波検出信号に対してFFT等の周波数解析処理を行って、スペクトルを求め、求めたスペクトルにおいて代表的な周波数を心拍の周波数とする処理を行う。求めた周波数を60倍にした値が、一般的に用いられる脈拍数(心拍数)となる。なお、拍動情報は脈拍数そのものには限定されず、例えば脈拍数を表す他の種々の情報(例えば心拍の周波数や周期等)であってもよい。また、拍動の状態を表す情報であってもよく、例えば血液量そのものを表す値を拍動情報としてもよい。
報知制御部230は報知部260を制御する。報知部260(報知デバイス)は、報知制御部230の制御により、ユーザーに各種の情報を報知する。報知部260としては例えば報知用の発光体を用いることができる。この場合には報知制御部230はLEDに流れる電流を制御することで、発光体の点灯、点滅等を制御する。なお報知部260は、LCD等の表示部やブザー等であってもよい。
また報知制御部230は振動発生部180の制御を行う。振動発生部180は、振動により各種の情報をユーザーに報知するものである。振動発生部180は例えば振動モーター(バイブレーター)により実現できる。振動モーターは、例えば、偏芯した錘を回転させることで振動を発生する。具体的には駆動軸(ローター軸)の両端に偏心した錘を取り付けてモーター自体が揺れるようにする。振動発生部180の振動は報知制御部230により制御される。なお振動発生部180はこのような振動モーターには限定されず、種々の変形実施が可能である。例えばピエゾ素子などにより振動発生部180を実現してもよい。
振動発生部180による振動により、例えば電源オン時のスタートアップの報知、初回の脈波検出の成功の報知、脈波が検出できない状態が一定時間続いた時の警告、脂肪燃焼ゾーンの移動時の報知、電池電圧低下時の警告、起床アラームの通知、或いはスマートフォン等の端末装置からのメールや電話等の通知などが可能になる。なお、これらの情報は、報知用の発光部により報知してもよいし、振動発生部180、発光部の両者で報知してもよい。
通信部250は、図3で説明したように外部の端末装置420との通信処理を行う。例えばブルートゥース(Bluetooth(登録商標))などの規格にしたがった無線通信の処理を行う。具体的には通信部250は、アンテナ252からの信号の受信処理や、アンテナ252への信号の送信処理を行う。この通信部250の機能は通信用のプロセッサー或いはASICなどの論理回路により実現できる。
2.生体情報測定モジュールとしてのセンサー部の構成例
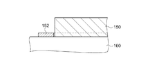
図5を参照して、生体情報測定モジュールとしてのセンサー部40の詳細な構成例について説明する。図5は、センサー部40の詳細な構成例を示す図であり、図5(A)は正断面図、図5(B)は図5(A)のA−Aから見た平面図である。なお、図5(B)では、受光部140、発光部150、および遮光部としての遮光用部材70(遮光壁100)の配置について図示しており、他の構成要素については図示を省略している。
センサー部40は、受光部140と発光部150を有する。これらの受光部140と発光部150とは、所定の間隔を有して基板160(センサー基板)に実装されている。発光部150は、対象物(被検体等)に対して光を射出し、受光部140は、対象物からの光(反射光、透過光等)を受光する。例えば発光部150が光を射出し、その光が対象物(例えば血管)により反射されると、受光部140が、その反射光を受光して検出する。受光部140は、例えばフォトダイオード等の受光素子により実現できる。発光部150は、例えばLED等の発光素子により実現できる。例えば受光部140は、半導体の基板に形成されたPN接合のダイオード素子などにより実現できる。この場合に、受光角度を絞るための角度制限フィルターや受光素子に入射する光の波長を制限する波長制限フィルター(光学フィルター膜)を、このダイオード素子上に形成してもよい。
図5を参照して、生体情報測定モジュールとしてのセンサー部40の詳細な構成例について説明する。図5は、センサー部40の詳細な構成例を示す図であり、図5(A)は正断面図、図5(B)は図5(A)のA−Aから見た平面図である。なお、図5(B)では、受光部140、発光部150、および遮光部としての遮光用部材70(遮光壁100)の配置について図示しており、他の構成要素については図示を省略している。
センサー部40は、受光部140と発光部150を有する。これらの受光部140と発光部150とは、所定の間隔を有して基板160(センサー基板)に実装されている。発光部150は、対象物(被検体等)に対して光を射出し、受光部140は、対象物からの光(反射光、透過光等)を受光する。例えば発光部150が光を射出し、その光が対象物(例えば血管)により反射されると、受光部140が、その反射光を受光して検出する。受光部140は、例えばフォトダイオード等の受光素子により実現できる。発光部150は、例えばLED等の発光素子により実現できる。例えば受光部140は、半導体の基板に形成されたPN接合のダイオード素子などにより実現できる。この場合に、受光角度を絞るための角度制限フィルターや受光素子に入射する光の波長を制限する波長制限フィルター(光学フィルター膜)を、このダイオード素子上に形成してもよい。
なお、発光部150に設けられる集光部としてのドーム型レンズ151(広義には集光レンズ)は、発光部150に樹脂封止(光透過樹脂で封止)されるLEDチップ(広義には発光素子チップ)からの光を集光するためのレンズである。即ち、表面実装型の発光部150では、LEDチップがドーム型レンズ151の下方に配置されており、LEDチップからの光は、ドーム型レンズ151により集光されて対象物に射出される。これにより、対象物に照射される光の強度を強くすることができることから、光検出ユニットの光学的な効率を向上でき、より正確な測定を行うことが可能となる。
生体情報測定機器として、脈拍計を例にとると、発光部150からの光は、対象物である被検体の内部を進み、表皮、真皮及び皮下組織等で拡散、または散乱する。その後、この光は、血管(被検出部位)に到達し、反射される。この際に、光の一部は血管により吸収される。そして、脈拍の影響により血管での光の吸収率が変化し、反射光の光量も変化するため、受光部140がこの反射光を受光して、その光量の変化を検出することで、生体情報である脈拍数等を検出できるようになる。
このような生体情報測定機器では、皮膚表面の血流を光学的に測定し、信号化することによって脈波、脈拍などの生体情報を得ており、発光部150と受光部140との間隔(距離)Dが、測定の正確さや安定性に対して重要な要素となる。例えば、受光部140と発光部150との間隔Dが、ある程度大きく設定されないと、発光部150から射出された光が直接受光部140に入射してしまったり、外乱光を遮蔽する遮光部としての遮光用部材70(遮光壁100)を設けるスペースを確保することができず、外乱光の影響を受け易くなったりして、測定の正確さが低下(測定精度の低下)してしまう。一方、受光部140と発光部150との間隔Dが大きくなり過ぎると生体情報測定機器が大きくなってしまい、腕(手首)への装着に負担がかかるなど携帯性が損なわれてしまうといった問題を生じることになる。ここで、間隔Dは、受光部140と対向する側の発光部150の外周辺150aと、発光部と対向する側の受光部140の外周辺140aとの間の距離を指している。
具体的には、例えば、スポーツ関連用途では、装着された生体情報測定機器が装着者(被験者)のパフォーマンスに影響を与えないようにする、或いは、医療・健康用途に用いる場合では、患者や装着者(被験者)に負荷をかけないような配慮、などから携帯性が非常に重要な観点となる。
発明者らは、このような観点から、発光部150および受光部140の寸法関係の構成を鋭意検討・検証することによって、発光部150と受光部140との間隔Dについて、測定の正確さや安定性を確保しつつ携帯性に優れた寸法関係を見出した。以下、図6を用いて、好ましい発光部150と受光部140との間隔Dについて説明する。ここで、図6は、発光部と受光部との間隔に係る適否の検証結果を示すグラフである。なお、図6に示すグラフは、横軸に発光部150と受光部140との間隔寸法である間隔D(図5(B)に示す間隔D)を示し、それぞれの間隔寸法である間隔Dにおける適否の検証結果(判定結果)を示している。
(発光部と受光部との間隔)
発光部150と受光部140との間隔は、間隔Dを小さくする、即ち発光部150と受光部140とが近いほど検出信号の信号強度が高くなり、感度等の検出性能が向上する。また、発光部150と受光部140との間隔Dを小さくする、即ち発光部150と受光部140とが近いほど生体情報測定機器の小型化には好適である。しかしながら、間隔Dを小さくし過ぎると発光部150から射出された光が直接受光部140に入り易くなり、この光によって受光部140における測定(検出)の精度が低下してしまう。一方、間隔Dを大きくすると、発光部150から射出された光が直接受光部140に入ることを抑制することができ、これによる受光部140の測定(検出)の精度が低下することを防止することができる。しかしながら、間隔Dを大きくし過ぎると、発光部150から射出された光が受光部140に届くまでの光路長が長くなることによる光の減衰に対応するため、発光部150の発光強度を強くすることが必要となる。したがって、発光のための消費電力量が大きくなってしまい、携帯時における可動時間の短縮などの性能低下を生じてしまう虞があった。また、間隔Dを大きくし過ぎると、センサー部40のサイズが大きくなってしまい、生体情報測定機器の小型化には適さない。
発光部150と受光部140との間隔は、間隔Dを小さくする、即ち発光部150と受光部140とが近いほど検出信号の信号強度が高くなり、感度等の検出性能が向上する。また、発光部150と受光部140との間隔Dを小さくする、即ち発光部150と受光部140とが近いほど生体情報測定機器の小型化には好適である。しかしながら、間隔Dを小さくし過ぎると発光部150から射出された光が直接受光部140に入り易くなり、この光によって受光部140における測定(検出)の精度が低下してしまう。一方、間隔Dを大きくすると、発光部150から射出された光が直接受光部140に入ることを抑制することができ、これによる受光部140の測定(検出)の精度が低下することを防止することができる。しかしながら、間隔Dを大きくし過ぎると、発光部150から射出された光が受光部140に届くまでの光路長が長くなることによる光の減衰に対応するため、発光部150の発光強度を強くすることが必要となる。したがって、発光のための消費電力量が大きくなってしまい、携帯時における可動時間の短縮などの性能低下を生じてしまう虞があった。また、間隔Dを大きくし過ぎると、センサー部40のサイズが大きくなってしまい、生体情報測定機器の小型化には適さない。
具体的には、間隔Dが0.3mm以下では、センサー部40のサイズを小さくすることができ、生体情報測定機器の小型化には好適であるが、発光部150から射出された光(乱光)が直接受光部140に入り易くなる。また、間隔Dが0.3mm以下では、後述する遮光用部材70(遮光壁100)を挿入することが困難となる。これらにより、より多くのノイズが発生してしまい、ノイズを除去するアルゴリズムの作成も困難になってしまう。したがって、受光部140における測定(検出)の精度低下を生じてしまう。一方、間隔Dが1.8mm以上になると、センサー部40のサイズが大きくなり、結果的に生体情報測定機器が大きくなることから、装着時の違和感などの不具合を生じてしまう虞がある。また、発光部150から射出された光が対象物に到達し、反射された光が受光部140に達するまでの経路が長くなるため、ノイズが乗り易くなる虞を有している。これらにより、図6に示されているように、発光部150と受光部140との間の間隔Dは、0.3mm以下、および1.8mm以上では、使用に適していない(不適)であると判断した。換言すれば、発光部150と受光部140との間の間隔Dは、0.4mm以上1.7mm以下の範囲であれば、生体情報測定機器に好適に用いることができる。以下詳細に説明する。
さらに具体的には、間隔Dが0.4mm以上になると、直接受光部140に受光される乱光が若干生じてしまうが、生体情報として目安となる程度の検出結果を得ることができることが確認できた。また、遮光用部材70(遮光壁100)を挿入することが可能となり、さらに乱光を抑制することもできる。
また、間隔Dが1.7mm以下であれば、発光部150における発光のための電力量を増やさなくても測定精度の低下を生じないことを確認することができた。加えて、発光部150を実装するセンサー部40のサイズも許容できる大きさとなり、結果的に小型の生体情報測定機器とすることができる。
また、間隔Dが1.7mm以下であれば、発光部150における発光のための電力量を増やさなくても測定精度の低下を生じないことを確認することができた。加えて、発光部150を実装するセンサー部40のサイズも許容できる大きさとなり、結果的に小型の生体情報測定機器とすることができる。
さらに、間隔Dが0.6mm以上になると、直接受光部140に受光される乱光が若干生じてしまうが、生体情報として目安となる程度の検出結果を得ることができることが確認できた。
また、間隔Dが1.3mm以下であれば、発光部150の素子サイズもかなり小さくなり、それに伴ってセンサー部40のサイズもさらに小さくすることができ、さらに小型の生体情報測定機器を実現することができる。
このように、センサー部40は、発光部150と受光部140との間の間隔Dを、0.6mm以上1.3mm以下の範囲内に設定することにより、さらに好適に生体情報測定機器に用いることができる。
また、間隔Dが1.3mm以下であれば、発光部150の素子サイズもかなり小さくなり、それに伴ってセンサー部40のサイズもさらに小さくすることができ、さらに小型の生体情報測定機器を実現することができる。
このように、センサー部40は、発光部150と受光部140との間の間隔Dを、0.6mm以上1.3mm以下の範囲内に設定することにより、さらに好適に生体情報測定機器に用いることができる。
さらに、間隔Dが0.8mm以上になると、直接受光部140に受光される乱光がほとんどなくなり、精度の高い生体情報を検出(測定)することを確認できた。
また、間隔Dが1.0mm以下とすることにより、さらにセンサー部40のサイズの小型化やセンサー部40を構成する部品の配置の任意性も向上することができる。これらにより、生体情報測定機器の、よりコンパクトな設計に寄与することが可能となり、小型の生体情報測定機器を実現することができる。これにより、例えば思わぬ衝撃などを受けても違和感を生じることなく装着を維持することができる生体情報測定機器とすることができる。
このように、センサー部40は、発光部150と受光部140との間の間隔Dを、0.8mm以上1.0mm以下の範囲内に設定することにより、特に好適に生体情報測定機器に用いることができる。
また、間隔Dが1.0mm以下とすることにより、さらにセンサー部40のサイズの小型化やセンサー部40を構成する部品の配置の任意性も向上することができる。これらにより、生体情報測定機器の、よりコンパクトな設計に寄与することが可能となり、小型の生体情報測定機器を実現することができる。これにより、例えば思わぬ衝撃などを受けても違和感を生じることなく装着を維持することができる生体情報測定機器とすることができる。
このように、センサー部40は、発光部150と受光部140との間の間隔Dを、0.8mm以上1.0mm以下の範囲内に設定することにより、特に好適に生体情報測定機器に用いることができる。
図5に戻り説明する。受光部140と発光部150との間には遮光部としての遮光用部材70(遮光壁100)が設けられている。この遮光用部材70(遮光壁100)は、例えば発光部150からの光(直接光等)が受光部140に直接入射されるのを遮光する。そして、この遮光用部材70(遮光壁100)は、例えば金属板の板金加工により形成することができる。このように、遮光用部材70(遮光壁100)を金属板の板金加工で形成すれば、安価な材料で容易に強度の優れた遮光用部材70(遮光壁100)とすることができる。なお、遮光用部材70(遮光壁100)は、他にも金属材料以外の材料として、ゴム等の樹脂(天然樹脂及び合成樹脂を含む)があげられる。これらの材料は、安価に、また容易に入手が可能であり、且つ遮光用部材70(遮光壁100)を容易に形成することができる。
遮光部としての遮光用部材70は光の遮光を行うための部材である。本実施形態では、遮光用部材70は、受光部140と発光部150との間に遮光壁100として設けられ、受光部140を遮光している。なお、遮光用部材70は受光部140の一部を覆うように設けられ、受光部140への入射光を遮光する構成であってもよい。このような遮光用部材70(遮光壁100)により、発光部150からの光(直接光)が受光部140に入射されるのを抑制しながら検出性能を向上できる。
また、遮光部としての遮光用部材70(遮光壁100)の少なくとも受光部140側の面には、反射抑制加工を行うことが望ましい。例えば遮光用部材70の表面(内側面等)の色を、黒色等の所定色にして、光の乱反射を防ぐようにする。或いは、遮光用部材70の表面をモスアイ構造にしてもよい。例えば数十〜数百nm周期の凹凸構造を表面に形成して、反射防止構造とする。このような反射抑制加工をすれば、例えば遮光用部材70の表面での反射光が迷光となって、検出信号のノイズ成分となってしまう事態を効果的に抑制できる。
受光部140、発光部150、および遮光部としての遮光用部材70(遮光壁100)は、基板160に実装される。基板160は、例えばリジッド基板である。基板160には、受光部140の信号・電源の端子(図示せず)と接続するための端子(図示せず)や、外部のメイン基板との間で信号・電源を接続するための端子(図示せず)が設けられている。例えば受光部140の端子と基板160の端子とは、ワイヤボンディング等により接続される。
このように、受光部140、発光部150、および遮光部としての遮光用部材70(遮光壁100)などが、基板160に実装(支持)されていることにより、発光部150および受光部140と測定対象物との距離が短くなり、光に混入するノイズを減少させることができ、測定精度を向上させることが可能となる。
このように、受光部140、発光部150、および遮光部としての遮光用部材70(遮光壁100)などが、基板160に実装(支持)されていることにより、発光部150および受光部140と測定対象物との距離が短くなり、光に混入するノイズを減少させることができ、測定精度を向上させることが可能となる。
また、センサー部40には絞り部80a,80bが設けられている。絞り部80は、被検体とセンサー部40の間の光路において、被検体からの光を絞ったり、発光部150からの光を絞ったりする。図5では、絞り部80a,80bは、透光部材50と発光部150の間に設けられている。但し、絞り部80a,80bを透光部材50と被検体との間や透光部材50内に設けてもよい。
透光部材50は、生体情報測定機器の被検体に接触する側の面に設けられ、被検体からの光を透過する。また透光部材50は、被検体の生体情報の測定時に、被検体に接触する。例えば透光部材50の凸部52(検出窓)が被検体に接触する。なお凸部52の表面形状は、曲面形状(球面形状)であることが望ましいが、これに限定されるものではなく、種々の形状を採用できる。また、透光部材50は、被検体からの光の波長を透過することができるものであればよく、透明な材料を用いてもよいし、有色の材料を用いてもよい。
透光部材50の凸部52の周囲には、押圧変動等を抑制するための溝部54が設けられている。また、透光部材50において凸部52が設けられる側の面を第1の面とした場合に、透光部材50は、その第1の面の裏側の第2の面において凸部52に対応する位置に、凹部56を有している。この凹部56のスペースに、受光部140、発光部150、遮光用部材70、絞り部(80a,80b)が設けられている。
また生体情報測定機器の被検体側の面には、凸部52が被検体(手首の肌)に与える押圧を抑制する押圧抑制部58が設けられている。図5では押圧抑制部58は、透光部材50の凸部52を囲むように設けられている。そして、凸部52は、押圧抑制部(押圧抑制面)58よりも被検体側に突出している。
このような凸部52を設けることで、例えば静脈消失点を超えるための初期押圧を被検体に対して与えることが可能になる。また、凸部52が被検体に与える押圧を抑制するための押圧抑制部58を設けることで、生体情報測定機器により生体情報の測定を行う使用範囲において、押圧変動を最小限に抑えることが可能になり、ノイズ成分等の低減を図れる。また、凸部52が押圧抑制部58から突出していれば、凸部52が被検体に接触して初期押圧を与えた後に、押圧抑制部58が被検体に接触して、凸部52が被検体に与える押圧を抑制できるようになる。ここで静脈消失点とは、被検体に凸部52を接触させ押圧を次第に強くした時に、脈波信号に重畳された静脈に起因する信号が消失、または脈波測定に影響しない程度に小さくなる点のことである。
上述した実施形態1の構成によれば、発光部150と受光部140との間隔Dが的確に設定されていることにより、発光強度や受光感度を維持・向上させ、測定の正確さや安定性を確保しつつ、小型で携帯性に優れた生体情報測定機器を提供することができる。
(発光部および受光部の配置の変形例)
次に、図7、図8、および図9を参照して、発光部および受光部の配置の変形例について説明する。図7は、発光部および受光部の配置の変形例1を示す平面図である。また、図8は、発光部および受光部の配置の変形例を示し、図8(A)は、変形例2を示す平面図であり、図8(B)は、変形例3を示す平面図である。図9は、発光部および受光部の配置の変形例を示し、図9(A)は、変形例4を示す平面図であり、図9(B)は、変形例5を示す平面図である。なお、以下では、前述の実施形態と同様の構成については同符号を付し、その説明を省略あるいは簡略化することがある。
次に、図7、図8、および図9を参照して、発光部および受光部の配置の変形例について説明する。図7は、発光部および受光部の配置の変形例1を示す平面図である。また、図8は、発光部および受光部の配置の変形例を示し、図8(A)は、変形例2を示す平面図であり、図8(B)は、変形例3を示す平面図である。図9は、発光部および受光部の配置の変形例を示し、図9(A)は、変形例4を示す平面図であり、図9(B)は、変形例5を示す平面図である。なお、以下では、前述の実施形態と同様の構成については同符号を付し、その説明を省略あるいは簡略化することがある。
(配置の変形例1)
先ず、図7を参照して、発光部および受光部の配置の変形例1について説明する。上述の実施形態1では、一つの発光部150と、一つの受光部140とが、基板160(センサー基板)に並んで実装されていた。本変形例1の構成は、複数の発光部と一つの受光部が設けられている、複数の発光部としての第1の発光部350および第2の発光部380と、受光部340とが、所与の方向にそって、第1の発光部350、受光部340、第2の発光部380の順に、基板360上に一列に並んで実装されている。そして、第1の発光部350、第2の発光部380、および受光部340は、第1の発光部350と受光部340との間隔である第1の間隔D1と、第2の発光部380と受光部340との間隔である第2の間隔D2とが、略同じ距離に配置されている。また、第1の発光部350と受光部340との間、および第2の発光部380と受光部340との間には、遮光部としての遮光用部材70(遮光壁100)が設けられている。
先ず、図7を参照して、発光部および受光部の配置の変形例1について説明する。上述の実施形態1では、一つの発光部150と、一つの受光部140とが、基板160(センサー基板)に並んで実装されていた。本変形例1の構成は、複数の発光部と一つの受光部が設けられている、複数の発光部としての第1の発光部350および第2の発光部380と、受光部340とが、所与の方向にそって、第1の発光部350、受光部340、第2の発光部380の順に、基板360上に一列に並んで実装されている。そして、第1の発光部350、第2の発光部380、および受光部340は、第1の発光部350と受光部340との間隔である第1の間隔D1と、第2の発光部380と受光部340との間隔である第2の間隔D2とが、略同じ距離に配置されている。また、第1の発光部350と受光部340との間、および第2の発光部380と受光部340との間には、遮光部としての遮光用部材70(遮光壁100)が設けられている。
具体的には、受光部340側の第1の発光部350の外周辺350bと、第1の発光部350側の受光部340の外周辺340aとの距離である第1の間隔D1、および受光部340側の第2の発光部380の外周辺380aと、第2の発光部380側の受光部340の外周辺340bとの距離である第2の間隔D2が、同じになるように第1の発光部350、受光部340、および第2の発光部380が配置されている。
変形例1によれば、複数の発光部(本例では第1の発光部350および第2の発光部380)が設けられていることから、複数の発光部から射出される光によって十分な発光強度の確保ができるとともに、複数の発光部からの光を検出することによって生体情報を検出することから、より測定精度を向上させことができる。
また、このような配置とすることにより、第1の発光部350と受光部340および第2の発光部380と受光部340の、それぞれの光路長が略同じになり、第1の発光部350および第2の発光部380から射出された光が略同時に受光部340に入射するため、S/N比を向上させることができる。即ち、生体情報測定機器の測定精度を向上させることが可能となる。
また、このような配置とすることにより、第1の発光部350と受光部340および第2の発光部380と受光部340の、それぞれの光路長が略同じになり、第1の発光部350および第2の発光部380から射出された光が略同時に受光部340に入射するため、S/N比を向上させることができる。即ち、生体情報測定機器の測定精度を向上させることが可能となる。
また、複数の発光部としての第1の発光部350と第2の発光部380との間の間隔LD1は、1.0mm以上4.9mm以下であることが好ましい。このような範囲内に、第1の発光部350と第2の発光部380とを配置することにより、コンパクトな配置による小型化と、強い光の強度が確保できることによる測定精度の向上とを併せて有する生体情報測定機器を提供することが可能となる。なお、上記の第1の発光部350と第2の発光部380との間の間隔LD1は、以下の変形例、及び実施形態で説明する複数の発光部を有する構成に適用することができる。
(配置の変形例2)
次に、図8(A)を参照して、発光部および受光部の配置の変形例2について説明する。本変形例2の構成は、発光部としての第1の発光部450および第2の発光部480と、受光部440とが、所与の方向にそって、第1の発光部450、受光部440、第2の発光部480の順に、基板460上に一列に並んで実装されている。そして、第1の発光部450、第2の発光部480、および受光部440は、第1の発光部450と受光部440との間隔である第1の間隔D1と、第2の発光部480と受光部440との間隔である第2の間隔D2とが異なる距離に配置されている。また、第1の発光部450と受光部440との間、および第2の発光部480と受光部440との間には、遮光部としての遮光用部材70(遮光壁100)が設けられている。
次に、図8(A)を参照して、発光部および受光部の配置の変形例2について説明する。本変形例2の構成は、発光部としての第1の発光部450および第2の発光部480と、受光部440とが、所与の方向にそって、第1の発光部450、受光部440、第2の発光部480の順に、基板460上に一列に並んで実装されている。そして、第1の発光部450、第2の発光部480、および受光部440は、第1の発光部450と受光部440との間隔である第1の間隔D1と、第2の発光部480と受光部440との間隔である第2の間隔D2とが異なる距離に配置されている。また、第1の発光部450と受光部440との間、および第2の発光部480と受光部440との間には、遮光部としての遮光用部材70(遮光壁100)が設けられている。
具体的には、受光部440側の第1の発光部450の外周辺450bと、第1の発光部450側の受光部440の外周辺440aとの距離である第1の間隔D1より、受光部440側の第2の発光部480の外周辺480aと、第2の発光部480側の受光部440の外周辺440bとの距離である第2の間隔D2の方が大きく(距離が長く)なるように、第1の発光部450、受光部440、および第2の発光部480が配置されている。
このような配置とすることにより、第1の発光部450と受光部440、および第2の発光部480と受光部440のそれぞれの光路長や第1の発光部450および第2の発光部480から受光部440に入射するタイミングが異なることから、より多くの生体情報を取得することが可能となる。
(配置の変形例3)
次に、図8(B)を参照して、発光部および受光部の配置の変形例3について説明する。前述の変形例2の配置では、受光部440を挟んで第1の発光部450と第2の発光部480が一つずつ配置されていた。本変形例3の構成は、発光部としての第1の発光部550および第2の発光部580と、受光部540とが、所与の方向にそって、第2の発光部580、第1の発光部550、受光部540の順に、基板560上に一列に並んで実装されている。第2の発光部580、および第1の発光部550は、並んで配置され、第1の発光部550と受光部540との間に、遮光部としての遮光用部材70(遮光壁100)が設けられている。したがって、本変形例3の構成では、第1の発光部550と受光部540との間隔である第1の間隔D1と、第2の発光部580と受光部540との間隔である第2の間隔D2とが異なる距離に配置されている。
次に、図8(B)を参照して、発光部および受光部の配置の変形例3について説明する。前述の変形例2の配置では、受光部440を挟んで第1の発光部450と第2の発光部480が一つずつ配置されていた。本変形例3の構成は、発光部としての第1の発光部550および第2の発光部580と、受光部540とが、所与の方向にそって、第2の発光部580、第1の発光部550、受光部540の順に、基板560上に一列に並んで実装されている。第2の発光部580、および第1の発光部550は、並んで配置され、第1の発光部550と受光部540との間に、遮光部としての遮光用部材70(遮光壁100)が設けられている。したがって、本変形例3の構成では、第1の発光部550と受光部540との間隔である第1の間隔D1と、第2の発光部580と受光部540との間隔である第2の間隔D2とが異なる距離に配置されている。
具体的には、受光部540側の第1の発光部550の外周辺550bと、第1の発光部550側の受光部540の外周辺540aとの距離である第1の間隔D1より、受光部540側の第2の発光部580の外周辺580bと、第2の発光部580側の受光部540の外周辺540aとの距離である第2の間隔D2の方が大きく(距離が長く)なる。
このような配置とすることにより、変形例2と同様に、第1の発光部550と受光部540、および第2の発光部580と受光部540のそれぞれの光路長や第1の発光部550および第2の発光部580から受光部540に入射するタイミングが異なることから、より多くの生体情報を取得することが可能となる。
(配置の変形例4)
次に、図9(A)を参照して発光部および受光部の配置の変形例4について説明する。本変形例4の構成は、発光部650を、受光部としての第1の受光部640および第2の受光部670で共有した上で、所与の方向にそって、発光部650の両側に第1の受光部640および第2の受光部670が一つずつ配置され、それぞれが基板660上に一列に並んで実装されている。そして、発光部650と第1の受光部640との間、および発光部650と第2の受光部670との間には、遮光部としての遮光用部材70(遮光壁100)が設けられている。したがって、本変形例4の構成では、発光部650と第1の受光部640との間隔である第1の間隔D3と、発光部650と第2の受光部670との間隔である第2の間隔D4とが、略同じ距離に配置されている。
次に、図9(A)を参照して発光部および受光部の配置の変形例4について説明する。本変形例4の構成は、発光部650を、受光部としての第1の受光部640および第2の受光部670で共有した上で、所与の方向にそって、発光部650の両側に第1の受光部640および第2の受光部670が一つずつ配置され、それぞれが基板660上に一列に並んで実装されている。そして、発光部650と第1の受光部640との間、および発光部650と第2の受光部670との間には、遮光部としての遮光用部材70(遮光壁100)が設けられている。したがって、本変形例4の構成では、発光部650と第1の受光部640との間隔である第1の間隔D3と、発光部650と第2の受光部670との間隔である第2の間隔D4とが、略同じ距離に配置されている。
具体的には、第1の受光部640側の発光部650の外周辺650bと、発光部650側の第1の受光部640の外周辺640aとの距離である第1の間隔D3と、第2の受光部670側の発光部650の外周辺650aと、発光部650側の第2の受光部670の外周辺670aとの距離である第1の間隔D4とが、略同じである。
このような配置とすることにより、変形例1と同様に、発光部650と第1の受光部640および発光部650と第2の受光部670の、それぞれの光路長が略同じになり、発光部650から射出された光が略同時に第1の受光部640および第2の受光部670に入射するため、S/N比を向上させることができる。即ち、生体情報測定機器の測定精度を向上させることが可能となる。
(配置の変形例5)
次に、図9(B)を参照して、発光部および受光部の配置の変形例5について説明する。本変形例5の構成は、発光部750を、受光部としての第1の受光部740および第2の受光部770で共有した上で、所与の方向にそって、発光部750、第2の受光部770、第1の受光部740の順に、基板760上に一列に並んで実装されている。また、発光部750、第2の受光部770、および第1の受光部740は、発光部750と第1の受光部740との間隔である第1の間隔D3と、発光部750と第2の受光部770との間隔である第2の間隔D4とが異なる距離に配置されている。
次に、図9(B)を参照して、発光部および受光部の配置の変形例5について説明する。本変形例5の構成は、発光部750を、受光部としての第1の受光部740および第2の受光部770で共有した上で、所与の方向にそって、発光部750、第2の受光部770、第1の受光部740の順に、基板760上に一列に並んで実装されている。また、発光部750、第2の受光部770、および第1の受光部740は、発光部750と第1の受光部740との間隔である第1の間隔D3と、発光部750と第2の受光部770との間隔である第2の間隔D4とが異なる距離に配置されている。
具体的には、第1の受光部740側の発光部750の外周辺750bと、発光部750側の第1の受光部740の外周辺740aとの距離である第1の間隔D3が、第2の受光部770側の発光部750の外周辺750bと、発光部750側の第2の受光部770の外周辺770aとの距離である第2の間隔D4とが異なっている。つまり、第1の間隔D3の方が、第2の間隔D4より大きい。
このような配置とすることにより、発光部750と第1の受光部740、および発光部750と第2の受光部770のそれぞれの光路長や発光部750から射出された光が、第1の受光部740および第2の受光部770に入射するタイミングが異なることから、より多くの生体情報を取得することが可能となる。
(実施形態2)
次に、本発明の実施形態2について図面を用いて説明する。
実施形態2に係る生体情報測定機器は、前述の実施形態1と同様に、生体情報を測定される生体(例えば人体)に装着され、脈拍(心拍数)等の生体情報を測定する心拍数監視装置である。なお、以下に示す各図においては、各構成要素を図面上で認識され得る程度の大きさとするため、各構成要素の寸法や比率を実際の構成要素とは適宜に異ならせて記載する場合がある。
次に、本発明の実施形態2について図面を用いて説明する。
実施形態2に係る生体情報測定機器は、前述の実施形態1と同様に、生体情報を測定される生体(例えば人体)に装着され、脈拍(心拍数)等の生体情報を測定する心拍数監視装置である。なお、以下に示す各図においては、各構成要素を図面上で認識され得る程度の大きさとするため、各構成要素の寸法や比率を実際の構成要素とは適宜に異ならせて記載する場合がある。
まず、実施形態2に係る生体情報測定機器としての心拍数監視装置1010について説明する前に、図10を用いて実施形態2に係る生体情報測定機器としての心拍数監視装置の従来例について説明する。
図10は、心拍数監視装置を装着しているユーザー(被験者)1000(同図では、ユーザーの腕を示す)の、生理的パラメーター(生体情報)を測定する従来例の生体情報測定機器としての心拍数監視装置1010を示す断面図である。心拍数監視装置1010は、ユーザー1000の少なくとも一つの生理的パラメーターとしての心拍数を計測するセンサー1012と、センサー1012を収納しているケース1014を備えている。心拍数監視装置1010は、固定部1016(例えばバンド)によって、ユーザー1000の腕1001に装着される。
このセンサー1012は、二つのセンサーエレメントである発光部としての発光素子1121および受光部としての受光素子1122を備え、心拍数を測定するかまたはモニターするための心拍数監視センサーである。しかし、一つ以上の生理的パラメーター(例えば心拍数、血圧、呼気量、皮膚伝導率、皮膚湿度など)を測定するセンサーであってもよい。また、ケース1014が、バンドタイプのハウジングを備えている場合は、例えばスポーツにおいて使われる腕時計型の監視装置として用いることができる。なお、ケース1014の形は、主にユーザー1000に関して所望の位置でセンサー1012を保持することができればよく、任意に電池、処理ユニット、表示、ユーザー・インターフェイスなどのような更なる要素を収納することができてもよい。
従来例の生体情報測定機器は、ユーザーの心拍数をモニターするための心拍数監視装置1010である。そして、センサー1012は発光素子1121および受光素子1122から成る光学センサーである。光学センサーを用いた光学的心拍数モニターは、皮膚に光をあてる光源としての発光素子1121(通常LEDが用いられる)に依存する。発光素子1121から皮膚に照射された光は、皮膚下の血管を流れる血液によって一部が吸収されるが、残りの光は反射され皮膚を出る。そして、反射された光は、受光素子1122(通常フォトダイオードが用いられる)によって、捕捉される。受光素子1122からの受光信号は、血管を流れる血液量に相当する情報を含む信号である。血管を流れる血液量は、心臓の脈動によって変化する。そして、このように、受光素子1122上の信号は心臓の拍動に対応して変化する。つまり、受光素子1122の信号の変化は、心拍数のパルスに相当するものである。そして、単位時間当たりパルス数を計数することによって(例えば10秒当たり)、心臓が1分間に打つ数(即ち心拍数)が得られる。
以下、図11を用いて実施形態2に係る生体情報測定機器としての心拍数監視装置1020について説明する。図11は、実施形態2に係る生体情報測定機器としての心拍数監視装置を示す斜視図である。実施形態2に係る生体情報測定機器としての心拍数監視装置1020は、図11では図示していないが、前述の実施形態1と同様に、バンドなどの固定部によって、ユーザーの腕に装着される。
実施形態2に係る生体情報測定機器としての心拍数監視装置1020は、複数(本例では二つ)の発光部としての発光素子1221,1223と、一つの受光部としての受光素子1222とが、一列に並び配置されている。具体的には、少なくとも二つのセンサーエレメントを備えたセンサー1022(本例では、三つのセンサーエレメントとして、第1の発光部および第2の発光部としての二つの発光素子1221,1223と、受光部としての受光素子1222とを用いている)を有している。
そして、第1の発光部および第2の発光部としての二つの発光素子1221,1223の間に受光部としての受光素子1222が配置されている。また、第1の発光部および第2の発光部としての二つの発光素子1221,1223は、受光部としての受光素子1222の中心を通る仮想線に対して線対称の位置に配置されている。発光素子1221,1223および受光素子1222を、このような配置とすることにより、デッドスペースが減少し、省スペース化を図ることができる。また、線対称位置にある第1の発光部、および第2の発光部を併せた光が受光部に集まり、より正確な検出を行うことができる。
センサーエレメントは、センサー信号を検出する。センサー1022は、ユーザーの皮膚に対して発光するための二つのLEDを用いた発光素子1221,1223から成る光学センサーと、皮膚から反射した光を受信するための少なくとも一つの受光素子1222(フォトダイオード)とを備えている。さらに、心拍数監視装置1020は、ケースまたはハウジング(図示せず)を有している。ケースまたはハウジングは、図10に示されるケース1014と類似、あるいは同一でもよいし、上述の実施形態1におけるケース部30と類似、あるいは同一でもよい。
そして、センサー1022は、キャリア(基板)1026の一面に担持されている。ここで、キャリア(基板)1026と、キャリア(基板)1026上に担持されたセンサー1022とを含む構成が生体情報測定モジュールに該当する。なお、以下の実施形態3〜5においても同様である。発光素子1221,1223から射出された光は、皮膚などに吸収されずに反射され、受光素子1222に直接到達することができる。心拍数監視装置1020において、キャリア1026と発光素子1221,1223の上面1221a,1223aとの間の距離は、キャリア1026と受光素子1222の上面1222aとの間の距離より小さい。即ち、キャリア1026と発光素子1221,1223の上面1221a,1223aとの間の距離と、キャリア1026と受光素子1222の上面1222aとの間の距離との差が、Δhである。そして、受光素子1222は、一番上の表層であるその上面1222aから光を受信する。それらの構成によれば、発光素子1221,1223から射出された光の大部分は皮膚に向かい、反射光は、空気層などの介入なしに直接受光素子1222に入射される効果がある。換言すれば、受光素子1222が皮膚に密着する構造であるため、受光素子1222の上面(受光面)1222aと皮膚との間に隙間が生じにくい構造とすることができ、これにより外光などのノイズ源となる光が上面1222aに入射することを抑制することができる。また、皮膚を通過しない発光素子1221,1223からの光、例えば発光素子1221,1223から直接受光素子1222に入射する光は、受光素子1222の上面1222aに到達することができない。
(実施形態3)
次に、図12を参照して実施形態3に係る生体情報測定機器としての心拍数監視装置1030について説明する。図12は、実施形態3に係る生体情報測定機器としての心拍数監視装置を示す正面図である。なお、実施形態3に係る生体情報測定機器としての心拍数監視装置1030は、図12では図示していないが、前述の実施形態1と同様に、バンドなどの固定部によって、ユーザーの腕に装着される。
次に、図12を参照して実施形態3に係る生体情報測定機器としての心拍数監視装置1030について説明する。図12は、実施形態3に係る生体情報測定機器としての心拍数監視装置を示す正面図である。なお、実施形態3に係る生体情報測定機器としての心拍数監視装置1030は、図12では図示していないが、前述の実施形態1と同様に、バンドなどの固定部によって、ユーザーの腕に装着される。
図12に示すように、発光部としての発光素子1221,1223および受光部としての受光素子1222の電気的接続端子1034は、電気的要素の保護のために絶縁性材料(例えばエポキシ樹脂)1032で、好ましくは覆われていなければならない。また、絶縁性材料1032が発光素子1221,1223や受光素子1222を覆わないように構成することができる。具体的には、発光素子1221と受光素子1222との間の領域、発光素子1223と受光素子1222との間の領域を絶縁性材料1032で埋めるように構成することができる。換言すれば、少なくとも受光素子1222の上面1222a、発光素子1221,1223の上面1221a,1223aが絶縁性材料1032に覆われないように構成することができる。このように構成することで、皮膚と発光素子1221,1223との間のエアギャップによる妨害を抑制することができる。さらに、絶縁性材料1032が発光素子1221,1223の上面1221a,1223aや受光素子1222の上面1222aを覆うように構成しても良い。このように構成することで、皮膚と接触する受光素子1222の上面1222aや、発光素子1221,1223の上面1221a,1223aを保護することができるので、受光素子1222の上面1222aや、発光素子1221,1223の上面1221a,1223aの損傷を防ぐことができる。この場合、絶縁性材料1032は保護膜とみなすこともできる。
本実施形態3に係る生体情報測定機器としての心拍数監視装置1030では、一般に可能性がある実施例として、エポキシ樹脂を用いた絶縁性材料1032を設けている。図12においては、絶縁性材料1032は、発光素子1221,1223の上面1221a,1223aを覆うことなく配置され、電気的接続端子1034を保護する。発光素子1221,1223から射出されている光は、矢印にて表される。
このように、絶縁性材料1032の配置は、心拍数監視装置1030の正しい機能を妨げない程度の最小限で行うことにより、発光素子1221,1223および受光素子1222の電気的接続端子1034を保護することで、この心拍数監視装置1030は更に改良されることができる。なお、本実施形態3におけるエポキシ樹脂を注入する構成に変えて、図13に示すような実施形態4に係る生体情報測定機器としての心拍数監視装置1040とすることがさらに好適である。
(実施形態4)
次に、実施形態4に係る生体情報測定機器としての心拍数監視装置1040について、図13を参照して説明する。図13は、実施形態4に係る生体情報測定機器としての心拍数監視装置を示す斜視図である。なお、実施形態4に係る生体情報測定機器としての心拍数監視装置1040は、図13では図示していないが、前述の実施形態1と同様に、バンドなどの固定部によって、ユーザーの腕に装着される。
次に、実施形態4に係る生体情報測定機器としての心拍数監視装置1040について、図13を参照して説明する。図13は、実施形態4に係る生体情報測定機器としての心拍数監視装置を示す斜視図である。なお、実施形態4に係る生体情報測定機器としての心拍数監視装置1040は、図13では図示していないが、前述の実施形態1と同様に、バンドなどの固定部によって、ユーザーの腕に装着される。
実施形態4に係る生体情報測定機器としての心拍数監視装置1040は、作成されたフレーム1041,1042,1043が配置される。フレーム1041,1042,1043は、発光部としての発光素子1221,1223および受光部としての受光素子1222の周囲に配置され、フレーム1041,1042,1043と、発光素子1221,1223および受光素子1222との間の隙間1036が形成される。そして、フレーム1041,1042,1043をガイドとして絶縁性材料(図13では図示されない)が注入され、発光素子1221,1223および受光素子1222の電気的接続端子1034を覆う。
実施形態4に示す例では、発光素子1221,1223および受光素子1222は、個々のフレーム1041,1042,1043によって囲まれる。なお、他の例としては、すべてのフレーム1041,1042,1043は、互いに結合されてもよく、または、すべてのセンサーエレメントは一体のフレームによって囲まれてもよい。なお、フレーム1041,1042,1043を遮光部の一例としての遮光壁として用いることができる。フレーム1041,1042,1043を遮光壁として用いることにより、発光素子1221,1223から射出された光が、直接受光素子1222に入ることを防止することができる。
心拍数監視装置1040の機能に影響を及ぼさないための改善点として、発光素子1221,1223のまわりのフレーム1041,1043の上部エッジ1041a,1043aは、好ましくは発光素子1221,1223の上面1221a,1223aより低いことが好ましい。換言すれば、個別のフレーム1041,1043の上部エッジ1041a,1043aとキャリア1026との距離hFR−LEDは、個別のフレーム1041,1043で囲まれている発光素子1221,1223の上面1221a,1223aとキャリア1026との距離hLEDと、同じか小さい(hFR−LED≦hLED)。
好ましくは、発光素子1221,1223の上面1221a,1223aとキャリア1026との距離hLEDと、フレーム1041,1043の上部エッジ1041a,1043aとキャリア1026との距離hFR−LEDとの差は、0.1mmから0.8mmの範囲に設定する。なお、さらに好ましくは、発光素子1221,1223の上面1221a,1223aとキャリア1026との距離hLEDと、フレーム1041,1043の上部エッジ1041a,1043aとキャリア1026との距離hFR−LEDとの差は、0.2mmから0.5mmの範囲に設定する。
好ましくは、発光素子1221,1223の上面1221a,1223aとキャリア1026との距離hLEDと、フレーム1041,1043の上部エッジ1041a,1043aとキャリア1026との距離hFR−LEDとの差は、0.1mmから0.8mmの範囲に設定する。なお、さらに好ましくは、発光素子1221,1223の上面1221a,1223aとキャリア1026との距離hLEDと、フレーム1041,1043の上部エッジ1041a,1043aとキャリア1026との距離hFR−LEDとの差は、0.2mmから0.5mmの範囲に設定する。
また、受光素子1222のまわりのフレーム(レシーバーフレーム)1042の上部エッジ1042aは、好ましくは受光素子1222の上面1222aより高いことが好ましい。換言すれば、フレーム1042の上部エッジ1042aとキャリア1026との距離hFR−PDは、フレーム1042で囲まれている受光素子1222の上面1222aとキャリア1026との距離hPDより大きい(hFR−PD>hPD)。
好ましくは、受光素子1222の上面1222aとキャリア1026との距離hPDと、フレーム1042の上部エッジ1042aとキャリア1026との距離hFR−PDの差は、0mmから0.5mmの範囲に設定する。なお、さらに好ましくは、受光素子1222の上面1222aとキャリア1026との距離hPDと、フレーム1042の上部エッジ1042aとキャリア1026との距離hFR−PDの差は、0.1mmから0.2mmの範囲に設定する。
さらに、フレーム1042の上部エッジ1042aとキャリア1026との距離hFR−PDは、発光素子1221,1223の上面1221a,1223aとキャリア1026との距離hLEDよりも大きい(hFR−PD>hLED)。
好ましくは、受光素子1222の上面1222aとキャリア1026との距離hPDと、フレーム1042の上部エッジ1042aとキャリア1026との距離hFR−PDの差は、0mmから0.5mmの範囲に設定する。なお、さらに好ましくは、受光素子1222の上面1222aとキャリア1026との距離hPDと、フレーム1042の上部エッジ1042aとキャリア1026との距離hFR−PDの差は、0.1mmから0.2mmの範囲に設定する。
さらに、フレーム1042の上部エッジ1042aとキャリア1026との距離hFR−PDは、発光素子1221,1223の上面1221a,1223aとキャリア1026との距離hLEDよりも大きい(hFR−PD>hLED)。
なお、例えば、受光素子1222および発光素子1221,1223が間近である場合、受光素子1222と発光素子1221,1223との間に、1枚のフレーム壁だけが存在する構成であってもよい。これは、製造容易性の理由で発生する場合がある。その1枚のフレーム壁がケースである場合、受光素子1222および発光素子1221,1223で両方のフレームのフレーム壁は一致する。これは、発光素子1221,1223のフレーム壁がより高くなることを意味する、詳述すると、発光素子1221,1223を囲むフレーム1041,1043の内の、受光素子1222がある側のフレーム壁が高くなり、他のフレーム壁は発光素子1221,1223の上面1221a,1223aより低くなる。
さらに、フレーム1041,1042,1043に代えて、受光素子1222と発光素子1221、あるいは発光素子1223との間に第1の壁部を設け、発光素子1221,1223の外側、つまり受光素子1222に対して第1の壁部とは反対側に第2の壁部を設けるように構成しても良い。
このように構成した場合、キャリア1026と第1の壁部の上面との距離は、キャリア1026と第2の壁部の上面との距離よりも大きくなるように構成しても良い。このように構成することで、図13のように発光素子や受光素子を囲うように構成した場合に比べ、より少ない部材でフレームの機能を実現することができる。
さらに、フレーム1041,1042,1043に代えて、受光素子1222と発光素子1221、あるいは発光素子1223との間に第1の壁部を設け、発光素子1221,1223の外側、つまり受光素子1222に対して第1の壁部とは反対側に第2の壁部を設けるように構成しても良い。
このように構成した場合、キャリア1026と第1の壁部の上面との距離は、キャリア1026と第2の壁部の上面との距離よりも大きくなるように構成しても良い。このように構成することで、図13のように発光素子や受光素子を囲うように構成した場合に比べ、より少ない部材でフレームの機能を実現することができる。
なお、本実施形態4のようにフレーム1041,1043やフレーム1042を用いることにより、注入されるエポキシ樹脂などの絶縁性材料が流れ出すことを防ぐことができる。またこのように、追加構造を作成してエポキシ樹脂などの絶縁性材料を区切ることは、高い量産性を可能にするオプションである。なお、フレーム1041,1043やフレーム1042は、キャリア1026と同じ材料によって構成されても良い。例えばエポキシ系樹脂やポリカーボネイト系樹脂を用いて射出成型でフレームが形成されても良い。
前述したように、絶縁性材料1032(図12参照)は、センサーエレメント(発光素子1221,1223および受光素子1222)の電気的接続端子1034を保護する。しかしながら、これらの電気的接続端子1034は他の要素である追加電子機器(例えばドライバー、検出エレクトロニクス、プロセッサーまたは電源)と、さらに接触しなければならない。そして、キャリア1026(プリント基板(PCB)でもよい)に、これらの追加電子機器とのなんらかの電気接続があることを意味する。また、本実施形態に係る心拍数監視装置の構造は、心拍数のみならず、脈波、脈拍の計測装置にも適用できる。
(実施形態5)
図14を参照して、実施形態5に係る生体情報測定機器としての心拍数監視装置1050を説明する。図14は、実施形態5に係る生体情報測定機器としての心拍数監視装置を示す断面図である。なお、実施形態5に係る生体情報測定機器としての心拍数監視装置1050は、図14では図示していないが、前述の実施形態1と同様に、バンドなどの固定部によって、ユーザーの腕に装着される。
図14を参照して、実施形態5に係る生体情報測定機器としての心拍数監視装置1050を説明する。図14は、実施形態5に係る生体情報測定機器としての心拍数監視装置を示す断面図である。なお、実施形態5に係る生体情報測定機器としての心拍数監視装置1050は、図14では図示していないが、前述の実施形態1と同様に、バンドなどの固定部によって、ユーザーの腕に装着される。
実施形態5に係る生体情報測定機器としての心拍数監視装置1050は、前述した追加電子機器(例えばプロセッサー1052およびドライバー1054)を備えている。外部電気接続端子(図示せず)は、センサーエレメント(発光部としての発光素子1221および受光部としての受光素子1222)と同じキャリア1026に配置されない。つまり、追加電子機器は、センサーエレメントとは別のキャリアあるいは基板に配置されている。このように構成することで、皮膚とセンサーエレメント(発光素子1221および受光素子1222)との良好な接触を維持しつつ、必要な追加電子機器を心拍数監視装置1050に搭載することができる。例えば、外部電気接続端子は、キャリア1026の側面に配置されることができる。
上述したように、異なる種類のセンサーが、本発明に係る生体情報測定機器において用いられることが可能である。例えば、上述の受光素子1222が電気センサーである場合は、ユーザーの皮膚に接触して、ユーザーの伝導率を測定するための2本の皮膚コンダクタンス電極(例えば、センサーエレメント(図11に示される発光素子1221、受光素子1222))は、皮膚でおおわれる。なお、さらなる、二つ以上の種類のセンサーが、この種の生体情報測定機器において、用いられることが可能である、さらに、センサーエレメントの数は問わない。
実施形態2〜5において、提唱される生理的パラメーターを測定する生体情報測定機器を製造する方法のフローチャートは、図15において示される。
第1ステップS1において、センサー信号を検出するための少なくとも二つのセンサーエレメント(発光素子1221および受光素子1222)から成るセンサー1022は、キャリア1026上に配置される。第2ステップS2において、上記センサーエレメントの電気的接触をキャリア1026に形成する。第3ステップS3において、一つ以上のフレーム1041,1042は、センサー1022および/または個々のセンサーエレメント(発光素子1221および受光素子1222)周辺で、キャリア1026の上に形成される。第4ステップS4において、キャリア1026に備えられているセンサーエレメント(発光素子1221および受光素子1222)の上面1221a,1222aを覆わない、それぞれのフレーム1041,1042によって囲まれる領域に絶縁性材料1032が注入され満たされる。
第1ステップS1において、センサー信号を検出するための少なくとも二つのセンサーエレメント(発光素子1221および受光素子1222)から成るセンサー1022は、キャリア1026上に配置される。第2ステップS2において、上記センサーエレメントの電気的接触をキャリア1026に形成する。第3ステップS3において、一つ以上のフレーム1041,1042は、センサー1022および/または個々のセンサーエレメント(発光素子1221および受光素子1222)周辺で、キャリア1026の上に形成される。第4ステップS4において、キャリア1026に備えられているセンサーエレメント(発光素子1221および受光素子1222)の上面1221a,1222aを覆わない、それぞれのフレーム1041,1042によって囲まれる領域に絶縁性材料1032が注入され満たされる。
上記実施形態2〜5によれば、生体情報測定機器の性能に負の影響を及ぼすことのない電気的接触の保護を成し遂げる方法が提案される。そして、センサーの性能を保つような方法で形成される。例えば、これらのフレーム1041,1043の少なくとも一つは、皮膚に対するセンサーの位置がシフトすることを防ぐ。さらに、これらのフレーム1041,1043の少なくとも一つは、射出された直射的な光が受光素子1222に入射するのを防止するのに役立つことができる。好ましくは、受光素子1222の向きになっている側の、発光素子1221,1223のまわりのフレーム1041,1043の高さは、発光素子1221,1223の上面1221a,1223aの高さより小さくなければならない。加えて、受光素子1222のまわりのフレーム1042は、受光素子1222の上面1222aより高くてもよい。
上述した実施形態2〜5に係る生体情報測定機器においても、実施形態1で説明した発光部および受光部との間隔の構成を適用することができる。このような構成とすることにより、実施形態1と同様な効果を得ることができる。
(実施形態6)
上述した実施形態1〜5の生体情報測定機器は、ひずみ計、温度計、体温計、加速度センサー、ジャイロセンサー、圧電センサー、気圧センサー、血圧計、電気化学的センサー、GPS(Global Positioning System)、振動計、等の各種センサーを備えていてもよい。これらのセンサーを備えることで、心拍、脈拍、拍動間の変異、EKG(ElektroKardiogram:心電図)、ECG(Electrocardiogram:心電図)、呼吸数、皮膚温度、体温、体の熱流、電気皮膚反応、GSR(Galvanic skin reflex:皮膚電気反射)、EMG(Electromyogram:筋電図)、EEG(electroencephalogram:脳電図)、EOG(Electrooculography:眼球電図)、血圧、体脂肪、水分補給レベル、活動レベル、体動、酸素消費量、グルコース、血糖値、筋肉量、筋肉にかかる圧力、骨にかかる圧力、紫外線吸収、睡眠状態、体調、ストレス状態、体位(例えば、横臥、直立、座位、等)等の、1または1以上の生理学的パラメーターを示すデータに基づいて、個人の生理学的状態に関する情報を導出することができる。また、これらの各種センサーによって得られた値を、例えば、スマートフォン、携帯電話機、フィーチャーフォン等の携帯型通信端末やコンピューターやタブレット型コンピューター等の情報処理端末に送信して、携帯型通信端末や情報処理端末にて生理学的パラメーターの演算処理を実行してもよい。
上述した実施形態1〜5の生体情報測定機器は、ひずみ計、温度計、体温計、加速度センサー、ジャイロセンサー、圧電センサー、気圧センサー、血圧計、電気化学的センサー、GPS(Global Positioning System)、振動計、等の各種センサーを備えていてもよい。これらのセンサーを備えることで、心拍、脈拍、拍動間の変異、EKG(ElektroKardiogram:心電図)、ECG(Electrocardiogram:心電図)、呼吸数、皮膚温度、体温、体の熱流、電気皮膚反応、GSR(Galvanic skin reflex:皮膚電気反射)、EMG(Electromyogram:筋電図)、EEG(electroencephalogram:脳電図)、EOG(Electrooculography:眼球電図)、血圧、体脂肪、水分補給レベル、活動レベル、体動、酸素消費量、グルコース、血糖値、筋肉量、筋肉にかかる圧力、骨にかかる圧力、紫外線吸収、睡眠状態、体調、ストレス状態、体位(例えば、横臥、直立、座位、等)等の、1または1以上の生理学的パラメーターを示すデータに基づいて、個人の生理学的状態に関する情報を導出することができる。また、これらの各種センサーによって得られた値を、例えば、スマートフォン、携帯電話機、フィーチャーフォン等の携帯型通信端末やコンピューターやタブレット型コンピューター等の情報処理端末に送信して、携帯型通信端末や情報処理端末にて生理学的パラメーターの演算処理を実行してもよい。
ユーザーは、生体情報を測定する前に、生体情報測定機器、携帯型通信端末、もしくは情報処理端末にユーザー自身のプロフィールを入力する。これによりユーザーは、そのプロフィールと生体情報測定結果とに基づき、推奨される健康なライフスタイルを確立し維持する可能性を最大にするために、対処が必要となるユーザーの特異な特性情報、環境情報の提供を受けることができる。提供される情報としては、運動種別、運動強度、運動時間、等のような運動情報、食事時間、食事の量、推奨される摂取食材や摂取メニュー、避けるべき摂取食材や摂取メニュー、等のような食事情報、睡眠時間、睡眠の深さ、睡眠の質、起床時間、着床時間、就労時間、ストレス情報、消費カロリー、摂取カロリー、カロリー収支、等のような生活支援情報、基礎代謝、体脂肪量、体脂肪率、筋肉量、等のような身体情報、投薬情報、サプリメント摂取情報、医療情報、等の一つもしくは複数が挙げられる。
事前に入力するユーザー自身のプロフィールとしては、例えば、年齢、生年月日、性別、趣味、職種、血液型、過去のスポーツ歴、活動レベル、食事、睡眠の規則性、排便習慣の規則性、状況適応性、持続性、応答性、反応の強さ、性質等のユーザーの性格、ユーザーの自主独立レベル、自立形成、自己管理、社交性、記憶力および学問的成就能力、ユーザーの覚醒レベル、認知速度、注意力疎外要因の回避能力、覚醒状態および自己監督能力を含むユーザーの注意力、注意持続能力、体重、身長、血圧、ユーザーの健康状態、医者による診察結果、医者による診察日、医者や健康管理者との接触の有無、現在服用中の薬剤およびサプリメント、アレルギーの有無、アレルギー歴、現在のアレルギー症状、健康に関連する挙動の所見、ユーザーの病気歴、ユーザーの手術歴、家族歴、個人による調整を必要とした離婚または失業のような社会的事象、ユーザーの健康優先度に関する所信、価値観、振舞いを変える能力、生活のストレス原因と考えられる事象、ストレス管理方法、ユーザーの自己意識度、ユーザーの感情移入度、ユーザーの権限委譲度、ユーザーの自尊心、ユーザーの運動、睡眠状態、弛緩状態、毎日の活動の現在のルーチン、ユーザーの生活における重要な人物(例えば、配偶者、友人、同僚または上司)の性格、重要な人物の関係において健康なライフスタイルを阻害するまたはストレスに寄与する衝突が存在するか否かについてのユーザーの受け止め方、等の一つもしくは複数が挙げられる。
ここで、推奨される健康的なライフスタイルを確立し維持する可能性を最大にするために、対処が必要となるユーザーの特異な特性情報、環境情報の提供を受けることができる実施形態6に係る生体情報測定機器について、図16〜図22を用いて説明する。図16は、実施形態6の生体情報測定機器におけるヘルスマネージャーの起点となるウェブページの概略を示す図である。図17は、栄養ウェブページの一例を示す図であり、図18は、活動レベルウェブページの一例を示す図である。また、図19は、精神集中ウェブページの一例を示す図であり、図20は、睡眠ウェブページの一例を示す図である。また、図21は、毎日の活動ウェブページの一例を示す図であり、図22は、健康度ウェブページの一例を示す図である。
実施形態6に係る生体情報測定機器は、図示しないが、例えばマイクロプロセッサーに接続されたセンサー装置を備えている。そして、実施形態6に係る生体情報測定機器では、最終的にモニターユニットへ送られて保存される種々の生活活動に関するデータや、モニターユニットにより維持されるウェブサイトからユーザーによって入力される個人データもしくは生活情報が、マイクロプロセッサーによって処理され、生体情報として提供される。以下に、具体的な一例を示し説明する。
ユーザーは、ウェブページ、アプリケーションソフト、その他の通信媒体を介して、そのユーザーのためのヘルスマネージャーにアクセスする。図16は、一例として、ヘルスマネージャーの起点となるウェブページ550を示す。図16に示すヘルスマネージャーのウェブページ550では、多様なデータをユーザーへ提供する。このようにして提供されるデータは、例えば、(1)種々のセンサー装置が測定した値に基づく種々の生理学的パラメーターを示すデータ、(2)種々の生理学的パラメーターを示すデータから導出されるデータ、(3)センサー装置により発生される種々のコンテキストパラメーターを示すデータおよびユーザーが入力するデータのうちの、1つまたはそれ以上である。
分析状態データは、(1)センサー装置が取得する種々の生理学的パラメーターを示すデータ、(2)種々の生理学的パラメーターから導出されるデータ、(3)センサー装置が取得する種々のコンテキストパラメーターを示すデータおよびユーザーが入力するデータのうちの1つまたはそれ以上を計算により求める健康度、(4)壮健度およびライフスタイル指数などに変換するために、ある特定のユーティリティーまたはアルゴリズムを利用する点に特徴がある。例えば、摂取した食料に関連してユーザーが入力するデータに基づきカロリー、たんぱく質、脂肪、炭水化物およびある特定のビタミンの量のようなものを計算することができる。また、別の例として、皮膚温度、心拍数、呼吸数、熱流および/またはGSRを用いることにより、所望の時間にわたるストレスレベルの指数をユーザーに提供することができる。さらに別の例として、皮膚温度、熱流、拍動間変異、心拍数、脈拍、呼吸数、中心部体温、電気皮膚反応、EMG、EEG、EOG、血圧、酸素消費量、周囲の音および加速度計のような装置で検出される体の動きを用いることにより、所望の時間にわたる睡眠パターンの指数をユーザーに提供することができる。
図16に示すウェブページ550には、健康度としての健康指標555が表示されている。この健康指標555は、ユーザーの成績および推奨される健康な日課を達成した度合いを測定し、それらをメンバーユーザーにフィードバックするためのグラフィックなユーティリティーである。このように、健康指標555は、メンバーユーザーに対して彼らの健康状態や健康維持に関する行動の進捗状況を示す。健康指標555は、ユーザーの健康およびライフスタイルに関する6つのカテゴリー、即ち、栄養、活動レベル、精神集中、睡眠、毎日の活動、および元気度(総合的な所感)を含む。「栄養」のカテゴリーは、その人(ユーザー)が何を、いつ、そしてどのくらい食べて飲んだかの情報に関する。「活動レベル」のカテゴリーは、その人がどのくらい動き回るかの運動量に関する。「精神集中」のカテゴリーは、その人(ユーザー)の精神が高度に集中した状態で弛緩状態となるための活動の質(能力)、およびその人がその活動に集中する時間に関する。「睡眠」のカテゴリーは、その人(ユーザー)の睡眠の質、および量に関する。「毎日の活動」のカテゴリーは、その人(ユーザー)が毎日行わなければならないこと、およびその人が遭遇する健康リスクに関する。「元気度(所感)」のカテゴリーは、ある特定の日について気分がよいか否かの一般的な受け止め方に関する。各カテゴリーには、好ましくは、「悪い」から「よい」の間で変化するスケールで、ユーザーがそのカテゴリーに関してどのような実績をあげたかを示すレベル表示または棒グラフを備えている。
各メンバーユーザーが上述した最初の調査を終了すると、ユーザーに対して、自身の特性、および生活環境の要約を提供するプロフィールが作成され、推奨される健康的な日課および/または目標が提示される。推奨される健康的な日課には、適当な栄養、運動、精神集中、およびユーザーの毎日の活動(生活)に関する特定のアドバイス、における任意の組み合わせが含まれる。これら推奨される健康的な日課に係る活動をユーザーの生活に如何に取り込むかのガイドとして、模範的なスケジュールなどを提示してもよい。ユーザーはその調査を定期的に受け、その結果に基づき、上述したような項目をそれに応じて実践する。
「栄養」のカテゴリーは、ユーザーが入力するデータと、センサー装置が感知するデータとの両方から計算される。ユーザーが入力するデータには、朝食、昼食、夕食、および任意のおやつの時刻や飲食時間と、飲食する食料、ビタミンのようなサプリメントおよび予め選択した時間の間に飲む水や他の液体(飲料水や液体状の食料)とが含まれる。このデータや種々の食料の公知の特性に関する蓄積されたデータに基づき、中央モニターユニットは、消費カロリー、またはたんぱく質、脂肪、炭水化物、ビタミンなどの含有量のような、よく知られた栄養学的な値を計算する。
「栄養」のカテゴリーにおいては、健康指標555の栄養を示す棒グラフに基づいて、推奨される健康的な日課に関して決定することができる。この推奨される健康的な日課は、ユーザーの性別、年齢、身長/体重のような情報に基づき調整することができる。なお、毎日摂取するカロリーやたんぱく質、繊維、脂肪、炭水化物などの栄養素や水の量、および全体の摂取量に対する割合に関するある特定の栄養の目標を、ユーザー、またはユーザーに代わって代理者が設定することができる。棒グラフの計算に用いるパラメーターには、1日の食事回数、水の消費量、毎日食べる食物の種類、および量をユーザーが入力したものが含まれる。
栄養学的情報は、図17に示すような栄養ウェブページ560によりユーザーに提示される。栄養ウェブページ560は、栄養の実際および目標となる数値をそれぞれ円グラフで示す栄養数値チャート565,570と、実際の栄養摂取総量および目標となる栄養摂取総量をそれぞれ示す栄養摂取チャート575,580を含むことが好ましい。栄養数値チャート565,570は、炭水化物、たんぱく質および脂肪のような項目を百分比で示すのが好ましく、栄養摂取チャート575,580は、カロリーの合計値および目標値を、脂肪、炭水化物、たんぱく質およびビタミンのような成分で分けて示すのが好ましい。ウェブページ560は、食物および水を消費した時間を示す履歴585、ユーザーが栄養に関連するニュース記事、栄養に関する日課を改善するためのアドバイス、およびネットワーク上のどこかの関連の広告を直接チェックできるようにするハイパーリンク590、および適用期間などを選択可能なカレンダー595も含む。ハイパーリンク590で示す項目は、調査により個人について知り得た情報、および健康指標により測定された個人の成績に基づいて選択することができる。
健康指標555の「活動レベル」のカテゴリーは、その日にユーザーが、いつ、どのように活動したか(動いたか)などに関するユーザーのチェックを、支援するように設計されており、ユーザーが入力するデータと、センサー装置が感知するデータとの両方を利用する。ユーザーが入力するデータには、例えば、ユーザーが午前8時から午後5時まで机に向かって仕事をした後、午後6時から午後7時までエアロビクス講習を受けるというようなユーザーの毎日の活動に関する詳細事項が含まれる。センサー装置により感知される関連のデータには、心拍数、加速度計のような装置により感知される運動、熱流、呼吸数、消費カロリー量、GSR、および水分補給レベルが含まれ、これらはセンサー装置または中央モニターユニットにより取り出すことができる。消費カロリー量は、ユーザーが入力する運動の種類とユーザーが入力する運動の持続時間との掛け算、感知する運動と運動の時間およびフィルター定数との掛け算、または感知される熱流と時間とフィルター定数との掛け算のような種々の方法で計算することができる。
「活動レベル」のカテゴリーでは、健康指標555の活動レベルを示す棒グラフに基づいて、推奨される健康的な日課に関して決定することができる。この推奨される健康的な日課は、活動において消費される最小目標カロリーなどである。なお、最小目標カロリーは、ユーザーの性別、年齢、身長、体重のような情報に基づき設定可能である。棒グラフの計算に用いるパラメーターには、各種の運動または精力的なライフスタイル活動に費やす時間であって、ユーザーが入力したものおよび/またはセンサー装置が感知したものや予め計算したエネルギー消費パラメーター以上に燃焼したカロリー数が含まれる。
個人ユーザーの活動(動き)に関する情報は、図18に示す活動レベルウェブページ600によりユーザーに提示される。この活動レベルウェブページ600は、ユーザーの活動を3つのカテゴリー、即ち、所定の単位時間に関して「高」、「中」、「低」でモニターする棒グラフの形をした活動度グラフ605を含む。円グラフの形の活動百分比チャート610は、ユーザーが各カテゴリーで費やした、例えば1日のような所定の期間の百分比を示すために提示することができる。また、活動レベルウェブページ600は、燃焼カロリー総量、毎日の燃焼カロリー目標値、カロリー摂取合計値、およびエアロビクス運動時間のような項目を表示するためのカロリー表示(図示せず)を設けることもできる。活動レベルウェブページ600は、ユーザーが、関連のニュース記事、活動レベルに関する日課を改善するためのアドバイス、およびネットワーク上の関連広告を直接チェックできるようにするため、少なくとも1つのハイパーリンク620を含む。
活動レベルウェブページ600は種々のフォーマットで見ることができるが、棒グラフ、円グラフ、およびその両方のようなグラフまたはチャートをユーザーが選択可能とすることができ、活動レベルチェックボックス625により選択可能である。活動レベルカレンダー630は、適用期間などを選択できるようにするために提供される。ハイパーリンク620に示す項目は、調査によりその個人から抽出した情報および健康指標により測定される成績に基づき選択することができる。
健康指標555の「精神集中」のカテゴリーは、ユーザーが、精神を集中しながら深い弛緩状態に体が到達できるようにする活動を行う時間に関するパラメーターを、モニターすることを支援するように設計されており、ユーザーが入力するデータとセンサー装置が感知するデータとの両方に基づくものである。詳説すると、ユーザーはヨガまたは瞑想のような弛緩活動の開始時間および終了時間を入力することができる。精神集中の深さにより決まるこれらの活動の品質は、センサー装置により感知される皮膚温度、心拍数、呼吸数および熱流を含むパラメーターをモニターすることにより測定可能である。センサー装置または中央モニターユニットの何れかにより得られるGSRの百分比変化を利用することもできる。
「精神集中」のカテゴリーにおいては、健康指標555の精神集中の活動レベルを示す棒グラフに基づいて、推奨される健康的な日課に関して決定することができる。この推奨される健康的な日課は、精神を高度に集中した状態にしながら体を深く弛緩させる活動への毎日の参加が含まれて表示される。この棒グラフの計算に使用するパラメーターには、精神集中活動に費やす時間の長さ、および精神集中活動の深さ、または品質を示すベースラインからの、センサー装置により感知される皮膚温度、心拍数、呼吸数、熱流またはGSRの百分比変化が含まれる。
深く自己を顧みる行動(内省)、および体を深く弛緩させるなどの精神集中活動のために費やす時間に関する情報は、図19に示す精神集中ウェブページ650によりユーザーに提示される。なお、精神集中活動は、セッションと呼ばれることがある。精神集中ウェブページ650は、セッションに費やした時間655、目標時間660、精神集中の深さの目標値および実際の値を示す比較部分665、皮膚温度、心拍数、呼吸数、熱流および/またはGSRのようなものから導出される全体的なストレスレベルを示すヒストグラム670を含む。
比較部分665では、目標となる精神集中状態を示す人間の輪郭は実線で示され、実際の精神集中状態を示す人間の輪郭は、精神集中のレベルに応じてぼやけた状態(図19では破線で表す)と実線の間で変化する。また、好ましい精神集中ウェブページ650は、ユーザーが関連のニュース記事、精神集中に関する日課の改善に関するアドバイス、およびネットワーク上の関連広告を直接チェックできるようにするハイパーリンク680、精神集中に関する日課の改善に関するアドバイスおよび関連の広告と、適用期間を選択可能にするカレンダー685とを含む。ハイパーリンク680で示す項目は、調査により個人から知り得た情報および健康指標により測定される成績に基づき選択することができる。
健康指標555の「睡眠」のカテゴリーは、ユーザーが睡眠パターンおよび睡眠の質をモニターすることを支援できるように設計されている。このカテゴリーは、ユーザーが健康なライフスタイルにおける睡眠の重要性と、体の機能の毎日の通常の変化である日周期に対する睡眠の関係と、についての学習を助けるように意図されている。「睡眠」のカテゴリーは、ユーザーが入力するデータとセンサー装置が感知するデータとの両方に基づくものである。関連の各時間インターバルの間にユーザーが入力するデータには、ユーザーの入眠時刻と起床時刻(睡眠時間)および睡眠の質のランクが含まれる。センサー装置から得られる関連性のあるデータには、皮膚温度(体温)、熱流、拍動間変異、心拍数、脈拍数、呼吸数、中心部体温、電気皮膚反応、EMG、EEG、EOG、血圧および酸素消費量が含まれる。また、周囲の音および加速度計のような装置により検知される体の動きも関連性を有する。その後、このデータを用いて、入眠時刻および起床時刻、睡眠中断および睡眠の質、および睡眠の深さなどについて計算し導出することができる。
健康指標555の睡眠を示す棒グラフは、毎晩の好ましい最小睡眠時間の確保、予測可能な就寝時刻、および起床時刻を含む健康な日課について表示される。この棒グラフの計算を可能にする特定のパラメーターには、センサー装置により感知されるかユーザーが入力する毎日の睡眠時刻および起床時刻と、ユーザーが等級をつけるかまたは他のデータから導出される睡眠の質が含まれる。
睡眠に関する情報は、図20に示す睡眠ウェブページ690によりユーザーに提示される。睡眠ウェブページ690は、センサー装置からのデータまたはユーザーが入力するデータの何れかに基づく睡眠時間表示695と、ユーザーの就寝時刻表示700、および起床時刻表示705を含む。なお、ユーザーにより入力される睡眠の質について、睡眠の質ランク710を利用し表示することも可能である。また、1日の時間インターバルを超える表示を睡眠ウェブページ690において行う場合、睡眠時間表示695は累計値として表示し、就寝時刻表示700、起床時刻表示705、および睡眠の質ランク710は平均値として計算し、表示することができる。また、睡眠ウェブページ690は、所定の時間インターバルにわたって1つの睡眠関連パラメーターを計算し表示するユーザーにより選択可能な睡眠グラフ715も含む。図20は、1日にわたる熱流(体温)の変化を示すが、この熱流は、睡眠中は低く、起きている時は高くなる傾向がある。この情報から、その人のバイオリズムを得ることが可能である。
また、睡眠グラフ715は、体の動きをモニターするセンサー装置に組み込んだ加速度計からのデータをグラフ表示する。また、睡眠ウェブページ690は、ユーザーが睡眠に関連するニュース記事、睡眠に関する日課を改善するためのアドバイス、およびネットワーク上にある関連の広告を直接チェックできるようにするハイパーリンク720と、関連の時間インターバルを選択するための睡眠カレンダー725とを含むことができる。ハイパーリンク720で示す項目は、調査において個人から知り得た情報、および健康指標により測定される成績に基づき特別に選択することができる。
健康指標555の「毎日の活動」のカテゴリーは、健康や安全に関連するある特定の活動、およびリスクをユーザーがモニターすることを支援できるように設計されており、すべてユーザーにより入力されるデータに基づくものである。毎日の生活の活動に関する「毎日の活動」のカテゴリーは、下位概念の4つのカテゴリーが挙げられる。具体的には、(1)歯ブラシまたはフロスを用いる歯の手入れやシャワーを浴びるような活動をユーザーがモニターするのを可能にする個人的衛生に係る項目、(2)ユーザーが処方箋通りの薬またはサプリメントを飲んでいるか否かを追跡し、煙草またはアルコールの消費量などをユーザーがモニターするのを可能にする健康維持に係る項目、(3)家族または友人と共に過ごす時間やレジャーおよび精神集中活動をユーザーがモニターするのを可能にする個人的時間に係る項目、(4)家庭の雑用のような仕事および家計活動をユーザーがモニターするのを可能にする責任に係る項目、に分けられる。
「毎日の活動」のカテゴリーにおいて、健康指標555の「毎日の活動」を示す棒グラフは、以下に述べる推奨される健康的な日課について表示することが好ましい。個人の衛生に関する日課の一例としては、ユーザーが毎日シャワーを浴びるか入浴し、毎日ブラシとフロスを用いて歯を清潔に保ち、規則的な便通を維持することが望ましい。また、健康維持に関する日課の一例としては、ユーザーが薬、ビタミン剤および/またはサプリメントを飲み、禁煙し、節酒し、健康マネージャーにより毎日、健康をモニターすることが望ましい。個人的時間に関する日課の一例としては、ユーザーが毎日少なくとも所定時間は家族と過ごす時間を創出し、および/または友人と良質な時間を過ごし、仕事を行う時間を減らし、レジャーまたは遊びの時間を取り入れ、頭を使う活動を行うことが望ましい。責任に関する日課の一例としては、ユーザーが家の雑事を行い、仕事に遅れず、約束を守ることが望ましい。棒グラフは、ユーザーが入力する情報により決定される、および/またはユーザーが毎日リストアップされた活動を完了する度合いに基づき計算される。
これらの活動に関する情報は、図21に示す毎日の活動ウェブページ730によりユーザーに提示される。毎日の活動ウェブページ730における活動チャート735は、ユーザーがその日課により必要とされることを実行したか否かを示す。活動チャート735は、下位概念のうちの1つまたはそれ以上について選択可能である。活動チャート735では、色または影がついたボックスは、必要とされる活動をユーザーが実行したことを示し、色または影のないボックスは、その活動をユーザーが実行していないことを示している。活動チャート735は、選択可能な時間インターバルにおいて作成し、見ることが可能である。図21は、特定の週における個人的衛生および個人的時間のカテゴリーを一例として示している。さらに、毎日の活動ウェブページ730は、ユーザーが関連のあるニュース記事、毎日の生活の活動に関する日課を改善するためのアドバイス、およびネットワーク上の関連の広告を直接チェックできるようにするハイパーリンク740と、関連の時間インターバルを選択するための毎日の活動のカレンダー745とを含むことができる。ハイパーリンク740に示す項目は、調査において個人から知り得た情報、および健康指標により決定される成績に基づき選択することができる。
健康指標555の「元気度」のカテゴリーは、特定の日に元気であったか否かの認識をユーザーがモニターするのを可能にするように設計され、ユーザーが直接入力する本質的に主観的な等級情報に基づくものである。ユーザーは、以下の9つの領域、即ち、(1)精神的鋭敏さ、(2)精神的および心理的幸福度、(3)エネルギーレベル、(4)人生のストレスへの対処能力、(5)対面を重んじる度合い、(6)物理的幸福度、(7)自己抑制、(8)動機、(9)他人との関係による慰め、に関して、好ましくは1から5までのスケールを用いてランク付けを行う。これらの度合い(等級)を平均して、健康指標555の棒グラフの計算に使用する。
図22は、元気度のウェブページ750を示す。元気度のウェブページ750は、連続または不連続の任意の日にちを含む、ユーザーが選択可能な時間インターバルにわたる元気度を、ユーザーがチェックできるようにする。なお、図22で示す例では、元気度を健康指数として表示している。元気度のウェブページ750では、元気度の選択ボックス760を用いることにより、ユーザーは、1つのカテゴリーについて元気度の棒グラフ755をチェックする選択を行うか、または2つのカテゴリー、またはそれ以上のカテゴリーについて元気度の棒グラフ755を並べて比較することができる。例えば、ユーザーは、前月と比べて総合的な睡眠の等級が改善されたか否かをチェックするために、睡眠の棒グラフだけを作動状態にしたい場合があるあるいは、睡眠と活動レベルとを同時に表示することにより、睡眠の等級とそれに対応する活動レベルの等級とを比較評価して、それぞれの日にちの間に何らかの相関関係が存在するか否かをチェックする場合がある。所定の時間インターバルについて栄養の等級と元気度の等級とを表示して、毎日の食事習慣とそのインターバルの間の食事習慣と元気度との間に何らかの相関関係が存在するか否かをチェックする場合がある。図22は、説明のための一例として、6月8日から6月14日の週の睡眠と活動レベルの棒グラフによる比較を示す。また、元気度のウェブページ750は、ユーザーがログインしてヘルスマネージャーを利用した日数の合計、ユーザーが入会以来ヘルスマネージャーを利用した日にちの割合、およびユーザーがデータを収集するためにセンサー装置を利用した時間の割合のようなアクセス情報、および統計を表示する追跡計算器765も含む。
図16に示すヘルスマネージャーの起点となるウェブページ550の一例は、それぞれが健康度としての健康指標555のカテゴリーに対応するユーザーにより選択可能な複数のカテゴリーの要約556aないし556fを含む。各カテゴリーの要約556aないし556fは、対応するカテゴリーに関して予め選択しフィルターをかけたデータの副集合を提示する。栄養カテゴリーの要約556aは、カロリー摂取量の毎日の目標値と実際値とを示す。活動レベルカテゴリーの要約556bは、燃焼カロリー量の毎日の目標値と実際値とを示す。精神集中の要約556cは、精神集中の深さの目標値および実際値を示す。睡眠カテゴリーの要約556dは、目標の睡眠時間、実際の睡眠時間、および睡眠の質の等級を示す。毎日の活動カテゴリーの要約556eは、推奨される健康的な日課(毎日の活動)に対する完了した活動の割合に基づく目標点数および実際点数を表示する。元気度のカテゴリーの要約556fは、その日の健康度の目標および実際の等級を示す。
また、ウェブページ550は、ニュース記事へのハイパーリンク(不図示)、最初の調査によりチェックされる栄養不良のような傾向に基づくユーザーへのコメント(不図示)、および合図(不図示)を含むこともできる。情報を毎日ユーザーに提供する毎日の日課部分557を含むこともできる。毎日の日課部分557のコメントとしては、例えば、毎日必要となる水の摂取量や、それを可能とする具体的手段のアドバイスなどを表示することができる。また、ウェブページ550は、健康指標555の各カテゴリーにおけるユーザーの成績を積極的に評価して改善のためのアドバイスを提示する問題解決セクション558を含むことができる。例えば、システムによりユーザーの睡眠レベルが「低」で、ユーザーが不眠症であることを示唆する場合、問題解決セクション558は睡眠を改善するための方法をアドバイスすることができる。また、問題解決セクション558は、成績の改善に関するユーザーの質問を含むことができる。また、ウェブページ550は、入力ダイアログボックスを立ち上げる毎日のデータセクション559を含むことができる。入力ダイアログボックスにより、ユーザーはヘルスマネージャーにより必要とされる種々のデータの入力を容易に行うことができる。当該技術分野において知られているように、データの入力は予め提示されたリストまたは普通の自由テキスト形式の入力かの選択が可能である。また、ウェブページ550は、ユーザーの身長、体重、体の測定値、BMI、および心拍数、血圧または任意の生理学的パラメーターのような生命兆候に関する情報を与える体の状態セクション561を含むことができる。
(受光部の変形例)
ここで、上述した受光部140の変形例について、図23を参照して説明する。図23は、受光部の変形例を示す部分断面図である。図23に示すように、基板160(センサー基板)に実装されている受光部140は、半導体の基板141に形成されたPN接合のダイオード素子142などにより実現できる。この場合に、受光角度を絞るための角度制限フィルターや受光素子に入射する光の波長を制限する波長制限フィルター(光学フィルター膜)148を、このダイオード素子142上に形成してもよい。なお、波長制限フィルター(光学フィルター膜)148は、例えばダイオード素子142側から第1酸化膜143、第1窒化膜144、第2酸化膜145、および第2窒化膜146の順に形成された構成とすることができる。なお、本受光部の変形例は、上述した実施形態のいずれにおいても適用可能である。
ここで、上述した受光部140の変形例について、図23を参照して説明する。図23は、受光部の変形例を示す部分断面図である。図23に示すように、基板160(センサー基板)に実装されている受光部140は、半導体の基板141に形成されたPN接合のダイオード素子142などにより実現できる。この場合に、受光角度を絞るための角度制限フィルターや受光素子に入射する光の波長を制限する波長制限フィルター(光学フィルター膜)148を、このダイオード素子142上に形成してもよい。なお、波長制限フィルター(光学フィルター膜)148は、例えばダイオード素子142側から第1酸化膜143、第1窒化膜144、第2酸化膜145、および第2窒化膜146の順に形成された構成とすることができる。なお、本受光部の変形例は、上述した実施形態のいずれにおいても適用可能である。
このような構成とすることにより、より少ない領域に波長制限フィルター(光学フィルター膜)148を設けることができ、より小型の生体情報測定モジュールおよび生体情報測定機器を提供することが可能となる。
(発光部の変形例)
次に、上述した発光部150の変形例について、図24を参照して説明する。図24は、発光部の変形例を示す部分断面図である。図24に示すように、基板160(センサー基板)に実装されている発光部150の周囲には、発光部150から周囲方向に射出された光を反射する反射機能層152が設けられている。なお、反射機能層152は、基板160の上面側から見た平面視で、発光部150の周囲を全周に亘って囲むように設けられていてもよいし、発光部150の周囲の少なくとも一部に設けられていてもよい。なお、本受光部の変形例は、上述した実施形態のいずれにおいても適用可能である。
次に、上述した発光部150の変形例について、図24を参照して説明する。図24は、発光部の変形例を示す部分断面図である。図24に示すように、基板160(センサー基板)に実装されている発光部150の周囲には、発光部150から周囲方向に射出された光を反射する反射機能層152が設けられている。なお、反射機能層152は、基板160の上面側から見た平面視で、発光部150の周囲を全周に亘って囲むように設けられていてもよいし、発光部150の周囲の少なくとも一部に設けられていてもよい。なお、本受光部の変形例は、上述した実施形態のいずれにおいても適用可能である。
このような構成とすることにより、発光部150の周囲方向に射出された光を、反射機能層152によって反射し、測定対象物に向かう光とすることができる。これにより、測定対象物に向かう光の強度(発光強度)を高めることができ、生体情報の測定精度を向上させるとともに安定化させることが可能となる。
なお、以上のように実施形態について詳細に説明したが、本発明の新規事項および効果から実体的に逸脱しない多くの変形が可能であることは当業者には容易に理解できるであろう。従って、このような変形例はすべて本発明の範囲に含まれるものとする。例えば、明細書又は図面において、少なくとも一度、より広義または同義な異なる用語と共に記載された用語は、明細書又は図面のいかなる箇所においても、その異なる用語に置き換えることができる。また生体情報測定モジュール、光検出ユニット、生体情報測定機器等の構成、動作も本実施形態で説明したものに限定されず、種々の変形実施が可能である。
10…バンド部、12…バンド穴、14…バックル部、15…バンド挿入部、16…突起部、30…ケース部、32…発光窓部、34…トップケース、35…端子部、36…ボトムケース、40…生体情報測定モジュールとしてのセンサー部、50…透光部材、52…凸部、54…溝部、56…凹部、58…押圧抑制部、70…遮光部としての遮光用部材、80(80a,80b)…絞り部、100…遮光部としての遮光壁、140…受光部、140a,150a…外周辺、150…発光部、151…集光部としてのドーム型レンズ、160…基板、170…体動センサー部、172…加速度センサー、180…振動発生部、200…処理部、210…信号処理部、212…体動ノイズ低減部、220…拍動情報演算部、230…報知制御部、240…記憶部、250…通信部、252…アンテナ、260…報知部、400…生体情報測定機器、410…手首、420…端末装置、430…表示部、D…間隔、D1,D3…第1の間隔、D2,D4…第2の間隔。
Claims (14)
- 対象物に対して光を射出する発光部と、
前記対象物によって反射された反射光を受光する受光部と、を含み、
前記発光部と前記受光部との間隔は、0.4mm以上1.7mm以下であることを特徴とする生体情報測定モジュール。 - 前記発光部と前記受光部との間隔は、0.6mm以上1.3mm以下であることを特徴とする請求項1に記載の生体情報測定モジュール。
- 前記発光部と前記受光部との間隔は、0.8mm以上1.0mm以下であることを特徴とする請求項1に記載の生体情報測定モジュール。
- 基板を有し、
前記発光部および前記受光部は、前記基板に支持されていることを特徴とする請求項1ないし請求項3のいずれか一項に記載の生体情報測定モジュール。 - 前記発光部の周囲の少なくとも一部には、前記発光部から射出された光を反射する反射機能層が設けられていることを特徴とする請求項1ないし請求項4のいずれか一項に記載の生体情報測定モジュール。
- 前記発光部と前記受光部との間には、遮光部が設けられていることを特徴とする請求項1ないし請求項5のいずれか一項に記載の生体情報測定モジュール。
- 前記遮光部は、樹脂または金属の少なくとも一方を含み設けられていることを特徴とする請求項6に記載の生体情報測定モジュール。
- 前記受光部の受光領域には、光学フィルター膜が設けられていることを特徴とする請求項1ないし請求項7のいずれか一項に記載の生体情報測定モジュール。
- 前記発光部と前記対象物との間に、前記発光部から射出される光を集光する集光部が設けられていることを特徴とする請求項1ないし請求項8のいずれか一項に記載の生体情報測定モジュール。
- 前記発光部は、複数設けられていることを特徴とする請求項1ないし請求項9のいずれか一項に記載の生体情報測定モジュール。
- 複数の前記発光部は、第1の発光部および第2の発光部を含み、
前記第1の発光部と前記受光部との間隔と、前記第2の発光部と前記受光部との間隔とが、同じであることを特徴とする請求項10に記載の生体情報測定モジュール。 - 複数の前記発光部は、第1の発光部および第2の発光部を含み、
前記第1の発光部と前記受光部との間隔と、前記第2の発光部と前記受光部との間隔とが、異なっていることを特徴とする請求項10に記載の生体情報測定モジュール。 - 前記第1の発光部と前記第2の発光部との間隔は、1.0mm以上4.9mm以下であることを特徴とする請求項10に記載の生体情報測定モジュール。
- 請求項1ないし請求項13のいずれか一項に記載の生体情報測定モジュールが搭載されていることを特徴とする生体情報測定機器。
Priority Applications (2)
| Application Number | Priority Date | Filing Date | Title |
|---|---|---|---|
| JP2015000108A JP2016123714A (ja) | 2015-01-05 | 2015-01-05 | 生体情報測定モジュール、および生体情報測定機器 |
| US14/987,585 US20160192841A1 (en) | 2015-01-05 | 2016-01-04 | Biological information measuring module and biological information measuring apparatus |
Applications Claiming Priority (1)
| Application Number | Priority Date | Filing Date | Title |
|---|---|---|---|
| JP2015000108A JP2016123714A (ja) | 2015-01-05 | 2015-01-05 | 生体情報測定モジュール、および生体情報測定機器 |
Publications (1)
| Publication Number | Publication Date |
|---|---|
| JP2016123714A true JP2016123714A (ja) | 2016-07-11 |
Family
ID=56285828
Family Applications (1)
| Application Number | Title | Priority Date | Filing Date |
|---|---|---|---|
| JP2015000108A Pending JP2016123714A (ja) | 2015-01-05 | 2015-01-05 | 生体情報測定モジュール、および生体情報測定機器 |
Country Status (2)
| Country | Link |
|---|---|
| US (1) | US20160192841A1 (ja) |
| JP (1) | JP2016123714A (ja) |
Cited By (1)
| Publication number | Priority date | Publication date | Assignee | Title |
|---|---|---|---|---|
| WO2018180668A1 (ja) * | 2017-03-31 | 2018-10-04 | 株式会社村田製作所 | 生体センサ |
Families Citing this family (7)
| Publication number | Priority date | Publication date | Assignee | Title |
|---|---|---|---|---|
| US11723579B2 (en) | 2017-09-19 | 2023-08-15 | Neuroenhancement Lab, LLC | Method and apparatus for neuroenhancement |
| US11717686B2 (en) | 2017-12-04 | 2023-08-08 | Neuroenhancement Lab, LLC | Method and apparatus for neuroenhancement to facilitate learning and performance |
| EP3731749B1 (en) | 2017-12-31 | 2025-07-09 | Neuroenhancement Lab, LLC | System for neuroenhancement to enhance emotional response |
| US12280219B2 (en) | 2017-12-31 | 2025-04-22 | NeuroLight, Inc. | Method and apparatus for neuroenhancement to enhance emotional response |
| US11364361B2 (en) | 2018-04-20 | 2022-06-21 | Neuroenhancement Lab, LLC | System and method for inducing sleep by transplanting mental states |
| CA3112564A1 (en) | 2018-09-14 | 2020-03-19 | Neuroenhancement Lab, LLC | System and method of improving sleep |
| US11786694B2 (en) | 2019-05-24 | 2023-10-17 | NeuroLight, Inc. | Device, method, and app for facilitating sleep |
Family Cites Families (4)
| Publication number | Priority date | Publication date | Assignee | Title |
|---|---|---|---|---|
| WO1989001144A1 (fr) * | 1987-07-24 | 1989-02-09 | Terumo Kabushiki Kaisha | Appareil servant a mesurer la concentration et la saturation en oxygene de l'hemoglobine |
| KR101506177B1 (ko) * | 2008-01-10 | 2015-03-26 | 삼성전자주식회사 | 생체 신호 측정 센서 및 그의 제조 방법 |
| JP5672709B2 (ja) * | 2010-02-04 | 2015-02-18 | セイコーエプソン株式会社 | 生体情報検出器、生体情報測定装置および生体情報検出器における反射部の設計方法 |
| US20120313201A1 (en) * | 2011-06-13 | 2012-12-13 | Intersil Americas LLC | Optical sensor devices including front-end-of-line (feol) optical filters and methods for fabricating optical sensor devices |
-
2015
- 2015-01-05 JP JP2015000108A patent/JP2016123714A/ja active Pending
-
2016
- 2016-01-04 US US14/987,585 patent/US20160192841A1/en not_active Abandoned
Cited By (4)
| Publication number | Priority date | Publication date | Assignee | Title |
|---|---|---|---|---|
| WO2018180668A1 (ja) * | 2017-03-31 | 2018-10-04 | 株式会社村田製作所 | 生体センサ |
| JPWO2018180668A1 (ja) * | 2017-03-31 | 2019-11-07 | 株式会社村田製作所 | 生体センサ |
| CN110475507A (zh) * | 2017-03-31 | 2019-11-19 | 株式会社村田制作所 | 生物体传感器 |
| US11432730B2 (en) | 2017-03-31 | 2022-09-06 | Murata Manufacturing Co., Ltd. | Biosensor |
Also Published As
| Publication number | Publication date |
|---|---|
| US20160192841A1 (en) | 2016-07-07 |
Similar Documents
| Publication | Publication Date | Title |
|---|---|---|
| JP5817943B1 (ja) | 生体情報測定モジュール、および生体情報測定機器 | |
| JP6609932B2 (ja) | 生体情報測定装置 | |
| US9808198B2 (en) | Biological information measuring device | |
| US20160242659A1 (en) | Pulse-wave measuring module, biological-information measuring module, and electronic device | |
| US20160198966A1 (en) | Biological information measuring module, biological information measuring apparatus, light detecting apparatus, light detecting module, and electronic apparatus | |
| JP2016140641A (ja) | 生体情報測定装置 | |
| JP2016123713A (ja) | 生体情報測定モジュール、および生体情報測定機器 | |
| JP2016123715A (ja) | 生体情報測定モジュール、および生体情報測定機器 | |
| JP2016123714A (ja) | 生体情報測定モジュール、および生体情報測定機器 | |
| JP2016144560A (ja) | ウェアラブル機器、生体情報測定装置、生体情報測定システム、および生体情報測定装置の充電方法 | |
| ES2260245T3 (es) | Sistema para controlar la salud, el bienestar y el ejercicio. | |
| ES2253393T3 (es) | Sistema para controlar la salud, el bienestar y el ejercicio. | |
| JP2016158701A (ja) | 生体情報測定モジュール、および生体情報測定機器 | |
| KR20220159430A (ko) | 건강 모니터링 장치 | |
| CN104602604A (zh) | 生物体信息处理系统、可穿戴装置、服务器系统、生物体信息处理系统的控制方法及程序 | |
| US20170112391A1 (en) | Apparatus for detecting human physiological and contextual information | |
| JP2016131604A (ja) | 生体情報測定システム、生体情報測定装置および生体情報測定方法 | |
| JP6056946B2 (ja) | 生体情報測定モジュール、および生体情報測定機器 | |
| JP5880747B1 (ja) | 脈波測定モジュール、および電子機器 | |
| US20220110547A1 (en) | Providing guidance during rest and recovery | |
| JP2016123717A (ja) | 生体情報測定モジュール、および生体情報測定機器 | |
| JP6128241B2 (ja) | 脈波測定モジュール、および電子機器 | |
| JP5850190B1 (ja) | 生体情報測定モジュール、および生体情報測定機器 | |
| JP2017140439A (ja) | 脈波測定モジュール、および電子機器 | |
| JP2016165331A (ja) | 生体情報測定モジュール、および生体情報測定機器 |