JP2016121968A - 試料積載プレート - Google Patents

試料積載プレート Download PDF

Info

Publication number
JP2016121968A
JP2016121968A JP2014263089A JP2014263089A JP2016121968A JP 2016121968 A JP2016121968 A JP 2016121968A JP 2014263089 A JP2014263089 A JP 2014263089A JP 2014263089 A JP2014263089 A JP 2014263089A JP 2016121968 A JP2016121968 A JP 2016121968A
Authority
JP
Japan
Prior art keywords
sample
layer
sample loading
substrate
loading plate
Prior art date
Legal status (The legal status is an assumption and is not a legal conclusion. Google has not performed a legal analysis and makes no representation as to the accuracy of the status listed.)
Granted
Application number
JP2014263089A
Other languages
English (en)
Other versions
JP6591160B2 (ja
Inventor
光教 宮本
Mitsunori Miyamoto
光教 宮本
鳥海 和宏
Kazuhiro Chokai
和宏 鳥海
Current Assignee (The listed assignees may be inaccurate. Google has not performed a legal analysis and makes no representation or warranty as to the accuracy of the list.)
Citizen Holdings Co Ltd
Citizen Fine Device Co Ltd
Original Assignee
Citizen Holdings Co Ltd
Citizen Fine Device Co Ltd
Priority date (The priority date is an assumption and is not a legal conclusion. Google has not performed a legal analysis and makes no representation as to the accuracy of the date listed.)
Filing date
Publication date
Application filed by Citizen Holdings Co Ltd, Citizen Fine Device Co Ltd filed Critical Citizen Holdings Co Ltd
Priority to JP2014263089A priority Critical patent/JP6591160B2/ja
Publication of JP2016121968A publication Critical patent/JP2016121968A/ja
Application granted granted Critical
Publication of JP6591160B2 publication Critical patent/JP6591160B2/ja
Active legal-status Critical Current
Anticipated expiration legal-status Critical

Links

Images

Classifications

    • HELECTRICITY
    • H01ELECTRIC ELEMENTS
    • H01JELECTRIC DISCHARGE TUBES OR DISCHARGE LAMPS
    • H01J49/00Particle spectrometers or separator tubes
    • H01J49/02Details
    • H01J49/04Arrangements for introducing or extracting samples to be analysed, e.g. vacuum locks; Arrangements for external adjustment of electron- or ion-optical components
    • H01J49/0409Sample holders or containers
    • H01J49/0418Sample holders or containers for laser desorption, e.g. matrix-assisted laser desorption/ionisation [MALDI] plates or surface enhanced laser desorption/ionisation [SELDI] plates

Landscapes

  • Physics & Mathematics (AREA)
  • Optics & Photonics (AREA)
  • Chemical & Material Sciences (AREA)
  • Analytical Chemistry (AREA)
  • Other Investigation Or Analysis Of Materials By Electrical Means (AREA)
  • Electron Tubes For Measurement (AREA)

Abstract

【課題】試料積載プレート上で試料が適正に濡れ広がることが可能な試料積載プレートを提供する。
【解決手段】基板110の表面に試料を積載するための試料積載領域137を備えた試料積載プレート100であって、前記基板100の表面には前記基板100の表面より高い疎水性を備えた疎水層122が形成され、前記疎水層122は前記試料積載領域137より小さく前記基板100表面が露出した複数の開口部1221を有する試料積載プレート100とする。
【選択図】図1

Description

本発明は、試料を積載する試料積載プレートとその製造方法に関する。
質量分析におけるイオン化法の1つとして、マトリックス支援レーザ脱離イオン化(Matrix Assisted Laser Desorption/Ionization:MALDI)が知られている。MALDIでは、レーザ光を吸収しにくい分析対象物や、レーザ光で損傷を受けやすいタンパク質などの分析対象物を分析するために、レーザ光を吸収しやすく且つイオン化しやすい物質(マトリックス)に分析対象物を分散させたものを試料とし、この試料にレーザ光を照射することで、試料(マトリックスおよび分析対象物)をイオン化する。
MALDIを用いた質量分析装置では、一般に、サンプルプレート(またはターゲットプレート)と呼ばれる金属製のプレート上に試料を配置し、プレート上に配置された試料に対してレーザ光を照射する。このとき、金属プレートには、レーザ光の照射に伴って生じたイオンを加速させるために、必要に応じて電圧が印加される。
公報記載の従来技術として、導電性を有するステンレス鋼からなる矩形プレートの第1表面に、合成ろう、天然のろう、脂質、有機酸、エステル、ケイ素オイル、もしくはシリカポリマー等の疎水性コーティングを施してなるサンプルプレートを、MALDI分析に用いることが記載されている(特許文献1参照)。
また、他の公報記載の従来技術として、導電性を有するステンレス鋼からなる基板における第一の表面の少なくとも一部に、疎水性コーティングおよびマトリックスと境界ポリマーとの薄膜混合物のコーティングを含む複合コーティングを施してなるサンプルプレートを、MALDI分析に用いることが記載されている(特許文献2参照)。
特表2005−536743号公報 特開2007−502980号公報
ところで、液状試料をサンプルプレート(試料積載プレート)に積載する場合、試料が試料積載プレート上で適正に濡れ広がり、かつ試料積載領域に安定的に滞留することが重要である。試料積載プレートの濡れ性が不適切な場合は、例えばMALDIを利用した質量分析においては、分析結果に誤差を生じる懸念がある。すなわち、試料積載プレート上で試料の濡れ広がりが大きい場合は、試料積載領域(分析領域)における試料の密度が減少し、レーザ照射により生じるイオン量が少なくなる。一方で、試料の濡れ広がりが小さい場合は、試料積載領域全体に試料が行き渡らないため、分析を適切に行えないといった問題が生じる。
本発明は、試料積載プレート上で試料が適正に濡れ広がることが可能な試料積載プレートを提供することを目的とする。
基板の表面に試料を積載するための試料積載領域を備えた試料積載プレートであって、前記基板の表面には、前記試料積載領域と等しい大きさの範囲内において、疎水面と親水面とが互いに連続した部位を有する試料積載プレートとする。
さらに、前記基板の表面には前記基板の表面より高い疎水性を備えた疎水層が形成され、前記疎水層は前記試料積載領域より小さく前記基板表面が露出した複数の開口部を有する試料積載プレートとする。
また、前記基板の表面には前記基板の表面より高い疎水性を備えた疎水層が島状に複数形成されている試料積載プレートとする。
さらに、前記基板と前記疎水層の間には下地層を有する試料積載プレートとする。
さらに、前記基板の表面には下地層を介して前記下地層より高い疎水性を備えた疎水層が形成され、前記疎水層は前記試料積載領域より小さく前記下地層が露出した複数の開口部を有することを特徴とする試料積載プレートとする。
また、前記基板の表面には下地層を介して前記下地層より高い疎水性を備えた疎水層が島状に複数形成されている試料積載プレートとする。
さらに、前記下地層は、光の干渉に伴って前記基板とは異なる色を呈する試料積載プレートとする。
さらに、前記下地層は、金属材料で構成される金属層と可視領域において透明な材料で構成される透明層とを積層して構成される試料積載プレートとする。
さらに、前記透明層が金属化合物で構成される試料積載プレートとする。
本発明によれば、積載された試料が分析領域内に過不足なく濡れ広がることが可能な試料積載プレートを提供することできる。
(a)、(b)は、本発明の実施の形態が適用される試料積載プレートの全体構成例を示した図である。 試料積載プレートの層構成を説明するための断面図である。 (a)、(b)は、試料積載プレートにおける導電干渉層の構成例を説明するための図である。 (a)〜(c)は、試料積載プレートにおける、1つのアイランドマーク周辺の構成を説明するための図である。 MALDI−TOFMS装置の構成例を示す図である。
以下、添付図面を参照して、本発明の実施の形態について詳細に説明する。
<試料積載プレートの構成>
図1は、本実施の形態が適用される試料積載プレート100の全体構成例を示す図である。ここで、図1(a)は試料を積載する側から試料積載プレート100をみた上面図であり、図1(b)は図1(a)におけるIB−IB断面図である。
本実施の形態の試料積載プレート100は、分析対象物を含む試料200(後述する図4参照)を積載した状態で、MALDI−TOFMS(Matrix Assisted Laser Desorption/Ionization - Time of Flight Mass Spectrometry:マトリックス支援レーザ脱離イオン化−飛行時間型質量分析)装置1(後述する図5参照)に装着され、使用される。
この試料積載プレート100は、表面および裏面を有することで板状に形成された基板110と、基板110の表面を覆うように積層されるとともに、その一部には複数の溝130が形成されてなる積層膜120とを備えている。
ここで、試料積載プレート100を構成する基板110は、図1(a)に示すように、横長の長方形において下方に位置する2つの角部を、それぞれ長方形状に打ち抜いた形状を有している。これを別の観点からみれば、基板110は、それぞれが横長となる長方形を、縦に2つ並べた形状を有しているともいえる。そして、試料積載プレート100において、積層膜120は、溝部130の形成部位を除いた基板110の表面を覆うようになっている。なお、この例において、基板110の裏面には、積層膜120等が設けられておらず、基板110の裏面の全体が外部に露出するようになっている。
また、図1(b)に示すように、試料積載プレート100のうち積層膜120に対して溝部130が形成されている部位には、基板110の表面が外部に露出するようになっている。この例において、溝130の幅は数十μm〜数百μmとなっている。
そして、本実施の形態の試料積載プレート100では、積層膜120に形成される複数の溝部130によって、基板110における表面側に、図1(a)に示す各種マーキングが施されている。
より具体的に説明すると、まず、試料積載プレート100の表面側且つ中央部には、複数の溝部130によって、それぞれがC字状の形状を有するアイランドマーク131が、縦6行×横8列(合計48個)に並べて形成されている。本実施の形態の試料積載プレート100において、各アイランドマーク131の直径は2mmであり、縦あるいは横に隣接する2つのアイランドマーク131同士の間隔も2mmである。試料積載プレート100の表面であり、C字状のアイランドマーク131に囲まれた領域(C字を形成する溝部130に囲まれた領域)は、試料積載プレート100に試料200(後述する図4参照)を積載する試料積載領域137として機能する。
また、試料積載プレート100の表面側において、6行×8列に並べられた複数のアイランドマーク131の左側には、複数の溝部130によって、各アイランドマーク131の行位置を示す行アドレスマーク132が形成されている。なお、この例においては、1行目〜6行目のそれぞれに対し、行アドレスとして、アルファベットの「A」〜「F」がそれぞれ付されている。
さらに、試料積載プレート100の表面側において、6行×8列に並べられた複数のアイランドマーク131の上側には、複数の溝部130によって、各アイランドマーク131の列位置を示す列アドレスマーク133が形成されている。なお、この例においては、1列目〜8列目のそれぞれに対し、列アドレスとして、アラビア数字の「1」〜「8」がそれぞれ付されている。
また、試料積載プレート100の表面側において、6行×8列に並べられた複数のアイランドマーク131の下方左側には、複数の溝部130によって、この試料積載プレート100に付与されたシリアルナンバー134(この例では「000535」)が形成されている。さらに、試料積載プレート100の表面側において、6行×8列に並べられた複数のアイランドマーク131の下方右側には、複数の溝部130によって、この試料積載プレート100に付与されたコードを含むバーコード135が形成されている。
さらにまた、試料積載プレート100の表面側において、6行×8列に並べられた複数のアイランドマーク131のうち、四隅となる部位の近傍および中央部の5カ所には、複数の溝部130によって、それぞれが十字状の形状を有し、後述するMALDI−TOFMS装置1(図5参照)において試料積載プレート100を位置決めする際の目印となるアライメントマーク136が形成されている。
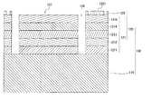
図2は、図1に示す試料積載プレート100の層構成を説明するための断面図(図1(b)の要部拡大図)である。
上述したように、本実施の形態の試料積載プレート100は、基板110と、基板110の表面を覆うように積層されるとともに、その一部には複数の溝130が形成されてなる積層膜120とを有している。
ここで、基板110は、絶縁性を有するセラミックス材料によって構成される。なお、本実施の形態では、基板110が純度96%程度のアルミナセラミックスにて構成されており、その厚さは800μmであって、その表面および裏面の平坦性は5μm以下となっている。ただし、この例では、基板110がセラミックス材料によって構成されていることから、基板110の表面および裏面には、セラミックス(アルミナ)の粒および粒界の存在に起因する微少な凹凸が存在している。そして、基板110は、太陽光等の白色光を照射した際に、白色を呈するようになっている。
また、積層膜120は、導電性を有するとともに白色光を照射した際に光干渉により所定の色を呈するように構成され、基板110の上に積層される導電干渉層(下地層)121と、導電干渉層121の表面よりも高い疎水性を有するとともに導電干渉層121の上に積層される疎水層122とを有している。ここで、疎水層122は、試料積載領域137には形成されておらず、試料積載領域137は導電干渉層121が露出した状態である。
また、積層膜120の試料積載領域137を除く領域に形成された疎水層122には、導電干渉層121が露出したマイクロホール(開口部)1221が複数形成されている。
そして、本実施の形態の導電干渉層121は、導電性を有する金属材料で構成されるとともに基板110の上に積層される第1金属層1211と、可視領域において透明な無機材料で構成されるとともに第1金属層1211の上に積層される第1透明層1212と、導電性を有する金属材料で構成されるとともに第1透明層1212の上に積層される第2金属層1213と、可視領域において透明な無機材料で構成されるとともに第2金属層1213上に積層される第2透明層1214と、導電性を有する金属材料で構成されるとともに第2透明層1214の上に積層される第3金属層1215とを備える。
ここで、導電干渉層121を構成する第1金属層1211、第1透明層1212、第2金属層1213、第2透明層1214および第3金属層1215の各構成は、要求される導電性および呈すべき色に応じて、適宜設計変更することができる。ただし、導電干渉層121が呈すべき色は、白色、灰色および黒色などの無彩色を除いた有彩色(赤色、橙色、黄色、緑色、青色、藍色、紫色など)であることが好ましい。
なお、本実施の形態においては、第1金属層1211、第2金属層1213および第3金属層1215が金属層としての機能を有しており、第1透明層1212および第2透明層1214が金属化合物層あるいは透明層としての機能を有している。
また、本実施の形態の疎水層122は、Si(シリコン)、C(炭素)およびF(フッ素)を含む疎水材によって構成されている。疎水層122を構成する疎水材の水の接触角は130°となっており、疎水層122の厚さは1nm〜2nm程度である。なお、本実施の形態では、上述した基板110や導電干渉層120の各層が、この疎水層122よりも親水性が高く設定されたものによって構成されていることになる。
次に導電干渉層121の構成例を説明する。図3は、上記導電干渉層121の構成例を説明するための図である。ここで、図3(a)は濃紺色を呈する導電干渉層121が得られる第1の構成例を、図3(b)は青色を呈する導電干渉層121が得られる第2の構成例を、それぞれ示している。
図3(a)に示す第1の構成例において、第1金属層1211はNi(ニッケル)で構成されるとともに、その厚さは80nmに設定される。また、第1透明層1212はAl(アルミナ)で構成されるとともに、その厚さは80nmに設定される。さらに、第2金属層1213はTi(チタン)で構成されるとともに、その厚さは10nmに設定される。さらに、第2透明層1214はSiO(シリカ)で構成されるとともに、その厚さは90nmに設定される。さらにまた、第3金属層1215はTi(チタン)で構成されるとともに、その厚さは10nmに設定される。
一方、図3(b)に示す第2の構成例において、第1金属層1211はAl(アルミニウム)で構成されるとともに、その厚さは100nmに設定される。また、第1透明層1212はTiO(チタニア)で構成されるとともに、その厚さは70nmに設定される。さらに、第2金属層1213はNi(ニッケル)で構成されるとともに、その厚さは10nmに設定される。さらに、第2透明層1214はSiO(シリカ)で構成されるとともに、その厚さは140nmに設定される。さらにまた、第3金属層1215はTi(チタン)で構成されるとともに、その厚さは10nmに設定される。
本実施の形態では、導電干渉層121として、金属層(より具体的には第1金属層1211、第2金属層1213および第3金属層)および透明層(より具体的には第1透明層1212および第2透明層1214)の積層構造を採用することで、外部から入射してくる光(白色光)のうちの特定の波長を、光干渉によって反射するようになっている。ここで、光干渉の度合い(どの波長の光を反射するか)は、導電干渉層121を構成する各層の構成材料(屈折率)および厚さの、相互関係によって決まる。これにより、図3(a)に示す第1の構成例を採用した導電干渉層121は濃紺色を呈することとなり、図3(b)に示す第2の構成例を採用した導電干渉層121は青色を呈することになる。したがって、導電干渉層121の積層構造(構成材料(屈折率)および厚さ)を適宜変更することにより、所望の色(有彩色)を呈する導電干渉層121を得ることが可能になる。
また、本実施の形態では、試料積載プレート100が、白色を呈するアルミナセラミックスで構成される基板110の上に、有彩色(例えば上述した濃紺色あるいは青色)を呈する積層膜120を積載して構成されており、積層膜120に対し溝部130が形成された部位には、基板110が露出している。このため、各溝部130によって試料積載プレート100に形成されるアイランドマーク131、行アドレスマーク132、列アドレスマーク133、シリアルナンバー134、バーコード135およびアライメントマーク136(すべて図1参照)は白色を呈することになり、有彩色を呈する積層膜120とのコントラストによって、これら各マーキングの視認性が高められている。
なお、図3(a)、(b)に示す例では、導電干渉層121を構成する第1金属層1211と第2金属層1213とを、異なる金属材料にて構成していたが、これに限られるものではなく、同じ金属材料で構成してもかまわない。また、図3(a)、(b)に示す例では、導電干渉層121を構成する第1金属層1211と第2金属層1213および第3金属層1215とを、それぞれ単一金属(純金属)で構成するようにしていたが、これに限られるものではなく、それぞれを合金で構成するようにしてもかまわない。
さらに、図3(a)、(b)に示す例では、導電干渉層121を構成する第1透明層1212と第2透明層1214とを、異なる無機材料にて構成していたが、これに限られるものではなく、同じ無機材料で構成してもかまわない。さらにまた、図3(a)、(b)に示す例では、導電干渉層121を構成する第1透明層1212と第2透明層1214とを、それぞれ金属酸化物で構成するようにしていたが、これに限られるものではなく、いずれか一方あるいは両方を金属窒化物や金属フッ化物などの無機材料で構成するようにしてもかまわない。そして、図3(a)、(b)に示す例では、導電干渉層121を構成する第1透明層1212と第2透明層1214とを、絶縁性を有する材料で構成していたが、これに限られるものではなく、いずれか一方あるいは両方をITO(酸化インジウムチタン)などの導電性を有する無機材料にて構成するようにしてもかまわない。
次に、本実施の形態のマイクロホール1221について説明する。マイクロホール1221は、疎水層122に形成された開口部であり、マイクロホール1221からは導電干渉層121を構成する第3金属層1215が露出している。マイクロホール1221の大きさは、試料積載領域137より小さく形成され、本実施の形態では、試料積載領域137がφ2.5mmに対しφ1μmに形成されている。また、マイクロホール1221は試料積載領域137に複数配置されており、試料積載領域137の大きさの範囲内において、マイクホール1221と疎水層122の面積比がおよそ3:7になるよう設定されている。
マイクロホール1221と疎水層122の面積比は、マイクロホール1221と疎水層137を含む領域に試料200が積載されたときに試料200に対して適当な濡れ性となるよう設定されたものであり、マイクロホール1221を含む疎水層122の濡れ性は、疎水層122とマイクロホール1221から露出した第3金属層1215のそれぞれの濡れ性とその面積比により決定される。本実施の形態においては、疎水層122を構成する疎水材の水の接触角130°、第3金属層1215の水の接触角70°であり、マイクホール1221と疎水層122の面積比をおよそ3:7とすることで、マイクロホール1221を含む疎水層122の水の接触角は112°となっている。
なお、本実施の形態では、マイクロホール1221からは導電干渉層121を構成する第3金属層1215が露出した構成としていたが、これに限られるものではなく、例えばマイクロホール1221が形成された部位の導電干渉層121の第3金属層1215が除去され、第2透明層1214や第2金属層1213、第1透明層1212、第1金属層1211が露出した構成としてもかまわない。また、本実施の形態では、疎水層122の下地層として導電干渉層121を構成しているが、下地層を構成する導電干渉層121を設けずに基板110上に直接疎水層122を形成するようにしても構わない。この場合、疎水層122に形成したマイクロホール1221からは、基板110の表面が露出した構成となる。
図4は、図1に示す試料積載プレート100における、1つのアイランドマーク131周辺の構成を説明するための図である。ここで、図4(a)は試料を積載する側から試料積載プレート100をみた上面図であり、図4(b)は図4(a)におけるIVB−IVB断面図であり、図4(c)は図4(a)におけるIVC−IVC断面図である。なお、図4には、試料積載プレート100に積載される試料200も、併せて示している。
本実施の形態の試料積載プレート100において、積層膜120は、C字状に形成された溝130によって得られたアイランドマーク131の内側に位置する試料積載部137と、アイランドマーク131の外側に位置することによって試料積載部137を包囲する包囲部138とを有している。積層膜120に対してアイランドマーク131がC字状に形成されていることにより、試料積載部137と包囲部138とは、完全に分断されているわけではなく、一部において一体化した(連結した)状態を維持している。なお、この例において、1つの試料積載プレート100には、48個のアイランドマーク131が形成されている(図1参照)ことから、試料積載部137も48個存在している。そして、この試料積載プレート100には、積載領域の一例としての48個の試料積載部137のそれぞれに対して、試料200が積載され得るようになっている。
<試料>
ではここで、本実施の形態の試料積載プレート100に積載される試料200について説明しておく。
後述するMALDI−TOFMS装置1(図5参照)が採用するMALDI(Matrix Assisted Laser Desorption/Ionization:マトリックス支援レーザ脱離イオン化)では、特定波長(例えば紫外)で発振するレーザを特異的に吸収するマトリックス中に、分析対象物を分散させ且つ固化させたものを試料200として用いる。ここで、分析対象物としては、生体から取り出された血液、唾液、痰あるいは尿等の検体や、各種有機化合物等が挙げられる。
また、MALDIにおいて、紫外線レーザを用いる場合に使用されるマトリックスとしては、SA(sinapinic acid)、CHCA(α-cyano-4-hydroxycinnamic acid)、DHBA(2,5-dihydroxybenzoic acid)、HABA(2-(4-hydroxy phenylazo) benzoic acid)等が挙げられる。
なお、ここでは、試料200が、分析対象物とマトリックスとを含むものとして説明を行ったが、必要に応じて、試料200に、さらにイオン化助剤を添加することもできる。
<試料積載プレートに対する試料の積載方法>
続いて、試料積載プレート100に対する試料200の積載方法について説明を行う。
ここでは、まず、溶媒とマトリックスと分析対象物とを混合してマトリックス中に分析対象物を分散させることにより、液体状の試料200を準備する。液体状の試料200の作製においては、分析対象物に対してマトリックスを過剰に供給する。ここで、マトリックスは白色を呈するものであるため、得られる試料200も白色を呈するようになっている。
なお、本実施の形態では、1つの試料積載プレート100に48個の試料積載部137が設けられており、各試料積載部137に対しそれぞれ試料200を積載することが可能である。したがって、1つの試料積載プレート100に対し、分析対象物が異なる試料200を、最大で48種類積載することができる。
次に、積層膜120が上方を向くように試料積載プレート100を設置する。そして、試料積載プレート100における各試料積載部137に対し、液体状の試料200を供給する。このとき、供給先となる試料積載部137は、有彩色を呈する試料積載部137に対応して設けられた、白色を呈するアイランドマーク131(溝130)によって、その判別が容易になっている。なお、液体状の試料200は、例えば滴下によって試料積載部137に供給してもよいし、例えば塗布によって試料積載部137に供給してもかまわない。
試料積載部137に供給された液体状の試料200は、重力の影響により、試料積載部137の面に沿って放射状に広がろうとする。ここで、本実施の形態では、試料積載部137と包囲部138との間に位置する箇所に、溝130によるアイランドマーク131が形成されている。このため、試料積載部137から包囲部138へと向かう試料200は、包囲部138に到達する前に溝130の内部へと入り込み、溝130の底となる部位すなわち基板110が露出する部位へと到達する。このとき、本実施の形態では、基板110及び試料積載領域138の表面を形成する第3金属層は親水性であるので、試料200は試料積載領域137と溝130の内部に速やかに濡れ広がり、試料積載領域137と溝130の内部に行き渡る。
また、アイランドマーク131に濡れ広がった試料200は、包囲部138へ到達する。包囲部138はマイクロホール1221を有する疎水層122で構成されているので、マイクロホール1221を含む疎水層122により試料200の放射状の広がりを抑止しようとする力と試料200が放射状に広がろうとする力とが釣り合うところまで試料200は濡れ広がる。ここで、試料200が疎水層122上で必要以上に濡れ広がると、隣接する試料積載領域137に積載された試料200同士の接触や、試料積載領域137における試料200の密度の低下などの課題が発生する。本実施の形態では、この試料200の濡れ広がりを適切な範囲とするため、疎水層122にマイクロホール1221が形成されている。マイクロホール1221の大きさや間隔を、疎水層122やマイクロホール1221から露出する導電干渉層122の材質に応じて適宜設定することで、マイクロホール1221を含む疎水層122の濡れ性を調整することができ、前記課題を防止することが可能である。
そして、試料積載プレート100に対し、必要数の試料200の供給が終了した後、試料積載プレート100における各試料積載部137に積載された各試料200を乾燥、固化させる。試料積載プレート100上で固化した各試料200は、引き続き白色を呈するものとなっている。
以上により、試料積載プレート100に対する各試料200の積載(固定)が完了する。
<試料積載プレートの製造方法>
次に、図1等に示す試料積載プレート100の製造方法について説明する。
(基板形成工程)
最初に、基板110の形成を行う。具体的に説明すると、図1に示す形状に予め成型、焼成された基板110の母材に対し、その表面のおよび裏面に対する研磨を行い、厚さを800μmとし且つ平坦性を5μm以下に設定した基板110を得る。
(積層膜形成工程)
次に、上記基板形成工程によって得られた基板110の表面に対し、導電干渉層121および疎水層122を含む積層膜120を形成する。なお、この例において、第1金属層1211、第1透明層1212、第2金属層1213、第2透明層1214および第3金属層1215を含む導電干渉層121と、疎水層122とは、複数の蒸着源を搭載可能な電子ビーム蒸着装置を用いることで、1バッチのプロセスにて順次積層されるようになっている。
具体的に説明すると、積層膜形成工程のうち、導電干渉層121を形成するプロセスでは、図示しないチャンバ内に配置された基板110の表面に対し、各層に対応する金属材料を蒸着源とし、第1金属層1211、第2金属層1213および第3金属層1215については高真空中で、また、第1透明層1212および第2透明層1214については酸素雰囲気中で、それぞれ電子ビーム蒸着を行うことにより、順次、目的とする各層を得る。
また、積層膜形成工程のうち、疎水層122を形成するプロセスでは、図示しないチャンバ内に配置されるとともに、上記プロセスによって基板110の表面に既に形成済となっている導電干渉層121(より詳細には第2透明層1214)の露出面に対し、Si(シリコン)、C(炭素)およびF(フッ素)を含む疎水材をスチールウールに含ませたものを蒸着源とし、高真空中で電子ビーム蒸着を行う。そして、スチールウールから蒸発した疎水材が第3金属層1215の上に付着することにより、目的とする疎水層122を得る。なお、積層膜形成工程においては、必要に応じて、基板110を加熱することも可能である。以上により、基板110における表面の全面にわたって、積層膜120が形成される。
(溝形成工程)
続いて、上記被覆層形成工程により、基板110の表面に形成された積層膜120に対し、Nd−YAGレーザ(発振波長:1054nm)の2次高調波(532nm)を用いて、その照射位置を順次移動させていくことで、溝130の形成を行う。このとき、照射されたレーザによって積層膜120が除去され、基板110の表面が外部に露出する溝130が形成されるように、レーザのパワーや照射時間等が決められる。
そして、基板110の表面に形成された積層膜120に対し、上記プロセスによって複数の溝130を順次形成していく。その結果、基板110上に積層された積層膜120には、複数の溝130によって、アイランドマーク131、行アドレスマーク132、列アドレスマーク133、シリアルナンバー134、バーコード135およびアライメントマーク136が設けられる。
(試料積載領域、マイクロホール形成工程)
続いて、試料積載領域137およびマイクロホール1221が形成される箇所を除く疎水層122上に、金属やセラミックスで作製されたマスクを設置し、真空中でO、Arおよびその混合プラズマに疎水層122を曝露することで疎水層122の除去を行い、第3金属層1215を露出させ試料積載領域137およびマイクロホール1221を形成する。この時、金属やセラミックスで作製されたマスクはフォトレジスト等で代替えすることも可能である。
<MALDI−TOFMS装置の構成>
図5は、MALDI−TOFMS装置1の構成例を示す図である。
このMALDI−TOFMS装置1は、分析対象物を含む試料200を、MALDI(Matrix Assisted Laser Desorption/Ionization)によってイオン化するとともに、試料200をイオン化して得られた各イオンを、TOFMS(Time of Flight Mass Spectrometry)によって時間的に分離して検出する方式を採用した質量分析装置である。
このMALDI−TOFMS装置1は、試料200が積載された試料積載プレート100を保持するプレート保持部10と、プレート保持部10に保持された試料積載プレート100に積載された試料200にレーザ光を照射するレーザ光源20と、レーザ光の照射に伴って試料200から脱離した、試料200をイオン化して得られた各イオンの飛行経路となる飛行空間を形成することで、各イオンの質量分離を行う質量分離部30と、質量分離部30における飛行空間を経て到達した各イオンを時系列的に検出する検出部40とを備える。
これらのうち、プレート保持部10は、基板110の裏面側を介して試料積載プレート100を搭載するとともに、図5に示すx方向およびx方向に直交するy方向に移動可能に設けられた可動基部11と、それぞれがフック状の形状を有し且つ可動基部11に取り付けられるとともに可動基部11に搭載された試料積載プレート100を挟み込んで保持するクランプ12とを備える。ここで、各クランプ12の自由端側は、可動基部11上に試料積載プレート12を搭載した状態で、試料積載プレート100における試料200の積載面側すなわち積層膜120(図1参照)と接触するようになっている。
本実施の形態において、プレート保持部10を構成する可動基部11およびクランプ12は、ともに導電性を有する金属材料で構成されている。そして、プレート保持部10には、図示しない電源より、可動基部11を介して第1電圧V1が印加されるようになっている。したがって、可動基部11に印加される第1電圧V1は、クランプ12を介して、試料積載プレート100に設けられた積層膜120にも伝達されるようになっている。また、本実施の形態において、プレート保持部10は、可動基部11を介してx方向およびy方向に移動することにより、レーザ光源20からのレーザの照射位置(測定対象位置)に存在する試料200を変更できるようになっている。
次に、レーザ光源20は、パルス発振にて動作する紫外レーザの1種である窒素ガスレーザ(発振波長:337nm)にて構成される。なお、レーザ光源20の発振波長は、試料200を構成するマトリックスの吸収波長に応じて変わり得る。したがって、試料200を構成するマトリックスの種類によっては、窒素ガスレーザとは異なる別のレーザを用いることもあり得る。
さらに、質量分離部30は、プレート保持部20に対向して配置される第1グリッド31と、第1グリッド31に対向して配置される第2グリッド32と、第2グリッド32と検出部40とに対向して配置されるエンドプレート33とを備える。ここで、これら第1グリッド31、第2グリッド32およびエンドプレート33は、それぞれ、金属製の枠体に金属製のグリッドを装着して構成されており、レーザ光源20からのレーザの照射位置に存在する試料200からみて、z方向(x方向とy方向とに直交する方向)の下流側に配置されている。そして、第1グリッド31には、図示しない電源により、第2電圧V2が印加されるようになっている。一方、第2グリッド32およびエンドプレート33は接地されている。
さらにまた、検出部40は、エンドプレート33に対向し、レーザ光源20からのレーザの照射位置に存在する試料200からみて、質量分析部30よりもさらにz方向の下流側に配置されている。
なお、特に図示はしていないが、MALDI−TOFMS装置1において、試料積載プレート100を保持したプレート保持部10、質量分離部30および検出部40は、通常、高真空に設定されたチャンバの内部に配置されるようになっており、飛行空間においてガスの粒子等が飛行の障害とはならないようにされる。
<MALDI−TOFMS装置による質量分析動作>
では、図5に示すMALDI−TOFMS装置1による質量分析動作について、簡単に説明を行う。
質量分析動作を開始する前の状態において、プレート保持部10には、各試料200を積載した試料積載プレート100が取り付けられる。そして、試料積載プレート100を装着した状態で、プレート保持部10の可動基部10をx方向およびy方向に移動させることで、分析の対象となる試料200を測定対象位置に配置する。
また、質量分析動作を開始する前の状態において、プレート保持部10に印加される第1電圧V1、および、質量分離部30における第1グリッド31に印加される第2電圧V2を、同じ大きさ(≠0)に設定する。
そして、質量分析動作の開始に伴い、レーザ光源20から測定対象位置に存在する試料200に向けてレーザ光を照射する。すると、レーザ光が照射された試料200においては、試料200におけるマトリックスがレーザ光を吸収することに伴い、試料200を構成するマトリックスおよび分析対象物がともにイオン化し、z方向に向かって飛行し始める。
このとき、試料積載プレート100を保持するプレート保持部10とプレート保持部10に対向して配置される第1グリッド31とには、上述したように同じ大きさの電圧(第1電圧V1=第2電圧V2)が供給されている。そして、プレート保持部10の可動基部11に印加される第1電圧V1は、クランプ12を介して試料積載プレート100に設けられた積層膜120にも供給される。ここで、積層膜120には、導電性を有する第1金属層1211、第2金属層1213および第3金属層1215(図2参照)が設けられていることから、積層膜120の電位と、積層膜120に対向する第1グリッド31との電位差がほぼ0となる。その結果、積層膜120が設けられた試料積載プレート100側から第1グリッド31側へとz方向に飛行する各イオンは、電位差による加速がなされない状態で移動していく。
次に、プレート保持部10に供給する第1電圧V1と第1グリッド31に供給する第2電圧V2とに差をつける。なお、飛行するイオンが正に帯電するものである場合には、第1電圧V1>第2電圧V2とし、飛行するイオンが負に帯電するものである場合には、第1電圧V1<第2電圧V2とする。すると、プレート保持部10(積層膜120)と第1グリッド31との間をz方向に沿って飛行するイオンは、両者間の電位差によって加速された状態となり、さらに第2グリッド32およびエンドプレート33を通過して、検出部40へと到達する。
その際、例えば分子量が小さく軽いイオンは、より短い飛行時間にて検出部40に到達することになるが、例えば分子量が大きく重いイオンは、より長い飛行時間にて検出部40に到達することになる。すなわち、飛行するイオンの重さ(分子量の大きさ)に応じて、検出部40に到達する時間が変化することになる。そして、検出部40による検出結果は、図示しない解析装置(例えばコンピュータ装置)へと出力され、この解析装置により、試料200を構成する分析対象物に関する質量分析が行われることになる。
本実施の形態では、試料積載プレート100を構成する基板110として絶縁性を有するセラミックス材料を用いているので、プレート保持部10から基板110を介して、試料積載プレート100に積載される試料200に電圧を印加することは困難となっている。そこで、本実施の形態では、基板110上に形成されるとともに試料200を積載する対象となる積層膜120(より具体的には導電干渉層121)に導電性を持たせることで、試料200に対する電圧の印加を可能としている。
また、本実施の形態では、試料積載プレート100に設けられた積層膜120のうち、アイランドマーク131の内側となる試料積載部137に、試料200を積載している。ただし、上述したように、アイランドマーク131をC字状とすることで、試料積載部137と包囲部120aとを一体化しているので、試料200を積載する試料積載部137にも、第1電圧V1が印加されることになる。
そして、本実施の形態では、試料積載プレート100に設けられた積層膜120の導電干渉層121に、有彩色を呈する機能と導電性を有する機能とを持たせるようにしたので、例えば両者を別々に設ける場合と比較して、試料積載プレート100の構成を簡略化することが可能になる。
また、本実施の形態では、試料積載プレート100における基板として、金属板ではなく、セラミックスで構成された板を採用した。これにより、本実施の形態の試料積載プレート100は、曲げ力やねじれ力に伴う変形が生じにくくなっている。それゆえ、本実施の形態の試料積載プレート100は、基板110上に形成される積層膜120の平坦性を、長期にわたって維持することが可能となる。また、本実施の形態の試料積載プレート100を保持プレート10に装着した際の、試料積載プレート100の変形も抑制されることになる。
なお、本実施の形態では、基板110上に積層膜120を形成し、積層膜120を構成する疎水層122にマイクロホール1221を形成したが、疎水層122にマイクロホール122を形成するかわりに、導電干渉層121上に疎水層122を島状に形成した構成としてもよい。この場合、島状の疎水層122は試料積載領域137と等しい大きさの範囲内に少なくとも一つ配置する構成とし、試料積載プレート100の表面は、試料積載プレート100に積載される試料200に対し、疎水層122による疎水面と導電干渉層121が露出した親水面とにより適当な濡れ性とすることができる。
また、本実施の形態では、試料積載領域137の表面に疎水層122を設けない構成としたが、試料積載領域137の表面に疎水層122を設ける構成としてもよい。この場合、試料積載領域137の表面の疎水層122にマイクロホール1221を形成してもよく、例えば、試料積載領域137上のマイクロホール1221と疎水層122の面積比と包囲部138上のマイクロホール1221と疎水層122の面積比とが異なる構成とすれば、同じ疎水層122が形成された面である試料積載領域137と包囲部138とにおいてもそれぞれ異なる濡れ性を持つ面を実現することが可能である。
また、本実施の形態では、基板110としてアルミナセラミックスを用いていたが、これに限られるものではない。
また、本実施の形態では、電子ビーム蒸着法を用いて、積層膜120を構成する各層の形成を行うようにしていたが、これに限られるものではなく、他の成膜法を用いてもかまわない。
また、本実施の形態では、溝130の底部において基板110の表面が露出した構造としたが、積層膜120を構成する各層のいずれかを溝130の底部として露出させた構成してもかまわない。
さらに、本実施の形態では、レーザ加工法を用いて試料積載プレート100に溝130を形成するようにしていたが、これに限られるものではなく、他の手法を用いた形成を行ってもかまわない。
また、本実施の形態では、MALDIに用いるサンプルプレートとして試料積載プレート100を説明したが、これに限られるものではなく、液状の試料を積載するためのプレートに広く活用することができる。
1…MALDI−TOFMS装置、10…プレート保持部、20…レーザ光源、30…質量分離部、40…検出部、100…試料積載プレート、110…基板、120…積層膜、121…導電干渉層、122…疎水層、130…溝、131…アイランドマーク、132…行アドレスマーク、133…列アドレスマーク、134…シリアルナンバー、135…バーコード、136…アライメントマーク、137…試料積載部、138…包囲部、200…試料、1211…第1金属層、1212…第1透明層、1213…第2金属層、1214…第2透明層、1215…第3金属層

Claims (9)

  1. 基板の表面に試料を積載するための試料積載領域を備えた試料積載プレートであって、
    前記基板の表面には、前記試料積載領域と等しい大きさの範囲内において、疎水面と親水面とが互いに連続した部位を有することを特徴とする試料積載プレート。
  2. 前記基板の表面には前記基板の表面より高い疎水性を備えた疎水層が形成され、前記疎水層は前記試料積載領域より小さく前記基板表面が露出した複数の開口部を有することを特徴とする請求項1に記載の試料積載プレート。
  3. 前記基板の表面には前記基板の表面より高い疎水性を備えた疎水層が島状に複数形成されていることを特徴とする請求項1に記載の試料積載プレート。
  4. 前記基板と前記疎水層の間には下地層を有することを特徴とする請求項2または3に記載の試料積載プレート。
  5. 前記基板の表面には下地層を介して前記下地層より高い疎水性を備えた疎水層が形成され、前記疎水層は前記試料積載領域より小さく前記下地層が露出した複数の開口部を有することを特徴とする請求項2に記載の試料積載プレート。
  6. 前記基板の表面には下地層を介して前記下地層より高い疎水性を備えた疎水層が島状に複数形成されていることを特徴とする請求項3に記載の試料積載プレート。
  7. 前記下地層は、光の干渉に伴って前記基板とは異なる色を呈することを特徴とする請求項4〜6のいずれか一項に記載の試料積載プレート。
  8. 前記下地層は、金属材料で構成される金属層と可視領域において透明な材料で構成される透明層とを積層して構成されることを特徴とする請求項4〜7のいずれか一項に記載の試料積載プレート。
  9. 前記透明層が金属化合物で構成されることを特徴とする請求項4〜8のいずれか一項に記載の試料積載プレート。
JP2014263089A 2014-12-25 2014-12-25 試料積載プレート Active JP6591160B2 (ja)

Priority Applications (1)

Application Number Priority Date Filing Date Title
JP2014263089A JP6591160B2 (ja) 2014-12-25 2014-12-25 試料積載プレート

Applications Claiming Priority (1)

Application Number Priority Date Filing Date Title
JP2014263089A JP6591160B2 (ja) 2014-12-25 2014-12-25 試料積載プレート

Publications (2)

Publication Number Publication Date
JP2016121968A true JP2016121968A (ja) 2016-07-07
JP6591160B2 JP6591160B2 (ja) 2019-10-16

Family

ID=56327787

Family Applications (1)

Application Number Title Priority Date Filing Date
JP2014263089A Active JP6591160B2 (ja) 2014-12-25 2014-12-25 試料積載プレート

Country Status (1)

Country Link
JP (1) JP6591160B2 (ja)

Cited By (12)

* Cited by examiner, † Cited by third party
Publication number Priority date Publication date Assignee Title
JP2017117719A (ja) * 2015-12-25 2017-06-29 国立大学法人秋田大学 試料ホルダーおよびその固定具
WO2018143357A1 (ja) * 2017-02-01 2018-08-09 国立大学法人浜松医科大学 標的物質と親和性の高い物質をスクリーニングする方法
JP2018141670A (ja) * 2017-02-27 2018-09-13 株式会社島津製作所 レーザ誘起分析装置、それに用いられるサンプルプレート、および、レーザ誘起分析方法
JP2018173324A (ja) * 2017-03-31 2018-11-08 シチズンファインデバイス株式会社 試料積載プレートの製造方法
CN110313050A (zh) * 2017-02-17 2019-10-08 株式会社百奥尼 Maldi质谱用样品板及其制造方法
EP3418731A4 (en) * 2016-03-18 2019-11-13 Citizen Finedevice Co., Ltd. SAMPLE LOADING PLATE AND METHOD FOR THE PRODUCTION THEREOF
EP3418732A4 (en) * 2016-03-18 2019-11-13 Citizen Finedevice Co., Ltd. SAMPLE ASSEMBLY PLATE AND METHOD OF MANUFACTURING THEREOF
CN110931344A (zh) * 2019-12-09 2020-03-27 广东省半导体产业技术研究院 一种用于质谱检测的介电型样品靶片及其制作方法
CN111512150A (zh) * 2018-02-09 2020-08-07 浜松光子学株式会社 试样支承体、试样支承体的制造方法和试样的离子化方法
CN111656180A (zh) * 2018-02-09 2020-09-11 浜松光子学株式会社 试样支承体、试样的离子化方法及质谱分析方法
WO2021199573A1 (ja) * 2020-03-31 2021-10-07 浜松ホトニクス株式会社 試料支持体
WO2022130717A1 (ja) * 2020-12-14 2022-06-23 浜松ホトニクス株式会社 試料支持体、イオン化法及び質量分析方法

Citations (7)

* Cited by examiner, † Cited by third party
Publication number Priority date Publication date Assignee Title
US20030116707A1 (en) * 2001-08-17 2003-06-26 Micromass Limited Maldi sample plate
JP2003247983A (ja) * 2002-02-25 2003-09-05 Nippon Laser & Electronics Lab 標的物質質量分析システム
JP2004045103A (ja) * 2002-07-09 2004-02-12 Futaba Corp マイクロプレート
JP2005522219A (ja) * 2002-04-10 2005-07-28 ジーンオーム サイエンシーズ、インク. 疎水性ゾーン装置
JP2006517671A (ja) * 2003-02-10 2006-07-27 ウオーターズ・インベストメンツ・リミテツド 質量分析用試料調製プレート
JP2007502980A (ja) * 2003-08-21 2007-02-15 アプレラ コーポレイション Maldi質量分析法のためのマトリックス干渉の軽減
JP2007309860A (ja) * 2006-05-22 2007-11-29 Shimadzu Corp Maldi用サンプル調製方法及び質量分析装置

Patent Citations (7)

* Cited by examiner, † Cited by third party
Publication number Priority date Publication date Assignee Title
US20030116707A1 (en) * 2001-08-17 2003-06-26 Micromass Limited Maldi sample plate
JP2003247983A (ja) * 2002-02-25 2003-09-05 Nippon Laser & Electronics Lab 標的物質質量分析システム
JP2005522219A (ja) * 2002-04-10 2005-07-28 ジーンオーム サイエンシーズ、インク. 疎水性ゾーン装置
JP2004045103A (ja) * 2002-07-09 2004-02-12 Futaba Corp マイクロプレート
JP2006517671A (ja) * 2003-02-10 2006-07-27 ウオーターズ・インベストメンツ・リミテツド 質量分析用試料調製プレート
JP2007502980A (ja) * 2003-08-21 2007-02-15 アプレラ コーポレイション Maldi質量分析法のためのマトリックス干渉の軽減
JP2007309860A (ja) * 2006-05-22 2007-11-29 Shimadzu Corp Maldi用サンプル調製方法及び質量分析装置

Cited By (24)

* Cited by examiner, † Cited by third party
Publication number Priority date Publication date Assignee Title
JP2017117719A (ja) * 2015-12-25 2017-06-29 国立大学法人秋田大学 試料ホルダーおよびその固定具
US10796892B2 (en) 2016-03-18 2020-10-06 Citizen Finedevice Co., Ltd. Sample mounting plate and method for manufacturing the same
EP3418732A4 (en) * 2016-03-18 2019-11-13 Citizen Finedevice Co., Ltd. SAMPLE ASSEMBLY PLATE AND METHOD OF MANUFACTURING THEREOF
US10665445B2 (en) 2016-03-18 2020-05-26 Citizen Finedevice Co., Ltd. Sample mounting plate and method for manufacturing the same
EP3418731A4 (en) * 2016-03-18 2019-11-13 Citizen Finedevice Co., Ltd. SAMPLE LOADING PLATE AND METHOD FOR THE PRODUCTION THEREOF
WO2018143357A1 (ja) * 2017-02-01 2018-08-09 国立大学法人浜松医科大学 標的物質と親和性の高い物質をスクリーニングする方法
US11087965B2 (en) 2017-02-17 2021-08-10 Bioneer Corporation Sample plate for MALDI mass spectrometry and manufacturing method therefor
CN110313050B (zh) * 2017-02-17 2022-03-11 株式会社百奥尼 Maldi质谱用样品板及其制造方法
CN110313050A (zh) * 2017-02-17 2019-10-08 株式会社百奥尼 Maldi质谱用样品板及其制造方法
EP3570314A4 (en) * 2017-02-17 2020-08-26 Bioneer Corporation WITNESS PLATE FOR MALDI MASS SPECTROMETRY AND ITS MANUFACTURING PROCESS
JP2018141670A (ja) * 2017-02-27 2018-09-13 株式会社島津製作所 レーザ誘起分析装置、それに用いられるサンプルプレート、および、レーザ誘起分析方法
JP2018173324A (ja) * 2017-03-31 2018-11-08 シチズンファインデバイス株式会社 試料積載プレートの製造方法
CN111656180A (zh) * 2018-02-09 2020-09-11 浜松光子学株式会社 试样支承体、试样的离子化方法及质谱分析方法
CN111512150A (zh) * 2018-02-09 2020-08-07 浜松光子学株式会社 试样支承体、试样支承体的制造方法和试样的离子化方法
CN111512150B (zh) * 2018-02-09 2022-12-13 浜松光子学株式会社 试样支承体、试样支承体的制造方法和试样的离子化方法
CN110931344A (zh) * 2019-12-09 2020-03-27 广东省半导体产业技术研究院 一种用于质谱检测的介电型样品靶片及其制作方法
CN110931344B (zh) * 2019-12-09 2022-06-03 广东省半导体产业技术研究院 一种用于质谱检测的介电型样品靶片及其制作方法
JP2021163605A (ja) * 2020-03-31 2021-10-11 浜松ホトニクス株式会社 試料支持体
WO2021199573A1 (ja) * 2020-03-31 2021-10-07 浜松ホトニクス株式会社 試料支持体
US11947260B2 (en) 2020-03-31 2024-04-02 Hamamatsu Photonics K.K. Sample support
WO2022130717A1 (ja) * 2020-12-14 2022-06-23 浜松ホトニクス株式会社 試料支持体、イオン化法及び質量分析方法
JP2022094173A (ja) * 2020-12-14 2022-06-24 浜松ホトニクス株式会社 試料支持体、イオン化法及び質量分析方法
CN116615647A (zh) * 2020-12-14 2023-08-18 浜松光子学株式会社 试样支承体、离子化法和质量分析方法
JP7496300B2 (ja) 2020-12-14 2024-06-06 浜松ホトニクス株式会社 試料支持体、イオン化法及び質量分析方法

Also Published As

Publication number Publication date
JP6591160B2 (ja) 2019-10-16

Similar Documents

Publication Publication Date Title
JP6591160B2 (ja) 試料積載プレート
JP6336984B2 (ja) 試料積載プレート
JP6713527B2 (ja) 質量分析装置
JP6093492B1 (ja) 試料支持体、及び試料支持体の製造方法
JP6205299B2 (ja) 試料積載プレート
JP6535151B1 (ja) レーザ脱離イオン化法及び質量分析方法
JP6363527B2 (ja) 試料積載プレート
CN110383056B (zh) 质量分析装置和质量分析方法
JPWO2019058857A1 (ja) 試料支持体
US7619215B2 (en) Sample plate for MALDI mass spectrometry and process for manufacture of the same
WO2019058783A1 (ja) 試料支持体
JP6549308B2 (ja) 試料積載プレート及びその製造方法
CN115349161B (zh) 试样支承体
JP7236393B2 (ja) レーザ脱離イオン化法、質量分析方法、試料支持体、及び試料支持体の製造方法
JP7007845B2 (ja) レーザ脱離イオン化法、質量分析方法、試料支持体、及び試料支持体の製造方法
JP2007192673A (ja) サンプルプレート
JP6787682B2 (ja) 試料積載プレート及びその製造方法
JP6549309B2 (ja) 試料積載プレート及びその製造方法
JP7496300B2 (ja) 試料支持体、イオン化法及び質量分析方法
JP6757693B2 (ja) 試料積載プレートの製造方法
JPWO2019058786A1 (ja) 試料支持体
JP6727881B2 (ja) 試料積載プレート
JP7236394B2 (ja) レーザ脱離イオン化法及び質量分析方法

Legal Events

Date Code Title Description
A521 Request for written amendment filed

Free format text: JAPANESE INTERMEDIATE CODE: A821

Effective date: 20141226

A621 Written request for application examination

Free format text: JAPANESE INTERMEDIATE CODE: A621

Effective date: 20170616

A131 Notification of reasons for refusal

Free format text: JAPANESE INTERMEDIATE CODE: A131

Effective date: 20180319

A521 Request for written amendment filed

Free format text: JAPANESE INTERMEDIATE CODE: A523

Effective date: 20180518

A131 Notification of reasons for refusal

Free format text: JAPANESE INTERMEDIATE CODE: A131

Effective date: 20181029

A521 Request for written amendment filed

Free format text: JAPANESE INTERMEDIATE CODE: A523

Effective date: 20181226

A131 Notification of reasons for refusal

Free format text: JAPANESE INTERMEDIATE CODE: A131

Effective date: 20190603

A521 Request for written amendment filed

Free format text: JAPANESE INTERMEDIATE CODE: A523

Effective date: 20190716

TRDD Decision of grant or rejection written
A01 Written decision to grant a patent or to grant a registration (utility model)

Free format text: JAPANESE INTERMEDIATE CODE: A01

Effective date: 20190903

A61 First payment of annual fees (during grant procedure)

Free format text: JAPANESE INTERMEDIATE CODE: A61

Effective date: 20190918

R150 Certificate of patent or registration of utility model

Ref document number: 6591160

Country of ref document: JP

Free format text: JAPANESE INTERMEDIATE CODE: R150