JP2016106973A - 歩行計測用センサー - Google Patents

歩行計測用センサー Download PDF

Info

Publication number
JP2016106973A
JP2016106973A JP2014249601A JP2014249601A JP2016106973A JP 2016106973 A JP2016106973 A JP 2016106973A JP 2014249601 A JP2014249601 A JP 2014249601A JP 2014249601 A JP2014249601 A JP 2014249601A JP 2016106973 A JP2016106973 A JP 2016106973A
Authority
JP
Japan
Prior art keywords
walking
measurement sensor
detection unit
protective plate
walking measurement
Prior art date
Legal status (The legal status is an assumption and is not a legal conclusion. Google has not performed a legal analysis and makes no representation as to the accuracy of the status listed.)
Granted
Application number
JP2014249601A
Other languages
English (en)
Other versions
JP6470557B2 (ja
Inventor
正幸 齊藤
Masayuki Saito
正幸 齊藤
Current Assignee (The listed assignees may be inaccurate. Google has not performed a legal analysis and makes no representation or warranty as to the accuracy of the list.)
Sakai Medical Co Ltd
Original Assignee
Sakai Medical Co Ltd
Priority date (The priority date is an assumption and is not a legal conclusion. Google has not performed a legal analysis and makes no representation as to the accuracy of the date listed.)
Filing date
Publication date
Application filed by Sakai Medical Co Ltd filed Critical Sakai Medical Co Ltd
Priority to JP2014249601A priority Critical patent/JP6470557B2/ja
Publication of JP2016106973A publication Critical patent/JP2016106973A/ja
Application granted granted Critical
Publication of JP6470557B2 publication Critical patent/JP6470557B2/ja
Expired - Fee Related legal-status Critical Current
Anticipated expiration legal-status Critical

Links

Images

Landscapes

  • Footwear And Its Accessory, Manufacturing Method And Apparatuses (AREA)
  • Measurement Of The Respiration, Hearing Ability, Form, And Blood Characteristics Of Living Organisms (AREA)

Abstract

【課題】靴等の履物への着脱が容易で破損し難い歩行計測用センサーを提供する。【解決手段】被験者が履く履物の底面の一部領域に貼り付けられる歩行計測用センサー1は、前記履物の底面に貼り付けられる第1の保護板11と、前記履物を履いた被験者の足の接地及び離地を検出可能とする検出部10と、検出部10を第1の保護板11と共に挟む第2の保護板12と、を備える。【選択図】図2

Description

本発明は、人の歩行に関わる評価や分析を行うために使用する歩行計測用センサーに関する。
従来、歩行障害に対するリハビリテーションを行う場合等に、歩行に関わる評価(歩行評価)が行われることがある。歩行評価には、例えば特許文献1に開示されるように、被験者(歩行計測される人)が履く靴に装着する中敷に分散配置した複数の荷重センサーを備えた検出装置が使用されることがある。
また、従来においては、圧力センサーやオンオフスイッチを被験者の足裏に直接貼り付けて、歩行評価のためのデータが収集されることがある。
特開2014−45885号公報
特許文献1のように荷重センサーを分散配置した中敷を用いる構成の場合、靴の大きさに合わせて何種類もの中敷(検出装置)を用意する必要が生じ、コスト面等で不利である。また、荷重センサーを分散配置した中敷と、被験者が履く靴との相性によっては、中敷が靴の中で滑って通常の歩行を行い難くなることがある。
また、足裏に圧力センサー等を直接貼り付ける構成では、被験者はいちいち靴下まで脱ぐ必要があり、準備に時間がかかる。また、圧力センサーに繋がるケーブルが靴の中にあるために、被験者が歩行時に違和感をいだくことが懸念される。
なお、本発明者は、被験者の足の接地及び離地を検出可能とする圧力センサー等の検出部を、直接靴底に貼り付けることを検討したが、この場合、検出部の破損が懸念された。特に、靴底に取り付けた検出部を靴底から取り外す際に、検出部が壊れやすいことがわかった。
以上の点に鑑みて、本発明の目的は、被験者の足のサイズに左右されることなく使え、歩行に悪影響を及ぼし難い歩行計測用センサーを提供することである。また、本発明の他の目的は、靴等の履物への着脱が容易で破損し難い歩行計測用センサーを提供することである。
上記目的を達成するために本発明の歩行計測用センサーは、被験者が履く履物の底面の一部領域に貼り付けられる歩行計測用センサーであって、前記履物の底面に貼り付けられる第1の保護板と、前記履物を履いた被験者の足の接地及び離地を検出可能とする検出部と、前記検出部を前記第1の保護板と共に挟む第2の保護板と、を備える構成(第1の構成)になっている。
本構成の歩行計測用センサーは、履物の底面に貼り付けられるものであるために、着脱が容易である。また、本構成の歩行計測用センサーは、履物の底面の一部領域に貼り付けられるものであるために、歩行に悪影響を及ぼし難い。また、本構成によれば、検出部が2つの保護板で挟み込まれているために、検出部が歩行評価の最中に破損する可能性が低い。更に、本構成によれば、歩行計測用センサーは、直接検出部に貼り付けられるのではなく、第1の保護板を介して貼り付けられているために、歩行評価が終了して剥がす際に破損する可能性が低い。
上記第1の構成の歩行計測用センサーは、前記検出部の側面周囲に設けられる壁部を更に備える構成(第2の構成)であるのが好ましい。本構成によれば、検出部の上下面に加えて側面を保護できるために検出部が破損する可能性を更に低減できる。また、本構成によれば、壁部によって検出部の動きを規制することもできる。なお、壁部は、検出部の側面全体を囲うものであってもよいが、側面の一部を囲うものであってもよい。
上記第2の構成の歩行計測用センサーにおいて、前記壁部は弾性部材を含む構成(第3の構成)であってよい。本構成によれば、第1の保護板と第2の保護板とを壁部を介して接続する構成とした場合においても、検出部によって被験者の足の接地及び離地を正確に検出し易い。
上記第1から第3のいずれかの構成の歩行計測用センサーにおいて、前記第2の保護板には滑り止め部が形成されている(第4の構成)のが好ましい。本構成によれば、歩行計測用センサーを履物の底面に貼り付けたことによって歩行中に靴底等が滑りやすくなる、といった事態が生じることを避けられる。
上記第1から第4のいずれかの構成の歩行計測用センサーにおいて、前記第1の保護板と前記第2の保護板とのうち、少なくとも前記第1の保護板は金属で形成されている(第5の構成)のが好ましい。本構成によれば、歩行計測用センサーを履物の底面から剥がす際に検出部が破損する可能性をより低いものにできる。
上記第1から第5のいずれかの構成の歩行計測用センサーにおいて、前記第2の保護板は可撓性部材で形成されている構成(第6の構成)であってもよい。本構成によれば、第2の保護板が撓むために、例えば第1の保護板と第2の保護板との間に壁部が設けられるような場合であっても、検出部によって被験者の足の接地及び離地を確実に検出できる。
上記第1から第6のいずれかの構成の歩行計測用センサーにおいて、前記第1の保護板の前記検出部に対向する面と、前記第2の保護板の前記検出部に対向する面とのうち、少なくとも一方には凸部が形成されている構成(第7の構成)が採用されてもよい。本構成によれば、検出部に不感領域が設けられるような場合でも、検出部によって被験者の足の接地及び離地を正確に検出できる。
本発明によれば、被験者の足のサイズに左右されることなく使え、歩行に悪影響を及ぼし難い歩行計測用センサーを提供できる。また、本発明によれば、靴等の履物への着脱が容易で破損し難い歩行計測用センサーを提供できる。
本発明の第1実施形態に係る歩行計測用センサーを上から見た概略平面図 図1のA−A位置における概略断面図 本発明の第1実施形態に係る歩行計測用センサーの使用例を示す模式図 本発明の第2実施形態に係る歩行計測用センサーの構成を示す概略断面図 本発明の第3実施形態に係る歩行計測用センサーの構成を示す概略断面図 本発明の第4実施形態に係る歩行計測用センサーの構成を示す概略断面図 本発明の第4実施形態に係る歩行計測用センサーが備える検出部について説明するための概略平面図 本発明の第4実施形態に係る歩行計測用センサーの変形例の構成を示す概略断面図 本発明の第5実施形態に係る歩行計測用センサーの構成を示す概略断面図
以下、本発明の実施形態に係る歩行計測用センサーについて、図面を参照しながら詳細に説明する。なお、本発明の実施形態に係る歩行計測用センサーは、靴等の履物の底面の狭い領域(狭小領域)に両面接着剤で貼り付けて使用されるものである。
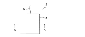
<第1実施形態>
図1は、本発明の第1実施形態に係る歩行計測用センサー1を上から見た概略平面図である。図2は、図1のA−A位置における概略断面図である。図1及び図2に示すように、歩行計測用センサー1は、検出部10と、検出部10を挟む第1の保護板11及び第2の保護板12と、を備えている。
検出部10は、履物の底面の接地(歩行面に接触した状態)と離地(歩行面から離れた状態)とを検出できるものであればよく、例えば圧力センサーやオンオフスイッチ等で構成できる。検出部10を圧力センサーで構成する場合、当該圧力センサーの種類は特に限定されるものではなく、例えば歪ゲージ抵抗式、半導体ピエゾ抵抗式、静電容量式、シリコンレゾナント式等のいずれであってもよい。
履物の底面に両面テープで貼り付けられる第1の保護板11は、例えば歩行計測時や履物から歩行計測用センサー1を剥がす場合等において、検出部10の破損を防止できるものであればよい。第1の保護板11は、例えば金属板や剛性の高い樹脂板等で構成できる。なお、第1の保護板11は、例えば履物を履いた被験者(歩行計測をされる人)が違和感を抱かないようにする等の目的で、なるべく薄く形成されるのが好ましい。第1の保護板11を金属で構成する場合、特に限定されるものではないが、第1の保護板11は、例えば鉄、ステンレス、或いはアルミニウム合金等からなる薄板で構成してよい。
第1の保護板11と対をなして検出部10を挟む第2の保護板12は、例えば歩行計測時等において検出部10の破損を保護できるものであればよい。第2の保護板12も第1の保護板11と同様に、検出部10の破損という機能を損なわない範囲でなるべく薄く形成されるのが好ましい。第2の保護板12は、第1の保護板11と同様に、例えば金属板で構成してよい。第2の保護板12は、第1の保護板12と同じ材質でもよいが、異なる材質でもよい。第2の保護板12は、例えばゴム板等の滑り止め効果を有する薄板で構成してもよい。
検出部10は、その上面が第1の保護板11に固着され、その下面が第2の保護板12に固着される。固着の方法は接着剤を利用する方式でもよいし、場合によってはネジ等の固定具を利用する方式でもよい。これにより、検出部10、第1の保護板11、及び、第2の保護板12は一体となる。検出部10からは、歩行計測用センサー1に接続されるデータ処理装置(不図示)にデータを送信するためのケーブル13が延び出している。ケーブル13は、第1の保護板11と第2の保護板12との間の隙間からセンサー1外部へと引き出されている。
なお、本実施形態では、検出部10で得たデータを有線にてデータ処理装置に送信する構成としているが、検出部10で得たデータを無線にてデータ処理装置に送信する構成にしてもよい。
また、本実施形態では、検出部10、第1の保護板11、及び、第2の保護板12は、上から見た場合(板面に垂直な方向に沿って見た場合)に矩形状に設けられているが、これは一例にすぎず、他の形状でも構わない。これらは、上から見た場合に、例えば円形状、半円状、三日月状等であってもよい。また、検出部10、第1の保護板11、及び、第2の保護板12は、互いに同じ形状であっても構わないが、異なる形状であっても構わない。第1の保護板11及び第2の保護板12は、その一部がケーブル13を保護するために突出した形状になっていてもよい。
また、第1の保護板11と第2の保護板12は、上から見た場合のサイズが同じであるように設けられるのが好ましいが、異なるように設けられてもよい。ただし、第1の保護板11と第2の保護板12は、上から見た場合のサイズが検出部10より大きく設けられるのが好ましい。
図3は、本発明の第1実施形態に係る歩行計測用センサー1の使用例を示す模式図である。図3に示すように、歩行計測用センサー1は、靴底100(履物の底面の一例)に両面テープを用いて接着される。なお、上述の内容からわかるように、第1の保護板11の上面が靴底100に貼り付けられる。
歩行計測用センサー1を取り付けられた部分が接地する(地面や床面につく)と、検出部10が押圧される。検出部10が圧力センサーで構成される場合には、例えば、検出部10によって所定の値以上の圧力がかかったことが検出された時点で、靴底100が接地したと判断できる。また、検出部10がオンオフスイッチで構成される場合には、例えば、オンオフスイッチがオンされた時点で、靴底100が接地したと判断できる。
また、検出部10が圧力センサーで構成される場合には、例えば、検出部10によって検出される圧力が所定の値より小さくなった時点で、靴底100が離地した(地面や床面から離れた)と判断できる。検出部10がオンオフスイッチで構成される場合には、例えば、オンオフスイッチがオフされた時点で、靴底100が離地したと判断できる。
なお、靴底100の接地と離地との判断は、歩行計測用センサー1とケーブル13で接続される不図示のデータ処理装置によって判断される。
図3に示すように、靴底100の踵部分とつま先部分とに歩行計測用センサー1を貼り付ける構成とすることで、足が歩行面(地面や床面)に接地している立脚期と、足が歩行面から離れている遊脚期とを検出できる。すなわち、左右の靴の靴底100に図3に示すように歩行計測用センサー1を取り付けることで、左右の足の歩行周期を検出することができ、被験者の歩行時の左右バランスを検出できる。このため、本実施形態の歩行計測用センサー1は、例えば片麻痺の患者のリハビリテーションへの利用等に適している。
本実施形態の歩行計測用センサー1は、靴下を脱いだりすることなく、靴底100に両面テープで貼り付けたり、靴底100から剥がしたりすることで、歩行計測の準備や後片付けを完了できる。このために、計測のための準備期間や後片付け期間を短縮できる。また、本実施形態の歩行計測用センサー1は、第1の保護板11を設けた効果によって、靴底100からセンサーを剥がす際に検出部10が破損し難い。
また、歩行時においては、2つの保護板11、12を設けた効果により、検出部10の破損が生じ難い。また、2つの保護板11、12が薄く設けられているために、被験者が歩行時に違和感をいだき難く、通常の歩行を行い易い。更に、歩行計測用センサー1は、小型であり、被験者の足のサイズに影響されずに靴底100に取り付けられる。このために、本実施形態の構成によれば、被験者の足のサイズに合わせて複数種類のセンサーを準備する必要もない。
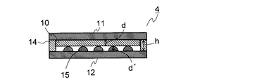
<第2実施形態>
次に、本発明の第2実施形態に係る歩行計測用センサーについて説明する。第2実施形態の歩行計測用センサーの説明を行うにあたって、第1実施形態の歩行計測用センサー1と重複する部分については、同一の符号を付し、特に説明の必要がない場合には、その説明を省略する。
図4は、本発明の第2実施形態に係る歩行計測用センサー2の構成を示す概略断面図である。なお、図4は、図2と同様の位置で切った断面図である。図4に示すように、第2実施形態の歩行計測用センサー2も、検出部10と、第1の保護板11と、第2の保護板12とを備えている。
第1実施形態の歩行計測用センサー2と異なり、検出部10の側面周囲には、壁部11a、12aが設けられている。第1の壁部11aは、第1の保護板11の周縁に設けられている。第1の壁部11aは、第1の保護板11と同一の材質にして、第1の保護板11と一体的に設けてもよい。また、第1の壁部11aは、第1の保護板11とは別の材質にして、第1の保護板11に固着してもよい。また、第2の壁部12aは、第2の保護板12の周縁に設けられている。第2の壁部12aは、第2の保護板12と同一の材質にして、第2の保護板12と一体的に設けてもよい。また、第2の壁部12aは、第2の保護板12とは別の材質にして、第2の保護板12に固着してもよい。
第1の壁部11aと第2の壁部12aとは同一の高さでも良いし、異なる高さでもよい。ただし、本実施形態では、検出部10の厚みdと、第1の壁部11aの高さh1と、第2の壁部11bの高さh2とが以下の式(1)を満たしている。
d>h1+h2 (1)
本実施形態の構成は、第1の保護板11と第2の保護板12とがいずれも金属で構成される場合に好適な構成である。
なお、本実施形態では、検出部10から延出するケーブル13は、2つの壁部11a、12aの間から引き出して良い。ただし、2つの壁部11a、12aの間の隙間が小さい場合には、2つの壁部11a、12aのうちの少なくとも一方に、ケーブル13を引き出すための切欠きや開口を形成してよい。
第2実施形態の歩行計測用センサー2は、第1実施形態の歩行計測用センサー1と同様の使い方をでき、更に、第1実施形態の歩行計測用センサー1と同様の効果を発揮する。加えて、第2実施形態の構成では、壁部11a、12aによって、検出部10をより強固に保護できると共に、検出部10の動きを規制し易い。
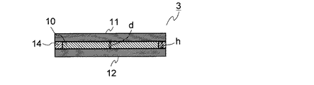
<第3実施形態>
次に、本発明の第3実施形態に係る歩行計測用センサーについて説明する。第3実施形態の歩行計測用センサーの説明を行うにあたって、第1実施形態の歩行計測用センサー1と重複する部分については、同一の符号を付し、特に説明の必要がない場合には、その説明を省略する。
図5は、本発明の第3実施形態に係る歩行計測用センサー3の構成を示す概略断面図である。なお、図5は、図2と同様の位置で切った断面図である。図5に示すように、第3実施形態の歩行計測用センサー3も、検出部10と、第1の保護板11と、第2の保護板12とを備えている。
第3実施形態の歩行計測用センサー3においては、第2実施形態の歩行計測用センサー2と同様に、検出部10の周囲には、壁部14が設けられている。ただし、壁部14の高さhは、以下の式(2)を満たす。この点、第2実施形態の構成と異なる。なお、式(2)において、符号dは検出部10の厚みである。また、壁部14の高さhが検出部10の厚みに対して大き過ぎると、歩行計測用センサー3が接地した場合に、検出部10に対して十分な力が加わらず、接地と離地との検出が困難になる場合がある。このために、検出部10によって接地と離地との検出ができる範囲で壁部14の高さhは決定するのが好ましい。
d≦h (2)
第3実施形態の歩行計測用センサー3においては、第1の保護板11と第2の保護板12とは壁部14を介して接合されている。壁部14は、第1の保護板11と第2の保護板12とは別部材であってもよい。この場合、第1の保護板11は壁部14の上面に固着され、第2の保護板12は壁部14の下面に固着されることになる。例えば、第1の保護板11と第2の保護板12とが金属板である場合には、壁部14は、例えばゴム部材のような弾性変形可能な部材(弾性部材)を含めて構成するのが好ましい。これにより、歩行計測用センサー3が接地した場合において、検出部10に対して力を付与でき、歩行時の接地と離地とを検出可能になる。
壁部14は、第1の保護板11と第2の保護板12とのうちのいずれか一方と同一の材質で構成され、いずれか一方の保護板と一体的に設けられてよい。例えば、第1の保護板11を金属で設けると共に、第2の保護板12をゴム部材等の可撓性部材で設けて、壁部14を金属で構成して第1の保護板11と一体的に設けてもよい。また、第1の保護板11を金属で設けると共に、第2の保護板12をゴム部材等の可撓性部材で設けて、壁部14を可撓性部材で設けて第2の保護板12と一体的に設けるようにしてもよい。いずれの場合も、第2の保護板12が変形するために、靴底100が接地した場合に検出部10に対して力を付与でき、歩行時の接地と離地とを検出できる。
壁部14は、第2実施形態と同様に、第1の保護板11と一体的に設けられる第1の壁部と、第2の保護板12と一体的に設けられる第2の壁部とに分けられてもよい。例えば、第1の保護板11が金属で構成され、第2の保護板12がゴム部材等の可撓性部材で構成される場合に、壁部14の分割が可能である。このようにすれば、歩行計測用センサー3が接地した場合において、検出部10に対して力を付与でき、歩行時の接地と離地とを検出可能になる。
壁部14に周囲を取り囲まれる検出部10は、第1の保護板11と第2の保護板12とのいずれにも固着されなくてもよい。また、場合によっては、検出部10は、第1の保護板11と第2の保護板12とのうち、少なくともいずれか一方に固着されてもよい。また、壁部14には、検出部10から延出されるケーブル13を通す開口が形成されている。
第3実施形態の歩行計測用センサー2は、第1実施形態の歩行計測用センサー1と同様の使い方をでき、更に、第1実施形態の歩行計測用センサー1と同様の効果を発揮する。加えて、第3実施形態の構成では、検出部10をより強固に保護できると共に、検出部10の動きを規制し易い。
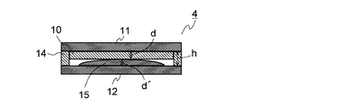
<第4実施形態>
次に、本発明の第4実施形態に係る歩行計測用センサーについて説明する。第4実施形態の歩行計測用センサーの説明を行うにあたって、第1実施形態の歩行計測用センサー1や第3実施形態の歩行計測用センサー3と重複する部分については、同一の符号を付し、特に説明の必要がない場合には、その説明を省略する。
図6は、本発明の第4実施形態に係る歩行計測用センサー4の構成を示す概略断面図である。なお、図6は、図2と同様の位置で切った断面図である。図6に示すように、第4実施形態の歩行計測用センサー4も、検出部10と、第1の保護板11と、第2の保護板12とを備えている。また、第4実施形態の歩行計測用センサー4は、第3実施形態と同様に、第1の保護板11と第2の保護板12とを連結する壁部14も備えている。
図7は、本発明の第4実施形態に係る歩行計測用センサー4が備える検出部10について説明するための概略平面図である。図7に示すように、検出部10は、当該検出部に加わる力を検出できる検出領域10aと、検出領域10aの周囲に設けられて、当該検出部に加わる力を検出できない不感領域10bとを備える場合がある。
この点を考慮して、第4実施形態の歩行計測用センサー4には、図6に示すように、第2の保護板12の検出部10に対向する面に凸部15が設けられている。凸部15は、検出部10の検出領域10aが設けられる位置に対向する部分に設けられている。この凸部15の存在により、接地によって歩行計測用センサー4に力が加わった場合、検出領域10aに確実に力を伝えることが可能になる。
第2の保護板12に設けられる凸部15は、第2の保護板12と同じ材質でもよいが、異なる材質であってもよい。凸部15は、第2の保護板12と別体として固着するようにしてもよいが、第2の保護板12と一体的に設けてもよい。なお、凸部15は、第2の保護板12ではなく、第1の保護板11側に設けられてもよい。また、場合によっては、凸部15は、2つの保護板11、12に設けられてもよい。
凸部15は、図6に示すようにサイズを小さくして複数設けられてもよいが、図8に示すようにサイズを大きくして一つだけ設けてもよい。また、凸部15の形状は、断面視半円形状に限らず、例えば断面視略三角形状等の別の形状としてもよい。なお、第4実施形態の歩行計測用センサー4においては、検出部10の厚みdと、壁部14の高さhと、凸部15の厚みd´(最も厚い部分の厚み)とは、以下の式(3)を満たす。
d+d´≦h (3)
第4実施形態の歩行計測用センサー4は、第1実施形態の歩行計測用センサー1や第3実施形態の歩行計測用センサー3と同様の使い方をでき、更に、第1実施形態の歩行計測用センサー1や第3実施形態の歩行計測用センサー3と同様の効果を発揮する。加えて、第4実施形態の構成では、検出部10が不感領域10bを含むような場合でも、靴底100の接地と離地とを正確に検出できる。
<第5実施形態>
次に、本発明の第5実施形態に係る歩行計測用センサーについて説明する。第5実施形態の歩行計測用センサーの説明を行うにあたって、第1実施形態の歩行計測用センサー1と重複する部分については、同一の符号を付し、特に説明の必要がない場合には、その説明を省略する。
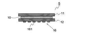
図9は、本発明の第5実施形態に係る歩行計測用センサー5の構成を示す概略断面図である。なお、図9は、図2と同様の位置で切った断面図である。図9に示すように、第5実施形態の歩行計測用センサー5も、検出部10と、第1の保護板11と、第2の保護板12とを備えている。
第5実施形態の歩行計測用センサー5は、第1実施形態の歩行計測用センサー1と異なり、第2の保護板12の下面(検出部10と対向する面と反対側の面)に滑り止め部16が形成されている。図9に示す例では、滑り止め部16は、第2の保護板12の下面に複数設けられる凸部161で構成されている。凸部161は、例えばゴム部材で構成できる。
なお、第2の保護板12が例えば金属で構成される場合には、凸部161は、金属板の下面に接着剤等で固着すればよい。また、第2の保護板12が例えばゴム部材で構成される場合には、凸部161は第2の保護板12と一体的に形成してもよい。
また、滑り止め部16は、凸部161を貼り付けるのではなく、例えば第2の保護板12の下面に滑り止めとして機能する凹凸パターンを形成するようにしてもよい。例えば第2の保護板12が金属で構成される場合には、エッチング等によって凹凸パターンを形成できる。また、第2の保護板12が樹脂やゴムによって構成される場合には、成形に使用する金型の形状の工夫によって凹凸パターンを形成できる。
第5実施形態の歩行計測用センサー5は、第1実施形態の歩行計測用センサー1と同様の使い方をでき、更に、第1実施形態の歩行計測用センサー1と同様の効果を発揮する。加えて、第5実施形態の構成では、滑り止め部16を設けた効果によって、歩行計測時に、歩行計測用センサー5が原因となって被験者が滑ってしまうという事態の発生を抑制できる。
<その他>
以上に示した実施形態は、本発明の例示にすぎない。以上に示した実施形態の構成は、本発明の技術的思想を超えない範囲で適宜変更されて構わない。また、以上に示した各実施形態及び実施形態における細かな変形例は、可能な範囲で適宜組み合わせて実施することもできる。
以上においては、本発明の実施形態に係る歩行計測用センサー1〜5を靴底100の踵部分とつま先部分との2箇所に貼り付ける構成とした。これに限らず、歩行計測用センサー1〜5は、例えば、靴底100の更に多くの部分に貼り付けて使用されてもよい。複数箇所からの荷重データを利用することによって、歩行に関する評価や分析を更に詳細に行うことが可能である。
1、2、3、4、5 歩行計測用センサー
10 検出部
11 第1の保護板
11a 第1の壁部
12 第2の保護板
12a 第2の壁部
14 壁部
15 凸部
16 滑り止め部
100 靴底(履物の底面)

Claims (7)

  1. 被験者が履く履物の底面の一部領域に貼り付けられる歩行計測用センサーであって、
    前記履物の底面に貼り付けられる第1の保護板と、
    前記履物を履いた被験者の足の接地及び離地を検出可能とする検出部と、
    前記検出部を前記第1の保護板と共に挟む第2の保護板と、
    を備えることを特徴とする歩行計測用センサー。
  2. 前記検出部の側面周囲に設けられる壁部を更に備えることを特徴とする請求項1に記載の歩行計測用センサー。
  3. 前記壁部は弾性部材を含むことを特徴とする請求項2に記載の歩行計測用センサー。
  4. 前記第2の保護板には滑り止め部が形成されていることを特徴とする請求項1から3のいずれか1項に記載の歩行計測用センサー。
  5. 前記第1の保護板と前記第2の保護板とのうち、少なくとも前記第1の保護板は金属で形成されていることを特徴とする請求項1から4のいずれか1項に記載の歩行計測用センサー。
  6. 前記第2の保護板は可撓性部材で形成されていることを特徴とする請求項1から5のいずれか1項に記載の歩行計測用センサー。
  7. 前記第1の保護板の前記検出部に対向する面と、前記第2の保護板の前記検出部に対向する面とのうち、少なくとも一方には凸部が形成されていることを特徴とする請求項1から6のいずれか1項に記載の歩行計測用センサー。
JP2014249601A 2014-12-10 2014-12-10 歩行計測用センサー Expired - Fee Related JP6470557B2 (ja)

Priority Applications (1)

Application Number Priority Date Filing Date Title
JP2014249601A JP6470557B2 (ja) 2014-12-10 2014-12-10 歩行計測用センサー

Applications Claiming Priority (1)

Application Number Priority Date Filing Date Title
JP2014249601A JP6470557B2 (ja) 2014-12-10 2014-12-10 歩行計測用センサー

Publications (2)

Publication Number Publication Date
JP2016106973A true JP2016106973A (ja) 2016-06-20
JP6470557B2 JP6470557B2 (ja) 2019-02-13

Family

ID=56122656

Family Applications (1)

Application Number Title Priority Date Filing Date
JP2014249601A Expired - Fee Related JP6470557B2 (ja) 2014-12-10 2014-12-10 歩行計測用センサー

Country Status (1)

Country Link
JP (1) JP6470557B2 (ja)

Cited By (5)

* Cited by examiner, † Cited by third party
Publication number Priority date Publication date Assignee Title
CN113712335A (zh) * 2021-09-03 2021-11-30 哈尔滨工业大学 一种静电式辅助行走装置及其控制方法
JP2022013408A (ja) * 2020-07-03 2022-01-18 日本電気株式会社 基礎代謝推定装置、基礎代謝推定システム、基礎代謝推定方法およびプログラム
JP2022013407A (ja) * 2020-07-03 2022-01-18 日本電気株式会社 リスク推定装置、リスク推定システム、リスク推定方法およびプログラム
JP2022013405A (ja) * 2020-07-03 2022-01-18 日本電気株式会社 推定装置、推定方法、プログラム
JP2023017576A (ja) * 2021-07-26 2023-02-07 株式会社P.O.イノベーション リハビリサポート・メンテナンスシステム

Citations (6)

* Cited by examiner, † Cited by third party
Publication number Priority date Publication date Assignee Title
JPS5491992A (en) * 1977-12-29 1979-07-20 Asahi Medical Co Foot pressure sensor
JPS63154029U (ja) * 1987-03-31 1988-10-11
JP2007300951A (ja) * 2006-05-08 2007-11-22 Mitsubishi Electric Corp 健康状態測定装置及び健康管理システム
WO2011115241A1 (ja) * 2010-03-16 2011-09-22 Oshio Kozo 靴の歩数計測具
JP2014045885A (ja) * 2012-08-30 2014-03-17 Reif Co Ltd 足圧測定装置及びそれを用いた足圧測定方法
JP2015055510A (ja) * 2013-09-10 2015-03-23 株式会社テック技販 荷重検出機能付き履き物

Patent Citations (6)

* Cited by examiner, † Cited by third party
Publication number Priority date Publication date Assignee Title
JPS5491992A (en) * 1977-12-29 1979-07-20 Asahi Medical Co Foot pressure sensor
JPS63154029U (ja) * 1987-03-31 1988-10-11
JP2007300951A (ja) * 2006-05-08 2007-11-22 Mitsubishi Electric Corp 健康状態測定装置及び健康管理システム
WO2011115241A1 (ja) * 2010-03-16 2011-09-22 Oshio Kozo 靴の歩数計測具
JP2014045885A (ja) * 2012-08-30 2014-03-17 Reif Co Ltd 足圧測定装置及びそれを用いた足圧測定方法
JP2015055510A (ja) * 2013-09-10 2015-03-23 株式会社テック技販 荷重検出機能付き履き物

Cited By (11)

* Cited by examiner, † Cited by third party
Publication number Priority date Publication date Assignee Title
JP2022013408A (ja) * 2020-07-03 2022-01-18 日本電気株式会社 基礎代謝推定装置、基礎代謝推定システム、基礎代謝推定方法およびプログラム
JP2022013407A (ja) * 2020-07-03 2022-01-18 日本電気株式会社 リスク推定装置、リスク推定システム、リスク推定方法およびプログラム
JP2022013405A (ja) * 2020-07-03 2022-01-18 日本電気株式会社 推定装置、推定方法、プログラム
US11925483B2 (en) 2020-07-03 2024-03-12 Nec Corporation Risk estimation apparatus, risk estimation system, risk estimation method, and non-transitory computer readable recording medium
JP7508900B2 (ja) 2020-07-03 2024-07-02 日本電気株式会社 リスク推定装置、リスク推定システム、リスク推定方法およびプログラム
JP7508901B2 (ja) 2020-07-03 2024-07-02 日本電気株式会社 基礎代謝推定装置、基礎代謝推定システム、基礎代謝推定方法およびプログラム
US12357242B2 (en) 2020-07-03 2025-07-15 Nec Corporation Risk estimation apparatus, risk estimation system, risk estimation method, and non-transitory computer readable recording medium
US12357241B2 (en) 2020-07-03 2025-07-15 Nec Corporation Risk estimation apparatus, risk estimation system, risk estimation method, and non-transitory computer readable recording medium
US12408878B2 (en) 2020-07-03 2025-09-09 Nec Corporation Risk estimation apparatus, risk estimation system, risk estimation method, and non-transitory computer readable recording medium
JP2023017576A (ja) * 2021-07-26 2023-02-07 株式会社P.O.イノベーション リハビリサポート・メンテナンスシステム
CN113712335A (zh) * 2021-09-03 2021-11-30 哈尔滨工业大学 一种静电式辅助行走装置及其控制方法

Also Published As

Publication number Publication date
JP6470557B2 (ja) 2019-02-13

Similar Documents

Publication Publication Date Title
JP6470557B2 (ja) 歩行計測用センサー
TWI736797B (zh) 用於自動鞋件的繫帶引擎
JP5600073B2 (ja) 圧力スイッチ、送信器、組織部位の圧力をモニタリングするためのシステム及び方法
JP5765826B2 (ja) フットウエア用ソール構造体
KR20140090135A (ko) 발 또는 신발류 위의 힘의 검출
JP6644298B2 (ja) 歩行データ取得装置および歩行データ取得システム
EP3249362A1 (en) Insole with integrated nano-pedometer, step detection and counting method using said insole, and shoe equipped with the fixed or removable insole
JP6125549B2 (ja) フットウエア用ソール構造体
US20110301504A1 (en) Pressure-detecting shoe
CN107106316A (zh) 用于特别地在运动活动期间保护足底垫的装置
JP7009581B2 (ja) 速度を使用する足存在信号処理
JP2015055510A (ja) 荷重検出機能付き履き物
WO2000078170A1 (en) Shoe wear indicator
KR100746504B1 (ko) 보행센서가 구비된 신발
Yamaguchi Distribution of the local required coefficient of friction in the shoe–floor contact area during straight walking: A pilot study
GB2575654A (en) A sensor insert for a shoe
KR20200079631A (ko) 보행자의 족압 분포 정보를 측정하는 인솔 및 이를 이용한 신발
KR200451526Y1 (ko) 족저압 측정을 위한 인솔
JP3183950U (ja) 靴用滑り止め部材
US12130190B2 (en) Load sensing device for articles of footwear
JP7175098B2 (ja) 圧力測定機器、圧力測定システム、及び圧力測定方法
JPH0622245Y2 (ja) スキー靴適合度測定装置
KR20220129781A (ko) 인솔 센서
JP2009175000A (ja) 加重測定装置
CN114847927A (zh) 一种压力监测鞋垫

Legal Events

Date Code Title Description
A621 Written request for application examination

Free format text: JAPANESE INTERMEDIATE CODE: A621

Effective date: 20171120

A131 Notification of reasons for refusal

Free format text: JAPANESE INTERMEDIATE CODE: A131

Effective date: 20180911

A977 Report on retrieval

Free format text: JAPANESE INTERMEDIATE CODE: A971007

Effective date: 20180914

A521 Request for written amendment filed

Free format text: JAPANESE INTERMEDIATE CODE: A523

Effective date: 20181108

TRDD Decision of grant or rejection written
A01 Written decision to grant a patent or to grant a registration (utility model)

Free format text: JAPANESE INTERMEDIATE CODE: A01

Effective date: 20190108

A61 First payment of annual fees (during grant procedure)

Free format text: JAPANESE INTERMEDIATE CODE: A61

Effective date: 20190118

R150 Certificate of patent or registration of utility model

Ref document number: 6470557

Country of ref document: JP

Free format text: JAPANESE INTERMEDIATE CODE: R150

LAPS Cancellation because of no payment of annual fees