JP2016106295A - 出力システムおよび判断方法 - Google Patents
出力システムおよび判断方法 Download PDFInfo
- Publication number
- JP2016106295A JP2016106295A JP2015256950A JP2015256950A JP2016106295A JP 2016106295 A JP2016106295 A JP 2016106295A JP 2015256950 A JP2015256950 A JP 2015256950A JP 2015256950 A JP2015256950 A JP 2015256950A JP 2016106295 A JP2016106295 A JP 2016106295A
- Authority
- JP
- Japan
- Prior art keywords
- output data
- output
- storage unit
- data storage
- information processing
- Prior art date
- Legal status (The legal status is an assumption and is not a legal conclusion. Google has not performed a legal analysis and makes no representation as to the accuracy of the status listed.)
- Pending
Links
Images
Landscapes
- Accessory Devices And Overall Control Thereof (AREA)
- Facsimiles In General (AREA)
Abstract
【課題】印刷サーバが非稼動な場合であっても、印刷システム全体の稼働率が低下することを抑制することができる出力管理装置を提供する。
【解決手段】出力管理装置は、第1出力制御装置が、出力データを記憶するデータ記憶装置を他の少なくとも1つの第2出力制御装置と共有している場合に、第2出力制御装置それぞれの稼働状況を診断する共有稼動状況診断部と、稼働状況診断部により第1出力制御装置が稼動していると診断された場合、又は共有稼動状況診断部により第2出力制御装置のうちの少なくとも1つが稼動していると診断された場合、出力データが出力可能である旨を設定するとともに、第2出力制御装置の全てが稼動していないと診断された場合、出力データが出力不可能である旨を設定する出力設定部と、を備える。
【選択図】図1
【解決手段】出力管理装置は、第1出力制御装置が、出力データを記憶するデータ記憶装置を他の少なくとも1つの第2出力制御装置と共有している場合に、第2出力制御装置それぞれの稼働状況を診断する共有稼動状況診断部と、稼働状況診断部により第1出力制御装置が稼動していると診断された場合、又は共有稼動状況診断部により第2出力制御装置のうちの少なくとも1つが稼動していると診断された場合、出力データが出力可能である旨を設定するとともに、第2出力制御装置の全てが稼動していないと診断された場合、出力データが出力不可能である旨を設定する出力設定部と、を備える。
【選択図】図1
Description
本発明は、出力管理装置、出力管理システム、プログラムに関する。
従来、クライアント端末から出力指示された出力データを即座にはMFPやプリンタからは出力せず、一度出力制御用の印刷サーバ等に保管しておき、後で印刷を行うプルプリントシステムが存在している。プルプリントシステムでは、ユーザは、印刷を行いたいMFPにIDカードやパスワード認証などを用いてログインし、ログイン後に表示される出力データの一覧から、印刷したいデータを選択する。そして、選択されたデータは、MFPから印刷される。
このようなプルプリントシステムにおいては、印刷サーバに、出力データ自身が記憶されるとともに、データのユニークIDや、印刷ジョブ名、ユーザ名、印刷属性などの情報(以下、「コア情報」という。)も記憶されており、これらの情報生成されるデータの一覧であるデータリストをMFPは取得して、表示している。
なお、この出力データや、コア情報が、印刷サーバではなく、別のハードディスクなどの記憶装置に記憶されており、異なる印刷サーバからでも情報の読み出し、及び書き込みが可能な構成が特許文献1には開示されている。このような構成にあっては、データの記憶場所が一元管理されていることから、管理者がコア情報の記憶場所を変更する際にも手間が少ないなどの利点がある。
しかしながら、上述のように印刷サーバと、データの記憶装置が異なるハードウェアとして構成されている場合、例えば、印刷サーバが非稼動となった場合、コア情報を記憶している記憶装置は稼動しているため、MFPはデータリストを取得して表示することはできるものの、実際には印刷に失敗してしまうという問題が発生する。この場合、MFPの利用者はデータは表示されるため、印刷できないという状況を把握しがたく、結果として印刷システム全体の稼働率が低下することとなってしまう。
本発明は、上記に鑑みてなされたものであって、印刷システム全体の稼働率が低下することを抑制することができる出力システムおよび判断方法 を提供することにある。
上述した課題を解決し、目的を達成するために、本発明は、クライアント端末から送信された出力データを受信する複数の情報処理装置と、前記出力データを出力する出力装置と、を含む出力システムであって、前記情報処理装置が、前記出力データを記憶させる複数の出力データ記憶部のうち、当該情報処理装置に応じて指定された前記出力データ記憶部に、受信した前記出力データを記憶させる第1の記憶手段と、前記情報処理装置が、前記複数の情報処理装置により共有され、前記出力データに関する情報を記憶させるリスト記憶部に、受信した前記出力データに関する情報を記憶させる第2の記憶手段と、前記リスト記憶部に記憶された前記情報に基づき、前記出力データのデータ一覧を取得するリスト取得手段と、前記データ一覧に含まれる前記出力データの出力に関して、当該出力データを前記出力データ記憶部に記憶させた前記情報処理装置が当該出力データを当該出力データ記憶部から取得できない状況であっても、当該出力データ記憶部に前記出力データを記憶させることが指定されている他の情報処理装置が前記出力データを当該出力データ記憶部から取得できる状況であれば出力が可能な出力設定手段と、を有する。
本発明によれば、印刷システム全体の稼働率が低下することを抑制することができるという効果を奏する。
以下に添付図面を参照して、出力管理装置の実施形態を詳細に説明する。
(第1の実施形態)
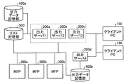
図1は、第1の実施形態にかかる出力管理装置を含む出力管理システムの構成を示すブロック図である。本実施形態においては、出力管理装置はMPFに実装されている。出力管理システム1は、クライアントPC100、出力制御装置である出力サーバ200a〜200d、MFP300a〜300c、出力データ記憶部400a、400b、及びリスト記憶部500を備えている。なお、出力データ記憶部400a又は400bとリスト記憶部500は同じハードウェアに実装されていてもよい。
図1は、第1の実施形態にかかる出力管理装置を含む出力管理システムの構成を示すブロック図である。本実施形態においては、出力管理装置はMPFに実装されている。出力管理システム1は、クライアントPC100、出力制御装置である出力サーバ200a〜200d、MFP300a〜300c、出力データ記憶部400a、400b、及びリスト記憶部500を備えている。なお、出力データ記憶部400a又は400bとリスト記憶部500は同じハードウェアに実装されていてもよい。
プルプリントシステムにおいては、クライアントPC100から印刷したい出力データを、出力サーバ200a〜200dを指定して送信する。送信された出力データは、指定された出力サーバ200a〜200dと予め対応付けられた出力データ記憶部400a、及び400bに記憶される。本実施形態においては、出力サーバ200a〜200cの出力データの記憶場所は、出力データ記憶部400aに、出力サーバ200dの出力データの記憶場所は、出力データ記憶部400bに、それぞれ設定されている。したがって、出力サーバ200a〜200cは、出力データ記憶部400aを共有していることとなる。なお、この設定は、システムの管理者が手動で変更することができる。
また、各出力サーバ200a〜200dは、送信された出力データに含まれるコア情報、例えばデータのユニークIDや、印刷ジョブ名、ユーザ名、印刷属性に関する情報をリスト記憶部500に記憶する。利用者は実際にデータを印刷する際には、MFP300a〜300cに対して、例えばICカードなどを利用してログインする。MFP300a〜300cは、ログイン時に取得した利用者のユーザ名から、該当する出力データの一覧であるデータリストをリスト記憶部500から取得し、表示部に表示させる。
次に、MFP300の機能構成について図2を参照して説明する。図2に示されるように、MFP300は、CPU301、表示部302、メモリ303、リスト取得部311、共有情報記憶部312、順序記憶部313、稼働状況診断部314、共有稼動状況診断部315、出力設定部316、及び表示制御部317を備えている。共有情報記憶部312、稼働状況診断部314、共有稼動状況診断部315、出力設定部316、及び表示制御部317は、それぞれの機能をCPU301が読み出し、メモリ303上で実行することで実現される。
リスト取得部311は、ネットワークを通じて、リスト記憶部500から出力データのデータリストを取得する。リスト取得部311は、リスト記憶部500に記憶されている全てのコア情報で示される出力データの一覧を取得してもよいし、MFP300にログインしているユーザに該当するユーザ名を含んだ出力データのリストのみを取得するようにしてもよい。図3は、取得したデータリストの一例を示す図である。図3に示されるように、データリストは、ジョブID、ユーザID、印刷設定情報、指定出力サーバの情報をそれぞれ含んでいる。ジョブIDは、ユーザがPC100から出力指示を送った際に、出力データに割り当てられるIDである。ユーザIDは、クライアントPC100から出力データを送信したユーザを識別可能なIDである。印刷設定情報は、両面印刷/片面印刷や、印刷部数、割付の指定などの印刷条件を示す情報である。指定出力サーバの情報は、ユーザがPC100から出力データを送信する際に、指定した出力サーバ200a〜200dのいずれかを示す。取得されたデータリストは、表示制御部317によって表示部302に表示される。
共有情報記憶部312は、いずれの出力サーバ200a〜200dが出力データ記憶部400a、400bを共有しているかを記憶する。本実施形態においては、出力サーバ200a〜200cが出力データ記憶部400aを共有している旨が記憶されている。共有情報記憶部312に記憶される共有情報は、システムの管理者が手動で更新する。
順序記憶部313は、ユーザがMFP300a〜300cから、共有情報記憶部312に記憶された同じ出力データ記憶部400aを記憶する出力サーバ200a〜200cのうち、印刷時に出力指示をMFP300から送信する順番を記憶している。なお、記憶された送信の順番は、上述したコア情報に含まれる指定出力サーバが非稼動であった際に、代わりに出力処理を行う出力サーバ200a〜200dを指定する順序を決定するために利用される情報である。図4は、順序リストの一例を示す図である。図4に示されるように、この順序リストが設定されたMFPにおいては、出力サーバ1が最も順番が早く、出力サーバ3が最も順番が遅い。
稼働状況診断部314は、取得したデータリストに存在する出力データの指定出力サーバとして指定された出力サーバ200a〜200dが稼動状態であるか否かを診断する。例えば、出力サーバ200a〜200dに対して、信号を送信し、所定の時間内に返信があるか否かで稼動状態を判定するなどの方法を採用することができる。稼働状況診断部314は、データリストに複数出力データが存在している場合は、それぞれのデータ毎に指定出力サーバの稼働状況の診断を行う。
共有稼動状況診断部315は、稼働状況診断部314で指定出力サーバが非稼動状態であると判定された場合に、共有情報記憶部312に記憶されている出力データ記憶部400a、400bを共有する出力サーバ200a〜200dの中から順序リストに従って、順位の高い出力サーバから順に稼働状況を診断する。
出力設定部316は、稼動状況診断部314、及び共有稼働状況診断部315の診断の結果、診断したいずれかの出力サーバのうちの1つでも稼動している場合は、出力データを出力可能である旨を設定する。一方、稼動状況診断部314、及び共有稼働状況診断部315により全ての出力サーバ200a〜200dが非稼動と判定された場合は、出力設定部316は、出力データを出力不可能である旨を設定する。
また、出力サーバ200a〜200d自身は稼動していても、出力データ記憶部400a、400bがダウンしており、出力データを印刷の際に取得できない場合もありえる。また、選択されたデータが問い合わせ先の出力データ記憶部400a、400bには記憶されていない場合も存在する。出力サーバ200a〜200dは、稼動状況診断部314、及び共有稼働状況診断部315からの稼働状況の診断の通知を受信すると、診断の際に選択されている出力データを、出力サーバ200a〜200dごとに予め設定されているデータの記憶場所である出力データ記憶部400a、400bに対して、問い合わせを行い、稼動しているかどうかを確認する。
出力データ記憶部400a、400bは、稼動している場合、問い合わせのあった出力サーバ200a〜200dに対して選択された出力データを取得可能か否かの返答を行う。出力サーバ200a〜200dは、出力データ記憶部400a、400bからの返答がなかった場合、または選択された出力データが記憶されていない旨の返答を受信した場合、自身は稼動している場合であっても、問い合わせのあった稼動状況診断部314、及び共有稼働状況診断部315に対して、出力データを取得不可能である旨を送信する。出力設定部316は、この場合も出力データを出力不可能に設定する。
表示制御部317は、表示部302に表示する画面の態様を制御する。また、表示制御部317は、出力設定部316が設定した、出力データごとの出力可能、出力不可能の設定を反映したデータリストを表示させる。具体的には、出力不可能に設定された出力データは、選択ができないよう例えば色が暗くなったような態様で表示され、出力可能に設定された出力データは通常通り選択可能に表示される。図6−1〜図6−3は、データリストの表示態様の一例を示す図である。本実施形態では、ユーザにdoc1〜doc4のデータが図3で示したジョブID1〜4にそれぞれ対応している。
図6−1は、全ての出力データが出力可能である状態である。この場合、次の状態であり、いずれの出力データも印刷可能である。
(1)出力サーバ200a〜200cのいずれかは稼働中。
(2)出力サーバ200dは稼働中。
(3)出力データ記憶部400a、及び400bは稼働中、かつそれぞれの出力データ記憶部400a、400bに選択された各出力データが存在。
(1)出力サーバ200a〜200cのいずれかは稼働中。
(2)出力サーバ200dは稼働中。
(3)出力データ記憶部400a、及び400bは稼働中、かつそれぞれの出力データ記憶部400a、400bに選択された各出力データが存在。
図6−2は、出力データのうちdoc1〜doc3は出力不可能、doc4は出力可能である状態である。この場合、次の状態であり、doc4の出力データのみ印刷可能である。
(1)出力サーバ200a〜200cが全て非稼動、または出力データ記憶部400aが非稼動かdoc1〜doc3の全ての出力データが出力データ記憶部400aに記憶されていない。
(2)出力サーバ200dが稼働中、かつ出力データ記憶部400bが稼働中。
(1)出力サーバ200a〜200cが全て非稼動、または出力データ記憶部400aが非稼動かdoc1〜doc3の全ての出力データが出力データ記憶部400aに記憶されていない。
(2)出力サーバ200dが稼働中、かつ出力データ記憶部400bが稼働中。
図6−3は、出力データのうちdoc1〜doc3は出力可能、doc4は出力不可能である状態である。この場合、次の状態であり、doc1〜doc3の出力データは印刷可能である。
(1)出力サーバ200a〜200cの少なくとも1つが稼働中、かつ出力データ記憶部400aは稼動中。
(2)出力サーバ200dが非稼働中、又は出力データ記憶部400bが非稼働中かdoc4が出力データ記憶部400bに記憶されていない。
(1)出力サーバ200a〜200cの少なくとも1つが稼働中、かつ出力データ記憶部400aは稼動中。
(2)出力サーバ200dが非稼働中、又は出力データ記憶部400bが非稼働中かdoc4が出力データ記憶部400bに記憶されていない。
次に、MFP300でのデータリストの表示態様を決定する処理の流れを図5を用いて説明する。本処理はユーザが印刷を行いたいMFP300にログインした時点から開始される。MFP300のリスト取得部311は、リスト記憶部500からユーザにより送信された出力データのコア情報を受け取り、データリストを取得する(ステップS101)。次いで、ポインタであるiが初期化される(ステップS102)。iは、取得したデータリストに含まれる出力データを示すポインタであり、0<i<=データリストに含まれる出力データ数を満たす整数である。
次いで、稼働状況診断部314は、i番目の出力データの指定された出力サーバをコア情報から取得し、この出力サーバに対して稼働状況を問い合わせる(ステップS103)。稼働状況診断部314は、指定出力サーバが稼働中で、かつ出力データが記憶された出力データ記憶部400a、400bからi番目の出力データが取得できるか否かを、問い合わせた出力サーバの返信状況から判定する(ステップS104)。
指定出力サーバが稼働中で、かつデータ記憶部400a、400bからi番目の出力データが取得できると判定された場合(ステップS104:Yes)、出力設定部316は、i番目の出力データを印刷実行可能(出力可能)に設定する(ステップS105)。一方、指定出力サーバが稼働中でない、又は出力データが記憶されたデータ記憶部400a、400bからi番目の出力データが取得できないと判定された場合(ステップS104:No)、共有稼働状況診断部315は、共有情報記憶部312から、指定出力サーバと同じ出力データ記憶部400a、400bを共有している出力サーバ200a〜200dがあるか否かを判定する(ステップS106)。
指定出力サーバと同じ出力データ記憶部400a、400bを共有している出力サーバ200があると判定された場合(ステップS106:Yes)、共有稼働状況診断部315は、出力データ記憶部400a又は400bを共有する出力サーバ200a〜200dの順序リストを取得する(ステップS107)。次いで、共有稼働状況診断部315は、出力サーバを指定するポインタであるjを初期化する(ステップS108)。jは0<j<=順序リストに含まれるサーバ数の整数である。
次いで、共有稼働状況診断部315は、順序がj番目の出力サーバに稼働状況を問い合わせる(ステップS109)。共有稼動状況診断部315は、問い合わせの結果から問い合わせた出力サーバが稼働中で、かつ出力データが記憶されたデータ記憶部400a、400bからi番目の出力データが取得できるか否かを判定する(ステップS110)。問い合わせた出力サーバが稼働中で、かつ出力データが記憶されたデータ記憶部400a、400bからi番目の出力データが取得できると判定された場合(ステップS110:Yes)、ステップS105へと進む。一方、問い合わせた出力サーバが稼働中ではないか、出力データが記憶されたデータ記憶部400a、400bからi番目の出力データが取得できないと判定された場合(ステップS110:No)、全ての順序リストに登録されている出力サーバに対して問い合わせを行ったか否かが判定される(ステップS111)。
全ての順序リストに登録されている出力サーバに対して問い合わせを行ったと判定された場合、すなわちjが所定の順序リストに含まれるサーバ数に達したと判定された場合(ステップS111:Yes)、出力設定部316は、i番目の出力データを印刷実行不可能に設定する(ステップS112)。一方、全ての順序リストに登録されている出力サーバに対して問い合わせを行っていないと判定された場合(ステップS111:No)、jに1が加算されて、ステップS109からの処理が繰り返される(ステップS113)。
ステップS105、又はステップS112のあとには、データリストに存在する全ての出力データについて問い合わせが行われたか否かが判定される(ステップS114)。データリストに存在する全ての出力データについて問い合わせが行われたと判定された場合(ステップS114:Yes)、表示制御部317は、出力データ毎に出力可能、又は出力不可能の設定を反映した表示態様にて表示部302にデータリストを表示させる(ステップS115)。一方、データリストに存在する全ての出力データについて問い合わせが行われていないと判定された場合(ステップS114:No)、iに1加算して、次の出力データに対してステップS103からの処理を繰り返す(ステップS116)。
以上に示した本実施形態の出力管理装置にあっては、出力データの送信時に指定された出力サーバが稼動していない状態であっても、同じ出力データ記憶部を共有する別の出力サーバが稼動していれば、ユーザに対して出力データは印刷可能である旨を表示できる。そのため、ユーザが印刷実行を指示すれば、出力データの印刷が可能となり、印刷システム全体の稼働率の低下を抑制することができるようになる。
また、出力データの送信時に指定された出力サーバが稼動していないときに代わりに印刷処理を実行する出力サーバのうちいずれの出力サーバを優先して利用するかを、順序リストによって設定することができるため、例えば処理能力が高い出力サーバを優先したり、MFPの配置などを考慮した設定をしたりするといったことができるようになり、システム管理の利便性が向上する。
(第2の実施形態)
次に、本発明の第2の実施形態について説明する。第2の実施形態においては、図7に示されるように、出力サーバ200a〜200cは、設定上は出力データ記憶部400aを共有するように設定されているものの、実際に出力サーバ200bのデータの記憶場所として指定されているのは、出力データ記憶部400bであるという状況の場合について説明する。
次に、本発明の第2の実施形態について説明する。第2の実施形態においては、図7に示されるように、出力サーバ200a〜200cは、設定上は出力データ記憶部400aを共有するように設定されているものの、実際に出力サーバ200bのデータの記憶場所として指定されているのは、出力データ記憶部400bであるという状況の場合について説明する。
例えば、出力サーバ200a、及び200cが非稼動状態であり、出力サーバ200bが稼動状態である例について説明する。この場合、出力サーバ200bが稼動しているため、共有稼動状況診断部315による問い合わせに対しては稼働中である旨が返答されるが、出力サーバ200bのデータの保存位置である出力データ記憶部400bには、doc1、及びdoc3が保存されていないため、これらの出力データは取得不可能であると返答される。一方、doc2は、出力データ記憶部400bから取得可能であるため、図8−1に示されるように、表示制御部317は、doc1、及びdoc3を印刷実行不可能であるように表示し、doc2、及びdoc4は印刷実行可能であるよう表示する。
また、出力サーバ200a、及び200cが稼動状態であり、出力サーバ200bが非稼動状態である例について説明する。この場合、doc1、及びdoc3については、印刷実行が可能と設定されるが、doc2については、出力サーバ200bが非稼動なため、続いて出力サーバ200a、200cに対して問い合わせが実行される。出力サーバ200aは稼働中であるが、doc2は、出力サーバ200aのデータの保存場所である出力データ記憶部400aにはデータが存在しないため、出力サーバ200a、200cからはdoc2の出力データが取得できない旨の返答がなされる。
したがって、図8−2に示されるように表示制御部317は、doc1、doc3及びdoc4を印刷実行可能であるように表示し、doc2を印刷実行不可能であるよう表示する。
本実施形態においては、このようにデータの保存場所の共有設定と、実際の出力サーバのデータの保存場所とが異なっている場合であっても、実際のデータの保存位置にあわせて出力データを取得可能か否かを判別できるため、誤ってデータリストに印刷が実行可能や不可能と表示することを防ぐことができるようになる。
なお、以上に示した各実施形態の出力管理装置は、CPUなどの制御装置と、ROM(Read Only Memory)やRAMなどの記憶装置と、HDD、CDドライブ装置などの外部記憶装置と、ディスプレイ装置などの表示装置と、キーボードやマウスなどの入力装置を備えており、通常のコンピュータを利用したハードウェア構成となっている。
以上に示した各実施形態の出力管理装置で実行されるプログラムは、インストール可能な形式又は実行可能な形式のファイルでCD−ROM、フレキシブルディスク(FD)、CD−R、DVD(Digital Versatile Disk)等のコンピュータで読み取り可能な記録媒体に記録されて提供される。
また、以上に示した各実施形態の出力管理装置で実行されるプログラムを、インターネット等のネットワークに接続されたコンピュータ上に格納し、ネットワーク経由でダウンロードさせることにより提供するように構成しても良い。また、本実施形態の出力管理装置で実行されるプログラムをインターネット等のネットワーク経由で提供または配布するように構成しても良い。
また、以上に示した各実施形態の出力管理装置で実行されるプログラムを、ROM等に予め組み込んで提供するように構成してもよい。以上に示した各実施形態の出力管理装置で実行されるプログラムは、上述した各部を含むモジュール構成となっており、実際のハードウェアとしてはCPU(プロセッサ)が上記記憶媒体からプログラムを読み出して実行することにより上記各部が主記憶装置上にロードされ、各部が主記憶装置上に生成されるようになっている。
なお、上記実施の形態では、出力管理装置をMFPに搭載する例として示したが、複写機、プリンタ、スキャナ装置、ファクシミリ装置等の画像形成装置であればいずれにも適用することができる。
1 出力管理システム
100 クライアントPC
200a 出力サーバ
200b 出力サーバ
200c 出力サーバ
200d 出力サーバ
301 CPU
302 表示部
303 メモリ
311 リスト取得部
312 共有情報記憶部
313 順序記憶部
314 稼働状況診断部
315 共有稼働状況診断部
316 出力設定部
317 表示制御部
400a 出力データ記憶部
400b 出力データ記憶部
500 リスト記憶部
100 クライアントPC
200a 出力サーバ
200b 出力サーバ
200c 出力サーバ
200d 出力サーバ
301 CPU
302 表示部
303 メモリ
311 リスト取得部
312 共有情報記憶部
313 順序記憶部
314 稼働状況診断部
315 共有稼働状況診断部
316 出力設定部
317 表示制御部
400a 出力データ記憶部
400b 出力データ記憶部
500 リスト記憶部
Claims (5)
- クライアント端末から送信された出力データを受信する複数の情報処理装置と、前記出力データを出力する出力装置と、を含む出力システムであって、
前記情報処理装置が、前記出力データを記憶させる複数の出力データ記憶部のうち、当該情報処理装置に応じて指定された前記出力データ記憶部に、受信した前記出力データを記憶させる第1の記憶手段と、
前記情報処理装置が、前記複数の情報処理装置により共有され、前記出力データに関する情報を記憶させるリスト記憶部に、受信した前記出力データに関する情報を記憶させる第2の記憶手段と、
前記リスト記憶部に記憶された前記情報に基づき、前記出力データのデータ一覧を取得するリスト取得手段と、
前記データ一覧に含まれる前記出力データの出力に関して、当該出力データを前記出力データ記憶部に記憶させた前記情報処理装置が当該出力データを当該出力データ記憶部から取得できない状況であっても、当該出力データ記憶部に前記出力データを記憶させることが指定されている他の情報処理装置が前記出力データを当該出力データ記憶部から取得できる状況であれば出力が可能な出力設定手段と、
を有する出力システム。 - 前記複数の情報処理装置のそれぞれについて、設定された前記出力データ記憶部に関する対応情報を記憶する共有情報記憶手段と、
前記複数の情報処理装置のそれぞれについて、設定された前記出力データ記憶部から前記出力データが取得できる状況にあるか否かを判定する稼働状況診断手段と、
を有し、
前記出力設定手段は、
前記対応情報と、前記稼働状況診断手段による判定の結果と、に基づいて、出力が可能か否かを判定する請求項1に記載の出力システム。 - 前記出力データに関する情報は、ユーザ識別情報と、前記出力データを記憶させた前記情報処理装置を示す装置情報とを含む請求項1または2に記載の出力システム。
- クライアント端末から送信された出力データを受信する複数の情報処理装置と、前記出力データを記憶する複数の出力データ記憶部とを含み、前記複数の情報処理装置のそれぞれに対して、前記複数の出力データ記憶部のうち、受信した前記出力データを記憶させる前記出力データ記憶部が設定された出力システムにおいて、コンピュータが前記出力データの出力可否を判断する判断方法であって、
前記出力データ記憶部に記憶される前記出力データについて、当該出力データを前記出力データ記憶部に記憶させた前記情報処理装置が当該出力データを当該出力データ記憶部から取得できない状況であっても、当該出力データ記憶部に前記出力データを記憶させることが指定されている他の情報処理装置が前記出力データを当該出力データ記憶部から取得できる状況であれば出力が可能と判断する判断ステップ
を有する判断方法。 - 前記判断ステップは、
前記複数の情報処理装置のそれぞれについて、設定された前記出力データ記憶部から前記出力データの取得が可能な状況か否かを判定する第1の判定ステップと、
取得が可能でないと判定された前記情報処理装置に対して設定されている前記出力データ記憶部を、前記出力データを記憶させる前記出力データ記憶部として共有する他の情報処理装置が存在するか否かを判定する第2の判定ステップと、を含み、
前記他の情報処理装置が存在し、かつ、当該他の情報処理装置が当該出力データ記憶部から前記出力データを取得可能な状況と判定されていた場合に、当該出力データ記憶部に記憶された前記出力データは出力が可能と判断する請求項4に記載の判断方法。
Priority Applications (1)
| Application Number | Priority Date | Filing Date | Title |
|---|---|---|---|
| JP2015256950A JP2016106295A (ja) | 2015-12-28 | 2015-12-28 | 出力システムおよび判断方法 |
Applications Claiming Priority (1)
| Application Number | Priority Date | Filing Date | Title |
|---|---|---|---|
| JP2015256950A JP2016106295A (ja) | 2015-12-28 | 2015-12-28 | 出力システムおよび判断方法 |
Related Parent Applications (1)
| Application Number | Title | Priority Date | Filing Date |
|---|---|---|---|
| JP2012137286A Division JP5862475B2 (ja) | 2012-06-18 | 2012-06-18 | 出力管理装置、出力管理システム、プログラム |
Publications (1)
| Publication Number | Publication Date |
|---|---|
| JP2016106295A true JP2016106295A (ja) | 2016-06-16 |
Family
ID=56120148
Family Applications (1)
| Application Number | Title | Priority Date | Filing Date |
|---|---|---|---|
| JP2015256950A Pending JP2016106295A (ja) | 2015-12-28 | 2015-12-28 | 出力システムおよび判断方法 |
Country Status (1)
| Country | Link |
|---|---|
| JP (1) | JP2016106295A (ja) |
Citations (4)
| Publication number | Priority date | Publication date | Assignee | Title |
|---|---|---|---|---|
| JPH10340164A (ja) * | 1997-06-06 | 1998-12-22 | Nec Software Ltd | 分散印刷処理システム |
| JP2000181653A (ja) * | 1998-12-17 | 2000-06-30 | Fuji Xerox Co Ltd | ネットワークシステム、代替処理制御方法、及びサーバ |
| JP2004310516A (ja) * | 2003-04-08 | 2004-11-04 | Fuji Xerox Co Ltd | プリントシステムおよびプリント管理方法 |
| JP2012088903A (ja) * | 2010-10-19 | 2012-05-10 | Canon Inc | 文書管理装置、文書管理方法及びプログラム |
-
2015
- 2015-12-28 JP JP2015256950A patent/JP2016106295A/ja active Pending
Patent Citations (4)
| Publication number | Priority date | Publication date | Assignee | Title |
|---|---|---|---|---|
| JPH10340164A (ja) * | 1997-06-06 | 1998-12-22 | Nec Software Ltd | 分散印刷処理システム |
| JP2000181653A (ja) * | 1998-12-17 | 2000-06-30 | Fuji Xerox Co Ltd | ネットワークシステム、代替処理制御方法、及びサーバ |
| JP2004310516A (ja) * | 2003-04-08 | 2004-11-04 | Fuji Xerox Co Ltd | プリントシステムおよびプリント管理方法 |
| JP2012088903A (ja) * | 2010-10-19 | 2012-05-10 | Canon Inc | 文書管理装置、文書管理方法及びプログラム |
Similar Documents
| Publication | Publication Date | Title |
|---|---|---|
| US8861001B2 (en) | Output control system, output control method, and output control apparatus for determining whether to store or transmit target data based on use state | |
| US10447660B2 (en) | Information processing apparatus, control method for information processing apparatus, and storage medium | |
| US8363242B2 (en) | Image processing apparatus and image processing apparatus control method for requesting an external apparatus to transmit image data | |
| US9787859B2 (en) | Image processing system, information processing device, and non-transitory computer readable medium for managing a consumable item | |
| JP5597556B2 (ja) | 画像形成装置、画像形成装置の設定方法およびセキュリティ設定装置 | |
| US20090027726A1 (en) | Image processing apparatus, image processing method, and storage medium | |
| CN105530396B (zh) | 图像形成装置、图像形成系统以及图像形成方法 | |
| JP2012247977A (ja) | 情報処理装置、発注システム、発注管理プログラム、及びそのプログラムを記憶した記録媒体 | |
| US20110066722A1 (en) | Device management apparatus, device management system, device management program, and storage medium | |
| KR20180018386A (ko) | 인쇄장치, 인쇄장치의 제어방법 및 기억매체 | |
| US20160057295A1 (en) | Server, image forming device and communication system | |
| JP5862475B2 (ja) | 出力管理装置、出力管理システム、プログラム | |
| JP5396847B2 (ja) | 印刷装置及びその制御方法 | |
| EP2608520B1 (en) | Performing error notification and error recovery in an image forming apparatus | |
| JP2008078815A (ja) | 画像形成装置、機器管理装置、機器管理システム、状態取得方法、機器管理方法およびプログラム | |
| US12367286B2 (en) | Server apparatus and control method thereof, information processing apparatus and control method thereof, information processing system, and storage medium | |
| JP6264572B2 (ja) | 電子機器、バックアップ先決定プログラムおよびバックアッププログラム | |
| JP2012064045A (ja) | 管理サーバおよびエラー出力プログラム | |
| JP2016177460A (ja) | システム及びプログラム | |
| JP2016106295A (ja) | 出力システムおよび判断方法 | |
| JP5647756B2 (ja) | 管理サーバー、管理サーバー用プログラム、および管理サーバーを備えたネットワークシステム | |
| US10382638B2 (en) | Electronic device, service execution system, and log acquisition method | |
| US10379799B2 (en) | Image forming apparatus, control method, and storage medium | |
| JP2010079691A (ja) | 印刷装置,印刷システムおよびプログラム | |
| JP2023021755A (ja) | 情報処理装置、印刷システム及びプログラム |
Legal Events
| Date | Code | Title | Description |
|---|---|---|---|
| A977 | Report on retrieval |
Free format text: JAPANESE INTERMEDIATE CODE: A971007 Effective date: 20161226 |
|
| A131 | Notification of reasons for refusal |
Free format text: JAPANESE INTERMEDIATE CODE: A131 Effective date: 20170110 |
|
| A02 | Decision of refusal |
Free format text: JAPANESE INTERMEDIATE CODE: A02 Effective date: 20170704 |