JP2016018547A - 貨幣処理装置及び貨幣処理システム - Google Patents
貨幣処理装置及び貨幣処理システム Download PDFInfo
- Publication number
- JP2016018547A JP2016018547A JP2014143389A JP2014143389A JP2016018547A JP 2016018547 A JP2016018547 A JP 2016018547A JP 2014143389 A JP2014143389 A JP 2014143389A JP 2014143389 A JP2014143389 A JP 2014143389A JP 2016018547 A JP2016018547 A JP 2016018547A
- Authority
- JP
- Japan
- Prior art keywords
- unit
- coin
- money
- image data
- banknote
- Prior art date
- Legal status (The legal status is an assumption and is not a legal conclusion. Google has not performed a legal analysis and makes no representation as to the accuracy of the status listed.)
- Pending
Links
- 238000012545 processing Methods 0.000 claims abstract description 116
- 238000003384 imaging method Methods 0.000 claims abstract description 93
- 238000003860 storage Methods 0.000 claims description 112
- 239000000428 dust Substances 0.000 claims description 23
- 238000000638 solvent extraction Methods 0.000 claims description 3
- 238000005192 partition Methods 0.000 claims description 2
- 238000000034 method Methods 0.000 abstract description 41
- 230000008569 process Effects 0.000 abstract description 36
- 230000008859 change Effects 0.000 description 42
- 238000001514 detection method Methods 0.000 description 24
- 230000032258 transport Effects 0.000 description 19
- 238000010586 diagram Methods 0.000 description 13
- 238000009826 distribution Methods 0.000 description 13
- 238000012790 confirmation Methods 0.000 description 10
- 230000006870 function Effects 0.000 description 9
- 238000000151 deposition Methods 0.000 description 7
- 238000005286 illumination Methods 0.000 description 6
- 238000011144 upstream manufacturing Methods 0.000 description 5
- 239000000126 substance Substances 0.000 description 4
- 238000004891 communication Methods 0.000 description 3
- 230000000694 effects Effects 0.000 description 3
- 238000011084 recovery Methods 0.000 description 3
- 230000009286 beneficial effect Effects 0.000 description 2
- 238000002360 preparation method Methods 0.000 description 2
- 238000003825 pressing Methods 0.000 description 2
- 230000004044 response Effects 0.000 description 2
- 230000007723 transport mechanism Effects 0.000 description 2
- 239000000284 extract Substances 0.000 description 1
- 238000000605 extraction Methods 0.000 description 1
- 238000001125 extrusion Methods 0.000 description 1
- PCHJSUWPFVWCPO-UHFFFAOYSA-N gold Chemical compound [Au] PCHJSUWPFVWCPO-UHFFFAOYSA-N 0.000 description 1
- 239000010931 gold Substances 0.000 description 1
- 229910052737 gold Inorganic materials 0.000 description 1
- 239000004973 liquid crystal related substance Substances 0.000 description 1
- 230000007257 malfunction Effects 0.000 description 1
- 238000004519 manufacturing process Methods 0.000 description 1
- 239000000463 material Substances 0.000 description 1
- 238000012986 modification Methods 0.000 description 1
- 230000004048 modification Effects 0.000 description 1
- 238000012552 review Methods 0.000 description 1
- 238000012216 screening Methods 0.000 description 1
- 230000011218 segmentation Effects 0.000 description 1
- 238000012546 transfer Methods 0.000 description 1
- 239000002699 waste material Substances 0.000 description 1
Images
Landscapes
- Cash Registers Or Receiving Machines (AREA)
Abstract
【課題】貨幣の画像データに基づいて貨幣の金種を判別するに際して、貨幣の金種を迅速かつより確実に判別すること。【解決手段】貨幣を処理する貨幣処理装置が、貨幣を載置するための載置部10であって、載置される貨幣を互いに離間させた状態に区分けするための区分け部15を有する載置部10と、撮像部50で取得された載置部10に載置された貨幣の画像データに基づいて、当該貨幣の金種を判別し、判別結果に基づく情報を表示部551に出力する制御部502と、を備えている。【選択図】図5
Description
本発明は、貨幣を処理する貨幣処理装置及び貨幣処理システムに関する。
従来から、金融機関、交通機関の窓口、スーパーマーケット等の精算所においては、紙幣や硬貨の入出金処理を機械的に自動処理するような貨幣処理装置や貨幣処理システムが導入されている。
上記貨幣入出金処理システムは、紙幣の入出金処理を行う紙幣処理装置と、硬貨の入出金処理を行う硬貨処理装置と、商品、販売額、振込額等を登録するとともに紙幣処理装置及び硬貨処理装置に対して指令を送る登録装置とを含んでいる。この登録装置はスーパーマーケット等の精算所においてはPOSレジスタがその機能を持ち、また金融機関や交通機関の窓口においてはテラーズマシンがその機能を持つようになされている(特許文献1参照)。そして、従来の貨幣処理装置では、硬貨及び紙幣の双方に対して識別部によってその金種を識別して計数することが行われてきた。
この点、本願の発明者らは、識別部によって貨幣の金種を識別して計数するのではなく、又は、識別部によって貨幣の金種を識別して計数することに加えて、貨幣の画像データに基づいて貨幣の金種を判別することを考えついた。そして、画像データに基づいて貨幣の金種を判別するに際して、貨幣の金種を迅速かつより確実に判別することが必要であるという問題に直面した。
本発明は、このような点を鑑みてなされたものであり、貨幣の画像データに基づいて貨幣の金種を判別するに際して、貨幣の金種を迅速かつより確実に判別できる貨幣処理装置及び貨幣処理システムを提供する。
本発明による貨幣処理装置は、
貨幣を処理する貨幣処理装置であって、
貨幣を載置するための載置部であって、載置される前記貨幣を互いに離間させた状態に区分けするための区分け部を有する載置部と、
撮像部で取得された前記載置部に載置された貨幣の画像データに基づいて、当該貨幣の金種を判別する制御部と、
を備える。
貨幣を処理する貨幣処理装置であって、
貨幣を載置するための載置部であって、載置される前記貨幣を互いに離間させた状態に区分けするための区分け部を有する載置部と、
撮像部で取得された前記載置部に載置された貨幣の画像データに基づいて、当該貨幣の金種を判別する制御部と、
を備える。
本発明による貨幣処理装置において、
前記区分け部は、前記載置部の載置面に設けられ、前記載置面に沿って形成される多角形状又は円形状の区画を画定する突出壁を含んでもよい。
前記区分け部は、前記載置部の載置面に設けられ、前記載置面に沿って形成される多角形状又は円形状の区画を画定する突出壁を含んでもよい。
本発明による貨幣処理装置において、
前記区分け部は、前記載置部の載置面に設けられ、前記載置面に沿って形成される所定の区画の頂点に位置する複数の突起部を含んでもよい。
前記区分け部は、前記載置部の載置面に設けられ、前記載置面に沿って形成される所定の区画の頂点に位置する複数の突起部を含んでもよい。
本発明による貨幣処理装置において、
前記貨幣は硬貨であり、
前記区画の前記載置面に沿った大きさは、取扱い対象とする硬貨のうち最大径の硬貨の直径よりも大きく取扱い対象とする最小径の硬貨の直径の2倍よりも小さくてもよい。
前記貨幣は硬貨であり、
前記区画の前記載置面に沿った大きさは、取扱い対象とする硬貨のうち最大径の硬貨の直径よりも大きく取扱い対象とする最小径の硬貨の直径の2倍よりも小さくてもよい。
本発明による貨幣処理装置において、
前記貨幣は硬貨であり、
前記区分け部の厚みは、取扱い対象とする硬貨のうち最も厚みの薄い硬貨の厚みよりも薄くなっていてもよい。
前記貨幣は硬貨であり、
前記区分け部の厚みは、取扱い対象とする硬貨のうち最も厚みの薄い硬貨の厚みよりも薄くなっていてもよい。
本発明による貨幣処理装置において、
前記載置部は、前記区分け部を有する第一部材と、前記第一部材の下方に設けられるとともに前記第一部材に対して開閉可能な第二部材と、を有してもよい。
前記載置部は、前記区分け部を有する第一部材と、前記第一部材の下方に設けられるとともに前記第一部材に対して開閉可能な第二部材と、を有してもよい。
本発明による貨幣処理装置において、
前記第二部材は前記第一部材に対して揺動可能となっていてもよい。
前記第二部材は前記第一部材に対して揺動可能となっていてもよい。
本発明による貨幣処理装置において、
前記載置部は、前記区分け部を有する第一部材と、前記第一部材の下方に設けられた第二部材と、を有し、
前記第二部材には、ゴミ抜き穴が形成されていてもよい。
前記載置部は、前記区分け部を有する第一部材と、前記第一部材の下方に設けられた第二部材と、を有し、
前記第二部材には、ゴミ抜き穴が形成されていてもよい。
本発明による貨幣処理装置において、
前記貨幣は硬貨であり、
前記ゴミ抜き穴の大きさは取扱い対象とする硬貨のうち最小径の硬貨の直径よりも小さくてもよい。
前記貨幣は硬貨であり、
前記ゴミ抜き穴の大きさは取扱い対象とする硬貨のうち最小径の硬貨の直径よりも小さくてもよい。
本発明による貨幣処理装置において、
前記載置部は、前記第二部材の下方に設けられ、ゴミ収容部を有するとともに、前記第二部材に対して取り外し自在又は開閉自在となった第三部材をさらに有していてもよい。
前記載置部は、前記第二部材の下方に設けられ、ゴミ収容部を有するとともに、前記第二部材に対して取り外し自在又は開閉自在となった第三部材をさらに有していてもよい。
本発明による貨幣処理装置は、
筐体と、
前記筐体に設けられ、貨幣を受け入れる受入部と、
をさらに備え、
前記載置部は前記受入部よりも上方位置に位置づけられ、
前記載置部と前記受入部との間に、前記載置部に載置された貨幣を前記受入部へと導くためのシュートが設けられていてもよい。
筐体と、
前記筐体に設けられ、貨幣を受け入れる受入部と、
をさらに備え、
前記載置部は前記受入部よりも上方位置に位置づけられ、
前記載置部と前記受入部との間に、前記載置部に載置された貨幣を前記受入部へと導くためのシュートが設けられていてもよい。
本発明による貨幣処理システムは、
貨幣を載置するための載置部であって、載置される前記貨幣を互いに離間させた状態に区分けするための区分け部を有する載置部と、
前記載置部に載置された貨幣の画像データを取得する撮像部と、
前記画像データに基づいて、当該貨幣の金種を判別する制御部と、
を備える。
貨幣を載置するための載置部であって、載置される前記貨幣を互いに離間させた状態に区分けするための区分け部を有する載置部と、
前記載置部に載置された貨幣の画像データを取得する撮像部と、
前記画像データに基づいて、当該貨幣の金種を判別する制御部と、
を備える。
本発明による貨幣処理システムは、
前記撮像部で取得された前記画像データを表示する表示部をさらに備えてもよい。
前記撮像部で取得された前記画像データを表示する表示部をさらに備えてもよい。
本発明によれば、貨幣を載置するための載置部が、載置される前記貨幣を互いに離間させた状態に区分けするための区分け部を有している。このため、貨幣の画像データに基づいて貨幣の金種を判別するに際して、貨幣の金種を迅速かつより確実に判別できる。
《構成》
以下、本発明に係る貨幣処理装置、貨幣処理システム及び貨幣処理方法の実施の形態について、図面を参照して説明する。ここで、図1乃至図15は本発明の実施の形態を説明するための図である。なお、本願において「貨幣」とは「硬貨」、「紙幣」、又は、「硬貨」及び「紙幣」の両方のことを意味する。したがって、本願の「貨幣処理装置」は、「硬貨処理装置100」単体、「紙幣処理装置200」単体、又は、「硬貨処理装置100」及び「紙幣処理装置200」の両方のことを意味する。なお、以下では、貨幣処理装置が硬貨処理装置100及び紙幣処理装置200の両方を含む態様を用いて説明する。
以下、本発明に係る貨幣処理装置、貨幣処理システム及び貨幣処理方法の実施の形態について、図面を参照して説明する。ここで、図1乃至図15は本発明の実施の形態を説明するための図である。なお、本願において「貨幣」とは「硬貨」、「紙幣」、又は、「硬貨」及び「紙幣」の両方のことを意味する。したがって、本願の「貨幣処理装置」は、「硬貨処理装置100」単体、「紙幣処理装置200」単体、又は、「硬貨処理装置100」及び「紙幣処理装置200」の両方のことを意味する。なお、以下では、貨幣処理装置が硬貨処理装置100及び紙幣処理装置200の両方を含む態様を用いて説明する。
本願の貨幣処理システムは、硬貨処理装置100及び紙幣処理装置200のいずれかに接続されたPOSレジスタやテラーズマシン等の登録装置300、パソコン、サーバ400等を備えてもよい(図1乃至図4参照)。硬貨処理装置100及び紙幣処理装置200は一体となっていてもよいし、各々が別体となっていてもよい。なお、外部装置とは、対象となっている装置以外の装置のことを意味し、例えば硬貨処理装置100から見た場合には硬貨処理装置100以外のあらゆる装置が外部装置に該当し、上述した例で言うと、紙幣処理装置200、登録装置300、パソコン、サーバ400等が外部装置に該当する。また、紙幣処理装置200から見た場合には紙幣処理装置200以外のあらゆる装置が外部装置に該当し、上述した例で言うと、硬貨処理装置100、登録装置300、パソコン、サーバ400等が外部装置に該当する。また、例えば硬貨処理装置100及び紙幣処理装置200を含む貨幣処理装置から見た場合には貨幣処理装置以外のあらゆる装置が外部装置に該当し、上述した例で言うと、登録装置300、パソコン、サーバ400等が外部装置に該当する。
本実施の形態では、硬貨処理装置100、紙幣処理装置200、登録装置300及びサーバ(例えば店舗サーバ)400を備えた貨幣処理システムを用いて説明する。
図2乃至図4に示すように、本実施の形態の登録装置300はサーバ400に通信接続されている。そして、登録装置300からサーバ400に売上金情報、紙幣の記番号等の情報が送信されるようになっている。また、各種設定情報等の情報が、サーバ400から登録装置300(複数台でも可)に配信されるようになっている。
図3及び図4に示すように、硬貨処理装置100は、後述する操作表示部152を含む硬貨処理装置100の一部や紙幣処理装置200の一部等を制御する上位制御部101と、硬貨処理装置100を制御する硬貨制御部102を有しており、これらの上位制御部101及び硬貨制御部102は通信接続されている。また、紙幣処理装置200は、紙幣処理装置200を制御する紙幣制御部202を有しており、この紙幣制御部202は硬貨処理装置100の上位制御部101に通信接続されている。また、図4に示すように、登録装置300は、登録装置300を制御する登録制御部302を有しており、この登録装置300の登録制御部302は硬貨処理装置100の上位制御部101に通信接続されている。
そして、硬貨処理装置100において硬貨の入金処理、出金処理、精査処理、回収処理等の様々な処理を行うと、硬貨処理装置100の硬貨識別部150で識別された結果は硬貨処理装置100から上位制御部101を介して登録装置300に出力されて、当該結果が後述する登録表示部351で表示される。また、紙幣処理装置200において紙幣の入金処理、出金処理、精査処理、回収処理等の様々な処理を行うと、紙幣処理装置200の紙幣識別部250で識別された結果も紙幣処理装置200から上位制御部101を介して登録装置300に出力されて、当該結果が登録表示部351で表示される。
以下、硬貨処理装置100、紙幣処理装置200及び登録装置300の構成について、説明する。
《硬貨処理装置100》
まず、本実施の形態の硬貨処理装置100の構成について説明する。ちなみに、本実施の形態の硬貨処理装置100は、スーパー、コンビニエンスストア、ショッピングモール、百貨店等の様々な場所で利用され、硬貨の入出金処理を行う硬貨釣銭機となっている。ところで、硬貨処理装置100としてはこのような硬貨釣銭機には限られることはなく、例えば硬貨入金機、硬貨出金機、券売機、自動販売機等も含まれる。
まず、本実施の形態の硬貨処理装置100の構成について説明する。ちなみに、本実施の形態の硬貨処理装置100は、スーパー、コンビニエンスストア、ショッピングモール、百貨店等の様々な場所で利用され、硬貨の入出金処理を行う硬貨釣銭機となっている。ところで、硬貨処理装置100としてはこのような硬貨釣銭機には限られることはなく、例えば硬貨入金機、硬貨出金機、券売機、自動販売機等も含まれる。
図4に示すように、本実施の形態の硬貨処理装置100の上位制御部101には、インターフェース132と、操作表示部152と、物理的なボタン等からなるボタン式操作部153と、様々な情報を記憶する上位記憶部155が接続されており、これらと信号の送受信を行い、これらを制御するように構成されている。また、硬貨制御部102には、後述する、インターフェース133、硬貨受入部110、入金硬貨搬送部120、硬貨識別部150、硬貨収納部160、振分部127,129、出金硬貨搬送部180、硬貨払出部190、硬貨が通過したことを検知する検知センサ124,125,164及び様々な情報を記憶する硬貨記憶部105等が接続されている。そして、上位制御部101は、操作表示部152、ボタン式操作部153及び上位記憶部155等と信号の送受信を行い、これらを制御するように構成されている。また、硬貨制御部102は、硬貨受入部110、入金硬貨搬送部120、硬貨識別部150、硬貨収納部160、振分部127,129、出金硬貨搬送部180、硬貨払出部190、検知センサ124,125,164及び硬貨記憶部105等と信号の送受信を行い、これらを制御するように構成されている。なお、以下の硬貨処理装置100の説明において、硬貨処理装置100の制御を主に硬貨制御部102が行う態様を用いるが、このような態様に限られることはなく、硬貨制御部102ではなく、上位制御部101、紙幣制御部202及び登録制御部302のいずれか1つ以上の制御部が硬貨処理装置100の制御を行ってもよい。
本実施の形態の硬貨処理装置100は、図2に示すように、硬貨筐体103と、硬貨を硬貨筐体103の外部から入金するための硬貨受入部110と、硬貨筐体103内に設けられ、硬貨を収納するとともに収納された硬貨を繰り出す硬貨収納部160と、硬貨筐体103内において、硬貨受入部110から投入された硬貨を1枚ずつ硬貨収納部160まで入金経路に沿って搬送する入金硬貨搬送部120と、入金経路に沿って設けられ、入金硬貨搬送部120で搬送される硬貨を識別して計数する硬貨識別部150と、を備えている。また、図1に示すように、硬貨筐体103の上面には、操作者が操作信号を入力したり操作者に所定の情報を表示したりするための操作表示部152が設けられている。本実施の形態の操作表示部152はタッチパネルとなっており、操作表示部152に直接触れることで、操作者が操作信号を入力することができる。なお、操作表示部152は液晶ディスプレイ(LCD)等からなってもよい。また、硬貨受入部110は、図1に示すような開閉自在のシャッター115を有してもよい。
図2に示すように、入金経路には、後述する金種別硬貨収納部161(つまり金種別硬貨収納部161a〜161f)の各々に対応した検知センサ125と、当該検知センサ125からの情報を受けて各金種別硬貨収納部161に対応する金種の硬貨を振り分ける複数(本実施の形態では6つ)の入金振分部127が設けられている。各検知センサ125は、対応する金種別硬貨収納部161の上流位置に対応して設けられている。
また、図2に示すように、硬貨識別部150の下流位置であって硬貨収納部160の上流位置には、硬貨識別部150で金種等を識別することができなかった硬貨をリジェクト硬貨として振り分けるためのリジェクト振分部129が設けられている。本実施の形態では、図2に示すように、リジェクト振分部129は、硬貨識別部150の下流側であって入金振分部127の上流側に位置している。
図2に示すように、リジェクト振分部129の直前の上流位置には検知センサ124が設けられている。そして、硬貨識別部150でリジェクト硬貨であると判断され、かつ、検知センサ124から硬貨が到達又は通過した旨の検知情報を受けた段階で、硬貨制御部102がリジェクト振分部129を開状態とし、リジェクト硬貨をリジェクト振分部129で取り込むようにしてもよい。なお、リジェクト振分部129が開状態となって当該リジェクト振分部129に取り込まれることで、硬貨は入金経路から外れ、リジェクト搬送経路(図示せず)を落下した後、後述する出金硬貨搬送部180によって硬貨払出部190まで送られることとなる。
図2に示すように、本実施の形態の硬貨処理装置100は、硬貨収納部160から繰り出された硬貨を出金経路に沿って搬送する出金硬貨搬送部180と、出金経路に繰り出されて出金硬貨搬送部180で搬送された硬貨を出金する硬貨払出部190も備えている。
本実施の形態の硬貨収納部160は、金種別に硬貨を収納する複数(本実施の形態では6つ)の金種別硬貨収納部161を有しており、各金種別硬貨収納部161が水平方向で並列に配置されている。金種別硬貨収納部161は、図2の下から順番に、500円硬貨、100円硬貨、50円硬貨、10円硬貨、5円硬貨及び1円硬貨を収納するようになっている。
なお、金種別硬貨収納部161の各々は、硬貨を収納する金種別繰出収納庫と、金種別繰出収納庫内に収納された硬貨を出金経路に繰り出すための繰出部(図示せず)と、所定枚数の硬貨が繰り出された際にそれ以上の硬貨が繰り出されないように硬貨の繰り出しをストップさせるためのストッパ(図示せず)と、を有している。また、金種別硬貨収納部161の各々には、金種別繰出収納庫から繰出部で繰り出される硬貨の枚数を検知する検知センサ164(図4参照)が設けられている。
本実施の形態では、硬貨処理装置100の各金種に関する在高は、対象となる金種別硬貨繰出収納部161に収納された硬貨の枚数から当該金種別硬貨繰出収納部161から繰り出された硬貨の枚数を差し引くことで算出可能となる。金種別硬貨繰出収納部161に収納された硬貨の枚数を算出する際には、具体的には、各金種別硬貨繰出収納部161に対応して設けられた入金振分部127の上流位置の検知センサ125で硬貨の通過が確認されたが当該入金振分部127の下流位置の検知センサ125で硬貨の通過が確認されなかった場合には、当該入金振分部127で硬貨が取り込まれて、当該入金振分部127に対応する金種別硬貨繰出収納部161に硬貨が収納されたと判断されて算出される。ただし、最も下流側に位置する金種別硬貨繰出収納部161fに関しては、当該金種別硬貨繰出収納部161fの直前に位置する検知センサ125を通過した硬貨の枚数が当該金種別硬貨繰出収納部161fに収納された硬貨の枚数となる。他方、各金種別硬貨繰出収納部161から繰り出された硬貨の枚数は検知センサ164からの情報に基づいて算出される。
本実施の形態では、硬貨受入部110の近傍(図1に示す態様では硬貨筐体103の上面)に硬貨を載置するための載置部10に含まれる吟味台14aが設けられている。そして、吟味台14aに載置された硬貨の画像データを取得するためのカメラ等からなる撮像部50が設けられている。図1に示す態様では、撮像部50は硬貨筐体103の奥行き側に配置されているが、当然、これに限られることはなく、撮像部50は吟味台14aに載置された硬貨の画像データを取得することができる位置であればどのような場所に配置されてもよく、例えば、登録装置300の一種であるPOSレジスタの近辺に設置されたポール等に取り付けてもよい。
本実施の形態では、吟味台14aは、硬貨筐体103の上面に設けられており、吟味台14aの載置面は硬貨受入部110よりも上方位置に位置づけられている。そして、吟味台14aと硬貨受入部110との間には、吟味台14aに載置された硬貨を硬貨受入部110へと導くためのシュート20が設けられている。吟味台14aの載置面に載置された硬貨はレジ係等の操作者が手でシュート20に送り込むようになっていてもよいが、吟味台14aの載置面がベルトコンベア等の搬送機構16(図4参照)になっていたり、吟味台14aの載置面上でシュート20に向かう方向で進退したり吟味台14aの載置面上で一定の角度で回転運動したりするワイパー等の押出部60(図4参照)が設けられたりしており、画像データに基づいて算出された硬貨の合計金額について確定処理が行われると、搬送機構16や押出部60が駆動されることで、吟味台14aの載置面に載置された硬貨がシュート20へ送られるようになっていてもよい。
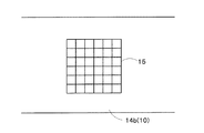
本実施の形態の吟味台14aは、図5(a)(b)に示すように、吟味台14a上に載置される硬貨を互いに離間させた状態に区分けするための区分け部15を有している。なお、このような区分け部15が設けられていることは必須ではなく、図5(c)に示すように、吟味台14aは一般的に用いられている平坦な皿状となっていてもよい。
区分け部15の構造としては様々なものを挙げることができるが、一例としては、図5(a)(b)及び図6(b)に示すように、吟味台14aの載置面に設けられ、載置面に沿って形成される多角形状又は円形状の区画を画定する突出壁(いわゆるリブ)を挙げることができる。また、別の例としては、図6(a)に示すように、吟味台14aの載置面に設けられ、載置面に沿って形成される所定の区画の頂点に位置する複数の突起部を挙げることができる。なお、載置面に沿って形成される多角形状としては、図5(a)(b)に示すような略正方形であってもよいが、図6(b)に示すようにハニカム構造となっていてもよく、様々な形状が考えられる。また、区画を画定する突出壁との区画の頂点に位置する突起部とを組み合わせて採用することもできる。
上述した「区画」の大きさとしては、取扱い対象とする硬貨のうち最大径の硬貨の直径よりも大きく取扱い対象とする硬貨のうち最小径の硬貨の直径の2倍よりも小さくなっている態様を採用することができる。本願において「取扱い対象とする硬貨」とは、例えば硬貨識別部150によって識別可能な硬貨のことを意味する。かりに日本円しか硬貨識別部150で識別できないとすると、1円硬貨(最小径の硬貨)の直径は約2cmであり、500円硬貨(最大径の硬貨)の直径は約2.65cmであることから、「区画」の大きさは、2.65cmよりも大きく4cmよりも小さくなるように設定される。ところで、円形状の区画を画定する突出壁を採用した場合には、当該円形状の直径を、取扱い対象とする硬貨のうち最大径の硬貨の直径(日本円の場合だと2.65cm)よりも大きくし、取扱い対象とする硬貨のうち最小径の硬貨の直径の2倍(日本円の場合だと4cm)よりも小さくしてもよい。
また、区分け部15の厚み(高さ)は、取扱い対象とする硬貨のうち最も厚みの薄い硬貨の厚みよりも薄くなっていてもよい。かりに日本円しか硬貨識別部150で識別できないとすると、1円硬貨、5円硬貨及び10円硬貨の厚みが最も厚みの薄い硬貨であり、その厚さが約1.5mmである。このため、この場合には、区分け部15の厚み(高さ)を1.5mmよりも薄くし、例えば1mmとしてやればよい。
吟味台14aは、図5(a)(b)で示すように、区分け部15を有する第一部材11と、第一部材11の下方に設けられるとともに第一部材11に対して開閉可能な底板部である第二部材12と、を有していてもよい。第二部材12は第一部材11の底板としての役割を果たしており、第二部材12が第一部材11に対して開状態となると、区分け部15の区画内に収容されていた硬貨等が下方に落下することとなる。本実施の形態では、図5(b)に示すように、第二部材12が第一部材11に対して下方に揺動可能となっており、第二部材12が第一部材11に対して下方に揺動すると、区分け部15の区画内に収容されていた硬貨等が下方に落下することとなる。但し、これに限られることはなく、例えば第二部材12が第一部材11に対してスライド可能となっており、第二部材12が第一部材11に対してスライドすることで、区分け部15の区画内に収容されていた硬貨等が下方に落下するようになっていてもよい。なおこのように、吟味台14aが第一部材11及び第二部材12を有している場合には、上述したシュート20は吟味台14aの下方に位置付けられることとなる。そして、第二部材12が第一部材11に対して開状態となると、区分け部15の区画内に収容されていた硬貨がシュート20上に落下し、そのまま硬貨受入部110に案内されることとなる。また、第二部材12の第一部材11に対する開閉は手動で行われてもよいが自動で行われてもよい。第二部材12の第一部材11に対する開閉が自動で行われる場合には、画像データに基づいて算出された硬貨の合計金額について確定処理が行われると、第二部材12が第一部材11に対して自動で開状態となり、その後、自動で閉状態に戻ることになってもよい。
ところで、本実施の形態のように第二部材12が第一部材11に対して開状態となる態様を採用した場合には、画像データに基づいて硬貨の確定処理をした後で区分け部15から硬貨受入部110へ硬貨を移動させる際に、区分け部15によって硬貨の移動が邪魔されることがない点でも有益である。つまり、吟味台14aが区分け部15を有する態様では、吟味台14a上の硬貨を載置面に沿って移動させてシュート20等の上に移動させようとしても、区分け部15が邪魔になってしまう。この点、第二部材12が第一部材11に対して開状態となる場合には、区分け部15内の硬貨がそのまま落下するので、区分け部15が邪魔になってしまう可能性を低減することができる。
また、上述した第二部材12に関しては、図7に示すように、当該第二部材12にゴミ抜き穴12aが形成されていてもよい。このゴミ抜き穴12aの大きさは取扱い対象とする硬貨のうち最小径の硬貨の直径よりも小さい大きさとなっており、最小径の硬貨がゴミ抜き穴12aから落下しないようになっている。なお、第二部材12の構造としては、例えば図7に示すように網目構造となっているものを挙げることができるが、所定の箇所に複数のゴミ抜き穴12aが形成されているような態様であってもよい。
また、このように第二部材12にゴミ抜き穴12aが形成されている態様においては、図7に示すように、第二部材12の下方に、当該第二部材12に対して取り外し自在又は開閉自在となった第三部材13が設けられていてもよい。この第三部材13は、ゴミ抜き穴12aから落下した少なくともゴミを収容するゴミ収容部13aを有しており、ゴミを収集する機能を果たす。ちなみに、第三部材13は第一部材11及び第二部材12から分離されており、第一部材11及び第二部材12の下方に載置されていてもよい。また、第三部材13が第二部材12に対して開閉自在となっている場合には、例えば第二部材12が第一部材11に対して取り外し自在となっており、第二部材12及び第三部材13を一体として第一部材11から取り外せるようにしてもよい。
本実施の形態では、上位制御部101が、撮像部50で取得された、吟味台14aに載置された硬貨の画像データに基づいて、顧客が支払った硬貨の合計金額を算出するようになっている(図9参照)。そして、上位制御部101は、上位制御部101が算出した硬貨の合計金額(図9に示す態様では600円)と後述する紙幣制御部202で算出された紙幣の合計金額とを足し合わせて預かり金額を算出し、当該預かり金額と後述する登録装置300等から入力された売上金額とから釣銭金額を算出する。なお、本実施の形態では撮像部50が上位制御部101に接続された態様を用いて説明するが、これに限られることはなく、例えば登録装置300の登録制御部302に撮像部50が接続されてもよい。
上位制御部101は、撮像部50で取得された画像データに基づいて、各硬貨の金種を判別するようになっていてもよい(図9参照)。より具体的には、上位制御部101は、硬貨の色、硬貨の中央部に穴が空いているか否か、硬貨の大きさ等に基づいて、画像データ中の硬貨の各々の金種を判別してもよい。また、硬貨の両面の模様を上位記憶部155等が記憶しており、上位制御部101は、上位記憶部155等で記憶されている模様と画像データ中の模様とを比較することで、画像データ中の硬貨の各々の金種を判別してもよい。そして、上位制御部101は、判別した金種を合計することで硬貨の合計金額を算出することになる。なお、図9に示す態様では、500円硬貨(図9の左側に示された硬貨)を円形状の枠で囲むとともに、500円硬貨の近辺に「500」という数値が表示されている。同様に、100円硬貨(図9の右側に示された硬貨)を円形状の枠で囲むとともに、100円硬貨の近辺に「100」という数値が表示されている。そして、画像データの右下には、これらの合計金額である「600yen」が表示されている。
撮像部50ではリアルタイムで画像データが取得されている。そして、上位制御部101は、撮像部50によりリアルタイムで取得される画像データに基づいて、画像データ内の硬貨の金種をリアルタイムで判別し、判別結果に基づく情報を登録装置300の登録表示部351及び/又は客側表示部356にリアルタイムで出力している。なお、客側表示部356は図1に示すような小型のものでもよいが、登録表示部351と同程度の大きさからなるような大型のものでもよい。客側表示部356が小型のものである場合には、売上金額、預かり金額及び釣銭金額等の取引情報が優先されて表示される。また、可能な場合には、客側表示部356には取引情報に加えて、画像データや画像に映し出された硬貨の金種の判別結果(図9における「500」や「100」の数値)が表示されてもよい。なお、後述するアラーム表示等は画像データに重ね合わせて表示されてもよい。ちなみに、客側表示部356は単に情報を表示するだけのものであってもよいが、タッチパネル等からなり、所定の入力を行うことができるようになっていてもよい。
ところで、本願の「リアルタイム」には多少のタイムラグがある場合も含まれ、仮に数秒〜10秒未満(典型的には数秒)の遅れがあっても含まれる概念である。
判別結果に基づく情報は、画像データ、当該画像データに映っている硬貨の金種、画像データに映っている硬貨の合計金額、画像データに映っている硬貨の金種別枚数等が含まれていてもよい。登録装置300の登録表示部351及び/又は客側表示部356では、判別結果に基づく情報に含まれている画像データ、当該画像データに映っている硬貨の金種、画像データに映っている硬貨の合計金額、画像データに映っている硬貨の金種別枚数等がリアルタイムで表示される。このため、顧客が吟味台14aに硬貨を足したり硬貨を取り除いたりすると、硬貨が足されたことや硬貨が取り除かれたこともリアルタイムで反映されて、登録装置300の登録表示部351及び/又は客側表示部356では、画像データに映っている硬貨の金種、硬貨の合計金額、硬貨の金種別枚数等がリアルタイムで変化する。図9に示す態様では、登録表示部351及び/又は客側表示部356において、画像データ、当該画像データに映っている硬貨の金種である100円及び500円、画像データに映っている硬貨の合計金額である600円がリアルタイムで表示されている。図11に示す態様では、登録表示部351及び/又は客側表示部356において、画像データ、当該画像データに映っている硬貨の金種である100円及び500円、画像データに映っている硬貨の合計金額である600円、硬貨の金種別枚数(500円硬貨が1枚及び100円硬貨が1枚)がリアルタイムで表示されている。なお、図11に示す態様では、後述する紙幣処理装置200の紙幣識別部250で計数された結果である33000円(図11では「釣銭機投入額」として示されている。)、売上金額である33555円(図11では「現金お支払い金額」として示されている。)、預かり金額の合計金額である33600円(図11では「現金お預かり金額」として示されている。)、釣銭金額である45円(図11では「おつり」として示されている。)と、後述する異物に関する情報(図11では「異物有り:取り除いてください」というメッセージ)も表示されている。
ちなみに、撮像部50で画像データが常時取得されている必要はなく、例えば売上金額が確定した時点で撮像部50によって画像データが取得され始め、取引の確定処理を行った時点で撮像部50による画像データの取得が終了してもよい。このような態様によれば、無駄な画像データが記憶されることを防止することができる。
また、本実施の形態では、撮像部50で取得された画像データがリアルタイムで取得されて、登録表示部351及び/又は客側表示部356で表示される態様を用いて説明するが、これに限られることはない。例えば、一定の間隔毎に断続的に画像データを取得するようにしてもよいし、また、操作者が後述する登録操作部352等から所定の入力(オン信号の入力)を行うことで撮像部50において画像が取得され始め、操作者が登録操作部352等から所定の入力(オフ信号の入力)を行うことで撮像部50における画像の取得が停止されてもよい。
また、上位制御部101は、硬貨の画像データに基づいて硬貨の合計金額を算出し、硬貨の合計金額と紙幣の合計金額から預かり金額を算出し、当該預かり金額に基づいて入力された売上金額に対する釣銭金額又は不足金額を算出してもよい。この場合にも、リアルタイムで釣銭金額又は不足金額が登録装置300の登録表示部351及び/又は客側表示部356で表示されてもよい。このような態様によれば、釣銭金額又は不足金額に基づいて、顧客は硬貨を吟味台14aに追加したり硬貨を吟味台14aから取り除いたりすることができる。なお、図11における「おつり」(釣銭金額)はリアルタイムで変化するようになっており、仮に5円硬貨を吟味台14a上に載置すると「おつり」は「50円」となり、他方、仮に100円硬貨を吟味台14aから取り除くと「おつり」は「−55円」となり不足金額が表示されることとなる。なお、このように不足金額が表示される際には、「おつり」という表示ではなく「不足金額」といった預かり金額が不足していることを示す表示に切り替わってもよいし、赤色等の通常とは異なる色(強調色)で不足金額が表示されてもよい。
また、上位制御部101は、後述する登録操作部352等から入力された売上金額に基づいて吟味台14aに余分な硬貨が載置されているか否かをリアルタイムで判断してもよい。売上金額に基づいて吟味台14aに余分な硬貨が載置されている場合には、登録装置300の登録表示部351及び/又は客側表示部356で余分な硬貨が吟味台14aに載置されていることがリアルタイムで表示され、一例としては余分な硬貨を円形状や四角形状等の所定の形状で取り囲むとともに、余分である旨を表示してもよい。ちなみに、売上金額に基づいて吟味台14aに余分な硬貨が載置されている場合というのは、売上金額が110円であるにも関わらず、吟味台14aに1枚の500円硬貨と2枚の10円硬貨が載置されているような場合であり、このときには1枚の10円硬貨が余分な硬貨となる。すなわち、吟味台14aに載置された硬貨のうち、釣銭として払い出されうる硬貨が含まれている場合には、売上金額に基づいて吟味台14aに余分な硬貨が載置されていると判断されることになる。なお、上述した登録操作部352は、商品に印刷されたり貼り付けられたりしているバーコード情報を読み取るバーコードリーダを含んでいる。
また、吟味台14a上で硬貨が重なって配置されている場合には、登録装置300の登録表示部351、客側表示部356等の報知部でその旨が報知されてもよい。この場合には、硬貨が重なっている旨のメッセージが登録装置300の登録表示部351、客側表示部356等で表示されてもよいし、登録装置300の登録表示部351、客側表示部356等で硬貨が重なっている箇所が所定の形状で囲まれて表示されてもよい。
上述したように、撮像部50ではリアルタイムで画像が取得されているが、登録装置300の登録操作部352等で確定処理する際には、撮像部50で取得された画像データが静止画として上位記憶部155に記憶されてもよい。このように上位記憶部155で記憶された静止画は、周期的に又は取引が確定される度に、登録装置300を介してサーバ400へと送られ、サーバ400のサーバ記憶部405(図4参照)で記憶されて管理されてもよい。なお、画像データの静止画は、取引日時、レジ番号、担当者、購入商品、売上金額、預かり金額、釣銭金額等の取引情報と関連付けされて、上位記憶部155やサーバ記憶部405等で記憶される。なお、一定の期間(例えば24時間以内)であれば、撮像部50で撮像された動画も上位記憶部155やサーバ記憶部405で記憶されていてもよい。この場合には、動画を用いて画像データに基づく硬貨の合計金額の算出経過を後で確認することができる。
上位制御部101は、撮像部50で取得された画像データに基づいて、硬貨以外の異物(例えば、ゴミ、クリップ、レシート、硬貨識別部150で識別できない外国硬貨等)をリアルタイムで検出するようになっていてもよい(図10参照)。そして、上位制御部101は、このように画像データに基づいて異物が検出された場合には、異物に関する情報を出力してもよい。異物に関する情報には、異物が存在する旨の情報だけではなく、異物が存在する場所、異物の大きさ、異物の種類に関する情報が含まれてもよい。ところで、汚損が激しい硬貨や変形してしまった硬貨等も異物として検出される。
上位制御部101から異物に関する情報が出力されると、異物が吟味台14aに載っていることが登録装置300の登録表示部351及び/又は客側表示部356で表示される。このように異物が吟味台14aに載っていることを表示する際には、メッセージが表示されてもよいし、異物の箇所が円形状や四角形状等の所定の形状で取り囲まれて登録装置300の登録表示部351及び/又は客側表示部356で表示されるようにしてもよい。なお、図10に示す態様では、「異物有り」というメッセージが表示されるだけではなく、異物と判断された箇所が四角で囲まれている。また、異物の種類、例えば、ゴミ、クリップ、レシート、硬貨識別部150で識別できない外国硬貨等の種別が登録装置300の登録表示部351及び/又は客側表示部356で表示されてもよい。また、撮像部50で画像データを取得する際に用いられる撮像用の照明が設けられている場合には、当該照明の色が通常の場合から変化したり点滅したりする等して、異物が吟味台14aに載置されていることが報知されてもよい。ちなみに、このような撮像用の照明を採用した場合には、画像データ上での硬貨の輪郭を明確に読み取ることができる点で有益である。また、この撮像用の照明は、撮像部50で画像データを取得している間だけ点灯し、それ以外のときには消えていてもよい。
なお、画像データから異物が存在していると判断されている間は、画像データに基づいて算出された硬貨の合計金額について確定処理を受け付けないようにしてもよい。この場合には、吟味台14aから当該異物が除去された時点で、画像データに基づいて算出された硬貨の合計金額について確定処理が受け付けられることとなる。ちなみに、画像データから異物が存在していると判断されている間であっても、強制的に確定処理を行うことができるようにしてもよい。
上述したように汚損が激しい硬貨や変形してしまった硬貨等も異物として検出されることとなるが、このような事態に備えて、登録操作部352や操作表示部152から所定の入力(例えば加算許可入力)を行うことで、画像データに基づいて算出された硬貨の合計金額に、登録操作部352や操作表示部152から手入力した金種別枚数や合計金額を加算したものを硬貨の総合計金額として算出できるようにしてもよい。また、このような態様に限られることはなく、登録操作部352や操作表示部152から所定の入力(例えば加算許可入力)を行うことで、画像データに基づいて算出された硬貨の合計金額に、硬貨識別部150による識別結果に基づいて算出された硬貨の合計金額を加算したものを硬貨の総合計金額として算出できるようにしてもよい。この場合には、汚損が激しい硬貨や変形してしまった硬貨をとりあえず硬貨処理装置100の硬貨受入部110内に投入し、硬貨識別部150で識別不可能としてリジェクトされた場合には、当該硬貨の金種別枚数や合計金額を手入力するようにしてもよい。
ちなみに、図12に示す態様では、登録表示部351及び/又は客側表示部356において、手入力された金額が「手入力預かり額」として示されており、その金額は100円となっている。また、図13に示す態様では、登録表示部351及び/又は客側表示部356において、硬貨識別部150による識別結果に基づいて算出された硬貨の合計金額が「機械計数」として示されており、その金額は300円となっている。
硬貨制御部102は、硬貨識別部150による識別結果に基づいて硬貨受入部110で受け入れられた硬貨の合計金額を算出するようになっていてもよい。そして、撮像部50で取得された画像データに基づいて算出された硬貨の合計金額と、硬貨識別部150による識別結果に基づいて算出された合計金額とを比較するようになっていてもよい。この場合には、撮像部50で取得された画像データに基づいて算出された硬貨の合計金額と、硬貨識別部150による識別結果に基づいて算出された合計金額とが合致しない場合には、上位制御部101がその旨を出力するようにしてもよい。このように出力された情報に基づいて、登録表示部351に、撮像部50で取得された画像データに基づいて算出された硬貨の合計金額と硬貨識別部150による識別結果に基づいて算出された合計金額とが合致しないことが表示(例えばアラーム表示)されてもよい(図14参照)。図14に示す態様では、金額が合致していない旨のメッセージ(「金額不一致が発生しています。」及び「入金貨幣を確認して下さい。」というメッセージ)、画像データに基づいて算出された硬貨の合計金額、硬貨識別部150による識別結果に基づいて算出された合計金額、及び、画像データに基づいて算出された硬貨の合計金額と硬貨識別部150による識別結果に基づいて算出された合計金額との差分が示されている。
なお、上述した登録装置300の登録表示部351及び客側表示部356は、所定の情報を報知する報知部に含まれている。この報知部は、登録装置300の登録表示部351及び客側表示部356のように視覚を通じて情報を報知するものだけではなく、音等の聴覚を通じて情報を報知するものも含まれてもよい。この場合には、登録装置300の登録表示部351又は客側表示部356で表示されるあらゆる情報を音声で報知することもできる。一例として、報知部は、撮像部50で取得された画像データに基づいて算出された硬貨の合計金額と硬貨識別部150による識別結果に基づいて算出された合計金額とが合致しないこと、画像データに基づいて算出された硬貨の合計金額、硬貨識別部150による識別結果に基づいて算出された合計金額、及び、画像データに基づいて算出された硬貨の合計金額と硬貨識別部150による識別結果に基づいて算出された合計金額との差分の各々を音声で報知してもよい。
上述のように撮像部50で取得された画像データに基づいて算出された硬貨の合計金額と硬貨識別部150による識別結果に基づいて算出された合計金額とが合致しない場合には、硬貨識別部150による識別結果に基づいて算出された合計金額が正しく撮像部50で取得された画像データに基づいて算出された硬貨の合計金額が誤っていたものとして、逆に、撮像部50で取得された画像データに基づいて算出された硬貨の合計金額が正しく硬貨識別部150による識別結果に基づいて算出された合計金額が誤っていたものとして、判断されて処理されてもよい。この場合には、撮像部50で取得された画像データに基づいて算出された硬貨の合計金額及び硬貨識別部150による識別結果に基づいて算出された合計金額と、どちらを「正」として処理したかが登録記憶部305やサーバ記憶部405に記憶されてもよい。
また、撮像部50で取得された画像データに基づいて算出された硬貨の合計金額と硬貨識別部150による識別結果に基づいて算出された合計金額とが合致しない場合には、硬貨処理装置100で受け入れられた硬貨の全てを硬貨払出部190から返却するようにしてもよい。このような態様を採用することで、硬貨識別部150による識別結果に基づいて算出された合計金額が正しかったかを操作者が確認することができる。また、撮像部50で取得された画像データに基づいて算出された硬貨の合計金額と硬貨識別部150による識別結果に基づいて算出された合計金額とが合致しない場合には、上位制御部101が上位記憶部155又はサーバ記憶部405に記憶された当該取引の画像データを読み出し、当該画像データを登録装置300の登録表示部351に表示させてもよい。このような態様を採用することで、画像データに基づいて算出された合計金額が正しかったかを操作者が確認することができる。
また、上述のように撮像部50で取得された画像データに基づいて算出された硬貨の合計金額と硬貨識別部150による識別結果に基づいて算出された合計金額とが合致しない場合には、撮像部50で取得された画像データに基づいて算出された硬貨の合計金額又は硬貨識別部150による識別結果に基づいて算出された合計金額のいずれかが修正されるか、強制終了されるまでは、新規の取引を受け付けないようにしてもよい。
ところで、画像データに基づいて算出された硬貨の合計金額について確定処理がなされることなく硬貨が硬貨処理装置100の硬貨受入部110で受け入れられたときには、画像データに基づいて硬貨の合計金額を算出することなく、硬貨処理装置100の硬貨識別部150による識別結果に基づいて算出された合計金額のみを用いて取引を行うようにしてもよい。ちなみに、このように画像データに基づいて算出された硬貨の合計金額について確定処理がなされない場合としては、硬貨の枚数がかなり多いことから吟味台14a上に硬貨を分離して配置するのに時間がかかってしまう場合や画像データによる硬貨の合計金額の算出に対して精度上多少の不安がある場合、誤って操作者が硬貨受入部110内に硬貨を投入してしまった場合、撮像部50の不具合等でそもそも画像データを取得できない場合、何らしかの不具合で画像データに基づいて各硬貨の金種を正確に識別できていない場合等を挙げることができる。
上記では、撮像部50で取得された画像データに基づいて吟味台14a上の硬貨の合計金額を算出し、最終的には釣銭金額を算出する態様について説明したが、これに限られることはない。撮像部50で取得された画像データに基づいて吟味台14a上の硬貨の合計金額を算出し、当該合計金額を利用してICカードや携帯電話等に対する電子マネーのチャージを行うようにしてもよい。ちなみに、吟味台14aにカードリーダ17aやカードリーダライタ17bが組み込まれていてもよく(図4参照)、吟味台14aにICカードや携帯電話等を載置することで、電子マネーによって支払いができるようにしてもよいし、ICカードや携帯電話等に電子マネーのチャージを行うことができるようにしてもよい。
上記では、カメラ等からなる撮像部50が硬貨筐体103の上面に載置されている態様を用いて説明したが、これに限られることはない。例えば、吟味台14aの載置面が透明になっている態様を採用した場合には、撮像部50を吟味台14aの下方に載置し、透明な載置面を介して、吟味台14a上に載置された硬貨の画像データを取得するようにしてもよい。また、シュート20の途中にライン状のイメージセンサ(ラインセンサ)等からなる撮像部50を載置し、シュート20に沿って落下する硬貨の画像データを取得するようにしてもよい。
また、上述した吟味台14aは必ずしも必要ではなく、カウンターのテーブル、登録装置300の置き台等の載置台14b(図8参照)に硬貨を載置するようにし、撮像部50は当該載置台14b上に載置された硬貨の画像データを取得するようにしてもよい。なお、このようにカウンターのテーブル等に硬貨を載置する場合には、撮像部50で撮像可能な位置であり硬貨を載置すべき場所をシール、プリント、光線等によって分かるようにしてもよい。なお、カウンターのテーブル等のうち硬貨を載置すべき箇所は、顧客及びレジ係等の操作者の両者の手が届く箇所であって、視認できる箇所であることが望ましい。ちなみに、登録装置300の置き台は登録操作部352の手前に位置していることが一般的である。ちなみに、吟味台14a及び載置台14bの両方が載置部10に含まれている。
吟味台14a、載置台14b等の載置部10の載置面はLCD等の表示画面18(図4参照)となっていてもよい。このような態様を採用した場合には、撮像部50が撮像する際に表示画面18を発光させることでコントラストを高めることができ、硬貨の認識レベルを向上させることができる。また、異物を検出した際には異物の場所を表示画面18で直接示したり、異物の載置されている場所を異なる色で表示したり点滅させたりすることもできる。また、売上金額に基づいて載置部10に余分な硬貨が載置されている場合には、余分な硬貨の場所を表示画面18で直接示したり、余分な硬貨の載置されている場所を異なる色で表示したり点滅させたりしてもよい。また、上記で登録表示部351及び/又は客側表示部356で表示されるとした情報(例えば、売上金額、画像データに基づいて算出された硬貨の合計金額、釣銭金額、不足金額等を含む。)を表示画面18上で直接表示してもよい。一般に顧客の視線は硬貨を載置した場所を向くことから、このような態様を採用した場合には、顧客は載置部10に載置した硬貨に関する情報を容易に取得することができる点で有益である。また、載置部10自体に表示機能を持たせなくても、載置部10の近傍位置にプロジェクタ等の投影装置を配置して、各種情報を載置部10に映し出すようにしてもよい。このような態様を採用した場合には、カウンターのテーブルが載置部10を構成する場合でも、テーブル内に表示機器を埋め込んだり配線をつないだりする必要なくなる点で有益である。
ところで、重複する記載となることから記載はしないが、吟味台14a及び載置台14bに関して述べたことは、当然のことながら、硬貨だけではなく紙幣にも採用することができる。
ところで、上述した態様とは異なり、硬貨受入部110に直接硬貨を載置し、当該硬貨の画像データを撮像部50で取得するようにしてもよい。この場合には、硬貨受入部110は比較的大型になっており、硬貨受入部110に投入された各硬貨を分離できるようになっていることが望ましい。
また、硬貨処理装置100とは全く別の場所で、硬貨の画像データを取得するようにしてもよい。この場合には、複数の撮像部50に対して1台の硬貨処理装置100が設置されるようにしてもよく、硬貨処理装置100をあくまでも硬貨の金種別枚数を再確認したり硬貨を保管したりするために用い、撮像部50で撮像された画像データに基づいて、一般的な取引が行われるようにしてもよい。
また、硬貨筐体103上に直接硬貨を載置できるようにしてもよい。この場合には、硬貨筐体103上に載置された硬貨の画像データを撮像部50で取得することとなる。この場合には、硬貨筐体103には硬貨を案内するための案内壁が設けられており、レジ係等の操作者が手によって硬貨筐体103上に載置された硬貨を滑らせるか、上述した押出部60のような部材によって硬貨筐体103上に載置された硬貨を滑らせることで、硬貨受入部110に硬貨を投入するようにしてもよい。
なお、上述したシャッター115は、待機時から画像データに基づいて算出された硬貨の合計金額について確定処理がなされるまでの間、閉じられたままであってもよい。そして、画像データに基づいて算出された硬貨の合計金額について確定処理がなされるか強制的にシャッター115を開ける旨の指令が入力されるとシャッター115が開くようにしてもよい。このような態様を採用することで、画像データに基づいて算出された硬貨の合計金額について確定処理がなされていないにも関わらず、誤って硬貨が硬貨受入部110内に落下することを防止することができる。
また、図1に示すようにシャッター115は上面が平坦な形状となっており、当該シャッター115上に硬貨を載置できるようになっていてもよい。そして、待機時から画像データに基づいて算出された硬貨の合計金額について確定処理がなされるまでの間、シャッター115は閉じられたままになっており、画像データに基づいて算出された硬貨の合計金額について確定処理がなされるか強制的にシャッター115を開ける旨の指令が入力されるとシャッター115が開き、シャッター115上に載置された硬貨が硬貨受入部110内に落下するようにしてもよい。この場合には、シャッター115上に載置された硬貨を撮像できる位置に撮像部50を載置すればよい。また、シャッター115の上面に、上述したような区分け部15が形成されていてもよい。
また、本実施の形態では画像データに基づいて硬貨の金種を識別することから、硬貨識別部150によって識別する場合と比較して、容易に多種類の硬貨の金種を識別することができる。このため、例えば、ドル、セント、ユーロ、元等の所定の外国硬貨を識別するための情報と、当該外国硬貨に対する為替レートとを上位記憶部155等に記憶させておくことで、外国硬貨をそのまま支払いに用いるようにすることもできる。また、この場合には、複数の外国硬貨が入り交じっていてもよく、例えば日本円の硬貨とUSドルの硬貨とを混合して支払いに用いた場合であっても、日本円にしていくらの金額であるのかを算出することができる。ちなみに、このように外国硬貨でそのまま支払いを行う場合には、硬貨識別部150を別途開発することなく、硬貨識別部150によって硬貨の識別を行わないようにしたり、硬貨識別部150で硬貨の識別を行うものの日本円以外の硬貨はリジェクト硬貨として取り扱い、別途保管するようにしてもよい。
また、硬貨を載置するための吟味台14aやカウンターのテーブル、登録装置300の置き台等の載置台14bは重量計19(図4参照)を含んでいてもよい。この場合には、金種別の硬貨の重量を上位記憶部155等に予め記憶させておいて、画像データに基づく硬貨の金種別枚数から全硬貨の重量を算出し、重量計19によって得られた重量と合致しているか否かを、上位制御部101等で判断することになる。そして、画像データに基づいて算出された全硬貨の重量が重量計19によって得られた重量と合致していることを、画像データに基づいて算出された硬貨の合計金額に対して確定処理を行うための条件としてもよい。また、画像データに基づいて算出された全硬貨の重量が重量計19によって得られた重量に基づくデータと合致していない場合には、登録表示部351、客側表示部356等の報知部でその旨が報知されてもよい。なお、両重量データが合致しない理由としては、硬貨が重なって配置されており下側の硬貨の画像を取得できていない場合や、外来光等の影響や装置の不具合等によって画像を取得できなかった硬貨が存在する場合等が想定される。
《紙幣処理装置200》
次に、本実施の形態の紙幣処理装置200の構成について説明する。ちなみに、本実施の形態の紙幣処理装置200は、スーパー、コンビニエンスストア、ショッピングモール、百貨店等の様々な場所で利用され、紙幣の入出金処理を行う紙幣釣銭機となっている。ところで、紙幣処理装置200としてはこのような紙幣釣銭機には限られることはなく、例えば紙幣入金機、紙幣出金機、券売機、自動販売機等も含まれる。
次に、本実施の形態の紙幣処理装置200の構成について説明する。ちなみに、本実施の形態の紙幣処理装置200は、スーパー、コンビニエンスストア、ショッピングモール、百貨店等の様々な場所で利用され、紙幣の入出金処理を行う紙幣釣銭機となっている。ところで、紙幣処理装置200としてはこのような紙幣釣銭機には限られることはなく、例えば紙幣入金機、紙幣出金機、券売機、自動販売機等も含まれる。
図2に示すように、紙幣処理装置200は、略直方体形状の紙幣筐体203と、紙幣を紙幣筐体203の外部から入金するための紙幣受入部210と、紙幣受入部210から入金された紙幣を搬送する紙幣搬送部220と、紙幣受入部210から入金された紙幣の金種等を識別して計数する紙幣識別部250と、紙幣搬送部220で搬送された紙幣を収納するとともに収納された紙幣を繰り出す紙幣収納部260と、リジェクト紙幣や紙幣収納部260に収納されていた紙幣を出金するための紙幣払出部290と、を備えている。なお、紙幣搬送部220は、図2に示すように、紙幣筐体203内の略中央部に設けられた環状の周回搬送部220aと、紙幣受入部210、紙幣収納部260、紙幣払出部290等と、周回搬送部220aとの間をそれぞれ接続する複数の接続搬送部220bとを有している。ちなみに、周回搬送部220aに紙幣識別部250が設けられている。また、本実施の形態の紙幣収納部260は金種別に紙幣を収納する3つの金種別紙幣収納部261(261a,261b,261c)を有している。
紙幣受入部210は、紙幣が入金されると自動で又は操作表示部152、ボタン式操作部153、登録操作部352等からの入力信号を受けて駆動されて当該紙幣を紙幣筐体203内に繰り出す入金紙幣操出部(図示せず)を有している。また、紙幣収納部260は、必要に応じて紙幣収納部260から紙幣を繰り出す出金紙幣繰出部(図示せず)を有している。
また、図2に示すように、紙幣搬送部220には、回収処理を行う際に紙幣収納部260から繰り出された紙幣を収納する紙幣回収カセット235が連結されている。なお、紙幣識別部250で識別された紙幣の金種を収納するための紙幣収納部260がフル(満杯)状態又はニアフル(ほぼ満杯)状態である場合には、この紙幣はオーバーフロー紙幣として、紙幣回収カセット235に収納されてもよい。
また、図2に示すように、紙幣搬送部220には、紙幣収納部260から繰り出された紙幣が紙幣識別部250によって識別できない場合に、当該紙幣(出金リジェクト紙幣)を収納する出金紙幣リジェクト部230が連結されている。
紙幣処理装置200の各金種に関する在高は、対象となる金種別紙幣収納部261に収納された紙幣の枚数から当該金種別紙幣収納部261から繰り出された紙幣の枚数を差し引くことで算出可能となる。ちなみに、各金種別紙幣収納部261に対応して設けられた検知センサ225からの情報に基づいて対象となる金種別紙幣収納部261内に紙幣が収納されたことが検出され、他方、当該検知センサ225からの情報に基づいて対象となる金種別紙幣収納部261から紙幣が繰り出されたことが検出される。
また、図2に示すように、検知センサ225は、出金紙幣リジェクト部230及び紙幣回収カセット235の各々に対応するようにも設けられており、当該検知センサ225からの情報に基づいて、出金紙幣リジェクト部230及び紙幣回収カセット235の各々に収納されている紙幣の枚数も検出できるようになっている。ちなみに、本実施の形態では、紙幣受入部210及び紙幣払出部290にも対応して検知センサ225が設けられている。紙幣受入部210に対応して設けられた検知センサ225は紙幣受入部210で受け入れられた紙幣が当該検知センサ225を通過したかを検知するために用いられる。また、紙幣払出部290に対応して設けられた検知センサ225は紙幣払出部290から払い出されるべき紙幣が当該検知センサ225を通過したかを検知するために用いられる。
図4に示すように、紙幣処理装置200の紙幣制御部202には、インターフェース232、紙幣受入部210、紙幣搬送部220、出金紙幣リジェクト部230、紙幣識別部250、紙幣収納部260、紙幣払出部290、紙幣記憶部205、検知センサ225等がそれぞれ接続されている。そして、紙幣制御部202は、紙幣受入部210、紙幣搬送部220、出金紙幣リジェクト部230、紙幣識別部250、紙幣収納部260、紙幣払出部290、紙幣記憶部205、検知センサ225等と信号の送受信を行い、これらを制御するように構成されている。なお、以下の紙幣処理装置200の説明において、紙幣処理装置200の制御を主に紙幣制御部202が行う態様を用いるが、このような態様に限られることはなく、紙幣制御部202ではなく、上位制御部101、硬貨制御部102及び登録制御部302のいずれか1つ以上の制御部が紙幣処理装置200の制御を行ってもよい。
ところで、撮像部50で取得された所定の場所に載置された紙幣の画像データに基づいて、紙幣の合計金額を算出し、当該紙幣の合計金額に硬貨の合計金額を加算することで預かり金額の合計金額を算出するようにしてもよい。
各紙幣の金種を判別する場合には、上位制御部101が、画像データ上の紙幣面に印刷された金額情報、例えば「1000」、「5000」、「1000」等を判別すればよい。なお、紙幣を所定の場所に載置する場合には、例えば紙幣が扇状に載置されるようにしてもよい。また、紙幣を載置するための専用の吟味台や載置台を設けてもよいし、同じ吟味台又は載置台の中で、紙幣を載置する部分と硬貨を載置する部分とを分けて設けてもよい。
また、上位制御部101は、撮像部50で取得された所定の場所に載置された紙幣の画像データに基づいて、紙幣の記番号を判別するようにしてよい。このように紙幣の記番号が判別された場合には、当該記番号は、登録装置300を介してサーバ400に送られ、サーバ記憶部405で記憶されて管理されてもよい。また、上位制御部101で紙幣の記番号が判別されると、サーバ記憶部405に予め記憶されている偽札の記番号や盗難紙幣の記番号といったブラックリスト上の記番号と照合されて、照合した結果、ブラックリストに載っている記番号である場合にはその旨が登録装置300の登録表示部351に表示されるようにしてもよい。
また、上述したような紙幣に関する情報だけではなく、上位制御部101は、撮像部50で取得された紙葉類やカードの画像データに基づいて、当該紙葉類やカードの情報を取得するようにしてもよい。例えば、商品券の金額情報、クーポン券の割引情報、会員カードの会員番号等を、撮像部50で取得された画像データに基づいて取得してもよい。
本実施の形態の紙幣に関しても、硬貨に関して述べたのと同様の態様を採用することができる。以下では、重複する記載となるから適宜省略しつつ説明する。
本実施の形態では、上位制御部101が、撮像部50で取得された、所定の場所に載置された紙幣の画像データに基づいて、顧客が支払った紙幣の合計金額を算出するようになっていてもよい。そして、上位制御部101は、上位制御部101が算出した紙幣の合計金額と、同じく上位制御部101が硬貨の画像データに基づいて算出した硬貨の合計金額とを足し合わせて預かり金額とし、当該預かり金額と登録装置300等から入力された売上金額とから釣銭金額を算出してもよい。なお、硬貨の合計金額に関しては、画像データに基づいて算出されることなく、硬貨識別部150による識別結果に基づいて算出されてもよい。
上位制御部101は、撮像部50で取得された画像データに基づいて、上述したように紙幣面に印刷された金額情報や、場合によっては紙幣の大きさ、紙幣の色等によって、各紙幣の金種を判別するようになっていてもよい。また、紙幣の両面の模様を上位記憶部155等が記憶しており、上位制御部101は、上位記憶部155等で記憶されている模様と画像データ中の模様とを比較することで、画像データ中の紙幣の各々の金種を判別してもよい。このように金種が判別されると、判別した金種別枚数を合計することで紙幣の合計金額を算出することができる。
撮像部50ではリアルタイムで画像データが取得されている。そして、上位制御部101は、撮像部50によりリアルタイムで取得される画像データに基づいて、画像データ内の紙幣の金種をリアルタイムで判別し、判別結果に基づく情報を登録装置300の登録表示部351及び/又は客側表示部356にリアルタイムで出力している。この判別結果に基づく情報は、画像データ、当該画像データに映っている紙幣の金種、画像データに映っている紙幣の合計金額、画像データに映っている紙幣の金種別枚数等が含まれていてもよい。登録装置300の登録表示部351及び/又は客側表示部356では、画像データ、当該画像データに映っている紙幣の金種、画像データに映っている紙幣の合計金額、画像データに映っている紙幣の金種別枚数等がリアルタイムで表示される。このため、顧客が所定の場所である載置部10に紙幣を足したり紙幣を取り除いたりすると、紙幣が足されたことや紙幣が取り除かれたこともリアルタイムで反映されて、登録装置300の登録表示部351及び/又は客側表示部356では、画像データに映っている紙幣の金種、紙幣の合計金額、紙幣の金種別枚数等がリアルタイムで変化する。
また、上位制御部101は、紙幣の画像データに基づいて紙幣の合計金額を算出し、硬貨の合計金額と紙幣の合計金額から預かり金額を算出し、当該預かり金額に基づいて入力された売上金額に対する釣銭金額又は不足金額を算出してもよい。この場合にも、リアルタイムで釣銭金額又は不足金額が登録装置300の登録表示部351及び/又は客側表示部356で表示され、釣銭金額又は不足金額に基づいて、顧客は紙幣を所定の場所である載置部10に追加したり紙幣を載置部10から取り除いたりすることができる。
また、上位制御部101は、売上金額に基づいて載置部10に余分な紙幣が載置されているか否かをリアルタイムで判断してもよい。そして、売上金額に基づいて載置部10に余分な紙幣が載置されている場合には、登録装置300の登録表示部351及び/又は客側表示部356で余分な紙幣が載置部10に載置されていることが表示され、一例としては余分な紙幣を所定の形状で取り囲むとともに、余分である旨を表示してもよい。ちなみに、売上金額に基づいて載置部10に余分な紙幣が載置されている場合というのは、上述した硬貨の場合と同様、載置部10に載置された紙幣のうち、釣銭として払い出されうる紙幣が含まれている場合には、売上金額に基づいて載置部10に余分な紙幣が載置されていると判断されることになる。
また、載置部10で紙幣が重なって配置されて紙幣の金額情報が隠れてしまっており、紙幣の金種を判別することができない場合には、登録装置300の登録表示部351、客側表示部356等の報知部でその旨が報知されてもよい。この場合には、紙幣が重なっている旨のメッセージが登録装置300の登録表示部351、客側表示部356等で表示されてもよいし、登録装置300の登録表示部351、客側表示部356等で紙幣が重なっている箇所が所定の形状で囲まれて表示されてもよい。
上位制御部101は、撮像部50で取得された画像データに基づいて、紙幣以外の異物(例えば、ゴミ、クリップ、レシート、紙幣識別部250で識別できない外国紙幣等)をリアルタイムで検出するようになっていてもよい。そして、上位制御部101は、このように画像データに基づいて異物が検出された場合には、異物に関する情報を出力してもよい。異物に関する情報には、異物が存在する旨の情報だけではなく、異物が存在する場所、異物の大きさ、異物の種類に関する情報が含まれてもよい。ところで、汚損が激しい紙幣等も異物として検出される。
上位制御部101から異物に関する情報が出力されると、異物が載置部10に載っていることが登録装置300の登録表示部351及び/又は客側表示部356で表示される。このように異物が載置部10に載っていることを表示する際には、メッセージが表示されてもよいし、異物の箇所が円形状や四角形状等の所定の形状で取り囲まれて登録装置300の登録表示部351及び/又は客側表示部356で表示されるようにしてもよい。また、異物の種類、例えば、ゴミ、クリップ、レシート、紙幣識別部250で識別できない外国紙幣等の種別が登録装置300の登録表示部351及び/又は客側表示部356で表示されてもよい。また、撮像用の照明が設けられている場合等には、当該照明の色が通常の場合から変化したり点滅したりする等して、異物が載置部10に載置されていることが報知されてもよい。
なお、画像データから異物が存在していると判断されている間は、画像データに基づいて算出された紙幣の合計金額について確定処理を受け付けないようにしてもよい。この場合には、載置部10から当該異物が除去された時点で、画像データに基づいて算出された紙幣の合計金額について確定処理が受け付けられることとなる。ちなみに、画像データから異物が存在していると判断されている間であっても、強制的に確定処理を行うことができるようにしてもよい。
上述したように汚損が激しい紙幣等も異物として検出されることとなるが、このような事態に備えて、登録操作部352や操作表示部152から所定の入力(例えば加算許可入力)を行うことで、画像データに基づいて算出された紙幣の合計金額に、登録操作部352や操作表示部152から手入力した金種別枚数や合計金額を加算したものを紙幣の総合計金額として算出できるようにしてもよい。また、このような態様に限られることはなく、登録操作部352や操作表示部152から所定の入力(例えば加算許可入力)を行うことで、画像データに基づいて算出された紙幣の合計金額に、紙幣識別部250による識別結果に基づいて算出された紙幣の合計金額を加算したものを紙幣の総合計金額として算出できるようにしてもよい。この場合には、汚損が激しい紙幣をとりあえず紙幣処理装置200の紙幣受入部210内に投入し、紙幣識別部250で識別不可能としてリジェクトされた場合には、当該紙幣の金種別枚数や合計金額を手入力するようにしてもよい。
紙幣制御部202は、紙幣識別部250による識別結果に基づいて紙幣受入部210で受け入れられた紙幣の合計金額を算出するようになっていてもよい。そして、撮像部50で取得された画像データに基づいて算出された紙幣の合計金額と、紙幣識別部250による識別結果に基づいて算出された合計金額とを比較するようになっていてもよい。そして、撮像部50で取得された画像データに基づいて算出された紙幣の合計金額と、紙幣識別部250による識別結果に基づいて算出された合計金額とが合致しない場合には、上位制御部101がその旨を出力するようにしてもよい。このように出力された情報に基づいて、登録装置300の登録表示部351及び/又は客側表示部356に、撮像部50で取得された画像データに基づいて算出された紙幣の合計金額と紙幣識別部250による識別結果に基づいて算出された合計金額とが合致しないことが表示(例えばアラーム表示)されてもよい。この際、登録表示部351及び/又は客側表示部356は、画像データに基づいて算出された紙幣の合計金額、紙幣識別部250による識別結果に基づいて算出された合計金額、画像データに基づいて算出された紙幣の合計金額と紙幣識別部250による識別結果に基づいて算出された合計金額との差分等を表示してもよい。また、報知部は、撮像部50で取得された画像データに基づいて算出された紙幣の合計金額と紙幣識別部250による識別結果に基づいて算出された合計金額とが合致しないこと、画像データに基づいて算出された紙幣の合計金額、紙幣識別部250による識別結果に基づいて算出された合計金額、画像データに基づいて算出された紙幣の合計金額と紙幣識別部250による識別結果に基づいて算出された合計金額との差分等を音声で報知してもよい。
上述のように撮像部50で取得された画像データに基づいて算出された紙幣の合計金額と紙幣識別部250による識別結果に基づいて算出された合計金額とが合致しない場合には、紙幣識別部250による識別結果に基づいて算出された合計金額が正しく撮像部50で取得された画像データに基づいて算出された紙幣の合計金額が誤っていたものとして、逆に、撮像部50で取得された画像データに基づいて算出された紙幣の合計金額が正しく紙幣識別部250による識別結果に基づいて算出された合計金額が誤っていたものとして、判断されて処理されてもよい。この場合には、撮像部50で取得された画像データに基づいて算出された紙幣の合計金額及び紙幣識別部250による識別結果に基づいて算出された合計金額と、どちらを「正」として処理したかが登録記憶部305やサーバ記憶部405に記憶されてもよい。
また、撮像部50で取得された画像データに基づいて算出された紙幣の合計金額と紙幣識別部250による識別結果に基づいて算出された合計金額とが合致しない場合には、紙幣処理装置200で受け入れられた紙幣の全てを紙幣払出部290から返却するようにしてもよい。このような態様を採用することで、紙幣識別部250による識別結果に基づいて算出された合計金額が正しかったかを操作者が確認することができる。また、撮像部50で取得された画像データに基づいて算出された紙幣の合計金額と紙幣識別部250による識別結果に基づいて算出された合計金額とが合致しない場合には、上位制御部101が上位記憶部155又はサーバ記憶部405に記憶された当該取引の画像データを読み出し、当該画像データを登録装置300の登録表示部351に表示させてもよい。このような態様を採用することで、画像データに基づいて算出された合計金額が正しかったかを操作者が確認することができる。
また、上述のように撮像部50で取得された画像データに基づいて算出された紙幣の合計金額と紙幣識別部250による識別結果に基づいて算出された合計金額とが合致しない場合には、撮像部50で取得された画像データに基づいて算出された紙幣の合計金額又は紙幣識別部250による識別結果に基づいて算出された合計金額のいずれかが修正されるか、強制終了されるまでは、新規の取引を受け付けないようにしてもよい。
ところで、画像データに基づいて算出された紙幣の合計金額について確定処理がなされることなく紙幣が紙幣処理装置200の紙幣受入部210で受け入れられたときには、画像データに基づいて紙幣の合計金額を算出することなく、紙幣処理装置200の紙幣識別部250による識別結果に基づいて算出された合計金額のみを用いてもよい。
なお、紙幣に関しても、撮像部50で取得された画像データに基づいて載置部10に載置された紙幣の合計金額を算出し、当該合計金額を利用してICカードや携帯電話等に対する電子マネーのチャージを行うようにしてもよい。
カメラ等からなる撮像部50は、紙幣が載置される載置部10を上方から撮像してもよいが、紙幣が載置される載置部10の載置面が透明になっている態様を採用した場合には、撮像部50を載置面の下方に載置し、透明な載置面を介して、載置部10に載置された紙幣の画像データを取得するようにしてもよい。
また、硬貨の場合と同様、載置部10の載置面が例えばLCD等の表示画面18となっていてもよい。この場合に採用されうる態様は、硬貨において説明したとおりである。
また、紙幣処理装置200とは全く別の場所で、紙幣の画像データを取得するようにしてもよい。この場合には、複数の撮像部50に対して1台の紙幣処理装置200が設置されるようにしてもよく、紙幣処理装置200をあくまでも紙幣の金種別枚数を再確認したり紙幣を保管したりするために用い、撮像部50で撮像された画像データに基づいて、一般的な取引が行われるようにしてもよい。
また、ドル、ユーロ、元、ウォン等の所定の外国紙幣を識別するための情報と、当該外国紙幣に対する為替レートとを上位記憶部155等に記憶させておくことで、外国紙幣をそのまま支払いに用いるようにしていてもよい。また、この場合には、複数の外国紙幣が入り交じっていてもよく、例えば日本円の紙幣とUSドルの紙幣とを混合して支払いに用いた場合であっても、日本円にしていくらの金額であるのかを算出することができる。ちなみに、このように外国紙幣でそのまま支払いを行う場合には、紙幣識別部250を別途開発することなく、紙幣識別部250によって紙幣の識別を行わないようにしたり、紙幣識別部250で紙幣の識別を行うものの日本円以外の紙幣はリジェクト紙幣として取り扱い、別途保管するようにしてもよい。
《登録装置300》
次に、本実施の形態の登録装置300の構成について説明する。登録装置300の代表的な例はPOSレジスタやテラーズマシンである。この登録装置300では、商品の購入情報を登録したり、売上金額の算出、顧客から受け取った受取金額の算出及び釣銭金額の算出を行ったり、硬貨処理装置100や紙幣処理装置200に対して指令を入力して、釣銭の支払いを行わせたりするようになっている。なお、登録装置300は、硬貨処理装置100や紙幣処理装置200に対して指令を入力して、硬貨や紙幣の精査処理、回収処理等を行わせるようになっていてもよい。
次に、本実施の形態の登録装置300の構成について説明する。登録装置300の代表的な例はPOSレジスタやテラーズマシンである。この登録装置300では、商品の購入情報を登録したり、売上金額の算出、顧客から受け取った受取金額の算出及び釣銭金額の算出を行ったり、硬貨処理装置100や紙幣処理装置200に対して指令を入力して、釣銭の支払いを行わせたりするようになっている。なお、登録装置300は、硬貨処理装置100や紙幣処理装置200に対して指令を入力して、硬貨や紙幣の精査処理、回収処理等を行わせるようになっていてもよい。
図4に示すように、登録装置300の登録制御部302は、硬貨処理装置100の上位制御部101に通信接続されるとともに、サーバ400にも通信接続されている。そして、この登録制御部302は、硬貨処理装置100の上位制御部101を介して硬貨制御部102及び紙幣制御部202に指令を送り、この結果、硬貨処理装置100に対して硬貨の入金処理、出金処理、精査処理、回収処理等を行わせ、紙幣処理装置200に対して紙幣の入金処理、出金処理、精査処理、回収処理等を行わせるようになっている。また、登録制御部302は、硬貨制御部102及び紙幣制御部202から、上位制御部101を介して、硬貨制御部102及び紙幣制御部202における硬貨及び紙幣の処理状況や在高に係る情報を受け取るようになっている。
図1に示すように、登録装置300は、レジ係等の操作者が操作することのできる登録操作部352と、商品の取引状況、硬貨処理装置100における硬貨の処理状況、紙幣処理装置200における紙幣の処理状況、硬貨処理装置100の内部に収納された硬貨の在高、紙幣処理装置200の内部に収納された紙幣の在高等を表示する登録表示部351と、を備えている。そして、操作者は、登録操作部352を介して登録制御部302(図5参照)に対して様々な指令を与えることができるようになっている。ちなみに、本実施の形態では登録表示部351は単に情報を表示するものとして説明するが、これに限られることはなく、登録表示部351はタッチパネル等からなり、登録操作部352としての機能を果たしてもよい。
なお、登録装置300は、クレジットカード等の各種カードを読み取るカードリーダ360と、プリンタ等からなる印刷部370も有している。なお、登録表示部351で表示されるあらゆる情報や登録記憶部305で記憶されているあらゆる情報は、当該印刷部370で印字することができるようになっている。なお、カードリーダ360では、ICカード、タグ、携帯電話等の媒体に記録され情報を読み取ることができてもよい。
図4に示すように、登録装置300の登録制御部302には、客側表示部356、カードリーダ360、プリンタ等からなる印刷部370、登録表示部351、登録操作部352、登録記憶部305、インターフェース332等がそれぞれ接続されている。そして、登録制御部302は、客側表示部356、カードリーダ360、印刷部370、登録表示部351、登録操作部352、登録記憶部305、インターフェース332等と信号の送受信を行い、これらを制御するように構成されている。
ところで、本実施の形態の貨幣処理装置は音声認識部30を有していてよい。このような場合には、例えばレジ係等の操作者が口頭で発した預かり金額に関する情報(「○○円、お預かりします。」)が音声認識部30で認識され、その認識結果と、画像データに基づいて算出された硬貨の合計金額及び/又は紙幣の合計金額等に基づいて算出された預かり金額の合計金額とが合致しているかが照合されてもよい。また、音声認識部30で認識された預かり金額に関する情報が、画像データに基づいて算出された硬貨の合計金額及び/又は紙幣の合計金額等に基づいて算出された預かり金額の合計金額と合致していない場合には、登録装置300の登録表示部351、客側表示部356等の報知部でその旨が報知されてもよい。
なお、上位記憶部155、硬貨記憶部105、紙幣記憶部205、登録記憶部305及びサーバ記憶部405の他にも、外部装置に外部記憶部(図示せず)が設けられていてもよい。また、上位制御部101、硬貨制御部102、紙幣制御部202及び登録制御部302の他にも、外部装置に外部制御部(図示せず)が設けられていてもよい。また、操作表示部152、ボタン式操作部153及び登録操作部352の他にも、外部装置に外部操作部(図示せず)が設けられていてもよい。また、操作表示部152、登録表示部351及び客側表示部356の他にも、外部装置に外部表示部(図示せず)が設けられていてもよい。
ちなみに、本実施の形態では、上位記憶部155、硬貨記憶部105、紙幣記憶部205、登録記憶部305、サーバ記憶部405及び外部記憶部のいずれか一つで果たされる機能は、上位記憶部155、硬貨記憶部105、紙幣記憶部205、登録記憶部305、サーバ記憶部405及び外部記憶部の別の一つで果たされてもよい。また、上位制御部101、硬貨制御部102、紙幣制御部202、登録制御部302及び外部制御部のいずれか一つで果たされる機能は、上位制御部101、硬貨制御部102、紙幣制御部202、登録制御部302及び外部制御部の別の一つで果たされてもよい。また、操作表示部152、ボタン式操作部153、登録操作部352及び外部操作部のいずれか一つで果たされる機能は、操作表示部152、ボタン式操作部153、登録操作部352及び外部操作部の別の一つで果たされてもよい。また、操作表示部152、登録表示部351、客側表示部356及び外部表示部のいずれか一つで果たされる機能は、操作表示部152、登録表示部351、客側表示部356及び外部表示部の別の一つで果たされてもよい。
以下では、上位記憶部155、硬貨記憶部105、紙幣記憶部205、登録記憶部305、サーバ記憶部405及び外部記憶部のいずれか一つ以上を示す用語として「記憶部505」を用いる。また、上位制御部101、硬貨制御部102、紙幣制御部202、登録制御部302及び外部制御部のいずれか一つ以上を示す用語として「制御部502」を用いる。また、操作表示部152、ボタン式操作部153、登録操作部352及び外部操作部のいずれか一つ以上を示す用語として「操作部552」を用いる。また、操作表示部152、登録表示部351、客側表示部356及び外部表示部のいずれか一つ以上を示す用語として「表示部551」を用いる。
《方法》
次に、本実施の形態の貨幣処理システムを用いた貨幣処理方法について説明する。以下では、一例として、硬貨に関しては、区分け部15を有する吟味台14aに載置された硬貨の画像データに基づいてその合計金額を算出し、紙幣に関しては、紙幣識別部250によって識別計数された結果に基づいてその合計金額を算出する態様を用いて説明する。しかしながら、これに限られることはなく、例えば、紙幣に関しても、所定の場所に載置された紙幣の画像データに基づいてその合計金額を算出するようにしてもよいし、硬貨に関して硬貨識別部150によって識別計数された結果に基づいてその合計金額を算出するとともに紙幣に関して所定の場所に載置された紙幣の画像データに基づいてその合計金額を算出するようにしてもよい。
次に、本実施の形態の貨幣処理システムを用いた貨幣処理方法について説明する。以下では、一例として、硬貨に関しては、区分け部15を有する吟味台14aに載置された硬貨の画像データに基づいてその合計金額を算出し、紙幣に関しては、紙幣識別部250によって識別計数された結果に基づいてその合計金額を算出する態様を用いて説明する。しかしながら、これに限られることはなく、例えば、紙幣に関しても、所定の場所に載置された紙幣の画像データに基づいてその合計金額を算出するようにしてもよいし、硬貨に関して硬貨識別部150によって識別計数された結果に基づいてその合計金額を算出するとともに紙幣に関して所定の場所に載置された紙幣の画像データに基づいてその合計金額を算出するようにしてもよい。
まず、商品に印刷されたり貼り付けられたりしているバーコード情報等が登録操作部352に含まれるバーコードリーダ(読取部)で読み取られて、商品の登録が行われる(図15(a)参照)。その結果、顧客が購入した商品の売上金額が算出されて(図15(a)では「商品額入力」として示されている。)、例えば小計ボタンが押下されて最終的な売上金額が確定される(図15(a)参照:図15(a)では「小計押下」として示されている。)。なお、図15(a)−(d)において、矢印の終端は、操作者が行った操作に対して、対応する処理を行う部材や対応する処理が行われる部材を示している。
次に、顧客が売上金額に対応した貨幣を支払う。
この際、硬貨は顧客又はレジ係等の操作者によって吟味台14a上に載置される(図15(a)参照)。このように硬貨が吟味台14a上に載置されると、操作者や顧客等が硬貨を吟味台14aに沿ってならすことで、区分け部15の区画内に硬貨が1枚だけ載置され、各硬貨が分離されることになる。このように吟味台14a上に載置された硬貨の画像データが撮像部50によってリアルタイムで取得される(図15(b)参照)。そして、制御部502は、当該画像データに基づいて、画像データ内の硬貨の金種をリアルタイムで判別し、判別結果に基づく情報を登録装置300の登録表示部351及び客側表示部356にリアルタイムで出力する。この判別結果に基づく情報には、例えば、画像データ、当該画像データに映っている硬貨の金種、画像データに映っている硬貨の合計金額、画像データに映っている硬貨の金種別枚数、画像データに映っている硬貨の合計金額と紙幣の合計金額とを合算した預かり金額、釣銭金額又は不足金額等が含まれている。なお、紙幣の合計金額及び預かり金額は、紙幣識別部250による識別結果が算出された時点で表示されるようにしてもよい。
他方、顧客から差し出された紙幣は、レジ係等の操作者によって紙幣処理装置200の紙幣受入部210に投入され、その後、紙幣筐体203内に繰り出される。そして、このように紙幣筐体203内に紙幣が繰り出されると、紙幣搬送部220によって当該紙幣は搬送されつつ紙幣識別部250によってその金種が識別されて、顧客から差し出された紙幣の合計金額が算出される(図15(b)参照)。なお、紙幣搬送部220によって搬送された紙幣はリジェクト紙幣でない限り紙幣収納部260まで搬送されて、当該紙幣収納部260内に収納されることとなる。
預かり金額に問題がないようであれば、操作者が操作部552から取引を確定する旨の入力を行う(図15(c)参照:図15(c)では「現計押下」として示されている。)。この際、操作者が登録操作部352から取引を確定する旨の入力を行ってもよいが、客側表示部356がタッチパネル等からなっている場合には、顧客が当該客側表示部356の確認ボタンを押下することで取引を確定する旨の入力を行ってもよい。
このように取引を確定する旨の入力が行われると、顧客からの預かり金額の合計金額が確定する。この結果、必要な場合には、硬貨処理装置100及び/又は紙幣処理装置200から釣銭が出金される。このように釣銭が出金される場合には、レジ係等の操作者が当該釣銭を硬貨処理装置100及び/又は紙幣処理装置200から抜き取り(図15(c)参照)、顧客に手渡すことで取引が終了する。
その後で、吟味台14a上の硬貨が硬貨処理装置100の硬貨受入部110に投入され(図15(d)参照)、その後、硬貨筐体103内に繰り出される。そして、このように硬貨筐体103内に硬貨が繰り出されると、入金硬貨搬送部120によって当該硬貨は搬送されつつ硬貨識別部150によってその金種が識別されて、その合計金額が算出される。なお、入金硬貨搬送部120によって搬送された硬貨はリジェクト硬貨でない限り硬貨収納部160まで搬送されて、当該硬貨収納部160内に収納されることとなる。
吟味台14a上の硬貨を硬貨受入部110に投入する際には、シュート20がある場合には、シュート20に沿って硬貨を流せばよいし、第一部材11に対して開閉可能な第二部材12が設けられている場合には、手動又は自動で第二部材12を第一部材11に対して開状態としてやればよい。その他の変形例については、「構成」で述べたとおりであるので、ここでは省略する。
そして、撮像部50で取得された画像データに基づいて算出された硬貨の合計金額と、硬貨識別部150による識別結果に基づいて算出された合計金額とが合致する場合には、そのまま、当該取引に関する処理は終了される。
他方、撮像部50で取得された画像データに基づいて算出された硬貨の合計金額と、硬貨識別部150による識別結果に基づいて算出された合計金額とが合致しない場合には、制御部502がその旨を出力するようにしてもよい。このように出力された情報に基づいて、登録表示部351、客側表示部356等を含む報知部で、撮像部50で取得された画像データに基づいて算出された硬貨の合計金額と硬貨識別部150による識別結果に基づいて算出された合計金額とが合致しないことが報知されてもよい。また、硬貨識別部150による識別結果に基づいて算出された合計金額が正しく硬貨識別部150による識別結果に基づいて算出された合計金額が誤っていたものとして、逆に、硬貨識別部150による識別結果に基づいて算出された合計金額が正しく硬貨識別部150による識別結果に基づいて算出された合計金額が誤っていたものとして、判断されて処理されてもよい。この場合には、撮像部50で取得された画像データに基づいて算出された硬貨の合計金額及び硬貨識別部150による識別結果に基づいて算出された合計金額と、どちらを「正」として処理したかが記憶部505に記憶されてもよい。
また、撮像部50で取得された画像データに基づいて算出された硬貨の合計金額と、硬貨識別部150による識別結果に基づいて算出された合計金額とが合致しない場合には、記憶部505に記憶された当該取引の画像データを読み出し、当該画像データを登録表示部351に表示させてもよい。また、硬貨処理装置100で受け入れられた硬貨の全てを硬貨払出部190から返却するようにしてもよい。これらの場合には、撮像部50で取得された画像データに基づいて算出された硬貨の合計金額若しくは硬貨識別部150による識別結果に基づいて算出された合計金額のいずれかが修正されるか、又は、当該取引が強制的に終了されることで、当該取引に関する処理は終了される。
重複する記載となるため省略したが、上記では述べていない内容であっても「構成」で述べた内容を「方法」に適宜採用することができる点には留意が必要である。
《効果》
次に、上述した構成からなる本実施の形態によって達成される効果であって、まだ述べていない効果又はとりわけ重要な効果について説明する。
次に、上述した構成からなる本実施の形態によって達成される効果であって、まだ述べていない効果又はとりわけ重要な効果について説明する。
本実施の形態では、所定の場所に載置された貨幣に関して、撮像部50で取得された画像データに基づいて、預かり金額の合計金額を算出し、入力された売上金額と算出した預かり金額の合計金額とから釣銭金額を算出する。この点、撮像部50で取得された画像データに基づいて貨幣(つまり硬貨、紙幣又は硬貨及び紙幣の両方)の合計金額を算出する場合には、即座にその合計金額を算出することができるので、硬貨識別部150又は紙幣識別部250によって合計金額を算出する場合と比較して、格段に早く、その合計金額を算出することができる。また、画像データに基づいて貨幣の合計金額を算出することから、特許文献1で出金優先処理を選択した場合のようにレジ係等の操作者による数え間違いや不正が発生することもない。したがって、本実施の形態によれば、違算が発生したり不正が発生したりする可能性を低く抑えつつ、顧客を待たせる時間を短くすることができる。
ちなみに、硬貨に関しては支払う枚数が多い傾向にあり、また硬貨が入金時に硬貨受入部110内で暴れてしまい取り込まれるまでに時間が掛かることがあるのに対して、紙幣に関しては支払う枚数が少ない傾向にあり、また紙幣が入金時に紙幣受入部210内で暴れてしまうことはないことから、画像データに基づいて硬貨の合計金額を算出する態様の方が、画像データに基づいて紙幣の合計金額を算出する態様よりも有益である。但し、画像データに基づいて紙幣の合計金額を算出しても当然よく、画像データに基づいて硬貨の合計金額と紙幣の合計金額の両方を算出しても当然よい。
また、本実施の形態において、画像データに基づいて各貨幣の金種を判別する態様を採用した場合には、所定の場所に載置された貨幣の各々に関する金種を判別することができるので、正確な合計金額を算出することができる。
また、上述した「所定の場所」として吟味台14aを採用した場合には、顧客に対して貨幣を載置すべき場所を直感的に理解させることができる。このため、画像データに基づいて貨幣の合計金額を算出する際の効率を高めることができる。
また、表示部551によって撮像部50で取得された画像データを表示する態様を採用した場合には、映し出された画像データに基づいて、操作者や顧客に対して様々な情報を提供することができる。一例として、表示部551が画像データに映し出された各貨幣に対して判断された金種を表示してもよく、この場合には、画像データに映し出された各貨幣の金種に対する判別が合っているか否かを操作者や顧客が一目で確認することができる。また、別の例としては、表示部551が画像データに映し出された貨幣に対して判断された合計金額を表示してもよく、この場合には、画像データに映し出された貨幣に対して判断された合計金額を操作者や顧客が一目で確認することができる。
なお、操作者が利用するための登録表示部351と顧客が利用するための客側表示部356とが設けられている場合には、操作者だけでなく顧客にも画像データに基づく情報を提供することができる。このため、例えば顧客も納得したうえで画像データに基づいて算出された貨幣の合計金額を確定することができる。
貨幣の画像データに基づいて当該貨幣の金種をリアルタイムで判別し、判別結果に基づく情報を表示部551にリアルタイムで出力する態様によれば、例えば、画像データに映し出されている貨幣の金種をリアルタイムで把握することができ、画像データに基づいて合計金額が確定される前にその状況を操作者や顧客が把握することができる。
また、貨幣の画像データに基づいて預かり金額の合計金額をリアルタイムで算出し、入力された売上金額と算出した預かり金額の合計金額とから釣銭金額又は不足金額をリアルタイムで算出する態様を採用した場合には、例えば、支払われた貨幣に基づいてリアルタイムに釣銭金額又は不足金額を表示部551で表示させることができる。仮に客側表示部356で釣銭金額又は不足金額がリアルタイムで表示されている場合には、後いくら出せば釣銭をまるめられるか(自身が受け取る釣銭の枚数を減らすことができるのか)、売上金額以上を支払うには後いくら以上の貨幣を出せばよいのか等を顧客に直感的に把握させることができる。また、このような態様によれば、自己が貨幣を支払い過ぎていることや、誤った金種の貨幣を支払っていることを顧客に気づかせることもできる。
とりわけ、判別結果に基づく情報が画像データに映し出された各貨幣に対して判別された金種を含む場合には、画像データ中の各貨幣の金種に対する判別が合っているか否かをリアルタイムで操作者や顧客が確認することができる。判別結果に基づく情報が画像データに映し出された貨幣の合計金額を含む場合には、画像データ中の貨幣の合計金額をリアルタイムで操作者や顧客が確認することができる。ちなみに、判別された金種に関しては、画像データ上の貨幣と重ね合わせて表示させてもよいし、画像データ上の貨幣に近接させた位置に表示させてもよい(図9参照)。
また、判別結果に基づく情報が画像データを含む場合には、画像データを見ながら、画像データ中の各貨幣の金種に対する判別が合っているか否かをリアルタイムで操作者や顧客が確認したり、画像データ中の貨幣の合計金額をリアルタイムで操作者や顧客が確認したりすることができる。
また、硬貨に関して撮像部50で取得された画像データに基づいて硬貨の合計金額を算出する場合において、硬貨識別部150による識別結果に基づいて硬貨受入部110で受け入れられた硬貨の合計金額を算出し、画像データに基づいて算出された硬貨の合計金額と、硬貨識別部150による識別結果に基づいて算出された硬貨の合計金額とを比較する態様を採用した場合には、画像データに基づいて算出された硬貨の合計金額と硬貨識別部150による識別結果に基づいて算出された硬貨の合計金額とを用いて二重に確認することができる。このため、より確実に、硬貨の違算の発生の可能性を低くすることができる。また、紙幣に関して撮像部50で取得された画像データに基づいて紙幣の合計金額を算出する場合において、紙幣識別部250による識別結果に基づいて紙幣受入部210で受け入れられた紙幣の合計金額を算出し、画像データに基づいて算出された紙幣の合計金額と、紙幣識別部250による識別結果に基づいて算出された紙幣の合計金額とを比較する態様を採用した場合には、画像データに基づいて算出された紙幣の合計金額と紙幣識別部250による識別結果に基づいて算出された紙幣の合計金額とを用いて二重に確認することができる。このため、より確実に、紙幣の違算の発生の可能性を低くすることができる。
画像データに基づいて算出された硬貨の合計金額と硬貨識別部150による識別結果に基づいて算出された硬貨の合計金額とが合致しない場合や、画像データに基づいて算出された紙幣の合計金額と紙幣識別部250による識別結果に基づいて算出された紙幣の合計金額とが合致しない場合に、その旨を出力する態様を採用したときには、例えば、そのことを、表示部551等の報知部でアラーム表示したり、音声で知らせたりすることができる。
また、画像データに基づいて算出された硬貨の合計金額と硬貨識別部150による識別結果に基づいて算出された硬貨の合計金額とが合致しないことや、画像データに基づいて算出された紙幣の合計金額と紙幣識別部250による識別結果に基づいて算出された紙幣の合計金額とが合致しないことの出力を受けて、合致していない旨のログを記憶部505に残すこともできる。
また、画像データに基づいて算出された硬貨の合計金額と硬貨識別部150による識別結果に基づいて算出された硬貨の合計金額とが合致しないことや、画像データに基づいて算出された紙幣の合計金額と紙幣識別部250による識別結果に基づいて算出された紙幣の合計金額とが合致しないことの出力を受けて、硬貨処理装置100又は紙幣処理装置200で受け入れられた硬貨又は紙幣の全てを硬貨払出部190又は紙幣払出部から返却したり、記憶部505に記憶されている当該取引に関する画像データを読み出して表示部551に表示させたりする場合には、操作者によって、硬貨識別部150又は紙幣識別部250による識別結果が正しかったのか、また、画像データに基づいて算出された算出結果が正しかったのか等を確認させることができる。
また、画像データに基づいて異物を検出する場合には、異物によって画像データに基づいて貨幣の合計金額を算出することができなくなったり、当該異物が硬貨処理装置100内に投入されることを未然に防止したりすることができる。なお、画像データに基づいて異物をリアルタイムで検出する場合には、状況の変化をリアルタイムで追従することができ、例えば異物が取り除かれた場合等には、そのことを即座に判断することができる。
また、画像データに基づいて異物を検出した場合に当該異物に関する情報を出力する態様を採用したときには、異物が存在する場所、異物の大きさ、異物の種類等を、表示部551等の報知部で表示させたり、音声で知らせたりすることができる。なお、吟味台14a等の載置部10に予め番地が割り振られており、異物が存在する番地を登録表示部351等で表示するようにしてもよい。一例としては、吟味台14aの幅方向にA、B、・・・という番地が振られ、吟味台14aの奥行き方向に1、2、3、・・・という番地が振られており、登録表示部351で「3Cに異物有り」というような表示がなされてもよい。なおこの場合には、製造コストを抑える観点から、表示部551に画像データを表示させないようにしてもよい。また、吟味台14a等の載置部10内にLED等の発光部が複数埋め込まれており、異物が存在する箇所の最も近い位置に位置する発光部が発光するようにしてもよい。ところで、このような態様によれば、異物として判断された汚損硬貨や変形してしまった硬貨、汚損紙幣等を認識することなく預かり金を確定してしまう事態が発生することを防止できることから、顧客から預かった預かり金額をより正確に把握することができる。
売上金額に基づいて余分な貨幣が載置されているか否かをリアルタイムで判断する態様を採用した場合であって、当該余分な貨幣に関する情報が出力される場合には、例えば、預かり金額を確定する前にそのことを顧客や操作者に知らせることができる。このため、無駄な釣銭を支払う作業をなくすことができる。ちなみに、このような態様によれば、外国人等の日本円に関する知識が乏しく、自己が支払っている貨幣の中に無駄があるのかないのかを把握していない顧客に対しても、余分な貨幣が支払われていることを操作者が容易に説明することができるし、当該顧客も余分な貨幣が支払われていることを自ら判断することができる。
本実施の形態の吟味台14a等からなる載置部10が区分け部15を有する場合には、載置部10に載置される貨幣を互いに離間させた状態に区分けすることができるので、載置部10上で貨幣が重なり合った結果、当該貨幣の金種を判断できない事態が発生することを極力防止することができる。
そして、区分け部15が、載置部10の載置面に沿って形成される多角形状又は円形状の区画を画定する突出壁である場合には、より確実に貨幣を分離することができる。他方、区分け部15が、載置面に沿って形成される所定の区画の頂点に位置する複数の突起部である場合には、より低い材料コストで区分け部15を製造することができる。
また、区画の大きさは、取扱い対象とする硬貨のうち最大径の硬貨の直径よりも大きく取扱い対象とする硬貨のうち最小径の硬貨の直径の2倍よりも小さい場合には、各区画の中に2枚以上の硬貨が入ってしまうことを防止することができる。
また、区分け部15の厚みが、取扱い対象とする硬貨のうち最も厚みの薄い硬貨の厚みよりも薄くなっている場合には、各区画の中に2枚以上の硬貨が重なって配置されてしまうことを防止することができる。
また、載置部10が、区分け部15を有する第一部材11と、第一部材11の下方に設けられるとともに第一部材11に対して開閉可能な第二部材12と、を有する場合には、第二部材12を第一部材11に対して開状態とすることで、載置部10の載置面に載置された硬貨を下方に落下させることができる。したがって、例えば硬貨受入部110やシュート20が載置部10の下方に位置している場合には、載置部10に載置された硬貨をそのまま又はシュート20を介して硬貨受入部110内に投入することができる。
また、第二部材12が例えば網目構造となっており、ゴミ抜き穴12aが形成されている場合には、載置部10上の異物を除去することができ、異物が誤って硬貨受入部110内に投入されることを防止することができる。なお、載置部10が硬貨を載置するためのものである場合には、ゴミ抜き穴12aの大きさを取扱い対象とする硬貨のうち最小径の硬貨の直径よりも小さくすることで、第二部材12から硬貨が誤って落下してしまうことを防止することができる。
また、第二部材12の下方に、ゴミ収容部13aを有するとともに、当該第二部材12に対して取り外し自在又は開閉自在となった第三部材13が設けられている態様を採用した場合には、ゴミ抜き穴12aを通過して落下したゴミ等の異物をゴミ収容部13aで収容し、このようにして収容された異物を、第三部材13を第二部材12から取り外したり、第三部材13及び第二部材12を第一部材11から取り外した後で、第三部材13を第二部材12に対して開状態としたりすることで適宜捨てることができる。
最後になったが、上述した各実施の形態の記載及び図面の開示は、特許請求の範囲に記載された発明を説明するための一例に過ぎず、上述した実施の形態の記載又は図面の開示によって特許請求の範囲に記載された発明が限定されることはない。
10 載置部
14a 吟味台
100 硬貨処理装置
101 上位制御部(制御部)
102 硬貨制御部(制御部)
105 硬貨記憶部(記憶部)
109 硬貨処理ユニット
152 操作表示部(操作部、表示部)
153 ボタン式操作部(操作部)
155 上位記憶部(記憶部)
170 カードリーダ
200 紙幣処理装置
202 紙幣制御部(制御部)
205 紙幣記憶部(記憶部)
300 登録装置
400 サーバ
502 制御部
505 記憶部
551 表示部
552 操作部
14a 吟味台
100 硬貨処理装置
101 上位制御部(制御部)
102 硬貨制御部(制御部)
105 硬貨記憶部(記憶部)
109 硬貨処理ユニット
152 操作表示部(操作部、表示部)
153 ボタン式操作部(操作部)
155 上位記憶部(記憶部)
170 カードリーダ
200 紙幣処理装置
202 紙幣制御部(制御部)
205 紙幣記憶部(記憶部)
300 登録装置
400 サーバ
502 制御部
505 記憶部
551 表示部
552 操作部
Claims (13)
- 貨幣を処理する貨幣処理装置において、
貨幣を載置するための載置部であって、載置される前記貨幣を互いに離間させた状態に区分けするための区分け部を有する載置部と、
撮像部で取得された前記載置部に載置された貨幣の画像データに基づいて、当該貨幣の金種を判別する制御部と、
を備えたことを特徴とする貨幣処理装置。 - 前記区分け部は、前記載置部の載置面に設けられ、前記載置面に沿って形成される多角形状又は円形状の区画を画定する突出壁を含むことを特徴とする請求項1に記載の貨幣処理装置。
- 前記区分け部は、前記載置部の載置面に設けられ、前記載置面に沿って形成される所定の区画の頂点に位置する複数の突起部を含むことを特徴とする請求項1又は2のいずれかに記載の貨幣処理装置。
- 前記貨幣は硬貨であり、
前記区画の前記載置面に沿った大きさは、取扱い対象とする硬貨のうち最大径の硬貨の直径よりも大きく取扱い対象とする最小径の硬貨の直径の2倍よりも小さいことを特徴とする請求項1乃至3のいずれか1項に記載の貨幣処理装置。 - 前記貨幣は硬貨であり、
前記区分け部の厚みは、取扱い対象とする硬貨のうち最も厚みの薄い硬貨の厚みよりも薄くなっていることを特徴とする請求項1乃至4のいずれか1項に記載の貨幣処理装置。 - 前記載置部は、前記区分け部を有する第一部材と、前記第一部材の下方に設けられるとともに前記第一部材に対して開閉可能な第二部材と、を有することを特徴とする請求項1乃至5のいずれか1項に記載の貨幣処理装置。
- 前記第二部材は前記第一部材に対して揺動可能となっていることを特徴とする請求項6に記載の貨幣処理装置。
- 前記載置部は、前記区分け部を有する第一部材と、前記第一部材の下方に設けられた第二部材と、を有し、
前記第二部材には、ゴミ抜き穴が形成されていることを特徴とする請求項1乃至7のいずれか1項に記載の貨幣処理装置。 - 前記貨幣は硬貨であり、
前記ゴミ抜き穴の大きさは取扱い対象とする硬貨のうち最小径の硬貨の直径よりも小さいことを特徴とする請求項8に記載の貨幣処理装置。 - 前記載置部は、前記第二部材の下方に設けられ、ゴミ収容部を有するとともに、前記第二部材に対して取り外し自在又は開閉自在となった第三部材をさらに有していることを特徴とする請求項8又は9のいずれかに記載の貨幣処理装置。
- 筐体と、
前記筐体に設けられ、貨幣を受け入れる受入部と、
をさらに備え、
前記載置部は前記受入部よりも上方位置に位置づけられ、
前記載置部と前記受入部との間に、前記載置部に載置された貨幣を前記受入部へと導くためのシュートが設けられていることを特徴とする請求項1乃至10のいずれか1項に記載の貨幣処理装置。 - 貨幣を載置するための載置部であって、載置される前記貨幣を互いに離間させた状態に区分けするための区分け部を有する載置部と、
前記載置部に載置された貨幣の画像データを取得する撮像部と、
前記画像データに基づいて、当該貨幣の金種を判別する制御部と、
を備えたことを特徴とする貨幣処理システム。 - 前記撮像部で取得された前記画像データを表示する表示部をさらに備えたことを特徴とする請求項12に記載の貨幣処理システム。
Priority Applications (1)
| Application Number | Priority Date | Filing Date | Title |
|---|---|---|---|
| JP2014143389A JP2016018547A (ja) | 2014-07-11 | 2014-07-11 | 貨幣処理装置及び貨幣処理システム |
Applications Claiming Priority (1)
| Application Number | Priority Date | Filing Date | Title |
|---|---|---|---|
| JP2014143389A JP2016018547A (ja) | 2014-07-11 | 2014-07-11 | 貨幣処理装置及び貨幣処理システム |
Publications (1)
| Publication Number | Publication Date |
|---|---|
| JP2016018547A true JP2016018547A (ja) | 2016-02-01 |
Family
ID=55233679
Family Applications (1)
| Application Number | Title | Priority Date | Filing Date |
|---|---|---|---|
| JP2014143389A Pending JP2016018547A (ja) | 2014-07-11 | 2014-07-11 | 貨幣処理装置及び貨幣処理システム |
Country Status (1)
| Country | Link |
|---|---|
| JP (1) | JP2016018547A (ja) |
-
2014
- 2014-07-11 JP JP2014143389A patent/JP2016018547A/ja active Pending
Similar Documents
| Publication | Publication Date | Title |
|---|---|---|
| JP6567361B2 (ja) | 貨幣処理装置及び貨幣処理方法 | |
| JP5619442B2 (ja) | 紙幣釣銭機 | |
| JP2016028316A (ja) | 貨幣処理装置、貨幣処理システム及び貨幣処理方法 | |
| JP6585409B2 (ja) | 貨幣処理装置、貨幣処理システム及び貨幣処理方法 | |
| JP2016085596A (ja) | 貨幣処理装置、貨幣処理システム及び処理方法 | |
| JP5562689B2 (ja) | 釣銭機及び入金管理システム | |
| JP2017037475A (ja) | 貨幣処理装置、貨幣処理システム及び貨幣処理方法 | |
| JP6045800B2 (ja) | 商品券管理システム、釣銭機、posレジスタおよび商品券管理方法 | |
| US11455857B2 (en) | Money handling apparatus, money handling system, and money handling method | |
| JP2015228100A (ja) | 貨幣処理装置、貨幣処理システム及び在高表示方法 | |
| JP2016018546A (ja) | 貨幣処理装置、貨幣処理システム及び貨幣処理方法 | |
| JP6378537B2 (ja) | 硬貨回収用部材及び回収用部材付き硬貨処理装置 | |
| JP2016212756A (ja) | 貨幣処理装置及び貨幣処理方法 | |
| JP5663547B2 (ja) | 貨幣管理装置およびそのプログラム | |
| JP5931496B2 (ja) | 貨幣処理システム、商品券の処理方法および商品券読取機 | |
| JP4835143B2 (ja) | 自動販売機 | |
| WO2011121736A1 (ja) | 貨幣配送システム及び貨幣配送システムの貨幣配送方法 | |
| JP6576687B2 (ja) | 貨幣処理システム及び貨幣処理方法 | |
| JP6584160B2 (ja) | 貨幣処理装置及び貨幣処理方法 | |
| JP2017021701A (ja) | 貨幣処理装置及び貨幣処理方法 | |
| JP2018106536A (ja) | 貨幣処理機および貨幣処理方法 | |
| JP2016018547A (ja) | 貨幣処理装置及び貨幣処理システム | |
| JP6254958B2 (ja) | 硬貨釣銭機及びセルフチェックアウト装置 | |
| JP6882553B2 (ja) | 金銭処理装置 | |
| JP6453062B2 (ja) | 棒金収納装置、貨幣処理システム及び処理方法 |
Legal Events
| Date | Code | Title | Description |
|---|---|---|---|
| RD03 | Notification of appointment of power of attorney |
Free format text: JAPANESE INTERMEDIATE CODE: A7423 Effective date: 20160929 |