JP2014508564A - 調整可能剛性のカテーテルのための方法及び装置 - Google Patents

調整可能剛性のカテーテルのための方法及び装置 Download PDF

Info

Publication number
JP2014508564A
JP2014508564A JP2013548413A JP2013548413A JP2014508564A JP 2014508564 A JP2014508564 A JP 2014508564A JP 2013548413 A JP2013548413 A JP 2013548413A JP 2013548413 A JP2013548413 A JP 2013548413A JP 2014508564 A JP2014508564 A JP 2014508564A
Authority
JP
Japan
Prior art keywords
tubular body
state
catheter device
catheter
value
Prior art date
Legal status (The legal status is an assumption and is not a legal conclusion. Google has not performed a legal analysis and makes no representation as to the accuracy of the status listed.)
Granted
Application number
JP2013548413A
Other languages
English (en)
Other versions
JP2014508564A5 (ja
JP6050251B2 (ja
Inventor
エイチ.カリー エドワード
ビー.ダンカン ジェフリー
エム.トラップ ベンジャミン
Current Assignee (The listed assignees may be inaccurate. Google has not performed a legal analysis and makes no representation or warranty as to the accuracy of the list.)
WL Gore and Associates Inc
Original Assignee
WL Gore and Associates Inc
Priority date (The priority date is an assumption and is not a legal conclusion. Google has not performed a legal analysis and makes no representation as to the accuracy of the date listed.)
Filing date
Publication date
Application filed by WL Gore and Associates Inc filed Critical WL Gore and Associates Inc
Publication of JP2014508564A publication Critical patent/JP2014508564A/ja
Publication of JP2014508564A5 publication Critical patent/JP2014508564A5/ja
Application granted granted Critical
Publication of JP6050251B2 publication Critical patent/JP6050251B2/ja
Active legal-status Critical Current
Anticipated expiration legal-status Critical

Links

Images

Classifications

    • AHUMAN NECESSITIES
    • A61MEDICAL OR VETERINARY SCIENCE; HYGIENE
    • A61MDEVICES FOR INTRODUCING MEDIA INTO, OR ONTO, THE BODY; DEVICES FOR TRANSDUCING BODY MEDIA OR FOR TAKING MEDIA FROM THE BODY; DEVICES FOR PRODUCING OR ENDING SLEEP OR STUPOR
    • A61M25/00Catheters; Hollow probes
    • A61M25/0043Catheters; Hollow probes characterised by structural features
    • A61M25/005Catheters; Hollow probes characterised by structural features with embedded materials for reinforcement, e.g. wires, coils, braids
    • A61M25/0053Catheters; Hollow probes characterised by structural features with embedded materials for reinforcement, e.g. wires, coils, braids having a variable stiffness along the longitudinal axis, e.g. by varying the pitch of the coil or braid
    • AHUMAN NECESSITIES
    • A61MEDICAL OR VETERINARY SCIENCE; HYGIENE
    • A61MDEVICES FOR INTRODUCING MEDIA INTO, OR ONTO, THE BODY; DEVICES FOR TRANSDUCING BODY MEDIA OR FOR TAKING MEDIA FROM THE BODY; DEVICES FOR PRODUCING OR ENDING SLEEP OR STUPOR
    • A61M25/00Catheters; Hollow probes
    • A61M25/01Introducing, guiding, advancing, emplacing or holding catheters
    • A61M25/0102Insertion or introduction using an inner stiffening member, e.g. stylet or push-rod
    • AHUMAN NECESSITIES
    • A61MEDICAL OR VETERINARY SCIENCE; HYGIENE
    • A61MDEVICES FOR INTRODUCING MEDIA INTO, OR ONTO, THE BODY; DEVICES FOR TRANSDUCING BODY MEDIA OR FOR TAKING MEDIA FROM THE BODY; DEVICES FOR PRODUCING OR ENDING SLEEP OR STUPOR
    • A61M25/00Catheters; Hollow probes
    • A61M25/0009Making of catheters or other medical or surgical tubes
    • A61M25/0012Making of catheters or other medical or surgical tubes with embedded structures, e.g. coils, braids, meshes, strands or radiopaque coils
    • AHUMAN NECESSITIES
    • A61MEDICAL OR VETERINARY SCIENCE; HYGIENE
    • A61MDEVICES FOR INTRODUCING MEDIA INTO, OR ONTO, THE BODY; DEVICES FOR TRANSDUCING BODY MEDIA OR FOR TAKING MEDIA FROM THE BODY; DEVICES FOR PRODUCING OR ENDING SLEEP OR STUPOR
    • A61M25/00Catheters; Hollow probes
    • A61M25/0043Catheters; Hollow probes characterised by structural features
    • A61M25/005Catheters; Hollow probes characterised by structural features with embedded materials for reinforcement, e.g. wires, coils, braids
    • AHUMAN NECESSITIES
    • A61MEDICAL OR VETERINARY SCIENCE; HYGIENE
    • A61MDEVICES FOR INTRODUCING MEDIA INTO, OR ONTO, THE BODY; DEVICES FOR TRANSDUCING BODY MEDIA OR FOR TAKING MEDIA FROM THE BODY; DEVICES FOR PRODUCING OR ENDING SLEEP OR STUPOR
    • A61M25/00Catheters; Hollow probes
    • A61M25/0021Catheters; Hollow probes characterised by the form of the tubing
    • A61M25/0023Catheters; Hollow probes characterised by the form of the tubing by the form of the lumen, e.g. cross-section, variable diameter
    • A61M2025/0025Catheters; Hollow probes characterised by the form of the tubing by the form of the lumen, e.g. cross-section, variable diameter having a collapsible lumen
    • AHUMAN NECESSITIES
    • A61MEDICAL OR VETERINARY SCIENCE; HYGIENE
    • A61MDEVICES FOR INTRODUCING MEDIA INTO, OR ONTO, THE BODY; DEVICES FOR TRANSDUCING BODY MEDIA OR FOR TAKING MEDIA FROM THE BODY; DEVICES FOR PRODUCING OR ENDING SLEEP OR STUPOR
    • A61M25/00Catheters; Hollow probes
    • A61M25/0043Catheters; Hollow probes characterised by structural features
    • A61M2025/0063Catheters; Hollow probes characterised by structural features having means, e.g. stylets, mandrils, rods or wires to reinforce or adjust temporarily the stiffness, column strength or pushability of catheters which are already inserted into the human body
    • A61M2025/0064Catheters; Hollow probes characterised by structural features having means, e.g. stylets, mandrils, rods or wires to reinforce or adjust temporarily the stiffness, column strength or pushability of catheters which are already inserted into the human body which become stiffer or softer when heated
    • AHUMAN NECESSITIES
    • A61MEDICAL OR VETERINARY SCIENCE; HYGIENE
    • A61MDEVICES FOR INTRODUCING MEDIA INTO, OR ONTO, THE BODY; DEVICES FOR TRANSDUCING BODY MEDIA OR FOR TAKING MEDIA FROM THE BODY; DEVICES FOR PRODUCING OR ENDING SLEEP OR STUPOR
    • A61M2205/00General characteristics of the apparatus
    • A61M2205/02General characteristics of the apparatus characterised by a particular materials
    • A61M2205/0266Shape memory materials
    • AHUMAN NECESSITIES
    • A61MEDICAL OR VETERINARY SCIENCE; HYGIENE
    • A61MDEVICES FOR INTRODUCING MEDIA INTO, OR ONTO, THE BODY; DEVICES FOR TRANSDUCING BODY MEDIA OR FOR TAKING MEDIA FROM THE BODY; DEVICES FOR PRODUCING OR ENDING SLEEP OR STUPOR
    • A61M25/00Catheters; Hollow probes
    • A61M25/0043Catheters; Hollow probes characterised by structural features
    • A61M25/0045Catheters; Hollow probes characterised by structural features multi-layered, e.g. coated
    • AHUMAN NECESSITIES
    • A61MEDICAL OR VETERINARY SCIENCE; HYGIENE
    • A61MDEVICES FOR INTRODUCING MEDIA INTO, OR ONTO, THE BODY; DEVICES FOR TRANSDUCING BODY MEDIA OR FOR TAKING MEDIA FROM THE BODY; DEVICES FOR PRODUCING OR ENDING SLEEP OR STUPOR
    • A61M25/00Catheters; Hollow probes
    • A61M25/0043Catheters; Hollow probes characterised by structural features
    • A61M25/005Catheters; Hollow probes characterised by structural features with embedded materials for reinforcement, e.g. wires, coils, braids
    • A61M25/0051Catheters; Hollow probes characterised by structural features with embedded materials for reinforcement, e.g. wires, coils, braids made from fenestrated or weakened tubing layer
    • AHUMAN NECESSITIES
    • A61MEDICAL OR VETERINARY SCIENCE; HYGIENE
    • A61MDEVICES FOR INTRODUCING MEDIA INTO, OR ONTO, THE BODY; DEVICES FOR TRANSDUCING BODY MEDIA OR FOR TAKING MEDIA FROM THE BODY; DEVICES FOR PRODUCING OR ENDING SLEEP OR STUPOR
    • A61M25/00Catheters; Hollow probes
    • A61M25/0043Catheters; Hollow probes characterised by structural features
    • A61M25/0054Catheters; Hollow probes characterised by structural features with regions for increasing flexibility

Landscapes

  • Health & Medical Sciences (AREA)
  • Life Sciences & Earth Sciences (AREA)
  • Biophysics (AREA)
  • Pulmonology (AREA)
  • Engineering & Computer Science (AREA)
  • Anesthesiology (AREA)
  • Biomedical Technology (AREA)
  • Heart & Thoracic Surgery (AREA)
  • Hematology (AREA)
  • Animal Behavior & Ethology (AREA)
  • General Health & Medical Sciences (AREA)
  • Public Health (AREA)
  • Veterinary Medicine (AREA)
  • Media Introduction/Drainage Providing Device (AREA)
  • Materials For Medical Uses (AREA)

Abstract

湾曲した人体内に挿入され、次いで、選択的に剛性を高められて所定位置に固定されることができる血管内カテーテルのための装置及び方法である。特定の実施形態において、剛性は可逆的である。カテーテル組立体の剛性又は比較可能な機械的特徴は、(カテーテル組立体が案内線材などを容易に操作するように)挿入中に比較的低い値へ調整され、次いで、実質的に所定位置に固定されたカテーテル組立体を維持するために(すなわち、介入装置の送達中において)その位置で比較的高い値へ調整され得る。

Description

本出願は、その内容が全体として本明細書に組み込まれる2011年1月6日に出願された米国仮出願第61/430303号の米国特許法第119条(e)に基づく優先権の利益を主張する。
本明細書に記述された対象の実施形態は、概ねカテーテル装置に関し、より詳しくは湾曲した人体的特徴の状況において使用される種類のカテーテルに関する。
カテーテルは、心臓診断カテーテル法、経皮的冠動脈形成術、及び様々な心内膜調査及び切除処置のような広範囲の医療行為を実施するのに役立っている。しかしながら、しばしば、血管がたどる湾曲通路のために人体の幾つかの血管に選択的にカテーテルを挿入することは困難である。例えば図1は人の大動脈弓100を描写するのに役立つ概念図である。図示されたように、上行大動脈110は大動脈弁(図示せず)におけるその起点から立ち上がる。右総頸動脈104及び右鎖骨下動脈103は腕頭動脈102から分岐する。左総頸動脈105及び左鎖骨下動脈106は、大動脈が曲がって下行大動脈120へ下る直前において、大動脈から分岐して立ち上がる。点線170は、この状況において望まれるかもしれない一般的なカテーテルの設置を描いている。
図1に示されたような正常な大動脈弓は、めったに、カテーテルを用いた治療を必要としない。そうではなく、この治療を行う人の多くは、しばしば、人の大動脈弓の分類された変形状態(201から204)を描く図2Aから図2Dに示されたような病的で異常な大動脈変異を見て操作する状態にいるのに気づく。下行大動脈120から大動脈弓を超えて上方へ、次いで右腕頸動脈102へ接近するために戻る進行が、特に、動脈が容易に転移及び移動する血小板の集積で部分的に塞がれるときのような場合に、極めて困難となる可能性があることは、明らかである。
その結果として、カテーテル処置は、次のカテーテルが挿通される得る軌道を形成して、ついには意図された介入装置(例えば、ステント、又はステントグラフトなど)の送達を可能にするのに十分な剛性の線材及びガイドを結果としてもたらすために、多数のカテーテル交換、すなわち異なる大きさ及び/又は剛性を有するカテーテルを連続的に交換することをしばしば必要とする。
したがって、カテーテルが、案内線材の抜けを生じさせることなく、比較的可撓性の案内線材に沿って追従することを可能にするためにカテーテルには可撓性が望まれる。すなわち、カテーテルの「操作性」が重要である。同時に、同じカテーテルの剛性又は硬直さは、案内カテーテルが位置を見失う(すなわち、移動するようになる)ことを生じさせることなく、比較的堅い装置(ステントのような)が案内カテーテルを通して追従させられることを可能にするのに十分に案内カテーテルが強固であることを可能にすることが望まれる。もし、移動が起こると、案内線材及び案内カテーテルの交換の全手順が、最初から再び実施されなければならない。
しばしば、カテーテルの遠位端部が可撓性であって、近位端部が追従を可能にするように剛性であるように、最適なバランスが求められる。しかしながら、カテーテルの堅い部分を所定位置に移動させるために、可撓性部分は、一般的に、「手がかり」を得て位置を保持するために、人体内に深く埋設されることを必要とする。多くの場合において、人体は、深い手がかりを許容しない。従って、カテーテルの形状及び方法にとって、従来技術のこれら及び他の欠点を克服する必要性が存在する。
本発明は、全体的に、例えば人体内の血管内処置中において、調整可能な剛性を有するカテーテル組立体に関する。即ち、カテーテル組立体の剛性又は比較可能な機械的特徴は、(カテーテル組立体が案内線材などを容易に操作するように)挿入中には比較的低い値へ調整され、次いで所定位置でほぼ固定されたカテーテル組立体を維持するために(すなわち、介入装置の送達中において)、その位置で比較的高い値へ調整されてよい。
対象のより完全な理解は、同じ参照番号が複数の図面を通して同じ要素を示す以下の図面を検討したとき、詳細な記述及び請求の範囲を参照することにより、得られるかもしれない。
本発明を記述するのに役立つ人の大動脈弓を描く概念図である。 様々な共通の大動脈の病状を描いている。 様々な共通の大動脈の病状を描いている。 様々な共通の大動脈の病状を描いている。 様々な共通の大動脈の病状を描いている。 一実施形態によるカテーテル装置を描く概念的な断面図である。 様々な実施形態によるカテーテルの長さの関数としての剛性計量の値を示す定性グラフである。 様々な実施形態によるカテーテルの長さの関数としての剛性計量の値を示す定性グラフである。 剛性計量を測定するのに使用される三点曲げ試験を描いている。 剛性計量を測定するのに使用される選択的な試験を描いている。 剛性計量を測定するのに使用される選択的な試験を描いている。 剛性計量を測定するのに使用される選択的な試験を描いている。 一実施形態によるカテーテル装置を描いている。 一実施形態によるカテーテル装置を描いている。 一実施形態によるカテーテル装置を描いている。 一実施形態によるカテーテル装置を描いている。 一実施形態によるカテーテル装置を描いている。 一実施形態によるカテーテル装置を描いている。 一実施形態によるカテーテル装置を描いている。 一実施形態によるカテーテル装置を描いている。 一実施形態によるカテーテル装置を描いている。 一実施形態によるカテーテル装置を描いている。 一実施形態によるカテーテル装置を描いている。 一実施形態によるカテーテル装置を描いている。 様々な実施形態による管腔形状を描いている。 様々な実施形態による管腔形状を描いている。 様々な実施形態による管腔形状を描いている。 一実施形態による剛性計量の値を示す定性グラフを描いている。
概要
図3に示された長手断面を参照すると、一実施形態によるカテーテル装置(又は単にカテーテル)300は、通常は、内部に区画形成された送出管腔(又は単に管腔)301を有する概ね管状の本体(又は単に本体)304を有している。カテーテル300は、遠位端部308(一般的に、人体的特徴内に最初に挿入されるように形成された端部)と、遠位端部308と反対側の近位端部310とから延びている。カテーテル本体304及び/又は管腔301に連絡可能に連結された制御装置320が、一般的に、以下にさらに詳細に説明されるように、カテーテル300の動作を制御するためにさらに設けられるであろう。
作動手段(図3には示されていない)は、本体304が二つ以上の状態に入ることを引き起こすために設けられ、前記二つ以上の状態は、不連続の状態又は連続的に変化する状態又はそれらの組み合わせであってよい。作動手段は、概ね、様々な機械的、気体的、液体的、電気的、温度的、化学的な構成要素、及び/又は以下に示される様々な実施形態に関して記述されるような他の構成要素を含んでおり、本体304、管腔301、制御装置320、又はその組み合わせに組み込まれてよい。様々な実施形態において、制御装置320は作動手段の一構成要素である。
一般的に、本体304は、少なくとも二つの状態に選択可能に置かれることができる。第一状態において、本体304は、比較的低い剛性を有し、及び/又はカテーテル300が、案内線材の配置を実質的に乱すことなく、案内線材などに沿って容易に挿入されることができるように(例えば、近位端部310に与えられる人の軸方向の力を介して)選択された他の機械的性質を有する。一般的な市場で入手可能な案内線材の種類は、この技術分野において公知であり、ここで詳細に論述される必要はない。第二状態において、本体304は、比較的高い剛性を有し、及び/又はカテーテル300が、挿入中に使用された案内線材の除去を含む次に続く作業中において、解剖学的特徴内の所定位置に実質的に留まるように選択された他の機械的性質を有する。別の言い方をすれば、第一状態中において、本体304は、予め定められた「操作性閾値」以下の剛性計量を有し、第二状態中において、本体304は、予め定められた「硬直閾値」以上の剛性計量を有する。これは、定性的に、二つの状態(1902及び1904)と、それらの対応する剛性閾値(すなわち、操作性閾値及び硬直閾値のそれぞれ)を描いている図19に示されている。
ここで使用される用語「剛性計量」は、以下にさらに詳細に記述されるように、様々な方法において定義され得る無次元又は有次元のパラメータを指している。しかしながら、剛性計量の性質に関わらず、操作性閾値及び硬直閾値は、カテーテル300の主な動作モードを確定する。この点において、「剛性計量」が、実際の剛性の計量値を指すように本明細書でしばしば使用されることに留意されたい。
剛性計量及び閾値
図4は、近位端部から遠位端部へのカテーテル300に沿う距離の関数としての剛性計量(S)を表す定性的なグラフ表示を示している。図4は、剛性計量がその長さに沿って実質的に一様な場合に相当するが、以下で解るように、本発明はそれに限定されない。点線412は操作性閾値を示し、点線410は所与の剛性計量に関する硬直閾値を表している。第一状態の間(挿入中)において、カテーテル300は操作性閾値412以下の剛性計量402を有する。同様に、第二状態中において、カテーテル300は硬直閾値410以上の剛性計量410を有する。
一実施形態において、剛性計量は、カテーテル300の曲げ弾性率、すなわち、この技術分野おいて公知であるように、曲げている間の応力と歪との比に対応する。この値は、例えば、図6に示された三点曲げ試験を使用して、経験的に決定されてよく、三点曲げ試験において、カテーテル300(又はカテーテル300の一部)は、公知の距離離間された一対の支持部602及び604上に設置され、下方向(半径方向)の力608が、支持部602及び604の間に位置させられる第三構造体606を介してカテーテル300へ与えられる。
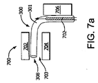
もう一つの実施形態において、剛性計量は、カテーテル300の実際の動作をより忠実にモデル化する経験的な測定値に対応する。例えば、図7aから図7cは、ほぼ90度の角度(この角度は試験によって変化してよいが)で設置されたカテーテル300の配置を模擬する「移動」試験を描いている。より詳細には、不動支持部702、704、及び706は、カテーテル300(又はカテーテル300から切断された短い切片)が、支持部706に接触する一方で、支持部702と704との間に入り込むように曲がらなければならないような予め定められた幾何学的関係に位置させられる。さらなる支持部(図示せず)も、カテーテル300の設置を援助するように使用されてよい。
試験の最初の間において、プローブ702が、図示(図7a)されているように、カテーテル300の一端部内に挿入される。プローブ702は、一般的なステントグラフトなどの剛性にほぼ等しいように形成されているかもしれない。プローブ702がカテーテル300の管腔301内へさらに挿入されるにつれて、プローブは、管腔301の内面に接触して、端部308の支持部702に対する移動を引き起こす。最終的には、プローブ702が十分な力で挿入されると、カテーテル300は、図示されたように、支持部702と704との間から全体的に解放されるであろう。このようにカテーテル300を移動するのに必要な力が、そのとき剛性計量となる。この試験は、約37℃(体温)で有利に行われる。さらに、この試験は、所定位置にある例示的な案内線材を有して開始されてよく、それにより、操作性閾値の決定を可能にする。
剛性計量の変化
図4がカテーテル300の長さに渡り一様な剛性計量を描いているが、本発明は、それに限定されない。図5は、近位端部から遠位端部へのカテーテル300に沿う距離の関数として、剛性計量(S)を表す定性的なグラフ表示を示しており、しかしながら、この実施形態において、カテーテル300は、各々が第二状態中において対応する剛性計量を有する二つの「区域」又は区域部を有している。すなわち、区域520において、第二状態(504)における剛性計量は、第一状態(502)における剛性計量と実質的に同じである(すなわち、全体的に操作性閾値412より低い)。区域522内において、第二状態(504)における剛性計量は硬直閾値410より高い。
カテーテル300は、任意の数のこのような区域を有してよい。さらに、各区域内の剛性計量は、一定であるか又は連続的に変化してよい。特定の実施形態において、第一区域はカテーテル300の遠位端部に隣接し、第二区域は第一区域に隣接し、ここで、第一区域の剛性計量は、第二状態の間における第二区域の剛性計量より低い。
代替の実施形態において、カテーテル300は、第一湾曲軸線に沿う一つの剛性計量値と、第一湾曲軸線に直交する第二湾曲軸線に沿う別の剛性計量値とを有する。
カテーテル本体
カテーテル本体304は、任意の適当な構造を有していてよく、上述された選択可能な剛性計量を実現可能な材料の任意の適当な組み合せを使用して形成されてよい。例えば、一実施形態において、カテーテル本体304は、その外部及び/又はその内部内に形成された螺旋(渦巻き)溝を有する。この溝は、第一状態における剛性計量がカテーテル本体304が完全な筒状であるより低いように、本体304を効果的に弱める。別の実施形態では、カテーテル本体304は、その周方向に形成された複数のリング状溝を有する。特定の実施形態において、複数のリング状溝は、管状本体に沿って不規則に配置される。このような実施形態は、基準剛性計量がカテーテル300の長さに沿って特定の様態で変化することを可能にする。
カテーテル本体304は、様々な材料から構成されてよい。カテーテルを構成するのに使用される一般的な材料は、ポリメタクリル酸メチル(PMMA又アクリル)、ポリスチレン(PS)、アクリロニトリルブタジエンスチレン(ABS)、ポリ塩化ビニル(PVC)、グリコール変性ポリエチレンテレフタレート(PETG)、酢酸酪酸セルロース(CAB)を含む非結晶性汎用熱可塑性プラスチックと、ポリエチレン(PE)、高密度ポリエチレン(HDPE)、低密度ポリエチレン(LDPE又はLLDPE)、ポリプロピレン(PP)、ポリメチルペンテン(PMP)を含む半結晶性汎用プラスチックと、ポリカーボネート(PC)、ポリフェニレンオキシド(PPO)、変性ポリフェニレンオキシド(Mod PPO)、ポリフェニレンエーテル(PPE)、変性ポリフェニレンエーテル(Mod PPE)、ポリウレタン(PU)、熱可塑性ポリウレタン(TPU)を含む非結晶性工業用熱可塑性プラスチックと、ポリアミド(PA又はナイロン)、ポリオキシメチレン(POM又はアセタール)、ポリエチレンテレフタレート(PET,熱可塑性ポリエステル)、ポリブチレンテレフタレート(PBT,熱可塑性ポリエステル)、超高分子ポリエチレン(UHMW−PE)を含む半結晶性工業用熱可塑性プラスチップと、ポリイミド(PI,イミドプラスチック)、ポリアミドイミド(PAI,イミドプラスチック),ポリベンゾイミダゾール(PBI,イミドプラスチック)を含む高機能熱可塑性プラスチックと、ポリスルホン(PSU)、ポリエーテルイミド(PEI)、ポリエーテルスルホン(PES)、ポリアリルスルホン(PAS)を含む非結晶性高機能熱可塑性プラスチックと、ポリフェニレンスルフィド(PPS)、ポリエーテルエーテルケトン(PEEK)を含む半結晶性高機能熱可塑性プラスチックと、フッ素化エチレンプロピレン(FEP)、エチレンクロロトリフルオロエチレン(ECTFE)、エチレン、エチレンテトラフルオロエチレン(ETFE)、ポリクロロトリフルオロエチレン(PCTFE)、ポリテトラフルオロエチレン(PTFE)、延伸ポリテトラフルオロエチレン(ePTFE)、ポリフッ化ビニリデン(PVDF)、パーフルオロアルコキシ(PFA)を含む半結晶性高機能熱可塑性プラスチックフッ素樹脂のような一般的に公知の材料を包含することができる。他の一般的に公知の医療用の材料は、エラストマーの有機シリコンポリマー、ポリエーテルブロックアミド、又は熱可塑性コポリエーテル(PEBAX)、ケブラー、及びステンレス鋼及びニッケルとチタンとの合金(ニチノール)のような金属を含んでいる。
カテーテル本体304のために選択された一つ又は複数の材料は、例えば、操作の第一状態から第二状態への移行をもたらすのに使用される作動手段の特質に依存してよい。カテーテル本体304は、例えば、一般的な押出成形方法、又は言及することにより本明細書に組み込まれる米国特許出願第2005/0059957号明細書に記述されたようなフィルム巻き技術を使用して製造されてよい。カテーテルの製造に関するさらなる情報は、例えば、全てが言及することにより本明細書に組み込まれる米国特許第5324284号、米国特許第3485234号、及び米国特許第3585707号明細書に見出されるかもしれない。
作動手段(全体的)
カテーテル300は、詳細に上記されたように、本体304が二つ以上の状態に入ることを引き起こすための作動手段を有している。作動手段は、様々な物理現象を使用するようにしてよく、例えば、図1に示されたような制御装置320を有するカテーテル300内に設けられるか、及び/又はカテーテル300に連絡可能に連結される任意の数の構成要素から成る。状態変化は、例えば、機械的活性化、電気的活性化、気体的活性化、化学的活性化、及び熱的活性化の少なくとも一つによって達成されてよい。一般的に、活性化は、カテーテルの配置、すなわち本来位置への配置の次に行われるであろう。ここで、様々な種類の作動手段が、例示的な実施形態と共に以下に論述されるであろう。
実施形態1 熱的活性化
一実施形態において、作動手段は、本体304及び本体304内の特徴部に連絡可能に連結された制御装置320を有しており、前記本体304内の特徴部は、カテーテル300の少なくとも一部に温度低下又は温度変化をもたらすことによって、本体を第二状態に置くように構成されている。
図1と共に図8aから図8bを参照すると、一実施形態によるカテーテル300は、冷却剤が本体304を通り移動するように相互連結される(例えば、遠位端部近傍において流体的に連結される)二つの補助管腔又は通路802及び804を有している。通路804及び802は、例えば(ePTFE膜部材のような)膜部材806によって分離されている。
(カテーテルが第一状態である間の)カテーテル300の送出後に、液体窒素のような冷却剤805が、通路804へ供給され(例えば、制御装置320内の冷却剤供給装置を介して)、冷却剤は、本体304(又はその一部)の長さに沿って管腔301と平行に移動する。膜部材806において液体から気体へ変化するとき、冷却剤は膜部材806と共に本体304を冷却する。カテーテル本体304及び/又は膜部材806のための材料は、温度が低下するにつれて、その剛性が高まるように選択される。例示的な材料は、例えば、ウレタンなどを含んでいる。通路804は通路802よりかなり小さいので、圧縮気体803は、それが膜部材806を通過して通路802へ流入するとき膨張することが許容される。
冷却剤からの熱移動の結果として、冷却剤(液体窒素の場合)は、気相へ変化して通路802を通り流出する。他の実施形態において、冷却剤は、作動中において液状に留まる。適当な冷却剤は、例えば、冷却された塩類溶液、液体CO2、及び液体N2などを含んでいる。他の実証された医療用冷却方法もまた使用されて良い。
実施形態2 軸方向圧縮力
図1と共に図16及び17を参照すると、一実施形態において、作動手段は、本体304に連絡可能に連結された制御装置320と、本体に軸方向圧縮力の増大をもたらすことによって本体304を第二状態に置くように構成された本体内の構成要素とを有している。
図16に示されたように、一本以上の引張線材1602が、本体304へ圧縮力を選択的に与えるのに使用されてよい。引張線材1602は、カテーテル300の遠位端部308に取り付けられて、一連の本体区域部1605を通過する対応する副管腔1402によって摺動可能に受け入れられる。副管腔1402は、引張線材1602の自由な軸方向運動を可能とするように好適に大きさを定められている。個々のデザインにもよるが、本体区域部1605は、典型的には、小さな隙間1607によって分離されるであろう。
引張線材1602は、第一状態中において生体組織を進行中に、ほぼゼロの張力(すなわち、一般的なたるみ状態)にされる。しかしながら、カテーテル300の全て又は一部の剛性を高めることが望まれるときには、引張線材1602は、図17に描かれているように実質的に同時に引かれる。本体区域部1605の間の隙間及び方向は、張力が与えられるときに起こる短縮を低減する(及び/又は短縮の再現性を高める)ために最適化されるかもしれない。一実施形態において、引張線材1602は、制御装置320へ組み込まれた浮遊ジンバル機構へ取り付けられる。張力が与えられると、圧縮力はカテーテルを拘束する傾向があり、それにより、その部分においてカテーテルの可撓性を低下させる。軸方向長さの減少が、張力の提供と同時に起こるかもしない。すなわち、図示されたように、隙間1607が小さくされるかもしれない。
引張線材は、ポリマー又は金属の線材又は帯材のような任意の適当に強く可撓性の材料から形成されてよい。カテーテル300を第二状態に置くために必要な力は、本体304の構造的特徴と共に引張線材1602の長さ、材料、及び断面に依存して変化し得る。
任意の数の引張線材1602及び副管腔1402が使用されてよい。図18aから図18cは、三つの等距離の副管腔1402(図18a)、二つの等距離の副管腔1402(図18b)、及び四つの等距離の副管腔(図18c)を有するカテーテル本体304のための様々な形状の断面図を示している。加えて、等距離の副管腔は、任意の様式で配置されてよく、図示されたように、対称的又は等距離である必要はない。
一実施形態において、本体304のコラム剛性は、追従を可能にするために変更され、次いで、剛化中に短縮することなく展開するように高められる。
実施形態3 半径方向圧縮力
一実施形態において、作動手段は、本体304に連絡可能に連結された制御装置320を有しており、前記制御装置320は、半径方向圧縮力の増大を管状本体の少なくとも一部にもたらすことによって本体304を第二状態に置くように構成されている。例えば、本体304は、圧力応答室を区画形成する二つの流体不透過層と、前記圧力応答室内に設けられた少なくとも一つの介在性構造とを有してよい。制御装置は、圧力応答室内の内圧の変化を引き起こすように形成され、介在性構造は、内圧の変化に対して半径方向圧縮力を示すように構成されている。
ここで図9を参照すると、図示された実施形態において、カテーテル300は、室906からハブ302へ延びる補助管腔902を有している。本実施形態におけるハブ302は、標準的なY型取付部として形成され、そこで負圧(すなわち、ある基準圧力からの低下)が作用され、ルアー接続金具910へシリンジを取り付ける。負圧が作用すると、室906は、潰れて、対応する本体区域部904へ圧力を作用する(図12及び13に示されたように)。圧力は、好ましくは、カテーテル300の影響部分の剛性計量の変化を引き起こすのに十分な大きさである。
図10A及び10Bに示された代替の実施形態において、本体304は、空気不透過室1004の二つ以上の層の間に位置する層構造1002(すなわち、介在性構成要素)を具備している。負圧の使用を容易にするために、室1004は、血流内にある間において不透過性であるように形成された可撓性ポリマー材料を有している。可撓性ポリマーは、例えば、ポリエチレンテレフタレート(PET)、ポリウレタン、フッ素化エチレンプロピレン(FEP)、ナイロン、又はポリテトラフルオロエチレン(PTFE)又は延伸ポリテトラフルオロエチレン(ePTFE)を含むフッ素ポリマー、又はそれらの組み合わせを含んでいる。
大気圧において、曲げは、層1002の個々の構成要素が互いに最小摩擦で滑動することを引き起こす。個々の層が個々に滑り及び作用することを許容されると、その結果の剛性計量は非常に小さい。しかしながら、負圧が作用すると、垂直(すなわち、半径方向)の力1008が、可撓性ポリマー材料1004の潰れによって構造1002内にもたらされる。この垂直力は、層を通して移動させられ、層と層との摩擦を増大し、層の互いに対して滑る能力を制限する。その結果として、構造の剛性計量は高められる。代替の実施形態において、圧力は、隣接する圧力室において増加させられ、それにより、圧力室が隣接する層構造を押圧することを引き起こす。
本発明の層構造1002は、例えば、帯巻き、編組、サービング(serving)、コイリング(coiling)、及び手積層を含む様々な製法を使用して製造されてよい。適当な材料は、繊維及び糸(ケブラー、ナイロン、ガラスなど)、線材(平たい又は丸いステンレス鋼、ニチノール、合金など)、及び薄い細長いフィルム(ポリエステル、ナイロン、ポリイミド、PTFE及びePTFEを含むフッ素ポリマーなど)の少なくとも一つを含んでいる。この実施形態において、剛性計量の変化は、圧力室の圧力が増加することを(例えば、ルアー接続金具910へ取り付けられたシリンジを緩和することによって)可能にすることにより容易に逆転させられ、それにより、与えられた垂直力を減少させる。
図11に描かれた代替の実施形態において、多数の分離空気室1102が、カテーテル300の長さに沿って配置され、独立して切り換えられることができる。これらの室1102は、細長い薄いフィルム1104の層のような異なった層構造から構成されてよい。遠位端空気室は、管腔1109を介して独立に制御される一方で、近位端空気室は、管腔1108を介して制御される。これは、作業者が、種々の剛性変化で区域部を独立して制御することを可能にする。管腔1108及び1109は、室の環状空間、又はハブと連通する開放端部又は障害のない排気を可能にする側壁の貫通穴のいずれかを有するポリイミドのような管の個々の管腔を通しての排気を含む、多様な在来の方法において構成されてよい。
実施形態4 ねじり作動
一実施形態において、作動手段は、少なくとも二つの本体区域部(すなわち、本体304の一部)に回転可能に連結された制御装置を有し、制御装置320は、管状本体が第二状態に入ることを引き起こすために、本体区域部の間に相対回転力を与えるように形成されている。一実施形態において、二つの本体区域部は、外側層、内側層、及びそれらの間に設けられたねじり応答構造を有している。一実施形態において、例えば、ねじり応答構造は、実質的に筒状の編組構造を具備している。
実施形態5 固体化材料及び膜部材
一実施形態において、本体304は、少なくとも一つの内側室と、内側室内に備えられた選択的に固体化可能な材料と、少なくとも一つの内側室に流体的に連結された制御装置とを有している。固体化可能な材料は、例えば、紫外線照射、内側室内への触媒導入、温度変化、水の導入(親水性粒子の場合において)、音波エネルギ(音波活性ポリマーの場合において)、又は電流又は電場(電気活性ポリマーの場合において)に応答して実質的に固体化するように構成されている。
図14及び15は、第二状態への移行をもたらすために、選択的に固体化可能な材料を組み込む例示的な実施形態を描いている。図14に示されたように、本体304は、カテーテル300の剛性計量を共に変えることができる媒体1404(例えば、図示されたように個々の室内の)によって少なくとも部分的に満たされている。この実施形態において、媒体1404は、補助管腔1402を通して注入される。媒体1404は、シリコーン樹脂又はポリウレタンのような比較的素早く硬化する物質であってよい。もし、媒体1404が活性化するために触媒を必要とするならば、この触媒は、本体304の壁部内又はカテーテル300自身の材料内に既に存在させてよい。
一実施形態において、媒体1404は、図15に描かれたように、溶液内に懸濁する粒子の懸濁液である。この場合において、本体304の壁部(又はその中に設けられた膜部材)は、(例えば、室及び/又はカテーテル本体の壁部から)保持液体が逃げることを可能にする一方で粒子自身を閉じ込めるように、選択的に透過性であってよい。これらの粒子が室内に集積して「詰まる」と、それらは、その部分の剛性計量の増加を引き起こす。多様で適切な粒子の材料及び大きさを使用することができる。一実施形態において、粒子は、選択された保持液体において中立浮力を有している。親水性粒子は、水和作用中に膨張し、さらなる拘束及び増大したカテーテル剛性を引き起こすことにおいて有利である。
実施形態6 形状記憶金属
一実施形態において、作動手段は、少なくとも一つの金属構造体を有しており、前記金属構造体は、本体304内に与えられた形状記憶特性を有するとともに、作動源(例えば、制御装置320内に設置された電圧源及び/又は電流源)に連絡可能に連結されている。一実施形態において、形状記憶金属構造体は、Ni及びTiの合金(ニチノール)を含んでいる。
結論
記述されたのは、湾曲した人体組織内に挿入され、次いで、選択的に剛性を高められて、所定位置に固定されることができる血管内カテーテルのための方法及び装置である。特定の実施形態において、この剛性は可逆的である。この点に関して、前述の詳細な記述は、単なる現存する実例であり、対象の実施形態又はこのような実施形態の利用及び使用を制限することを意図していない。ここで使用されたように、用語「例示的」は、「例、例示、又は実例として役立つ」ことを意味する。例示的に本明細書に記述された実施は、他の実施を超えて好適で有利であるように解釈されることを必要としない。こうして、幾つかの例示的な実施形態は、前述の記載に示されているが、多数の選択的であるが等価な変更が存在し、本明細書に示された例は、いずれにしても、本発明の範囲、適用、又は形状を制限することを意図しないことが理解されるべきである。反対に、様々な変更が、請求の範囲及び法的な等価物から逸脱しないで本明細書に記述された様々な特徴の機能及び配置になされてよい。
専門技術及び工業技術は、機能的及び/又は論理ブロックの構成要素に関して、作動、処理タスク、及び様々なコンピュータ要素及び装置によって実施されるかもしれない機能の象徴的表現を参照して、本明細書に記述されるかもしれない。
少なくとも一つの例示的な実施形態が前述の詳細な記載に示されている一方で、多数の変更が存在することが理解されるべきである。例示的な実施形態又は本明細書に記述された実施形態が、いずれにしても、請求された対象の範囲、利用、又は形状を制限することを意図しないことも理解されるべきである。むしろ、前述の詳細な記載は、当業者に、記述された一つ又は複数の実施形態を実施するための便利なロードマップを提供するであろう。様々な変更は、本特許出願の出願時に公知の等価物及び予知可能な等価物を含む請求の範囲によって確定される範囲から逸脱することなく構成要素の機能及び配置になされることができることが理解されるべきである。

Claims (43)

  1. 遠位端部、近位端部、及び内部に形成された管腔を有する管状本体と、
    前記管状本体が選択的に第一状態及び第二状態に入ることを引き起こすための作動手段と、を具備するカテーテル装置であって、
    前記第一状態において、前記管状本体は、予め定められた操作性閾値より低い剛性計量の第一値を有し、
    前記第二状態において、前記管状本体は、予め定められた硬直閾値より高い剛性計量の第二値を有するカテーテル装置。
  2. 遠位端部、近位端部、及び内部に形成された管腔を有する管状本体と、
    前記管状本体が選択的に第一状態及び第二状態に入ることを引き起こすための作動手段と、を具備するカテーテル装置であって、
    前記第一状態において、前記管状本体は、剛性計量の第一値を有し、
    前記第二状態において、前記管状本体は、前記第一値より高い剛性計量の第二値を有し、
    前記作動手段は、前記管状本体に連絡可能に連結された制御装置を有しており、前記制御装置は、前記カテーテル装置の少なくとも一部に温度低下又は温度変化をもたらすことによって、前記管状本体を前記第二状態に置くように構成されている、カテーテル装置。
  3. 遠位端部、近位端部、及び内部に形成された管腔を有する管状本体と、
    前記管状本体が選択的に第一状態及び第二状態に入ることを引き起こすための作動手段と、を具備するカテーテル装置であって、
    前記第一状態において、前記管状本体は、剛性計量の第一値を有し、
    前記第二状態において、前記管状本体は、前記第一値より高い剛性計量の第二値を有し、
    前記作動手段は、前記管状本体に連絡可能に連結された制御装置を有しており、前記制御装置は、前記管状本体の少なくとも一部に軸方向圧縮力の増大をもたらすことによって、前記管状本体を前記第二状態に置くように構成されている、カテーテル装置。
  4. 前記管状本体は、前記軸方向圧縮力の増大に応答する複数の軸線方向区域部を具備する、請求項3に記載のカテーテル装置。
  5. 前記複数の軸方向区域部の少なくとも一つに機械的に連結され、前記管状本体の前記近位端部へ延在する少なくとも一つの連結要素を前記制御装置が有する、請求項4に記載のカテーテル装置。
  6. 前記管状本体は内部に設けられた補助管腔を有し、前記少なくとも一つの連結要素は、前記補助管腔を通って延在する少なくとも一つの線材要素を有する、請求項5に記載のカテーテル装置。
  7. 前記管状本体は、前記管状本体内に対称的に配置された少なくとも二つの補助管腔を有する、請求項6に記載のカテーテル装置。
  8. 前記少なくとも一つの線材は二つ以上の線材を有し、前記制御装置は、前記二つ以上の線材に連結されたジンバル要素を有し、前記ジンバル要素は、前記二つ以上の線材に実質的に等しい張力を与えるように形成されている、請求項7に記載のカテーテル装置。
  9. 前記二つ以上の線材は、四つ又は三つの線材を有する、請求項8に記載のカテーテル装置。
  10. 遠位端部、近位端部、及び内部に形成された管腔を有する管状本体と、
    前記管状本体が選択的に第一状態及び第二状態に入ることを引き起こすための作動手段と、を具備するカテーテル装置であって、
    前記第一状態において、前記管状本体は、剛性計量の第一値を有し、
    前記第二状態において、前記管状本体は、前記第一値より高い剛性計量の第二値を有し、
    前記作動手段は、前記管状本体に連絡可能に連結された制御装置を有しており、前記制御装置は、前記管状本体の少なくとも一部に半径方向圧縮力の増大をもたらすことによって、前記管状本体を前記第二状態に置くように構成されている、カテーテル装置。
  11. 前記管状本体は、圧力応答室を区画形成する少なくとも二つの流体不透過層を有し、
    前記管状本体は、前記圧力応答室内に設けられた少なくとも一つの介在性構造を有し、
    前記制御装置は、前記圧力応答室内の内圧変化を引き起こすように形成され、
    前記少なくとも一つの介在性構造は、前記内圧変化に対して半径方向圧縮力を示すように構成されている、請求項10に記載のカテーテル装置。
  12. 前記少なくとも一つの介在性構造は、前記第一状態中において互いに対して実質的に滑動可能であるように形成され且つ前記第二状態中において互いに対して実質的に滑動不能であるように形成された複数の薄層状部材を有する、請求項11に記載のカテーテル装置。
  13. 前記複数の薄層状部材は、編まれた又は螺旋状に巻かれた構造を具備する、請求項12に記載のカテーテル装置。
  14. 前記管状本体は、外側層、内側層、及び前記外側層と前記内側層との間に設けられた一つ以上の介在性構造を有し、
    前記制御装置は、少なくとも一つの前記介在性構造に機械的に連結された少なくとも一つの連結要素を有し、前記少なくとも一つの連結要素が半径方向に膨張及び収縮することを引き起こすように形成されている、請求項10に記載のカテーテル装置。
  15. 前記少なくとも一つの介在性構成要素は、実質的に筒状の編まれた構造を具備する、請求項12に記載のカテーテル装置。
  16. 前記少なくとも一つの介在性構成要素は、螺旋状に巻かれた構造を具備する、請求項12に記載のカテーテル装置。
  17. 遠位端部、近位端部、及び内部に形成された管腔を有する管状本体と、
    前記管状本体が選択的に第一状態及び第二状態に入ることを引き起こすための作動手段と、を具備するカテーテル装置であって、
    前記第一状態において、前記管状本体は、剛性計量の第一値を有し、
    前記第二状態において、前記管状本体は、前記第一値より高い剛性計量の第二値を有し、
    前記管状本体は、少なくとも二つの本体区域部を有し、前記作動手段は、前記少なくとも二つの本体区域部に回転可能に連結された制御装置を有し、前記制御装置は、前記管状本体が前記第二状態に入ることを引き起こすために、前記少なくとも二つの本体区域部の間の相対回転力を与えるように形成されている、カテーテル装置。
  18. 前記少なくとも二つの本体区域部は、外側層、内側層、及び前記外側層と前記内側層との間に設けられたねじり応答構造を有する、請求項17に記載のカテーテル装置。
  19. 前記ねじり応答構造は、実質的に筒状の編まれた構造を具備する、請求項18に記載のカテーテル装置。
  20. 遠位端部、近位端部、及び内部に形成された管腔を有する管状本体と、
    前記管状本体が選択的に第一状態及び第二状態に入ることを引き起こすための作動手段と、を具備するカテーテル装置であって、
    前記第一状態において、前記管状本体は、剛性計量の第一値を有し、
    前記第二状態において、前記管状本体は、前記第一値より高い剛性計量の第二値を有し、
    前記管状本体は、少なくとも一つの内側室と、前記内側室内に備えられた選択的に固体化可能な物質と、前記少なくとも一つの内側室に流体的に連結された制御装置とを有するカテーテル装置。
  21. 前記固体化可能な物質は、紫外線照射に反応して実質的に固体化するように構成されている、請求項20に記載のカテーテル装置。
  22. 前記固体化可能な物質は、前記内側室内への触媒の導入に反応して実質的に固体化するように構成されている、請求項20に記載のカテーテル装置。
  23. 前記固体化可能な物質は、温度変化に反応して実質的に固体化するように構成されているポリマーである、請求項20に記載のカテーテル装置。
  24. 前記固体化可能な物質は、水との接触時に膨張するように構成された親水性粒子を有し、前記制御装置は、前記内側室内へ所定量の水を導入するように構成されている、請求項20に記載のカテーテル装置。
  25. 前記内側室内に設けられた放出管腔をさらに有し、前記放出管腔は前記制御装置に流体的に連結されている、請求項24に記載のカテーテル装置。
  26. 前記固体化可能な物質は音波活性ポリマーである、請求項20に記載のカテーテル装置。
  27. 前記固体化可能な物質は電気活性ポリマー(EAP)である、請求項20に記載のカテーテル装置。
  28. 遠位端部、近位端部、及び内部に形成された管腔を有する管状本体と、
    前記管状本体が選択的に第一状態及び第二状態に入ることを引き起こすための作動手段と、
    水混合物を選択的に供給するように構成された制御装置と、を具備するカテーテル装置であって、
    前記第一状態において、前記管状本体は、剛性計量の第一値を有し、
    前記第二状態において、前記管状本体は、前記第一値より高い剛性計量の第二値を有し、
    前記管状本体は、前記制御装置に流体的に連結されて膜部材によって少なくとも部分的に境界付けされた室を有し、
    前記膜部材は、前記水混合物の液体部分に対して透過性であり、前記水混合物の固体部分に対して不透過性であるように形成されている、カテーテル装置。
  29. 前記水混合物は、塩類混合物である、請求項28に記載のカテーテル装置。
  30. 遠位端部、近位端部、及び内部に形成された管腔を有する管状本体と、
    前記管状本体が選択的に第一状態及び第二状態に入ることを引き起こすための作動手段と、
    電圧源を具備する制御装置と、を具備するカテーテル装置であって、
    前記第一状態において、前記管状本体は、剛性計量の第一値を有し、
    前記第二状態において、前記管状本体は、前記第一値より高い剛性計量の第二値を有し、
    前記作動手段は、前記管状本体内に設けられて前記電圧源に連絡可能に連結された少なくとも一つの形状記憶金属構造を有する、カテーテル装置。
  31. 前記形状記憶金属構造は、NiとTiとの合金を有する、請求項30に記載のカテーテル装置。
  32. 前記剛性計量は、前記管状本体の曲げ剛性の測定値である、請求項30に記載のカテーテル装置。
  33. 前記剛性計量は、カテーテルの引抜計量である、請求項30に記載のカテーテル装置。
  34. 前記管状本体は、複数の区域を有し、前記区域のそれぞれは、前記第二状態中において対応する剛性計量を有する、請求項30に記載のカテーテル装置。
  35. 第一区域内において、前記管状本体の剛性計量は、前記第二状態中において前記管状本体の長さに沿って連続的に変化する、請求項34に記載のカテーテル装置。
  36. 第一区域は、前記管状本体の前記遠位端部に隣接し、第二区域は、前記第一区域に隣接し、さらに、前記第一区域の対応する剛性計量は、前記第二状態中において、前記第二区域の対応する剛性計量より低い請求項35に記載のカテーテル装置。
  37. 前記第二状態中において、前記管状本体は、第一湾曲軸線に沿う第二剛性値と、前記第一湾曲軸線と直交する第二湾曲軸線に沿う第三剛性値とを有する、請求項30に記載のカテーテル装置。
  38. 前記作動手段は、前記管状本体の近位端部に設けられた制御装置に連結される、請求項30に記載のカテーテル装置。
  39. 前記作動手段は、前記管腔内に摺動可能に挿入されるように形成された制御装置に連絡可能に連結される、請求項30に記載のカテーテル装置。
  40. 前記作動手段は、前記管状本体から遠く離れた制御装置に連結される、請求項30に記載のカテーテル装置。
  41. 前記管状本体は、内部に形成された螺旋溝を有する、請求項30に記載のカテーテル装置。
  42. 前記管状本体は、内部に周方向に形成された複数のリング状溝を有する、請求項30に記載のカテーテル装置。
  43. 前記複数のリング状溝は、前記管状本体に沿って不規則に配置されている、請求項42に記載のカテーテル装置。
JP2013548413A 2011-01-06 2011-12-16 調整可能剛性のカテーテルのための方法及び装置 Active JP6050251B2 (ja)

Applications Claiming Priority (5)

Application Number Priority Date Filing Date Title
US201161430303P 2011-01-06 2011-01-06
US61/430,303 2011-01-06
US13/326,093 2011-12-14
US13/326,093 US20120179097A1 (en) 2011-01-06 2011-12-14 Methods and apparatus for an adjustable stiffness catheter
PCT/US2011/065515 WO2012094135A2 (en) 2011-01-06 2011-12-16 Methods and apparatus for an adjustable stiffness catheter

Publications (3)

Publication Number Publication Date
JP2014508564A true JP2014508564A (ja) 2014-04-10
JP2014508564A5 JP2014508564A5 (ja) 2015-02-12
JP6050251B2 JP6050251B2 (ja) 2016-12-21

Family

ID=46455817

Family Applications (1)

Application Number Title Priority Date Filing Date
JP2013548413A Active JP6050251B2 (ja) 2011-01-06 2011-12-16 調整可能剛性のカテーテルのための方法及び装置

Country Status (10)

Country Link
US (3) US20120179097A1 (ja)
EP (2) EP2661302B1 (ja)
JP (1) JP6050251B2 (ja)
CN (1) CN103313749B (ja)
AU (1) AU2011353629B2 (ja)
BR (1) BR112013016319A2 (ja)
CA (1) CA2822355A1 (ja)
ES (2) ES2952411T3 (ja)
RU (1) RU2013136529A (ja)
WO (1) WO2012094135A2 (ja)

Cited By (4)

* Cited by examiner, † Cited by third party
Publication number Priority date Publication date Assignee Title
JP2019529003A (ja) * 2016-07-13 2019-10-17 パーヒューズ・リミテッド 高柔軟性、耐よじれ性カテーテルシャフト
CN111107790A (zh) * 2017-08-22 2020-05-05 皇家飞利浦有限公司 可调节柔性/刚度管腔内设备和相关联的设备、系统和方法
KR102221309B1 (ko) * 2019-08-27 2021-03-02 재단법인대구경북과학기술원 가변 강성을 갖는 구조체
US11197977B2 (en) 2017-12-15 2021-12-14 Perfuze Limited Catheters and devices and systems incorporating such catheters

Families Citing this family (60)

* Cited by examiner, † Cited by third party
Publication number Priority date Publication date Assignee Title
US7771411B2 (en) 2004-09-24 2010-08-10 Syntheon, Llc Methods for operating a selective stiffening catheter
US9814372B2 (en) 2007-06-27 2017-11-14 Syntheon, Llc Torque-transmitting, variably-flexible, locking insertion device and method for operating the insertion device
US10123683B2 (en) 2006-03-02 2018-11-13 Syntheon, Llc Variably flexible insertion device and method for variably flexing an insertion device
US20120179097A1 (en) 2011-01-06 2012-07-12 Cully Edward H Methods and apparatus for an adjustable stiffness catheter
US10779855B2 (en) 2011-08-05 2020-09-22 Route 92 Medical, Inc. Methods and systems for treatment of acute ischemic stroke
EP4101399B1 (en) 2011-08-05 2025-04-09 Route 92 Medical, Inc. System for treatment of acute ischemic stroke
US10485400B2 (en) * 2012-09-28 2019-11-26 Koninklijke Philips N.V. Tube and steerable introduction element comprising the tube
US9526862B2 (en) * 2012-12-27 2016-12-27 Samsung Electronics Co., Ltd Medical tube and flexibility-variable mechanism with the same
WO2014130563A1 (en) 2013-02-19 2014-08-28 Beth Israel Deaconess Medical Center Adjustable stiffness catheter
US9463104B2 (en) 2013-06-07 2016-10-11 Cedars-Sinai Medical Center Vascular graft device placement methods
US9265512B2 (en) 2013-12-23 2016-02-23 Silk Road Medical, Inc. Transcarotid neurovascular catheter
US9730755B2 (en) 2014-01-31 2017-08-15 Medtronic Cryocath Lp Medical device with adjustable flexibility
US9241699B1 (en) 2014-09-04 2016-01-26 Silk Road Medical, Inc. Methods and devices for transcarotid access
US11027104B2 (en) 2014-09-04 2021-06-08 Silk Road Medical, Inc. Methods and devices for transcarotid access
US10864104B2 (en) 2014-12-19 2020-12-15 3M Innovative Properties Company Methods of using a shape-formable apparatus comprising locking sheets
EP3234245B1 (en) 2014-12-19 2020-01-29 3M Innovative Properties Company Shape-formable apparatus comprising fibrous material
US10538049B2 (en) 2014-12-19 2020-01-21 3M Innovative Properties Company Shape-formable apparatus comprising locking sheets
AU2016209354B2 (en) 2015-01-20 2020-11-05 Q'Apel Medical, Inc. Tubular structures with variable support
US11065019B1 (en) 2015-02-04 2021-07-20 Route 92 Medical, Inc. Aspiration catheter systems and methods of use
CA2983072A1 (en) 2015-02-04 2016-08-11 Route 92 Medical, Inc. Rapid aspiration thrombectomy system and method
WO2017019563A1 (en) 2015-07-24 2017-02-02 Route 92 Medical, Inc. Anchoring delivery system and methods
US11219351B2 (en) 2015-09-03 2022-01-11 Neptune Medical Inc. Device for endoscopic advancement through the small intestine
US10716915B2 (en) 2015-11-23 2020-07-21 Mivi Neuroscience, Inc. Catheter systems for applying effective suction in remote vessels and thrombectomy procedures facilitated by catheter systems
CN108601926B (zh) 2016-02-05 2021-07-13 得克萨斯系统大学董事会 可操纵的管腔内医疗装置
EP4218628B1 (en) 2016-02-05 2026-01-21 The Board of Regents of The University of Texas System Surgical apparatus
US10113537B2 (en) 2016-04-08 2018-10-30 Ecole Polytechnique Federale De Lausanne (Epfl) Variable stiffness device and method of manufacturing the same
US10391274B2 (en) 2016-07-07 2019-08-27 Brian Giles Medical device with distal torque control
US9918705B2 (en) 2016-07-07 2018-03-20 Brian Giles Medical devices with distal control
JP7082968B2 (ja) 2016-07-27 2022-06-09 キューアペル メディカル, エルエルシー 可変支持を有する管状構造
CN110191667B (zh) 2016-08-18 2022-06-03 海王星医疗公司 用于增强小肠视觉效果的装置和方法
CN120168816A (zh) 2017-01-10 2025-06-20 92号医疗公司 导管、血管内导管前进装置及系统
EP3570928A1 (en) 2017-01-20 2019-11-27 Route 92 Medical, Inc. Single operator intracranial medical device delivery systems and methods of use
JP6222763B1 (ja) * 2017-01-31 2017-11-01 日本ライフライン株式会社 バルーンカテーテル
US10751507B2 (en) 2017-04-10 2020-08-25 Syn Variflex, Llc Thermally controlled variable-flexibility catheters and methods of manufacturing same
EP3398624A1 (en) * 2017-05-04 2018-11-07 Abiomed Europe GmbH Blood pump with reinforced catheter
WO2019018682A1 (en) 2017-07-20 2019-01-24 Neptune Medical Inc. DYNAMICALLY RIGIDING SURFACE
EP3449965A1 (en) * 2017-09-05 2019-03-06 ETH Zurich Steerable catheter with portions of different stiffness
CN108371744A (zh) * 2017-12-23 2018-08-07 刘润瑞 一种可经充气与泄气调节管壁弹性的胃管
CN108066881B (zh) * 2018-01-29 2021-01-29 天津大学 血管介入导管、设备、接触力检测方法以及检测设备
EP3793660B1 (en) 2018-05-17 2024-11-13 Route 92 Medical, Inc. Aspiration catheter systems
CN112512396A (zh) 2018-05-31 2021-03-16 海王星医疗公司 用于小肠的增强可视化的装置和方法
WO2020018934A1 (en) 2018-07-19 2020-01-23 Nep Tune Medical Inc. Dynamically rigidizing composite medical structures
US12329473B2 (en) 2019-04-17 2025-06-17 Neptune Medical Inc. Dynamically rigidizing composite medical structures
US11793392B2 (en) 2019-04-17 2023-10-24 Neptune Medical Inc. External working channels
WO2021202336A1 (en) * 2020-03-30 2021-10-07 Neptune Medical Inc. Layered walls for rigidizing devices
CN111467678A (zh) * 2020-04-29 2020-07-31 邵敏 一种多功能可植入式胃肠刺激系统
CA3183162A1 (en) 2020-06-19 2021-12-23 Jake Anthony Sganga Systems and methods for guidance of intraluminal devices within the vasculature
WO2022076893A1 (en) 2020-10-09 2022-04-14 Route 92 Medical, Inc. Aspiration catheter systems and methods of use
CA3206945A1 (en) 2021-01-29 2022-08-04 Garrett J. GOMES Devices and methods to prevent inadvertent motion of dynamically rigidizing apparatuses
EP4056221A1 (de) * 2021-03-09 2022-09-14 SoftRail Medical AG Schlauchvorrichtung und verfahren zum selektiven versteifen einer schlauchvorrichtung
CN117083030A (zh) 2021-03-10 2023-11-17 海王星医疗公司 机器人动态刚性化复合医疗结构的控制
US12121307B2 (en) 2021-07-01 2024-10-22 Remedy Robotics, Inc. Vision-based position and orientation determination for endovascular tools
AU2022305235A1 (en) 2021-07-01 2024-01-18 Remedy Robotics, Inc. Vision-based position and orientation determination for endovascular tools
US11707332B2 (en) 2021-07-01 2023-07-25 Remedy Robotics, Inc. Image space control for endovascular tools
CN113352629B (zh) * 2021-07-06 2024-11-12 北京久事神康医疗科技有限公司 医用导管装配装置
CA3249667A1 (en) 2022-04-19 2023-10-26 Neptune Medical Inc. MANAGEMENT AND HANDLING OF A LONG-LENGTH ROBOTIC ENDOSCOPE
CN119233783A (zh) 2022-04-27 2024-12-31 海王星医疗公司 用于内窥镜检查的卫生护套
WO2024079118A1 (en) * 2022-10-14 2024-04-18 Koninklijke Philips N.V. Intravascular catheter with adjustable stiffness
US12458210B2 (en) 2023-09-07 2025-11-04 Neptune Medical Inc. Pressure rigidization apparatuses and methods
US12330292B2 (en) 2023-09-28 2025-06-17 Neptune Medical Inc. Telescoping robot

Citations (5)

* Cited by examiner, † Cited by third party
Publication number Priority date Publication date Assignee Title
US20030065373A1 (en) * 2001-10-02 2003-04-03 Lovett Eric G. Medical device having rheometric materials and method therefor
US20060211979A1 (en) * 2004-09-24 2006-09-21 Smith Kevin W Methods for operating a selective stiffening catheter
US20060264907A1 (en) * 2005-05-02 2006-11-23 Pulsar Vascular, Inc. Catheters having stiffening mechanisms
US20090112063A1 (en) * 2007-10-31 2009-04-30 Bakos Gregory J Endoscopic overtubes
US20090299343A1 (en) * 2008-05-27 2009-12-03 Intuitive Surgical, Inc. Stiffening assembly

Family Cites Families (56)

* Cited by examiner, † Cited by third party
Publication number Priority date Publication date Assignee Title
US2517902A (en) * 1944-08-31 1950-08-08 George C Luebkeman Molding process and means
US3585707A (en) 1966-04-13 1971-06-22 Cordis Corp Method of making tubular products
US3485234A (en) 1966-04-13 1969-12-23 Cordis Corp Tubular products and method of making same
US4739768B2 (en) * 1986-06-02 1995-10-24 Target Therapeutics Inc Catheter for guide-wire tracking
JPH0651018B2 (ja) * 1989-05-02 1994-07-06 株式会社東芝 内視鏡
US4962751A (en) 1989-05-30 1990-10-16 Welch Allyn, Inc. Hydraulic muscle pump
DE3935256C1 (ja) * 1989-10-23 1991-01-03 Bauerfeind, Peter, Dr., 8264 Waldkraiburg, De
US5018506A (en) 1990-06-18 1991-05-28 Welch Allyn, Inc. Fluid controlled biased bending neck
JP3137646B2 (ja) * 1991-04-05 2001-02-26 ボストン サイエンティフィック コーポレイション 硬度調節可能な可変カテーテル器具
US5262121A (en) * 1991-12-18 1993-11-16 Goodno Kenneth T Method of making and using flexible mandrel
US5324284A (en) 1992-06-05 1994-06-28 Cardiac Pathways, Inc. Endocardial mapping and ablation system utilizing a separately controlled ablation catheter and method
US5482029A (en) * 1992-06-26 1996-01-09 Kabushiki Kaisha Toshiba Variable flexibility endoscope system
US5383852A (en) 1992-12-04 1995-01-24 C. R. Bard, Inc. Catheter with independent proximal and distal control
DK171747B1 (da) * 1993-03-02 1997-05-05 Metra Aps Dilatationskateter
US5662621A (en) * 1995-07-06 1997-09-02 Scimed Life Systems, Inc. Guide catheter with shape memory retention
US5810715A (en) 1995-09-29 1998-09-22 Olympus Optical Co., Ltd. Endoscope provided with function of being locked to flexibility of insertion part which is set by flexibility modifying operation member
WO1997024978A1 (en) * 1996-01-11 1997-07-17 Intella Interventional Systems Guide wire with adjustable stiffness and method
US5916147A (en) * 1997-09-22 1999-06-29 Boury; Harb N. Selectively manipulable catheter
US6395019B2 (en) * 1998-02-09 2002-05-28 Trivascular, Inc. Endovascular graft
US6447478B1 (en) * 1998-05-15 2002-09-10 Ronald S. Maynard Thin-film shape memory alloy actuators and processing methods
JP4096325B2 (ja) * 1998-12-14 2008-06-04 正喜 江刺 能動細管及びその製造方法
US6123084A (en) * 1998-12-18 2000-09-26 Eclipse Surgical Technologies, Inc. Method for improving blood flow in the heart
US6890329B2 (en) * 1999-06-15 2005-05-10 Cryocath Technologies Inc. Defined deflection structure
US6579261B1 (en) 1999-06-19 2003-06-17 Adam Spence Corporation Double lumen-type catheter
WO2001074260A1 (en) * 2000-03-24 2001-10-11 Johns Hopkins University Peritoneal cavity device and method
US6800056B2 (en) 2000-04-03 2004-10-05 Neoguide Systems, Inc. Endoscope with guiding apparatus
WO2003047675A2 (en) * 2001-07-31 2003-06-12 Amir Belson Flow-directed catheter guide with variable rigidity shaft
US6790173B2 (en) * 2002-06-13 2004-09-14 Usgi Medical, Inc. Shape lockable apparatus and method for advancing an instrument through unsupported anatomy
US8016752B2 (en) 2003-01-17 2011-09-13 Gore Enterprise Holdings, Inc. Puncturable catheter
US7824391B2 (en) 2003-03-21 2010-11-02 Cardiac Pacemakers, Inc. Articulating guide catheter
US20070088367A1 (en) * 2004-10-22 2007-04-19 Alexander Von Weymarn-Scharli Device, especially tube or catheter, for at least partially introducing into a body passage
EP1748814A1 (en) * 2004-05-27 2007-02-07 Abbott Laboratories Catheter having main body portion with coil-defined guidewire passage
US7678117B2 (en) 2004-06-07 2010-03-16 Novare Surgical Systems, Inc. Articulating mechanism with flex-hinged links
US20050277876A1 (en) 2004-06-10 2005-12-15 Scott Hayden Medical device guiding system
US7717875B2 (en) 2004-07-20 2010-05-18 St. Jude Medical, Atrial Fibrillation Division, Inc. Steerable catheter with hydraulic or pneumatic actuator
US8075476B2 (en) * 2004-07-27 2011-12-13 Intuitive Surgical Operations, Inc. Cannula system and method of use
CN101001658A (zh) * 2004-08-10 2007-07-18 株式会社钟化 医疗用导管及其制造方法
US20060235458A1 (en) * 2005-04-15 2006-10-19 Amir Belson Instruments having an external working channel
CN100528323C (zh) * 2005-06-03 2009-08-19 塞巴斯蒂安·崔玛 流化床反应塔
WO2007033379A2 (en) * 2005-09-14 2007-03-22 Neoguide Systems, Inc. Methods and apparatus for performing transluminal and other procedures
US7850623B2 (en) * 2005-10-27 2010-12-14 Boston Scientific Scimed, Inc. Elongate medical device with continuous reinforcement member
DE102006018489A1 (de) * 2006-02-15 2007-10-25 Epflex Feinwerktechnik Gmbh Gesteuert versteifbarer Schlauch
WO2007123770A2 (en) 2006-03-31 2007-11-01 Automated Medical Instruments, Inc. System and method for advancing, orienting, and immobilizing on internal body tissue a catheter or therapeutic device
DE102006024094A1 (de) * 2006-05-17 2007-11-22 Epflex Feinwerktechnik Gmbh Gesteuert versteifbare Führungsdrahteinheit
US7892166B2 (en) * 2006-05-18 2011-02-22 Ethicon Endo-Surgery, Inc. Medical instrument including a catheter having a catheter stiffener and method for using
US20070270688A1 (en) 2006-05-19 2007-11-22 Daniel Gelbart Automatic atherectomy system
US8206429B2 (en) * 2006-11-02 2012-06-26 Boston Scientific Scimed, Inc. Adjustable bifurcation catheter incorporating electroactive polymer and methods of making and using the same
US20080147046A1 (en) * 2006-12-19 2008-06-19 Mcdaniel Benjamin David Catheter having a spirally sliced tube
EP1974755A1 (de) * 2007-03-16 2008-10-01 BrainLAB AG Katheter mit sich ändernden Materialeigenschaften
US7704234B2 (en) * 2007-04-05 2010-04-27 Darr Allan J Dynaflex
JP2010534529A (ja) * 2007-07-26 2010-11-11 エスアールアイ インターナショナル 制御可能な機敏な内視鏡装置
US7820096B2 (en) 2007-10-05 2010-10-26 Mady Attila Turgor shaping. control of shape and rigidity through the use of pressure transmitting channel patterns (hydraulic channel arrays)
US20100010437A1 (en) 2008-07-11 2010-01-14 Miles Robin R Steerable catheter with distending lumen-actuated curling catheter tip
US20100076451A1 (en) * 2008-09-19 2010-03-25 Ethicon Endo-Surgery, Inc. Rigidizable surgical instrument
EP2459049B1 (en) * 2009-07-29 2019-08-28 TransEnterix Surgical, Inc. Deflectable instrument ports
US20120179097A1 (en) 2011-01-06 2012-07-12 Cully Edward H Methods and apparatus for an adjustable stiffness catheter

Patent Citations (5)

* Cited by examiner, † Cited by third party
Publication number Priority date Publication date Assignee Title
US20030065373A1 (en) * 2001-10-02 2003-04-03 Lovett Eric G. Medical device having rheometric materials and method therefor
US20060211979A1 (en) * 2004-09-24 2006-09-21 Smith Kevin W Methods for operating a selective stiffening catheter
US20060264907A1 (en) * 2005-05-02 2006-11-23 Pulsar Vascular, Inc. Catheters having stiffening mechanisms
US20090112063A1 (en) * 2007-10-31 2009-04-30 Bakos Gregory J Endoscopic overtubes
US20090299343A1 (en) * 2008-05-27 2009-12-03 Intuitive Surgical, Inc. Stiffening assembly

Cited By (7)

* Cited by examiner, † Cited by third party
Publication number Priority date Publication date Assignee Title
JP2019529003A (ja) * 2016-07-13 2019-10-17 パーヒューズ・リミテッド 高柔軟性、耐よじれ性カテーテルシャフト
US11446469B2 (en) 2016-07-13 2022-09-20 Perfuze Limited High flexibility, kink resistant catheter shaft
CN111107790A (zh) * 2017-08-22 2020-05-05 皇家飞利浦有限公司 可调节柔性/刚度管腔内设备和相关联的设备、系统和方法
JP2020531080A (ja) * 2017-08-22 2020-11-05 コーニンクレッカ フィリップス エヌ ヴェKoninklijke Philips N.V. 調整可能可撓性/剛性腔内装置
JP7246375B2 (ja) 2017-08-22 2023-03-27 コーニンクレッカ フィリップス エヌ ヴェ 調整可能可撓性/剛性腔内装置
US11197977B2 (en) 2017-12-15 2021-12-14 Perfuze Limited Catheters and devices and systems incorporating such catheters
KR102221309B1 (ko) * 2019-08-27 2021-03-02 재단법인대구경북과학기술원 가변 강성을 갖는 구조체

Also Published As

Publication number Publication date
CN103313749A (zh) 2013-09-18
RU2013136529A (ru) 2015-03-10
ES2952411T3 (es) 2023-10-31
CA2822355A1 (en) 2012-07-12
US20170189645A9 (en) 2017-07-06
EP2661302B1 (en) 2023-05-10
AU2011353629B2 (en) 2015-07-16
AU2011353629A1 (en) 2013-07-04
US20140276642A1 (en) 2014-09-18
AU2011353629A8 (en) 2013-07-18
BR112013016319A2 (pt) 2018-09-18
EP2661302A2 (en) 2013-11-13
ES3058932T3 (en) 2026-03-13
US9889273B2 (en) 2018-02-13
EP4218883A1 (en) 2023-08-02
WO2012094135A2 (en) 2012-07-12
CN103313749B (zh) 2016-04-06
JP6050251B2 (ja) 2016-12-21
USRE49557E1 (en) 2023-06-20
EP4218883B1 (en) 2025-10-22
US20120179097A1 (en) 2012-07-12
WO2012094135A3 (en) 2012-08-30

Similar Documents

Publication Publication Date Title
JP6050251B2 (ja) 調整可能剛性のカテーテルのための方法及び装置
US11872354B2 (en) Flexible catheter shaft frame with seam
EP2683433B1 (en) Balloon catheter and support shaft for same
JP6964134B2 (ja) 高柔軟性、耐よじれ性カテーテルシャフト
CN109952123B (zh) 导管毂
JP2025157415A (ja) 血管内血液ポンプならびに製造および使用の方法
CN104168860B (zh) 具有液压致动器的导管
EP3169393B1 (en) Method of manufacturing coated tubular support members
EP3389757A1 (en) Catheter shaft and associated devices, systems, and methods
JP2014508564A5 (ja)
US9901706B2 (en) Catheters and catheter shafts
CN104334099A (zh) 单通路逆流导管装置和方法
CN110022925B (zh) 具有可变支承件的管状结构
JP7607697B2 (ja) 可撓性カップリングを備えた塞栓フィルタ
EP3700613B1 (en) Braided drainage catheter
CN104998333A (zh) 用于身体小脉管应用的多腔导管
JP5993551B2 (ja) 生体器官拡張器具の製造方法及び生体器官拡張器具
JP2025141852A (ja) カテーテル
JP2014217480A (ja) 中空長尺体及び中空長尺体キット
JP2013013477A (ja) 医療用ガイドカテーテル

Legal Events

Date Code Title Description
A521 Request for written amendment filed

Free format text: JAPANESE INTERMEDIATE CODE: A523

Effective date: 20141216

A621 Written request for application examination

Free format text: JAPANESE INTERMEDIATE CODE: A621

Effective date: 20141216

A977 Report on retrieval

Free format text: JAPANESE INTERMEDIATE CODE: A971007

Effective date: 20151125

A131 Notification of reasons for refusal

Free format text: JAPANESE INTERMEDIATE CODE: A131

Effective date: 20160112

A601 Written request for extension of time

Free format text: JAPANESE INTERMEDIATE CODE: A601

Effective date: 20160412

A521 Request for written amendment filed

Free format text: JAPANESE INTERMEDIATE CODE: A523

Effective date: 20160530

TRDD Decision of grant or rejection written
A01 Written decision to grant a patent or to grant a registration (utility model)

Free format text: JAPANESE INTERMEDIATE CODE: A01

Effective date: 20161025

A61 First payment of annual fees (during grant procedure)

Free format text: JAPANESE INTERMEDIATE CODE: A61

Effective date: 20161124

R150 Certificate of patent or registration of utility model

Ref document number: 6050251

Country of ref document: JP

Free format text: JAPANESE INTERMEDIATE CODE: R150

R250 Receipt of annual fees

Free format text: JAPANESE INTERMEDIATE CODE: R250

R250 Receipt of annual fees

Free format text: JAPANESE INTERMEDIATE CODE: R250

R250 Receipt of annual fees

Free format text: JAPANESE INTERMEDIATE CODE: R250

R250 Receipt of annual fees

Free format text: JAPANESE INTERMEDIATE CODE: R250

R250 Receipt of annual fees

Free format text: JAPANESE INTERMEDIATE CODE: R250

R250 Receipt of annual fees

Free format text: JAPANESE INTERMEDIATE CODE: R250