JP2014166350A - 溶解分離層を備えた薬剤付き支持体 - Google Patents
溶解分離層を備えた薬剤付き支持体 Download PDFInfo
- Publication number
- JP2014166350A JP2014166350A JP2014014461A JP2014014461A JP2014166350A JP 2014166350 A JP2014166350 A JP 2014166350A JP 2014014461 A JP2014014461 A JP 2014014461A JP 2014014461 A JP2014014461 A JP 2014014461A JP 2014166350 A JP2014166350 A JP 2014166350A
- Authority
- JP
- Japan
- Prior art keywords
- drug
- layer
- dissolution
- separation layer
- support
- Prior art date
- Legal status (The legal status is an assumption and is not a legal conclusion. Google has not performed a legal analysis and makes no representation as to the accuracy of the status listed.)
- Granted
Links
Images
Classifications
-
- A—HUMAN NECESSITIES
- A61—MEDICAL OR VETERINARY SCIENCE; HYGIENE
- A61K—PREPARATIONS FOR MEDICAL, DENTAL OR TOILETRY PURPOSES
- A61K9/00—Medicinal preparations characterised by special physical form
- A61K9/0012—Galenical forms characterised by the site of application
- A61K9/0048—Eye, e.g. artificial tears
-
- A—HUMAN NECESSITIES
- A61—MEDICAL OR VETERINARY SCIENCE; HYGIENE
- A61F—FILTERS IMPLANTABLE INTO BLOOD VESSELS; PROSTHESES; DEVICES PROVIDING PATENCY TO, OR PREVENTING COLLAPSING OF, TUBULAR STRUCTURES OF THE BODY, e.g. STENTS; ORTHOPAEDIC, NURSING OR CONTRACEPTIVE DEVICES; FOMENTATION; TREATMENT OR PROTECTION OF EYES OR EARS; BANDAGES, DRESSINGS OR ABSORBENT PADS; FIRST-AID KITS
- A61F9/00—Methods or devices for treatment of the eyes; Devices for putting in contact-lenses; Devices to correct squinting; Apparatus to guide the blind; Protective devices for the eyes, carried on the body or in the hand
- A61F9/0008—Introducing ophthalmic products into the ocular cavity or retaining products therein
-
- A—HUMAN NECESSITIES
- A61—MEDICAL OR VETERINARY SCIENCE; HYGIENE
- A61K—PREPARATIONS FOR MEDICAL, DENTAL OR TOILETRY PURPOSES
- A61K47/00—Medicinal preparations characterised by the non-active ingredients used, e.g. carriers or inert additives; Targeting or modifying agents chemically bound to the active ingredient
- A61K47/30—Macromolecular organic or inorganic compounds, e.g. inorganic polyphosphates
- A61K47/36—Polysaccharides; Derivatives thereof, e.g. gums, starch, alginate, dextrin, hyaluronic acid, chitosan, inulin, agar or pectin
- A61K47/38—Cellulose; Derivatives thereof
-
- A—HUMAN NECESSITIES
- A61—MEDICAL OR VETERINARY SCIENCE; HYGIENE
- A61K—PREPARATIONS FOR MEDICAL, DENTAL OR TOILETRY PURPOSES
- A61K9/00—Medicinal preparations characterised by special physical form
- A61K9/70—Web, sheet or filament bases ; Films; Fibres of the matrix type containing drug
- A61K9/7007—Drug-containing films, membranes or sheets
-
- A—HUMAN NECESSITIES
- A61—MEDICAL OR VETERINARY SCIENCE; HYGIENE
- A61P—SPECIFIC THERAPEUTIC ACTIVITY OF CHEMICAL COMPOUNDS OR MEDICINAL PREPARATIONS
- A61P27/00—Drugs for disorders of the senses
- A61P27/02—Ophthalmic agents
Landscapes
- Health & Medical Sciences (AREA)
- Veterinary Medicine (AREA)
- Chemical & Material Sciences (AREA)
- Life Sciences & Earth Sciences (AREA)
- Animal Behavior & Ethology (AREA)
- General Health & Medical Sciences (AREA)
- Public Health (AREA)
- Engineering & Computer Science (AREA)
- Pharmacology & Pharmacy (AREA)
- Medicinal Chemistry (AREA)
- Epidemiology (AREA)
- Ophthalmology & Optometry (AREA)
- Bioinformatics & Cheminformatics (AREA)
- Vascular Medicine (AREA)
- Inorganic Chemistry (AREA)
- Heart & Thoracic Surgery (AREA)
- Biomedical Technology (AREA)
- Chemical Kinetics & Catalysis (AREA)
- General Chemical & Material Sciences (AREA)
- Nuclear Medicine, Radiotherapy & Molecular Imaging (AREA)
- Organic Chemistry (AREA)
- Medicinal Preparation (AREA)
- Media Introduction/Drainage Providing Device (AREA)
Abstract
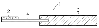
【解決手段】眼に薬剤を投与するための薬剤付き支持体1は、薬剤及び水溶性ポリマーを含む薬剤層2と、薬剤層2の水溶性ポリマーよりも水溶性が高く設定された水溶性ポリマーを含む溶解分離層4と、持ち手となる支持体3とを備え、溶解分離層4を介して薬剤層2と支持体3とが反対側に接続されている。
【選択図】図1
Description
薬剤及び水溶性ポリマーを含む薬剤層と、
前記薬剤層の水溶性ポリマーよりも水溶性が高く設定された水溶性ポリマーを含む溶解分離層と、
持ち手となる支持体とを備え、
前記溶解分離層を介して前記薬剤層と前記支持体とが反対側に接続されている。
また、薬剤層と支持体との間に設けた溶解分離層の水溶性は、薬剤層の水溶性よりも高いことを特徴とする。このため、薬剤の投与時に、眼の表面で溶解分離層が薬剤層よりも先に溶解することによって、薬剤層が薬剤付き支持体から分離して眼の表面に投与される。この結果、一定量の薬剤(薬剤層)を確実に投与することができる。
上述のように、一定量の薬剤を確実に投与することができる薬剤付き支持体を提供することができる。
薬剤層と溶解分離層および溶解分離層と支持体を重ねて接続することにより、薬剤層、溶解分離層および支持体を一体物として、接続強度を増大させることができる。
なお、薬剤層2と溶解分離層4との接続方法および溶解分離層4と支持体3との接続方法は、熱圧着、接着以外の方法で接続しても差し支えない。
溶解分離層4は薬剤を含有しない水溶性ポリマーを含有するマトリックスから構成され、該マトリックス中には必要に応じて乳化剤や可塑剤を配合することができ、また、水溶性をより高めるためにマンニトール等の糖アルコールやオリゴマー、テロマーなどの分子量が大きくない水溶性高分子を添加したり、気泡を導入することもできる。必要に応じて、2種以上の水溶性ポリマーを混合することもできる。溶解分離層4を構成するマトリックスは、薬剤層2を構成するマトリックスよりも水溶性がより高くなるように設定する。このように、溶解分離層4の水溶性を、薬剤層2のそれよりも高くすることにより、投与時に涙液と接触すれば、溶解分離層4が薬剤層2よりも先に溶解する。また、薬剤層2よりも水溶性の高い溶解分離層4を設けることによって、投与時に薬剤層2の中途部から分離するなどの不具合の発生がなく、薬剤層2が薬剤付き支持体1から分離して眼表面に付着するため、一定量の薬剤を確実に投与することができる(図1〜3を参照)。
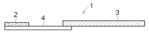
本発明に係る薬剤付き支持体1の別実施形態を図4〜図9に示す。図4は、薬剤層2の下面の一部と溶解分離層4の上面の一部とが接続され、また、溶解分離層4の下面の一部と支持体3の上面の一部とが接続されている。図5は、薬剤層2の下面の全部と溶解分離層4の上面の一部とが接続され、また、溶解分離層4の上面の一部と支持体3の下面の一部とが接続されている。図6は、薬剤層2の下面の一部と溶解分離層4の上面の一部とが接続され、また、溶解分離層4の上面の一部と支持体3の下面の一部とが接続されている。図7は、薬剤層2の下面の全部と溶解分離層4の上面の一部とが接続され、また、溶解分離層4の上下面と支持体3の上下面とは重なり合うことなく接続されている。図8は、薬剤層2、溶解分離層4および支持体3の上下面はどれも重なり合うことなく接続されている。図9は、薬剤層2の下面の全部と溶解分離層4の上面の一部とが接続され、また、2つの支持体3が溶解分離層4を挟み込む形態である。図9においては支持体3と溶解分離層4は必ずしも熱圧着または接着することを要しない。
(1)フィルム状マトリックスの平均崩壊時間の測定方法および測定結果
水溶性ポリマーとしてCMCダイセル1205[ポリマーA] 18.0%(w/w)、可塑剤としてグリセリン 1.62%(w/w)、乳化剤としてポリソルベート80 0.09%(w/w)となるように、水溶性ポリマー(CMCダイセル1205)、可塑剤(グリセリン)および乳化剤(ポリソルベート80)を溶媒(水)に溶解させて試料1を作製した。また、同様の操作を行って水溶性ポリマーとしてPLASDONE K−90[ポリマーB]、HPC−L[ポリマーC]、ゴーセノールEG−05[ポリマーD]、TC−5S[ポリマーE]、メトローズ60SH−50[ポリマーF]、メトローズSM15[ポリマーG]、メトローズSM100[ポリマーH]、セルニーM[ポリマーI]、キミカアルギンIL−2[ポリマーJ]およびHECダイセルSE400[ポリマーK]を溶媒(水、エタノール、水とエタノールの混合液)に溶解させ、また、必要に応じて可塑剤としてグリセリンを、また、乳化剤としてポリソルベート80を添加して表1に示すように試料2〜11を作製した。ついで、試料1〜11をポリプロピレンフィルムのベース材上にアプリケータを用いて厚さ約30μmとなるように塗布して温風で乾燥させた。つぎに、得られた各フィルム状マトリックスを2×7mmの大きさに細切し、室温下10mLの生理食塩水中に浸漬し、フィルム状マトリックスの崩壊時間[マトリックスが完全に溶解し、消失するまでの時間]を計測した。結果を表1に示す。なお、試料1〜11から得られた各フィルム状マトリックスの平均崩壊時間は、3回測定したときの崩壊時間の平均値である。
代用薬剤としてフルオレセインナトリウム10%(w/w)となるように、フルオレセインナトリウムを各試料[試料1、3、6、7、10、11]に添加して薬剤層用塗工液を作製した。この薬剤層用塗工液をポリプロピレンフィルムのベース材上にアプリケータを用いて厚さ約30μm、幅7mmとなるように塗布して温風で乾燥させた。つぎに、このベース材に塗布した薬剤層の上に溶解分離層用塗工液(試料1、2、6、10、11)をアプリケータを用いて厚さ約30μm、幅約50mmとなるように塗布し、薬剤層の上に溶解分離層を形成し、温風で乾燥させて各積層フィルムを得た。ベース材から各積層フィルムを分離し、積層フィルムと支持体(セパレート紙)を粘着剤で接続した後、得られた薬剤付き支持体を2×50mmの大きさに細切した。表2に実施例1〜4および比較例1〜2の各薬剤層や各溶解分離層を構成する水溶性ポリマーの種類とその平均崩壊時間を示す。
正常ウサギ(♂、日本白色種、北山ラベス)の右眼下眼瞼結膜中央に、上記(2)で作製した各薬剤付き支持体の溶解分離層側を10秒間押しつけた後、回収してウサギ結膜部に薬剤層の全量が投与できたかどうかを目視により判定した。ウサギ結膜部に薬剤層の全量が投与できた場合を「1」、また、薬剤層を全く投与できないか、一部しか投与できなかった場合は「0」として、本操作を3回繰り返した場合の合計点を算出した。表2に結果を示す。なお、実施例1〜2は、薬剤層2の下面の全部と溶解分離層4の上面の一部とが接続された図1の形態の薬剤付き支持体であり、また、実施例3〜4及び比較例1〜2は、薬剤層2の下面の一部と溶解分離層4の上面の一部とが接続された図4の形態の薬剤付き支持体である。
したがって、本発明の薬剤付き支持体を用いれば、眼に一定量の薬剤を確実に投与できる。
2 薬剤層
3 支持体
4 溶解分離層
Claims (6)
- 薬剤及び水溶性ポリマーを含む薬剤層と、
前記薬剤層の水溶性ポリマーよりも水溶性が高く設定された水溶性ポリマーを含む溶解分離層と、
持ち手となる支持体とを備え、
前記溶解分離層を介して前記薬剤層と前記支持体とが反対側に接続される、眼に薬剤を投与するための薬剤付き支持体。 - 前記薬剤層の全部または一部と前記溶解分離層の一部とが重なっている請求項1に記載の薬剤付き支持体。
- 前記溶解分離層の一部と前記支持体の一部とが重なっている請求項2に記載の薬剤付き支持体。
- 前記溶解分離層と前記支持体とが熱圧着または接着されている請求項1〜3のいずれか一項に記載の薬剤付き支持体。
- 前記溶解分離層の水または生理食塩水に対する平均崩壊時間が60秒以下である請求項1〜4のいずれか一項に記載の薬剤付き支持体。
- 請求項1〜5記載の薬剤付き支持体を用いて眼表面に一定量の薬剤を投与する方法。
Priority Applications (1)
| Application Number | Priority Date | Filing Date | Title |
|---|---|---|---|
| JP2014014461A JP6334181B2 (ja) | 2013-01-29 | 2014-01-29 | 溶解分離層を備えた薬剤付き支持体 |
Applications Claiming Priority (3)
| Application Number | Priority Date | Filing Date | Title |
|---|---|---|---|
| JP2013014670 | 2013-01-29 | ||
| JP2013014670 | 2013-01-29 | ||
| JP2014014461A JP6334181B2 (ja) | 2013-01-29 | 2014-01-29 | 溶解分離層を備えた薬剤付き支持体 |
Publications (3)
| Publication Number | Publication Date |
|---|---|
| JP2014166350A true JP2014166350A (ja) | 2014-09-11 |
| JP2014166350A5 JP2014166350A5 (ja) | 2017-02-09 |
| JP6334181B2 JP6334181B2 (ja) | 2018-05-30 |
Family
ID=51262300
Family Applications (1)
| Application Number | Title | Priority Date | Filing Date |
|---|---|---|---|
| JP2014014461A Expired - Fee Related JP6334181B2 (ja) | 2013-01-29 | 2014-01-29 | 溶解分離層を備えた薬剤付き支持体 |
Country Status (3)
| Country | Link |
|---|---|
| JP (1) | JP6334181B2 (ja) |
| TW (1) | TW201517919A (ja) |
| WO (1) | WO2014119587A1 (ja) |
Cited By (4)
| Publication number | Priority date | Publication date | Assignee | Title |
|---|---|---|---|---|
| WO2017033967A1 (ja) * | 2015-08-24 | 2017-03-02 | 参天製薬株式会社 | 眼科用フィルム製剤 |
| WO2018017873A1 (en) | 2016-07-20 | 2018-01-25 | Ryan Edwin | Eye drop applicator and method |
| KR20210153177A (ko) * | 2020-06-09 | 2021-12-17 | 동국대학교 산학협력단 | 결막 접촉용 약물 전달기 |
| CN119455236A (zh) * | 2025-01-08 | 2025-02-18 | 湖南省华芯医疗器械有限公司 | 药物释放球囊、药物释放器械及内镜组件 |
Citations (4)
| Publication number | Priority date | Publication date | Assignee | Title |
|---|---|---|---|---|
| JPS57185870A (en) * | 1981-04-30 | 1982-11-16 | Sumisu Ando Nefuyuu Ass Co Ltd | Applicator of pharmacologically active drug, production and use thereof |
| EP1407732A1 (de) * | 2002-10-08 | 2004-04-14 | Michael Dr. Horstmann | Am Auge applizierbare Vorrichtung zur sicheren Dosierung systemischer und topischer Medikation |
| JP2004534030A (ja) * | 2001-05-14 | 2004-11-11 | スリーエム イノベイティブ プロパティズ カンパニー | 化粧品および医薬品を送達するためのシステム |
| JP2012045379A (ja) * | 2010-07-29 | 2012-03-08 | Santen Pharmaceut Co Ltd | 薬剤付き支持体及びその製造方法 |
-
2014
- 2014-01-29 TW TW103103555A patent/TW201517919A/zh unknown
- 2014-01-29 WO PCT/JP2014/051893 patent/WO2014119587A1/ja not_active Ceased
- 2014-01-29 JP JP2014014461A patent/JP6334181B2/ja not_active Expired - Fee Related
Patent Citations (4)
| Publication number | Priority date | Publication date | Assignee | Title |
|---|---|---|---|---|
| JPS57185870A (en) * | 1981-04-30 | 1982-11-16 | Sumisu Ando Nefuyuu Ass Co Ltd | Applicator of pharmacologically active drug, production and use thereof |
| JP2004534030A (ja) * | 2001-05-14 | 2004-11-11 | スリーエム イノベイティブ プロパティズ カンパニー | 化粧品および医薬品を送達するためのシステム |
| EP1407732A1 (de) * | 2002-10-08 | 2004-04-14 | Michael Dr. Horstmann | Am Auge applizierbare Vorrichtung zur sicheren Dosierung systemischer und topischer Medikation |
| JP2012045379A (ja) * | 2010-07-29 | 2012-03-08 | Santen Pharmaceut Co Ltd | 薬剤付き支持体及びその製造方法 |
Cited By (6)
| Publication number | Priority date | Publication date | Assignee | Title |
|---|---|---|---|---|
| WO2017033967A1 (ja) * | 2015-08-24 | 2017-03-02 | 参天製薬株式会社 | 眼科用フィルム製剤 |
| WO2018017873A1 (en) | 2016-07-20 | 2018-01-25 | Ryan Edwin | Eye drop applicator and method |
| EP3487480A4 (en) * | 2016-07-20 | 2019-07-24 | Ryan, Edwin | APPLICATOR OF OPHTHALMIC DROPS. |
| KR20210153177A (ko) * | 2020-06-09 | 2021-12-17 | 동국대학교 산학협력단 | 결막 접촉용 약물 전달기 |
| KR102467288B1 (ko) * | 2020-06-09 | 2022-11-17 | 동국대학교 산학협력단 | 결막 접촉용 약물 전달기 |
| CN119455236A (zh) * | 2025-01-08 | 2025-02-18 | 湖南省华芯医疗器械有限公司 | 药物释放球囊、药物释放器械及内镜组件 |
Also Published As
| Publication number | Publication date |
|---|---|
| JP6334181B2 (ja) | 2018-05-30 |
| WO2014119587A1 (ja) | 2014-08-07 |
| TW201517919A (zh) | 2015-05-16 |
Similar Documents
| Publication | Publication Date | Title |
|---|---|---|
| Li et al. | Reversible bioadhesives using tannic acid primed thermally‐responsive polymers | |
| US20250090453A1 (en) | Microstructure array, methods of making, and methods of use | |
| JP6334181B2 (ja) | 溶解分離層を備えた薬剤付き支持体 | |
| CN105596287B (zh) | 主动分离型可溶性微针及其制备方法 | |
| JP7106186B2 (ja) | 効率的な皮膚穿孔のためのマイクロニードルの構造 | |
| EP2338557A1 (en) | Soluble microneedle | |
| CN113332588B (zh) | 用于口腔黏膜给药的尖端载药可溶性微针贴片及其制备方法 | |
| WO2017043627A1 (ja) | マイクロニードル製剤 | |
| FR2936408A1 (fr) | Pansement pour site de ponction ou de perfusion | |
| JP5928661B2 (ja) | 針状体 | |
| JP6081670B2 (ja) | 視認性確保材および視認性確保材吐出装置 | |
| KR20090125257A (ko) | 경구 투여제 및 그 제조 방법 | |
| CN111655242A (zh) | 多层口服薄膜 | |
| JP2017104490A (ja) | マイクロ構造体製造方法 | |
| WO2017033967A1 (ja) | 眼科用フィルム製剤 | |
| CN206081320U (zh) | 主动分离型可溶性微针 | |
| JP2018193301A (ja) | 基盤、シートから切り離し可能な徐放性多層マイクロニードル | |
| JP5227041B2 (ja) | 薬物含有貼付製剤 | |
| CN115998638B (zh) | 一种一体式微针的水凝胶贴片及其制备方法 | |
| CN110831625A (zh) | 疫苗佐剂及微针制剂 | |
| JP3197035B2 (ja) | 口腔粘膜適用製剤 | |
| EP3295909B1 (fr) | Pansement pour point de ponction ou d'infusion, en particulier pour hemodialyse | |
| JP2017530990A (ja) | 口腔粘膜フィルム製剤 | |
| JPH04266819A (ja) | 口腔粘膜適用製剤 | |
| JP4790535B2 (ja) | しなやかさ測定方法及び貼付剤 |
Legal Events
| Date | Code | Title | Description |
|---|---|---|---|
| A521 | Request for written amendment filed |
Free format text: JAPANESE INTERMEDIATE CODE: A523 Effective date: 20170106 |
|
| A621 | Written request for application examination |
Free format text: JAPANESE INTERMEDIATE CODE: A621 Effective date: 20170106 |
|
| A977 | Report on retrieval |
Free format text: JAPANESE INTERMEDIATE CODE: A971007 Effective date: 20171124 |
|
| A131 | Notification of reasons for refusal |
Free format text: JAPANESE INTERMEDIATE CODE: A131 Effective date: 20171205 |
|
| A521 | Request for written amendment filed |
Free format text: JAPANESE INTERMEDIATE CODE: A523 Effective date: 20180129 |
|
| TRDD | Decision of grant or rejection written | ||
| A01 | Written decision to grant a patent or to grant a registration (utility model) |
Free format text: JAPANESE INTERMEDIATE CODE: A01 Effective date: 20180403 |
|
| A61 | First payment of annual fees (during grant procedure) |
Free format text: JAPANESE INTERMEDIATE CODE: A61 Effective date: 20180426 |
|
| R150 | Certificate of patent or registration of utility model |
Ref document number: 6334181 Country of ref document: JP Free format text: JAPANESE INTERMEDIATE CODE: R150 |
|
| LAPS | Cancellation because of no payment of annual fees |
