JP2014137303A5 - - Google Patents
Download PDFInfo
- Publication number
- JP2014137303A5 JP2014137303A5 JP2013006617A JP2013006617A JP2014137303A5 JP 2014137303 A5 JP2014137303 A5 JP 2014137303A5 JP 2013006617 A JP2013006617 A JP 2013006617A JP 2013006617 A JP2013006617 A JP 2013006617A JP 2014137303 A5 JP2014137303 A5 JP 2014137303A5
- Authority
- JP
- Japan
- Prior art keywords
- opening
- light source
- interferometer system
- laser light
- interferometer
- Prior art date
- Legal status (The legal status is an assumption and is not a legal conclusion. Google has not performed a legal analysis and makes no representation as to the accuracy of the status listed.)
- Granted
Links
- 238000005259 measurement Methods 0.000 claims description 9
- 230000003287 optical effect Effects 0.000 claims description 3
- 239000000758 substrate Substances 0.000 claims 4
- 239000012530 fluid Substances 0.000 claims 3
- 230000003321 amplification Effects 0.000 claims 1
- 239000011810 insulating material Substances 0.000 claims 1
- 238000001459 lithography Methods 0.000 claims 1
- 238000004519 manufacturing process Methods 0.000 claims 1
- 238000003199 nucleic acid amplification method Methods 0.000 claims 1
- 238000011084 recovery Methods 0.000 claims 1
- 238000007789 sealing Methods 0.000 claims 1
Images
Priority Applications (2)
| Application Number | Priority Date | Filing Date | Title |
|---|---|---|---|
| JP2013006617A JP6071572B2 (ja) | 2013-01-17 | 2013-01-17 | 干渉計システム、リソグラフィー装置、それを用いた物品の製造方法 |
| US14/153,538 US9804510B2 (en) | 2013-01-17 | 2014-01-13 | Interferometer system, lithography apparatus, and article manufacturing method |
Applications Claiming Priority (1)
| Application Number | Priority Date | Filing Date | Title |
|---|---|---|---|
| JP2013006617A JP6071572B2 (ja) | 2013-01-17 | 2013-01-17 | 干渉計システム、リソグラフィー装置、それを用いた物品の製造方法 |
Publications (3)
| Publication Number | Publication Date |
|---|---|
| JP2014137303A JP2014137303A (ja) | 2014-07-28 |
| JP2014137303A5 true JP2014137303A5 (enExample) | 2016-02-25 |
| JP6071572B2 JP6071572B2 (ja) | 2017-02-01 |
Family
ID=51164883
Family Applications (1)
| Application Number | Title | Priority Date | Filing Date |
|---|---|---|---|
| JP2013006617A Active JP6071572B2 (ja) | 2013-01-17 | 2013-01-17 | 干渉計システム、リソグラフィー装置、それを用いた物品の製造方法 |
Country Status (2)
| Country | Link |
|---|---|
| US (1) | US9804510B2 (enExample) |
| JP (1) | JP6071572B2 (enExample) |
Families Citing this family (5)
| Publication number | Priority date | Publication date | Assignee | Title |
|---|---|---|---|---|
| JP3208680U (ja) * | 2015-12-11 | 2017-02-02 | アプライド マテリアルズ インコーポレイテッドApplied Materials,Incorporated | フォトグラフィプロセスのためのシステムの環境制御 |
| CN107576265B (zh) * | 2017-08-07 | 2019-11-12 | 北京理工大学 | 一种激光干涉仪自动对光的测量方法 |
| US12196672B2 (en) | 2020-05-07 | 2025-01-14 | Hand Held Products, Inc. | Apparatuses, systems, and methods for sample testing |
| US11846574B2 (en) | 2020-10-29 | 2023-12-19 | Hand Held Products, Inc. | Apparatuses, systems, and methods for sample capture and extraction |
| KR102740948B1 (ko) * | 2021-12-28 | 2024-12-11 | 세메스 주식회사 | 조사 모듈 및 이를 포함하는 기판 처리 장치 |
Family Cites Families (17)
| Publication number | Priority date | Publication date | Assignee | Title |
|---|---|---|---|---|
| JPS5575279A (en) * | 1978-12-04 | 1980-06-06 | Olympus Optical Co Ltd | Laser oscillator |
| JPH0785112B2 (ja) * | 1987-02-16 | 1995-09-13 | キヤノン株式会社 | ステージ装置 |
| US4765741A (en) * | 1987-03-20 | 1988-08-23 | Hewlett-Packard Company | Wavelength tracking compensator for an interferometer |
| AT390325B (de) * | 1988-03-11 | 1990-04-25 | Tabarelli Werner | Interferometrische einrichtung zur messung von lageaenderungen eines beweglichen bauteiles |
| AT397307B (de) * | 1990-03-02 | 1994-03-25 | Tabarelli Werner | Interferometer insbesondere zur längenmessung |
| US5469260A (en) * | 1992-04-01 | 1995-11-21 | Nikon Corporation | Stage-position measuring apparatus |
| US5325177A (en) * | 1992-10-29 | 1994-06-28 | Environmental Research Institute Of Michigan | Optical, interferometric hole gauge |
| JP3508240B2 (ja) * | 1994-09-13 | 2004-03-22 | 株式会社ニコン | レーザー干渉距離測定装置 |
| US5552888A (en) * | 1994-12-02 | 1996-09-03 | Nikon Precision, Inc. | Apparatus for measuring position of an X-Y stage |
| JPH1144506A (ja) | 1997-07-29 | 1999-02-16 | Nikon Corp | 干渉計測定装置 |
| JP3202183B2 (ja) * | 1997-10-16 | 2001-08-27 | 株式会社ミツトヨ | レーザ光を用いたスケール及び測長方法 |
| JP3400393B2 (ja) * | 1999-10-13 | 2003-04-28 | 株式会社ミツトヨ | レーザ干渉装置 |
| JP2001280931A (ja) * | 2000-03-31 | 2001-10-10 | Nikon Corp | 干渉計、形状測定装置及び方法、並びに露光装置 |
| KR20030036254A (ko) * | 2001-06-13 | 2003-05-09 | 가부시키가이샤 니콘 | 주사노광방법 및 주사형 노광장치 그리고 디바이스 제조방법 |
| EP1852948A1 (en) * | 2005-01-31 | 2007-11-07 | Nikon Corporation | Laser light source control method, laser light source device, and exposure apparatus |
| US20090046297A1 (en) * | 2007-02-14 | 2009-02-19 | Nikon Corporation | Atmosphere-density-fluctuation monitors for interferometer beams, and atmosphere-supplying systems comprising same |
| US7876452B2 (en) * | 2007-03-05 | 2011-01-25 | Nikon Corporation | Interferometric position-measuring devices and methods |
-
2013
- 2013-01-17 JP JP2013006617A patent/JP6071572B2/ja active Active
-
2014
- 2014-01-13 US US14/153,538 patent/US9804510B2/en active Active
Similar Documents
| Publication | Publication Date | Title |
|---|---|---|
| JP2014137303A5 (enExample) | ||
| TWI380149B (en) | Device and method for controlling temperature of an optical element, illumination system and microlithography projection optics | |
| JP2015212827A5 (enExample) | ||
| US20140126043A1 (en) | Viewport protector for an extreme ultraviolet light source | |
| JP2013178254A5 (enExample) | ||
| JP2018512187A5 (enExample) | ||
| TWI704631B (zh) | 磊晶處理腔室、溫度控制系統及溫度控制方法 | |
| JPWO2009081748A1 (ja) | 放射測温方法及び放射測温システム | |
| TW201614752A (en) | Method and system for measuring radiation and temperature exposure of wafers along a fabrication process line | |
| RU2014105366A (ru) | Способ оптического мониторинга и контроля процесса селективного спекания объемных изделий из порошков и устройство для его осуществления | |
| JP2017516288A5 (enExample) | ||
| CY1125305T1 (el) | Συσκευη υψηλης ενεργειας, συστημα και μεθοδος για τη χρηση θερμικης ενεργειας ηλιακης προελευσης | |
| JP2017120340A5 (enExample) | ||
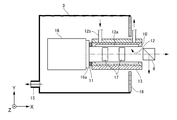
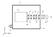
| JP6071572B2 (ja) | 干渉計システム、リソグラフィー装置、それを用いた物品の製造方法 | |
| JP2014153168A (ja) | 放射率測定装置及び放射率測定方法 | |
| JP2015511405A5 (enExample) | ||
| CN109564206A (zh) | 用于确定金属产品微观结构的设备和方法以及冶金系统 | |
| JP2008145203A5 (enExample) | ||
| JP2014534424A5 (ja) | 基板を熱的に処理する装置及び方法 | |
| JP6187348B2 (ja) | 偏光光照射装置 | |
| JP6387421B2 (ja) | リソグラフィ装置及びデバイス製造方法 | |
| WO2014026264A3 (pt) | Monitoramento da temperatura de semicondutores empregando sensor a fibra ótica | |
| RU2018131751A (ru) | Устройство и способ для обнаружения перевернутых яиц | |
| JP2017106794A5 (enExample) | ||
| CN103782142A (zh) | 用于在真空腔室中对衬底进行温度测量的方法 |