JP2014121663A - 共振装置、振動装置およびベル鳴動装置 - Google Patents

共振装置、振動装置およびベル鳴動装置 Download PDF

Info

Publication number
JP2014121663A
JP2014121663A JP2012278066A JP2012278066A JP2014121663A JP 2014121663 A JP2014121663 A JP 2014121663A JP 2012278066 A JP2012278066 A JP 2012278066A JP 2012278066 A JP2012278066 A JP 2012278066A JP 2014121663 A JP2014121663 A JP 2014121663A
Authority
JP
Japan
Prior art keywords
iron core
movable iron
solenoid
vibration
ring magnet
Prior art date
Legal status (The legal status is an assumption and is not a legal conclusion. Google has not performed a legal analysis and makes no representation as to the accuracy of the status listed.)
Granted
Application number
JP2012278066A
Other languages
English (en)
Other versions
JP5661728B2 (ja
Inventor
Juichi Irie
寿一 入江
Current Assignee (The listed assignees may be inaccurate. Google has not performed a legal analysis and makes no representation or warranty as to the accuracy of the list.)
DAIKO DENKI KK
Original Assignee
DAIKO DENKI KK
Priority date (The priority date is an assumption and is not a legal conclusion. Google has not performed a legal analysis and makes no representation as to the accuracy of the date listed.)
Filing date
Publication date
Application filed by DAIKO DENKI KK filed Critical DAIKO DENKI KK
Priority to JP2012278066A priority Critical patent/JP5661728B2/ja
Publication of JP2014121663A publication Critical patent/JP2014121663A/ja
Application granted granted Critical
Publication of JP5661728B2 publication Critical patent/JP5661728B2/ja
Expired - Fee Related legal-status Critical Current
Anticipated expiration legal-status Critical

Links

Images

Landscapes

  • Apparatuses For Generation Of Mechanical Vibrations (AREA)
  • Reciprocating, Oscillating Or Vibrating Motors (AREA)

Abstract

【課題】バネを使わず故障が少なく長寿命の振動装置等を提供する。
【解決手段】 可動鉄心2との共振用としたリング磁石4の内部にその軸方向に移動可能に可動鉄心2を設けて共振装置を構成し、リング磁石4の可動鉄心2の移動方向一方側もしくは両側に、振動附勢用のソレノイド12(および13)を並べて配置して振動装置を構成した。振動を持続するには、振動附勢用のソレノイド12(および13)を毎振動周期中に所定の位相で短時間励磁する。
【選択図】図2

Description

本発明は、共振装置、これを使用した振動装置、および、この振動装置を利用したベル鳴動装置に関する。
ある質量を持った可動子を振動させる装置は、携帯電話の呼び出し装置、ベルの打棒駆動装置、篩い装置など広い用途を持つ。
従来、この種の装置は偏心モータ、モータの回転をクランクで直線運動に変えるもの、振動部をその質量とバネの弾力とで共振装置とし電磁石の磁力で駆動して振動させるもの(特許文献1参照)等がある。
しかし、モータとクランクを使用するものは摩擦が大きく振動の振幅を変化することが困難であるなどの欠点があり、また、バネと質量による共振を使用するものは、効率はよいがバネが折れやすいという問題を有していたりする。
一例として、従来の、振動部を質量とバネの弾力とで共振装置を構成させると共に電磁石の磁力で振動を附勢する振動装置について説明すると、上記振動装置は、図7の平面図および図8の縦断面図に示すように、ケース52の中途高さ位置にコイル46を固定して設け、このコイル46を内部に収容する状態で振動部42をケース52内に横方向移動自在に配置するともに、ケース52と振動部42との間にバネ44を介装したものである。振動部42は、コイル46を挟む上下のマグネット80、82と、可動ヨーク66、68と、ウェイト90、92とを一体化したものである。
上記振動装置において、コイル46に正負の電流を流すことで、マグネット80、82を含む振動部42の質量がバネ44の弾性力と共振して振動し、この振動の反動でケース52およびその周りの固定部材が振動する。振動部42は、その質量とバネ44とが共振して振動するが、その振動は、コイル46に共振周波数の電流を与えることで、持続させるようになっている。
しかしながら、上記の振動装置では、振動部42の質量とバネ44からなる共振装置を利用するので、電気/機械のエネルギー変換効率がよいが、バネ44を使用しているので、頻繁に動作させるものでは、バネの疲労や破損が生じやすくて寿命が短い。
特許第3855738号公報
本発明は、バネを使用せず故障が少なくて長年月使用できる共振装置、振動装置およびベル鳴動装置を提供することを課題とする。
本発明の発明者が、リング磁石と、その中に置かれたリング磁石の軸方向に動きうる棒状の可動鉄心とに着目してその動作作用を検討したところ、リング磁石が可動鉄心に与える磁気吸引力は可動鉄心の変位に比例し、機械的な共振機構でのバネの復元力と同じ特性を持っており、リング磁石と可動鉄心とが共振装置を構成していることが判明した。
本発明に係る共振装置は、上記判明した事実に基づいて為されたもので、軸方向に貫通した貫通穴を有するリング磁石と、前記貫通穴内を軸方向移動可能に配置された可動鉄心とを備え、前記リング磁石の軸方向の中心位置と前記可動鉄心の軸方向の静止位置とを一致ないしほぼ一致させ、前記リング磁石の磁気吸引力と前記可動鉄心の質量とで軸方向において共振装置とすることを特徴とする。
また、本発明に係る振動装置は、前記共振装置と、前記共振装置のリング磁石と軸を共通にして軸方向に並置されたソレノイドとを備え、前記共振装置の可動鉄心の振動周期のうち特定の期間、前記ソレノイドを励磁して、前記可動鉄心の振動を附勢することを特徴とするものである。この場合、可動鉄心は、リング磁石の内部に軸方向に移動可能であり、ソレノイドを、リング磁石の可動鉄心移動方向一方側もしくは両側に、上記可動鉄心の振動附勢用として並置したことを特徴とする。
上記振動装置においては、共振装置内の可動鉄心に初動を与えると、この可動鉄心の質量と可動鉄心に作用するリング磁石の磁気吸引力との間で共振周波数の過渡振動が生じる。振動により可動鉄心が一方側に移動している期間、その側の振動附勢用のソレノイドが通電により励磁され磁気吸引力を生じることで、可動鉄心の振動が維持される。
本発明の共振装置によれば、共振用バネの代わりにリング磁石の磁気吸引力を利用するので、バネを使わずに済み、バネの疲労、破損等による機械的な故障がなく長年月使用できる。
つぎに、本発明の振動装置によれば、前記共振装置に振動附勢用としてソレノイドを並置しており,共振を利用するので電気/機械エネルギー変換効率が高い。また、ソレノイドに流す電流の位相と大きさによって可動鉄心の振幅を調節できる。この場合、第1のソレノイドと逆方向に振動を附勢する第2の振動附勢用ソレノイドを設置し、励磁することによってさらに強く振動を附勢することができる。
さらに、本発明のベル鳴動装置によれば、前記振動装置の可動鉄心を打棒として半サイクルごとに附勢して、その可動鉄心を強力に振動させてベルを連打すれば、強いベル音を発生させることができる。
図1(a)は、本発明の第1の実施形態に係る共振装置の構成図、図1(b)は、リング磁石の磁気吸引力を示す特性図である。 図2(a)は、本発明の第2の実施形態に係る振動装置の構成を示す構成図、図2(b)は、リング磁石およびソレノイドの磁気吸引力を示す特性図である。 図3は、図2の振動装置に用いられるソレノイド励磁回路の回路図である。 図4は、本発明の第3の実施形態に係る図2の振動装置を用いたベル鳴動装置の構成図である。 図5(a)は、本発明の第2、第3の他の実施形態に係る振動装置およびベル鳴動装置の構成図、図5(b)は、リング磁石およびソレノイドの磁気吸引力を示す特性図である。 図6は、図5の振動装置に用いられるソレノイド励磁回路の回路図である。 図7は、従来のバネを用いた振動装置の平面図である。 図8は、図7の振動装置の縦断面図である。
添付した図面を参照して、本発明の各実施形態を説明する。なお、各図中、同一ないし対応する部分には同一の符号を付している。
〔第1の実施形態〕
図1(a)は、本発明の第1の実施形態を示すものである。
2は、可動鉄心であって、軸方向に所定長で延びた円柱形状をなしている。
3は、断面円形の中空のパイプであって、非磁性体材料からなり、かつ、軸方向直線的に延在して配置されている。パイプ3内には前記可動鉄心2が軸方向において自由に移動可能に配置されている。
4は、リング磁石であり、フェライトやネオジム等の永久磁石材料からなりかつ中央が軸方向に円形に貫通した貫通穴4aを有したリング状になって、貫通穴4aの貫通方向である軸方向においてNSに着磁されている。このリング磁石4の貫通穴4aに、パイプ3が軸方向に沿って挿通されている。
なお、リング磁石4の外径をr1、内径をr2、パイプ3内の直径をr3、可動鉄心2の直径をr4とし、また、リング磁石4の軸方向長さをL1、可動鉄心2の軸方向長さをL2とすると、r1>r2>r3>r4であり、L1<L2である。
特に、リング磁石4の貫通穴4aの内径r2は、可動鉄心2の直径r4と比較して十分に大きい。これにより、リング磁石4は、可動鉄心2に対して前記軸方向に直交する方向である半径方向において磁気吸引力が作用しないか、または、作用することを実用上無視できる程度に低減できるようにしている。なお、リング磁石4の外形は、実施形態では円形であるが、これに限定されず、矩形であってもよい。
また、図中、P0をリング磁石4の軸方向の中心位置とすると、可動鉄心2の軸方向中心位置P1は、前記中心位置P0と一致して描いている。可動鉄心2の軸方向中心位置P1がリング磁石4の中心位置P0にあるときの該可動鉄心2の軸方向中心位置P1は、静止位置0(軸方向における振動中心位置:磁気抵抗最小位置)となる。この静止位置0は、前記中心位置P0と一致している。この場合の可動鉄心2の軸方向中心位置P1が静止位置0にあるときの該可動鉄心2の軸方向右側半分の長さと左側半分の長さは等長L2/2である。
もし可動鉄心2が軸方向均質でない場合、可動鉄心2が静止位置にあっても、可動鉄心2の軸方向中心位置P1とリング磁石4の中心位置P0とが一致しない場合があるが、以下可動鉄心2の静止位置0でP1とP0とは一致するものとしておく。
以上の構成により、第1の実施形態では、軸方向に貫通した貫通穴4aを有するリング磁石4と、前記貫通穴4a内を軸方向移動可能に配置された可動鉄心2とを備え、リング磁石4の軸方向中心位置P0と可動鉄心2の静止位置0とが一致した共振装置を構成しており、可動鉄心2に初動を与えて振動附勢すると、可動鉄心2が、パイプ3内を軸方向に振動することを可能としたものである。
図1(b)を参照して、可動鉄心2のパイプ3中における軸方向位置に対し可動鉄心2に作用するリング磁石4の磁気吸引力の特性を説明する。L3は、その磁気吸引力の特性を示す特性線である。図1(b)において、横軸は、可動鉄心2のパイプ3内における軸方向位置を示し、横軸上の0は、可動鉄心2の静止位置を示す。横軸上の「→右」は、可動鉄心2の中心位置P1が静止位置0に対して右側の位置にあることを示し、横軸上の「左←」は、可動鉄心2の中心位置P1が静止位置0に対して左側の位置にあることを示す。また、縦軸は、可動鉄心2に作用するリング磁石4の磁気吸引力を示し、「0」は磁気吸引力がゼロであり、縦軸上の「→右」は、リング磁石4から可動鉄心2に作用する磁気吸引力の方向が「右」であって、かつ、その強さを示し、縦軸上の「←左」は、リング磁石4から可動鉄心2に作用する磁気吸引力の方向が「左」であって、かつその強さを示す。図1(b)に示すように、可動鉄心2の中心位置P1が静止位置0にあるときは、リング磁石4から可動鉄心2に作用する磁気吸引力は0である。
このような可動鉄心2に作用するリング磁石4の磁気吸引力は、磁気抵抗が最小になるように可動鉄心2に作用し(リラクタンス力)、これにより可動鉄心2の中心位置P1が、リング磁石4の中心位置P0と一致するように作用し、つねに可動鉄心2を静止位置0に引き戻すような磁気吸引力を生じる。なお、図1(a)のリング磁石4は、軸方向に着磁されているが、半径方向に着磁されている場合でも同様のリラクタンス力を示す。
図1(b)に示すように、磁気吸引力は、所定範囲で可動鉄心2の位置に比例し、可動鉄心2を静止位置0に戻すように働く。例えば、可動鉄心2の軸方向中心位置P1が横軸上の静止位置0より右方(→右)になるほど、可動鉄心2をリング磁石4が左方向に吸引する磁気吸引力は大きくなり、可動鉄心2の中心位置P1が横軸上の静止位置0より左方(左←)になるほど、可動鉄心2をリング磁石4が右方向に吸引する磁気吸引力は大きくなる。そして、この磁気吸引力特性を示す特性線L3は、静止位置0を中心として右方(→右)および左方(左←)において所定範囲ではほぼ直線的つまり一定の傾斜勾配になっている。すなわち、第1の実施形態では、機械的なバネと同じ力―位置特性を持っており、バネと同様に、リング磁石4は、可動鉄心2の質量とともに共振装置を構成する。第1の実施形態における共振装置では、可動鉄心2に初動を与えて振動附勢すると、この可動鉄心2には共振周波数の過渡振動が生じる。
〔第2の実施形態〕
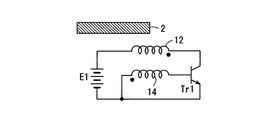
図2(a)は、本発明の第2の実施形態を示すものである。第2の実施形態では、図1(a)の可動鉄心2とリング磁石4とよりなる共振装置に、可動鉄心2の前記振動付勢用として第1のソレノイド12を加えた振動装置の構成となっている。第1のソレノイド12は、リング磁石4に対して図中、右方においてパイプ3の外周囲を包囲して配置されている。また、第1のソレノイド12の軸は、リング磁石4、可動鉄心2の軸と共通となっているが、第1のソレノイド12の軸方向の中心位置は可動鉄心2の静止位置と異なっている。
第1のソレノイド12が可動鉄心2に与える力は、可動鉄心2が第1のソレノイド12の発生する磁力に対して磁気抵抗最小の位置に移動するように働く(リラクタンス力)。これにより、第1のソレノイド12から可動鉄心2には、可動鉄心2を第1のソレノイド12の中心に移動させるように磁気吸引力が作用する。
図2(b)は、図2(a)の振動装置における可動鉄心2に働く力を表したものであり、横軸および縦軸は、図1(b)の横軸および縦軸と同様である。図2(b)中、実線の特性線L3は図1(b)のそれと同様にリング磁石4によるものであり、破線の特性線L4は第1のソレノイド12により可動鉄心2に作用する磁気吸引力の特性を示す線である。特性線L4に示すように、第1のソレノイド12は、静止位置0付近にある可動鉄心2に対しては右方向に磁気吸引力を及ぼす。第1のソレノイド12は可動鉄心2が静止しているときは右方向に初動を与え、可動鉄心2が右方向に移動している間に第1のソレノイド12を励磁すると、右方向への移動速度が増大し、可動鉄心2の振動が附勢されて振幅が増大する。
リング磁石4により可動鉄心2内を通過する磁力線も、第1のソレノイド12の電流と作用して電磁力を生じるが、その電磁力はリラクタンス力ほど大きくはない。リラクタンス力は磁界の極性に無関係であるが、電磁力の方向はフレミングの左手の法則により磁界と電流の方向で決まる。第1のソレノイド12の電流の方向は、リング磁石4による可動鉄心2中の磁力線と同極性の磁力線が発生する方向とすれば、電磁力はリラクタンス力に加算される。
図2(b)に示すように、第1のソレノイド12の磁気吸引力は、当該第1のソレノイド12の中心位置に可動鉄心2を引き込むように作用し、可動鉄心2が静止位置0付近にあるときは右方向に可動鉄心2を駆動する。
このように、共振装置に第1のソレノイド12を加えて共振装置の振動を附勢することが出来、振動を持続するには、振動附勢用のソレノイド12を毎振動周期中に所定の位相で短時間励磁する。これにより、持続振動する振動装置を構成することができる。
なお、第1のソレノイド12は、リング磁石4に対して図中、右方においてパイプ3の外周囲を包囲して配置されているが、リング磁石4に対して左方に配置されてもよい。
図3は、図2(a)の振動装置において、第1のソレノイド12の励磁回路の一例を示す。図3において、E1は直流電源、Tr1はnpn型のトランジスタである。第1のソレノイド12は、励振用として直流電源E1の正極とトランジスタTr1のコレクタとの間に直列に接続されている。14は、附勢用の第1のソレノイド12と電磁結合したフィードバックコイルであり、トランジスタTr1のベースとエミッタとの間に接続されている。励振用の第1のソレノイド12は、可動鉄心2に対して右方向に磁気吸引力を作用するので、可動鉄心2が右方向に移動している期間に励磁することによって振動を附勢することができる。第1のソレノイド12は、トランジスタTr1のオンオフによって、所定の期間、可動鉄心2を励磁する。
トランジスタTr1の駆動信号は、信号発生回路(図示せず)によって与えても良いが、第1のソレノイド12と結合したフィードバックコイル14によって与えることができる。
可動鉄心2が軸方向右方に移動するときは、第1のソレノイド12中の磁束が増加し、第1のソレノイド12にE1側正,フィードバックコイル14にベース側正の電圧を誘起する。これにより、トランジスタTr1がオンに駆動され、第1のソレノイド12が直流電源E1より通電され、可動鉄心2に右方向の磁気吸引力が作用する。可動鉄心2が左方に移動するときは、フィードバックコイル14の誘起電圧が負となり、トランジスタTr1はオフである。その結果、振動が附勢される。
〔第3の実施形態〕
図4は、本発明の第3の実施形態を示すものである。図4では、図中の上下方向を重力が作用する向きとする。パイプ3は、軸方向を上下方向に一致させて配置すると共に、可動鉄心2を内部に挿入したパイプ3の外周囲にリング磁石4を配置し、リング磁石4より上側に第1のソレノイド12を配置する。この配置構成により、可動鉄心2は、図4中、上下方向に振動してベル5を連打してベル音を発生させる。第1のソレノイド12の磁気吸引力は強く、振動は正弦波状である必要はないので、ベル5の打棒となる可動鉄心2を駆動するのに適する。第1のソレノイド12の励磁期間と励磁周期とを制御することにより、ベル音の強さを調節することができる。パイプ3の前記した上下方向の配置は、パイプ3と可動鉄心2との摩擦を小さくする効果があり、下方向の励振には可動鉄心2に作用する重力を利用できる。
〔第2の他の実施形態〕
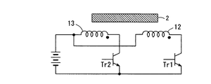
図5(a)は、本発明の第2の他の実施形態を示すものである。図5(a)では、図2のリング磁石4と可動鉄心2とよりなる共振装置に第1のソレノイド12を加えたものに、さらに第2のソレノイド13が加えられている。第2のソレノイド13は、リング磁石4、第1のソレノイド12と可動鉄心2と軸を共通にするが、その中心位置はリング磁石4を挟んで第1のソレノイド12とは対称の位置にある。すなわち、第1のソレノイド12が可動鉄心2の静止位置の右にあれば、第2のソレノイド13は可動鉄心2の静止位置の左に配置される。
〔第3の他の実施形態〕
図5(a)はまた、本発明の第3の他の実施形態を示すものである。パイプ3は図中、その長手方向を軸方向に一致させて配置され、これにより、可動鉄心2は左右方向に振動してベル5を連打する。第1のソレノイド12および第2のソレノイド13の磁気吸引力は強く、振動は正弦波状である必要はないので、ベルの打棒を駆動するのに適する。第1のソレノイド12と共に第2のソレノイド13の励磁期間で音の強さを調節することができる。可動鉄心2は半サイクルごとに附勢されるので強力に振動し、強いベル音を発生することができる。
図5(b)は、L3:リング磁石4、L4:第1のソレノイド12、L5:第2のソレノイド13の可動鉄心2に与える磁気吸引力特性を示す。第2のソレノイド13の磁気吸引力は、その中心位置に可動鉄心2を引き込むように作用し、可動鉄心2が静止位置付近にあるときは左方向に鉄心を駆動する。
図6は、図5(a)の振動装置において第1、第2のソレノイド12、13の励磁回路の例を示す。励振用の第2のソレノイド13は、可動鉄心2に対して左方向に磁気吸引力を作用するので、可動鉄心2が左方向に移動している期間に励磁することによって振動を附勢することができる。第2のソレノイド13は、直列に接続されたトランジスタTr2のオンオフによって第1のソレノイド12とは逆の位相で所定の期間励磁する。
なお、実施形態では、リング磁石4は、1個であったが、起磁力を強くするうえでは、複数個とし、軸方向に密接して並置し等価的に図1(a)のL1を大きくしてもよい。
2 可動鉄心
3 パイプ
4 リング磁石
5 ベル
12 第1のソレノイド(励振用)
13 第2のソレノイド(励振用)
14 フィードバックコイル(発振用)

Claims (3)

  1. 軸方向に貫通した貫通穴を有するリング磁石と、前記貫通穴内を軸方向移動可能に配置された可動鉄心とを備え、前記リング磁石の軸方向の中心位置と前記可動鉄心の軸方向の静止位置とが一致ないしほぼ一致し、前記リング磁石の磁気吸引力と前記可動鉄心の質量とで共振状態となることが可能となっていることを特徴とする共振装置。
  2. 請求項1に記載の共振装置と、前記共振装置のリング磁石と軸を共通にして軸方向一方側または両側に並置されたソレノイドとを備え、前記共振装置の可動鉄心の振動周期のうち特定の期間、前記ソレノイドを励磁して、前記可動鉄心の振動を附勢することが可能となっていることを特徴とする振動装置。
  3. 請求項2に記載の振動装置と、前記振動装置の可動鉄心を打棒としたベルとを含み、前記可動鉄心により前記ベルを連打することが可能となっていることを特徴とするベル鳴動装置。
JP2012278066A 2012-12-20 2012-12-20 共振装置、振動装置およびベル鳴動装置 Expired - Fee Related JP5661728B2 (ja)

Priority Applications (1)

Application Number Priority Date Filing Date Title
JP2012278066A JP5661728B2 (ja) 2012-12-20 2012-12-20 共振装置、振動装置およびベル鳴動装置

Applications Claiming Priority (1)

Application Number Priority Date Filing Date Title
JP2012278066A JP5661728B2 (ja) 2012-12-20 2012-12-20 共振装置、振動装置およびベル鳴動装置

Publications (2)

Publication Number Publication Date
JP2014121663A true JP2014121663A (ja) 2014-07-03
JP5661728B2 JP5661728B2 (ja) 2015-01-28

Family

ID=51402643

Family Applications (1)

Application Number Title Priority Date Filing Date
JP2012278066A Expired - Fee Related JP5661728B2 (ja) 2012-12-20 2012-12-20 共振装置、振動装置およびベル鳴動装置

Country Status (1)

Country Link
JP (1) JP5661728B2 (ja)

Cited By (1)

* Cited by examiner, † Cited by third party
Publication number Priority date Publication date Assignee Title
JP2019055612A (ja) * 2017-09-19 2019-04-11 Joyson Safety Systems Japan株式会社 ステアリングホイール

Citations (7)

* Cited by examiner, † Cited by third party
Publication number Priority date Publication date Assignee Title
JPS514759B1 (ja) * 1970-10-31 1976-02-14
JPS5752787U (ja) * 1980-09-10 1982-03-26
JPS603895U (ja) * 1983-06-18 1985-01-12 日本電気株式会社 磁石電鈴のプランジヤ
JPS61167367A (ja) * 1985-01-17 1986-07-29 Mitsubishi Mining & Cement Co Ltd 電磁アクチユエイタ−
JP2001178103A (ja) * 1999-12-08 2001-06-29 Shisei Chin 磁石装置
JP2002199689A (ja) * 2000-09-29 2002-07-12 Matsushita Electric Works Ltd リニアオシレータ
JP5500659B2 (ja) * 2011-12-19 2014-05-21 大光電気株式会社 振動装置、ベル鳴動装置および共振装置

Patent Citations (7)

* Cited by examiner, † Cited by third party
Publication number Priority date Publication date Assignee Title
JPS514759B1 (ja) * 1970-10-31 1976-02-14
JPS5752787U (ja) * 1980-09-10 1982-03-26
JPS603895U (ja) * 1983-06-18 1985-01-12 日本電気株式会社 磁石電鈴のプランジヤ
JPS61167367A (ja) * 1985-01-17 1986-07-29 Mitsubishi Mining & Cement Co Ltd 電磁アクチユエイタ−
JP2001178103A (ja) * 1999-12-08 2001-06-29 Shisei Chin 磁石装置
JP2002199689A (ja) * 2000-09-29 2002-07-12 Matsushita Electric Works Ltd リニアオシレータ
JP5500659B2 (ja) * 2011-12-19 2014-05-21 大光電気株式会社 振動装置、ベル鳴動装置および共振装置

Cited By (1)

* Cited by examiner, † Cited by third party
Publication number Priority date Publication date Assignee Title
JP2019055612A (ja) * 2017-09-19 2019-04-11 Joyson Safety Systems Japan株式会社 ステアリングホイール

Also Published As

Publication number Publication date
JP5661728B2 (ja) 2015-01-28

Similar Documents

Publication Publication Date Title
KR101157985B1 (ko) 리니어 진동모터
US20200412228A1 (en) Vibration motor
JP2019201486A (ja) リニア振動モータ及び電子機器
CN104702078B (zh) 永磁直线振荡电机及电动设备
KR101557717B1 (ko) 선형 진동 발생장치
US20190006926A1 (en) Linear vibration motor
RU2007118507A (ru) Магнитная цепь, имеющая сдвоенный магнит, громкоговоритель и генерирующее колебания устройство с использованием такой магнитной цепи
WO2021121055A1 (zh) 一种振动装置
WO2018058807A1 (zh) 线性振动马达
JP5500659B2 (ja) 振動装置、ベル鳴動装置および共振装置
JPWO2016114383A1 (ja) リニア振動モータ
JP2022077291A (ja) リニア振動モータ
JP4422354B2 (ja) 電気−機械−音響変換器
JPWO2015122151A1 (ja) 電磁継電器
KR101779290B1 (ko) 선형 진동자
KR101197095B1 (ko) 진동 모터 및 이를 가진기로 적용한 전기 집진기
JP5661728B2 (ja) 共振装置、振動装置およびベル鳴動装置
TW200621385A (en) Flat oscillating actuator
JP2017212793A (ja) リニア振動モータ
JP2016025818A (ja) 発電機
WO2018008280A1 (ja) リニア振動モータ
JPH10146035A (ja) 振動発生器の取付構造
JP2021029064A (ja) ステッピングモータ
JP2010029744A (ja) 振動装置および携帯機器
JP2021029076A (ja) ステッピングモータ

Legal Events

Date Code Title Description
A621 Written request for application examination

Free format text: JAPANESE INTERMEDIATE CODE: A621

Effective date: 20140728

A871 Explanation of circumstances concerning accelerated examination

Free format text: JAPANESE INTERMEDIATE CODE: A871

Effective date: 20140803

A975 Report on accelerated examination

Free format text: JAPANESE INTERMEDIATE CODE: A971005

Effective date: 20140827

A131 Notification of reasons for refusal

Free format text: JAPANESE INTERMEDIATE CODE: A131

Effective date: 20140902

A521 Request for written amendment filed

Free format text: JAPANESE INTERMEDIATE CODE: A523

Effective date: 20141029

TRDD Decision of grant or rejection written
A01 Written decision to grant a patent or to grant a registration (utility model)

Free format text: JAPANESE INTERMEDIATE CODE: A01

Effective date: 20141118

A61 First payment of annual fees (during grant procedure)

Free format text: JAPANESE INTERMEDIATE CODE: A61

Effective date: 20141203

R150 Certificate of patent or registration of utility model

Ref document number: 5661728

Country of ref document: JP

Free format text: JAPANESE INTERMEDIATE CODE: R150

R250 Receipt of annual fees

Free format text: JAPANESE INTERMEDIATE CODE: R250

R250 Receipt of annual fees

Free format text: JAPANESE INTERMEDIATE CODE: R250

R250 Receipt of annual fees

Free format text: JAPANESE INTERMEDIATE CODE: R250

R250 Receipt of annual fees

Free format text: JAPANESE INTERMEDIATE CODE: R250

R250 Receipt of annual fees

Free format text: JAPANESE INTERMEDIATE CODE: R250

R250 Receipt of annual fees

Free format text: JAPANESE INTERMEDIATE CODE: R250

LAPS Cancellation because of no payment of annual fees