JP2014088735A - スクリーン装置 - Google Patents

スクリーン装置 Download PDF

Info

Publication number
JP2014088735A
JP2014088735A JP2012240345A JP2012240345A JP2014088735A JP 2014088735 A JP2014088735 A JP 2014088735A JP 2012240345 A JP2012240345 A JP 2012240345A JP 2012240345 A JP2012240345 A JP 2012240345A JP 2014088735 A JP2014088735 A JP 2014088735A
Authority
JP
Japan
Prior art keywords
guide
screen
movable rod
frame
movable
Prior art date
Legal status (The legal status is an assumption and is not a legal conclusion. Google has not performed a legal analysis and makes no representation as to the accuracy of the status listed.)
Granted
Application number
JP2012240345A
Other languages
English (en)
Other versions
JP5792144B2 (ja
Inventor
Hiroshi Kamozawa
洋志 鴨沢
Masahito Moriya
将人 守谷
Current Assignee (The listed assignees may be inaccurate. Google has not performed a legal analysis and makes no representation or warranty as to the accuracy of the list.)
Seiki Hanbai Co Ltd
Original Assignee
Seiki Hanbai Co Ltd
Priority date (The priority date is an assumption and is not a legal conclusion. Google has not performed a legal analysis and makes no representation as to the accuracy of the date listed.)
Filing date
Publication date
Application filed by Seiki Hanbai Co Ltd filed Critical Seiki Hanbai Co Ltd
Priority to JP2012240345A priority Critical patent/JP5792144B2/ja
Publication of JP2014088735A publication Critical patent/JP2014088735A/ja
Application granted granted Critical
Publication of JP5792144B2 publication Critical patent/JP5792144B2/ja
Active legal-status Critical Current
Anticipated expiration legal-status Critical

Links

Images

Landscapes

  • Operating, Guiding And Securing Of Roll- Type Closing Members (AREA)

Abstract

【課題】スクリーン装置のスクリーン枠の縦方向の大きさが多少ずれても、可動框の下部がそれをガイドする下部ガイド上から外れることがないスクリーン装置を提供する。
【解決手段】上部横枠2に吊られて移動する可動框20の横移動に伴って、多数のガイド駒51を屈曲自在に連結したスクリーンガイド50が出入りする可動框の導出入部40が、可動框の下端部にある本体部材41と、それに対して上下動可能に保持されてスクリーンガイドを可動框内に導入する転向ガイド42とを備える。該転向ガイドは、可動框に導入されるスクリーンガイドを転向させる傾斜曲面42bを有し、また、スクリーン枠の下部のレール状の下部ガイド7に接する下面の幅方向両側に、下部ガイドの両側縁に係合して下部ガイド上から外れないようにするガイド壁42fを有し、本体部材との間に設けられたバネ44により下部ガイドに押し付けられて、それから外れるのを抑制される。
【選択図】図1

Description

本発明は、スクリーン枠の一端に固定したスクリーンの他端を、横枠に沿って移動可能な可動框により横引きで開閉可能とし、上記スクリーンの下端を多数のガイド駒の連結により形成したスクリーンガイドによってガイドするようにしたスクリーン装置に関するものである。
スクリーン枠の一方の側枠にスクリーンの一端を固定すると共に、該スクリーンの他端を、上記スクリーン枠の横枠に横移動をガイドされる可動框に固定し、上記スクリーンの下端をガイドするガイド駒の多数を、それぞれ屈曲自在に連結してなる可撓のスクリーンガイドの一端を、上記可動框の横移動に伴って上記側枠及び可動框の一方における下端から出入り可能とし、該スクリーンガイドの他端を、上記側枠及び可動框の他方における下端に固定したスクリーン装置は、例えば、特許文献1において既に知られている。
上記特許文献1に開示されているようなスクリーン装置において、可動框の横移動を円滑にするために、該可動框の上端に設けた吊車を上部横枠に設けたレール上において転動させるようにして該可動框を吊下すると、このスクリーン装置を設置する建物開口部等においてスクリーン枠の上下横枠が平行でない場合、或いは平行でなくなった場合に、上記可動框を円滑に操作できなくなる。即ち、例えば、上下いずれかの横枠のガイド面に部分的な上下変動があったり、建物自体の経年的変化により上下いずれかの横枠のガイド面の一部等に上下の傾きが生じた場合に、該可動框が上部横枠のガイド面を基準として横移動することから、該可動框の下端が横移動する部位に設けられている下部ガイドから浮上して、可動框が該下部ガイドから外れ、下部ガイドに沿って可動框を円滑に移動させることができなくなる。また、それに伴って、下部ガイドにガイドさせているスクリーンガイドも、下部ガイドから外れる可能性があり、この場合にはスクリーン装置に部分的な破損が生じることもある。
特許第4956236号公報
本発明の技術的課題は、可動框の上端に設けた吊車を上部横枠に設けたレール上において転動させ、上記スクリーンの下端を多数のガイド駒の連結により形成したスクリーンガイドによってガイドするようにしたスクリーン装置において、可動框の下端にある下部ガイドが平坦でなくても、上記可動框の下端やスクリーンガイドが下部ガイド上から外れたりすることがなく、該下部ガイドに沿って安定的に摺動できるようにしたスクリーン装置を提供することにある。
上記課題を解決するために、本発明によれば、スクリーン枠の一方の側枠にスクリーンの一端を固定すると共に、スクリーンの他端を上記スクリーン枠の上部横枠に横移動をガイドされる可動框に固定し、上記スクリーンの下端をガイドするガイド駒の多数をそれぞれ屈曲自在に連結してなる可撓のスクリーンガイドの一端を、上記可動框の横移動に伴って該可動框内にその下端の導出入部から出入り可能とし、該スクリーンガイドの他端を上記側枠の下端に固定したスクリーン装置において、上記スクリーン枠の下部に、上記可動框の下端及びスクリーンガイドの下面をガイドするレール状の下部ガイドを設け、上記可動框の上端に設けた吊車を上部横枠のガイド面上において転動させるようにして該可動框を吊下し、該可動框の下端に設けた上記スクリーンガイドの導出入部において、可動框の下端部に固定した本体部材に、上記スクリーンガイドにおける隣接ガイド駒が屈曲するのをガイドする傾斜曲面をもった上下動可能な転向ガイドを、バネの付勢力により上記下部ガイドに押付けるようにして保持させ、しかも、該転向ガイドにおける下部ガイドに接する下面の幅方向両側に、該下部ガイドの両側縁に係合して上記転向ガイドが下部ガイド上から外れないようにするガイド壁を設けていることを特徴するスクリーン装置が提供される。
本発明のスクリーン装置の好ましい実施形態においては、上記スクリーンを左右一対のスクリーンにより形成し、上記スクリーン枠の上部横枠にガイドされたスクリーンの巻取りのためのスプリングを内蔵した巻軸を、上記一対のスクリーンの中間に位置させて、それらのスクリーンの各一端を取り付け、一方のスクリーンの他端は可動框に、他方のスクリーンの他端は上記スクリーン枠の側枠に固定し、上記可撓のスクリーンガイドにおける各ガイド駒の底板下面の幅方向両側に、該下部ガイドの両側縁に係合して上記ガイド駒が下部ガイド上から外れないようにするためのガイド壁を設け、このスクリーンガイドに上記一対のスクリーン及び巻軸の下端をガイドさせたものとして構成することができる。
また、本発明のスクリーン装置の他の好ましい実施形態においては、上記スクリーンガイドの導出入部における本体部材が、可動框の下端部に固定する固定部と、上記スクリーンガイドを導出入する導出入口と、該スクリーンガイドを可動框内の上部に出し入れする導通口と、上記転向ガイドを上下動自在に収容すると共に、上記スクリーンガイドのガイド駒を通過させるための空孔を形成する中間孔と、該本体部材に上記転向ガイドを上下動可能に支持するための支持構造とを有し、上記導出入部における本体部材の支持構造により、上記転向ガイドを上記中間孔内において昇降自在に支持させ、該転向ガイドを、本体部材におけるスクリーンガイドの導出入口と、該スクリーンガイドを可動框内の上部に出し入れする導通口との間に、上記傾斜曲面が位置するように配しているものとして構成される。
更に、本発明のスクリーン装置の好ましい実施形態においては、上記各ガイド駒の底板の中心線方向の一端側が中央部において山形に突出し、逆に、該底板の他端側が中央部において上記山形とは逆の溝形に凹んでいて、隣接するガイド駒の底板を平らな面上において相互に接触させたときに、両ガイド駒の底板の端面がぴたりと一致するように形成される。
上述した本発明に係るスクリーン装置によれば、可動框の上端に設けた吊車を上部横枠に設けたレール上において転動させ、上記スクリーンの下端を多数のガイド駒の連結により形成したスクリーンガイドによってガイドするようにしたスクリーン装置において、可動框の下端にある下部ガイドが平坦でなくても、上記可動框の下端やスクリーンガイドが下部ガイド上から外れたりすることがなく、該下部ガイドに沿って安定的に摺動できるようにしたスクリーン装置を得ることができる。
本発明に係るスクリーン装置の実施例を示す部分破断正面図である。 図1におけるX−X位置での側断面図である。 上記スクリーン装置の平断面図である。 上記スクリーン装置における可動框の下端部の断面図であり、(a)は転向ガイド42が最上位にある場合、(b)は同最下位にある場合を示している。 上記スクリーン装置における可動框の下部の導出入部の分解図であって、(a)は分解側断面図、(b)は分解正面図である。 上記スクリーン装置のスクリーンガイドの構成を示し、(a)は該スクリーンガイドの平面図、(b)は該スクリーンガイドの側断面図である。 上記スクリーン装置におけるスクリーンガイドのガイド駒の形態を示し、(a)は正面図、(b)は平面図、(c)は底面図、(d)は右側面図である。 上記ガイド駒の斜視図である。
以下に、本発明に係るスクリーン装置を、図面に基づいて詳細に説明する。なお、以下に説明する実施形態は、本発明に係るスクリーン装置を主として防虫網戸に適用する場合について説明するが、防虫を目的とするものに限定されず、防塵、遮光、断熱又は目隠し等を目的としたスクリーン装置にも適用することができる。
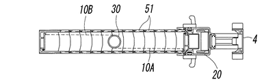
図1〜図3に示すように、本発明に係るスクリーン装置は、建物開口部等に設置するスクリーン枠1の上部横枠2にガイドされて横移動可能で、防虫用のネットからなるスクリーンの一端が固定されている可動框20及びスクリーンの巻取機能を有する巻軸30とを有している。該巻軸30は、一対のスクリーン10A,10Bの中間に位置して巻取りスプリング31を内蔵し、両スクリーン10A,10Bを二重に巻き取るもので、上記可動框20には該巻軸30のスプリング31によってスクリーンの開方向の付勢力が作用している。なお、上記一対のスクリーン10A,10B及び巻軸30に代えて、側枠3内に設けた巻軸に単一のスクリーンを巻き取り、該スクリーンの多端に上記可動框20を取り付けたものとして構成することもできる。
上記スクリーン装置において、上記スクリーン10Aは、一端が上記可動框20に固定され、また、上記スクリーン10Bは、一端がスクリーン枠1の側枠3に固定され、両スクリーンの他端はいずれも上記巻軸30に巻き取られるものである。上記スクリーン10A,10Bの下端及び上記巻軸30の下端は、いずれも、複数のガイド駒51を連結して形成したスクリーンガイド50の上に横移動自在に収容されている。
上記スクリーン枠の上部横枠2は、図2に示すように、その長手方向に沿う前後両側に下方に伸びる一対の垂下壁2aを有し、該垂下壁2a内のレール2b上に、上記可動框20及び巻軸30の上端部に設けた吊車20a及び吊車30aを転動するようにして、それらが横移動自在に吊られている。更に、上記スクリーン枠1は、上記スクリーン10Bの一端が固定された側枠3に対向させて、スクリーンを展張したときに上記可動框20が衝合する受け枠4が配設され、可動框20との間にそれらの衝合時に相互に係合するラッチ機構を備えている。
一方、上記スクリーン枠の下部に設けたレール状の下部ガイド7は、その上を上記スクリーンガイド50の各ガイド駒51及び可動框20の下端を摺動させるもので、それらの摺動の態様については詳細に後述する。
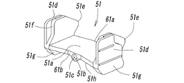
次に、上記スクリーンガイド50の構成について、図6〜図8を参照して詳細に説明する。上記スクリーンガイド50は、図7及び図8に示すガイド駒51の多数を連接したもので、それぞれのガイド駒51は同じ形状を有し、上記スクリーン10A,10B、及び巻軸30の下端を保持するように、底板51aと、該底板51aの両端にある立壁51dとにより、中心線に関して対称な溝形状を有し、上記底板51a及び立壁51dの内表面は上記スクリーン10A,10B及び巻軸30の下端が円滑に摺動できるように平滑な面に形成されている。
上記ガイド駒51の底板51aは、その中心線方向に凸形の一端側61a(以下、これを前面側と呼ぶ。)が中央部において山形に突出し、逆に、底板51aの他端側61b(以下、これを後面側と呼ぶ。)は、中央部において上記山形とは逆の溝形に凹んでいる。そして、隣接するガイド駒51の底板51aを平らな面上において上記一端側61aと他端側61bとを相互に突き当てると、両ガイド駒51の底板51aの端面がぴたりと一致するように形成し、このような状態でガイド駒51を連結すると、図6(a)のスクリーンガイド50が紙面内において湾曲しない状態に形成され、そのため、巻軸30の下端をこのスクリーンガイド50において保持させた場合には、スクリーンに対して風等の作用があってもそれに対向できる強度をスクリーンガイド50により保たせることができる。また、上記底板51aの裏面の中央部には、内部に可撓性のワイヤー54を通すための通孔51cが設けられた凸部51bが形成されている。
上記ガイド駒51の立壁51dは、底板51aより上の部分において外側片と内側片とが接合された形態を有し、該立壁51dの前面側には内側片が突出する凸部51eが、後面側には内側片が後退した凹部51fがあり、隣接する両ガイド駒51の底板51aの端面をぴたりと一致させたとき、上記前面側の内側片の凸部51eが隣接するガイド駒51の後面側の内側片の凹部51fに嵌り込み、その状態では、隣接するガイド駒51がそれぞれ上に凹になる方向には屈曲自在で、この場合には突出する内側片及び底板51aのずれ動きによる部分的な当接で屈曲範囲が制限されるが、逆方向には、上記突出及び後退した内側片の周縁並びに底板51aの端面の接触によって相互に屈曲しないように形成されている。
上記ガイド駒51の立壁51dの下部には、上記底板51aよりも下方に伸びて、このガイド駒51を連接したスクリーンガイド50がレール状の下部ガイド7に沿ってその上を移動するとき、該下部ガイド7の両側縁に係合して該下部ガイドから脱線するのを抑止するガイド壁51gを凸設している。従って、特別の外乱がない限り、上記ガイド壁51gによりガイド駒51がレール状の下部ガイド7から外れることがなく、上記スクリーンガイド50はレール状の下部ガイド7に沿って安定的に走行することになる。また、上記各ガイド駒51の底板51aの下面には、その前面側から後面側に向けて小さい突条51hを設けている。この突条51hは、上記ガイド駒51を下部ガイド7の平坦な上面に沿って摺動させるとき、格別の抵抗を受けることなく円滑に摺動させるために有効なものである。
なお、上記ガイド駒51の底板51aの中央に形成された凸部51bは、上記下部ガイド7の中央にある窪み内に収まるようにするなど、それが障害になるのを避ける必要がある。
図1及び図6に示すように、上記スクリーンガイド50の一端側において、連接したガイド駒51の端部に連結しているバネ保持部材52は、上記可動框20の下端の導出入部40から該可動框20内に導出入するスクリーンガイド50の一端側に連結したもので、該バネ保持部材52は、上記スクリーンガイド50を構成する多数のガイド駒51における通孔51cに挿通したワイヤー54に緊張力を与えるためのバネ53を保持できるように構成している。即ち、該バネ保持部材52は、その先端部にバネ53の一端を固定するネジ52aが螺挿され、反対側の基端には上記バネ53で引張するワイヤー54を通すための通孔52bが設けられ、該バネ保持部材52自体は上記バネ53を保持させるに必要な長さに形成されている。上記スクリーンガイド50は、上記可動框20が横移動するのに伴って、該可動框20の下端の導出入部40から該可動框20内に出入りするものである。
上記スクリーンガイド50は、各ガイド駒51における前記通孔51cに一連のワイヤー54を挿通したうえで、側枠3の下端の端蓋60に該ワイヤー54の一端を固定し(図6参照)、該ワイヤー54の他端を、上記バネ保持部材52に隣接したガイド駒51の通孔51cに挿通したうえで、更に上記バネ保持部材52の通孔52bに挿通し、その先端に取り付けた掛け具56に、一端を上記ネジ52aでバネ保持部材52に取り付けたバネ53の他端を連結している。そのため、上記バネ保持部材52、多数のガイド駒51の各連結端相互間、及び上記端蓋60との間が、上記バネ53の付勢力で互いに圧接された状態に保持され、ガイド駒51が相互に直線状をなす状態で強固に結合される。
なお、上記バネ保持部材52のスクリーンガイド50が連結される基端側は、該バネ保持部材52に隣接するガイド駒51の底板51aの前面側と隙間無く接し、また、上記バネ保持部材52の基端側には、バネ保持部材52に隣接するガイド駒51の底板51aの表面と連結する連結片52cが設けられている。
一方、上記スクリーンガイド50の他端の固定は、図6に示すように、上記側枠3の下端の端蓋60の底板60aにおけるスクリーンガイド50との連結端60bを、該スクリーンガイド50の端部ガイド駒51における底板51a及び立壁51dの連結端と密接するような形態に形成し、また、上記端蓋60の底板60aの下面には、ガイド駒51における底板下面の通孔51cを有する凸部51bと同様な形態の通孔60d及び凸部60cを設けている。上記底板60aの通孔60dは、ガイド駒51の通孔51cに連通したうえで、該ガイド駒51の通孔51cに挿通したワイヤー54の端部を挿入して、その先端に固定リング60eを圧嵌することにより、ワイヤー54の端部を固定するものである。従って、上記バネ保持部材52に一端を固定した上記バネ53の付勢力により、ワイヤー54を介して連接された多数のガイド駒51が、上記バネ保持部材52と上記端蓋60との間で相互に押圧されることになる。
このように、隣接するガイド駒51同士がバネ53により互いに押圧されると、ガイド駒51間に余分な隙間ができないだけでなく、多数のガイド駒51が整然と整列することになり、そのため、上記可動框20に出入りするガイド駒51が該可動框20の一部に引っ掛かったりすることがなく、上記可動框20が円滑に上記下部ガイド7上を横移動することが可能となる。また、上記バネ保持部材52、ガイド駒51、端蓋60が直線状に連接され、多数のガイド駒51が上記下部ガイド7上に直線状に配設し、しかも、その直線配列に保持する保持力を高くすることができる。
上記スクリーンガイド50は、可動框20の下端部にある導出入部40を通して該可動框に出入り可能なものであるが、該導出入部40は、図4及び図5から分かるように、可動框20の下端部に固定した本体部材41と、上記スクリーンガイド50が可動框20に出入りする際に隣接ガイド駒51が屈曲するのをガイドする傾斜曲面42bをもった転向ガイド42とを備えている。上記本体部材41は、可動框20内にボルト45によって固定されたものであり、該本体部材41には、上記転向ガイド42の抜止め43aを下端に有する支持棒43を、本体部材41内において下方に突出するように固定して、上記転向ガイド42の支持部42aを該支持棒43に沿って昇降するようにガイドさせ、該支持棒43に外嵌させて本体部材41と転向ガイド42との間に配設したバネ44の付勢力により、該転向ガイド42が下方に押圧させている。
図4(a)は、上記転向ガイド42の支持棒挿入部42cの上端が本体部材41に当接した最上位置にある状態を示し、図4(b)は、上記転向ガイド42がバネ44の付勢力により最下位置である支持棒43の抜止め43aに当接した状態を示し、両図の範囲内で下部ガイド7の高さの変動に対して転向ガイド42の位置を追随させることができる。
上記導出入部40の構成について具体的に説明すると、該導出入部40の本体部材41は、該本体部材41を上記可動框20の下端部にボルト45によって固定するための固定部41aと、上記スクリーンガイド50を導出入する導出入口41bと、該スクリーンガイド50を可動框20内の上部に出し入れする導通口41cと、上記転向ガイド42を上下動自在に収容すると共に、上記スクリーンガイド50のガイド駒51を通過させるための空孔を形成する中間孔41dと、該本体部材41に上記転向ガイド42を上下動可能に支持するための上記支持棒43を固定する支持棒固定部41eとを有している。
上記導出入部40の本体部材41に対してバネ44の付勢力により下方に押圧された転向ガイド42は、その下面が常に上記下部ガイド7に接する位置にあり、本体部材41におけるスクリーンガイド50の導出入口41bと、該スクリーンガイド50を可動框20内の上部に出し入れする導通口41cとの間に配設される傾斜曲面42bを有している。この傾斜曲面42bは、スクリーンガイド50が屈曲して転向するのに適した円弧状面により構成され、該傾斜曲面42bの導出入口41b側の下端は、下部ガイド7に接するような曲面に形成され、また、該傾斜曲面42bの上端側は、上記本体部材41の導通口41cに接するように形成されている。更に、上記転向ガイド42の下部ガイド7に接する下面の幅方向両側には、該下部ガイド7の両側縁に係合して常に上記転向ガイド42が下部ガイド7上から脱出しないようにするためのガイド壁42fを設けている。
上記可動框20は、上端が吊車20aにより上部横枠2に吊下されているため、下部ガイド7が平坦面上に設けられていないとき、つまり、上部横枠2のレール2bの表面と下部ガイド7の表面との間の長さに部分的な変動がある場合には、下部ガイド7の凹凸に応じて可動框20が該下部ガイド7に対して昇降し、可動框20の下端のガイドが不安定になるが、上述したように、可動框20の下端の導出入部40における本体部材41に、バネ44の付勢力により下方に押圧された転向ガイド42を設けているので、該転向ガイド42により下部ガイド7上を移動するスクリーンガイド50を円滑に可動框20内に導出入できるばかりでなく、上記ガイド壁51gの存在により可動框20の下端を常に安定的に下部ガイド7によりガイドさせることができる。
以上、本発明に係るスクリーン装置について説明してきたが、本発明に係るスクリーン装置は上記の実施形態に限定されることなく、特許請求の範囲の趣旨を逸脱しない範囲で様々な設計変更が可能であることは言うまでもない。
2 上部横枠
3 側枠
4 受け枠
7 下部ガイド
10A,10B スクリーン
20 可動框
30 巻軸
40 導出入部
41 本体部材
42 転向ガイド
42b 傾斜曲面
43 支持棒
44 バネ
50 スクリーンガイド
51 ガイド駒
54 ワイヤー
60 端蓋

Claims (4)

  1. スクリーン枠の一方の側枠にスクリーンの一端を固定すると共に、スクリーンの他端を上記スクリーン枠の上部横枠に横移動をガイドされる可動框に固定し、上記スクリーンの下端をガイドするガイド駒の多数をそれぞれ屈曲自在に連結してなる可撓のスクリーンガイドの一端を、上記可動框の横移動に伴って該可動框内にその下端の導出入部から出入り可能とし、該スクリーンガイドの他端を上記側枠の下端に固定したスクリーン装置において、
    上記スクリーン枠の下部に、上記可動框の下端及びスクリーンガイドの下面をガイドするレール状の下部ガイドを設け、
    上記可動框の上端に設けた吊車を上部横枠のガイド面上において転動させるようにして該可動框を吊下し、
    該可動框の下端に設けた上記スクリーンガイドの導出入部において、可動框の下端部に固定した本体部材に、上記スクリーンガイドにおける隣接ガイド駒が屈曲するのをガイドする傾斜曲面をもった上下動可能な転向ガイドを、バネの付勢力により上記下部ガイドに押付けるようにして保持させ、しかも、該転向ガイドにおける下部ガイドに接する下面の幅方向両側に、該下部ガイドの両側縁に係合して上記転向ガイドが下部ガイド上から外れないようにするガイド壁を設けている、
    ことを特徴するスクリーン装置。
  2. 上記スクリーンを左右一対のスクリーンにより形成し、上記スクリーン枠の上部横枠にガイドされたスクリーンの巻取りのためのスプリングを内蔵した巻軸を、上記一対のスクリーンの中間に位置させて、それらのスクリーンの各一端を取り付け、一方のスクリーンの他端は可動框に、他方のスクリーンの他端は上記スクリーン枠の側枠に固定し、
    上記可撓のスクリーンガイドにおける各ガイド駒の底板下面の幅方向両側に、該下部ガイドの両側縁に係合して上記ガイド駒が下部ガイド上から外れないようにするためのガイド壁を設け、このスクリーンガイドに上記一対のスクリーン及び巻軸の下端をガイドさせた、
    ことを特徴とする請求項1に記載のスクリーン装置。
  3. 上記スクリーンガイドの導出入部における本体部材が、可動框の下端部に固定する固定部と、上記スクリーンガイドを導出入する導出入口と、該スクリーンガイドを可動框内の上部に出し入れする導通口と、上記転向ガイドを上下動自在に収容すると共に、上記スクリーンガイドのガイド駒を通過させるための空孔を形成する中間孔と、該本体部材に上記転向ガイドを上下動可能に支持するための支持構造とを有し、
    上記導出入部における本体部材の支持構造により、上記転向ガイドを上記中間孔内において昇降自在に支持させ、該転向ガイドを、本体部材におけるスクリーンガイドの導出入口と、該スクリーンガイドを可動框内の上部に出し入れする導通口との間に、上記傾斜曲面が位置するように配している、
    ことを特徴する請求項1または2に記載のスクリーン装置。
  4. 上記各ガイド駒の底板の中心線方向の一端側が中央部において山形に突出し、逆に、該底板の他端側が中央部において上記山形とは逆の溝形に凹んでいて、隣接するガイド駒の底板を平らな面上において相互に接触させたときに、両ガイド駒の底板の端面がぴたりと一致するように形成している、
    ことを特徴とする請求項1〜3のいずれかに記載のスクリーン装置。
JP2012240345A 2012-10-31 2012-10-31 スクリーン装置 Active JP5792144B2 (ja)

Priority Applications (1)

Application Number Priority Date Filing Date Title
JP2012240345A JP5792144B2 (ja) 2012-10-31 2012-10-31 スクリーン装置

Applications Claiming Priority (1)

Application Number Priority Date Filing Date Title
JP2012240345A JP5792144B2 (ja) 2012-10-31 2012-10-31 スクリーン装置

Publications (2)

Publication Number Publication Date
JP2014088735A true JP2014088735A (ja) 2014-05-15
JP5792144B2 JP5792144B2 (ja) 2015-10-07

Family

ID=50790834

Family Applications (1)

Application Number Title Priority Date Filing Date
JP2012240345A Active JP5792144B2 (ja) 2012-10-31 2012-10-31 スクリーン装置

Country Status (1)

Country Link
JP (1) JP5792144B2 (ja)

Citations (2)

* Cited by examiner, † Cited by third party
Publication number Priority date Publication date Assignee Title
JPS6132475U (ja) * 1984-07-31 1986-02-27 ワイケイケイ株式会社 吊戸の外れ止め装置
JP4996367B2 (ja) * 2007-06-28 2012-08-08 株式会社メタコ スクリーン装置

Patent Citations (2)

* Cited by examiner, † Cited by third party
Publication number Priority date Publication date Assignee Title
JPS6132475U (ja) * 1984-07-31 1986-02-27 ワイケイケイ株式会社 吊戸の外れ止め装置
JP4996367B2 (ja) * 2007-06-28 2012-08-08 株式会社メタコ スクリーン装置

Also Published As

Publication number Publication date
JP5792144B2 (ja) 2015-10-07

Similar Documents

Publication Publication Date Title
JP5792145B2 (ja) スクリーン装置
JP2014152603A (ja) ブラインド
US8662135B2 (en) String-guiding structure for a curtain-reeling device
US8191601B2 (en) Screen device
US20190048659A1 (en) Screen device
JP2007154425A5 (ja)
TW201809446A (zh) 捲軸屏幕裝置
JP2019529757A (ja) 収納家具の安全ロック装置
CN109843393A (zh) 用于锻炼器械的管形架外凸横档
KR102229589B1 (ko) 딘레일에 탈부착이 용이한 고정장치
JP5792144B2 (ja) スクリーン装置
JP2017179843A (ja) ロールスクリーン装置
WO2006038301A1 (ja) 網戸用ネットガイド
JP6469530B2 (ja) バリアフリー型横引きロールスクリーン装置
KR20160144596A (ko) 접이식 파티션 및 이를 구비한 테이블
JP2012075460A (ja) パネル型カーテン
JP5496867B2 (ja) 横引き式スクリーン装置
JP4956236B2 (ja) スクリーン装置
JP6426534B2 (ja) バリアフリー型横引きロールスクリーン装置
JP6665008B2 (ja) スクリーン装置
JP2012251309A (ja) スクリーン装置
JP2011089353A (ja) 吊支式ドア装置
JP2006183275A (ja) 縦型ブラインド
JP4155892B2 (ja) 横引き網戸
EP2757226B1 (en) Insect roller screen for a door

Legal Events

Date Code Title Description
A621 Written request for application examination

Free format text: JAPANESE INTERMEDIATE CODE: A621

Effective date: 20140827

A977 Report on retrieval

Free format text: JAPANESE INTERMEDIATE CODE: A971007

Effective date: 20150723

TRDD Decision of grant or rejection written
A01 Written decision to grant a patent or to grant a registration (utility model)

Free format text: JAPANESE INTERMEDIATE CODE: A01

Effective date: 20150728

A61 First payment of annual fees (during grant procedure)

Free format text: JAPANESE INTERMEDIATE CODE: A61

Effective date: 20150805

R150 Certificate of patent or registration of utility model

Ref document number: 5792144

Country of ref document: JP

Free format text: JAPANESE INTERMEDIATE CODE: R150

R250 Receipt of annual fees

Free format text: JAPANESE INTERMEDIATE CODE: R250

R250 Receipt of annual fees

Free format text: JAPANESE INTERMEDIATE CODE: R250

R250 Receipt of annual fees

Free format text: JAPANESE INTERMEDIATE CODE: R250

S531 Written request for registration of change of domicile

Free format text: JAPANESE INTERMEDIATE CODE: R313531

R350 Written notification of registration of transfer

Free format text: JAPANESE INTERMEDIATE CODE: R350

R250 Receipt of annual fees

Free format text: JAPANESE INTERMEDIATE CODE: R250