JP2014040736A - 芯材の先端部構造、芯材の製造方法、及び、芯材の先端支持力を増大させる方法 - Google Patents

芯材の先端部構造、芯材の製造方法、及び、芯材の先端支持力を増大させる方法 Download PDF

Info

Publication number
JP2014040736A
JP2014040736A JP2012183540A JP2012183540A JP2014040736A JP 2014040736 A JP2014040736 A JP 2014040736A JP 2012183540 A JP2012183540 A JP 2012183540A JP 2012183540 A JP2012183540 A JP 2012183540A JP 2014040736 A JP2014040736 A JP 2014040736A
Authority
JP
Japan
Prior art keywords
core material
tip
flange
core
screw
Prior art date
Legal status (The legal status is an assumption and is not a legal conclusion. Google has not performed a legal analysis and makes no representation as to the accuracy of the status listed.)
Granted
Application number
JP2012183540A
Other languages
English (en)
Other versions
JP5991074B2 (ja
Inventor
Toshimi Sudo
敏己 須藤
Yasuharu Wachi
康晴 和知
Tadahisa Yamamoto
忠久 山本
Teruaki Kubo
輝晃 久保
Koji Watanabe
康司 渡邉
Current Assignee (The listed assignees may be inaccurate. Google has not performed a legal analysis and makes no representation or warranty as to the accuracy of the list.)
Obayashi Corp
Original Assignee
Obayashi Corp
Priority date (The priority date is an assumption and is not a legal conclusion. Google has not performed a legal analysis and makes no representation as to the accuracy of the date listed.)
Filing date
Publication date
Application filed by Obayashi Corp filed Critical Obayashi Corp
Priority to JP2012183540A priority Critical patent/JP5991074B2/ja
Publication of JP2014040736A publication Critical patent/JP2014040736A/ja
Application granted granted Critical
Publication of JP5991074B2 publication Critical patent/JP5991074B2/ja
Active legal-status Critical Current
Anticipated expiration legal-status Critical

Links

Images

Landscapes

  • Consolidation Of Soil By Introduction Of Solidifying Substances Into Soil (AREA)
  • Piles And Underground Anchors (AREA)

Abstract

【課題】地盤改良体に建て込まれて構造物を支持する芯材の先端支持力を増大させると共に、該芯材の地盤改良体への建て込み時の抵抗を低減して施工性を向上させ、且つ、該芯材の先端の加工に要する時間や費用を低減し、該芯材の運搬性を向上させることを課題とする。
【解決手段】地盤改良体20に建て込まれて構造物を支持する芯材10の先端部10Aの構造であって、前記先端部10Aに複数のねじ鉄筋12がナット14によりねじ締結されていることを特徴とする。
【選択図】図1

Description

本発明は、地盤改良体に建て込まれて構造物を支持する芯材の先端部構造、該芯材の製造方法、及び、該芯材の先端支持力を増大させる方法に関する。
ソイルセメント工法等により施工された地盤改良体にH形鋼等の芯材を建て込み、該芯材を杭として適用することが知られている(例えば、特許文献1参照)。この特許文献1には、芯材としてのH形鋼杭の先端支持力の増大を目的として、H形鋼杭の先端に2枚のプレートを取り付けると共に、H形鋼杭の建て込み時の抵抗を小さくして施工性を向上させることを目的として、2枚のプレートの間に開口を設けることが記載されている。特許文献1に記載のH形鋼杭は、両側のフランジの先端を台形状に切断すると共にウェブをその高さに合わせて切断し、各プレートをフランジの斜めの切断面に取り付けた構造となっている。
特開2009−167602号公報
上記H形鋼杭では、先端部の開口率が低いことにより、H形鋼杭の建て込み時の抵抗が増大し、施工性が低下する。また、プレートを上記斜めの切断面に取り付けるためには、、フランジ及びウェブを高精度に切断し、その切断面を研磨する等高精度に仕上げを行ったうえで、溶接作業を実施する必要がある。
ここで、フランジ及びウェブの切断及び仕上げ作業ならびに溶接作業は、建設工事の現場で実施できるような簡易な作業ではなく、工場での実施が必要な特殊作業であるため、H形鋼の工場への搬出入や工場での作業が発生することにより時間と費用が増大する。また、溶接技術者が必要になるため、より一層費用が増大する。さらに、詳細は後述するが、H形鋼の先端にプレートを取り付けることによりH形鋼の運搬性が低下することになる。
本発明は、上記事情に鑑みてなされたものであり、地盤改良体に建て込まれて構造物を支持する芯材の先端支持力を増大させると共に、該芯材の地盤改良体への建て込み時の抵抗を低減して施工性を向上させ、且つ、該芯材の先端の加工に要する時間や費用を低減し、該芯材の運搬性を向上させることを課題とするものである。
上記課題を解決するために、本発明に係る芯材の先端部構造は、地盤改良体に建て込まれて構造物を支持する芯材の先端部の構造であって、前記先端部には、複数の棒状部材が前記芯材の軸方向に対して交差するように配されてねじ締結されていることを特徴とする。
前記芯材の先端部構造において、前記複数の棒状部材は、前記芯材の先端支持力が増大されるように配されていてもよい。
前記芯材の先端部構造において、前記芯材は、H形鋼であってもよく、前記棒状部材は、前記H形鋼の両側又は片側のフランジを貫通して該フランジにねじ締結されていてもよい。また、前記複数の棒状部材は、前記芯材の底側から視て横に並ぶように配されていてもよい。また、前記棒状部材は、前記H形鋼のウェブを挟んだ両側に複数ずつ異なる高さに配され、前記フランジにねじ締結されていてもよい。さらに、前記複数の棒状部材のうちの少なくとも一つは、前記芯材における前記フランジの幅方向の外側に配され、前記フランジにねじ締結されたプレートにねじ締結されていてもよい。
前記芯材の先端部構造において、前記複数の棒状部材は、前記フランジの幅方向両側に鉛直方向に並ぶように配されていてもよい。
また、本発明に係る芯材の製造方法は、地盤改良体に建て込まれて構造物を支持する芯材の製造方法であって、前記芯材の先端部に複数の孔を空けて、該複数の孔に複数の棒状部材を前記芯材の軸方向に対して交差するように挿通し、該複数の棒状部材を前記先端部にねじ締結することを特徴とする。
また、本発明に係る芯材の先端支持力を増大させる方法は、地盤改良体に建て込まれて構造物を支持する芯材の先端部に、複数の棒状部材を前記芯材の軸方向に対して交差するように配してねじ締結することにより、前記芯材の先端支持力を増大させることを特徴とする。
本発明によれば、地盤改良体に建て込まれて構造物を支持する芯材の先端支持力を増大させると共に、該芯材の地盤改良体への建て込み時の抵抗を低減して施工性を向上させ、且つ、該芯材の先端の加工に要する時間や費用を低減し、該芯材の運搬性を向上させることができる。
一実施形態に係る芯材を示す立面図である。 一実施形態に係る芯材を示す底面図(図1の2−2矢視図)である。 (A)、(B)は、芯材の先端部を加工する手順を示す図である。 (A)、(B)は、芯材の運搬状態を示す図である。 (A)、(B)は、従来の芯材の運搬状態を示す図である。 芯材の先端支持力を評価する方法を説明するための底面図である。 芯材を地盤改良体に建て込んでいる状態を示す断面図である。 他の実施形態に係る芯材を示す底面図である。 他の実施形態に係る芯材を示す立面図である。 他の実施形態に係る芯材を示す底面図(図9の10−10矢視図)である。 他の実施形態に係る芯材を示す底面図である。 他の実施形態に係る芯材を示す立面図である。 他の実施形態に係る芯材を示す底面図(図12の13−13矢視図)である。 他の実施形態に係る芯材を示す底面図である。 他の実施形態に係る芯材を示す立面図である。 他の実施形態に係る芯材を示す底面図(図15の16−16矢視図)である。 他の実施形態に係る芯材を示す底面図である。 他の実施形態に係る芯材を示す立面図である。 他の実施形態に係る芯材を示す底面図(図18の19−19矢視図)である。 他の実施形態に係る芯材を示す底面図である。 他の実施形態に係る芯材を示す立面図である。 他の実施形態に係る芯材を示す底面図(図21の22−22矢視図)である。 他の実施形態に係る芯材を示す底面図である。
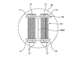
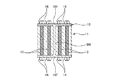
以下、本発明の一実施形態を、図面を参照しながら説明する。図1は、一実施形態に係る芯材10を示す立面図であり、図2は、当該芯材10を示す底面図(図1の2−2矢視図)である。これらの図に示すように、芯材10は、H形鋼であって、ソイルセメント工法により構築された柱状の地盤改良体20内に建て込まれた杭であり、地盤改良体20の底側に位置する先端部10Aに、先端支持力を増大させるための補強構造11を備えている。
上記補強構造11は、芯材10の先端部10Aにねじ締結された4本のねじ鉄筋12を備えている。この4本のねじ鉄筋12は、互いに平行に且つフランジ10Fに対して直角に配されている。一対のフランジ10Fには、ねじ鉄筋12が挿通される孔が形成され、この孔を通してねじ鉄筋12の端部がフランジ10Fの外面から芯材10の外側に突出しており、この突出部に螺合したナット14によりねじ鉄筋12の両端側が一対のフランジ10Fにねじ締結されている。
4本のねじ鉄筋12は、フランジ10Fの幅方向に間隔を空けて配されており、左右の外側の2本のねじ鉄筋12は、フランジ10Fの先端角部10Fcの近傍に配され、左右の内側の2本のねじ鉄筋12は、ウェブ10Wを挟むように配されている。また、左右の内側の2本のねじ鉄筋12は、左右の外側の2本のねじ鉄筋12の斜め上側に配されている。即ち、4本のねじ鉄筋12は、逆V字状に配されている。
ここで、フランジ10Fの縁端から左右の外側のねじ鉄筋12を通す孔の中心までの距離(以下、最小縁端距離という)と、ねじ鉄筋12の最小中心間隔とは、所定の設計標準(例えば、鉄道構造物等設計標準)に準拠して設定する。即ち、最小縁端距離を、フランジ10Fの縁端の破壊によって左右の外側のねじ鉄筋12の締結強度が損なわれないとされる所定寸法以上とし、ねじ鉄筋12の最小中心間隔を、締付け力の分布や応力の伝達が円滑にできるとされる所定寸法以上とする(「鉄道構造部等設計標準・同解説 鋼・合成構造物」(国土交通省鉄道局 監修、鉄道総合技術研究所 編、丸善株式会社発行 平成21年7月)参照)。
図3(A)、(B)は、芯材10の先端部10Aを加工する手順を示す図である。これらの図に示すように、芯材10の先端部10Aを加工するにあたり、まず、図3(A)に示すように、両側のフランジ10Fに各4個の孔Hをあける。ここで、孔Hは、パンチャーやドリル等の機械工具やガス溶断機等の建設工事の現場で使用可能な機械を使用し、且つ、専門の技術者以外でも実施できる方法により加工する。そして、図3(B)に示すように、ねじ鉄筋12を両側のフランジ10Fの孔Hに挿通し、フランジ10Fの外面側からナット14でねじ鉄筋12の両側を両側のフランジ10Fにねじ締結する。以上説明したような加工を、建設工事の現場に芯材10を搬入した後に実施する。
図4(A)、(B)は、芯材10の運搬状態を示す図である。これらの図に示すように、多数の芯材10をまとめて運搬するが、図4(A)に示すように、ウェブ10Wを縦にして芯材10を運搬車両の荷台に積載する場合には、左右に隣り合う芯材10の一方のフランジ10Fが他方の芯材10の両フランジ10F間の溝に入り込むようにする。また、図4(B)に示すように、ウェブ10Wを横にして芯材10を運搬車両の荷台に積載する場合には、上下に隣り合う芯材10の一方のフランジ10Fが他方の芯材10の両フランジ10F間の溝に入り込むようにする。これにより、多数の芯材10の運搬車両の荷台への積載性を高めることができる。
ここで、図5(A)、(B)に示すように、先端部にプレート2が溶接された芯材1の場合には、先端部にプレート2が存在することにより、多数の芯材1を、左右又は上下の芯材1の一方のフランジ1Fが他方の芯材1の両フランジ1F間の溝に入り込むようにして、運搬車両の荷台に積載することができない。これに対して、本実施形態に係る芯材10は、運搬時にはねじ鉄筋12が取り付けてられていないことにより、上述の積載方法を実施することが可能である(図4(A)、(B)参照)。
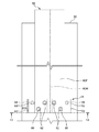
図6は、芯材10の先端支持力を評価する方法を説明するための底面図である。この図に示すように、芯材10のウェブ10Wの両側の溝の夫々には、両フランジ10Fにねじ締結された2本のねじ鉄筋12が存在し、芯材10の荷重に対する反力を受ける。これにより、芯材10の先端支持力を評価するための芯材10の底面積を、H形鋼の厚み分の面積のみならず、ウェブ10Wの両側の溝の面積を含めて、即ち、フランジ幅×ウェブ幅(図中鎖線で示す範囲)に拡大することができる。
図7は、芯材10を地盤改良体20に建て込んでいる状態を示す断面図である。この図に示すように、芯材10を硬化前の地盤改良体20に圧入しているときには、セメントミルク等の充填物が、外側のねじ鉄筋12の外側、該ねじ鉄筋12とその内側のねじ鉄筋12との間及び該内側のねじ鉄筋12とウェブ10Wとの間から上側へ逃げる。
ここで、上述の図5に示す芯材1の場合、地盤改良体への圧入時に充填物を上側へ逃がす開口が、プレート2とウェブ1Wとの間に限られているのに対し、本実施形態に係る芯材10の場合、当該開口が、外側のねじ鉄筋12の外側、該ねじ鉄筋12とその内側のねじ鉄筋12との間及び該内側のねじ鉄筋12とウェブ10Wとの間と広く取られている。従って、本実施形態に係る芯材10は、上記芯材に比して、先端部10Aの開口率が高いことにより、地盤改良体20への圧入時の抵抗を低減でき、施工性を向上できる。
以上説明したように、本実施形態では、ねじ鉄筋12を芯材10の先端部10Aにねじ締結するようにしたことによって、溶接作業を要することなく、芯材10の先端支持力を評価するための芯材10の底面積を増大させることができる。従って、芯材10の先端支持力を増大させると共に、芯材10の先端の加工に要する時間や費用を低減し、芯材10の運搬性を向上させることができる。
また、本実施形態では、4本のねじ鉄筋12を逆V字状に配することにより、ねじ鉄筋12の最小中心間隔を上記所定設計標準に準拠して所定寸法以上にしたうえで、芯材10の先端支持力を評価するための底面積を、ねじ鉄筋12の本数に比例して増大させることができる。
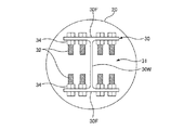
図8は、他の実施形態に係る芯材30を示す底面図である。これらの図に示すように、芯材30はH形鋼であり、その先端部に補強構造31を備えている。この補強構造31は、上述の実施形態に係る芯材10の4本のねじ鉄筋12を8本のボルト32に替えた構成であり、各4本のボルト32が、一方又は他方のフランジ30Fにナット34によりねじ締結されている。各フランジ30Fにねじ締結された4本のボルト32は、互いに平行に且つ各フランジ30Fに対して直角に配されている。各フランジ30Fには、ボルト32が挿通される孔が形成され、この孔を通してボルト32のネジ部が各フランジ30Fの内面から芯材30の内側に突出しており、このネジ部に螺合したナット34によりボルト32が各フランジ30Fにねじ締結されている。また、各フランジ30Fにねじ締結された4本のボルト32は、上記実施形態に係るねじ鉄筋12と同様に逆V字状に配されている。
本実施形態に係る芯材30においても、上記実施形態に係る芯材10と同様に、ボルト32により芯材30の先端支持力を評価するための底面積が増大することによって芯材30の先端支持力が増大する。また、本実施形態に係る芯材30によれば、上記実施形態に係る芯材10に比して先端部の開口率がさらに高くなることによって、芯材30を地盤改良体20に圧入する際の抵抗をより一層低減することができ、施工性をより一層向上させることができる。
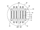
図9は、他の実施形態に係る芯材40を示す立面図であり、図10は、該芯材40を示す底面図(図9の10−10矢視図)である。これらの図に示すように、芯材40はH形鋼であり、その先端部40Aに補強構造41を備えている。この補強構造41は、上述の実施形態に係る芯材10の補強構造11の上に2本のねじ鉄筋12を追加した構成であり、最上段の2本のねじ鉄筋12は、ウェブ40Wを挟んで互いに平行に、そして、中段のねじ鉄筋12と最下段のねじ鉄筋12との間の開口と鉛直方向に重なるように配されている。
これにより、ねじ鉄筋12の最小中心間隔を上記所定設計標準に準拠して所定寸法以上にしたうえで、上記実施形態に係る芯材10よりも一層、芯材10の先端支持力を評価するための底面積を増大させることができる。
図11は、他の実施形態に係る芯材50を示す底面図である。この図に示すように、芯材50はH形鋼であり、その先端部に補強構造51を備えている。この補強構造51は、上述の実施形態に係る芯材40の6本のねじ鉄筋12を12本のボルト32に替えた構成であり、各6本のボルト32が、一方又は他方のフランジ50Fにナット34によりねじ締結されている。
本実施形態に係る芯材50においても、上記実施形態に係る芯材40と同様に、ボルト32により芯材50の先端支持力を評価するための底面積が増大することによって芯材50の先端支持力が増大する。また、本実施形態に係る芯材50によれば、上記実施形態に係る芯材40に比して先端部の開口率がさらに高くなることによって、芯材50を地盤改良体20に圧入する際の抵抗をより一層低減することができ、施工性をより一層向上させることができる。なお、本実施形態に係る芯材50では、ボルト32をフランジ50Fの内面から芯材50の内側へ突出させたが、ボルト32をフランジ50Fの外面から芯材50の外側へ突出させてもよい。
図12は、他の実施形態に係る芯材60を示す立面図であり、図13は、該芯材60を示す底面図(図12の13−13矢視図)である。これらの図に示すように、芯材60はH形鋼であり、その先端部60Aに補強構造61を備えている。この補強構造61は、芯材60の先端部60Aにねじ締結された4本のねじ鉄筋62と、2本のねじ鉄筋63と、4枚のプレート64とを備えている。4本のねじ鉄筋62は、上述の実施形態に係る芯材10のねじ鉄筋12と同様に配され、2本のねじ鉄筋63は、4本のねじ鉄筋62と平行に且つフランジ60Fの幅方向に芯材60を挟むように配されており、これら6本のねじ鉄筋62、63はW字状に配されている。
また、芯材60のウェブ60Wの両側の溝の夫々には、一対のプレート64が配されており、このプレート64とフランジ60Fとには、ねじ鉄筋62が挿通される孔が形成され、プレート64には、さらにねじ鉄筋63が挿通される孔が形成されている。ねじ鉄筋62の端部は、プレート64とフランジ60Fとに形成された孔を通してフランジ60Fの外面から芯材60の外側に突出しており、この突出部に螺合したナット66によりねじ鉄筋62の両端側が一対のフランジ60Fにねじ締結されている。また、ナット68がナット66と共にプレート64及びフランジ60Fを挟むように設けられており、これらのナット66、68により、プレート64がフランジ60Fにねじ締結されている。さらに、ねじ鉄筋63の両端は、ナット68により一対のプレート64にねじ締結されている。
ここで、上述の実施形態に係る芯材10のねじ鉄筋12は、ナット14の頭部から僅かに突出する程度の長さであるが、本実施形態に係る芯材60のねじ鉄筋62は、ねじ鉄筋12より長く、ねじ鉄筋62のナット66からの突出長さは、ねじ鉄筋12のそれよりも大きくなっている。
以上説明したように、本実施形態では、2本のねじ鉄筋63がフランジ60Fの幅外に配されてプレート64を介してフランジ60Fに固定され、また、フランジ60Fの幅内にてフランジ60Fに固定された4本のねじ鉄筋62の端部が、ウェブ60Wの幅外にてナット14の頭部から大きく突出している。これにより、芯材60の先端支持力を評価するための芯材60の底面積を、フランジ幅×ウェブ幅よりも広大に拡大することができる。
また、本実施形態では、フランジ60Fにねじ締結された4本のねじ鉄筋62の突出部が、従来のH形鋼に接合されたスタッドと同様、芯材60と地盤改良体20とを一体化させる効果を発揮する。即ち、スタッドをH形鋼に接合する作業を要することなく、スタッド付H形鋼を得ることができる。
図14は、他の実施形態に係る芯材70を示す底面図である。この図に示すように、本実施形態に係る芯材70は、上述の実施形態に係る芯材60の4本のねじ鉄筋62を8本のスタッドボルト72に替えた構成であり、各4本のスタッドボルト72が、一方又は他方のフランジ70Fにナット66、68によりねじ締結されている。この4本のスタッドボルト72の一端は、プレート64の内面側のナット68から大きく突出しており、他端は、フランジ70Fの外面側のナット66から大きく突出している。
本実施形態に係る芯材70においても、上記実施形態に係る芯材60と同様に、スタッドボルト72により芯材70の先端支持力を評価するための底面積が増大することによって芯材70の先端支持力が増大する。また、本実施形態に係る芯材70によれば、上記実施形態に係る芯材60に比して先端部の開口率がさらに高くなることによって、芯材70を地盤改良体20に圧入する際の抵抗をより一層低減することができ、施工性をより一層向上させることができる。
図15は、他の実施形態に係る芯材80を示す立面図であり、図16は、該芯材80を示す底面図(図15の16−16矢視図)である。これらの図に示すように、芯材80はH形鋼であり、その先端部80Aに補強構造81を備えている。この補強構造81は、上述の実施形態に係る芯材60の補強構造61の上に2本のねじ鉄筋62を追加した構成であり、最上段の2本のねじ鉄筋62は、ウェブ80Wを挟んで互いに平行に、そして、中段のねじ鉄筋62と最下段のねじ鉄筋62との間の開口と鉛直方向に重なるように配されている。これにより、ねじ鉄筋62の最小中心間隔を上記所定設計標準に準拠して所定寸法以上にしたうえで、上記実施形態に係る芯材60よりも一層、芯材60の先端支持力を評価するための底面積を増大させることができる。
図17は、他の実施形態に係る芯材90を示す底面図である。この図に示すように、本実施形態に係る芯材90は、上述の実施形態に係る芯材80の6本のねじ鉄筋62を12本のスタッドボルト72に替えた構成であり、各6本のスタッドボルト72が、一方又は他方のフランジ90Fにナット66、68によりねじ締結されている。この6本のスタッドボルト72の一端は、プレート64の内面側のナット68から大きく突出しており、他端は、フランジ90Fの外面側のナット66から大きく突出している。
図18は、他の実施形態に係る芯材100を示す立面図であり、図19は、該芯材100を示す底面図(図18の19−19矢視図)である。これらの図に示すように、本実施形態に係る芯材100は、H形鋼であり、その先端部100Aに補強構造101を備えている。この補強構造101は、各列4本で2列に配された8本のねじ鉄筋12を備えている。各列の4本のねじ鉄筋12は、フランジ100Fの幅方向の一端又は他端の近傍において鉛直方向に間隔を空けて並んでおり、各ねじ鉄筋12の両端がナット14によりフランジ100Fにねじ締結されている。ここで、ねじ鉄筋12の最小縁端距離と、ねじ鉄筋12の最小中心間隔とは、上述の実施形態と同様に、鉄道構造物等設計標準等の所定の設計標準に準拠して設定されている。
本実施形態に係る芯材100の先端部100Aでは、芯材100のウェブ100Wの両側の溝の夫々において、両フランジ100Fの幅方向端部の近傍にねじ締結された縦4本のねじ鉄筋12が存在し、この縦4本のねじ鉄筋12と両フランジ100Fとウェブ100Wとにより、地盤改良体20の充填物が囲繞されて拘束されている。これにより、芯材100の先端部100Aでは、芯材100の底端面とウェブ100Wの両側の溝内の充填物とが一体となって、芯材100の荷重に対する反力を受ける。これにより、芯材100の先端支持力を評価するための芯材100の底面積を、H形鋼の厚み分の面積のみならず、ウェブ100Wの両側の溝の面積を含めて、即ち、フランジ幅×ウェブ幅に拡大することができる。
また、本実施形態に係る芯材100によれば、上記実施形態に係る芯材10に比して先端部の開口率がさらに高くなることによって、芯材100を地盤改良体20に圧入する際の抵抗をより一層低減することができ、施工性をより一層向上させることができる。
図20は、他の実施形態に係る芯材110を示す底面図である。この図に示すように、本実施形態に係る芯材110は、上述の実施形態に係る芯材100の8本のねじ鉄筋12を16本のスタッドボルト72に替えた構成であり、各8本のスタッドボルト72が、一方又は他方のフランジ110Fにナット66、68によりねじ締結されている。この16本のスタッドボルト72の一端は、フランジ110Fの内面側のナット68から大きく突出し、他端は、フランジ110Fの外面側のナット66から大きく突出している。
図21は、他の実施形態に係る芯材120を示す立面図であり、図22は、該芯材120を示す底面図(図21の22−22矢視図)である。これらの図に示すように、芯材120はH形鋼であり、その先端部120Aに補強構造121を備えている。この補強構造121は、各列4本で2列に配された計8本のねじ鉄筋62と、フランジ120Fの幅方向に芯材120を挟むように配された2本のねじ鉄筋63と、4枚のプレート124とを備えている。
各列の4本のねじ鉄筋62は、フランジ120Fの幅方向の一端又は他端の近傍において縦に間隔を空けて並んでおり、各ねじ鉄筋62の両端がナット66により両側のフランジ120Fにねじ締結されている。また、芯材120のウェブ120Wの両側の溝の夫々には、一対のプレート124が配されており、下側2本のねじ鉄筋62とナット66、68とにより一方又は他方のフランジ120Fにねじ締結されている。また、ねじ鉄筋63の両端はナット68により両側のプレート124にねじ締結されている。
本実施形態に係る芯材120では、上述の実施形態に係る芯材110と同様に、縦4本のねじ鉄筋12と両フランジ120Fとウェブ120Wとにより、地盤改良体20の充填物が囲繞されて拘束されているのみならず、2本のねじ鉄筋63がフランジ120Fの幅外に配されてプレート124を介してフランジ120Fに固定され、また、フランジ120Fの幅内にてフランジ120Fに固定された8本のねじ鉄筋62の端部が、ウェブ120Wの幅外にてナット66の頭部から大きく突出している。これにより、芯材120の先端支持力を評価するための芯材120の底面積を、フランジ幅×ウェブ幅よりも広大に拡大することができる。
図23は、他の実施形態に係る芯材130を示す底面図である。この図に示すように、上述の実施形態に係る芯材120の8本のねじ鉄筋62を16本のスタッドボルト72に替えた構成であり、各8本のスタッドボルト72が、一方又は他方のフランジ130Fにナット66、68によりねじ締結されている。この16本のスタッドボルト72の一端は、フランジ130Fの内面側のナット68から大きく突出し、他端は、フランジ130Fの外面側のナット68から大きく突出している。
なお、上述の実施形態は、本発明の理解を容易にするためのものであり、本発明を限定するものではない。本発明はその趣旨を逸脱することなく、変更、改良され得ると共に本発明にはその等価物が含まれることは勿論である。例えば、上述の実施形態では、芯材をH形鋼としたが、鋼管や鋼矢板等の他の芯材にも本発明を適用できる。また、地盤改良体の形状は柱状に限らず壁状であってもよい。また、ねじ鉄筋やボルトが、芯材の軸方向に対して直交するように配されていることは必須ではなく、ねじ鉄筋やボルトが、芯材の軸方向に対して交差するように配されていればよい。さらに、ねじ締結は、ナットを使わずに、フランジにねじ孔を空けて該ねじ孔にねじ鉄筋やボルトのネジ部を螺合させるようにして行ってもよい。
1 芯材、1F フランジ、1W ウェブ、2 プレート、10 芯材、10A 先端部、10F フランジ、10Fc 先端角部、10W ウェブ、11 補強構造、12 ねじ鉄筋、14 ナット、20 地盤改良体、30 芯材、30F フランジ、30W ウェブ、31 補強構造、32 ボルト、34 ナット、40 芯材、40A 先端部、40W ウェブ、41 補強構造、50 芯材、50F フランジ、51 補強構造、60 芯材、60A 先端部、60F フランジ、60W ウェブ、61 補強構造、62 ねじ鉄筋、63 ねじ鉄筋、64 プレート、66、68 ナット、70 芯材、70F フランジ、71 補強構造、72 スタッドボルト、80 芯材、80A 先端部、80W ウェブ、81 補強構造、90 芯材、90F フランジ、91 補強構造、100 芯材、100A 先端部、100F フランジ、100W ウェブ、101 補強構造、110 芯材、110F フランジ、111 補強構造、120 芯材、120A 先端部、120F フランジ、121 補強構造、124 プレート、130 芯材、130F フランジ

Claims (9)

  1. 地盤改良体に建て込まれて構造物を支持する芯材の先端部の構造であって、
    前記先端部には、複数の棒状部材が前記芯材の軸方向に対して交差するように配されてねじ締結されていることを特徴とする芯材の先端部構造。
  2. 前記複数の棒状部材は、前記芯材の先端支持力が増大されるように配されていることを特徴とする請求項1に記載の芯材の先端部構造。
  3. 前記芯材は、H形鋼であり、
    前記棒状部材は、前記H形鋼の両側又は片側のフランジを貫通して該フランジにねじ締結されていることを特徴とする請求項1又は請求項2に記載の芯材の先端部構造。
  4. 前記複数の棒状部材は、前記芯材の底側から視て横に並ぶように配されていることを特徴とする請求項3に記載の芯材の先端部構造。
  5. 前記棒状部材は、前記H形鋼のウェブを挟んだ両側に複数ずつ異なる高さに配され、前記フランジにねじ締結されていることを特徴とする請求項4に記載の芯材の先端部構造。
  6. 前記複数の棒状部材のうちの少なくとも一つは、前記芯材における前記フランジの幅方向の外側に配され、前記フランジにねじ締結されたプレートにねじ締結されていることを特徴とする請求項3から請求項5までの何れか1項に記載の芯材の先端部構造。
  7. 前記複数の棒状部材は、前記フランジの幅方向両側に鉛直方向に並ぶように配されていることを特徴とする請求項3に記載の芯材の先端部構造。
  8. 地盤改良体に建て込まれて構造物を支持する芯材の製造方法であって、
    前記芯材の先端部に複数の孔を空けて、該複数の孔に複数の棒状部材を前記芯材の軸方向に対して交差するように挿通し、該複数の棒状部材を前記先端部にねじ締結することを特徴とする芯材の製造方法。
  9. 地盤改良体に建て込まれて構造物を支持する芯材の先端部に、複数の棒状部材を前記芯材の軸方向に対して交差するように配してねじ締結することにより、前記芯材の先端支持力を増大させることを特徴とする芯材の先端支持力を増大させる方法。
JP2012183540A 2012-08-22 2012-08-22 芯材の先端部構造、芯材の製造方法、及び、芯材の先端支持力を増大させる方法 Active JP5991074B2 (ja)

Priority Applications (1)

Application Number Priority Date Filing Date Title
JP2012183540A JP5991074B2 (ja) 2012-08-22 2012-08-22 芯材の先端部構造、芯材の製造方法、及び、芯材の先端支持力を増大させる方法

Applications Claiming Priority (1)

Application Number Priority Date Filing Date Title
JP2012183540A JP5991074B2 (ja) 2012-08-22 2012-08-22 芯材の先端部構造、芯材の製造方法、及び、芯材の先端支持力を増大させる方法

Publications (2)

Publication Number Publication Date
JP2014040736A true JP2014040736A (ja) 2014-03-06
JP5991074B2 JP5991074B2 (ja) 2016-09-14

Family

ID=50393181

Family Applications (1)

Application Number Title Priority Date Filing Date
JP2012183540A Active JP5991074B2 (ja) 2012-08-22 2012-08-22 芯材の先端部構造、芯材の製造方法、及び、芯材の先端支持力を増大させる方法

Country Status (1)

Country Link
JP (1) JP5991074B2 (ja)

Citations (6)

* Cited by examiner, † Cited by third party
Publication number Priority date Publication date Assignee Title
JP2000073363A (ja) * 1998-08-31 2000-03-07 Nippon Steel Corp 鋼製地中連続壁と鉄筋コンクリート床版主鉄筋との接合部構造
JP2001040660A (ja) * 1999-08-03 2001-02-13 Modern Material:Kk 鋼管杭の構造
JP2004316207A (ja) * 2003-04-15 2004-11-11 Jfe Steel Kk 土留壁と床版との接合構造及びその構築方法
JP2007146399A (ja) * 2005-11-24 2007-06-14 Nippon Steel Corp ソイルセメント杭,ソイルセメント杭の施工方法
JP2010037900A (ja) * 2008-08-08 2010-02-18 Takenaka Komuten Co Ltd 山留め用芯材とそれを用いた山留め壁
JP2010222943A (ja) * 2009-03-25 2010-10-07 Nippon Steel Corp 壁部材用接続金具及び地中連続壁構築方法

Patent Citations (6)

* Cited by examiner, † Cited by third party
Publication number Priority date Publication date Assignee Title
JP2000073363A (ja) * 1998-08-31 2000-03-07 Nippon Steel Corp 鋼製地中連続壁と鉄筋コンクリート床版主鉄筋との接合部構造
JP2001040660A (ja) * 1999-08-03 2001-02-13 Modern Material:Kk 鋼管杭の構造
JP2004316207A (ja) * 2003-04-15 2004-11-11 Jfe Steel Kk 土留壁と床版との接合構造及びその構築方法
JP2007146399A (ja) * 2005-11-24 2007-06-14 Nippon Steel Corp ソイルセメント杭,ソイルセメント杭の施工方法
JP2010037900A (ja) * 2008-08-08 2010-02-18 Takenaka Komuten Co Ltd 山留め用芯材とそれを用いた山留め壁
JP2010222943A (ja) * 2009-03-25 2010-10-07 Nippon Steel Corp 壁部材用接続金具及び地中連続壁構築方法

Also Published As

Publication number Publication date
JP5991074B2 (ja) 2016-09-14

Similar Documents

Publication Publication Date Title
JP5932404B2 (ja) コンテナハウスの結合構造
CN102828559A (zh) 一种组合梁与45度角布置十字型钢混凝土柱节点
JP2016211164A (ja) 接合構造
JP7070890B2 (ja) 仕口部構造
KR101513598B1 (ko) 복합트러스 거더교의 격점부 연결구조를 향상시키기 위한 복부재
JP2017020257A (ja) 鉄骨柱とh形梁又はi形梁の接合構造及びその接合方法
JP6253630B2 (ja) 合成セグメント、リング及び沈設構造物
KR101048570B1 (ko) 모노레일형 크레인거더의 단면구성방법
JP2018178466A (ja) ダンパー、及びダンパーの製作方法
TW201739994A (zh) 柱梁接合構造及鋼骨鋼筋混凝土柱
JP6070118B2 (ja) 土留壁構造、土留壁構造の構築方法
JP5991074B2 (ja) 芯材の先端部構造、芯材の製造方法、及び、芯材の先端支持力を増大させる方法
JP2017075485A (ja) 鋼管柱の補強構造
JP5656065B2 (ja) 鋼板コンクリート構造の構造部材
JP6012398B2 (ja) 鉄塔の補強構造
JP6717782B2 (ja) 既設フーチングの補強方法
JP6909561B2 (ja) 柱梁の接合構造
JP2016089549A (ja) 鉄筋コンクリート梁と鉄骨の柱又は鉄骨を備える柱との接合構造及び方法
JP2018104964A (ja) 柱構造および構築方法
JP7009731B2 (ja) 床構造
CN202031083U (zh) 一种预应力空心方桩
JP2018127796A (ja) 切梁材の切替金物
JP6588721B2 (ja) ばら物貯槽
JP6467202B2 (ja) 鉄塔の主柱材取替工法
JP2007113302A (ja) 合成梁構造

Legal Events

Date Code Title Description
A621 Written request for application examination

Free format text: JAPANESE INTERMEDIATE CODE: A621

Effective date: 20150717

A977 Report on retrieval

Free format text: JAPANESE INTERMEDIATE CODE: A971007

Effective date: 20160422

A131 Notification of reasons for refusal

Free format text: JAPANESE INTERMEDIATE CODE: A131

Effective date: 20160510

A521 Written amendment

Free format text: JAPANESE INTERMEDIATE CODE: A523

Effective date: 20160627

TRDD Decision of grant or rejection written
A01 Written decision to grant a patent or to grant a registration (utility model)

Free format text: JAPANESE INTERMEDIATE CODE: A01

Effective date: 20160719

A61 First payment of annual fees (during grant procedure)

Free format text: JAPANESE INTERMEDIATE CODE: A61

Effective date: 20160801

R150 Certificate of patent or registration of utility model

Ref document number: 5991074

Country of ref document: JP

Free format text: JAPANESE INTERMEDIATE CODE: R150