JP2012251237A - ガスワイピング装置 - Google Patents
ガスワイピング装置 Download PDFInfo
- Publication number
- JP2012251237A JP2012251237A JP2012054183A JP2012054183A JP2012251237A JP 2012251237 A JP2012251237 A JP 2012251237A JP 2012054183 A JP2012054183 A JP 2012054183A JP 2012054183 A JP2012054183 A JP 2012054183A JP 2012251237 A JP2012251237 A JP 2012251237A
- Authority
- JP
- Japan
- Prior art keywords
- gas
- steel strip
- slide mechanism
- width
- slide
- Prior art date
- Legal status (The legal status is an assumption and is not a legal conclusion. Google has not performed a legal analysis and makes no representation as to the accuracy of the status listed.)
- Granted
Links
Images
Classifications
-
- C—CHEMISTRY; METALLURGY
- C23—COATING METALLIC MATERIAL; COATING MATERIAL WITH METALLIC MATERIAL; CHEMICAL SURFACE TREATMENT; DIFFUSION TREATMENT OF METALLIC MATERIAL; COATING BY VACUUM EVAPORATION, BY SPUTTERING, BY ION IMPLANTATION OR BY CHEMICAL VAPOUR DEPOSITION, IN GENERAL; INHIBITING CORROSION OF METALLIC MATERIAL OR INCRUSTATION IN GENERAL
- C23C—COATING METALLIC MATERIAL; COATING MATERIAL WITH METALLIC MATERIAL; SURFACE TREATMENT OF METALLIC MATERIAL BY DIFFUSION INTO THE SURFACE, BY CHEMICAL CONVERSION OR SUBSTITUTION; COATING BY VACUUM EVAPORATION, BY SPUTTERING, BY ION IMPLANTATION OR BY CHEMICAL VAPOUR DEPOSITION, IN GENERAL
- C23C2/00—Hot-dipping or immersion processes for applying the coating material in the molten state without affecting the shape; Apparatus therefor
- C23C2/14—Removing excess of molten coatings; Controlling or regulating the coating thickness
- C23C2/16—Removing excess of molten coatings; Controlling or regulating the coating thickness using fluids under pressure, e.g. air knives
- C23C2/18—Removing excess of molten coatings from elongated material
-
- C—CHEMISTRY; METALLURGY
- C23—COATING METALLIC MATERIAL; COATING MATERIAL WITH METALLIC MATERIAL; CHEMICAL SURFACE TREATMENT; DIFFUSION TREATMENT OF METALLIC MATERIAL; COATING BY VACUUM EVAPORATION, BY SPUTTERING, BY ION IMPLANTATION OR BY CHEMICAL VAPOUR DEPOSITION, IN GENERAL; INHIBITING CORROSION OF METALLIC MATERIAL OR INCRUSTATION IN GENERAL
- C23C—COATING METALLIC MATERIAL; COATING MATERIAL WITH METALLIC MATERIAL; SURFACE TREATMENT OF METALLIC MATERIAL BY DIFFUSION INTO THE SURFACE, BY CHEMICAL CONVERSION OR SUBSTITUTION; COATING BY VACUUM EVAPORATION, BY SPUTTERING, BY ION IMPLANTATION OR BY CHEMICAL VAPOUR DEPOSITION, IN GENERAL
- C23C2/00—Hot-dipping or immersion processes for applying the coating material in the molten state without affecting the shape; Apparatus therefor
- C23C2/14—Removing excess of molten coatings; Controlling or regulating the coating thickness
- C23C2/16—Removing excess of molten coatings; Controlling or regulating the coating thickness using fluids under pressure, e.g. air knives
-
- C—CHEMISTRY; METALLURGY
- C23—COATING METALLIC MATERIAL; COATING MATERIAL WITH METALLIC MATERIAL; CHEMICAL SURFACE TREATMENT; DIFFUSION TREATMENT OF METALLIC MATERIAL; COATING BY VACUUM EVAPORATION, BY SPUTTERING, BY ION IMPLANTATION OR BY CHEMICAL VAPOUR DEPOSITION, IN GENERAL; INHIBITING CORROSION OF METALLIC MATERIAL OR INCRUSTATION IN GENERAL
- C23C—COATING METALLIC MATERIAL; COATING MATERIAL WITH METALLIC MATERIAL; SURFACE TREATMENT OF METALLIC MATERIAL BY DIFFUSION INTO THE SURFACE, BY CHEMICAL CONVERSION OR SUBSTITUTION; COATING BY VACUUM EVAPORATION, BY SPUTTERING, BY ION IMPLANTATION OR BY CHEMICAL VAPOUR DEPOSITION, IN GENERAL
- C23C2/00—Hot-dipping or immersion processes for applying the coating material in the molten state without affecting the shape; Apparatus therefor
- C23C2/14—Removing excess of molten coatings; Controlling or regulating the coating thickness
- C23C2/16—Removing excess of molten coatings; Controlling or regulating the coating thickness using fluids under pressure, e.g. air knives
- C23C2/18—Removing excess of molten coatings from elongated material
- C23C2/20—Strips; Plates
-
- C—CHEMISTRY; METALLURGY
- C23—COATING METALLIC MATERIAL; COATING MATERIAL WITH METALLIC MATERIAL; CHEMICAL SURFACE TREATMENT; DIFFUSION TREATMENT OF METALLIC MATERIAL; COATING BY VACUUM EVAPORATION, BY SPUTTERING, BY ION IMPLANTATION OR BY CHEMICAL VAPOUR DEPOSITION, IN GENERAL; INHIBITING CORROSION OF METALLIC MATERIAL OR INCRUSTATION IN GENERAL
- C23C—COATING METALLIC MATERIAL; COATING MATERIAL WITH METALLIC MATERIAL; SURFACE TREATMENT OF METALLIC MATERIAL BY DIFFUSION INTO THE SURFACE, BY CHEMICAL CONVERSION OR SUBSTITUTION; COATING BY VACUUM EVAPORATION, BY SPUTTERING, BY ION IMPLANTATION OR BY CHEMICAL VAPOUR DEPOSITION, IN GENERAL
- C23C2/00—Hot-dipping or immersion processes for applying the coating material in the molten state without affecting the shape; Apparatus therefor
- C23C2/34—Hot-dipping or immersion processes for applying the coating material in the molten state without affecting the shape; Apparatus therefor characterised by the shape of the material to be treated
- C23C2/36—Elongated material
- C23C2/40—Plates; Strips
Landscapes
- Chemical & Material Sciences (AREA)
- Chemical Kinetics & Catalysis (AREA)
- Engineering & Computer Science (AREA)
- Materials Engineering (AREA)
- Mechanical Engineering (AREA)
- Metallurgy (AREA)
- Organic Chemistry (AREA)
- Coating With Molten Metal (AREA)
Abstract
【課題】鋼帯の表面にガスを吹き付けて該表面に付着しためっき用の溶融金属の付着量を調整するガスワイピングノズルを備えたガスワイピング装置に関し、鋼帯の幅方向端部におけるオーバーコートやスプラッシュの抑止効果に優れたガスワイピング装置を提供すること。
【解決手段】ガスワイピングノズル1において鋼帯Kの幅方向に延設して中空からガスを吹出すスリット1a’と、中空にガスを導入するガス導入口1eを備え、このスリット1a’にはその左右の領域を閉塞するとともにスライド自在な左右の閉塞部材2,2が配設され、これら閉塞部材2,2の間にガス吹出口1aが形成されており、中空において、左右の閉塞部材2,2のそれぞれのガス吹出口側端部2a,2aから隔壁1dへ延設する左右の整流片1c、1cが配設され、該左右の整流片1c、1cの間でガス流路GRが形成されており、ガス吹出口1aの幅とガス流路GRの幅が同じであるガスワイピング装置10である。
【選択図】図3
Description
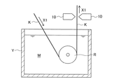
図1に溶融金属めっき装置を模式図で示している。同図で示すめっき装置は、溶融亜鉛や溶融アルミ等の溶融金属Mからなるめっき浴が収容され、その内側に不図示の耐火煉瓦等がライニングされてなるめっきポットY内にシンクロールRが回転自在に配設され、不図示のスナウト等を介して還元焼鈍炉から送られてきた鋼帯Kが溶融金属M内に浸漬され、シンクロールRを介して鉛直上方に搬送されるようになっている(X1方向)。
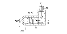
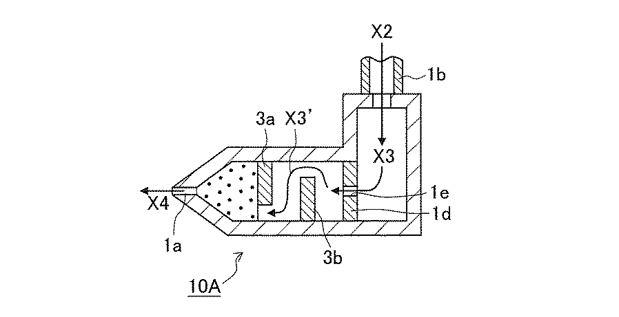
図2は、図1のめっき装置を構成するガスワイピング装置の一実施の形態を斜視図で示すものであり、図3は、図2のIII−III矢視図、図4は、図3のIV−IV矢視図である。
図5は、ガスワイピング装置の他の実施の形態の横断面図であって図3に対応する態様で示したものであり、図6は図5のVI−VI矢視図である。
次に、図7を参照し、ガスワイピング装置10を取り上げて左右の閉塞部材のスライド機構の実施の形態1を説明する。
次に、図8を参照し、ガスワイピング装置10を取り上げて左右の閉塞部材のスライド機構の実施の形態2を説明する。
本発明者等は、図9a,bで模擬する解析モデルをコンピュータ内で作成し、LES乱流解析(LES:解析セルよりも大きい渦にモデル化することなく、直接計算する非定常乱流解析手法)をおこなった。図9bで示すように、鋼帯の幅t1は150mm、ガス吐出口の内幅t2、ガスの吹付幅t3も150mmとし、ガス吐出口の高さt4は1.2mm、鋼帯を挟んで対向する2つのガスワイピング装置のガス吐出口間隔t5は20mmとした。また、ガス吐出口内のエア圧は40kPaとした。
本発明者等は、図3,4で示すガスワイピング装置(実施例)と図11で示す従来のガスワイピング装置(比較例)をそれぞれ適用した際の鋼帯通板速度に関する可能範囲を特定する実験をおこなった。具体的には、鋼帯の厚みが0.4mm、幅が1200mmのサイズで、鋼帯の左右端からガス吹出口端部までの隙間を0mmとして、めっき用の溶融金属である亜鉛の付着量を鋼帯の両面に120g/m2となる通板速度範囲を検証した。なお、図5,6で示す実施の形態2にかかるガスワイピング装置にて本実験はおこなっていないものの、実施の形態2のガスワイピング装置の場合には、実施の形態1のガスワイピング装置に対してさらに垂れ片と立上り片によるガスの整流効果が期待できることから、図3,4で示すガスワイピング装置での実験効果よりもより一層高い効果が奏されることは明確であることをここに付言しておく。
本発明者等はさらに、鋼帯の左右端からガス吹出口端部までの隙間を種々変化させて、スプラッシュの発生の大小と、鋼帯への再付着の有無に関して実験をおこなった。既述する表1に各種条件と実験結果を示す。
Claims (6)
- 鋼帯の表面にガスを吹き付けて、該表面のめっき用の溶融金属の付着量を調整する中空のガスワイピングノズルを備えたガスワイピング装置であって、
前記ガスワイピングノズルは、鋼帯の幅方向に延設して前記中空からガスを吹出すスリットと、ガスを該中空に導入するガス導入口を備えた隔壁と、を備えており、
前記スリットには、鋼帯の幅に応じて左右の領域を閉塞するとともに該スリットに沿ってスライド自在な左右の閉塞部材が配設され、かつ、離間した該左右の閉塞部材の間にガス吹出口が形成されており、
前記中空において、前記左右の閉塞部材のそれぞれのガス吹出口側端部から前記隔壁へ延設する左右の整流片が配設され、該左右の整流片の間でガス流路が形成されており、
前記ガス吹出口の幅と前記ガス流路の幅が同じであるガスワイピング装置。 - 前記左右の閉塞部材および前記左右の整流片が同期スライドしてガス吹出口の幅とガス流路の幅を調整する請求項1に記載のガスワイピング装置。
- 前記ガスワイピングノズルの前記中空において、その上面には下面まで届かない垂れ片が固定され、この垂れ片から離れた位置の下面には上面まで届かない立上り片が固定されており、
ガス導入口からガス流路に導入されたガスは、垂れ片と立上り片を流通する過程で整流されるようになっている請求項1または2に記載のガスワイピング装置。 - 前記左右の閉塞部材がそれぞれ、固有のスライド機構である左スライド機構と右スライド機構によってスライド自在となっており、
左スライド機構と右スライド機構が共通のベース上に搭載され、該ベースはベーススライド機構に繋がれてスライド自在となっており、
前記ガス吹出口の近傍には鋼帯の位置を検出する位置センサが設けてあり、
前記左スライド機構と右スライド機構によって左右の閉塞部材がスライドしてガス吹出口の幅が調整され、
前記位置センサにて検出された鋼帯の位置データに基づいてベーススライド機構がベースをスライドさせ、ベースのスライドによる右スライド機構と左スライド機構のスライドによって左右の閉塞部材が既に調整されているガス吹出口の幅を維持したままスライドするようになっている請求項1〜3のいずれかに記載のガスワイピング装置。 - 前記左右の閉塞部材がそれぞれ、固有のスライド機構である左スライド機構と右スライド機構によってスライド自在となっており、
前記ガス吹出口の近傍には鋼帯の位置を検出する位置センサが設けてあり、
前記左スライド機構と右スライド機構によって左右の閉塞部材がスライドしてガス吹出口の幅が調整され、
前記位置センサにて検出された鋼帯の位置データに基づいて、左スライド機構と右スライド機構が左右の閉塞部材を既に調整されているガス吹出口の幅を維持したままスライドするようになっている請求項1〜3のいずれかに記載のガスワイピング装置。 - 鋼帯の左右端から左右の閉塞部材のそれぞれのガス吹出口側端部までの隙間が同じ長さsとなるように調整されており、0≦s≦10mmの範囲である請求項4または5に記載のガスワイピング装置。
Priority Applications (5)
| Application Number | Priority Date | Filing Date | Title |
|---|---|---|---|
| JP2012054183A JP6033558B2 (ja) | 2011-05-09 | 2012-03-12 | ガスワイピング装置 |
| PCT/JP2012/061644 WO2012153702A1 (ja) | 2011-05-09 | 2012-05-07 | ガスワイピング装置 |
| CN201280019830.8A CN103502499B (zh) | 2011-05-09 | 2012-05-07 | 气体擦拭装置 |
| KR1020137028229A KR101416774B1 (ko) | 2011-05-09 | 2012-05-07 | 가스 와이핑 장치 |
| EP12782900.0A EP2708616B1 (en) | 2011-05-09 | 2012-05-07 | Gas wiping device |
Applications Claiming Priority (3)
| Application Number | Priority Date | Filing Date | Title |
|---|---|---|---|
| JP2011104089 | 2011-05-09 | ||
| JP2011104089 | 2011-05-09 | ||
| JP2012054183A JP6033558B2 (ja) | 2011-05-09 | 2012-03-12 | ガスワイピング装置 |
Publications (2)
| Publication Number | Publication Date |
|---|---|
| JP2012251237A true JP2012251237A (ja) | 2012-12-20 |
| JP6033558B2 JP6033558B2 (ja) | 2016-11-30 |
Family
ID=47139181
Family Applications (1)
| Application Number | Title | Priority Date | Filing Date |
|---|---|---|---|
| JP2012054183A Active JP6033558B2 (ja) | 2011-05-09 | 2012-03-12 | ガスワイピング装置 |
Country Status (5)
| Country | Link |
|---|---|
| EP (1) | EP2708616B1 (ja) |
| JP (1) | JP6033558B2 (ja) |
| KR (1) | KR101416774B1 (ja) |
| CN (1) | CN103502499B (ja) |
| WO (1) | WO2012153702A1 (ja) |
Cited By (1)
| Publication number | Priority date | Publication date | Assignee | Title |
|---|---|---|---|---|
| JP2018111873A (ja) * | 2017-01-13 | 2018-07-19 | 新日鉄住金エンジニアリング株式会社 | ガスワイピング装置及びガスワイピング方法 |
Families Citing this family (4)
| Publication number | Priority date | Publication date | Assignee | Title |
|---|---|---|---|---|
| ES2524406T3 (es) * | 2012-02-21 | 2014-12-09 | Cockerill Maintenance & Ingenierie S.A. | Boquilla de limpieza de control del espesor de recubrimiento y de la distribución con una uniformidad de la presión excelente |
| JP6298355B2 (ja) * | 2014-05-15 | 2018-03-20 | Primetals Technologies Japan株式会社 | 溶融金属めっき設備のワイピングノズル、及び、溶融金属めっき設備のワイピング位置制御装置 |
| CN110923602A (zh) * | 2019-12-26 | 2020-03-27 | 江苏英杰光缆科技有限公司 | 一种光缆镀锌工艺 |
| WO2024208536A1 (en) * | 2023-04-06 | 2024-10-10 | Asml Netherlands B.V. | Nozzle for providing a gas flow and method of making the nozzle |
Citations (3)
| Publication number | Priority date | Publication date | Assignee | Title |
|---|---|---|---|---|
| US3977359A (en) * | 1974-08-08 | 1976-08-31 | Italsider S.P.A. | Composite air-knife |
| JP2006274381A (ja) * | 2005-03-30 | 2006-10-12 | Nippon Steel Corp | ガスワイピングノズル及びガスワイピング装置 |
| JP2007284732A (ja) * | 2006-04-14 | 2007-11-01 | Nippon Steel Corp | ガスワイピング装置 |
Family Cites Families (5)
| Publication number | Priority date | Publication date | Assignee | Title |
|---|---|---|---|---|
| JPS52141430A (en) * | 1976-05-21 | 1977-11-25 | Hitachi Ltd | Blow wiping nozzle in continuous hot dipping device for belt plate metal |
| JPH01290755A (ja) * | 1988-05-19 | 1989-11-22 | Sumitomo Metal Ind Ltd | 溶融メッキ鋼板のエッジオーバーコート防止方法 |
| JPH03125058U (ja) * | 1990-03-27 | 1991-12-18 | ||
| JP3788122B2 (ja) * | 1999-08-06 | 2006-06-21 | Jfeスチール株式会社 | ガスワイピング装置 |
| KR100775226B1 (ko) * | 2006-06-05 | 2007-11-12 | 주식회사 포스코 | 강판 용융도금 라인의 에어 나이프 |
-
2012
- 2012-03-12 JP JP2012054183A patent/JP6033558B2/ja active Active
- 2012-05-07 WO PCT/JP2012/061644 patent/WO2012153702A1/ja not_active Ceased
- 2012-05-07 KR KR1020137028229A patent/KR101416774B1/ko not_active Expired - Fee Related
- 2012-05-07 EP EP12782900.0A patent/EP2708616B1/en active Active
- 2012-05-07 CN CN201280019830.8A patent/CN103502499B/zh active Active
Patent Citations (3)
| Publication number | Priority date | Publication date | Assignee | Title |
|---|---|---|---|---|
| US3977359A (en) * | 1974-08-08 | 1976-08-31 | Italsider S.P.A. | Composite air-knife |
| JP2006274381A (ja) * | 2005-03-30 | 2006-10-12 | Nippon Steel Corp | ガスワイピングノズル及びガスワイピング装置 |
| JP2007284732A (ja) * | 2006-04-14 | 2007-11-01 | Nippon Steel Corp | ガスワイピング装置 |
Cited By (1)
| Publication number | Priority date | Publication date | Assignee | Title |
|---|---|---|---|---|
| JP2018111873A (ja) * | 2017-01-13 | 2018-07-19 | 新日鉄住金エンジニアリング株式会社 | ガスワイピング装置及びガスワイピング方法 |
Also Published As
| Publication number | Publication date |
|---|---|
| KR101416774B1 (ko) | 2014-07-08 |
| WO2012153702A1 (ja) | 2012-11-15 |
| EP2708616B1 (en) | 2016-12-07 |
| KR20130128479A (ko) | 2013-11-26 |
| CN103502499B (zh) | 2015-03-25 |
| CN103502499A (zh) | 2014-01-08 |
| EP2708616A4 (en) | 2014-11-12 |
| JP6033558B2 (ja) | 2016-11-30 |
| EP2708616A1 (en) | 2014-03-19 |
Similar Documents
| Publication | Publication Date | Title |
|---|---|---|
| JP6033558B2 (ja) | ガスワイピング装置 | |
| CN103180479B (zh) | 气体擦拭装置 | |
| US7735708B2 (en) | Reflow furnace | |
| SE527507C2 (sv) | En anordning och ett förfarande för stabilisering av ett metalliskt föremål samt en användning av anordningen | |
| JP6561010B2 (ja) | 溶融金属めっき設備及び方法 | |
| WO2016063414A1 (ja) | 溶融めっき鋼板の冷却装置 | |
| CN107532271A (zh) | 热镀金属钢带的制造装置和制造方法 | |
| CA2861950A1 (en) | Coating thickness and distribution control wiping nozzle with excellent pressure uniformity | |
| JP4641847B2 (ja) | ガスワイピングノズル及びガスワイピング装置 | |
| JP5766851B1 (ja) | ガスワイピング装置 | |
| TWI236939B (en) | Method for manufacturing hot rolled steel strip and apparatus for manufacturing the same | |
| EP0973952B1 (en) | Apparatus and method for cooling hot rolled steel rod | |
| CN103380226A (zh) | 擦拭装置及使用了它的热浸镀装置 | |
| JPH0971852A (ja) | ガスワイピングノズル | |
| KR101353547B1 (ko) | 용융 아연 도금 설비의 냉각장치 | |
| JP6912981B2 (ja) | ガスワイピング装置及びガスワイピング方法 | |
| JP2015229790A (ja) | ガスワイピングシステム | |
| JP4720198B2 (ja) | 厚鋼板の冷却装置および冷却方法 | |
| JP2013185217A (ja) | 鋼帯の冷却装置 | |
| JP4076971B2 (ja) | 鋼板の冷却方法 | |
| JP2019188417A (ja) | 噴流式はんだ付け装置 | |
| JP7161292B2 (ja) | 連続溶融金属めっき装置及び連続溶融金属めっき方法 | |
| KR102065229B1 (ko) | 강판 냉각 장치 | |
| JP3632376B2 (ja) | 連続溶融金属めっき鋼帯のめっき付着量調整方法 | |
| JP2008030463A (ja) | テンタオーブン |
Legal Events
| Date | Code | Title | Description |
|---|---|---|---|
| A621 | Written request for application examination |
Free format text: JAPANESE INTERMEDIATE CODE: A621 Effective date: 20141110 |
|
| A131 | Notification of reasons for refusal |
Free format text: JAPANESE INTERMEDIATE CODE: A131 Effective date: 20151027 |
|
| A521 | Request for written amendment filed |
Free format text: JAPANESE INTERMEDIATE CODE: A523 Effective date: 20151117 |
|
| A131 | Notification of reasons for refusal |
Free format text: JAPANESE INTERMEDIATE CODE: A131 Effective date: 20160426 |
|
| A521 | Request for written amendment filed |
Free format text: JAPANESE INTERMEDIATE CODE: A523 Effective date: 20160606 |
|
| TRDD | Decision of grant or rejection written | ||
| A01 | Written decision to grant a patent or to grant a registration (utility model) |
Free format text: JAPANESE INTERMEDIATE CODE: A01 Effective date: 20161004 |
|
| A61 | First payment of annual fees (during grant procedure) |
Free format text: JAPANESE INTERMEDIATE CODE: A61 Effective date: 20161026 |
|
| R150 | Certificate of patent or registration of utility model |
Ref document number: 6033558 Country of ref document: JP Free format text: JAPANESE INTERMEDIATE CODE: R150 |
|
| RD03 | Notification of appointment of power of attorney |
Free format text: JAPANESE INTERMEDIATE CODE: R3D03 |
|
| RD03 | Notification of appointment of power of attorney |
Free format text: JAPANESE INTERMEDIATE CODE: R3D03 |
|
| S533 | Written request for registration of change of name |
Free format text: JAPANESE INTERMEDIATE CODE: R313533 |
|
| S533 | Written request for registration of change of name |
Free format text: JAPANESE INTERMEDIATE CODE: R313533 |
|
| R350 | Written notification of registration of transfer |
Free format text: JAPANESE INTERMEDIATE CODE: R350 |
|
| R350 | Written notification of registration of transfer |
Free format text: JAPANESE INTERMEDIATE CODE: R350 |
|
| R250 | Receipt of annual fees |
Free format text: JAPANESE INTERMEDIATE CODE: R250 |
|
| R250 | Receipt of annual fees |
Free format text: JAPANESE INTERMEDIATE CODE: R250 |
|
| S111 | Request for change of ownership or part of ownership |
Free format text: JAPANESE INTERMEDIATE CODE: R313115 |
|
| R350 | Written notification of registration of transfer |
Free format text: JAPANESE INTERMEDIATE CODE: R350 |
|
| R250 | Receipt of annual fees |
Free format text: JAPANESE INTERMEDIATE CODE: R250 |
|
| R250 | Receipt of annual fees |
Free format text: JAPANESE INTERMEDIATE CODE: R250 |
|
| R250 | Receipt of annual fees |
Free format text: JAPANESE INTERMEDIATE CODE: R250 |
|
| S111 | Request for change of ownership or part of ownership |
Free format text: JAPANESE INTERMEDIATE CODE: R313121 |
|
| R350 | Written notification of registration of transfer |
Free format text: JAPANESE INTERMEDIATE CODE: R350 |
|
| R250 | Receipt of annual fees |
Free format text: JAPANESE INTERMEDIATE CODE: R250 |
|
| S111 | Request for change of ownership or part of ownership |
Free format text: JAPANESE INTERMEDIATE CODE: R313117 |
|
| R350 | Written notification of registration of transfer |
Free format text: JAPANESE INTERMEDIATE CODE: R350 |
