JP2012242522A - アレイ基板、液晶表示素子およびアレイ基板の製造方法 - Google Patents
アレイ基板、液晶表示素子およびアレイ基板の製造方法 Download PDFInfo
- Publication number
- JP2012242522A JP2012242522A JP2011110870A JP2011110870A JP2012242522A JP 2012242522 A JP2012242522 A JP 2012242522A JP 2011110870 A JP2011110870 A JP 2011110870A JP 2011110870 A JP2011110870 A JP 2011110870A JP 2012242522 A JP2012242522 A JP 2012242522A
- Authority
- JP
- Japan
- Prior art keywords
- group
- compound
- array substrate
- acid
- liquid crystal
- Prior art date
- Legal status (The legal status is an assumption and is not a legal conclusion. Google has not performed a legal analysis and makes no representation as to the accuracy of the status listed.)
- Granted
Links
Images
Landscapes
- Liquid Crystal (AREA)
- Optical Filters (AREA)
- Photosensitive Polymer And Photoresist Processing (AREA)
- Materials For Photolithography (AREA)
Abstract
Description
その後、液晶表示素子は、高精細化、カラー化および視野角拡大などの課題が克服され、PC(パーソナルコンピュータ)のモニター用にさらに用途を拡大した。最近では、より広い視野角や液晶の高速応答化や表示品位の向上などが実現され、大型の薄型テレビ用表示素子として利用されるに至っている。
液晶表示素子は、通常、それ自身で発色することはできず、カラー表示を行うことは困難である。そこで、カラーフィルタを内部に設ける技術が開発され、これを用いることでカラー表示を実現することが可能となった。
図6に示す従来の液晶表示素子100は、薄膜トランジスタ(TFT:Thin Film Transister)型のTN(Twisted Nematic)モード液晶表示素子である。液晶表示素子100は、駆動用のアレイ基板101とカラーフィルタ基板102とを有し、それらがTN液晶からなる液晶層103を介して対向する構造を有する。
アレイ基板101を構成する透明な基板104上には、液晶層103と接する側に、ソース電極105と、ドレイン電極106と、ゲート電極107と、スイッチング能動素子108と、画素電極を構成する透明電極109とが形成されている。
基板104と基板111において、液晶103に接する側と反対の側には、それぞれ偏光板116が配置されている。基板104と基板111の間隔は、通常、2μm〜10μmであり、これらは、周辺部に設けられたシール材(図示されない)によって互いに固定されている。
図6において、符号117は、液晶表示素子100の光源となるバックライトユニット(図示されない)から液晶層103に向けて照射されたバックライト光を示している。
こうした液晶表示素子の表示品位を向上させる方法の1つとして、カラーフィルタの改善が有効となる。
例えば、表示素子の高コントラスト化や固体撮像素子の高精細化を実現するには、カラーフィルタの着色パターンの形成に用いられる着色剤として染料を用いることが有効とされている(特許文献3〜特許文献5参照)。そのため、カラーフィルタの性能を改善すべく、着色パターンの着色剤として染料を使用する技術が着目されている。染料を含む従来の着色組成物においては、多官能アクリレート、アルコキシメチルメラミン樹脂等と重合開始剤とを組み合わせた硬化方法が主に採用されている。
すなわち、上述した従来のTFT型の液晶表示素子100においては、アレイ基板101とカラーフィルタ基板102とを重ね合わせる工程において、位置ずれを生じさせる懸念があることが知られている。そのため、この位置ずれを未然に防ぐため、パターン設計の段階において、カラーフィルタ基板102上に形成されているブラックマトリクス113のパターン幅を広くする方法が行われている。こうすることで、基板重ね合わせ時の位置ずれ不良を回避することができる。しかしながら、ブラックスマトリクス113のパターン幅を広くすることによって、逆に画素の開口率は低下する。そして、液晶表示素子の表示は暗いものとなる。
また、低温硬化によってカラーフィルタ層を形成した場合、そのカラーフィルタ層には、現像耐性、電圧保持率等の信頼性能が十分とならない問題を生じさせる場合がある。そうした場合、液晶表示素子の信頼性能は低下してしまう。これら問題の原因としては、着色組成物の硬化反応性が不充分であり、低温硬化に対応できないことが挙げられている。そこで、染料を含むことのできる着色組成物を用い、低温硬化によって形成可能な高い信頼性のカラーフィルタ層の開発が求められている。
カラーフィルタ層は、
ジケトピロロピロール系顔料、ハロゲン化亜鉛フタロシアニン系顔料、トリアリールメタン系染料およびアゾ系染料からなる群より選ばれる少なくとも1種の着色剤と、
不飽和カルボン酸および不飽和カルボン酸無水物からなる群より選択される少なくとも1種から形成される構成単位およびエポキシ基含有不飽和化合物から形成される構成単位を含む共重合体と
を含有する着色組成物から形成される着色パターンを有することを特徴とするアレイ基板に関する。
式(2)中、R7〜R16は、それぞれ独立して水素原子、電子吸引性基またはアミノ基である。但し、R7〜R16のうち少なくとも1つはアミノ基である。また、上記アミノ基は、水素原子の全部または一部が炭素数1〜6の炭化水素基で置換されていてもよい。Aは、単結合、カルボニル基、カルボニルオキシ基、カルボニルメチレン基、スルフィニル基、スルホニル基、メチレン基または炭素数2〜6のアルキレン基である。但し、上記メチレン基およびアルキレン基は、水素原子の全部または一部がシアノ基、ハロゲン原子またはフルオロアルキル基で置換されていてもよい。)
その絶縁膜は、
[I]エポキシ基を有する化合物、
[II]エチレン性不飽和結合を有する重合性化合物、
[III]感放射線性重合開始剤、並びに
[IV]上記式(1)で表される化合物および上記式(2)で表される化合物からなる群より選ばれる少なくとも1種の化合物と
を含有する感放射線性樹脂組成物から形成されることが好ましい。
[1]ジケトピロロピロール系顔料、ハロゲン化亜鉛フタロシアニン系顔料、トリアリールメタン系染料およびアゾ系染料からなる群より選ばれる少なくとも1種の着色剤と、
不飽和カルボン酸および不飽和カルボン酸無水物からなる群より選択される少なくとも1種から形成される構成単位およびエポキシ基含有不飽和化合物から形成される構成単位を含む共重合体と
を含有する着色組成物の塗膜を、スイッチング能動素子を有する基板上に形成する工程、
[2]着色組成物の塗膜に着色パターンを形成する工程、並びに
[3]着色パターンが形成された塗膜を200℃以下で硬化する工程
を有することを特徴とするアレイ基板の製造方法に関する。
式(2)中、R7〜R16は、それぞれ独立して水素原子、電子吸引性基またはアミノ基である。但し、R7〜R16のうち少なくとも1つはアミノ基である。また、上記アミノ基は、水素原子の全部または一部が炭素数1〜6の炭化水素基で置換されていてもよい。Aは、単結合、カルボニル基、カルボニルオキシ基、カルボニルメチレン基、スルフィニル基、スルホニル基、メチレン基または炭素数2〜6のアルキレン基である。但し、上記メチレン基およびアルキレン基は、水素原子の全部または一部がシアノ基、ハロゲン原子またはフルオロアルキル基で置換されていてもよい。)
[4][I]エポキシ基を有する化合物、
[II]エチレン性不飽和結合を有する重合性化合物、
[III]感放射線性重合開始剤、および
[IV]上記式(1)で表される化合物および上記下記式(2)で表される化合物からなる群より選ばれる少なくとも1種の化合物
を含有する感放射線性樹脂組成物の塗膜を基板上の硬化された着色パターンの上に形成する工程、
[5」感放射線性樹脂組成物の塗膜の少なくとも一部に放射線を照射する工程、
[6]放射線が照射された塗膜を現像する工程、並びに
[7]現像された塗膜を200℃以下で硬化して絶縁膜を形成する工程
を有することが好ましい。
尚、本発明において、露光に際して照射される「放射線」とは、可視光線、紫外線、遠紫外線、X線、荷電粒子線等を含む概念である。
本実施の形態の液晶表示素子は、本実施の形態のカラーフィルタ層を備えたアレイ基板からなる、カラーフィルタオンアレイ構造のカラー液晶表示素子である。以下、本実施の形態のカラー液晶表示素子の構造について、図面を用いて説明する。
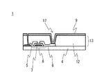
本実施の形態の別の例であるアレイ基板31は、着色パターン32上に絶縁膜33を有する。よって、カラーフィルタ層34は、着色パターン32と絶縁膜33とから構成される。すなわち、アレイ基板31は、基板4上にスイッチング能動素子8と、着色パターン32および絶縁膜33からなるカラーフィルタ層34とを有する。透明電極9は、カラーフィルタ層34の絶縁膜33の上に配置される。
アレイ基板31において、着色パターン32は、上述のアレイ基板1における着色パターン12と同様の着色組成物を用い、同様にして形成される。
アレイ基板1は、図4に示すように、透明な基板4の液晶層23側の面に、ソース電極5と、ドレイン電極6と、ゲート電極7と、スイッチング能動素子8と、赤色(R)、緑色(G)および青色(B)の着色パターン12とを配置した構造を有する。そして、着色パターン12の上は透明電極9が設けられている。
対向基板22には、透明な基板24の液晶層23側の面に、透明な共通電極25が形成されている。
そして、液晶層23を介して対向するアレイ基板1と対向基板22との間の距離は、球状または柱状のスペーサ(図示されない)によって維持され、液晶層23の厚さを所望の値に維持している。
アレイ基板1と対向基板23において、液晶層23に接する側と反対の側には、それぞれ偏光板28が配置されている。アレイ基板1と対向基板22の間隔は、通常、2μm〜10μmであり、これらは、周辺部に設けられたシール材(図示されない)によって互いに固定されている。
本実施形態のカラーフィルタ層の着色パターンの製造に用いられる着色組成物は、[A]アルカリ可溶性樹脂、[B]重合性化合物、[C]重合開始剤、および[D]着色剤を含有する。そしてさらに、[E]化合物を含有することができる。また、本発明の効果を損なわない限りその他の任意成分を含有してもよい。以下、着色組成物に含有される各成分について説明する。
[A]アルカリ可溶性樹脂としては、カルボキシル基を有することで、アルカリ現像性を有する樹脂であれば、特に限定されない。そして、(メタ)アクリロイルオキシ基を有する構造単位及びエポキシ基を有する構造単位からなる群より選択される少なくとも1種の構造単位を含む共重合体であることが好ましい。[A]アルカリ可溶性樹脂が、上記特定構造単位を含むことで、優れた表面硬化性および深部硬化性を有する硬化膜を形成することができる。
(A1)化合物としては、不飽和モノカルボン酸、不飽和ジカルボン酸、不飽和ジカルボン酸の無水物、多価カルボン酸のモノ〔(メタ)アクリロイルオキシアルキル〕エステル、両末端にカルボキシル基と水酸基とを有するポリマーのモノ(メタ)アクリレート、カルボキシル基を有する不飽和多環式化合物及びその無水物等が挙げられる。
不飽和ジカルボン酸としては、例えば、マレイン酸、フマル酸、シトラコン酸、メサコン酸、イタコン酸等;
不飽和ジカルボン酸の無水物としては、例えば、上記ジカルボン酸として例示した化合物の無水物等;
多価カルボン酸のモノ〔(メタ)アクリロイルオキシアルキル〕エステルとしては、例えば、コハク酸モノ〔2−(メタ)アクリロイルオキシエチル〕、フタル酸モノ〔2−(メタ)アクリロイルオキシエチル〕等;
両末端にカルボキシル基と水酸基とを有するポリマーのモノ(メタ)アクリレートとしては、例えばω−カルボキシポリカプロラクトンモノ(メタ)アクリレート等;
カルボキシル基を有する不飽和多環式化合物及びその無水物としては、例えば、5−カルボキシビシクロ[2.2.1]ヘプト−2−エン、5,6−ジカルボキシビシクロ[2.2.1]ヘプト−2−エン、5−カルボキシ−5−メチルビシクロ[2.2.1]ヘプト−2−エン、5−カルボキシ−5−エチルビシクロ[2.2.1]ヘプト−2−エン、5−カルボキシ−6−メチルビシクロ[2.2.1]ヘプト−2−エン、5−カルボキシ−6−エチルビシクロ[2.2.1]ヘプト−2−エン、5,6−ジカルボキシビシクロ[2.2.1]ヘプト−2−エン無水物等が挙げられる。
(A1)化合物の使用割合としては、(A1)化合物並びに(A2)化合物(必要に応じて任意の(A3)化合物および(A4)化合物)の合計に基づいて、5質量%〜30質量%が好ましく、10質量%〜25質量%がより好ましい。(A1)化合物の使用割合を5質量%〜30質量%とすることによって、[A]アルカリ可溶性樹脂のアルカリ水溶液に対する溶解性を最適化すると共に、放射線性感度に優れる着色組成物が得られる。
(A2)化合物はラジカル重合性を有するエポキシ基含有不飽和化合物である。エポキシ基としては、オキシラニル基(1,2−エポキシ構造)、オキセタニル基(1,3−エポキシ構造)が挙げられる。
3−(アクリロイルオキシメチル)オキセタン、3−(アクリロイルオキシメチル)−2−メチルオキセタン、3−(アクリロイルオキシメチル)−3−エチルオキセタン、3−(アクリロイルオキシメチル)−2−フェニルオキセタン、3−(2−アクリロイルオキシエチル)オキセタン、3−(2−アクリロイルオキシエチル)−2−エチルオキセタン、3−(2−アクリロイルオキシエチル)−3−エチルオキセタン、3−(2−アクリロイルオキシエチル)−2−フェニルオキセタン等のアクリル酸エステル;
3−(メタクリロイルオキシメチル)オキセタン、3−(メタクリロイルオキシメチル)−2−メチルオキセタン、3−(メタクリロイルオキシメチル)−3−エチルオキセタン、3−(メタクリロイルオキシメチル)−2−フェニルオキセタン、3−(2−メタクリロイルオキシエチル)オキセタン、3−(2−メタクリロイルオキシエチル)−2−エチルオキセタン、3−(2−メタクリロイルオキシエチル)−3−エチルオキセタン、3−(2−メタクリロイルオキシエチル)−2−フェニルオキセタン、3−(2−メタクリロイルオキシエチル)−2,2−ジフルオロオキセタン等のメタクリル酸エステル等が挙げられる。
(A2)化合物の使用割合としては、(A1)化合物並びに(A2)化合物(必要に応じて任意の(A3)化合物および(A4)化合物)の合計に基づいて、5質量%〜60質量%が好ましく、10質量%〜50質量%がより好ましい。(A2)化合物の使用割合を5質量%〜60質量%とすることによって、優れた硬化性等を有する硬化膜を形成できる。
(A3)化合物としては、まず、水酸基を有する(メタ)アクリル酸エステル、フェノール性水酸基を有する(メタ)アクリル酸エステル、ヒドロキシスチレンが挙げられる。
水酸基を有するアクリル酸エステルとしては、アクリル酸2−ヒドロキシエチル、アクリル酸3−ヒドロキシプロピル、アクリル酸4−ヒドロキシブチル、アクリル酸5−ヒドロキシペンチル、アクリル酸6−ヒドロキシヘキシル等が挙げられる。
また、水酸基を有するメタクリル酸エステルとしては、メタククリル酸2−ヒドロキシエチル、メタククリル酸3−ヒドロキシプロピル、メタククリル酸4−ヒドロキシブチル、メタククリル酸5−ヒドロキシペンチル、メタククリル酸6−ヒドロキシヘキシル等が挙げられる。
ヒドロキシスチレンとしては、o−ヒドロキシスチレン、p−ヒドロキシスチレン、α−メチル−p−ヒドロキシスチレンが好ましい。これらの(A3)化合物は、単独で使用してもよいし2種以上を混合して使用してもよい。
(A3)化合物の使用割合としては、(A1)化合物、(A2)化合物並びに(A3)化合物(必要に応じて任意の(A4)化合物)の合計に基づいて、1質量%〜30質量%が好ましく、5質量%〜25質量%がより好ましい。
(A4)化合物は、上記の(A1)化合物、(A2)化合物および(A3)化合物以外での不飽和化合物であれば特に制限されるものではない。(A4)化合物としては、例えば、メタクリル酸鎖状アルキルエステル、メタクリル酸環状アルキルエステル、アクリル酸鎖状アルキルエステル、アクリル酸環状アルキルエステル、メタクリル酸アリールエステル、アクリル酸アリールエステル、不飽和ジカルボン酸ジエステル、ビシクロ不飽和化合物、マレイミド化合物、不飽和芳香族化合物、共役ジエン、テトラヒドロフラン骨格、フラン骨格、テトラヒドロピラン骨格、ピラン骨格等をもつ不飽和化合物及びその他の不飽和化合物等が挙げられる。
メタクリル酸環状アルキルエステルとしては、例えば、メタクリル酸シクロヘキシル、メタクリル酸2−メチルシクロヘキシル、メタクリル酸トリシクロ[5.2.1.02,6]デカン−8−イル、メタクリル酸トリシクロ[5.2.1.02,6]デカン−8−イルオキシエチル、メタクリル酸イソボロニル等が挙げられる。
アクリル酸環状アルキルエステルとしては、例えば、シクロヘキシルアクリレート、2−メチルシクロヘキシルアクリレート、トリシクロ[5.2.1.02,6]デカン−8−イルアクリレート、トリシクロ[5.2.1.02,6]デカン−8−イルオキシエチルアクリレート、イソボロニルアクリレート等が挙げられる。
アクリル酸アリールエステルとしては、例えば、フェニルアクリレート、ベンジルアクリレート等が挙げられる。
不飽和ジカルボン酸ジエステルとしては、例えば、マレイン酸ジエチル、フマル酸ジエチル、イタコン酸ジエチル等が挙げられる。
マレイミド化合物としては、例えば、N−フェニルマレイミド、N−シクロヘキシルマレイミド、N−ベンジルマレイミド、N−(4−ヒドロキシフェニル)マレイミド、N−(4−ヒドロキシベンジル)マレイミド、N−スクシンイミジル−3−マレイミドベンゾエート、N−スクシンイミジル−4−マレイミドブチレート、N−スクシンイミジル−6−マレイミドカプロエート、N−スクシンイミジル−3−マレイミドプロピオネート、N−(9−アクリジニル)マレイミド等が挙げられる。
共役ジエンとしては、例えば、1,3−ブタジエン、イソプレン、2,3−ジメチル−1,3−ブタジエン等が挙げられる。
テトラヒドロフラン骨格を含有する不飽和化合物としては、例えば、テトラヒドロフルフリル(メタ)アクリレート、2−メタクリロイルオキシ−プロピオン酸テトラヒドロフルフリルエステル、3−(メタ)アクリロイルオキシテトラヒドロフラン−2−オン等が挙げられる。
テトラヒドロピラン骨格を含有する不飽和化合物としては、例えば、(テトラヒドロピラン−2−イル)メチルメタクリレート、2,6−ジメチル−8−(テトラヒドロピラン−2−イルオキシ)−オクト−1−エン−3−オン、2−メタクリル酸テトラヒドロピラン−2−イルエステル、1−(テトラヒドロピラン−2−オキシ)−ブチル−3−エン−2−オン等が挙げられる。
その他の不飽和化合物としては、例えば、アクリロニトリル、メタクリロニトリル、塩化ビニル、塩化ビニリデン、アクリルアミド、メタクリルアミド、酢酸ビニル等が挙げられる。
[A]アルカリ可溶性樹脂は、例えば、溶媒中で重合開始剤の存在下、上記(A1)化合物並びに(A2)化合物(任意の(A3)化合物および(A4)化合物)とを共重合することによって製造できる。かかる合成方法によれば、少なくともエポキシ基含有構造単位を含む共重合体を合成することができる。
[A]アルカリ可溶性樹脂を製造するための重合反応に用いられる重合開始剤としては、一般的にラジカル重合開始剤として知られているものが使用できる。ラジカル重合開始剤としては、例えば、2,2’−アゾビスイソブチロニトリル(AIBN)、2,2’−アゾビス−(2,4−ジメチルバレロニトリル)、2,2’−アゾビス−(4−メトキシ−2,4−ジメチルバレロニトリル)等のアゾ化合物が挙げられる。
装置:GPC−101(昭和電工製)
カラム:GPC−KF−801、GPC−KF−802、GPC−KF−803及びGPC−KF−804を結合
移動相:テトラヒドロフラン
カラム温度:40℃
流速:1.0mL/分
試料濃度:1.0質量%
試料注入量:100μL
検出器:示差屈折計
標準物質:単分散ポリスチレン
また、[A]アルカリ可溶性樹脂は、例えば、上述の(A1)化合物を1種以上使用して合成できる共重合体(以下、「特定共重合体」とも称する)と、上記(A2)化合物とを反応させて合成できる。かかる合成方法によれば、少なくとも(メタ)アクリロイルオキシ基を有する構造単位を含む共重合体を合成することができる。
[A]アルカリ可溶性樹脂が含む(メタ)アクリロイルオキシ基を有する構造単位は、下記式(3)で表される。この構造単位は、(A1)化合物に由来する特定共重合体中のカルボキシル基と(A2)化合物のエポキシ基とが反応し、エステル結合を形成して得られる。
[A]アルカリ可溶性樹脂の(A1)化合物以外の(A3)化合物、(A4)化合物等の化合物に由来する構造単位の含有率としては、10質量%〜90質量%、20質量%〜80質量%である。
本実施の形態のアレイ基板のカラーフィルタ層において、着色パターンの製造に用いられる着色組成物に含有される[B]重合性化合物について説明する。
[B]重合性化合物として使用できるものは、例えば、ω−カルボキシポリカプロラクトンモノ(メタ)アクリレート、エチレングリコール(メタ)アクリレート、1,6−ヘキサンジオールジ(メタ)アクリレート、1,9−ノナンジオールジ(メタ)アクリレート、テトラエチレングリコールジ(メタ)アクリレート、ポリエチレングリコールジ(メタ)アクリレート、ポリプロピレングリコールジ(メタ)アクリレート、ビスフェノキシエタノールフルオレンジ(メタ)アクリレート、ジメチロールトリシクロデカンジ(メタ)アクリレート、2−ヒドロキシ−3−(メタ)アクリロイロキシプロピルメタクリレート、2−(2’−ビニロキシエトキシ)エチル(メタ)アクリレート、トリメチロールプロパントリ(メタ)アクリレート、ペンタエリスリトールトリ(メタ)アクリレート、ペンタエリスリトールテトラ(メタ)アクリレート、ジペンタエリスリトールペンタ(メタ)アクリレート、ジペンタエリスリトールヘキサ(メタ)アクリレート、トリ(2−(メタ)アクリロイロキシエチル)フォスフェート、エチレンオキサイド変性ジペンタエリスリトールヘキサアクリレート、コハク酸変性ペンタエリスリトールトリアクリレート等の他、直鎖アルキレン基および脂環式構造を有しかつ2個以上のイソシアネート基を有する化合物と、分子内に1個以上の水酸基を有しかつ3個〜5個の(メタ)アクリロイロキシ基を有する化合物とを反応させて得られるウレタン(メタ)アクリレート化合物等が挙げられる。
アロニックス(登録商標)M−400、同M−402、同M−405、同M−450、同M−1310、同M−1600、同M−1960、同M−7100、同M−8030、同M−8060、同M−8100、同M−8530、同M−8560、同M−9050、アロニックス(登録商標)TO−756、同TO−1450、同TO−1382(以上、東亞合成社)、KAYARAD(登録商標) DPHA、同DPCA−20、同DPCA−30、同DPCA−60、同DPCA−120、同MAX−3510(以上、日本化薬社)、ビスコート295、同300、同360、同GPT、同3PA、同400(以上、大阪有機化学工業社)、ウレタンアクリレート系化合物としてニューフロンティア(登録商標) R−1150(第一工業製薬社)、KAYARAD(登録商標) DPHA、KAYARAD(登録商標) DPHA−40H、UX−5000(日本化薬社)、UN−9000H(根上工業社)、アロニックス(登録商標)M−5300、同M−5600、同M−5700、M−210、同M−220、同M−240、同M−270、同M−6200、同M−305、同M−309、同M−310、同M−315(以上、東亞合成社)、KAYARAD(登録商標) HDDA、KAYARAD(登録商標) HX−220、同HX−620、同R−526、同R−167、同R−604、同R−684、同R−551、同R−712、UX−2201、UX−2301、UX−3204、UX−3301、UX−4101、UX−6101、UX−7101、UX−8101、UX−0937、MU−2100、MU−4001(以上、日本化薬社)、アートレジンUN−9000PEP、同UN−9200A、同UN−7600、同UN−333、同UN−1003、同UN−1255、同UN−6060PTM、同UN−6060P、同SH−500B(以上、根上工業社)、ビスコート260、同312、同335HP(以上、大阪有機化学工業社)等が挙げられる。
本実施の形態のアレイ基板のカラーフィルタ層において、着色パターンの製造に用いられる着色組成物に含有される[C]重合開始剤について説明する。
[C]重合開始剤は、感放射線性重合開始剤であり、放射線に感応して[B]重合性化合物の重合を開始しうる活性種を生じる成分である。このような[C]重合開始剤としては、O−アシルオキシム化合物、アセトフェノン化合物、ビイミダゾール化合物等が挙げられる。これらの化合物は、単独で使用してもよいし2種以上を混合して使用してもよい。
α−アミノケトン化合物としては、例えば、2−ベンジル−2−ジメチルアミノ−1−(4−モルホリノフェニル)−ブタン−1−オン、2−ジメチルアミノ−2−(4−メチルベンジル)−1−(4−モルフォリン−4−イル−フェニル)−ブタン−1−オン、2−メチル−1−(4−メチルチオフェニル)−2−モルフォリノプロパン−1−オン等が挙げられる。
これらのうちα−アミノケトン化合物が好ましく、2−ベンジル−2−ジメチルアミノ−1−(4−モルホリノフェニル)−ブタン−1−オン、2−ジメチルアミノ−2−(4−メチルベンジル)−1−(4−モルフォリン−4−イル−フェニル)−ブタン−1−オン、2−メチル−1−(4−メチルチオフェニル)−2−モルフォリノプロパン−1−オンがより好ましい。
上述のように、本実施形態のアレイ基板において、着色パターンおよびカラーフィルタ層には高い色純度、輝度、コントラスト等が強く求められている。したがって、カラーフィルタ層の着色パターン形成に用いられる着色組成物に含有される[D]着色剤としては、そうした特性の実現に適したものの選択が必要となる。着色剤としては、例えば、顔料、染料および天然色素のいずれをも使用できるが、着色パターンおよびカラーフィルタ層に求められる高い色純度や輝度などを考慮すると顔料および染料の選択が好ましい。そして、染料の選択が特に好ましい。
C.I.ソルベントイエロー4(以下、「C.I.ソルベントイエロー」の記載を省略し、番号のみを記載する。その他の染料も同様に記載する)、14、15、23、24、38、62、63、68、82、88、94、98、99、162、179;
C.I.ソルベントレッド45、49、125、130;
C.I.ソルベントオレンジ2、7、11、15、26、56;
C.I.ソルベントブルー35、37、59、67;
C.I.ソルベントグリーン1、3、4、5、7、28、29、32、33、34、35等が挙げられる。
C.I.アシッドイエロー1、3、7、9、11、17、23、25、29、34、36、38、40、42、54、65、72、73、76、79、98、99、111、112、113、114、116、119、123、128、134、135、138、139、140、144、150、155、157、160、161、163、168、169、172、177、178、179、184、190、193、196、197、199、202、203、204、205、207、212、214、220、221、228、230、232、235、238、240、242
、243、251;
Valifast yellow 1101、1109、1151、3108、3120、3130、3150、3170、4120;
C.I.アシッドレッド1、4、8、14、17、18、26、27、29、31、34、35、37、42、44、50、51、52、57、66、73、80、87、88、91、92、94、97、103、111、114、129、133、134、138、143、145、150、151、158、176、182、183、198、206、211、215、216、217、227、228、249、252、257、258、260、261、266、268、270、274、277、280、281、195、308、312、315、316、339、341、345、346、349、382、383、394、401、412、417、418、422、426;
C.I.アシッドオレンジ6、7、8、10、12、26、50、51、52、56、62、63、64、74、75、94、95、107、108、169、173;
C.I.アシッドブルー1、7、9、15、18、23、25、27、29、40、42、45、51、62、70、74、80、83、86、87、90、92、96、103、108、112、113、120、129、138、147、150、158、171、182、192、210、242、249、243、256、259、267、278、280、285、290、296、315、324、335、340;
C.I.アシッドバイオレット6B、7、9、17、19、49;
C.I.アシッドグリーン1、3、5、9、16、25、27、50、58、63、65、80、104、105、106、109;
C.I.アシッドブラック24等の染料が挙げられる。
C.I.ダイレクトイエロー2、33、34、35、38、39、43、47、50、54、58、68、69、70、71、86、93、94、95、98、102、108、109、129、136、138、141;
C.I.ダイレクトレッド79、82、83、84、91、92、96、97、98、99、105、106、107、172、173、176、177、179、181、182、184、204、207、211、213、218、220、221、222、232、233、234、241、243、246、250;
C.I.ダイレクトオレンジ34、39、41、46、50、52、56、57、61、64、65、68、70、96、97、106、107;
C.I.ダイレクトブルー57、77、80、81、84、85、86、90、93、94、95、97、98、99、100、101、106、107、108、109、113、114、115、117、119、137、149、150、153、155、156、158、159、160、161、162、163、164、166、167、170、171、172、173、188、189、190、192、193、194、196、198、199、200、207、209、210、212、213、214、222、228、229、237、238、242、243、244、245、247、248、250、251、252、256、257、259、260、268、274、275、293;
C.I.ダイレクトバイオレット47、52、54、59、60、65、66、79、80、81、82、84、89、90、93、95、96、103、104;
C.I.ダイレクトグリーン25、27、31、32、34、37、63、65、66、67、68、69、72、77、79、82等が挙げられる。
C.I.モーダントイエロー5、8、10、16、20、26、30、31、33、42、43、45、56、61、62、65;
C.I.モーダントレッド1、2、3、4、9、11、12、14、17、18、19、22、23、24、25、26、30、32、33、36、37、38、39、41、43、45、46、48、53、56、63、71、74、85、86、88、90、94、95;
C.I.モーダントオレンジ3、4、5、8、12、13、14、20、21、23、24、28、29、32、34、35、36、37、42、43、47、48;
C.I.モーダントブルー1、2、3、7、8、9、12、13、15、16、19、20、21、22、23、24、26、30、31、32、39、40、41、43、44、48、49、53、61、74、77、83、84;
C.I.モーダントバイオレット1、2、4、5、7、14、22、24、30、31、32、37、40、41、44、45、47、48、53、58;
C.I.モーダントグリーン1、3、4、5、10、15、19、26、29、33、34、35、41、43、53等が挙げられる。
C.I.ピグメントグリーン7、C.I.ピグメントグリーン36、C.I.ピグメントグリーン58;
C.I.ピグメントブラウン23、C.I.ピグメントブラウン25;
C.I.ピグメントブラック1、C.I.ピグメントブラック7等が挙げられる。
青色、バイオレット色を呈するものとは、C.I.ピグメントブルー、C.I.ピグメントバイオレット等の顔料、C.I.ベーシックブルー、C.I.ベーシックバイオレット等の塩基性染料、C.I.ソルベントブルー、C.I.ソルベントバイオレット等の油溶性染料、C.I.アシッドブルー、C.I.アシッドバイオレット等の酸性染料、C.I.ディスパースブルー、C.I.ディスパースバイオレット等の分散性染料等、C.I.フードブルー、C.I.フードバイオレット等の食用着色剤等に属するものである。
さらに、これらの酸性染料(直接染料も含む)、塩基性染料をカウンタイオンで変性した造塩染料に属するものである。
NH2、OH基の数によって以下3つの型に分けられるが、中でもトリアミノトリフェニルメタン系染料の形態であることが良好な青色を発色する点で好ましいものである。
a)ジアミノトリフェニルメタン系染料
b)トリアミノトリフェニルメタン系染料
c)OH基を有するロゾール酸系染料
トリアミノトリフェニルメタン系染料は色調が鮮明であり、耐光性に優れ好ましい。また、その中でも塩基性染料であるジフェニルナフチルメタン染料が、特に好ましい。
1)トリアリールメタン系染料の塩基性染料(トリアリールメタン系塩基性染料)
2)トリアリールメタン系塩基性染料と有機スルホン酸との造塩化合物、トリアリールメタン系塩基性染料と芳香族ヒドロキシカルボン酸との造塩化合物
3)トリアリールメタン系染料の酸性染料
4)トリアリールメタン系酸性染料と第四級アンモニウムとの造塩化合物
5)トリアリールメタン系染料のレーキ顔料(特に、トリアリールメタン系染料の金属レーキ顔料)
これらの形態としては、中でもトリアリールメタン系染料の塩基性染料、トリアリールメタン系塩基性染料と有機スルホン酸との造塩化合物、トリアリールメタン系塩基性染料と芳香族ヒドロキシカルボン酸との造塩化合物、トリアリールメタン系染料の金属レーキ顔料を用いることが好ましい。
有機スルホン酸としては、ナフタレン類のスルホン化物、ナフトール類のスルホン化物などを用いることができる。
ナフタレン類のスルホン化物にはスルホン酸基が1個結合したナフタレンモノスルホン酸、2個結合したナフタレンジスルホン酸、3個結合したナフタレントリスルホン酸がある。具体的には、1−ナフタレンスルホン酸、2−ナフタレンスルホン酸、1,3−ナフタレンジスルホン酸、1,5−ナフタレンジスルホン酸、1,6−ナフタレンジスルホン酸、1,7−ナフタレンジスルホン酸、2,6−ナフタレンジスルホン酸、2,7−ナフタレンジスルホン酸、1,3,5−ナフタレントリスルホン酸、1,3,6−ナフタレントリスルホン酸、1,3,7−ナフタレントリスルホン酸などである。
また、ナフタレン類のスルホン化物は、前記述べたナフタレンスルホン酸に加え、ナフチルアミンスルホン酸も含む。そして、スルホン酸基が1個結合したナフチルアミンモノスルホン酸、2個結合したナフチルアミンジスルホン酸、3個結合したナフチルアミントリスルホン酸がある。具体的には、1,4−ナフチルアミンスルホン酸(ナフチオン酸)、1,5−ナフチルアミンスルホン酸(ローレンツ酸)、1,6−ナフチルアミンスルホン酸(6−クレーブ酸)、1,7−ナフチルアミンスルホン酸(7−クレーブ酸)、1,8−ナフチルアミンスルホン酸(ペリ酸)、2,1−ナフチルアミンスルホン酸(トビアス酸)、2,5−ナフチルアミンスルホン酸、2,6−ナフチルアミンスルホン酸(ブレンナー酸)、1,3,6−ナフチルアミンジスルホン酸(フロイント酸)、1,3,7−ナフチルアミンジスルホン酸、2,3,6−ナフチルアミンジスルホン酸(アミノR酸)、2,4,6−ナフチルアミンジスルホン酸(C酸)、2,5,7−ナフチルアミンジスルホン酸(アミノJ酸)、2,6,8−ナフチルアミンジスルホン酸(アミノG酸)、1,3,6,8−ナフチルアミントリスルホン酸(コッホ酸)などである。
さらにはビクトリアピュアブルーBO(C.I.ベーシックブルー7)とナフタレンジスルホン酸とからなる造塩化合物、ビクトリアピュアブルーBO(C.I.ベーシックブルー7)とナフトールジスルホン酸とからなる造塩化合物は好ましい染料である。
さらにはビクトリアピュアブルーBO(C.I.ベーシックブルー7)と3,5−ジ−tert−ブチルサリチル酸とからなる造塩化合物は好ましい染料である。
一例をあげると、トリアリールメタン系酸性染料を水に溶解した後、第四級アンモニウム化合物を添加、攪拌しながら造塩化処理を行なえばよい。ここでトリアリールメタン系酸性染料中のスルホン酸基(−SO3H)の部分と第四級アンモニウム化合物のアンモニウム基(NH4 +)の部分が結合した造塩化合物が得られる。第四級アンモニウム化合物としては、トリエチルベンジルクロライドなどを用いることが好ましい。
更に好ましいものを具体的に示すと、
C.I.ピグメントブルー1。
C.I.ベーシックブルー26、C.I.ベーシックブルー7 リンタングステン・モリブデン酸でレーキ化。
C.I.ピグメントバイオレット3。
C.I.ベーシックバイオレット1をリンタングステン・モリブデン酸でレーキ化。
C.I.ピグメントバイオレット39。
C.I.ベーシックバイオレット3(クリスタルバイオレット)をリンタングステン・モリブデン酸でレーキ化。
中でもC.I.ピグメントブルー1を用いることが好ましい。
R101〜R104は、それぞれ独立に、水素原子、置換基を有していてもよい炭素数1〜10の脂肪族炭化水素基、置換基を有していてもよい炭素数6〜20のアリール基、置換基を有していてもよい炭素数7〜20のアラルキル基または置換基を有していてもよい炭素数2〜10のアシル基を表す。
R105〜R112は、それぞれ独立に、水素原子、炭素数1〜10の脂肪族炭化水素基、炭素数1〜8のアルコキシル基、カルボキシル基、スルホ基、スルファモイル基またはN位−置換スルファモイル基を表す。上記脂肪族炭化水素基に含まれる水素原子は、ハロゲン原子で置換されていてもよい。
また、炭素数1〜10の脂肪族炭化水素基に含まれる水素原子は、ヒドロキシル基、炭素数1〜8の(好ましくは炭素数1〜4の)アルコキシル基または炭素数1〜8の(好ましくは炭素数1〜4の)チオアルコキシル基で置換されていてもよい。置換された脂肪族炭化水素基としては、例えば、ヒドロキシエチル基(2−ヒドロキシエチル基など)、エトキシエチル基(2−エトキシエチル基など)、エチルヘキシルオキシプロピル基(3−(2−エチルヘキシルオキシ)プロピル基など)及びメチルチオプロピル基(3−メチルチオプロピル基など)などが挙げられる。
R101〜R104における炭素数2〜10のアシル基は、無置換であってもよく、脂肪族炭化水素基またはアルコキシル基などの置換基が結合していてもよい。アシル基の炭素数は、置換基の炭素数を含めて数えられ、その数は、好ましくは2〜10である。アシル基としては、例えば、アセチル基、ベンゾイル基、メトキシベンゾイル基(p−メトキシベンゾイル基など)などが挙げられる。
−SO2NHR140に含まれるR140は、置換基を有していてもよい炭素数1〜10の脂肪族炭化水素基、置換基を有していてもよい炭素数6〜20のアリール基、置換基を有していてもよい炭素数7〜20のアラルキル基または置換基を有していてもよい炭素数2〜10のアシル基を表す。
R140における炭素数1〜10の脂肪族炭化水素基としては、例えば、メチル基、エチル基、n−プロピル基、イソプロピル基、n−ブチル基、イソブチル基、sec−ブチル基、tert−ブチル基、メチルブチル基(1,1,3,3−テトラメチルブチル基など)、メチルヘキシル基(1−メチルヘキシル基、1,5−ジメチルヘキシル基など)、エチルヘキシル基(2−エチルヘキシル基など)、シクロペンチル基、シクロヘキシル基、メチルシクロヘキシル基(2−メチルシクロヘキシル基など)及びシクロヘキシルアルキル基などが挙げられる。
R122は、水素原子、シアノ基、カルバモイル基、N位−置換カルバモイル基、スルファモイル基またはスルホ基を表す。
R123は、水素原子、置換基を有していてもよい炭素数1〜10の直鎖状、分岐状または環状の脂肪族炭化水素基、置換基を有していてもよい炭素数6〜30のアリール基、置換基を有していてもよい炭素数7〜20のアラルキル基、置換基を有していてもよい炭素数3〜20の複素環基、カルバモイル基、N位−置換カルバモイル基、置換基を有していてもよい炭素数2〜20のアルキルオキシカルボニル基、置換基を有していてもよい炭素数7〜30のアリールオキシカルボニル基、置換基を有していてもよい炭素数2〜20のアシル基、置換基を有していてもよい炭素数1〜30の脂肪族スルホニル基あるいは置換基を有していてもよい炭素数6〜30のアリールスルホニル基を表す。
Zにおけるハロゲン原子としては、フッ素原子、臭素原子、塩素原子及びヨウ素原子が挙げられる。
ZにおけるN位−置換スルファモイル基は、−SO2N(R141)R142で表される。R141およびR142は、それぞれ独立に、水素原子、置換基を有していてもよい炭素数1〜16の脂肪族炭化水素基、置換基を有していてもよい炭素数6〜20のアリール基、置換基を有していてもよい炭素数7〜20のアラルキル基または置換基を有していてもよい炭素数2〜15のアシル基を表す(ただし、R141およびR142が、同時に水素原子であることはない)。
炭素数1〜16の脂肪族炭化水素基は、直鎖状、分岐状または環状のいずれでもよく、脂肪族炭化水素基の炭素数は、好ましくは6〜16である。
R121における炭素数1〜10の脂肪族炭化水素基の炭素数には、置換基の炭素数は含まれない。その炭素数は、好ましくは2〜8、より好ましくは3〜6である。脂肪族炭化水素基としては、メチル基、エチル基、n−プロピル基、イソプロピル基、n−ブチル基、イソブチル基、sec−ブチル基、tert−ブチル基、シクロペンチル基およびシクロヘキシル基などが挙げられる。
R143およびR144の脂肪族炭化水素基、アリール基、アラルキル基およびアシル基の説明および具体例は、前述のR141およびR142と同じである。ただし、アシル基はハロゲン原子を有していてもよい。ハロゲン原子を有しているアシル基としては、例えば、ブロモベンゾイル基(p−ブロモベンゾイル基など)などが挙げられる。
R123における脂肪族炭化水素基としては、上述のR121における脂肪族炭化水素基と同じ基が挙げられる。
R123におけるアリールスルホニル基としては、置換基を有していてもよく、炭素数としては、通常、6〜30であり、好ましくは6〜20であり、さらに好ましくは6〜18である。アリールスルホニル基としては、ベンゼンスルホニル及びトルエンスルホニル基などが挙げられる。
[D]着色剤の含有量としては、[A]アルカリ可溶性樹脂100質量部に対して、1質量部〜400質量部が好ましく、5質量部〜350質量部がより好ましい。[D]着色剤の含有量を上記範囲とすることで、着色組成物のアルカリ現像性や、画素の耐熱性、耐溶媒性と着色パターンおよびカラーフィルタ層としての高輝度化や高コントラスト化が高いレベルでバランス良く達成できる。
本実施の形態のアレイ基板のカラーフィルタ層において、その着色パターンの製造に用いられる着色組成物は[E]化合物を含有することができる。[E]化合物は、硬化剤としての機能を果たす化合物である。したがって、便宜上、[E]化合物(硬化剤)や[E]硬化剤などと称することもある。[E]化合物は、下記式(1)で表される化合物、下記式(2)で表される化合物、3級アミン化合物、アミン塩、ホスホニウム塩、アミジン塩、アミド化合物、チオール化合物、ブロックイソシアネート化合物およびイミダゾール環含有化合物からなる群より選ばれる少なくとも1つの化合物である。着色組成物が、その特定の化合物群から選択される[E]化合物を含有することで着色パターンの低温硬化を実現することができる。併せて、着色組成物の保存安定性を向上させることもできる。以下、各化合物を詳述する。
[E]化合物としては、下記式(1)および式(2)で表される化合物からなる群より選ばれる少なくとも1種の化合物であることが好ましい。[E]化合物として、アミノ基と電子欠乏基とを有する、上述の特定化合物を選択することで、着色パターンの低温硬化を実現することができる。併せて、着色組成物の保存安定性を向上させることもできる。さらに得られたカラーフィルタ層を備えた液晶表示素子の電圧保持率をより向上できる。
上記式(2)中、R7〜R16は、それぞれ独立して水素原子、電子吸引性基またはアミノ基である。但し、R7〜R16のうち少なくとも1つはアミノ基である。また、そのアミノ基は、水素原子の全部または一部が炭素数1〜6の炭化水素基で置換されていてもよい。そして、着色組成物に用いられる[E]化合物の場合、そのアミノ基は、炭素数1〜6のアルキル基で置換されていてもよい。Aは、単結合、カルボニル基、カルボニルオキシ基、カルボニルメチレン基、スルフィニル基、スルホニル基、メチレン基または炭素数2〜6のアルキレン基である。但し、上記メチレン基およびアルキレン基は、水素原子の全部または一部がシアノ基、ハロゲン原子またはフルオロアルキル基で置換されていてもよい。
2,2−ビス(4−アミノフェニル)ヘキサフルオロプロパン、2,3−ビス(4−アミノフェニル)スクシノニトリル、4,4’−ジアミノベンゾフェノン、4,4’−ジアミノフェニルベンゾエート、4,4’−ジアミノジフェニルスルホン、1,4−ジアミノ−2−クロロベンゼン、1,4−ジアミノ−2−ブロモベンゼン、1,4−ジアミノ−2−ヨードベンゼン、1,4−ジアミノ−2−ニトロベンゼン、1,4−ジアミノ−2−トリフルオロメチルベンゼン、2,5−ジアミノベンゾニトリル、2,5−ジアミノアセトフェノン、2,5−ジアミノ安息香酸、2,2’−ジクロロベンジジン、2,2’−ジブロモベンジジン、2,2’−ジヨードベンジジン、2,2’−ジニトロベンジジン、2,2’−ビス(トリフルオロメチル)ベンジジン、3−アミノベンゼンスルホン酸エチル、3,5−ビストリフルオロメチル−1,2−ジアミノベンゼン、4−アミノニトロベンゼン、N,N−ジメチル−4−ニトロアニリンが好ましく、4,4’−ジアミノジフェニルスルホン、2,2−ビス(4−アミノフェニル)ヘキサフルオロプロパン、2,2’−ビス(トリフルオロメチル)ベンジジン、3−アミノベンゼンスルホン酸エチル、3,5−ビストリフルオロメチル−1,2−ジアミノベンゼン、4−アミノニトロベンゼン、N,N−ジメチル−4−ニトロアニリンがより好ましい。
反応性の高い一般的な1級アミン化合物や2級アミン化合物をエポキシ化合物と共存させると、組成物溶液の保存中にアミンのエポキシ基への求核攻撃により硬化反応が進行し、製品としての品質を損なうおそれがある。しかし、3級アミンを使用した場合は、比較的反応性が低いことに起因してか組成部中ではエポキシ化合物と共存させても保存安定性は良好となる。
3級アミン化合物としては、下記式(5)で表される化合物からなる群より選択される少なくとも1種を使用することができる。
上記R24〜R26が示す炭素数7〜30のアラルキル基としては、例えば、ベンジル基、フェネチル基等が挙げられる。
アミン塩およびホスホニウム塩としては、下記式(6)で表される化合物からなる群より選ばれる少なくとも1種を使用することができる。
アミジン塩としては、下記式(7)で表される化合物の塩からなる群より選ばれる少なくとも1種を使用することができる。
メチル基、エチル基、イソプロピル基、n−ブチル基、t−ブチル基、n−ヘキシル基等の炭素数1〜6のアルキル基;
ヒドロキシメチル基、2−ヒドロキシエチル基、1−ヒドロキシプロピル基、2−ヒドロキシプロピル基、3−ヒドロキシプロピル基、2−ヒドロキシイソプロピル基、3−ヒドロキシ−t−ブチル基、6−ヒドロキシヘキシル基等の炭素数1〜6のヒドロキシアルキル基;
ジメチルアミノ基、メチルエチルアミノ基、ジエチルアミノ基、ジイソプロピルアミノ基、ジブチルアミノ基、t−ブチルメチルアミノ基、ジn−ヘキシルアミノ基等の炭素数2〜12のジアルキルアミノ基等が挙げられる。
有機酸としては、例えばカルボン酸、モノアルキル炭酸、芳香族ヒドロキシ化合物、スルホン酸等が挙げられる。
アミド化合物としては、下記式(8)〜式(10)で表されるアミド基を有する化合物からなる群より選ばれる少なくとも1種を使用することができる。
上記式(9)中、R33およびR34は、それぞれ独立して水素原子、炭素数1〜12のアルキル基またはシクロヘキシル基である。A2は、メチレン基、炭素数2〜12のアルキレン基、フェニレン基、ナフチレン基、またはビニレン基である。但し、上記メチレン基、炭素数2〜12のアルキレン基、フェニレン基およびナフチレン基は、炭素数1〜6のアルキル基、ハロゲン原子で置換されていてもよい。
これらのうち、室温での保存安定性、得られる着色パターン等の耐熱性、電圧保持率等を向上できる観点からアセトアミド、N−メチルアセトアミド、フタルアミド酸が好ましい。
これらのうち、保存安定性と低温硬化とを高いレベルで両立できるという観点から、イソフタルアミド、アジピンアミド、N,N’−ジアセチル−p−フェニレンジアミン、N,N’−ジアセチル−ヘキサメチレンジアミンが好ましい。
チオール化合物としては、1分子中に2個以上のメルカプト基を有する化合物である。チオール化合物は、1分子中に2個以上のメルカプト基を有する限り特に限定されるものではないが、下記式(11)で表される化合物からなる群より選ばれる少なくとも1種を使用することができる。
上記式(14)中、R43〜R46は、それぞれ独立して、水素原子、水酸基または下記式(15)で表される基である。但し、R43〜R46の少なくとも1つは下記式(15)で表される基である。
ブロックポリイソシアネート化合物は、イソシアネート基を活性水素基含有化合物(ブロック剤)と反応させて常温で不活性としたものであり、これを加熱するとブロック剤が解離してイソシアネート基が再生されるという性質を持つものである。着色組成物がブロックポリイソシアネートを含有することで、効果的な架橋剤としてイソシアネート−水酸基架橋反応が進行し、着色組成物の保存安定性と低温硬化とを高いレベルで両立できる。
イソシアネート基をメチルエチルケトンのオキシムでブロックしたものとして、デュラネート(登録商標)TPA−B80E、TPA−B80X、E402−B80T、MF−B60XN、MF−B60X、MF−B80M(以上、旭化成工業社);
イソシアネート基を活性メチレンでブロックしたものとして、デュラネート(登録商標)MF−K60X(旭化成工業社);
(メタ)アクリロイル基を有するイソシアネート化合物のブロック体として、カレンズ(登録商標)MOI−BP、カレンズ(登録商標)MOI−BM(以上、昭和電工社)が挙げられる。これらのうち、デュラネート(登録商標)E402−B80T、MF−K60Xを用いた場合に高いフレキシブル性が発現し、他との混合系にして使用する事で、自在にその硬さを制御する事ができるため好ましい。
フェノール系化合物としては、例えば、フェノール、クレゾール、エチルフェノール、ブチルフェノール、ノニルフェノール、ジノニルフェノール、スチレン化フェノール、ヒドロキシ安息香酸エステル等;
活性メチレン系化合物としては、例えば、マロン酸ジメチル、マロン酸ジエチル、アセト酢酸メチル、アセト酢酸エチル、アセチルアセトン等;
メルカプタン系化合物としては、例えば、ブチルメルカプタン、ドデシルメルカプタン等;
酸アミド系化合物としては、例えば、アセトアニリド、酢酸アミド、ε−カプロラクタム、δ−バレロラクタム、γ−ブチロラクタム等;
酸イミド系化合物としては、例えば、コハク酸イミド、マレイン酸イミド等;
イミダゾール系化合物としては、例えば、イミダゾール、2−メチルイミダゾール等;
ピラゾール系化合物としては、例えば、3−メチルピラゾール、3,5−ジメチルピラゾール、3,5−エチルピラゾール等;
尿素系化合物としては、例えば、尿素、チオ尿素、エチレン尿素等;
オキシム系化合物としては、例えば、ホルムアルドオキシム、アセトアルドオキシム、アセトオキシム、メチルエチルケトオキシム、シクロヘキサノンオキシム等;
アミン系化合物としては、例えば、ジフェニルアミン、アニリン、カルバゾール等;
イミン系化合物としては、例えば、エチレンイミン、ポリエチレンイミン等
ピリジン系化合物としては、例えば、2−ヒドロキシピリジン、2−ヒドロキシキノリン等が挙げられる。
イミダゾール環含有化合物としては、下記式(16)で表される化合物からなる群より選ばれる少なくとも1種を使用することができる。
メチル基、エチル基、n−プロピル基、i−プロピル基、n−ブチル基、i−ブチル基、sec−ブチル基、t−ブチル基、n−ペンチル基、n−ヘキシル基、n−ヘプチル基、n−オクチル基、n−ノニル基、n−デシル基、n−ウンデシル基、n−ドデシル基、n−トリデシル基、n−テトラデシル基、n−ペンタデシル基、n−ヘキサデシル基、n−ヘプタデシル基、n−オクタデシル基、n−ノナデシル基、n−エイコシル基等の炭素数1〜20のアルキル基;
シクロペンチル基、シクロブチル基、シクロペンチル基、シクロヘキシル基等の炭素数3〜20のシクロアルキル基;
フェニル基、トルイル基、ベンジル基、メチルベンジル基、キシリル基、メシチル基、ナフチル基、アントリル基等の炭素数6〜20のアリール基;
ノルボルニル基、トリシクロデカニル基、テトラシクロドデシル基、アダマンチル基、メチルアダマンチル基、エチルアダマンチル基、ブチルアダマンチル基等の炭素数6〜20の有橋脂環式炭化水素基等が挙げられる。
水酸基;
カルボキシル基;
ヒドロキシメチル基、1−ヒドロキシエチル基、2−ヒドロキシエチル基、1−ヒドロキシプロピル基、2−ヒドロキシプロピル基、3−ヒドロキシプロピル基、1−ヒドロキシブチル基、2−ヒドロキシブチル基、3−ヒドロキシブチル基、4−ヒドロキシブチル基等の炭素数1〜4のヒドロキシアルキル基;
メトキシル基、エトキシル基、n−プロポキシル基、i−プロポキシル基、n−ブトキシル基、2−メチルプロポキシル基、1−メチルプロポキシル基、t−ブトキシル基等の炭素数1〜4のアルコキシル基;
シアノ基;
シアノメチル基、2−シアノエチル基、3−シアノプロピル基、4−シアノブチル基等の炭素数2〜5のシアノアルキル基;
メトキシカルボニル基、エトキシカルボニル基、t−ブトキシカルボニル基等の炭素数2〜5のアルコキシカルボニル基;
メトキシカルボニルメトキシル基、エトキシカルボニルメトキシル基、t−ブトキシカルボニルメトキシル基等の炭素数3〜6のアルコキシカルボニルアルコキシル基;
フッ素、塩素等のハロゲン原子;
フルオロメチル基、トリフルオロメチル基、ペンタフルオロエチル基等のフルオロアルキル基等が挙げられる。
本実施の形態のアレイ基板のカラーフィルタ層において、その着色パターンの形成に用いられる着色組成物は、上記の[A]アルカリ可溶性樹脂、[B]重合性化合物、[C]重合開始剤、および[D]着色剤に加え、[E]化合物(硬化剤)のほか、本発明の効果を損なわない範囲で必要に応じて界面活性剤、保存安定剤、接着助剤、耐熱性向上剤等のその他の任意成分を含有できる。これらの各任意成分は、単独で使用してもよいし2種以上を混合して使用してもよい。以下、各成分を詳述する。
界面活性剤は、着色組成物の塗膜形成性をより向上させるために使用できる。界面活性剤としては、例えば、フッ素系界面活性剤、シリコーン系界面活性剤およびその他の界面活性剤が挙げられる。
保存安定剤としては、例えば、硫黄、キノン類、ヒドロキノン類、ポリオキシ化合物、アミン、ニトロニトロソ化合物等が挙げられ、より具体的には、4−メトキシフェノール、N−ニトロソ−N−フェニルヒドロキシルアミンアルミニウム等が挙げられる。
接着助剤は、得られる着色パターンおよびカラーフィルタ層と基板などとの接着性をさらに向上させるために使用できる。接着助剤としてはカルボキシル基、メタクリロイル基、ビニル基、イソシアネート基、オキシラニル基等の反応性官能基を有する官能性シランカップリング剤が好ましく、例えばトリメトキシシリル安息香酸、γ−メタクリロキシプロピルトリメトキシシラン、ビニルトリアセトキシシラン、ビニルトリメトキシシラン、γ−イソシアナートプロピルトリエトキシシラン、γ−グリシドキシプロピルトリメトキシシラン、β−(3,4−エポキシシクロヘキシル)エチルトリメトキシシラン等が挙げられる。
本実施の形態のアレイ基板のカラーフィルタ層において、その着色パターンの形成に用いられる着色組成物は、[A]アルカリ可溶性樹脂、[B]重合性化合物、[C]重合開始剤、および[D]着色剤のほか、さらに[E]化合物(硬化剤)および必要に応じ添加されるその他の任意成分を均一に混合することによって調製される。この着色組成物は、好ましくは適当な溶媒に溶解されて溶液状で用いられる。
メチルエチルケトン、シクロヘキサノン、2−ヘプタノン、3−ヘプタノン、ジアセトンアルコール(4−ヒドロキシ−4−メチルペンタン−2−オン)、4−ヒドロキシ−4−メチルヘキサン−2−オン等のケトン類;
プロピレングリコールジアセテート、1,3−ブチレングリコールジアセテート、1,6−ヘキサンジオールジアセテート等のジアセテート類;
乳酸メチル、乳酸エチル等の乳酸アルキルエステル類;
酢酸エチル、酢酸n−プロピル、酢酸i−プロピル、酢酸n−ブチル、酢酸i−ブチル、ぎ酸n−ペンチル、酢酸i−ペンチル、3−メトキシブチルアセテート、3−メチル−3−メトキシブチルアセテート、プロピオン酸n−ブチル、3−メトキシブチルアセテート、3−メチル−3−メトキシブチルプロピオネート、酪酸エチル、酪酸n−プロピル、酪酸i−プロピル、酪酸n−ブチル、ヒドロキシ酢酸エチル、エトキシ酢酸エチル、3−メトキシプロピオン酸メチル、3−メトキシプロピオン酸エチル、3−エトキシプロピオン酸メチル、3−エトキシプロピオン酸エチル、ピルビン酸メチル、ピルビン酸エチル、ピルビン酸n−プロピル、アセト酢酸メチル、アセト酢酸エチル、2−ヒドロキシ−2−メチルプロピオン酸エチル、2−ヒドロキシ−3−メチル酪酸メチル、2−オキソ酪酸エチル等の他のエステル類;
トルエン、キシレン等の芳香族炭化水素類;
N−メチルピロリドン、N,N−ジメチルホルムアミド、N,N−ジメチルアセトアミド等のアミド類等が挙げられる。
本実施の形態のアレイ基板において、カラーフィルタ層の絶縁膜の形成に用いられる感放射線性樹脂組成物は、[I]化合物、[II]重合性化合物、[III]重合開始剤および[IV]化合物を含有し、さらに任意成分を含有してもよい。感光性材料である感放射線性樹脂組成物は、感放射線性を利用した露光により低温硬化を実現する。併せて、保存安定性を有し、かつ充分な放射線感度を有する。以下、各成分について説明する。
感放射線性樹脂組成物に含有される[I]化合物はエポキシ基を有する化合物である。[I]化合物としては、例えば、1分子内に2個以上のオキシラニル基、オキセタニル基、グリシジル基、3,4−エポキシシクロヘキシル基を有する化合物等が挙げられる。
1分子中に2個以上のオキセタニル基(1,3−エポキシ構造)を有する化合物としては、例えば1,4−ビス[(3−エチル−3−オキセタニルメトキシ)メチル]ベンゼン、ビス{[1−エチル(3−オキセタニル)]メチル}エーテル、ビス(3−エチル−3−オキセタニルメチル)エーテル等が挙げられる。
ビスフェノールAジグリシジルエーテル、ビスフェノールFジグリシジルエーテル、ビスフェノールSジグリシジルエーテル、水添ビスフェノールAジグリシジルエーテル、水添ビスフェノールFジグリシジルエーテル、水添ビスフェノールADジグリシジルエーテル、臭素化ビスフェノールAジグリシジルエーテル、臭素化ビスフェノールFジグリシジルエーテル、臭素化ビスフェノールSジグリシジルエーテル等のビスフェノール化合物のジグリシジルエーテル;
1,4−ブタンジオールジグリシジルエーテル、1,6−ヘキサンジオールジグリシジルエーテル、グリセリントリグリシジルエーテル、トリメチロールプロパントリグリシジルエーテル、ポリエチレングリコールジグリシジルエーテル、ポリプロピレングリコールジグリシジルエーテル等の多価アルコールのポリグリシジルエーテル;
エチレングリコール、プロピレングリコール、グリセリン等の脂肪族多価アルコールに1種または2種以上のアルキレンオキサイドを付加することにより得られるポリエーテルポリオールのポリグリシジルエーテル;
フェノールノボラック型エポキシ樹脂;
クレゾールノボラック型エポキシ樹脂;
ポリフェノール型エポキシ樹脂;
環状脂肪族エポキシ樹脂;
脂肪族長鎖二塩基酸のジグリシジルエステル;
高級脂肪酸のグリシジルエステル;
エポキシ化大豆油、エポキシ化アマニ油等が挙げられる。
ビスフェノールA型エポキシ樹脂として、エピコート1001、同1002、同1003、同1004、同1007、同1009、同1010、同828(以上、ジャパンエポキシレジン社)等;
ビスフェノールF型エポキシ樹脂として、エピコート807(ジャパンエポキシレジン社)等;
フェノールノボラック型エポキシ樹脂として、エピコート152、同154、同157S65(以上、ジャパンエポキシレジン社)、EPPN201、同202(以上、日本化薬社)等;
クレゾールノボラック型エポキシ樹脂として、EOCN(登録商標)102、同103S、同104S、1020、1025、1027(以上、日本化薬社)、エピコート180S75(ジャパンエポキシレジン社)等;
ポリフェノール型エポキシ樹脂として、エピコート1032H60、同XY−4000(以上、ジャパンエポキシレジン社)等;
環状脂肪族エポキシ樹脂として、CY−175、同177、同179、アラルダイトCY−182、同192、184(以上、チバ・スペシャルティ・ケミカルズ社)、ERL−4234、4299、4221、4206(以上、U.C.C社)、ショーダイン509(昭和電工社)、エピクロン200、同400(以上、大日本インキ社)、エピコート871、同872(以上、ジャパンエポキシレジン社)、ED−5661、同5662(以上、セラニーズコーティング社)等;
脂肪族ポリグリシジルエーテルとしてエポライト100MF(共栄社化学社)、エピオール(登録商標)TMP(日本油脂社)等が挙げられる。
これらのうち、フェノールノボラック型エポキシ樹脂およびポリフェノール型エポキシ樹脂が好ましい。
[II]重合性化合物としては、上述した本実施形態のアレイ基板のカラーフィルタ層の着色パターンにおいて、その形成に用いられる着色組成物に含有される[B]重合性化合物と同様の化合物を用いることができる。
[III]重合開始剤は感放射線性重合開始剤であり、放射線に感応して重合反応を開始しうる活性種を生じる成分である。本実施形態のアレイ基板のカラーフィルタ層の着色パターンにおいて、その形成に用いられる着色組成物に含有される[C]重合開始剤と同様の化合物を用いることができる。
本実施の形態のアレイ基板のカラーフィルタ層において、その絶縁膜の形成に用いられる感放射線性樹脂組成物は、アミノ基と電子吸引性基とを有する[IV]化合物を含有することで、感放射線性樹脂組成物の低温硬化における硬化膜の硬化促進を実現できる。併せて、保存安定性も実現する。さらに、得られた絶縁膜を有するカラーフィルタ層を備えた液晶表示素子の電圧保持率を高いレベルで保持できる。
2,2−ビス(4−アミノフェニル)ヘキサフルオロプロパン、2,3−ビス(4−アミノフェニル)スクシノニトリル、4,4’−ジアミノベンゾフェノン、4,4’−ジアミノフェニルベンゾエート、4,4’−ジアミノジフェニルスルホン、1,4−ジアミノ−2−クロロベンゼン、1,4−ジアミノ−2−ブロモベンゼン、1,4−ジアミノ−2−ヨードベンゼン、1,4−ジアミノ−2−ニトロベンゼン、1,4−ジアミノ−2−トリフルオロメチルベンゼン、2,5−ジアミノベンゾニトリル、2,5−ジアミノアセトフェノン、2,5−ジアミノ安息香酸、2,2’−ジクロロベンジジン、2,2’−ジブロモベンジジン、2,2’−ジヨードベンジジン、2,2’−ジニトロベンジジン、2,2’−ビス(トリフルオロメチル)ベンジジン、3−アミノベンゼンスルホン酸エチル、3,5−ビストリフルオロメチル−1,2−ジアミノベンゼン、4−アミノニトロベンゼン、N,N−ジメチル−4−ニトロアニリンが好ましく、4,4’−ジアミノジフェニルスルホン、2,2−ビス(4−アミノフェニル)ヘキサフルオロプロパン、2,2’−ビス(トリフルオロメチル)ベンジジン、3−アミノベンゼンスルホン酸エチル、3,5−ビストリフルオロメチル−1,2−ジアミノベンゼン、4−アミノニトロベンゼン、N,N−ジメチル−4−ニトロアニリンがより好ましい。
本実施の形態のアレイ基板のカラーフィルタ層において、絶縁膜の形成に用いられる感放射線性樹脂組成物は、上述した[I]化合物、[II]重合性化合物、[III]重合開始剤、および[IV]化合物に加え、所期の効果を損なわない範囲で必要に応じて[V]接着助剤、[VI]界面活性剤、[VII]保存安定剤および[VIII]耐熱性向上剤等の任意成分を含有できる。これらの各任意成分は、単独で使用してもよいし2種以上を混合して使用してもよい。以下、順に詳述する。
[V]接着助剤は、得られる絶縁膜とその下にある層との接着性をさらに向上させるために使用できる。このような[V]接着助剤としては、上述した着色組成物のその他の任意成分である接着助剤と同様の化合物を用いることができる。
[VI]界面活性剤は、感放射線性樹脂組成物の塗膜形成性をより向上させるために使用できる。[VI]界面活性剤としては、例えば、フッ素系界面活性剤、シリコーン系界面活性剤およびその他の界面活性剤が挙げられるが、上述した着色組成物のその他の任意成分である界面活性剤と同様のものを用いることができる。
[VII]保存安定剤としては、上述した着色組成物のその他の任意成分である保存安定剤と同様のものを用いることができ、例えば、硫黄、キノン類、ヒドロキノン類、ポリオキシ化合物、アミン、ニトロニトロソ化合物等が挙げられ、より具体的には、4−メトキシフェノール、N−ニトロソ−N−フェニルヒドロキシルアミンアルミニウム等が挙げられる。
[VIII]耐熱性向上剤としては、上述した着色組成物のその他の任意成分である耐熱安定剤と同様のものを用いることができる。
[VIII]耐熱性向上剤の使用量としては、カルボキシル基を有する共重合体である[I]化合物100質量部に対して、50質量部以下が好ましく、30質量部以下がより好ましい。[VIII]耐熱性向上剤の配合量が50質量部を超えると、感放射線性樹脂組成物の感度が低下してパターン形状が劣化する場合がある。
本実施の形態のアレイ基板のカラーフィルタ層において、その絶縁膜を形成する感放射線性樹脂組成物は、[I]化合物、[II]重合性化合物、[III]重合開始剤および[IV]化合物に加え、所期の効果を損なわない範囲で必要に応じて上述した任意成分を所定の割合で混合することにより調製される。この感放射線性樹脂組成物は、好ましくは適当な溶媒に溶解されて溶液状態で用いられる。
本実施の形態のアレイ基板において配向膜を形成する液晶配向剤は、上述のように、光配向性基を有する[L]感放射線性重合体、または光配向性基を有さない[M]ポリイミドを主要な成分として含有する液晶配向剤である。これらはいずれも、例えば、200℃以下など、低温の加熱温度で配向膜を形成することが可能である。特に、光配向性基を有する[L]感放射線性重合体を含有する液晶配向剤が、より低温での配向膜形成が可能であって好ましい。また、本実施の形態のアレイ基板の配向膜を形成する液晶配向剤は、本発明の効果を損なわない限り[N]その他の成分を含有することができる。以下、それら成分について説明する。
本実施の形態のカラーフィルタの配向膜を形成する液晶配向剤に含有される[L]感放射線性重合体は、光配向性基を有する重合体である。この[L]感放射線性重合体が有する光配向性基は、光照射により膜に異方性を付与する官能基であり、本実施の形態では、特に、光異性化反応及び光二量化反応の少なくともいずれかを生じることにより膜に異方性を与える基である。
感放射線性重合体としては、ポリアミック酸、ポリイミドまたはポリオルガノシロキサンを基本骨格とするものが好ましい。また、これらの中でも、ポリオルガノシロキサンが特に好ましく、例えば、国際公開(WO)第2009/025386号に記載された方法により得ることができる。
本実施の形態のカラーフィルタの配向膜を形成する液晶配向剤に含有される[M]ポリイミドは、光配向性基を有さないポリイミドである。
このような光配向性基を有さない[M]ポリイミドは、光配向性基を有さないポリアミック酸を脱水閉環してイミド化することにより得ることができる。このようなポリアミック酸は、例えば、テトラカルボン酸二無水物と、ジアミンとを反応させることにより得ることができ、特開2010−97188号公報に記載されるようにして得ることができる。
本実施の形態のカラーフィルタの配向膜を形成する液晶配向剤は、光配向性基を有する感放射線性重合体および光配向性基を有さないポリイミド以外の[N]その他の成分を含有することができる。[N]その他の成分としては、例えば、光配向性基を有する[L]感放射線性重合体および光配向性基を有さない[M]ポリイミド以外の重合体、硬化剤、硬化触媒、硬化促進剤、エポキシ化合物、官能性シラン化合物、界面活性剤、光増感剤などを挙げることができる。
本実施の形態のアレイ基板の製造においては、上述した着色組成物から着色パターンを形成してカラーフィルタ層を形成するための工程が主要な製造工程として含まれる。そして、着色パターンの上には絶縁膜を形成してカラーフィルタ層を構成することも可能である。その場合、さらに、上述した感放射線性樹脂組成物から絶縁膜を形成するための工程が、主要な製造工程として含まれるようになる。以下、カラーフィルタ層およびアレイ基板並びにこれらの製造方法について説明する。
[1]着色組成物の塗膜を、スイッチング能動素子や電極等(ソース電極、ドレイン電極、ゲート電極、ソース配線、およびゲート配線など。以下、電極等と総称することがある。)の形成された基板上に形成する工程(以下、「[1]工程」と称することがある。)、
[2]着色組成物の塗膜に着色パターンを形成する工程(以下、「[2]工程」と称することがある。)、
[3]着色パターンが形成された塗膜を200℃以下で硬化する工程(以下、「[3]工程」と称することがある。)
[4]感放射線性樹脂組成物の塗膜を[3]工程の後の基板上に形成する工程(以下、「[4]工程」と称することがある。)、
[5」[4]工程での、基板上の感放射線性樹脂組成物の塗膜の少なくとも一部に放射線を照射する工程(以下、「[5]工程」と称することがある。)、
[6]放射線が照射された塗膜を現像する工程(以下、「[6]工程」と称することがある。)、および
[7]現像された塗膜を200℃以下で硬化する工程(以下、「[7]工程」と称することがある。)
本工程では上述の着色組成物の塗膜を基板上に形成する。この基板には、スイッチング能動素子、ソース電極、ドレイン電極、ゲート電極、ソース配線、およびゲート配線などが形成されている。これら能動素子等は、基板上、通常の半導体膜成膜と、絶縁膜成膜と、フォトリソグラフィ法によるエッチングを繰り返すことにより形成されたものである。
この基板の表面上に、例えば、赤色の[D]着色剤を含有する着色組成物を塗布した後、プレベークを行って溶媒を蒸発させ、塗膜を形成する。基板上に着色パターンを形成する他の方法としては、特開平7−318723号公報、特開2000−310706号公報等に開示されているインクジェット方式により各色の画素を得る方法も利用できる。
プレベークは、通常、減圧乾燥と加熱乾燥を組み合わせて行われる。減圧乾燥としては、通常50Pa〜200Paに到達するまで行う。また、加熱乾燥の条件としては、通常70℃〜110℃で1分間〜10分間程度である。
乾燥後の膜厚としては、通常0.6μm〜8.0μm、好ましくは1.2μm〜5.0μmである。
[2]工程では、[1]工程で形成した塗膜にフォトマスクを介して露光をし、アルカリ現像液を用いて現像して、塗膜の未露光部を溶解除去することにより赤色の画素パターンが所定の配列で配置された画素アレイが形成され、着色パターンを得ることができる。
[2]工程で着色パターンを形成した後、硬化(ポストベークとも言う)を行うことにより、着色パターンを硬化させることができ、着色パターンの形成を完了することができる。ポストベークの加熱条件としては200℃以下である。ポストベークの加熱時間としては、10分間〜60分間である。本実施の形態ではポストベーク温度が低温であっても、耐溶媒性等の良好な着色パターンを得ることができる。具体的には、ポストベーク温度が200℃以下であっても、さらには180℃以下であっても、十分な耐溶媒性等を有するカラーフィルタが得られる。画素の膜厚としては、通常0.5μm〜5.0μm、1.0μm〜3.0μmが好ましい。なお、実際に商業上要求されるレベルまで硬度等を高めるためには通常120℃を超える温度での硬化工程が必要とされる。そして、180℃以下の範囲内で、より高い温度での硬化が好ましい。
以上の製造方法に従い、着色パターンを製造し、本実施の形態のアレイ基板を製造することができる。上述のように、本実施の形態のアレイ基板のカラーフィルタ層の着色パターンは、着色組成物を適当な基板上に塗布・パターニングした後、200℃以下の低温硬化により硬化して形成される。したがって、本実施の形態のアレイ基板では、200℃以下の低温硬化による製造が可能である。
[3]工程の後、その着色パターンの形成された基板において、着色パターンの上に感放射線性樹脂組成物の塗膜を形成する。
塗布法により塗膜を形成する場合、着色パターンの形成された基板の上に感放射線性樹脂組成物の溶液を塗布し、次いで、好ましくは塗布面を加熱(プレベーク)することにより、塗膜を形成することができる。塗布法に用いる組成物溶液の固形分濃度としては、5質量%〜50質量%が好ましく、10質量%〜40質量%がより好ましく、15質量%〜35質量%が特に好ましい。感放射線性樹脂組成物溶液の塗布方法としては、例えば、スプレー法、ロールコート法、回転塗布法(スピンコート法)、スリット塗布法(スリットダイ塗布法)、バー塗布法、インクジェット塗布法等の適宜の方法が採用できる。これらのうち、スピンコート法またはスリット塗布法が好ましい。
次いで、[4]工程で形成された塗膜の少なくとも一部に放射線を照射する。このとき、塗膜の一部にのみ照射する際には、例えば、所定のパターンを有するフォトマスクを介して照射する方法によることができる。
照射に使用される放射線としては、可視光線、紫外線、遠紫外線等が挙げられる。このうち波長が250nm〜550nmの範囲にある放射線が好ましく、365nmの紫外線を含む放射線がより好ましい。
本実施形態のアレイ基板のカラーフィルタ層において、絶縁膜形成に用いられる感放射線性樹脂組成物は、従来知られている絶縁膜形成の組成物と比較して放射線感度が高く、上記放射線照射量が700J/m2以下、さらには600J/m2以下であっても所望の膜厚、良好な形状、優れた密着性および高い硬度の絶縁膜を得ることができる利点を有する。
次に、放射線照射後の塗膜を現像することにより、不要な部分を除去して、所定のパターンを形成する。
現像に使用される現像液としては、例えば、水酸化ナトリウム、水酸化カリウム、炭酸ナトリウム等の無機アルカリ、テトラメチルアンモニウムヒドロキシド、テトラエチルアンモニウムヒドロキシド等の4級アンモニウム塩等のアルカリ性化合物の水溶液が使用できる。上述のアルカリ性化合物の水溶液には、メタノール、エタノール等の水溶性有機溶媒を適当量添加して使用することもできる。さらに、界面活性剤をそれのみで、または、上述の水溶性有機溶媒を添加とともに、適当量添加して使用することもできる。
次いで、得られたパターン状塗膜を、ホットプレート、オーブン等の適当な加熱装置により硬化(ポストベークとも言う)することによって、硬化膜として絶縁膜が得られる。硬化温度としては、200℃以下が好ましい。そして、180℃以下であっても十分な特性の絶縁膜が得られる。具体的には、100℃〜200℃が好ましく、低温硬化と信頼性能を高いレベルで両立させようとする場合、150℃〜180℃がより好ましい。硬化時間としては、例えば、ホットプレート上では5分間〜30分間、オーブン中では30分間〜180分間が好ましい。感放射線性樹脂組成物は、上述のように[IV]化合物を含有するため、このように低い低温硬化を実現することができる。併せて、保存安定性を実現するとともに、充分な解像度および放射線感度を有する。
そして、上述のように、絶縁膜の形成の後、スパッタリング法などを利用して、絶縁膜の上に、例えば、ITOからなる透明導電層を形成する。次いで、フォトリソグラフィ法を利用してこの透明導電層をエッチングして、絶縁膜上に透明電極を形成することができる。
放射線の照射量としては、好ましくは1J/m2以上10,000J/m2未満であり、より好ましくは10J/m2〜3,000J/m2である。
以上のように、アレイ基板上に配向膜を形成して、配向膜を有するアレイ基板を製造する場合、上述の液晶配向剤を使用し、200℃以下の加熱温度、さらに、180℃以下の加熱温度で配向膜を形成することが可能である。したがって、上述した[1]工程〜[3]工程で形成された、カラーフィルタ層の着色パターンが、配向膜の形成工程で高温の状態に晒されることを避けることができる。
実施例1
[[A]アルカリ可溶性樹脂(A−1)の合成]
冷却管および撹拌機を備えたフラスコに、2,2’−アゾビス(2,4−ジメチルバレロニトリル)5質量部およびジエチレングリコールメチルエチルエーテル220質量部を仕込んだ。引き続き、(A1)化合物としてメタクリル酸18質量部、(A2)化合物としてメタクリル酸2−メチルグリシジル14質量部およびメタクリル酸グリシジル20質量部、(A4)化合物としてスチレン10質量部、メタクリル酸トリシクロ[5.2.1.02,6]デカン−8−イル23質量部およびメタクリル酸メチル15質量部を仕込み、窒素置換したのち、緩やかに攪拌しつつ、溶液の温度を70℃に上昇させ、この温度を5時間保持して重合することにより、共重合体であるアルカリ可溶性樹脂(A−1)を含有する溶液を得た。得られた重合体溶液の固形分濃度は31.5%であり、共重合体(A−1)のMwは、10,100であった。
[[A]アルカリ可溶性樹脂(A−2)の合成]
冷却管および撹拌機を備えたフラスコに、AIBN4質量部およびジエチレングリコールメチルエチルエーテル300質量部を仕込み、引き続き(A1)化合物としてメタクリル酸23質量部、(A4)化合物としてスチレン10質量部、メタクリル酸ベンジル32質量部およびメタクリル酸メチル35質量部を仕込み、さらにα−メチルスチレンダイマー2.7質量部を仕込み、緩やかに攪拌しつつ、溶液の温度を80℃に上昇し、この温度を4時間保持した後、100℃に上昇させ、この温度を1時間保持して重合することにより共重合体を含有する溶液を得た。得られた重合体溶液の固形分濃度は24.9%、Mwは12,500であった。次いで、得られた共重合体を含む溶液に、テトラブチルアンモニウムブロミド1.1質量部、重合禁止剤として4−メトキシフェノール0.05質量部を加え、空気雰囲気下90℃で30分間攪拌後、(A2)化合物としてメタクリル酸グリシジル16質量部を入れて90℃のまま10時間反応させることにより、共重合体であるアルカリ可溶性樹脂(A−2)を得た。得られた重合体溶液の固形分濃度は29.0%であり、Mwは、14,200であった。
[着色組成物の調製]
実施例1で得られた共重合体(A−1)90質量部に対し、[B]重合性化合物としてエチレンオキサイド変性ジペンタエリスリトールヘキサアクリレート(B−1)と多官能アクリレート化合物の混合物(KAYARAD(登録商標) DPHA−40H、日本化薬社)(B−2)との混合物(混合比率((B−1)/(B−2))=4)を100質量部、[C]重合開始剤として2−メチル−1−(4−メチルチオフェニル)−2−モルフォリノプロパン−1−オン(イルガキュア907、チバ・スペシャルティー・ケミカルズ社)(C−1)を25質量部、[D]着色剤として赤色染料からなる赤色着色剤(D−1)を100質量部、[E]化合物としてペンタエリスリトールテトラキス(3−メルカプトプロピオネート)(E−1)と3−アミノベンゼンスルホン酸エチル(E−2)との混合物(混合比率((E−1)/(E−2)=5)を6質量部、別のアルカリ可溶性樹脂として実施例2で得られた共重合体(A−2)を10質量部混合した。次いで、溶媒としてシクロヘキサノンを用い、着色組成物の固形分濃度が30質量%となるように溶媒を加えた後、孔径0.5μmのミリポアフィルタでろ過することにより、赤色着色組成物を調製した。
[着色パターンの形成]
表面にナトリウムイオンの溶出を防止するSiO2膜が形成されたソーダガラス基板上に、実施例3で得られた赤色着色組成物を、スピンコーターを用いて塗布した。次いで90℃のホットプレートで2分間プレベークを行って、プレベーク後の膜厚が2.5μmの塗膜を形成した。これらの基板を室温に冷却した後、高圧水銀ランプを用い、フォトマスクを介して、塗膜に365nm、405nmおよび436nmの各波長を含む放射線を1,000(J/m2)の露光量で露光した。その後、これらの基板に対して現像液(23℃の0.04質量%水酸化カリウム水溶液)を現像圧1(kgf/cm2)(ノズル径1mm)で吐出することにより、シャワー現像を行い基板上に200μm×200μmの着色パターンを多数形成した。さらに180℃で30分間ポストベークを行って赤色の着色パターンを形成した。
[着色パターンの評価]
製造した着色パターンについて下記の評価を行った。
上記各色の着色パターンの形成において、下記式
現像前後の膜厚比=(現像後の膜厚/現像前の膜厚)×100
の値を算出した。上記各色の着色パターンはいずれも現像前後の膜厚比が95%以上であり、良好な現像耐性を有することがわかった。
上記各色の着色パターンについて、さらに180℃で30分間追加加熱した。そして、追加加熱前後の色変化ΔEab*を求めた。上記各色の着色パターンはいずれもΔEab*が3未満であり、良好な耐熱性を有することがわかった。
上記、着色パターンについて、基板とともに、60℃のN−メチルピロリドンに30分間浸漬した。その後、基板上の各色の着色パターンを観察したところ、いずれも、浸漬後に着色パターンが保持されており、かつ浸漬後のN−メチルピロリドンが全く着色していないことが確認された。上記いずれの着色パターンも耐溶媒性が良好であることがわかった。
実施例6
[[I]化合物の合成]
冷却管および撹拌機を備えたフラスコに、2,2’−アゾビス(2,4−ジメチルバレロニトリル)7質量部およびジエチレングリコールエチルメチルエーテル200質量部を仕込んだ。引き続きメタクリル酸16質量部、トリシクロ[5.2.1.02,6]デカン−8−イルメタクリレート16質量部、メチルメタクリレート38質量部、スチレン10質量部、メタクリル酸グリシジル20質量部を仕込み、窒素置換した後、緩やかに攪拌しつつ、溶液の温度を70℃に上昇し、この温度を4時間保持して重合することにより、共重合体(I−1)を含有する溶液を得た(固形分濃度=34.4質量%、Mw=8,000、Mw/Mn=2.3)。なお、固形分濃度は共重合体溶液の全質量に占める共重合体質量の割合を意味する。
[感放射線性樹脂組成物の調製]
[I]化合物である実施例6で得られた共重合体(I−1)100質量部に対し、[II]重合性化合物としてジペンタエリスリトールヘキサアクリレート(II−1)を100質量部、[III]重合開始剤としてエタノン−1−〔9−エチル−6−(2−メチルベンゾイル)−9H−カルバゾール−3−イル〕−1−(O−アセチルオキシム)(イルガキュアOXE02、チバ・スペシャルティー・ケミカルズ社)(III−1)を5質量部、および[IV]化合物として4,4’−ジアミノジフェニルスルホン(IV−1)を混合し、さらに[V]接着助剤としてγ−グリシドキシプロピルトリメトキシシラン5質量部、[VI]界面活性剤(FTX−218、ネオス社)0.5質量部、[VII]保存安定剤として4−メトキシフェノール0.5質量部を混合し、固形分濃度が30質量%となるように、それぞれプロピレングリコールモノメチルエーテルアセテートを加えた後、孔径0.5μmのミリポアフィルタでろ過することにより、感放射線性樹脂組成物を調製した。
[絶縁膜の形成]
無アルカリガラス基板上に、実施例7で調製した感放射線性樹脂組成物溶液をスピンナにより塗布した後、100℃のホットプレート上で2分間プレベークすることにより膜厚4.0μmの塗膜を形成した。次いで、得られた塗膜に高圧水銀ランプを用いて露光量700J/m2として放射線照射を行った。次いで、オーブン中で180℃の硬化温度および30分間の硬化時間でポストベークすることにより絶縁膜を形成した。
[絶縁膜の評価]
保存安定性の評価
調製直後の実施例7の感放射線性樹脂組成物溶液から、実施例8の形成方法により絶縁膜を形成し、膜厚を測定した(下記式において、「調製直後の膜厚」と称する)。また、実施例7の形成方法により調製した後、5日間25℃で感放射線性樹脂組成物溶液を保存し、5日後に同様に形成した絶縁膜の膜厚を測定した(下記式において、「5日後の膜厚」と称する)。膜厚増加率(%)を下記式から算出した。
膜厚増加率(%)=(5日後の膜厚−調製直後の膜厚)/(調製直後の膜厚)×100
膜厚増加率が3%以下であり、保存安定性は良好と判断した。
実施例8の形成方法による絶縁膜ついて、さらに、UV照射装置(UVX−02516S1JS01、ウシオ社)にて130mWの照度で800,000J/m2照射して、膜減り量を調べた。膜減り量は2%以下であり、耐光性は良好と判断した。
実施例8の形成方法による絶縁膜について、さらにオーブン中、230℃で20分加熱し、この加熱前後での膜厚を触針式膜厚測定機(アルファステップIQ、KLAテンコール社)で測定した。そして、残膜率(処理後膜厚/処理前膜厚×100)を算出し、この残膜率を耐熱性とした。残膜率は99%であり、耐熱性は良好と判断した。
実施例8の形成方法による絶縁膜について、60℃に加温した配向膜剥離液ケミクリーンTS−204(三洋化成工業社)中に15分浸漬し、水洗後、さらにオーブン中、120℃で15分乾燥させた。この処理前後の膜厚を触針式膜厚測定機(アルファステップ社IQ、KLAテンコール社)で測定し、残膜率(処理後膜厚/処理前膜厚×100)を算出し、この残膜率を耐薬品性とした。残膜率は99%であり、耐薬品性は良好と判断した。
実施例10
実施例3により得られた各色の着色組成物(赤色着色組成物、緑色着色組成物および青色着色組成物)を使用し、スイッチング能動素子や電極等の形成された基板上にカラーフィルタ層を形成した。この基板には、スイッチング能動素子、ソース電極、ドレイン電極、ゲート電極、ソース配線、およびゲート配線などが形成されている。これら能動素子等は、基板上、通常の半導体膜成膜と、絶縁膜成膜と、フォトリソグラフィ法によるエッチングを繰り返すことにより形成されたものである。そして、カラーフィルタ層は、着色パターンの上に絶縁膜を有する。
[カラーフィルタ層の平坦性の測定]
実施例10の、絶縁膜を有するカラーフィルタ層を備えたアレイ基板について、絶縁膜上に透明電極が形成される前に、接触式膜厚測定装置α−ステップ(テンコールジャパン社)にて絶縁膜の表面の凹凸(平坦性)を測定した(測定長2,000μm、測定範囲2,000μm角、測定点数n=5)。すなわち、測定方向を赤、緑、青の着色パターン短軸方向および同一色の着色パターン長軸方向の2方向とし、各方向につきn=5で測定した(合計のn数は10)。測定ごとの最高部と最低部との高低差(nm)の10回の平均値を求め評価した。評価の結果、絶縁膜形成後も着色パターンが収縮、膨張することなく、絶縁膜の表面には凹凸はなく、良好な平坦性を示すことがわかった。
[光配向膜を有するアレイ基板の製造]
本実施例においては、実施例10で得られたアレイ基板を用い、光配向性基を有する感放射線性重合体を含む液晶配向剤を用いて光配向膜を形成する。
はじめに、実施例10のアレイ基板の透明電極の上に、光配向性基を有する感放射線性重合体を含む液晶配向剤として、国際公開(WO)2009/025386号の実施例6に記載の液晶配向剤A−1をスピンナにより塗布する。次いで、80℃のホットプレートで1分間プレベークを行った後、内部を窒素置換したオーブン中、180℃で1時間加熱して膜厚80nmの塗膜を形成した。次いで、この塗膜表面に、Hg−Xeランプ及びグランテーラープリズムを用いて313nmの輝線を含む偏光紫外線200J/m2を、基板表面に垂直な方向に対して40°傾いた方向から照射し、光配向膜を有するアレイ基板を製造した。
[垂直配向膜を有するカラーフィルタの製造]
本実施例においては、実施例10で得られたアレイ基板を用い、光配向性基を有さないポリイミドを含む液晶配向剤を用いて垂直配向膜を形成する。
はじめに、実施例10のアレイ基板の透明電極の上に、光配向性基を有さないポリイミドを含む液晶配向剤として、垂直配向膜形成用のAL60101(ジェイエスアール(株)製)をスピンナにより塗布した。次いで、80℃のホットプレートで1分間プレベークを行った後、内部を窒素置換したオーブン中、180℃で1時間加熱して膜厚80nmの塗膜を形成し、垂直配向膜を有するアレイ基板を製造した。
実施例14
実施例12で得られたアレイ基板を用いた。そして、対向基板として透明な基板上に透明な共通電極を配設した基板を準備し、その共通電極の上に実施例12でアレイ基板上に形成したのと同様の光配向膜を形成して、配向膜の形成された対向基板を準備した。これら一対の基板を用い、TN液晶層を挟持して、カラーフィルタオンアレイ構造の液晶表示素子を製造した。本実施例のカラーフィルタオンアレイ構造の液晶表示素子は、上述した図5に示す液晶表示素子と同様の構造を有する。本実施例の液晶表示素子は、優れた電気特性と表示特性と信頼性能を示した。
4、24、104、111 基板
5、105 ソース電極
6、106 ドレイン電極
7、107 ゲート電極
8、108 スイッチング能動素子
9、109、 透明電極
12、32、112 着色パターン
13、34 カラーフィルタ層
17 コンタクトホール
18 ソース配線
19 ゲート配線
21、51、100 液晶表示素子
22 対向基板
23、103 液晶層
25、114 共通電極
26、115 配向膜
27,117 バックライト光
28、116 偏光板
33 絶縁膜
102 カラーフィルタ基板
113 ブラックマトリクス
Claims (16)
- スイッチング能動素子とカラーフィルタ層とを有する液晶表示素子用のアレイ基板であって、
前記カラーフィルタ層は、
ジケトピロロピロール系顔料、ハロゲン化亜鉛フタロシアニン系顔料、トリアリールメタン系染料およびアゾ系染料からなる群より選ばれる少なくとも1種の着色剤と、
不飽和カルボン酸および不飽和カルボン酸無水物からなる群より選択される少なくとも1種から形成される構成単位およびエポキシ基含有不飽和化合物から形成される構成単位を含む共重合体と
を含有する着色組成物から形成される着色パターンを有することを特徴とするアレイ基板。 - 前記着色組成物は、下記式(1)で表される化合物、下記式(2)で表される化合物、3級アミン化合物、アミン塩、ホスホニウム塩、アミジン塩、アミド化合物、チオール化合物、ブロックイソシアネート化合物およびイミダゾール環含有化合物からなる群より選ばれる少なくとも1種の化合物を含有することを特徴とする請求項1に記載のアレイ基板。
(式(1)中、R1〜R6は、それぞれ独立して水素原子、電子吸引性基またはアミノ基である。但し、R1〜R6のうち少なくとも1つは電子吸引性基であり、かつR1〜R6のうち少なくとも1つはアミノ基である。また、上記アミノ基は、水素原子の全部または一部が炭素数1〜6のアルキル基で置換されていてもよい。
式(2)中、R7〜R16は、それぞれ独立して水素原子、電子吸引性基またはアミノ基である。但し、R7〜R16のうち少なくとも1つはアミノ基である。また、上記アミノ基は、水素原子の全部または一部が炭素数1〜6の炭化水素基で置換されていてもよい。Aは、単結合、カルボニル基、カルボニルオキシ基、カルボニルメチレン基、スルフィニル基、スルホニル基、メチレン基または炭素数2〜6のアルキレン基である。但し、上記メチレン基およびアルキレン基は、水素原子の全部または一部がシアノ基、ハロゲン原子またはフルオロアルキル基で置換されていてもよい。) - 前記着色パターンは、200℃以下の硬化温度で形成されたものであることを特徴とする請求項1または2に記載のアレイ基板。
- 前記カラーフィルタ層は、前記着色パターンの上に絶縁膜を有し、
前記絶縁膜は、
[I]エポキシ基を有する化合物、
[II]エチレン性不飽和結合を有する重合性化合物、
[III]感放射線性重合開始剤、並びに
[IV]上記式(1)で表される化合物および上記式(2)で表される化合物からなる群より選ばれる少なくとも1種の化合物と
を含有する感放射線性樹脂組成物から形成されることを特徴とする請求項1〜3のいずれか1項に記載のアレイ基板。 - 前記感放射線性樹脂組成物に含有される[I]エポキシ基を有する化合物は、重合体であることを特徴とする請求項4に記載のアレイ基板。
- 前記感放射線性樹脂組成物に含有される[I]エポキシ基を有する化合物は、カルボキシル基をさらに有することを特徴とする請求項4または5に記載のアレイ基板。
- 前記絶縁膜は、200℃以下の硬化温度で形成されたものであることを特徴とする請求項4〜6のいずれか1項に記載のアレイ基板。
- 前記着色パターンは、前記絶縁膜の硬化温度より低い硬化温度で形成されたものであることを特徴とする請求項4〜7のいずれか1項に記載のアレイ基板。
- 前記カラーフィルタ層の上に透明電極を有し、前記透明電極の上に、光配向性基を有する感放射線性重合体を含む液晶配向剤および光配向性基を有さないポリイミドを含む液晶配向剤のうちのいずれかを用いて得られた配向膜を有することを特徴とする請求項1〜8のいずれか1項に記載のアレイ基板。
- 前記配向膜は、光配向性基を有する感放射線性重合体を含む液晶配向剤を用いて得られた配向膜であることを特徴とする請求項9に記載のアレイ基板。
- 請求項1〜10のいずれか1項に記載のアレイ基板を有することを特徴とする液晶表示素子。
- スイッチング能動素子とカラーフィルタ層とを有する液晶表示素子用のアレイ基板の製造方法であって、
[1]ジケトピロロピロール系顔料、ハロゲン化亜鉛フタロシアニン系顔料、トリアリールメタン系染料およびアゾ系染料からなる群より選ばれる少なくとも1種の着色剤と、
不飽和カルボン酸および不飽和カルボン酸無水物からなる群より選択される少なくとも1種から形成される構成単位およびエポキシ基含有不飽和化合物から形成される構成単位を含む共重合体と
を含有する着色組成物の塗膜を、前記スイッチング能動素子を有する基板上に形成する工程、
[2]前記着色組成物の塗膜に着色パターンを形成する工程、並びに
[3]前記着色パターンが形成された塗膜を200℃以下で硬化する工程
を有することを特徴とするアレイ基板の製造方法。 - 前記着色組成物は、下記式(1)で表される化合物、下記式(2)で表される化合物、3級アミン化合物、アミン塩、ホスホニウム塩、アミジン塩、アミド化合物、チオール化合物、ブロックイソシアネート化合物およびイミダゾール環含有化合物からなる群より選ばれる少なくとも1種の化合物を含有することを特徴とする請求項12に記載のアレイ基板の製造方法。
(式(1)中、R1〜R6は、それぞれ独立して水素原子、電子吸引性基またはアミノ基である。但し、R1〜R6のうち少なくとも1つは電子吸引性基であり、かつR1〜R6のうち少なくとも1つはアミノ基である。また、上記アミノ基は、水素原子の全部または一部が炭素数1〜6のアルキル基で置換されていてもよい。
式(2)中、R7〜R16は、それぞれ独立して水素原子、電子吸引性基またはアミノ基である。但し、R7〜R16のうち少なくとも1つはアミノ基である。また、上記アミノ基は、水素原子の全部または一部が炭素数1〜6の炭化水素基で置換されていてもよい。Aは、単結合、カルボニル基、カルボニルオキシ基、カルボニルメチレン基、スルフィニル基、スルホニル基、メチレン基または炭素数2〜6のアルキレン基である。但し、上記メチレン基およびアルキレン基は、水素原子の全部または一部がシアノ基、ハロゲン原子またはフルオロアルキル基で置換されていてもよい。) - 工程[3]の後に、
[4][I]エポキシ基を有する化合物、
[II]エチレン性不飽和結合を有する重合性化合物、
[III]感放射線性重合開始剤、および
[IV]上記式(1)で表される化合物および上記下記式(2)で表される化合物からなる群より選ばれる少なくとも1種の化合物
を含有する感放射線性樹脂組成物の塗膜を前記基板上の前記硬化された着色パターンの上に形成する工程、
[5」前記感放射線性樹脂組成物の塗膜の少なくとも一部に放射線を照射する工程、
[6]前記放射線が照射された塗膜を現像する工程、並びに
[7]前記現像された塗膜を200℃以下で硬化して絶縁膜を形成する工程
を有することを特徴とする請求項12または13に記載のアレイ基板の製造方法。 - 工程[3]の硬化温度が、工程[7]の硬化温度より低い温度であることを特徴とする請求項14に記載のアレイ基板の製造方法。
- 配向膜を200℃以下で形成する工程をさらに有することを特徴とする請求項12〜15のいずれか1項に記載のアレイ基板の製造方法。
Priority Applications (1)
| Application Number | Priority Date | Filing Date | Title |
|---|---|---|---|
| JP2011110870A JP5786445B2 (ja) | 2011-05-17 | 2011-05-17 | アレイ基板、液晶表示素子およびアレイ基板の製造方法 |
Applications Claiming Priority (1)
| Application Number | Priority Date | Filing Date | Title |
|---|---|---|---|
| JP2011110870A JP5786445B2 (ja) | 2011-05-17 | 2011-05-17 | アレイ基板、液晶表示素子およびアレイ基板の製造方法 |
Publications (2)
| Publication Number | Publication Date |
|---|---|
| JP2012242522A true JP2012242522A (ja) | 2012-12-10 |
| JP5786445B2 JP5786445B2 (ja) | 2015-09-30 |
Family
ID=47464316
Family Applications (1)
| Application Number | Title | Priority Date | Filing Date |
|---|---|---|---|
| JP2011110870A Expired - Fee Related JP5786445B2 (ja) | 2011-05-17 | 2011-05-17 | アレイ基板、液晶表示素子およびアレイ基板の製造方法 |
Country Status (1)
| Country | Link |
|---|---|
| JP (1) | JP5786445B2 (ja) |
Cited By (2)
| Publication number | Priority date | Publication date | Assignee | Title |
|---|---|---|---|---|
| JP2012255963A (ja) * | 2011-06-10 | 2012-12-27 | Sumitomo Chemical Co Ltd | 着色感光性樹脂組成物 |
| JP2014041301A (ja) * | 2012-08-23 | 2014-03-06 | Fujifilm Corp | 着色感放射線性組成物、これを用いたカラーフィルタ |
Citations (7)
| Publication number | Priority date | Publication date | Assignee | Title |
|---|---|---|---|---|
| JP2000250217A (ja) * | 1999-02-25 | 2000-09-14 | Dainippon Printing Co Ltd | 感光性樹脂組成物及びカラーフィルター |
| JP2001022065A (ja) * | 1999-07-05 | 2001-01-26 | Nippon Steel Chem Co Ltd | 画像形成用材料及びそれを用いた画像装置 |
| JP2001081416A (ja) * | 1999-09-13 | 2001-03-27 | Nippon Steel Chem Co Ltd | 硬化膜並びにこれを用いたカラーフィルター |
| WO2009025386A1 (ja) * | 2007-08-21 | 2009-02-26 | Jsr Corporation | 液晶配向剤、液晶配向膜の形成方法および液晶表示素子 |
| JP2009175647A (ja) * | 2008-01-28 | 2009-08-06 | Fujifilm Corp | 感光性樹脂組成物、フォトスペーサー及びその形成方法、保護膜、着色パターン、表示装置用基板、並びに表示装置 |
| JP2009251563A (ja) * | 2008-04-11 | 2009-10-29 | Dainippon Printing Co Ltd | 染料カラーフィルタ |
| WO2010116551A1 (ja) * | 2009-03-30 | 2010-10-14 | シャープ株式会社 | 液晶表示装置、液晶表示装置の製造方法、重合体層形成用組成物、及び、液晶層形成用組成物 |
-
2011
- 2011-05-17 JP JP2011110870A patent/JP5786445B2/ja not_active Expired - Fee Related
Patent Citations (7)
| Publication number | Priority date | Publication date | Assignee | Title |
|---|---|---|---|---|
| JP2000250217A (ja) * | 1999-02-25 | 2000-09-14 | Dainippon Printing Co Ltd | 感光性樹脂組成物及びカラーフィルター |
| JP2001022065A (ja) * | 1999-07-05 | 2001-01-26 | Nippon Steel Chem Co Ltd | 画像形成用材料及びそれを用いた画像装置 |
| JP2001081416A (ja) * | 1999-09-13 | 2001-03-27 | Nippon Steel Chem Co Ltd | 硬化膜並びにこれを用いたカラーフィルター |
| WO2009025386A1 (ja) * | 2007-08-21 | 2009-02-26 | Jsr Corporation | 液晶配向剤、液晶配向膜の形成方法および液晶表示素子 |
| JP2009175647A (ja) * | 2008-01-28 | 2009-08-06 | Fujifilm Corp | 感光性樹脂組成物、フォトスペーサー及びその形成方法、保護膜、着色パターン、表示装置用基板、並びに表示装置 |
| JP2009251563A (ja) * | 2008-04-11 | 2009-10-29 | Dainippon Printing Co Ltd | 染料カラーフィルタ |
| WO2010116551A1 (ja) * | 2009-03-30 | 2010-10-14 | シャープ株式会社 | 液晶表示装置、液晶表示装置の製造方法、重合体層形成用組成物、及び、液晶層形成用組成物 |
Cited By (2)
| Publication number | Priority date | Publication date | Assignee | Title |
|---|---|---|---|---|
| JP2012255963A (ja) * | 2011-06-10 | 2012-12-27 | Sumitomo Chemical Co Ltd | 着色感光性樹脂組成物 |
| JP2014041301A (ja) * | 2012-08-23 | 2014-03-06 | Fujifilm Corp | 着色感放射線性組成物、これを用いたカラーフィルタ |
Also Published As
| Publication number | Publication date |
|---|---|
| JP5786445B2 (ja) | 2015-09-30 |
Similar Documents
| Publication | Publication Date | Title |
|---|---|---|
| JP5884325B2 (ja) | カラーフィルタ、液晶表示素子およびカラーフィルタの製造方法 | |
| JP5708363B2 (ja) | カラーフィルタ、液晶表示素子およびカラーフィルタの製造方法 | |
| JP5708227B2 (ja) | カラーフィルタ、液晶表示素子およびカラーフィルタの製造方法 | |
| JP5786451B2 (ja) | カラーフィルタ、液晶表示素子およびカラーフィルタの製造方法 | |
| JP5862081B2 (ja) | アレイ基板、液晶表示素子およびアレイ基板の製造方法 | |
| JP5771944B2 (ja) | カラーフィルタの製造方法 | |
| JP5929496B2 (ja) | 感放射線性樹脂組成物、表示素子用硬化膜、表示素子用硬化膜の形成方法及び表示素子 | |
| JP5857578B2 (ja) | カラーフィルタ、液晶表示素子およびカラーフィルタの製造方法 | |
| JP5817562B2 (ja) | カラーフィルタ、カラーフィルタの製造方法および液晶表示素子 | |
| CN102692661B (zh) | 彩色滤光片、彩色滤光片的制造方法及液晶显示元件 | |
| JP5708398B2 (ja) | カラーフィルタ、液晶表示素子およびカラーフィルタの製造方法 | |
| JP5966268B2 (ja) | アレイ基板、液晶表示素子およびアレイ基板の製造方法 | |
| JP5786501B2 (ja) | カラーフィルタ、液晶表示素子およびカラーフィルタの製造方法 | |
| JP5786445B2 (ja) | アレイ基板、液晶表示素子およびアレイ基板の製造方法 |
Legal Events
| Date | Code | Title | Description |
|---|---|---|---|
| A621 | Written request for application examination |
Free format text: JAPANESE INTERMEDIATE CODE: A621 Effective date: 20140205 |
|
| A977 | Report on retrieval |
Free format text: JAPANESE INTERMEDIATE CODE: A971007 Effective date: 20141128 |
|
| A131 | Notification of reasons for refusal |
Free format text: JAPANESE INTERMEDIATE CODE: A131 Effective date: 20141202 |
|
| A521 | Request for written amendment filed |
Free format text: JAPANESE INTERMEDIATE CODE: A523 Effective date: 20150106 |
|
| TRDD | Decision of grant or rejection written | ||
| A01 | Written decision to grant a patent or to grant a registration (utility model) |
Free format text: JAPANESE INTERMEDIATE CODE: A01 Effective date: 20150630 |
|
| A61 | First payment of annual fees (during grant procedure) |
Free format text: JAPANESE INTERMEDIATE CODE: A61 Effective date: 20150713 |
|
| R150 | Certificate of patent or registration of utility model |
Ref document number: 5786445 Country of ref document: JP Free format text: JAPANESE INTERMEDIATE CODE: R150 |
|
| R250 | Receipt of annual fees |
Free format text: JAPANESE INTERMEDIATE CODE: R250 |
|
| R250 | Receipt of annual fees |
Free format text: JAPANESE INTERMEDIATE CODE: R250 |
|
| R250 | Receipt of annual fees |
Free format text: JAPANESE INTERMEDIATE CODE: R250 |
|
| R250 | Receipt of annual fees |
Free format text: JAPANESE INTERMEDIATE CODE: R250 |
|
| R250 | Receipt of annual fees |
Free format text: JAPANESE INTERMEDIATE CODE: R250 |
|
| R250 | Receipt of annual fees |
Free format text: JAPANESE INTERMEDIATE CODE: R250 |
|
| LAPS | Cancellation because of no payment of annual fees |
