JP2012227072A - 二次電池モジュール及び二次電池パック - Google Patents

二次電池モジュール及び二次電池パック Download PDF

Info

Publication number
JP2012227072A
JP2012227072A JP2011095633A JP2011095633A JP2012227072A JP 2012227072 A JP2012227072 A JP 2012227072A JP 2011095633 A JP2011095633 A JP 2011095633A JP 2011095633 A JP2011095633 A JP 2011095633A JP 2012227072 A JP2012227072 A JP 2012227072A
Authority
JP
Japan
Prior art keywords
secondary battery
housing
battery module
cooling jacket
water
Prior art date
Legal status (The legal status is an assumption and is not a legal conclusion. Google has not performed a legal analysis and makes no representation as to the accuracy of the status listed.)
Granted
Application number
JP2011095633A
Other languages
English (en)
Other versions
JP5422596B2 (ja
Inventor
Hidekazu Fujimura
秀和 藤村
Current Assignee (The listed assignees may be inaccurate. Google has not performed a legal analysis and makes no representation or warranty as to the accuracy of the list.)
Hitachi Ltd
Original Assignee
Hitachi Ltd
Priority date (The priority date is an assumption and is not a legal conclusion. Google has not performed a legal analysis and makes no representation as to the accuracy of the date listed.)
Filing date
Publication date
Application filed by Hitachi Ltd filed Critical Hitachi Ltd
Priority to JP2011095633A priority Critical patent/JP5422596B2/ja
Priority to US13/449,348 priority patent/US9166207B2/en
Publication of JP2012227072A publication Critical patent/JP2012227072A/ja
Application granted granted Critical
Publication of JP5422596B2 publication Critical patent/JP5422596B2/ja
Expired - Fee Related legal-status Critical Current
Anticipated expiration legal-status Critical

Links

Images

Classifications

    • HELECTRICITY
    • H01ELECTRIC ELEMENTS
    • H01MPROCESSES OR MEANS, e.g. BATTERIES, FOR THE DIRECT CONVERSION OF CHEMICAL ENERGY INTO ELECTRICAL ENERGY
    • H01M10/00Secondary cells; Manufacture thereof
    • H01M10/60Heating or cooling; Temperature control
    • H01M10/64Heating or cooling; Temperature control characterised by the shape of the cells
    • HELECTRICITY
    • H01ELECTRIC ELEMENTS
    • H01MPROCESSES OR MEANS, e.g. BATTERIES, FOR THE DIRECT CONVERSION OF CHEMICAL ENERGY INTO ELECTRICAL ENERGY
    • H01M10/00Secondary cells; Manufacture thereof
    • H01M10/60Heating or cooling; Temperature control
    • H01M10/65Means for temperature control structurally associated with the cells
    • H01M10/655Solid structures for heat exchange or heat conduction
    • H01M10/6551Surfaces specially adapted for heat dissipation or radiation, e.g. fins or coatings
    • HELECTRICITY
    • H01ELECTRIC ELEMENTS
    • H01MPROCESSES OR MEANS, e.g. BATTERIES, FOR THE DIRECT CONVERSION OF CHEMICAL ENERGY INTO ELECTRICAL ENERGY
    • H01M10/00Secondary cells; Manufacture thereof
    • H01M10/60Heating or cooling; Temperature control
    • H01M10/65Means for temperature control structurally associated with the cells
    • H01M10/655Solid structures for heat exchange or heat conduction
    • H01M10/6552Closed pipes transferring heat by thermal conductivity or phase transition, e.g. heat pipes
    • HELECTRICITY
    • H01ELECTRIC ELEMENTS
    • H01MPROCESSES OR MEANS, e.g. BATTERIES, FOR THE DIRECT CONVERSION OF CHEMICAL ENERGY INTO ELECTRICAL ENERGY
    • H01M10/00Secondary cells; Manufacture thereof
    • H01M10/60Heating or cooling; Temperature control
    • H01M10/65Means for temperature control structurally associated with the cells
    • H01M10/655Solid structures for heat exchange or heat conduction
    • H01M10/6554Rods or plates
    • H01M10/6555Rods or plates arranged between the cells
    • HELECTRICITY
    • H01ELECTRIC ELEMENTS
    • H01MPROCESSES OR MEANS, e.g. BATTERIES, FOR THE DIRECT CONVERSION OF CHEMICAL ENERGY INTO ELECTRICAL ENERGY
    • H01M10/00Secondary cells; Manufacture thereof
    • H01M10/60Heating or cooling; Temperature control
    • H01M10/65Means for temperature control structurally associated with the cells
    • H01M10/655Solid structures for heat exchange or heat conduction
    • H01M10/6556Solid parts with flow channel passages or pipes for heat exchange
    • H01M10/6557Solid parts with flow channel passages or pipes for heat exchange arranged between the cells
    • HELECTRICITY
    • H01ELECTRIC ELEMENTS
    • H01MPROCESSES OR MEANS, e.g. BATTERIES, FOR THE DIRECT CONVERSION OF CHEMICAL ENERGY INTO ELECTRICAL ENERGY
    • H01M10/00Secondary cells; Manufacture thereof
    • H01M10/60Heating or cooling; Temperature control
    • H01M10/65Means for temperature control structurally associated with the cells
    • H01M10/656Means for temperature control structurally associated with the cells characterised by the type of heat-exchange fluid
    • H01M10/6561Gases
    • H01M10/6563Gases with forced flow, e.g. by blowers
    • HELECTRICITY
    • H01ELECTRIC ELEMENTS
    • H01MPROCESSES OR MEANS, e.g. BATTERIES, FOR THE DIRECT CONVERSION OF CHEMICAL ENERGY INTO ELECTRICAL ENERGY
    • H01M10/00Secondary cells; Manufacture thereof
    • H01M10/60Heating or cooling; Temperature control
    • H01M10/65Means for temperature control structurally associated with the cells
    • H01M10/656Means for temperature control structurally associated with the cells characterised by the type of heat-exchange fluid
    • H01M10/6567Liquids
    • H01M10/6568Liquids characterised by flow circuits, e.g. loops, located externally to the cells or cell casings
    • HELECTRICITY
    • H01ELECTRIC ELEMENTS
    • H01MPROCESSES OR MEANS, e.g. BATTERIES, FOR THE DIRECT CONVERSION OF CHEMICAL ENERGY INTO ELECTRICAL ENERGY
    • H01M50/00Constructional details or processes of manufacture of the non-active parts of electrochemical cells other than fuel cells, e.g. hybrid cells
    • H01M50/10Primary casings; Jackets or wrappings
    • H01M50/102Primary casings; Jackets or wrappings characterised by their shape or physical structure
    • H01M50/103Primary casings; Jackets or wrappings characterised by their shape or physical structure prismatic or rectangular
    • HELECTRICITY
    • H01ELECTRIC ELEMENTS
    • H01MPROCESSES OR MEANS, e.g. BATTERIES, FOR THE DIRECT CONVERSION OF CHEMICAL ENERGY INTO ELECTRICAL ENERGY
    • H01M50/00Constructional details or processes of manufacture of the non-active parts of electrochemical cells other than fuel cells, e.g. hybrid cells
    • H01M50/20Mountings; Secondary casings or frames; Racks, modules or packs; Suspension devices; Shock absorbers; Transport or carrying devices; Holders
    • H01M50/204Racks, modules or packs for multiple batteries or multiple cells
    • H01M50/207Racks, modules or packs for multiple batteries or multiple cells characterised by their shape
    • H01M50/209Racks, modules or packs for multiple batteries or multiple cells characterised by their shape adapted for prismatic or rectangular cells
    • HELECTRICITY
    • H01ELECTRIC ELEMENTS
    • H01MPROCESSES OR MEANS, e.g. BATTERIES, FOR THE DIRECT CONVERSION OF CHEMICAL ENERGY INTO ELECTRICAL ENERGY
    • H01M50/00Constructional details or processes of manufacture of the non-active parts of electrochemical cells other than fuel cells, e.g. hybrid cells
    • H01M50/20Mountings; Secondary casings or frames; Racks, modules or packs; Suspension devices; Shock absorbers; Transport or carrying devices; Holders
    • H01M50/244Secondary casings; Racks; Suspension devices; Carrying devices; Holders characterised by their mounting method
    • HELECTRICITY
    • H01ELECTRIC ELEMENTS
    • H01MPROCESSES OR MEANS, e.g. BATTERIES, FOR THE DIRECT CONVERSION OF CHEMICAL ENERGY INTO ELECTRICAL ENERGY
    • H01M50/00Constructional details or processes of manufacture of the non-active parts of electrochemical cells other than fuel cells, e.g. hybrid cells
    • H01M50/20Mountings; Secondary casings or frames; Racks, modules or packs; Suspension devices; Shock absorbers; Transport or carrying devices; Holders
    • H01M50/284Mountings; Secondary casings or frames; Racks, modules or packs; Suspension devices; Shock absorbers; Transport or carrying devices; Holders with incorporated circuit boards, e.g. printed circuit boards [PCB]
    • YGENERAL TAGGING OF NEW TECHNOLOGICAL DEVELOPMENTS; GENERAL TAGGING OF CROSS-SECTIONAL TECHNOLOGIES SPANNING OVER SEVERAL SECTIONS OF THE IPC; TECHNICAL SUBJECTS COVERED BY FORMER USPC CROSS-REFERENCE ART COLLECTIONS [XRACs] AND DIGESTS
    • Y02TECHNOLOGIES OR APPLICATIONS FOR MITIGATION OR ADAPTATION AGAINST CLIMATE CHANGE
    • Y02EREDUCTION OF GREENHOUSE GAS [GHG] EMISSIONS, RELATED TO ENERGY GENERATION, TRANSMISSION OR DISTRIBUTION
    • Y02E60/00Enabling technologies; Technologies with a potential or indirect contribution to GHG emissions mitigation
    • Y02E60/10Energy storage using batteries

Landscapes

  • Chemical & Material Sciences (AREA)
  • Chemical Kinetics & Catalysis (AREA)
  • Electrochemistry (AREA)
  • General Chemical & Material Sciences (AREA)
  • Engineering & Computer Science (AREA)
  • Manufacturing & Machinery (AREA)
  • Battery Mounting, Suspending (AREA)
  • Secondary Cells (AREA)
  • Sealing Battery Cases Or Jackets (AREA)

Abstract

【課題】高温環境下でも冷却能力がすぐれ、かつ、電池モジュールを複数配列された電池パックシステムにおいてモジュール交換が容易な電池モジュール構造を提供する。
【解決手段】複数の平板状の二次電池を有するモジュール構造であって、モジュール筺体の任意の一面に、該筺体内部の上部に空間を残し、奥行き方向に貫通する複数個の溝を平行に設け、該溝と該溝の間の該筺体内部に該平板状の電池を配したことを特徴とするモジュール構造。
【選択図】 図1

Description

本発明は、リチウムイオン電池に代表される二次電池のモジュール構造に関する。
従来、負荷電圧や負荷容量の増大に対しては、複数の単電池を直列接続や並列接続、またはそれらを組み合わせた接続を行い、組電池を構成し、それを筺体に収納したモジュール構造をとることが多い。また、安全面からモジュールの外に有害なガスや煙,液体及び火炎などが出ないよう密閉構造にすることが望まれている。
電池のモジュール構造としては、複数の単電池を密接配置させて緊締し、ハードケースに収納する方法が一般的である。しかし、これだけでは、電池自体の発熱による熱が放散せず、蓄積し、電池が高温となるため、短寿命になってしまう。
近年では、急速充電や高率放電にて使用される用途が増大し、電池温度が高温になり易く、一層寿命を縮める原因となっている。特に、扁平形単電池の長側面同士を接するように組電池を構成した場合は、放熱経路がタブリード以外ほとんど無く、中央部に位置する電池の温度が非常に高くなり、他に位置する電池よりも早期に寿命に至り、結果的に電池モジュールとしての寿命が短くなってしまう。このため、多くのモジュール冷却方法が考案されてきた。
本技術分野の背景技術として、特開2000−251951号公報(特許文献1)がある。この公報には「単電池を複数個直列配置した集合型密閉二次電池において、単電池の配置方向に対してその両側に冷却媒体通路部を配設するとともに、各単電池の電槽間に両側の冷却媒体通路部を連通する電槽間冷却媒体通路を形成し、単電池間を含めて各単電池のすべての側面を冷却媒体にて強制冷却するようにした。」と記載されている(要約参照)。
また、特開2009−140714号公報(特許文献2)がある。この公報には「扁平形単電池と扁平形単電池の間に複数の扁平形ヒートパイプが平行に配置され、夫々の扁平形ヒートパイプがヒートシンクを兼ねた外装ケースと接していることを特徴とする組電池モジュール。」と記載されている(要約参照)。
特開2000−251951号公報 特開2009−140714号公報
特許文献1には、電池と電池の間に設けた流路に流れる冷却媒体を密閉容器内の全電池に対して均一な流量配分を行う、集合型密閉電池の流路構造が記載されている。しかし、大容量化を図るためには、膨大な数の単電池が必要であり、それらを一つの密閉容器に収めるには限界があり、複数の数の該集合型密閉電池を直並列した電池パックシステムが必要となる。
ところで、そのような大容量の電池パックシステムの長寿命化を図るためには、単電池に異常が発生した場合には、その異常電池を含んだ該集合型電池を、システムの運転は継続させながら、新しいものと交換できるようにすることが求められる。すなわち、長寿命を目指した大容量電池システムでは運転中でも簡単に集合電池単位すなわちモジュール単位の交換できることが望ましい。
しかし、特許文献1の集合型密閉電池においては、集合電池単位での交換についての配慮がなされていない。すなわち、交換の場合には、必ず電気的な接続/切断と冷却媒体配管の接続/切断が必要となるが、このような集合電池では、それらを複数個配列した電池システムとしてみた場合、冷媒の供給管及び排出管の取り外しを含めた集合電池交換の容易性については考慮されていない。また、電池と冷媒が直接接しないよう電池はその外側を電槽と呼ばれる容器に納めなければならず、密閉構造がシール構造を含めて極めて複雑化し、信頼性の面でも課題が残る。
また、特許文献2には扁平型電池間にヒートパイプを平衡配置することにより、電池間及び電池内部の温度分布が改善することが記載されている。しかし、冷却能力は外装ケースから系外への熱伝達によって決まるのに対し、同文献に記載のヒートシンクを備えた外装ケースとの記載はあるが、そこを流れる冷媒や電池システムとしてそれが複数個備わった場合の冷却方法についての記載はない。
すなわち、積極的な冷却は行わず系外への放熱による冷却方法のため、環境温度が高温で、特に発熱量が大きくなる場合の筺体(外装ケース)から如何に有効に熱を放散させるかに関しての課題が残る。
そこで、本発明は、高温環境下でも冷却能力がすぐれ、かつ、電池モジュールを複数配列された電池パックシステムにおいてモジュール交換が容易な電池モジュール構造を提供する。例えば、好ましくは冷媒を水として、高温環境下及び密閉モジュール構造においても冷却能力に優れ、単電池及び単電池間の温度分布を均一にし、かつ、モジュール交換時に冷媒配管の作業なしに、かつ、電極端子の接続や切断が容易に交換できるモジュール構造を提供する。
上記課題を解決するため、例えば特許請求の範囲に記載の構成を採用する。本願は上記課題を解決する手段を複数含んでいるが、その一例を挙げるならば、複数の平板状の二次電池を有するモジュール筺体の任意の一面に、該筺体内部の上部に空間を残して奥行き方向に貫通する複数個の溝を平行に設け、該溝と該溝の間の該筺体内部に該平板状の電池を配したことを特徴とする。
そして、該溝が設けられた面に接するように、突起部あるいはフィンを有する水冷ジャケットが該筺体外部に設けられたことを特徴とする。
本発明によれば、高温環境下でも冷却能力がすぐれ、かつ、電池モジュールを複数配列された電池パックシステムにおいてモジュール交換が容易な二次電池モジュールを提供することができる。
本発明に係わるモジュール構造の第一の実施例を示す筺体の斜視図である。 本発明に係わるモジュール構造の第一の実施例を示すA−A断面図である。 本発明に係わるモジュール構造の第一の実施例を示す筺体内部の拡大図である。 本発明に係わるモジュール構造の第一の実施例を示す筺体背面の正面図である。 本発明に係わるモジュール構造の第一の実施例を示す筺体側面の断面図である。 本発明に係わるモジュール構造の第二の実施例を示す水冷ジャケット部の斜視図である。 本発明に係わるモジュール構造の第二の実施例を示す前面正面図である。 本発明に係わるモジュール構造の第三の実施例を示す水冷ジャケット部の斜視図である。 本発明に係わるモジュール構造の第三の実施例を示す水冷ジャケット部側面のB−B断面図である。 本発明に係わるモジュール構造の第三の実施例を示す水冷ジャケット部前面のC−C断面図である。 本発明に係わるモジュール構造の第三の実施例を示す筺体の縦断面図である。 本発明に係わるモジュール構造の第四の実施例を示す水冷ジャケット部と筺体との接触面の拡大縦断面図である。 本発明に係わるモジュール構造の第四の実施例を示す水冷ジャケット部と筺体との接触面の拡大縦断面図である。 本発明に係わる第五の実施例を示すもので複数個のモジュールから成るパック構造の正面図である。 本発明に係わる第五の実施例を示すもので複数個のモジュールから成るパック構造の上平面図である。
以下、図面に基づいて実施例を説明する。
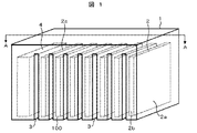
本実施例では、複数個の平板型あるいは扁平型の単電池2を収納する容器を、ここでは今後、筺体と称すが、図1〜図5を用いて説明する。
図1は、本実施例の筺体1の斜視図である。筺体1には複数個の筺体溝3が筺体1の奥行き方向に向かって貫通している。また筐体溝3は筺体1の下部から上部に向かって伸びている。この筺体溝3によって形成される筺体1の内部の空間部100に、破線で示す単電池2が収まる。
図2には図1のA−A断面図を示す。筺体溝3は筺体正面の前面から奥行き方向に向かって冷媒、例えば空気が流れるための流路を形成しており、単電池2から発生する熱を単電池側面2aから筐体溝内面3aを経て、冷媒に伝える役目を担うものである。
ここで、単電池2の設置の方向であるが、最も面積の大きい単電池側面2aが筐体溝内面3aと対向するように設置される。筐体溝内面3aは、筐体溝3において最も面積の大きい面である。さらには、筐体溝3の高さは単電池側面2aの高さより高くすることが望ましい。これにより、単電池側面2aと筐体溝内面3aの間の伝熱面積を最大にすることができ、冷却性能が向上する。また、筐体溝内面3aと単電池側面2aとの間に形成される間隙102はできるだけ狭い方が好ましい。すなわち、単電池2と筐体溝内面3aの間の熱伝導距離が短くなるため、冷却面で有利となる。
図3は、間隙102の拡大図である。間隙102には絶縁・緩衝材9で埋められている。絶縁・緩衝材9により、単電池2を空間部100に固定することができる。そして、熱圧着シール部8により、単電池2内の電解液やガスの漏洩を防ぐ。また、筺体1の材質が金属のような良熱伝導材で形成される場合には、単電池2からの漏えい電流を絶縁し、短絡を防ぐことができる。また、モジュールへの衝撃に対しても緩衝材としての機能を有す。さらには、単電池2の変形に対しても、緩衝材が変形を吸収し、密着性を維持する役割を担う。
熱伝導面からみれば、この間隙102には空隙部をできるだけ少なくして、熱伝導率の小さい空気の占める体積を減じて、熱伝導性を高めることが要求される。このため、絶縁・緩衝材9は空気層が残らないよう完全に間隙102に充填されることが肝要である。更に、絶縁・緩衝材9は良熱伝導材でありかつ伸縮性が要求されることから、例えばシリコーンポリマーとセラミックスの混合物から成る伝熱シート等であることが望ましい。
図1,図2には単電池2の制御や通信あるいは保護を目的とした回路基板4も筐体1の内部に収納されている。回路基板4も発熱するため、冷却が必要となる。ここでは、筺体溝3によって形成された空間部100の一つを基板用に割り当てた。これにより、回路基板4も単電池2と同じように冷却することができる。回路基板4が複数の場合でも、同数の溝を追加して対応することができる。
このように、筐体1の内部に回路基板4を有する本実施例において、この回路基板4と複数の単電池2の電気的な接続構造に関して、図2,図4,図5を用いて説明する。本実施例では筐体1の内部の各単電池が直列に接続されている例を示す。
図5に筺体1の側面断面図を示す。空間部100の中に単電池2が収納されている。単電池前面2b及び単電池側面2aは絶縁・緩衝材9と接している。単電池2の背面側には負極タブ12及び正極タブ13がそれぞれ単電池2から突き出ている。
各単電池2の負極タブ12及び正極タブ13からは垂直に集電用部材11a,集電用部材11bがそれぞれ上部空間101に向かって伸びている。なお、上部空間101は筐体溝内面3bと筺体上面1aとの間に形成される空間であり、本実施例における溝付き筺体構造の電池間接続を行う上で、必要不可欠の空間である。そして、隣り合う単電池間の集電用部材11aと集電用部材11bが接続用部材6により電気的につながっている。すなわち、負極タブ12から伸びている集電用部材11aが隣の単電池2の正極タブ13から伸びている集電用部材11bと接続用部材6によって接続される。
なお、本実施例の図2,図5に示すように隣り合う接続用部材6が互いに接触しないように、集電用部材11aと集電用部材11bの高さや奥行き方向の位置を隣り合う単電池間で交互に変えている。そして、最も回路基板4から離れて位置する単電池2の正極集電用部材11cが接続線7により、回路基板4の正極端子15につながる。また、回路基板4に最も近い位置の単電池2から伸びた接続用部材6は回路基板4の負極端子14につながる。
図4はモジュールを背面から見たものである。筐体溝3は前面から背面まで貫通している。そして、回路基板4が収納されている位置には外部との電気的な接続を行う正極コネクタ20,負極コネクタ21がそれぞれ備わる。また、通信用コネクタ22や切断スイッチ23も正極コネクタ20,負極コネクタ21と同様に、筐体1の背面の回路基板4が収納された位置に取り付けられている。正極コネクタ20,負極コネクタ21は外部機器との電流接続のためのものである。切断スイッチ23は、本実施例では、切断スイッチ23を切ることにより、モジュール側のコネクタ類を外部の機器から物理的に切り離しても、電池に悪影響を及ぼさないような機能を有している。
上記の電池モジュールを複数個組み合わせて使う場合には、各モジュール間の電気的な接続が新たに必要となり、モジュールの背面側にてその接続を行うことになる。例えばラックにモジュールを収納する場合、ラック側にはモジュール間の接続用コネクタ類などの機器が備わっており、このラック側コネクタとモジュール側コネクタとが接続される。
省スペースの観点から、できるだけ接続のための作業スペースを減らしたいが、本実施例では、筐体1の背面にコネクタ部を設けたことと、モジュールのラックからの出し入れを筺体溝方向に行うことで以下の利点が生まれる。
筐体溝3の一部を出し入れの際のガイドとして利用することができる。すなわち、溝に対応したガイド、例えば溝にはまるレールをラック側に取り付けることにより、溝と直角方向のずれが生じないことから、ラック側に固定されたコネクタとモジュール側のコネクタとの位置決めを正確に行うことができ、かつ、コネクタの接続方向と溝の方向が同じであることから、背面のコネクタ類をワンタッチ着脱可能構造とすることができる。すなわち、モジュールを溝に沿ってラック側に押し込みながらコネクタを接続させ、同じく溝方向に抜き出しながらコネクタを切り離すわけである。
以上のように本実施例によれば、単電池2ごとに単電池2で最も大きな面積を有する平面を冷却できるので、単電池2の平面温度分布を均一にできる。更に、単電池2ごとにその両平面が冷却されるため、単電池間の温度差も小さくできる。また、回路基板4にも冷却面を形成できるため、筐体1の内部に収納可能でかつ回路基板用の新たな冷却構造は特に不要であり、構造が簡単になる。
さらには、複数個のモジュールで構成されるパックあるいはブロックシステムの場合、回路基板4の位置に合わせて筐体1の背面に正極コネクタ20,負極コネクタ21を設け、筐体溝3をガイド用のレーンにすることによりモジュールの着脱が容易にできる構造をとることができる。この結果、モジュールの交換作業が容易になること、また作業スペースの低減が図られ、パックあるいはブロックのコンパクト化も図れる。
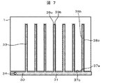
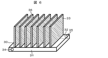
本実施例では、冷却方式が空冷ではなく、水冷で行えるモジュールの例を図6,図7を用いて説明する。
図6は水冷ジャケット30の構造を示した斜視図である。水冷ジャケット本体下部31の内部には図示していないが、仕切り板などにより、水の流路が形成されており、水の供給口34から水冷ジャケット本体後面32に設けた排水口35から排出される。また、水冷ジャケット30には筐体1の溝数と同数の冷却フィン33(突起部)が水冷ジャケット本体下部31から鉛直方向に伸びている。冷却フィン33と冷却フィン33の間には間隙36が形成される。
図7はモジュールの前面正面図である。この間隙36と冷却フィン33の高さを調節して、櫛歯状の水冷ジャケット30が、実施例1で示した溝付きの筺体1と図7に示すように筺体溝3に冷却フィン33がはめ込まれるようにして組み合わされる。冷却フィン33は筐体1の外部から筐体溝3に沿って設置される。筺体側の下面37aは水冷ジャケット本体側の上面37bと接し、伝熱面を構成する。また、筺体の溝側面38aと冷却フィンの側面38bと接し、伝熱面を構成する。ただし、筐体溝の凹部面39aと冷却フィンの先端面39bとの間には間隙があってもよい。また、冷却フィン33は筺体溝3の中に完全に包含されている。
水冷ジャケット30の全体は高い熱伝導性を有するアルミ等の金属で作られており、実施例1で述べた単電池2から発生した熱は筺体の溝側面38aや筺体側の下面37aから冷却フィンの側面38bや水冷ジャケット本体側の上面37bを通り、水冷ジャケット本体下部31を流れる水に伝えられることによって、単電池2は冷却されることになる。
本実施形態は先の第一の実施形態の空冷方式に比べて水冷になるため、冷却性能が一段と向上する。特に、空冷の場合には環境温度が高くなると、冷媒である空気温度も高くなることから、冷却面で厳しくなるが、水冷の場合は、水の熱容量が大きいため、環境温度の影響を受けにくい利点がある。
また、筺体1と水冷ジャケット30とは簡単に分離できることから、筐体1の内部のセルに異常が発生し、そのためモジュールごと交換する場合でも、水冷ジャケット30を含む水冷却系統はそのままにして、筺体1のみを筐体溝3に沿って正面から抜き出せばよいことから、モジュール交換が極めて容易にできる。更には、冷却フィン33と筐体溝3がガイドの役目を果たすため、新たにガイドを設けなくても第一の実施例と同様のコネクタのワンタッチ着脱が可能になる。
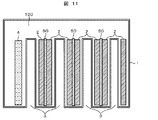
本実施例では、水冷ジャケット30の本体部分だけでなく、上記冷却フィン33の内部にも水を流すことができる水冷ジャケット構造を図8〜図11を用いて説明する。
図8は本実施例の水冷ジャケット全体の斜視図である。水冷ジャケット本体下部31から冷却フィン33が鉛直方向に延びている。また、冷却フィン33の数は筺体溝3の数と同数である。水の供給口34が水冷ジャケット本体下部31に設けられており、水冷ジャケット30の背面側にあたる冷却フィン33の上部に排水ヘッダー40が備わる。
図9に水冷ジャケット30のB−B断面図を、図10に同じくC−C断面図を示す。水の供給口34から入った冷却水は、水冷ジャケット本体下部の内部に設けられた給水ヘッダー44を流れ、分岐口45を通って、冷却フィン33の中空部43に流入する。そして、出口として排水口42から排水ヘッダー40の流路41を通ってモジュール外に排出される。
なお、排水ヘッダー40を冷却フィン33の上部に設けた理由は、ポンプの吐出圧が下がったりして、冷却水量が減ったり、水圧が低下した場合でも冷却水を確実に冷却フィン33の中空部全域に流れるようにするためである。上記のような状況が想定されない場合には、排水ヘッダー40及び排水口42は供給側と同様にジャケット本体下部31に設けてもよい。
本実施例の水冷ジャケット30は、冷却フィン33の内部にも冷却水が流れる構造となっている。ただし、上記のような流路を確保するためには冷却フィン33にはある程度の厚みが必要となる。そのためには、筐体溝3のピッチを大きくし、更には、筺体幅を一定に維持するためには、溝の数を減らす必要がある。
図11に本実施例における筺体1の正面の縦断面図を示す。なお、筺体1の上部の空間部100に備わる電気的接続部分は、実施例1と同様の構成および機能を有するので省略している。本実施例の筐体1では筐体溝3の数を減らして、代わりに溝幅と溝のピッチを大きくした。
そして、この筐体溝3の中には単電池2が2個一組にして挿入されている。さらには、単電池2個の間には熱拡散板50が備わる。該熱拡散板としては高熱伝導率を有するアルミ板などが用いられる。これを挿入することにより、熱拡散板50と接する単電池平面の温度分布が均一な方向に向かう。
先の実施例2と比べると、一つの溝に入る単電池2が2個となるため、単電池積層方向(厚み方向)に温度分布は若干ではあるが大きくなる。しかし、冷却水がフィン全体に流れるため、冷却性能は格段に向上する。その結果、冷却水流量が低減できることからポンプの所用動力やモジュールから排出された循環用冷却水を冷却するためのラジエターの大きさも小さくすることができる。
本実施例は冷却フィン33とそれに接する筐体溝3の面との密着性を向上させる例であり、図12,図13を用いて説明する。
図12は水冷ジャケット30と筺体1との接触面の拡大縦断面図である。筺体1を水冷ジャケット30の冷却フィン33に沿って挿入したり取り出したりする際には溝と冷却フィン33の間に摩擦抵抗を低減するために、潤滑材やグリースが塗布されている。しかも、そのグリースは潤滑の役割だけではなく、高熱伝導グリースのような好ましくは高熱伝導率という物性も要している。
しかしながら、長時間の熱伝導性の信頼性を確保するためには、さらに次のような構造を付加するものである。すなわち、筐体の溝側面38aと冷却フィンの側面38bとの間隙102において、その中に金属のバネ材200を奥行き方向に沿って備える。また、筺体側の下面37aと水冷ジャケット本体側の上面37bとの接触性が良くない場合には、意図的に間隙103を形成させ、その間隙にもバネ材200を挿入してもよい。
本実施例では、このバネ材は水冷ジャケット30側にあらかじめ固定されているが、筺体1を水冷ジャケット30に組み込んでからバネ材200を挿入してもよい。筺体1と水冷ジャケット30が嵌合状態にある時は、バネ材200が筐体の溝側面38aと冷却フィンの側面38bとの間の熱伝導の役割を果たす。従って、バネ材200は熱伝導率の大きいものが望ましい。
また、バネ材200の構造としては、水冷ジャケット30と筺体側の下面37aと水冷ジャケット本体側の上面37b、あるいは筐体の溝側面38aと冷却フィンの側面38bとできるだけ接触面積が大きくとれるよう板バネのような平面部の面積が大きいことが望ましい。さらに、バネ材200の機能としては、筺体1と水冷ジャケット30の熱膨張率の違いによる間隙102,103の幅に変化が生じても、バネ弾性を維持し、常に大きな面圧を水冷ジャケット30と筐体1の両面に与え続けることが望ましい。
図13は本実施例の変形例である。図12と異なる点は、間隙102及び間隙103に挿入される部材がバネ材200ではなく、高熱伝導率を有する金属繊維201を充填したことである。さらには、図12のバネ材200と金属繊維201の両方を挿入して、伝熱接触面積を増加させ、熱伝導性を更に向上させても勿論問題ない。
なお、熱伝導性が良く、かつ、狭い隙間に挿入できる部材であり、筺体1と水冷ジャケット30の熱膨張率の違いによる間隙102,103の幅変化に追従して、筐体1及び水冷ジャケット面との接触性を維持できる部材であれば、金属箔や網状金属など金属繊維に限るものではない。
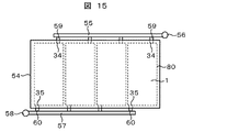
本実施例はこれまでの実施例1〜4に示してきた筺体1及び水冷ジャケット30を含むモジュールを複数個配列して、電池パックを構成することにより大容量電池システムを構築した例であり、図14,図15を用いて説明する。
図14はラック70の中に12個のモジュール80を4列3段に配列した電池パック構造の正面図であり、図15は上から見た平面図である。
ラック70の各段には水冷ジャケット30と筐体1からなるモジュール80が4個水平方向に配列されている。水冷ジャケット30はラック70の下板52あるいは中間板53に固定されている。筺体1に設けられた溝に水冷ジャケット30から出ている冷却フィン33がはめ込まれることにより、筺体1も固定されることになる。なお、筺体1がラック前面からずり落ちないようにラックの側板51間に落下防止柵61が設けられることもある。
各段の水冷ジャケット30には供給口34と排水口35が備わる。ラック70の各段の前面には水供給ヘッダー55がモジュールの配列方向に伸びており、水供給ヘッダー55には入口分岐管59がモジュールの数だけ設けられており、この分岐管と該供給口34とが接続されている。
同様に、ラック各段の背面には出口ヘッダー57が伸びており、出口ヘッダー57には出口合流管60がモジュールの数だけ設けられており、この出口合流管60と排水口35とが接続されている。また、各段に設けられた水供給ヘッダー55及び出口ヘッダー57は、それぞれ水供給管56,出口配管58に接続されている。
そして、水供給管56から送られてきた冷却水は、各水供給ヘッダー55に分配され、さらに、入口分岐管59により各モジュール80の水冷ジャケット30に供給される。水冷ジャケット30に付随する冷却フィン33により筐体1の内部で発生した熱が伝わり、冷却水にその熱が奪われる。冷却水は、出口合流管60を通って、出口ヘッダー57に集められ、さらに、各段の出口ヘッダー57からの冷却水は出口配管に集められる。
なお、図には示していないが、ラック70の背面には、各モジュールからの電流を集電するための接続ケーブルあるいはバスバーや、それらと各モジュールとを接続するためのコネクタ部等が備わっている。
ラック内の12個のモジュールの中で、もし、運転中に異常が見つかった場合には、残りの11個のモジュールの運転は継続し、異常なモジュールだけを交換することがシステムの運用上、最も望ましいことである。
本実施例のモジュールには実施例1で示したように、筐体1の背面側に切断スイッチ23が備わっている。異常が見つかった場合には、その異常モジュールの切断スイッチ23を切り、他のモジュールとは電気的に切り離される。ただし、冷却水は異常モジュールの水冷ジャケット30にも流れたままになっている。
次に、異常モジュールの筺体1をラック70の前面から、筺体1の溝方向に沿って抜き出す。この際、実施例1で示したように、モジュール背面のコネクタ部は、筺体1を抜き出す時に、ラック側のコネクタ部と自動的に切り離される構造になっている。従って、切断スイッチ操作以外の電気的な切断作業は不要である。更に、水冷ジャケット30と筺体1は分離可能なため、冷却水配管作業も不要である。
このように、本実施例によれば、複数のモジュールを組み合わせた電池パックにおいても、運転を継続しながら簡便にモジュール交換ができる。また、電池パックの容積も、モジュールの筺体1から突き出る放熱フィンや冷媒用の流路などを確保する必要がないことから、モジュールとモジュールの間に大きな空間は不要であり、高密度にモジュールを配列することができる。その結果、電池パックをコンパクトにできる。
なお、本発明は上記した実施例に限定されるものではなく、様々な変形例が含まれる。例えば、上記した実施例は本発明をわかり易く説明するために、詳細に説明したものであり、必ずしも説明した全ての構成を備えるものに限定されるものではない。また、ある実施例の構成の一部を他の実施例の構成に置き換えることも可能である。また、ある実施例の構成に他の実施例の構成を加えることも可能である。
1 筺体
1a 筺体上面
2 単電池
2a 単電池側面
2b 単電池前面
2c 単電池上端面
3 筺体溝
3a,3b 筐体溝内面
4 回路基板
6 接続用部材
7 接続線
8 熱圧着シール部
9 絶縁・緩衝材
11a,11b 集電用部材
11c 正極集電用部材
12 負極タブ
13 正極タブ
14 負極端子
15 正極端子
20 正極コネクタ
21 負極コネクタ
22 通信用コネクタ
23 切断スイッチ
30 水冷ジャケット
31 水冷ジャケット本体下部
32 水冷ジャケット本体後面
33 冷却フィン
34 供給口
35,42 排水口
36,102,103 間隙
37a 筺体側の下面
37b 水冷ジャケット本体側の上面
38a 筺体の溝側面
38b 冷却フィンの側面
39a 筐体溝の凹部面
39b 冷却フィンの先端面
40 排水ヘッダー
41 流路
43 中空部
44 給水ヘッダー
45 分岐口
50 熱拡散板
51 ラック側板
52 ラック下板
53 ラック中間板
54 ラック上板
55 水供給ヘッダー
56 水供給管
57 出口ヘッダー
58 出口配管
59 入口分岐管
60 出口合流管
61 落下防止柵
70 ラック
80 モジュール
100 空間部
101 上部空間
200 バネ材
201 金属繊維

Claims (9)

  1. 平板状の二次電池と、
    奥行き方向に貫通する複数個の溝が形成され、隣り合う溝と溝の間の空間に前記二次電池を格納した筐体と、を有し、
    前記複数個の溝は前記筐体の下部から上部に向かって伸びており、
    前記筐体の内部であって溝の上部の空間において、複数の前記二次電池を電気的に接続したことを特徴とする二次電池モジュール。
  2. 請求項1に記載の二次電池モジュールであって、
    突起部またはフィンを有する水冷ジャケットを有し、
    前記水冷ジャケットの突起部またはフィンは、前記筐体の外部から前記筐体の溝に沿うように設けられたことを特徴とする二次電池モジュール。
  3. 請求項1または2に記載の二次電池モジュールであって、
    前記筐体の隣り合う溝と溝の間の空間の一つに、前記二次電池の制御または保護用の回路基板を配したことを特徴とする二次電池モジュール。
  4. 請求項1乃至3のいずれかに記載の二次電池モジュールであって、
    前記筺体の背面に、前記二次電池の正極または負極のコネクタ部を設けたことを特徴とする二次電池モジュール。
  5. 請求項1乃至4のいずれかに記載の二次電池モジュールであって、
    前記二次電池において最大面積を有する面が、前記筐体の溝において最大面積を有する面と対向することを特徴とする二次電池モジュール。
  6. 請求項1乃至5のいずれかに記載の二次電池モジュールであって、
    前記水冷ジャケットの突起部またはフィンは、内部に液冷媒を流す中空部を有することを特徴とする二次電池モジュール。
  7. 請求項1乃至6のいずれかに記載の二次電池モジュールであって、
    前記筺体と前記水冷ジャケットとの間隙に、熱伝導性または弾性を備える部材が介在することを特徴とする二次電池モジュール。
  8. 請求項1乃至7のいずれかに記載の二次電池モジュールを、ラックに複数個配置した二次電池パックであって、
    前記水冷ジャケットは、冷媒の供給口及び排出口を備え、
    前記ラックは、前記供給口へ向けて冷媒を供給する分岐部と、前記排出口から前記出口ヘッダーに冷媒を排出する合流部と、を備えたことを特徴とする二次電池パック。
  9. 請求項8に記載の二次電池パックであって、
    前記ラックの背面側に、前記二次電池モジュールと、前記二次電池モジュールからの電流を集電する接続ケーブルとを接続するためのコネクタ部を備えることを特徴とする二次電池パック。
JP2011095633A 2011-04-22 2011-04-22 二次電池モジュール及び二次電池パック Expired - Fee Related JP5422596B2 (ja)

Priority Applications (2)

Application Number Priority Date Filing Date Title
JP2011095633A JP5422596B2 (ja) 2011-04-22 2011-04-22 二次電池モジュール及び二次電池パック
US13/449,348 US9166207B2 (en) 2011-04-22 2012-04-18 Secondary battery module with water cooling jacket

Applications Claiming Priority (1)

Application Number Priority Date Filing Date Title
JP2011095633A JP5422596B2 (ja) 2011-04-22 2011-04-22 二次電池モジュール及び二次電池パック

Publications (2)

Publication Number Publication Date
JP2012227072A true JP2012227072A (ja) 2012-11-15
JP5422596B2 JP5422596B2 (ja) 2014-02-19

Family

ID=47021570

Family Applications (1)

Application Number Title Priority Date Filing Date
JP2011095633A Expired - Fee Related JP5422596B2 (ja) 2011-04-22 2011-04-22 二次電池モジュール及び二次電池パック

Country Status (2)

Country Link
US (1) US9166207B2 (ja)
JP (1) JP5422596B2 (ja)

Cited By (8)

* Cited by examiner, † Cited by third party
Publication number Priority date Publication date Assignee Title
WO2014010395A1 (ja) * 2012-07-13 2014-01-16 日産自動車株式会社 電池構造体
JP2014135235A (ja) * 2013-01-11 2014-07-24 Toyota Industries Corp 電池パック及び産業車両
WO2015025206A1 (en) 2013-08-20 2015-02-26 Toyota Jidosha Kabushiki Kaisha Temperature controller for battery
JP2015084285A (ja) * 2013-10-25 2015-04-30 新神戸電機株式会社 移動体搭載用の組電池
JP2017208298A (ja) * 2016-05-20 2017-11-24 株式会社エクセディ 蓄電池ユニット
CN107871913A (zh) * 2016-09-26 2018-04-03 现代自动车株式会社 用于电池的水冷却系统
JP2021015678A (ja) * 2019-07-10 2021-02-12 本田技研工業株式会社 蓄電モジュール
JP2022509227A (ja) * 2018-11-28 2022-01-20 カール・フロイデンベルク・カーゲー 電気化学エネルギ蓄積セル

Families Citing this family (29)

* Cited by examiner, † Cited by third party
Publication number Priority date Publication date Assignee Title
US9113577B2 (en) * 2001-11-27 2015-08-18 Thermotek, Inc. Method and system for automotive battery cooling
DE102013200790A1 (de) * 2013-01-18 2014-07-24 Robert Bosch Gmbh Kühlsystem mit einem kühlmitteldurchströmten Kühlkörper zur Kühlung einer Batterie
KR101589996B1 (ko) * 2013-06-07 2016-01-29 주식회사 엘지화학 액상 냉매 유출에 대한 안전성이 향상된 전지팩
US10211444B2 (en) 2013-09-06 2019-02-19 Johnson Controls Technology Company System and method for venting pressurized gas from a battery module
US9296310B2 (en) * 2014-03-18 2016-03-29 Ford Global Technologies, Llc Traction battery thermal management system
CN104064814B (zh) * 2014-07-07 2016-08-17 合肥国轩高科动力能源有限公司 铝壳大容量电池化成下柜转运与封口一体化装置
EP3264518B1 (en) * 2015-09-08 2019-01-30 LG Chem, Ltd. Battery module having improved cooling performance
KR102292303B1 (ko) * 2016-06-17 2021-08-20 에스케이이노베이션 주식회사 이차 전지 팩
CN106025435B (zh) * 2016-07-26 2018-08-28 李清雪 动力电池散热系统
CN106058367B (zh) * 2016-07-26 2018-10-30 李清雪 新能源车
DE102016115627A1 (de) * 2016-08-23 2018-03-01 Benteler Automobiltechnik Gmbh Batterieträger mit Kühlsystem
CN109844438B (zh) * 2016-10-12 2020-06-12 株式会社电装 蒸发器
CN106450571B (zh) * 2016-11-04 2019-09-03 北方工业大学 电池模组和用电设备
CN106785196A (zh) * 2016-12-09 2017-05-31 德阳九鼎智远知识产权运营有限公司 一种能均匀散热的锂离子电池组
DE102017213887A1 (de) * 2017-08-09 2019-02-14 Audi Ag Batteriemodulanordnung, Batterie, Kraftfahrzeug und Verfahren zum Anordnen zumindest eines Batteriemoduls in einer Modulaufnahmeeinrichtung
DE102017008102A1 (de) * 2017-08-29 2019-02-28 Carl Freudenberg Kg Energiespeichersystem
CN108172929B (zh) * 2017-12-22 2024-03-15 银隆新能源股份有限公司 电池芯散热结构及具有风冷散热装置的电池包
US10797279B2 (en) 2018-06-28 2020-10-06 Caterpillar Inc. Battery housing systems
FR3085794B1 (fr) * 2018-09-12 2020-11-13 Commissariat Energie Atomique Pack-batterie d'accumulateurs electrochimiques comprenant des dispositifs de deconnexion magnetique passive entre les accumulateurs et des busbars, et le cas echeant de shunt passif d'un ou plusieurs accumulateurs en cas de defaillance d'un de ceux-ci
CN109713178A (zh) * 2018-12-04 2019-05-03 力神动力电池系统有限公司 一种动力电池水冷模组
DE102019132835A1 (de) * 2019-12-03 2021-06-10 Yazaki Systems Technologies Gmbh Kühlkörper, elektrischer Energiespeicher und Verfahren zur Herstellung eines solchen Energiespeichers
EP3832783A1 (de) 2019-12-03 2021-06-09 Yazaki Systems Technologies GmbH Kühlkörper, elektrisches system und verfahren zur herstellung eines elektrischen systems
CN111785890A (zh) * 2020-08-10 2020-10-16 厦门金龙联合汽车工业有限公司 一种换电电池及换电电池系统
KR20230163529A (ko) * 2021-04-06 2023-11-30 닛폰세이테츠 가부시키가이샤 배터리 셀 사이의 냉각 구조, 배터리 모듈 및 배터리 팩
CN215868988U (zh) * 2021-05-21 2022-02-18 阳光电源股份有限公司 一种电容结构及功率变换器
CN114927818B (zh) * 2022-05-16 2024-04-19 北京科易动力科技有限公司 电池模组和电池包
CN217719769U (zh) * 2022-07-26 2022-11-01 宁德时代新能源科技股份有限公司 热管理部件、电池以及用电装置
CN118380687B (zh) * 2024-06-24 2024-09-10 南京创源动力科技有限公司 电池包及用电设备
CN119009068B (zh) * 2024-08-30 2025-11-18 广东嘉尚新能源科技有限公司 一种具有耐高低温性能的锂离子电池及其制备方法

Citations (15)

* Cited by examiner, † Cited by third party
Publication number Priority date Publication date Assignee Title
JPH02138856U (ja) * 1989-04-26 1990-11-20
JPH02138858U (ja) * 1989-04-26 1990-11-20
JPH0773908A (ja) * 1993-09-01 1995-03-17 Nippondenso Co Ltd バッテリ用熱交換装置
JPH07134973A (ja) * 1993-11-10 1995-05-23 Japan Storage Battery Co Ltd 密閉鉛蓄電池
JP2002329483A (ja) * 2001-05-02 2002-11-15 Daiwa Kasei Ind Co Ltd 電池ケース及びその製造方法
JP2003132962A (ja) * 2001-10-22 2003-05-09 Matsushita Electric Ind Co Ltd 蓄電池
JP2003229098A (ja) * 2002-02-01 2003-08-15 Japan Storage Battery Co Ltd 蓄電池
JP2003309935A (ja) * 2002-04-16 2003-10-31 Hitachi Ltd 直流バックアップ電源装置
JP2004146088A (ja) * 2002-10-22 2004-05-20 Japan Storage Battery Co Ltd 蓄電池
JP2006338934A (ja) * 2005-05-31 2006-12-14 Fuji Heavy Ind Ltd 蓄電体セルのパッケージ構造
JP2010015931A (ja) * 2008-07-07 2010-01-21 Hitachi Ltd 二次電池を用いた電源装置
JP2010192207A (ja) * 2009-02-17 2010-09-02 Mitsubishi Heavy Ind Ltd 電池用冷却装置及び組電池
JP2010199070A (ja) * 2009-02-25 2010-09-09 Sb Limotive Co Ltd バッテリーパック
JP2011054360A (ja) * 2009-08-31 2011-03-17 Toshiba Corp 電池パック
JP2011054353A (ja) * 2009-08-31 2011-03-17 Toshiba Corp 二次電池装置、二次電池装置の製造方法、および二次電池装置を備えたフォークリフト

Family Cites Families (6)

* Cited by examiner, † Cited by third party
Publication number Priority date Publication date Assignee Title
JP4279932B2 (ja) 1999-03-03 2009-06-17 パナソニック株式会社 集合型密閉二次電池
US6482542B1 (en) 1999-03-03 2002-11-19 Matsushita Electric Industrial Co., Ltd. Integrated sealed secondary battery
US6586132B1 (en) 1999-03-03 2003-07-01 Matsushita Electric Industrial Co., Ltd. Sealed battery pack
US20050255379A1 (en) * 2004-05-12 2005-11-17 Michael Marchio Battery assembly with heat sink
JP2009140714A (ja) 2007-12-05 2009-06-25 Furukawa Battery Co Ltd:The 組電池モジュール
US8389145B2 (en) * 2009-05-12 2013-03-05 GM Global Technology Operations LLC Battery assemblies

Patent Citations (15)

* Cited by examiner, † Cited by third party
Publication number Priority date Publication date Assignee Title
JPH02138856U (ja) * 1989-04-26 1990-11-20
JPH02138858U (ja) * 1989-04-26 1990-11-20
JPH0773908A (ja) * 1993-09-01 1995-03-17 Nippondenso Co Ltd バッテリ用熱交換装置
JPH07134973A (ja) * 1993-11-10 1995-05-23 Japan Storage Battery Co Ltd 密閉鉛蓄電池
JP2002329483A (ja) * 2001-05-02 2002-11-15 Daiwa Kasei Ind Co Ltd 電池ケース及びその製造方法
JP2003132962A (ja) * 2001-10-22 2003-05-09 Matsushita Electric Ind Co Ltd 蓄電池
JP2003229098A (ja) * 2002-02-01 2003-08-15 Japan Storage Battery Co Ltd 蓄電池
JP2003309935A (ja) * 2002-04-16 2003-10-31 Hitachi Ltd 直流バックアップ電源装置
JP2004146088A (ja) * 2002-10-22 2004-05-20 Japan Storage Battery Co Ltd 蓄電池
JP2006338934A (ja) * 2005-05-31 2006-12-14 Fuji Heavy Ind Ltd 蓄電体セルのパッケージ構造
JP2010015931A (ja) * 2008-07-07 2010-01-21 Hitachi Ltd 二次電池を用いた電源装置
JP2010192207A (ja) * 2009-02-17 2010-09-02 Mitsubishi Heavy Ind Ltd 電池用冷却装置及び組電池
JP2010199070A (ja) * 2009-02-25 2010-09-09 Sb Limotive Co Ltd バッテリーパック
JP2011054360A (ja) * 2009-08-31 2011-03-17 Toshiba Corp 電池パック
JP2011054353A (ja) * 2009-08-31 2011-03-17 Toshiba Corp 二次電池装置、二次電池装置の製造方法、および二次電池装置を備えたフォークリフト

Cited By (14)

* Cited by examiner, † Cited by third party
Publication number Priority date Publication date Assignee Title
JPWO2014010395A1 (ja) * 2012-07-13 2016-06-20 日産自動車株式会社 電池構造体
WO2014010395A1 (ja) * 2012-07-13 2014-01-16 日産自動車株式会社 電池構造体
JP2014135235A (ja) * 2013-01-11 2014-07-24 Toyota Industries Corp 電池パック及び産業車両
US10403941B2 (en) 2013-08-20 2019-09-03 Toyota Jidosha Kabushiki Kaisha Temperature controller for battery
WO2015025206A1 (en) 2013-08-20 2015-02-26 Toyota Jidosha Kabushiki Kaisha Temperature controller for battery
JP2015084285A (ja) * 2013-10-25 2015-04-30 新神戸電機株式会社 移動体搭載用の組電池
JP2017208298A (ja) * 2016-05-20 2017-11-24 株式会社エクセディ 蓄電池ユニット
CN107871913A (zh) * 2016-09-26 2018-04-03 现代自动车株式会社 用于电池的水冷却系统
CN107871913B (zh) * 2016-09-26 2022-12-16 现代自动车株式会社 用于电池的水冷却系统
JP2022509227A (ja) * 2018-11-28 2022-01-20 カール・フロイデンベルク・カーゲー 電気化学エネルギ蓄積セル
JP7137014B2 (ja) 2018-11-28 2022-09-13 カール・フロイデンベルク・カーゲー 電気化学エネルギ蓄積セル
US12388130B2 (en) 2018-11-28 2025-08-12 Carl Freudenberg Kg Electrochemical energy storage cell
JP2021015678A (ja) * 2019-07-10 2021-02-12 本田技研工業株式会社 蓄電モジュール
JP7094920B2 (ja) 2019-07-10 2022-07-04 本田技研工業株式会社 蓄電モジュール

Also Published As

Publication number Publication date
US9166207B2 (en) 2015-10-20
US20120270075A1 (en) 2012-10-25
JP5422596B2 (ja) 2014-02-19

Similar Documents

Publication Publication Date Title
JP5422596B2 (ja) 二次電池モジュール及び二次電池パック
US10084219B2 (en) Battery pack having improved safety against leakage of liquid refrigerant
EP2366202B1 (en) Battery module having cooling means, and middle or large-sized battery pack containing the same
US10632848B2 (en) Battery module of improved safety
EP4447197A1 (en) Battery cooling system, battery pack, and vehicle
US20200266506A1 (en) Battery module and system
KR20190040259A (ko) 파워 배터리 팩
KR101847182B1 (ko) 수냉식 냉각을 위한 열전도성 케이스를 가지는 배터리
CN112531231B (zh) 被动式安全管理电池包
WO2014014623A1 (en) Energy storage device and method
CN117594908A (zh) 液冷板组件、液冷系统及电池
CN117638347B (zh) 一种电池包及用电设备
CN113067067A (zh) 单体电池和具有其的电池模组、动力电池包
EP4239759A1 (en) Battery device
CN220086189U (zh) 电池包及储能设备
CN116565439A (zh) 电池包以及用电设备
CN119742493A (zh) 圆柱形电池单元封装和冷却配置
CN217788543U (zh) 储能装置和具有其的储能装置控制系统
CN117638327A (zh) 电池模组及储能系统
CN111435719A (zh) 电池模块、电池组件、电池模组、电池系统和电动车辆
CN119994295B (zh) 液冷电池包及车辆
CN222826474U (zh) 一种基于端板的液冷结构
CN220172226U (zh) 一种电池包
CN222355363U (zh) 电芯结构及电池模组
CN221928246U (zh) 电池包

Legal Events

Date Code Title Description
A621 Written request for application examination

Free format text: JAPANESE INTERMEDIATE CODE: A621

Effective date: 20130226

A977 Report on retrieval

Free format text: JAPANESE INTERMEDIATE CODE: A971007

Effective date: 20130729

A131 Notification of reasons for refusal

Free format text: JAPANESE INTERMEDIATE CODE: A131

Effective date: 20130806

A521 Request for written amendment filed

Free format text: JAPANESE INTERMEDIATE CODE: A523

Effective date: 20131002

TRDD Decision of grant or rejection written
A01 Written decision to grant a patent or to grant a registration (utility model)

Free format text: JAPANESE INTERMEDIATE CODE: A01

Effective date: 20131029

A61 First payment of annual fees (during grant procedure)

Free format text: JAPANESE INTERMEDIATE CODE: A61

Effective date: 20131125

R151 Written notification of patent or utility model registration

Ref document number: 5422596

Country of ref document: JP

Free format text: JAPANESE INTERMEDIATE CODE: R151

LAPS Cancellation because of no payment of annual fees