JP2012223402A - 靴用スパイク - Google Patents

靴用スパイク Download PDF

Info

Publication number
JP2012223402A
JP2012223402A JP2011094310A JP2011094310A JP2012223402A JP 2012223402 A JP2012223402 A JP 2012223402A JP 2011094310 A JP2011094310 A JP 2011094310A JP 2011094310 A JP2011094310 A JP 2011094310A JP 2012223402 A JP2012223402 A JP 2012223402A
Authority
JP
Japan
Prior art keywords
wear
resistant
lateral
vertical
plate portion
Prior art date
Legal status (The legal status is an assumption and is not a legal conclusion. Google has not performed a legal analysis and makes no representation as to the accuracy of the status listed.)
Granted
Application number
JP2011094310A
Other languages
English (en)
Other versions
JP5385938B2 (ja
Inventor
Isao Nakano
勲 中野
Noboru Kajiura
昇 梶浦
Current Assignee (The listed assignees may be inaccurate. Google has not performed a legal analysis and makes no representation or warranty as to the accuracy of the list.)
KAJI TECH CO Ltd
Zett Corp
Original Assignee
KAJI TECH CO Ltd
Zett Corp
Priority date (The priority date is an assumption and is not a legal conclusion. Google has not performed a legal analysis and makes no representation as to the accuracy of the date listed.)
Filing date
Publication date
Application filed by KAJI TECH CO Ltd, Zett Corp filed Critical KAJI TECH CO Ltd
Priority to JP2011094310A priority Critical patent/JP5385938B2/ja
Publication of JP2012223402A publication Critical patent/JP2012223402A/ja
Application granted granted Critical
Publication of JP5385938B2 publication Critical patent/JP5385938B2/ja
Expired - Fee Related legal-status Critical Current
Anticipated expiration legal-status Critical

Links

Images

Landscapes

  • Footwear And Its Accessory, Manufacturing Method And Apparatuses (AREA)

Abstract

【課題】耐摩耗性部材の合理的な改造をもって、爪板部の側辺での摩耗進行に起因する折損や耐摩耗性部材の脱落を抑制して、長期にわたって確実・良好なスパイク機能を発揮させる。
【解決手段】靴底に取付け可能な取付け基部1に連設された爪板部2の先端側に、当該爪板部2よりも硬度の大きな耐摩耗性部材3が接合されている靴用スパイクであって、耐摩耗性部材3が、少なくとも爪板部2の先端の角部側において横方向に沿う横向き耐摩耗部3Aと、当該横向き耐摩耗部3Aの角部側の上面から爪板部2の側辺に沿って立ち上がる縦向き耐摩耗部3Bとから構成されている。
【選択図】図1

Description

本発明は、地面に対するグリップ性及び競技能力の向上を図るために用いられる靴用スパイクで、特に、靴底に取付け可能な取付け基部に連設された爪板部の耐摩耗を高めた靴用スパイクに関する。
靴用スパイクの爪板部の耐摩耗を改善する方法として、従来では、例えば、下記特許文献1に示すように、炭素鋼製の爪板部の先端の角部側部位に、爪板部よりも硬度の大きなタングステン鋼製の耐摩耗性部材を、爪板部の先端及び側辺と面一に連続する状態で当該爪板部の先端に沿って溶接等で一体に接合したもの、或いは、下記特許文献2又は3に示すように、炭素鋼製の爪板部の先端に、当該先端の横幅と同一寸法の棒状に構成された爪板部よりも硬度の大きなタングステン鋼製の耐摩耗性部材を、溶接等で一体に接合したものが提案されている。
実開昭49−129746号公報 実開昭51−147844号公報 特開平09−182606号公報
従来の靴用スパイクでは、爪板部の先端の角部側部位又は爪板部の先端全域に設けた耐摩耗性部材によって爪板部の先端での摩耗を抑制しているが、例えば、野球の打撃動作、投球動作、ランニング動作、守備動作など競技者の他種多様な動作によって、爪板部の接地時や蹴り出し時等において、爪板部の先端のみならず表裏面や左右の側辺にも各種方向の外力が作用する。
そのため、前記爪板部の側辺のうち、地面との接触頻度の高い耐摩耗性部材の横方向端面の上方近傍箇所において摩耗が発生し、その摩耗が耐摩耗性部材の上面に沿って爪板部の横方向中央部側に喰い込み進行すると、爪板部の折損や耐摩耗性部材の脱落を招来する問題があった。
本発明は、上述の実状に鑑みて為されたものであって、その主たる課題は、前記耐摩耗性部材の合理的な改造をもって、爪板部の側辺での摩耗進行に起因する折損や耐摩耗性部材の脱落を抑制して、長期にわたって確実・良好なスパイク機能を発揮させることのできる靴用スパイクを提供する点にある。
本発明による第1の特徴構成は、靴底に取付け可能な取付け基部に連設された爪板部の先端側に、当該爪板部よりも硬度の大きな耐摩耗性部材が接合されている靴用スパイクであって、
前記耐摩耗性部材が、少なくとも爪板部の先端の角部側において横方向に沿う横向き耐摩耗部と、当該横向き耐摩耗部の角部側の上面から爪板部の側辺に沿って立ち上がる縦向き耐摩耗部とから構成されている点にある。
上記構成によれば、前記爪板部の先端には、少なくとも爪板部の先端の角部側において横方向に沿う耐摩耗性部材の横向き耐摩耗部が存在し、前記爪板部の側辺には、横向き耐摩耗部の角部側の上面から爪板部の側辺に沿って立ち上がる耐摩耗性部材の縦向き耐摩耗部が存在するから、爪板部の先端での摩耗を抑制することができるとともに、爪板部の側辺のうち、地面との接触頻度の高い横向き耐摩耗部の横方向端面の上方近傍箇所における摩耗も抑制することができる。
しかも、前記横向き耐摩耗部の角部側の上面から爪板部の側辺に沿って立ち上がる縦向き耐摩耗部によって爪板部の縦方向での剛性が増し、当該爪板部の撓みによる地面蹴り時の力の伝達ロスを抑止することができる。
したがって、前記耐摩耗性部材を爪板部の先端に沿う横向き耐摩耗部と爪板部の側辺に沿う縦向き耐摩耗部とから構成するといった合理的な改造をもって、爪板部の側辺での摩耗進行に起因する折損や耐摩耗性部材の脱落を抑制して、長期にわたって確実・良好なスパイク機能を発揮させることができる。
本発明による第2の特徴構成は、前記横向き耐摩耗部が爪板部の先端における横方向の全域に形成され、前記縦向き耐摩耗部が、横向き耐摩耗部の両角部側の上面に夫々連設され、前記横向き耐摩耗部と両縦向き耐摩耗部とが正面視において上向きコの字状に形成されている点にある。
上記構成によれば、前記爪板部の先端における一方の角部側部位又は両角部側部位にのみ横向き耐摩耗部が存在する場合に比して、爪板部の先端全域及び両側辺での摩耗を良好に抑制することができるとともに、上向きコの字状の耐摩耗性部材と爪板部との接合面積の増大によって接合力が強化されるから、爪板部の接地時や蹴り出し時等において大きな外力が作用しても、耐摩耗性部材の脱落を良好に抑制することができる。
本発明による第3の特徴構成は、前記縦向き耐摩耗部の横方向の幅が、前記横向き耐摩耗部の縦方向の幅よりも大に構成されている点にある。
上記構成によれば、前記爪板部の側辺に沿って立ち上がる縦向き耐摩耗部の横方向幅を、爪板部の先端側において横方向に沿う横向き耐摩耗部の縦方向幅よりも大とすることにより、爪板部の縦方向での剛性の増大によって当該爪板部の撓みによる地面蹴り時の力の伝達ロスを抑止することができるとともに、前記横向き耐摩耗部と縦向き耐摩耗部とが連続する角部での厚みが増す分だけ斜め方向の突き上げ外力に対する強度を高めることができる。
本発明による第4の特徴構成は、前記縦向き耐摩耗部の上部における横方向の幅が、当該縦向き耐摩耗部の下部における横方向の幅よりも大に構成されている点にある。
上記構成によれば、前記爪板部の側辺に沿って立ち上がる縦向き耐摩耗部の上部が、下部よりも横方向幅の大きい分だけ爪板部の横方向中央側に張り出し、且つ、耐摩耗性部材と爪板部との接合面積も増大するため、爪板部と耐摩耗性部材との接合強度を高めることができる。
特に、前記第2の特徴構成を備えている場合では、正面視において両縦向き耐摩耗部の上部が爪板部の横方向中央側に張り出すため、耐摩耗性部材の抜け落ち防止機能を高めることができる。
本発明による第5の特徴構成は、前記横向き耐摩耗部の上面と縦向き耐摩耗部の内側面とで形成される入隅部が弧状面に構成されている点にある。
上記構成によれば、前記横向き耐摩耗部と縦向き耐摩耗部とが連続する角部での応力集中を抑止して、耐摩耗性部材の耐衝撃性を向上することができる。
本発明による第6の特徴構成は、前記縦向き耐摩耗部の内側面が、上方ほど爪板部の横方向中央側に位置する傾斜面に構成されている点にある。
上記構成によれば、前記爪板部の側辺に沿って立ち上がる縦向き耐摩耗部の内側面となる傾斜面が、上方ほど爪板部の横方向中央側に張り出す分だけ、耐摩耗性部材の抜け出し抵抗が増加するとともに、耐摩耗性部材と爪板部との接合面積も増大するため、耐摩耗性部材の接合強度を高めることができる。
特に、前記第2の特徴構成を備えている場合では、両縦向き耐摩耗部の内側面となる傾斜面が、正面視において爪板部の横方向中央側に向ってハの字状に張り出すため、耐摩耗性部材の抜け落ち防止機能を高めることができる。
本発明による第7の特徴構成は、前記爪板部と耐摩耗性部材との接合面が、両縦向き耐摩耗部の上面とこれに対応する爪板部の両第1接合面とが当接した状態で、前記両縦向き耐摩耗部の内側面とこれに対応する爪板部の両第2接合面との間、及び、前記横向き耐摩耗部の上面とこれに対応する爪板部の第3接合面との間の少なくとも一部に微小な隙間が形成される寸法関係に構成され、前記爪板部と耐摩耗性部材とがろう付けで接合されている点にある。
上記構成によれば、前記爪板部と耐摩耗性部材とをろう付けで接合する際、両縦向き耐摩耗部の上面とこれに対応する爪板部の両第1接合面との当接によって、爪板部と耐摩耗性部材とを設定接合位置関係に容易に確定することができる。
しかも、この設定接合位置関係が確定された状態では、両縦向き耐摩耗部の内側面とこれに対応する爪板部の両第2接合面との間、及び、横向き耐摩耗部の上面とこれに対応する爪板部の第3接合面との間の少なくとも一部に形成されている微小な隙間によってろうの浸透性が高まり、爪板部と耐摩耗性部材との接合強度を向上することができる。
本願発明の第1実施形態を示す靴用スパイクの一部切欠き斜視図 靴用スパイクの正面図 靴用スパイクの側面図 靴用スパイクの底面図 接合前の要部の分解正面図 図5のVI―VI線断面図 靴用スパイクを取付けた野球用スパイクシューズの底面図 野球用スパイクシューズの要部の模式的断面図 本願発明の第2実施形態を示す靴用スパイクの正面図 本願発明の第3実施形態を示す靴用スパイクの正面図 本願発明の第4実施形態を示す靴用スパイクの正面図
〔第1実施形態〕
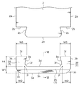
図1〜図8は、靴用スパイクの一例で、野球用スパイクシューズ10の靴底11に取付けられるスパイクSを示す。
このスパイクSには、合成樹脂製の靴底11のスパイク取付け相当箇所において厚肉形成された取付け座11Aに埋設状態で取付けられる取付け基部1と、当該取付け基部1に対して直角又は略直角に折り曲げられて取付け座11Aの靴底表面11aから一部が突出する爪板部2とが備えられているとともに、前記爪板部2の先端側には、これの板厚と同じ厚みに構成され、且つ、当該爪板部よりも大きな硬度を有する耐摩耗性部材3が、溶接手段(溶接法)の一例であるろう付け法により接合されている。
前記スパイクSの取付け基部1及び爪板部2は、炭素工具鋼鋼材(JIS4401)のSK−86(SK5)製で焼入れ硬度がHRC(ロックウェルCスケール硬さ)44〜47の板材を折り曲げ形成して構成されている。
前記耐摩耗性部材3は、超硬合金の一例である炭化タングステン(タングステン・カーバイド)製で、前記取付け基部1及び爪板部2の焼入れ硬度をHRA(ロックウェルAスケール硬さ)に硬度換算した値72.5〜74.1よりも大なる硬度(HRA80〜94)のものを使用している。
当該第1実施形態では、硬度がHRA86の炭化タングステンを使用した。
前記取付け基部1の中央部には、図1、図4に示すように、靴底11のインサート成形時に合成樹脂が入り込む抜け出し防止用の貫通孔4が形成されているとともに、取付け基部1の左右両側部位には、前記爪板部2の横方向両側の側辺2aよりも外方に突出する抜止め用の係止部5が一体形成されている。
また、前記取付け基部1と爪板部2との折り曲げ部位6の横方向中央位置には、図1〜図4に示すように、出隅側から入隅側への打ち出し加工によって補強リブ7が形成されている。
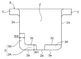
前記耐摩耗性部材3は、図2、図5に示すように、爪板部2の先端における横方向の全域に横方向に沿って配置される横向き耐摩耗部3Aと、当該横向き耐摩耗部3Aの両角部の上面3dから爪板部2の側辺2aに沿って立ち上がる左右の縦向き耐摩耗部3Bとからなり、この横向き耐摩耗部3Aと両縦向き耐摩耗部3Bとが正面視において上向きコの字状に一体形成されている。
そのため、前記爪板部2の先端全域には、横方向に沿う横向き耐摩耗部3Aが存在し、前記爪板部2の両側辺には、横向き耐摩耗部3Aの両角部側の上面3dから爪板部2の各側辺に沿って立ち上がる縦向き耐摩耗部3Bが存在するから、爪板部2の先端での摩耗を抑制することができるとともに、爪板部2の側辺のうち、地面との接触頻度の高い横向き耐摩耗部3Aの横方向端面の上方近傍箇所における摩耗も抑制することができる。
しかも、上向きコの字状に形成された耐摩耗性部材3と爪板部2との接合面積の増大によって接合力が強化されるから、爪板部2の接地時や蹴り出し時等において大きな外力が作用しても、耐摩耗性部材3の脱落を良好に抑制することができる。
また、図2、図5に示すように、前記横向き耐摩耗部3Aの下面3aと両縦向き耐摩耗部3Bの外側面3bとで形成される出隅部3cが、横向き耐摩耗部3Aの縦方向の幅(以下、縦方向幅と記載する)W1よりも若干小なる半径で比較的大きな弧状面に構成されているとともに、前記横向き耐摩耗部3Aの上面3dと両縦向き耐摩耗部3Bの内側面3eとで形成される入隅部3fが、出隅部3cよりも小なる半径の弧状面に構成されている。
そのため、野球の打撃動作、投球動作、ランニング動作、守備動作などの他種多様な動作によって、爪板部2の接地時や蹴り出し時等に大きな外力がスパイクSに作用しても、耐摩耗性部材3の両出隅部3c及び両入隅部3fでの応力集中を抑止して、耐摩耗性部材3の耐衝撃性を向上することができる。
前記横向き耐摩耗部3Aは、図5、図6に示すように、横断面形状が正方形となる角棒状に構成されているとともに、当該横向き耐摩耗部3Aの下面3aと、前記取付け基部1の存在側とは反対側に位置する外表面3gとにわたって、板厚の半分に相当する寸法で45度に面取り加工された喰込み促進用の傾斜面3hが形成されている。
前記傾斜面3hの上側縁は、横方向の全域にわたって水平に構成されている。
尚、前記傾斜面3hの上側縁における横方向両側部を、横向き耐摩耗部3Aの上面3dの延長面と両縦向き耐摩耗部3Bの外側面3bとの交差箇所又はそれよりも若干上方に偏倚した位置を終点として、前記出隅部3cに沿って弧状に形成してもよい。
図2、図5に示すように、前記横向き耐摩耗部3Aの上面3dと各縦向き耐摩耗部3Bの内側面3eとの交差位置Pを基準にして、各縦向き耐摩耗部3Bの下部における交差位置Pから外側面3bまでの横方向の幅(以下、第1横方向幅と記載する)W2が、横向き耐摩耗部3Aの縦方向幅W1よりも少し大に構成されているとともに、縦向き耐摩耗部3Bの上部である上面3iの横方向の幅(以下、第2横方向幅と記載する)W3が、縦向き耐摩耗部3Bの下部における交差位置Pでの前記第1横方向幅W2よりも大に構成されている。
前記各縦向き耐摩耗部3Bの第1横方向幅W2から第2横方向幅W3までは横幅が所定の比率で連続的に増加し、且つ、各縦向き耐摩耗部3Bの外側面3bと爪板部2の両側辺2aとが面一状態で一直線状に形成されているため、各縦向き耐摩耗部3Bの内側面3eが、上方ほど爪板部2の横方向中央側に位置する傾斜面に構成されている。
そして、前記両縦向き耐摩耗部3Bの内側面3eとなる傾斜面が、正面視において爪板部2の横方向中央側に向ってハの字状に張り出すため、耐摩耗性部材3の抜け出し抵抗が増加するとともに、耐摩耗性部材3と爪板部2との接合面積も増大するため、耐摩耗性部材3の接合強度を高めることができる。
図2、図3、図5に示すように、前記耐摩耗性部材3の全高H2は、スパイクSの全高H1の約3割の寸法で、且つ、取付け座11Aの靴底表面11aから突出するスパイクSの突出高さH3の約5割の寸法に構成されているとともに、前記縦向き耐摩耗部3Bの前記交差位置Pを通る水平面(横向き耐摩耗部3Aの上面3dの延長面でもある)から上面3iまでの高さH4は、横向き耐摩耗部3Aの縦方向幅W1の約1.5倍に構成されている。
図2、図5に示すように、前記爪板部2と耐摩耗性部材3との接合面が、両縦向き耐摩耗部3Bの上面3iとこれに対応する爪板部2の両第1接合面2bとが当接した状態で、前記両縦向き耐摩耗部3Bの内側面3eとこれに対応する爪板部2の両第2接合面2cとの間、及び、前記横向き耐摩耗部3Aの上面3dとこれに対応する爪板部2の第3接合面2dとの間にろうの浸透性を高める微小な隙間(当該実施形態では0.05mmの隙間に設定)が形成される寸法関係に構成され、前記爪板部2と耐摩耗性部材3とが銅ろう付けで接合されている。
そのため、前記爪板部2と耐摩耗性部材3とを銅ろう付けで接合する際、両縦向き耐摩耗部3Bの上面3iとこれに当接する爪板部2の両第1接合面2bとが、爪板部2と耐摩耗性部材3とを設定接合位置関係に確定するための組付け基準面となる。
しかも、両縦向き耐摩耗部3Bの上面3iとこれに対応する爪板部2の両第1接合面2bとの当接によって設定接合位置関係が確定された状態では、両縦向き耐摩耗部3Bの内側面3eとこれに対応する爪板部2の両第2接合面2cとの間、及び、横向き耐摩耗部3Aの上面3dとこれに対応する爪板部2の第3接合面2dとの間に形成されている微小な隙間によって銅ろうの浸透性が高まり、爪板部2と耐摩耗性部材3との接合強度を向上することができる。
尚、前記爪板部2と耐摩耗性部材3との接合面を構成するにあたって、両縦向き耐摩耗部3Bの上面3iとこれに対応する爪板部2の両第1接合面2bとが当接した状態で、前記両縦向き耐摩耗部3Bの内側面3eとこれに対応する爪板部2の両第2接合面2cとの間、及び、前記横向き耐摩耗部3Aの上面3dとこれに対応する爪板部2の第3接合面2dとの間の一部に微小な隙間が形成される寸法関係に構成してもよい。
また、両縦向き耐摩耗部3Bの上面3iとこれに対応する爪板部2の両第1接合面2bとを当接させるにあたって、この両縦向き耐摩耗部3Bの上面3iと爪板部2の両第1接合面2bとの全域を当接させてもよいが、両縦向き耐摩耗部3Bの上面3iと爪板部2の両第1接合面2bとの横方向両端部のみを当接させて、当該上面3iと第1接合面2bとの間の横方向中間部にろうの浸透性を高める微小な隙間を形成してもよい。
〔第2実施形態〕
図9は、上述の第1実施形態で説明した耐摩耗性部材3の変形例を示し、爪板部2の先端における横方向の全域に横方向に沿って配置される横向き耐摩耗部3Aと、当該横向き耐摩耗部3Aの両角部の上面3dから爪板部2の側辺2aに沿って立ち上がる左右の縦向き耐摩耗部3Bとのうち、前記各縦向き耐摩耗部3Bの上端部には、正面視において爪板部2の横方向中央側に向って突出する内向き突起部3Cが一体形成されている。
また、前記両縦向き耐摩耗部3Bの横方向の幅W4は、その縦方向の全域にわたって同一に構成されているとともに、この両縦向き耐摩耗部3Bの横方向幅W4と横向き耐摩耗部3Aの縦方向幅W1及び両内向き突起部3Cの縦方向の幅W5とが同一又は略同一に構成されている。
さらに、前記両縦向き耐摩耗部3Bの外側面3bと、両内向き突起部3Cの上面3jと面一にある両縦向き耐摩耗部3Bの上面3iとで形成される出隅部は直角に構成され、両縦向き耐摩耗部3Bの内側面3eと両内向き突起部3Cの下面3kとで形成される入隅部も直角に構成されている。
尚、その他の構成は、上述の第1実施形態で説明した構成と同一であるから、同一の構成箇所には、第1実施形態と同一の番号を付記してそれの説明は省略する。
また、この第2実施形態において、前記両縦向き耐摩耗部3Bの横方向幅W4を横向き耐摩耗部3Aの縦方向幅W1よりも大又は小に構成してもよい。
さらに、この第2実施形態において、前記両内向き突起部3Cの縦方向幅W5を横向き耐摩耗部3Aの縦方向幅W1よりも大又は小に構成してもよい。
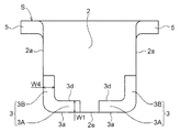
〔第3実施形態〕
図10は、上述の第1実施形態で説明した耐摩耗性部材3の変形例を示し、爪板部2の先端のうち、横方向の中央部を除く角部側に横方向に沿って配置される左右の横向き耐摩耗部3Aと、両横向き耐摩耗部3Aの横方向外側端部である角部の上面から爪板部2の側辺に沿って立ち上がる左右の縦向き耐摩耗部3Bとからなり、横方向両側で対をなす横向き耐摩耗部3Aと縦向き耐摩耗部3Bとが正面視においてLの字状に一体形成されている。
そのため、前記両横向き耐摩耗部3Aの隣接間において、前記爪板部2の中央先端2eが両横向き耐摩耗部3Aの下面3aと面一状態で現れる。
また、前記両縦向き耐摩耗部3Bの横方向の幅W4は、その縦方向の全域にわたって同一に構成されているとともに、この両縦向き耐摩耗部3Bの横方向幅W4と横向き耐摩耗部3Aの縦方向幅W1とが同一又は略同一に構成されている。
尚、その他の構成は、第1実施形態で説明した構成と同一であるから、同一の構成箇所には、第1実施形態と同一の番号を付記してそれの説明は省略する。
また、この第3実施形態において、前記両縦向き耐摩耗部3Bの横方向幅W4を横向き耐摩耗部3Aの縦方向幅W1よりも大又は小に構成してもよい。
〔第4実施形態〕
上述の第3実施形態では、爪板部2の先端の角部側に横方向に沿って配置される左右の横向き耐摩耗部3Aと、両横向き耐摩耗部3Aの角部の上面3dから爪板部2の側辺2aに沿って立ち上がる左右の縦向き耐摩耗部3Bとを夫々Lの字状に一体形成したが、左右の側辺での摩耗が異なる場合には、図11に示すように、摩耗の少ない一方の側辺側を、横向き耐摩耗部3Aの単独から構成し、摩耗の多い他方の側辺側を、横向き耐摩耗部3Aと縦向き耐摩耗部3Bとから構成してもよい。
尚、その他の構成は、第1実施形態で説明した構成と同一であるから、同一の構成箇所には、第1実施形態と同一の番号を付記してそれの説明は省略する。
〔その他の実施形態〕
(1)上述の第1実施形態では、インサート成形によってスパイクSの取付け基部1を靴底11のスパイク取付け相当箇所に埋設状態で固定したが、この取付け方法に限定されるものではなく、例えば、スパイクSの取付け基部1を釘やボルト等で靴底に固定してもよい。
要するに、前記取付け基部1としては靴底11に取付けることのできるものであれば、如何なる形状に構成してもよい。
(2)上述の第1実施形態では、前記耐摩耗性部材3を、超硬合金の一例である炭化タングステンから構成したが、周期律表IVa,Va,VIa族金属の炭化物をFe,Co,Niなどの鉄系金属で焼結した超硬合金の複合素材から適宜選択して実施してもよい。
また、前記スパイクSの取付け基部1及び爪板部2を、上述の第1実施形態では炭素工具鋼鋼材から構成したが、それ例外の炭素鋼を使用してもよい。
要するに、前記スパイクSの取付け基部1及び爪板部2としては、スパイクSの使用条件に適した金属材料又は非金属材料の中から適宜選択するとよく、さらに、前記耐摩耗性部材3としては、爪板部2よりも硬度の大きな耐摩耗性に優れた金属材料又は非金属材料の中から適宜選定するとよい。
(3)上述の第1実施形態では、前記爪板部2と耐摩耗性部材3とを銅ろう付けで接合したが、この爪板部2及び耐摩耗性部材3の材質によっては金ろう、パラジウムろう、銀ろう等を用いて接合してもよい。
(4)上述の第1実施形態では、前記爪板部2と耐摩耗性部材3とをろう付け法で接合したが、この爪板部2と耐摩耗性部材3とをティグ溶接(TIG溶接)法、ミグ溶接(MIG溶接)法、電子ビーム溶接法、レーザビーム溶接法、抵抗溶接法、摩擦圧接法、拡散接合法の中から適切な接合法を選択して接合してもよい。
(5)上述の各実施形態において、前記爪板部2と耐摩耗性部材3との接合面を構成するにあたって、接合面長手方向の少なくとも二箇所において当接する位置決め当接部と、位置決め当接部以外の部位においてろうの浸透性を高める微小な隙間とが形成される寸法関係に構成して、前記爪板部2と耐摩耗性部材3とをろう付けで接合してもよい。
本願発明は、爪板部の側辺での摩耗進行に起因する折損や耐摩耗性部材の脱落を抑制して、長期にわたって確実・良好なスパイク機能を発揮させることのできる靴用スパイクとして良好に利用することができる。
W1 縦方向幅
W2 横方向幅
W3 横方向幅
1 取付け基部
2 爪板部
2b 第1接合部
2c 第2接合部
2d 第3接合部
3 耐摩耗性部材
3A 横向き耐摩耗部
3B 縦向き耐摩耗部
3d 上面
3e 内側面
3f 入隅部
3j 上面
11 靴底

Claims (7)

  1. 靴底に取付け可能な取付け基部に連設された爪板部の先端側に、当該爪板部よりも硬度の大きな耐摩耗性部材が接合されている靴用スパイクであって、
    前記耐摩耗性部材が、少なくとも爪板部の先端の角部側において横方向に沿う横向き耐摩耗部と、当該横向き耐摩耗部の角部側の上面から爪板部の側辺に沿って立ち上がる縦向き耐摩耗部とから構成されている靴用スパイク。
  2. 前記横向き耐摩耗部が爪板部の先端における横方向の全域に形成され、前記縦向き耐摩耗部が、横向き耐摩耗部の両角部側の上面に夫々連設され、前記横向き耐摩耗部と両縦向き耐摩耗部とが正面視において上向きコの字状に形成されている請求項1記載の靴用スパイク。
  3. 前記縦向き耐摩耗部の横方向の幅が、前記横向き耐摩耗部の縦方向の幅よりも大に構成されている請求項1又は2記載の靴用スパイク。
  4. 前記縦向き耐摩耗部の上部における横方向の幅が、当該縦向き耐摩耗部の下部における横方向の幅よりも大に構成されている請求項1〜3のいずれか1項に記載の靴用スパイク。
  5. 前記横向き耐摩耗部の上面と縦向き耐摩耗部の内側面とで形成される入隅部が弧状面に構成されている請求項1〜4のいずれか1項に記載の靴用スパイク。
  6. 前記縦向き耐摩耗部の内側面が、上方ほど爪板部の横方向中央側に位置する傾斜面に構成されている請求項1〜5のいずれか1項に記載の靴用スパイク。
  7. 前記爪板部と耐摩耗性部材との接合面が、両縦向き耐摩耗部の上面とこれに対応する爪板部の両第1接合面とが当接した状態で、前記両縦向き耐摩耗部の内側面とこれに対応する爪板部の両第2接合面との間、及び、前記横向き耐摩耗部の上面とこれに対応する爪板部の第3接合面との間の少なくとも一部に微小な隙間が形成される寸法関係に構成され、前記爪板部と耐摩耗性部材とがろう付けで接合されている請求項2記載の靴用スパイク。
JP2011094310A 2011-04-20 2011-04-20 靴用スパイク Expired - Fee Related JP5385938B2 (ja)

Priority Applications (1)

Application Number Priority Date Filing Date Title
JP2011094310A JP5385938B2 (ja) 2011-04-20 2011-04-20 靴用スパイク

Applications Claiming Priority (1)

Application Number Priority Date Filing Date Title
JP2011094310A JP5385938B2 (ja) 2011-04-20 2011-04-20 靴用スパイク

Publications (2)

Publication Number Publication Date
JP2012223402A true JP2012223402A (ja) 2012-11-15
JP5385938B2 JP5385938B2 (ja) 2014-01-08

Family

ID=47274281

Family Applications (1)

Application Number Title Priority Date Filing Date
JP2011094310A Expired - Fee Related JP5385938B2 (ja) 2011-04-20 2011-04-20 靴用スパイク

Country Status (1)

Country Link
JP (1) JP5385938B2 (ja)

Citations (5)

* Cited by examiner, † Cited by third party
Publication number Priority date Publication date Assignee Title
JPS57175607U (ja) * 1981-04-28 1982-11-06
JPS59150310U (ja) * 1983-03-08 1984-10-08 京セラ株式会社 運動靴用スパイク
JPH0537106U (ja) * 1991-10-30 1993-05-21 サンアロイ工業株式会社 超硬質合金積層被膜を有するスパイクチツプ
JP2007312856A (ja) * 2006-05-23 2007-12-06 Asics Corp スタッド、及びスパイクシューズ
JP2012034739A (ja) * 2010-08-04 2012-02-23 Kaji Tech Co Ltd スパイク及びこのスパイクを備えた野球用のスパイクシューズ

Patent Citations (5)

* Cited by examiner, † Cited by third party
Publication number Priority date Publication date Assignee Title
JPS57175607U (ja) * 1981-04-28 1982-11-06
JPS59150310U (ja) * 1983-03-08 1984-10-08 京セラ株式会社 運動靴用スパイク
JPH0537106U (ja) * 1991-10-30 1993-05-21 サンアロイ工業株式会社 超硬質合金積層被膜を有するスパイクチツプ
JP2007312856A (ja) * 2006-05-23 2007-12-06 Asics Corp スタッド、及びスパイクシューズ
JP2012034739A (ja) * 2010-08-04 2012-02-23 Kaji Tech Co Ltd スパイク及びこのスパイクを備えた野球用のスパイクシューズ

Also Published As

Publication number Publication date
JP5385938B2 (ja) 2014-01-08

Similar Documents

Publication Publication Date Title
US20060217216A1 (en) Fairway wood with titanium face member
US20100275473A1 (en) Wear resistant components
US20020195280A1 (en) Roof bit body and insert assembly
JP2010005281A (ja) アイアン型ゴルフクラブヘッド
KR102694620B1 (ko) 골프 클럽 헤드
JP2002143356A (ja) アイアンゴルフクラブヘッドおよびアイアンゴルフクラブセット
US10100498B2 (en) Lip and shroud assembly
JP2008272241A (ja) アイアンゴルフクラブ
JP6123468B2 (ja) アイアン型ゴルフクラブヘッド
JP4002514B2 (ja) タンピングタイン
EP4101611A1 (en) Saw blade
JP5836211B2 (ja) アイアンゴルフクラブ及びアイアンゴルフクラブセット
JP5385938B2 (ja) 靴用スパイク
JP6740648B2 (ja) ゴルフクラブヘッド
JP2003047678A (ja) ゴルフクラブヘッド
JP5810617B2 (ja) アイアンヘッド
JP2007009631A (ja) バケット
JP2008161308A (ja) アイアンゴルフクラブヘッド
JP4049436B2 (ja) 剛性補強アイアンゴルフヘッド
TWI789310B (zh) 高爾夫球桿頭
JP6759637B2 (ja) ゴルフクラブヘッド
JP2020049186A (ja) アイアン型ゴルフクラブヘッド及びアイアン型ゴルフクラブセット
CN222745156U (zh) 一种双金属复合绞刀齿
JP2001309999A (ja) ゴルフクラブヘッド
JP2019092847A (ja) シューズ用スパイク金具

Legal Events

Date Code Title Description
A131 Notification of reasons for refusal

Free format text: JAPANESE INTERMEDIATE CODE: A131

Effective date: 20130307

A521 Written amendment

Free format text: JAPANESE INTERMEDIATE CODE: A523

Effective date: 20130507

A131 Notification of reasons for refusal

Free format text: JAPANESE INTERMEDIATE CODE: A131

Effective date: 20130606

A521 Written amendment

Free format text: JAPANESE INTERMEDIATE CODE: A523

Effective date: 20130805

TRDD Decision of grant or rejection written
A01 Written decision to grant a patent or to grant a registration (utility model)

Free format text: JAPANESE INTERMEDIATE CODE: A01

Effective date: 20130905

A61 First payment of annual fees (during grant procedure)

Free format text: JAPANESE INTERMEDIATE CODE: A61

Effective date: 20131004

R150 Certificate of patent or registration of utility model

Free format text: JAPANESE INTERMEDIATE CODE: R150

R250 Receipt of annual fees

Free format text: JAPANESE INTERMEDIATE CODE: R250

LAPS Cancellation because of no payment of annual fees