JP2012219782A - 内燃機関の制御装置 - Google Patents
内燃機関の制御装置 Download PDFInfo
- Publication number
- JP2012219782A JP2012219782A JP2011089500A JP2011089500A JP2012219782A JP 2012219782 A JP2012219782 A JP 2012219782A JP 2011089500 A JP2011089500 A JP 2011089500A JP 2011089500 A JP2011089500 A JP 2011089500A JP 2012219782 A JP2012219782 A JP 2012219782A
- Authority
- JP
- Japan
- Prior art keywords
- intake
- internal combustion
- combustion engine
- stopped
- valve
- Prior art date
- Legal status (The legal status is an assumption and is not a legal conclusion. Google has not performed a legal analysis and makes no representation as to the accuracy of the status listed.)
- Withdrawn
Links
Images
Landscapes
- Exhaust-Gas Circulating Devices (AREA)
- Output Control And Ontrol Of Special Type Engine (AREA)
- Electrical Control Of Air Or Fuel Supplied To Internal-Combustion Engine (AREA)
- Combined Controls Of Internal Combustion Engines (AREA)
Abstract
【課題】スワール流の発生と吸気ポートの燃料付着抑制とを高い次元で両立することができる内燃機関の制御装置を提供する。
【解決手段】下流インジェクタ30の燃料噴射を停止しつつ、上流インジェクタ32に同期噴射による燃料噴射を行わせる。燃料噴射は、吸気ポート18bの吸気弁12は休止させられた状態で実行される。このようにすることで、リフト量に差異を設けたスワール流発生時には、上流インジェクタ32によって燃料供給が行われることになる。吸気ポート18bの吸気弁12が完全に休止させられることで(ゼロリフトとなることで)、燃焼室内のスワールを強力なものとすることができる。弁休止した吸気ポート18bに付着、滞留する燃料の量を低減することもできる。
【選択図】図2
【解決手段】下流インジェクタ30の燃料噴射を停止しつつ、上流インジェクタ32に同期噴射による燃料噴射を行わせる。燃料噴射は、吸気ポート18bの吸気弁12は休止させられた状態で実行される。このようにすることで、リフト量に差異を設けたスワール流発生時には、上流インジェクタ32によって燃料供給が行われることになる。吸気ポート18bの吸気弁12が完全に休止させられることで(ゼロリフトとなることで)、燃焼室内のスワールを強力なものとすることができる。弁休止した吸気ポート18bに付着、滞留する燃料の量を低減することもできる。
【選択図】図2
Description
この発明は、内燃機関の制御装置に関する。
従来、例えば、特開平11−287139号公報に開示されているように、複数の吸気弁の間でリフト量に差をつけることにより、燃焼室内にスワールを発生させる内燃機関が知られている。上記従来の公報にかかる内燃機関は、リフト量を小さくするほうの吸気弁を完全に休止(ゼロリフト)することまではせずに、微小なリフトを与えるようにしている。具体的には、休止カムがベース円から僅かに突出するカム山を有しており、休止カムでバルブを実質的に休弁状態にしながら微小リフトを与えることにより、吸気ポートに燃料が付着しないようにしている。このような微小リフトの確保によって、吸気管に設けられた燃料噴射弁(インジェクタ)が噴射した燃料が吸気ポート内に付着したままになることを抑制している。
上記従来の技術にかかる内燃機関によれば、スワール流の発生を行いつつ、吸気ポートの燃料付着抑制も図ることができる。この従来の技術において、上記微小リフトは、吸気ポートへの燃料付着を抑制するという役割を担うものである。この微小リフトにより、その微小リフトにかかる吸気弁のリフト量を他の通常リフトの吸気弁より相対的に小さくしてスワール流を発生させる作用と、微小リフトを残すことで吸気ポートの燃料付着を抑制するという作用とを同時に実現することができる。
しかしながら、上記従来の技術のようにリフト量を小さくするほうの吸気弁に微小リフトを与えることは、その微小リフト駆動の吸気弁側から空気流が通過することを前提とする。このような微小リフトに応じた空気流の通過の分だけ、吸気弁リフト量の差異により発生させようとするスワールの強度が、低下してしまう。つまり、上記従来の技術では、微小リフトが吸気ポート燃料付着抑制を実現する一方で、その微小リフトがスワール流を弱めるという背反的な作用をもたらしてしまう。よって、上記従来の技術では、より強いスワールを得つつ、吸気ポートの燃料付着も抑制したいという高次の要求に応えることができない。
この発明は、上記のような課題を解決するためになされたもので、スワール流の発生と吸気ポートの燃料付着抑制とを高い次元で両立することができる内燃機関の制御装置を提供することを目的とする。
第1の発明は、上記の目的を達成するため、内燃機関の制御装置であって、
複数の吸気弁、前記複数の吸気弁の一部を休止可能な弁休止機構、吸気管の上流に配置された上流インジェクタ、および前記吸気管の下流に配置された下流インジェクタを有する内燃機関の制御装置であって、
前記弁休止機構により一部の吸気弁を休止させるときに、前記下流インジェクタの燃料噴射を停止し、休止されていない吸気弁が開いている期間に前記上流インジェクタでの燃料噴射を行うことを特徴とする。
複数の吸気弁、前記複数の吸気弁の一部を休止可能な弁休止機構、吸気管の上流に配置された上流インジェクタ、および前記吸気管の下流に配置された下流インジェクタを有する内燃機関の制御装置であって、
前記弁休止機構により一部の吸気弁を休止させるときに、前記下流インジェクタの燃料噴射を停止し、休止されていない吸気弁が開いている期間に前記上流インジェクタでの燃料噴射を行うことを特徴とする。
また、第2の発明は、第1の発明において、
前記弁休止機構により一部の吸気弁を休止させるときに、前記上流インジェクタが、前記弁休止機構による休止の際に休止の対象とならない吸気弁の吸気ポート側へと噴射方向を変化させることを特徴とする。
前記弁休止機構により一部の吸気弁を休止させるときに、前記上流インジェクタが、前記弁休止機構による休止の際に休止の対象とならない吸気弁の吸気ポート側へと噴射方向を変化させることを特徴とする。
また、第3の発明は、第1または第2の発明において、
前記内燃機関がEGR装置を備えており、
前記弁休止機構により一部の吸気弁を休止させる場合において、前記下流インジェクタの燃料噴射を停止しかつ休止されていない吸気弁が開いている期間に前記上流インジェクタでの燃料噴射を行うときに、前記EGR装置によるEGRを実施することを特徴とする。
前記内燃機関がEGR装置を備えており、
前記弁休止機構により一部の吸気弁を休止させる場合において、前記下流インジェクタの燃料噴射を停止しかつ休止されていない吸気弁が開いている期間に前記上流インジェクタでの燃料噴射を行うときに、前記EGR装置によるEGRを実施することを特徴とする。
また、第4の発明は、第1乃至第3の発明の何れか1つにおいて、
前記弁休止機構により一部の吸気弁を休止させる場合において、前記下流インジェクタの燃料噴射を停止しかつ休止されていない吸気弁が開いている期間に前記上流インジェクタでの燃料噴射を行うときに、リーンバーン運転を実施することを特徴とする。
前記弁休止機構により一部の吸気弁を休止させる場合において、前記下流インジェクタの燃料噴射を停止しかつ休止されていない吸気弁が開いている期間に前記上流インジェクタでの燃料噴射を行うときに、リーンバーン運転を実施することを特徴とする。
第1の発明によれば、一部の吸気弁を休止させることによってスワール流を生じさせる際に、下流インジェクタの燃料噴射を停止し、休止されていない吸気弁が開いている期間に上流インジェクタによって燃料を噴射することができる。これにより、強いスワール流を発生させつつ、空気流により燃料の流れが指向されることにより吸気ポートの燃料付着も抑制することができる。
第2の発明によれば、燃料付着をさらに抑制することができる。
第3の発明によれば、スワール流強化による燃焼促進等の利点を利用して、大量EGRの実施が可能となる。
第4の発明によれば、スワール流強化による燃焼促進等の利点を利用して、リーンバーン運転を実施することができる。
実施の形態.
[実施の形態にかかる内燃機関の制御装置の構成]
図1は、本発明の実施の形態にかかる内燃機関の制御装置の構成を、これが適用される内燃機関のシステム構成の一部とともに示す図である。この内燃機関は、吸気管の上流と下流に2本のインジェクタを並べて配置し、両方のインジェクタを作動させて燃料噴射を行うことができるようにした内燃機関である。
本実施の形態の制御装置が適用される内燃機関は自動車用の内燃機関であり、より具体的には、予混合燃焼式の4ストローク1サイクルレシプロエンジンである。本実施の形態の制御装置は、そのような内燃機関の運転を総合制御するECU(Electronic Control Unit)の一つの機能として実現される。
[実施の形態にかかる内燃機関の制御装置の構成]
図1は、本発明の実施の形態にかかる内燃機関の制御装置の構成を、これが適用される内燃機関のシステム構成の一部とともに示す図である。この内燃機関は、吸気管の上流と下流に2本のインジェクタを並べて配置し、両方のインジェクタを作動させて燃料噴射を行うことができるようにした内燃機関である。
本実施の形態の制御装置が適用される内燃機関は自動車用の内燃機関であり、より具体的には、予混合燃焼式の4ストローク1サイクルレシプロエンジンである。本実施の形態の制御装置は、そのような内燃機関の運転を総合制御するECU(Electronic Control Unit)の一つの機能として実現される。
図1は、吸気弁12が開き排気弁14が閉じている状態、すなわち、吸気行程にあるときの内燃機関の様子を表している。図1には、燃焼室10およびこれを開閉する吸気弁12および排気弁14が示されている。燃焼室10の中央には、気筒内の混合気に着火するための点火プラグ15が配置されている。図1に示す内燃機関では、後述する図2でも述べるように、吸気管20の先端が2つの吸気ポート18a、18bに分岐しており、各吸気ポートが燃焼室10に接続されている。
2つの吸気ポート18a、19bには、それぞれ1つずつ吸気弁12が設けられている。吸気管20における吸気ポートの分岐部よりも上流には、燃料噴射弁である2つのインジェクタ30、32が吸気管20の流れの方向に並んで配置されている。以下、便宜上、インジェクタ30を「下流インジェクタ30」とも称し、インジェクタ32を「上流インジェクタ32」とも称す。
2つの吸気ポート18a、19bには、それぞれ1つずつ吸気弁12が設けられている。吸気管20における吸気ポートの分岐部よりも上流には、燃料噴射弁である2つのインジェクタ30、32が吸気管20の流れの方向に並んで配置されている。以下、便宜上、インジェクタ30を「下流インジェクタ30」とも称し、インジェクタ32を「上流インジェクタ32」とも称す。
図1に示す内燃機関は、吸気弁12を駆動するための動弁装置を備えており、この動弁装置は複数の吸気弁12のうち少なくとも1つの弁休止が可能な動弁装置である。本実施形態では図2の吸気ポート18bにおける吸気弁12を休止することができるいわゆる片弁休止が可能な動弁装置であるものとする。弁休止可能な動弁装置の具体的構成については各種公知技術を用いればよく、例えばゼロリフトカムへの切り替えにより休止を行う動弁装置でも良い。また、吸気ポート18aと吸気ポート18bのそれぞれの吸気弁12を選択的に休止できるものであってもよい。
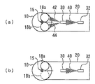
図2は、本制御装置が適用される内燃機関の吸気ポート周辺の構成を示す図である。便宜上、図1とは左右方向が逆になっているが、図1の構成を図1紙面上方から見下ろした図に相当している。各吸気ポート18a、18bには、吸気弁12がそれぞれ設けられている。前述したように、図1の内燃機関では、吸気管20の先端が2つの吸気ポートに分岐し、各吸気ポートが燃焼室10に接続されている。
下流インジェクタ30および上流インジェクタ32が、吸気管20の流れの方向に並んで配置されている。上流側のインジェクタ32と下流側のインジェクタ30との間には、構造において違いがある。図2(a)を参照して説明すると、上流インジェクタ32は一方向に広角に噴射することができるインジェクタであって、その燃料噴射によって広角に広がる単一の噴霧40を形成することができる。一方、下流インジェクタ30は、その噴射方向が2方向であり、その燃料噴射によって各吸気ポートに向かう2つの噴霧42、44を形成することができる。
[実施の形態にかかる内燃機関の制御装置の動作]
(両方のインジェクタを用いた燃料噴射時)
図1に示す内燃機関においては、弁休止を行わずに運転が行われている所定運転条件において、図2(a)に示すように両方のインジェクタを作動させて燃料噴射を行う。本実施形態において、各インジェクタ30、32の動作は、エンジン回転数とトルク(或いは負荷率)とによって定まる内燃機関の運転領域に関連付けて設定されている。なお、インジェクタ30、32の動作にかかる内燃機関の運転領域の分割態様は、複数の領域、例えば2つの領域(例えば、所定トルクを境にして低トルク領域と中・高トルク領域)に分ける等の種々の態様をとりうる。図示しないECUは、領域ごとに設定されたモードに従って各インジェクタ30、32の動作を制御する。
各運転領域ごとに設定するモードは、その目的に応じて種々の態様をとりうる。例えば、中・高トルク領域を要求噴射量が各インジェクタ30、32の下限噴射量の和以上の領域として定め、内燃機関が中・高トルク領域で運転されている場合にこの要求噴射量を所定割合で分担させて2つのインジェクタ30、32の両方を作動(つまり燃料噴射)させることができる。
(両方のインジェクタを用いた燃料噴射時)
図1に示す内燃機関においては、弁休止を行わずに運転が行われている所定運転条件において、図2(a)に示すように両方のインジェクタを作動させて燃料噴射を行う。本実施形態において、各インジェクタ30、32の動作は、エンジン回転数とトルク(或いは負荷率)とによって定まる内燃機関の運転領域に関連付けて設定されている。なお、インジェクタ30、32の動作にかかる内燃機関の運転領域の分割態様は、複数の領域、例えば2つの領域(例えば、所定トルクを境にして低トルク領域と中・高トルク領域)に分ける等の種々の態様をとりうる。図示しないECUは、領域ごとに設定されたモードに従って各インジェクタ30、32の動作を制御する。
各運転領域ごとに設定するモードは、その目的に応じて種々の態様をとりうる。例えば、中・高トルク領域を要求噴射量が各インジェクタ30、32の下限噴射量の和以上の領域として定め、内燃機関が中・高トルク領域で運転されている場合にこの要求噴射量を所定割合で分担させて2つのインジェクタ30、32の両方を作動(つまり燃料噴射)させることができる。
このとき、各インジェクタ30、32により噴射する燃料の割合は、必要に応じて、均等に設定したり、均等でない割合に設定したりしてもよい。なお、燃料噴射量を均等でない割合に設定する場合には、デポジット抑制の観点から、下流インジェクタ30により噴射する燃料の割合を上流インジェクタ32により噴射する燃料の割合よりも大きくすることが好ましい。このように各インジェクタ30、32の噴射割合を決めることにより、熱的に厳しい位置にある下流インジェクタ30において、燃料による冷却効果を大きくすることができる。また、下流インジェクタ30だけでなく上流インジェクタ32からも燃料を噴射することにより、上流インジェクタ32自身を燃料により冷却するのと同時に、その噴射燃料が気化する際の気化潜熱によって、下流インジェクタ30をさらに冷却することが可能となる。
なお、両インジェクタ30、32が共に作動する場合、噴射する燃料の割合を大きくするほうのインジェクタについては、その燃料噴射期間が相対的に長く設定される。例えば、燃料噴射終了時期を2つのインジェクタ30、32の間で同一として、燃料噴射開始時期を異ならせることによって各インジェクタ30、32の燃料噴射期間を調整してもよい。なお、燃料噴射開始時期を同一として燃料噴射終了時期を異ならせることで、燃料噴射期間を調整してもよい。
(片弁停止時)
本実施形態にかかる内燃機関の制御装置は、スワール流を発生させるべき所定運転条件時(具体的には、パーシャル運転領域)においては、スワール流による筒内ガス乱れ促進のため、片弁停止を行う。図2(b)は、片弁停止の実施中の様子を模式的に示しており、図2(b)における破線は吸気ポート18bの吸気弁12が休止させられた状態、つまり吸気ポート18bが閉じられている状態を模式的に示している。
図3は、本実施形態における片弁休止時のインジェクタの燃料噴射期間を示すタイミングチャートである。このタイミングチャートには、吸気弁12が開いている期間が各インジェクタ30、32の燃料噴射期間と併せて示されている。図3に示すように、本実施形態では、片弁休止時のインジェクタの制御モードにおいて、上流インジェクタ32には噴射期間が設定される一方で、下流インジェクタ30は噴射期間が無いつまり燃料噴射が停止されている。
ここで、一般に、吸気弁が開いている期間に行われる燃料噴射は「同期噴射」と呼ばれ、吸気弁が閉じている期間に行われる燃料噴射は「非同期噴射」と呼ばれている。本実施形態にかかる内燃機関の制御装置は、図3に示すように、下流インジェクタ30の燃料噴射を停止しつつ、上流インジェクタ32に同期噴射による燃料噴射を行わせるものである。図3に示す燃料噴射は、図2(b)のように吸気ポート18bの吸気弁12は休止させられた状態で実行される。
このようにすることで、リフト量に差異を設けたスワール流発生時には、上流インジェクタ32によって燃料供給が行われることになる。吸気ポート18bの吸気弁12が完全に休止させられることで(ゼロリフトとなることで)、燃焼室内のスワールを強力なものとすることができる。その一方で、上流インジェクタ32は吸気通路(吸気管20)の比較的上流に位置するため、燃料が空気流に指向され、吸気弁12がリフトしている吸気ポート18a側へと、噴射された燃料(噴霧40)が向かうようになる。従って、一部の吸気弁12を休止したとしても、弁休止した吸気ポート18bに付着、滞留する燃料の量を低減することができる。
本実施形態にかかる内燃機関の制御装置は、スワール流を発生させるべき所定運転条件時(具体的には、パーシャル運転領域)においては、スワール流による筒内ガス乱れ促進のため、片弁停止を行う。図2(b)は、片弁停止の実施中の様子を模式的に示しており、図2(b)における破線は吸気ポート18bの吸気弁12が休止させられた状態、つまり吸気ポート18bが閉じられている状態を模式的に示している。
図3は、本実施形態における片弁休止時のインジェクタの燃料噴射期間を示すタイミングチャートである。このタイミングチャートには、吸気弁12が開いている期間が各インジェクタ30、32の燃料噴射期間と併せて示されている。図3に示すように、本実施形態では、片弁休止時のインジェクタの制御モードにおいて、上流インジェクタ32には噴射期間が設定される一方で、下流インジェクタ30は噴射期間が無いつまり燃料噴射が停止されている。
ここで、一般に、吸気弁が開いている期間に行われる燃料噴射は「同期噴射」と呼ばれ、吸気弁が閉じている期間に行われる燃料噴射は「非同期噴射」と呼ばれている。本実施形態にかかる内燃機関の制御装置は、図3に示すように、下流インジェクタ30の燃料噴射を停止しつつ、上流インジェクタ32に同期噴射による燃料噴射を行わせるものである。図3に示す燃料噴射は、図2(b)のように吸気ポート18bの吸気弁12は休止させられた状態で実行される。
このようにすることで、リフト量に差異を設けたスワール流発生時には、上流インジェクタ32によって燃料供給が行われることになる。吸気ポート18bの吸気弁12が完全に休止させられることで(ゼロリフトとなることで)、燃焼室内のスワールを強力なものとすることができる。その一方で、上流インジェクタ32は吸気通路(吸気管20)の比較的上流に位置するため、燃料が空気流に指向され、吸気弁12がリフトしている吸気ポート18a側へと、噴射された燃料(噴霧40)が向かうようになる。従って、一部の吸気弁12を休止したとしても、弁休止した吸気ポート18bに付着、滞留する燃料の量を低減することができる。
本実施形態によれば、上述した片弁停止によるスワール流強化により、燃焼の促進、未燃(成分)の減少を達成することが可能である。また、本実施形態では吸気同期噴射を行っているので、吸入ガス気流に噴霧が乗り、ガス流れに沿って、開弁している吸気弁12側(つまり吸気ポート18a側)のみへと噴霧が到達するような状態を作り出すことができる。これにより、燃費改善、HC悪化を抑制することができる。
従来技術(特開平11−287139号公報)で述べた微小リフトを行った場合には、微小リフト側の燃料付着が大きくなり、未燃炭化水素(THC)やスモーク、PM(粒子状物質)の発生量が増加するとともに、燃費悪化、ドライバビリティ悪化を招くおそれがある。その理由としては、微小リフトで流速が低いため、付着した燃料の蒸発、および気流によるポート壁面からの剥がれが促進されないということ、また、微小リフト側から筒内へ導入された燃料液滴(噴霧)の粒径が大きいということがあり、これらの原因からTHC、スモーク、PMの増加が起きてしまう。また、粗大な粒子(燃料)の導入は、サイクル毎に一定ではないため、ドライバビリティの悪化を招いてしまう。
また、従来技術で述べた微小リフトでは、スワール流による筒内ガス乱れの強化の程度が、弱い。スワール流を強化する観点からは片弁停止が好ましいが、上記従来の技術(特開平11−287139号公報)では、微小リフトを行うことで吸気弁上への燃料溜りを抑制しているため、片弁停止は諦めざるを得ない。その結果、当該従来技術では、微小リフトでスワール流が弱まることを受け入れざるを得ず、さらには、微小リフトによる燃焼耐性の悪化も受け入れざるをえない。従って、当該従来技術では、より強いスワールを得つつ吸気ポートの燃料付着も抑制したいという高次の要求には、応えることができない。
この点、本実施形態にかかる内燃機関の制御装置によれば、微小リフトに頼る当該従来技術とは異なる技術を採用することによって、スワール流の発生と吸気ポートの燃料付着抑制とを高い次元で両立することができる
従来技術(特開平11−287139号公報)で述べた微小リフトを行った場合には、微小リフト側の燃料付着が大きくなり、未燃炭化水素(THC)やスモーク、PM(粒子状物質)の発生量が増加するとともに、燃費悪化、ドライバビリティ悪化を招くおそれがある。その理由としては、微小リフトで流速が低いため、付着した燃料の蒸発、および気流によるポート壁面からの剥がれが促進されないということ、また、微小リフト側から筒内へ導入された燃料液滴(噴霧)の粒径が大きいということがあり、これらの原因からTHC、スモーク、PMの増加が起きてしまう。また、粗大な粒子(燃料)の導入は、サイクル毎に一定ではないため、ドライバビリティの悪化を招いてしまう。
また、従来技術で述べた微小リフトでは、スワール流による筒内ガス乱れの強化の程度が、弱い。スワール流を強化する観点からは片弁停止が好ましいが、上記従来の技術(特開平11−287139号公報)では、微小リフトを行うことで吸気弁上への燃料溜りを抑制しているため、片弁停止は諦めざるを得ない。その結果、当該従来技術では、微小リフトでスワール流が弱まることを受け入れざるを得ず、さらには、微小リフトによる燃焼耐性の悪化も受け入れざるをえない。従って、当該従来技術では、より強いスワールを得つつ吸気ポートの燃料付着も抑制したいという高次の要求には、応えることができない。
この点、本実施形態にかかる内燃機関の制御装置によれば、微小リフトに頼る当該従来技術とは異なる技術を採用することによって、スワール流の発生と吸気ポートの燃料付着抑制とを高い次元で両立することができる
なお、本実施形態にかかる内燃機関にEGR(Exhaust Gas Recirculation)装置を設けてもよい。このEGR装置を利用して、上述したスワール流強化による燃焼促進等の利点を利用して、大量EGRを行っても良い。
また、本実施形態にかかる内燃機関において、強いスワール流を発生可能な点を利用して、リーンバーン運転(希薄空燃比運転)を行っても良い。
また、本実施形態にかかる内燃機関において、強いスワール流を発生可能な点を利用して、リーンバーン運転(希薄空燃比運転)を行っても良い。
図4は、本発明の実施の形態の変形例にかかる内燃機関の制御装置が適用される内燃機関の吸気ポート周辺の構成を示す図である。上流インジェクタ32の噴射方向を変更し、吸気ポート18a側へと噴射するように噴射位置を変更(指向)してもよい。これにより、休止した吸気弁上への燃料溜りをさらに抑制し、燃費悪化抑制、HC悪化抑制をさらに行うことができる。
なお、両方の吸気弁12を開いているとき、吸気非同期噴射の場合には、吸気弁12の閉じ時に吸気ポート内で燃料の霧化が進むので、筒内への流入時に均質性が悪化しない。また、吸気同期噴射時は、噴霧貫徹力よりも吸気ポート内のガス流れが強いため、噴霧がガス流れに乗り、均質性の悪化が生じない。
なお、両方の吸気弁12を開いているとき、吸気非同期噴射の場合には、吸気弁12の閉じ時に吸気ポート内で燃料の霧化が進むので、筒内への流入時に均質性が悪化しない。また、吸気同期噴射時は、噴霧貫徹力よりも吸気ポート内のガス流れが強いため、噴霧がガス流れに乗り、均質性の悪化が生じない。
実施の形態では、2つの吸気ポートを備える内燃機関に対して本発明を適用した。しかしながら、本発明はこれに限られるものではない。3つ以上の吸気ポートを備え、各吸気ポートの少なくとも1つの吸気弁を休止することでスワールを発生させる内燃機関に対して、本発明を適用しても良い。その場合、下流インジェクタ30を、噴射方向がその吸気ポートに応じた個数、方向に設ける構成として、その燃料噴射によって各吸気ポートに向かう複数の噴霧が形成されるようにすることができる。
10 燃焼室
12 吸気弁
14 排気弁
15 点火プラグ
18a、18b 吸気ポート
20 吸気管
30 下流インジェクタ
32 上流インジェクタ
40 噴霧
42 噴霧
12 吸気弁
14 排気弁
15 点火プラグ
18a、18b 吸気ポート
20 吸気管
30 下流インジェクタ
32 上流インジェクタ
40 噴霧
42 噴霧
Claims (4)
- 複数の吸気弁、前記複数の吸気弁の一部を休止可能な弁休止機構、吸気管の上流に配置された上流インジェクタ、および前記吸気管の下流に配置された下流インジェクタを有する内燃機関の制御装置であって、
前記弁休止機構により一部の吸気弁を休止させるときに、前記下流インジェクタの燃料噴射を停止し、休止されていない吸気弁が開いている期間に前記上流インジェクタでの燃料噴射を行うことを特徴とする内燃機関の制御装置。 - 前記弁休止機構により一部の吸気弁を休止させるときに、前記上流インジェクタが、前記弁休止機構による休止の際に休止の対象とならない吸気弁の吸気ポート側へと噴射方向を変化させることを特徴とする請求項1記載の内燃機関の制御装置。
- 前記内燃機関がEGR装置を備えており、
前記弁休止機構により一部の吸気弁を休止させる場合において、前記下流インジェクタの燃料噴射を停止しかつ休止されていない吸気弁が開いている期間に前記上流インジェクタでの燃料噴射を行うときに、前記EGR装置によるEGRを実施することを特徴とする請求項1または2記載の内燃機関の制御装置。 - 前記弁休止機構により一部の吸気弁を休止させる場合において、前記下流インジェクタの燃料噴射を停止しかつ休止されていない吸気弁が開いている期間に前記上流インジェクタでの燃料噴射を行うときに、リーンバーン運転を実施することを特徴とする請求項1乃至3の何れか1項記載の内燃機関の制御装置。
Priority Applications (1)
| Application Number | Priority Date | Filing Date | Title |
|---|---|---|---|
| JP2011089500A JP2012219782A (ja) | 2011-04-13 | 2011-04-13 | 内燃機関の制御装置 |
Applications Claiming Priority (1)
| Application Number | Priority Date | Filing Date | Title |
|---|---|---|---|
| JP2011089500A JP2012219782A (ja) | 2011-04-13 | 2011-04-13 | 内燃機関の制御装置 |
Publications (1)
| Publication Number | Publication Date |
|---|---|
| JP2012219782A true JP2012219782A (ja) | 2012-11-12 |
Family
ID=47271557
Family Applications (1)
| Application Number | Title | Priority Date | Filing Date |
|---|---|---|---|
| JP2011089500A Withdrawn JP2012219782A (ja) | 2011-04-13 | 2011-04-13 | 内燃機関の制御装置 |
Country Status (1)
| Country | Link |
|---|---|
| JP (1) | JP2012219782A (ja) |
-
2011
- 2011-04-13 JP JP2011089500A patent/JP2012219782A/ja not_active Withdrawn
Similar Documents
| Publication | Publication Date | Title |
|---|---|---|
| CN103415691B (zh) | 燃料喷射装置 | |
| JP5553129B2 (ja) | 内燃機関の燃料噴射制御装置 | |
| CN101484680A (zh) | 用于直喷式火花点火内燃发动机的燃料喷射控制方法 | |
| JP2010048212A (ja) | 直噴ガソリンエンジン | |
| JP5794566B2 (ja) | 内燃機関の制御装置 | |
| JP2011179444A (ja) | 燃料噴射制御装置及び内燃機関 | |
| JP2010121591A (ja) | 多種燃料内燃機関 | |
| JP3956503B2 (ja) | 筒内噴射式火花点火機関 | |
| JP5447128B2 (ja) | 内燃機関の排気還流装置 | |
| JP5310951B2 (ja) | 内燃機関の制御装置 | |
| JP2011007046A (ja) | 直噴ガソリンエンジンの燃料噴射装置 | |
| JP2012197674A (ja) | 燃焼制御装置 | |
| JP2009041531A (ja) | 筒内噴射式内燃機関 | |
| JP2012219782A (ja) | 内燃機関の制御装置 | |
| JP5212160B2 (ja) | 圧縮着火内燃機関 | |
| JP4635974B2 (ja) | ディーゼル機関の制御装置 | |
| JPWO2007066565A1 (ja) | エンジン | |
| JP2017106434A (ja) | 車両のインジェクター制御方法及びその制御システム | |
| WO2008102910A1 (ja) | 筒内噴射式内燃機関の燃料噴射制御装置 | |
| JP2006258012A (ja) | 内燃機関 | |
| JP5865603B2 (ja) | 筒内噴射式エンジン及びその燃料噴射方法 | |
| JP2014194158A (ja) | ディーゼルエンジンの燃料噴射制御装置 | |
| JP5861826B2 (ja) | 内燃機関 | |
| JP3969156B2 (ja) | 内燃機関の燃料噴射制御装置 | |
| JP2004052602A (ja) | 筒内噴射式火花点火内燃機関 |
Legal Events
| Date | Code | Title | Description |
|---|---|---|---|
| A300 | Withdrawal of application because of no request for examination |
Free format text: JAPANESE INTERMEDIATE CODE: A300 Effective date: 20140701 |