JP2012207728A - ソフトシール弁 - Google Patents

ソフトシール弁 Download PDF

Info

Publication number
JP2012207728A
JP2012207728A JP2011074201A JP2011074201A JP2012207728A JP 2012207728 A JP2012207728 A JP 2012207728A JP 2011074201 A JP2011074201 A JP 2011074201A JP 2011074201 A JP2011074201 A JP 2011074201A JP 2012207728 A JP2012207728 A JP 2012207728A
Authority
JP
Japan
Prior art keywords
valve body
valve
fixing
thickness direction
bolt
Prior art date
Legal status (The legal status is an assumption and is not a legal conclusion. Google has not performed a legal analysis and makes no representation as to the accuracy of the status listed.)
Granted
Application number
JP2011074201A
Other languages
English (en)
Other versions
JP5713757B2 (ja
Inventor
Shigenori Inoue
繁則 井上
Katsu Morimura
克 森村
Kenji Seki
兼司 積
Masanori Nakao
正範 中尾
Current Assignee (The listed assignees may be inaccurate. Google has not performed a legal analysis and makes no representation or warranty as to the accuracy of the list.)
Kubota Corp
Original Assignee
Kubota Corp
Priority date (The priority date is an assumption and is not a legal conclusion. Google has not performed a legal analysis and makes no representation as to the accuracy of the date listed.)
Filing date
Publication date
Application filed by Kubota Corp filed Critical Kubota Corp
Priority to JP2011074201A priority Critical patent/JP5713757B2/ja
Publication of JP2012207728A publication Critical patent/JP2012207728A/ja
Application granted granted Critical
Publication of JP5713757B2 publication Critical patent/JP5713757B2/ja
Active legal-status Critical Current
Anticipated expiration legal-status Critical

Links

Images

Landscapes

  • Sliding Valves (AREA)
  • Gasket Seals (AREA)

Abstract

【課題】固定手段の緩みを防止し、弁体で弁箱内流路を閉じた際、流体が弁体の上流側から固定用孔を通って弁体の下流側へ漏出するのを防止することが可能なソフトシール弁を提供する。
【解決手段】弁体3は、芯金14と、弁体3の厚さ方向Aにおける芯金14の両表面に設けられ且つ弾性材からなるシール材15と、シール材15を芯金14の表面に押え付ける押え部材16と、押え部材16を芯金14に押圧して固定するボルト19,ナット20とを備え、シール材15は芯金14の表面と押え部材16との間に挟まれており、押え部材16の一部と芯金14の一部とが当接していることにより、押え部材16と芯金14との間隔Bが、弁体3の厚さ方向Aにおいて、設定された間隔に固定されている。
【選択図】図8

Description

本発明は、弁箱内の流路を横切る方向へ移動して弁箱内の流路を開閉する弁体を有するソフトシール弁に関する。
従来、この種の弁としては、例えば、図53に示すように、弁箱201内に、弁箱内流路202を横切る方向へ移動して弁箱内流路202を開閉する弁体203が設けられた仕切弁200がある。弁体203は、基体205と、弁体203の厚さ方向Aにおける基体205の両表面に設けられた弾性変形自在なシール部材206と、シール部材206を基体205の表面に固定する支持ディスク207と、支持ディスク207を固定するボルト208,ナット209とを備えている。
シール部材206は、ゴムからなり、基体205の表面と支持ディスク207との間に挟まれ、且つ、閉位置Sにおいて弁箱201内のシール面210に密着する。弁体203の基体205と支持ディスク207とはシール部材206を介して設定された間隔Bで離間している。
また、ボルト208は、弁体203の厚さ方向Aにおいて、基体205とシール部材206および支持ディスク207を貫通している。尚、基体205とシール部材206と支持ディスク207とにはそれぞれボルト孔211が形成されており、ボルト孔211にボルト208が挿通されている。また、ナット209はボルト208の両端部に螺合されている。
尚、上記のような構成を有する弁200は下記特許文献1に記載されている。
特許第4515906号
しかしながら上記の従来形式では下記のような問題がある。
例えば弁体203に高い流体圧が作用することにより、シール部材206が弾性変形して厚さ方向に圧縮され、このため、基体205と支持ディスク207との間隔が設定された間隔Bよりも縮小され、厚さ方向Aにおいてナット209と支持ディスク207との間に隙間が発生し、ボルト208とナット209が緩んでしまうといった問題がある。
また、弁体203を閉位置に移動して、弁体203で弁箱内流路202を閉じた際、弁箱201内の流体が、弁体203の上流側からボルト孔211を通って弁体203の下流側へ漏出し易いといった問題がある。
さらに、シール部材206が基体205の表面と支持ディスク207との間でずれ易いといった問題がある。
本発明は、固定手段の緩みを防止し、弁体で弁箱内の流路を閉じた際、流体が弁体の上流側から固定用孔を通って弁体の下流側へ漏出するのを防止し、シール材が基材と押え部材との間でずれるのを防止することが可能なソフトシール弁を提供することを目的とする。
上記目的を達成するために、本第1発明におけるソフトシール弁は、弁箱内に、弁箱内の流路を横切る方向へ移動して弁箱内の流路を開閉する弁体と、弁箱シート部とが設けられ、
弁体は、基材と、弁体の厚さ方向における基材の両表面に設けられ且つ弾性材からなるシール材と、シール材を基材の表面に押え付ける押え部材と、押え部材を基材に押圧して固定する固定手段とを備え、
シール材は、基材の表面と押え部材との間に挟まれ、且つ、閉位置において弁箱シート部に当接する弁体シート部を有し、
押え部材と基材とが当接している又は押え部材と基材との間に間隔設定部材が設けられていることにより、押え部材と基材との間隔が、弁体の厚さ方向において、設定された間隔に固定されているものである。
これによると、押え部材と基材との間隔が、弁体の厚さ方向において設定された間隔に維持され、設定された間隔よりも縮小されてしまうことはない。したがって、弁体の厚さ方向において固定手段の端部と押え部材との間に隙間が発生することはなく、固定手段の緩みを防止することができる。
本第2発明におけるソフトシール弁は、シール材は開口部を有し、
シール材の開口部を通じて押え部材が固定手段により基材に固定されているものである。
これによると、シール材に開口部を形成することにより、シール材の材料である弾性材の使用量を減らすことができる。このため、シール材と弁箱内の流体との接触面積が減少し、シール材の材料である弾性材が流体中に溶出する可能性を低下させることができる。
本第3発明におけるソフトシール弁は、シール材は押え部材を挟持することによって押え部材に固定されているものである。
これによると、シール材は、押え部材に固定されているため、基材と押え部材との間でずれてしまうことはない。
本第4発明におけるソフトシール弁は、シール材は押え部材に接着されることによって固定されているものである。
これによると、シール材は、押え部材に固定されているため、基材と押え部材との間でずれてしまうことはない。
本第5発明におけるソフトシール弁は、固定手段は、弁体の厚さ方向において、弁体を貫通しているものである。
本第6発明におけるソフトシール弁は、弁体は、厚さ方向における中途部に、弁体の幅方向において外側方に開口する凹部を有し、
弁体の厚さ方向において、弁体の一方の表面から凹部に貫通する一方の固定手段と、弁体の他方の表面から凹部に貫通する他方の固定手段とが備えられ、
一方の押え部材は一方の固定手段によって基材に固定され、
他方の押え部材は他方の固定手段によって基材に固定されているものである。
これによると、凹部を形成したことにより、弁体を軽量化することができる。
また、弁体を閉位置に移動して、弁体で弁箱内の流路を閉じた際、万一、弁箱内の流体が弁体の一方から一方の連結手段と弁体との間隙に侵入しても、この侵入した流体は一方の連結手段と弁体との間隙を伝って弁体の凹部内に排出されて溜められる。これにより、流体が一方および他方の連結手段と弁体との間隙を伝って弁体の上流側から下流側へ漏出する可能性を低減することができる。
本第7発明におけるソフトシール弁は、基材に基材側固定用孔が形成され、
押え部材に、弁体の厚さ方向において貫通する押え部材側固定用孔が形成され、
固定手段は基材側固定用孔と押え部材側固定用孔とに挿通され、
シール材は、固定手段と基材側固定用孔との間に流体が侵入することを防止する固定部シール片を有しているものである。
これによると、シール材の固定部シール片により、流体が外部から固定手段と基材側固定用孔との間に侵入するのを防止することができる。このため、弁体を閉位置に移動して、弁体で弁箱内の流路を閉じた状態で、弁箱内の流体が、弁体の上流側から基材側固定用孔を通って弁体の下流側へ漏出するのを確実に防止することができる。
本第8発明におけるソフトシール弁は、基材は固定用掛止部を有し、
固定手段は、弁体を厚さ方向へ貫通せずに、固定用掛止部に引っ掛けられることで、基材に取り付けられているものである。
これによると、固定手段は弁体を厚さ方向に貫通していないため、弁体を閉位置に移動して、弁体で弁箱内の流路を閉じた際、弁箱内の流体が、弁体の上流側から固定手段と弁体との間隙を伝って弁体の下流側へ漏出することはない。
また、固定手段を固定用掛止部に引っ掛けることで基材に取り付けているので、固定手段を取り付けるためのねじを基材に形成する必要は無い。したがって、基材に粉体塗装を施すことができる。
以上のように本発明によると、固定手段の緩みを防止することができ、また、弁体で弁箱内の流路を閉じた際、流体が弁体の上流側から固定用孔を通って弁体の下流側へ漏出するのを防止することができる。また、シール材が基材と押え部材との間でずれるのを防止することができる。
本発明の第1の実施の形態におけるソフトシール弁の一部切欠き斜視図である。 同、ソフトシール弁の一部切欠き正面図である。 同、ソフトシール弁の縦断面図である。 同、ソフトシール弁の弁体の斜視図である。 同、ソフトシール弁の弁体の分解斜視図である。 同、ソフトシール弁の弁体の正面図である。 図6におけるX−X矢視図である。 図6におけるY−Y矢視図である。 同、ソフトシール弁の弁体の芯金の正面図である。 図9におけるX−X矢視図である。 図9におけるY−Y矢視図である。 図9におけるZ−Z矢視図である。 同、ソフトシール弁の弁体のシール材の正面図である。 図13におけるW−W矢視図である。 図13におけるX−X矢視図である。 図13におけるY−Y矢視図である。 図13におけるZ−Z矢視図である。 図17におけるX−X矢視図である。 同、ソフトシール弁の弁体の押え部材の正面図である。 図19におけるX−X矢視図である。 図8におけるX−X矢視図である。 本発明の第2の実施の形態におけるソフトシール弁の弁体の一部拡大断面図である。 本発明の第3の実施の形態におけるソフトシール弁の弁体の一部拡大断面図である。 本発明の第4の実施の形態におけるソフトシール弁の弁体の一部拡大断面図である。 本発明の第5の実施の形態におけるソフトシール弁の弁体の一部拡大断面図である。 本発明の第6の実施の形態におけるソフトシール弁の弁体の一部拡大断面図である。 本発明の第8の実施の形態におけるソフトシール弁の弁体の縦断面図である。 同、弁体のシール材の縦断面図である。 本発明の第9の実施の形態におけるソフトシール弁の弁体の縦断面図である。 同、弁体のシール材と押え部材のそれぞれの縦断面図である。 本発明の第10の実施の形態におけるソフトシール弁の弁体の横断面図である。 本発明の第11の実施の形態におけるソフトシール弁の弁体のシール材の正面図である。 本発明の第12の実施の形態におけるソフトシール弁の弁体のシール材の正面図である。 本発明の第13の実施の形態におけるソフトシール弁の弁体の正面図である。 図34におけるX−X矢視図である。 同、弁体の芯金と押え部材との固定部分の拡大平面図である。 図36におけるX−X矢視図である。 本発明の第14の実施の形態におけるソフトシール弁の弁体の芯金と押え部材との固定部分の拡大平面図である。 図38におけるX−X矢視図である。 本発明の第15の実施の形態におけるソフトシール弁の弁体の芯金と押え部材との固定部分の拡大平面図である。 図40におけるX−X矢視図である。 本発明の第16の実施の形態におけるソフトシール弁の弁体の芯金と押え部材との固定部分の拡大平面図である。 図42におけるX−X矢視図である。 図43におけるX−X矢視図である。 本発明の第17の実施の形態におけるソフトシール弁の弁体の芯金と押え部材との固定部分の拡大平面図である。 図45におけるX−X矢視図である。 本発明の第18の実施の形態におけるソフトシール弁の弁体の芯金と押え部材との固定部分の拡大平面図である。 図47におけるX−X矢視図である。 本発明の第19の実施の形態におけるソフトシール弁の弁体の芯金と押え部材との固定部分の拡大平面図である。 図49におけるX−X矢視図である。 本発明の第20の実施の形態におけるソフトシール弁の弁体の芯金と押え部材との固定部分の拡大平面図である。 図51におけるX−X矢視図である。 従来の仕切弁の弁箱と弁体との横断面図である。
以下、本発明における実施の形態を、図面を参照して説明する。
(第1の実施の形態)
先ず、第1の実施の形態を図1〜図21を参照して説明する。
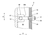
図1〜図3に示すように、1は仕切弁の一種のソフトシール弁であり、弁箱2と、弁体3と、弁棒4を有しており、弁箱2内には、弁箱内流路5と、弁箱シート部6とが設けられている。
弁体3は、弁棒4の回転により、上下方向(弁箱内流路5を横切る方向の一例であり、弁棒4の軸心方向Dに相当)へ移動して弁箱内流路5を開閉する。弁体3の上部には雌ねじこま7が設けられ、弁棒4の雄ねじ部が雌ねじこま7に螺合している。弁箱2の内側面には、弁体3を上下方向(開閉方向)へ案内する左右一対の案内レール9が上下方向に配設されている。また、弁体3の両側部には、案内レール9に係合する案内溝10が形成され、案内レール9と案内溝10とで案内部が構成されている。
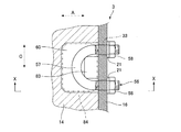
図4,図5に示すように、弁体3は、金属製の芯金14(基材の一例)と、弁体3の厚さ方向Aにおける芯金14の両表面に設けられた一方および他方のシール材15と、シール材15を芯金14の表面に押え付ける押え部材16と、押え部材16を芯金14に押圧して固定する複数の固定手段17とを備えている。
図8に示すように、固定手段17はボルト19とナット20と座金21とからなる。ボルト19は、厚さ方向Aにおいて、一本設けられ且つ弁体3を貫通している。
図5,図9〜図11に示すように、芯金14には、上下方向に貫通した孔部22と、厚さ方向Aにおいて貫通する複数の芯金側ボルト用孔23(基材側固定用孔の一例)とが形成されている。弁棒4は孔部22に挿入される。また、厚さ方向Aにおける芯金14の両表面には、厚さ方向Aに盛り上がったボルト用座24が複数形成されている。芯金側ボルト用孔23の両端はボルト用座24の表面に開口している。
また、各ボルト用座24にはそれぞれ、二本(複数本)の溝27が形成されている。溝27は、ボルト用座24の縁と芯金側ボルト用孔23の端部とに連通しており、芯金側ボルト用孔23の中心を通る上下方向の直線L上に設けられている。さらに、芯金14の外縁部には厚さ方向Aに突出する凸部25が形成され、芯金14の表面には凸部25で囲まれた凹部26が形成されている。
図5,図13〜図18に示すように、シール材15は、ゴム(弾性材の一例)からなり、芯金14の凹部26に嵌められて、芯金14の表面と押え部材16との間に挟まれている。また、シール材15は、外周縁に、閉位置Sにおいて弁箱シート部6に当接する弁体シート部28を有している。また、シール材15には表裏両面に開口する複数の開口部29が形成されている。
シール材15は、各開口部29に、円筒状の固定部シール片30と、固定部シール片30を支持する二本(複数本)の渡し部31(連結部材の一例)とを一体成形して有している。渡し部31は、固定部シール片30と開口部29の縁とに連結されており、固定部シール片30の中心を通る上下方向の直線L上に設けられている。尚、固定部シール片30は開口部29から厚さ方向Aの外方へ突出した位置に支持されている。また、シール材15と押え部材16とを芯金14から取り外した状態で、シール材15の表面からの固定部シール片30の高さHは押え部材16の厚さTよりも若干高く形成されている。固定部シール片30と渡し部31とはシール材15と同じゴムからなり、図11に示すように、渡し部31は芯金14の溝27に嵌め込まれている。
押え部材16には、厚さ方向Aにおいて貫通する押え部材側ボルト用孔33(押え部材側固定用孔の一例)が複数形成されている。図8,図21に示すように、シール材15の固定部シール片30は押え部材側ボルト用孔33に挿入されている。
ボルト19は芯金側ボルト用孔23と固定部シール片30と押え部材側ボルト用孔33とに挿通され、ナット20はボルト19の端部に螺合され、座金21はボルト19の端部に外嵌されている。図8に示すように、一方の押え部材16の一部は、固定手段17による固定部分において、ボルト19の頭部19a(固定手段の端部の一例)と芯金14のボルト用座24との間に挟み込まれ、一方のシール材15の開口部29を通じて、芯金14のボルト用座24に当接して面接触している。
また、他方の押え部材16の一部は、固定手段17による固定部分において、ナット20(固定手段の端部の一例)と芯金14のボルト用座24との間に挟み込まれ、他方のシール材15の開口部29を通じて、芯金14のボルト用座24に当接して面接触している。
尚、シール材15と押え部材16とを芯金14に取り付け、押え部材16と芯金14のボルト用座24とが面接触している状態では、図7,図8に示すように、押え部材16と芯金14との間隔Bは、厚さ方向Aにおいて、設定された間隔(以下、設定間隔と記載)に固定されている。尚、設定間隔とは設計上の正規の間隔である。
以下、上記構成における作用を説明する。
弁棒4を一方向へ回転させることにより、雌ねじこま7が弁棒4に対して開方向へ送られると共に弁体3が開方向(上方向)へ移動し、図2に示すように、弁箱内流路5が開通する。反対に、弁棒4を他方向へ回転させることにより、雌ねじこま7が弁棒4に対して閉方向へ送られると共に弁体3が閉方向(下方向)へ移動し、図3に示すように、弁箱内流路5が弁体3によって閉じられる。
この際、案内レール9が案内溝10に案内されるため、弁体3は円滑に閉位置Sと開位置Oとに移動する。また、閉位置Sにおいて、弁体3の弁体シート部28が弁箱シート部6に圧接するため、弁体3の外周部と弁箱2の内周部との間が確実にシールされる。
また、弁体3に高い水圧(流体圧の一例)が作用してシール材15が厚さ方向Aに圧縮されても、図8に示すように、固定手段17による固定部分において、押え部材16の一部が芯金14のボルト用座24に面接触しているため、図7,図8に示すように、押え部材16と芯金14との間隔Bは、厚さ方向Aにおいて設定間隔に維持され、設定間隔よりも縮小されてしまうことはない。したがって、厚さ方向Aにおいて、ボルト19の頭部19aと一方の押え部材16との間に隙間が発生することは無いと共に、ナット20と他方の押え部材16との間に隙間が発生することは無い。これにより、ボルト19とナット20の緩みを防止することができる。
また、図8,図21に示すように、一方のシール材15の固定部シール片30の先端がボルト19の頭部19aに圧接し、他方のシール材15の固定部シール片30の先端が座金21に圧接しているため、ボルト19と押え部材側ボルト用孔33との間は固定部シール片30によってシールされ、水(流体の一例)が外部からボルト19と押え部材側ボルト用孔33との間に侵入するのを防止することができる。このため、水がボルト19と押え部材側ボルト用孔33との間を通ってボルト19と芯金側ボルト用孔23との間に侵入するのを防止することが可能であり、弁体3を閉位置Sに移動した状態で、弁箱2内の水が、弁体3の上流側から芯金側および押え部材側ボルト用孔23,33を通って弁体3の下流側へ漏出するのを確実に防止することができる。
また、図13に示すように、シール材15に開口部29を形成することにより、シール材15の材料であるゴムの使用量を減らすことができる。このため、シール材15と弁箱2内の水との接触面積が減少し、シール材15の材料であるゴムが水中に溶出する可能性を低下させることができる。
また、図11に示すように、シール材15の渡し部31が芯金14の溝27に嵌め込まれているため、固定部シール片30が、正規の取付位置に位置決めされ、芯金側ボルト用孔23の端部開口部からずれるのを防止することができる。
また、渡し部31の幅は溝27の幅よりも小さいので、渡し部31は溝27内で僅かに変形することが可能であり、つまり可撓性を渡し部31に持たせているので、固定部シール片30とシール材15との相対的な位置ずれが吸収される。
また、図13に示すように、固定部シール片30はシール材15に一体に形成されているため、弁体3を組立てる際、シール材15と固定部シール片30とを共に同時に芯金14に仮止めすることができる。このため、弁体3の組立が容易且つ迅速に行える。
上記実施の形態では、弁体3が組み立てられた後、渡し部31が溝27内において切断されても構わない。
次に、他の実施の形態について説明する。尚、下記の各実施の形態において、上記第1の実施の形態で説明した部材と同じ構成を有する部材については同一の符号を付記して説明を省略する。
(第2および第3の実施の形態)
上記第1の実施の形態では、芯金14がボルト用座24を有し、ボルト用座24に押え部材16が当接しているが、第2の実施の形態では、図22に示すように、芯金14が突起部45を有し、突起部45に押え部材16が当接して接触している。尚、突起部45は芯金側ボルト用孔23の両端開口部の周囲に形成されている。
尚、押え部材16と芯金14の突起部45とが接触している状態では、押え部材16と芯金14との間隔Bは厚さ方向Aにおいて設定間隔に固定されている。
以下、上記構成における作用を説明する。
弁体3に高い水圧が作用してシール材15が厚さ方向Aに圧縮されても、固定部分において、押え部材16の一部が芯金14の突起部45に接触しているため、押え部材16と芯金14との間隔Bは、厚さ方向Aにおいて設定間隔に維持され、設定間隔よりも縮小されてしまうことはない。
また、上記第2の実施の形態では、芯金14が突起部45を有しているが、第3の実施の形態として、図23に示すように、押え部材16が突起部45を有していてもよい。この場合も、同様に、押え部材16と芯金14との間隔Bは、厚さ方向Aにおいて設定間隔に維持され、設定間隔よりも縮小されてしまうことはない。
(第4の実施の形態)
上記第1〜第3の実施の形態では、押え部材16の一部と芯金14の一部とが当接しているが、次に説明する第4の実施の形態では、図24に示すように、押え部材16と芯金14との間に、円筒状のスペーサー48(間隔設定部材の一例)が挟まれており、ボルト19はスペーサー48を貫通している。スペーサー48により、押え部材16と芯金14との間隔Bは厚さ方向Aにおいて設定間隔に固定されている。
以下、上記構成における作用を説明する。
弁体3に高い水圧が作用してシール材15が厚さ方向Aに圧縮されても、固定部分において、押え部材16と芯金14との間にスペーサー48が挟まれているため、押え部材16と芯金14との間隔Bは、厚さ方向Aにおいて設定間隔に維持され、設定間隔よりも縮小されてしまうことはない。
(第5,第6の実施の形態)
第5の実施の形態として、図25に示すように、上記第2の実施の形態にて示した芯金14の突起部45と上記第4の実施の形態にて示したスペーサー48とを組み合わせたものであってもよい。
第6の実施の形態として、図26に示すように、上記第3の実施の形態にて示した押え部材16の突起部45と上記第4の実施の形態にて示したスペーサー48とを組み合わせたものであってもよい。
(第7の実施の形態)
第7の実施の形態では、図7に示すように、シール材15は接着剤により押え部材16に接着されて固定されている。これにより、シール材15が芯金14と押え部材16との間でずれてしまうことはない。
(第8の実施の形態)
次に、第8の実施の形態を図27,図28を参照して説明する。
シール材15は押え部材16を挟持することによって押え部材16に固定されている。すなわち、シール材15の外周縁には、内周側に開放された第1の差込溝51(挟持手段の一例)が形成されている。押え部材16の外周縁は第1の差込溝51に差し込まれている。
以下、上記構成における作用を説明する。
押え部材16の外周縁が第1の差込溝51に差し込まれていることにより、シール材15は押え部材16を挟持して押え部材16に固定される。これにより、シール材15が芯金14と押え部材16との間でずれてしまうことはない。
(第9の実施の形態)
上記第8の実施の形態では、シール材15に第1の差込溝51が形成されているが、本第9の実施の形態では、図29,図30に示すように、シール材15に第1の差込溝51が形成され、さらに、押え部材16の外周縁には、外周側に開放された第2の差込溝52(挟持手段の一例)が形成されている。押え部材16の外周縁が第1の差込溝51に差し込まれていると共に、シール材15の外周縁が第2の差込溝52に差し込まれている。
これによると、シール材15が押え部材16を挟持して押え部材16に固定されるため、シール材15が芯金14と押え部材16との間でずれてしまうことはない。
(第10の実施の形態)
次に、第10の実施の形態を図31を参照して説明する。
弁体3は、厚さ方向Aにおける中途部に、弁体3の幅方向Cにおいて外側方に開口する左右一対の凹部54を有している。厚さ方向Aにおいて、弁体3の一方の表面から凹部54に貫通する複数の一方の固定手段17aと、弁体3の他方の表面から凹部54に貫通する複数の他方の固定手段17bとが備えられている。一方の押え部材16は一方の固定手段17aによって芯金14に固定され、他方の押え部材16は他方の固定手段17bによって芯金14に固定されている。
両凹部54は、幅方向Cにおいて、芯金14の孔部22の両側に振り分けられて形成されている。尚、凹部54の幅は案内溝10の幅よりも大きく、凹部54は案内溝10に連通している。また、幅方向Cとは弁体3の厚さ方向Aと弁棒4の軸心方向Dとに直交する方向である。
一方および他方の固定手段17a,17bはそれぞれボルト19a,19bとナット20a,20bと座金21とからなる。また、芯金14には、複数の芯金側ボルト用孔23a,23bが形成されている。このうち、一方の芯金側ボルト用孔23aの一端が厚さ方向Aにおける芯金14の一方の表面に開口し、一方の芯金側ボルト用孔23aの他端が凹部54内に開口している。また、他方の芯金側ボルト用孔23bの一端が厚さ方向Aにおける芯金14の他方の表面に開口し、他方の芯金側ボルト用孔23bの他端が凹部54内に開口している。
一方のボルト19aは一方の芯金側ボルト用孔23aに挿通され、他方のボルト19bは他方の芯金側ボルト用孔23bに挿通され、一方のナット20aは一方のボルト19aに螺合して凹部54内に位置し、他方のナット20bは他方のボルト19bに螺合して凹部54内に位置している。
以下、上記構成における作用を説明する。
芯金14に凹部54を形成したことにより、弁体3を軽量化することができる。
また、弁体3を閉位置Sに移動して、弁体3で弁箱内流路5を閉じた際、万一、弁箱2内の水が弁体3の上流側35(一方)から一方のボルト19aと一方の芯金側ボルト用孔23aとの間隙に侵入しても、この侵入した水は一方のボルト19aと一方の芯金側ボルト用孔23aとの間隙を伝って凹部54内に排出されて溜められる。これにより、水が一方および他方のボルト19a,19bと芯金側ボルト用孔23a,23bとの間隙を伝って弁体3の上流側35から下流側36へ漏出する可能性を低減することができる。
上記実施の形態では、凹部54の幅を案内溝10の幅よりも大きくしているが、凹部54の幅と案内溝10の幅とを同じ大きさにして、凹部54と案内溝10とを兼用してもよい。
(第11の実施の形態)
上記第1の実施の形態では、図13に示すように、固定部シール片30を二本の渡し部31で支持しているが、第11の実施の形態として図32に示すように、固定部シール片30を一本の渡し部31で支持してもよく、このことにより、可撓性がより一層向上する。
(第12の実施の形態)
上記第1の実施の形態では、図13に示すように、固定部シール片30を渡し部31で支持しているが、第12の実施の形態として図33に示すように、固定部シール片30を、シール材15のゴムよりも軟らかい軟質のゴム又は網状のゴムで形成された可撓性を有する連結部材55で支持してもよい。
これにより、連結部材55が変形することによって、固定部シール片30とシール材15との相対的な位置ずれが吸収される。また、固定部シール片30はシール材15に一体に形成されているため、弁体3を組立てる際、シール材15と固定部シール片30とを共に同時に芯金14に仮止めすることができる。したがって、弁体3の組立が容易且つ迅速に行える。
また、上記第1の実施の形態では、図8に示すように、固定手段17が弁体3を厚さ方向Aに貫通しているが、固定手段17が貫通していないものであってもよい。以下に、その具体的な構成を説明する。
(第13の実施の形態)
次に、第13の実施の形態を図34〜図37を参照して説明する。
押え部材16は複数の固定手段56によって芯金14に押圧されて固定されている。各固定手段56はUボルト57とナット58と座金21とからなる。
芯金14は固定用掛止部59を有し、Uボルト57は、弁体3を厚さ方向Aへ貫通せずに、固定用掛止部59に引っ掛けられることで、芯金14に取り付けられている。芯金14には、厚さ方向Aにおける表面に開口する凹部60が形成されている。凹部60は、弁棒4の軸心方向Dにおいて対向する一対の内面60a,60bを有している。
固定用掛止部59は、凹部60内に設けられた逆L形状の部材であり、凹部60の下部の内面60aから上向きに立設された第1掛止部59aと、第1掛止部59aの上端から凹部60の奥側へ向いた第2掛止部59bとを有している。Uボルト57は第2掛止部59bと凹部60の下部の内面60aとの間で第1掛止部59aに係止されている。
押え部材16には二個一組の押え部材側ボルト用孔33が二組(複数組)形成されている。Uボルト57の両端部は、押え部材側ボルト用孔33に挿通され、ナット58に螺合している。尚、本第13の実施の形態におけるシール材15は、複数の開口部29を有しているが、上記第1の実施の形態で示したような固定部シール片30と渡し部31(図13参照)とを有していない。
以下、上記構成における作用を説明する。
Uボルト57は弁体3を厚さ方向Aに貫通していないため、弁体3を閉位置Sに移動して弁箱内流路5を閉じた際、弁箱2内の水が、弁体3の上流側からUボルト57と芯金14との間隙を伝って弁体3の下流側へ漏出することはない。したがって、シール材15に、上記第1の実施の形態で示したような固定部シール片30と渡し部31とを設ける必要は無い。
また、Uボルト57を固定用掛止部59に引っ掛けることで芯金14に取り付けているので、固定手段56を取り付けるためのねじを芯金14に形成する必要は無い。したがって、芯金14に粉体塗装を施すことができる。尚、仮に芯金14にねじを形成すると、粉体塗装を施した場合、ねじが潰れてしまう虞がある。
(第14の実施の形態)
次に、第14の実施の形態を図38,図39を参照して説明する。
各固定手段62は、頭部に円環部63aを備えたアイボルト63と、ナット64と座金21とからなる。
芯金14は固定用掛止部65を有し、アイボルト63は、弁体3を厚さ方向Aへ貫通せずに、固定用掛止部65に引っ掛けられることで、芯金14に取り付けられている。芯金14には、厚さ方向Aにおける表面に開口する凹部60が形成されている。凹部60は、弁棒4の軸心方向Dにおいて対向する一対の内面60a,60bを有している。
固定用掛止部65は凹部60の下部の内面60aから上向きに立設されている。アイボルト63の円環部63aが上方から固定用掛止部65に外嵌されている。
凹部60内には、アイボルト63と上部の内面60bとの間のスペースを埋める脱落防止用部材66が嵌め込まれている。アイボルト63の先端部は、押え部材16の押え部材側ボルト用孔33に挿通され、ナット64に螺合している。尚、本第14の実施の形態におけるシール材15は、複数の開口部29を有しているが、上記第1の実施の形態で示したような固定部シール片30と渡し部31(図13参照)とを有していない。
以下、上記構成における作用を説明する。
アイボルト63は弁体3を厚さ方向Aに貫通していないため、弁体3を閉位置Sに移動して弁箱内流路5を閉じた際、弁箱2内の水が、弁体3の上流側からアイボルト63と芯金14との間隙を伝って弁体3の下流側へ漏出することはない。したがって、シール材15に、上記第1の実施の形態で示したような固定部シール片30と渡し部31とを設ける必要は無い。
また、アイボルト63と上部の内面60bとの間のスペースは、凹部60内に嵌め込まれた脱落防止用部材66により、埋められている。このため、アイボルト63の円環部63aが固定用掛止部65から外れてしまうのを防止することができ、アイボルト63の脱落を防止することができる。
さらに、アイボルト63を固定用掛止部65に引っ掛けることで芯金14に取り付けているので、固定手段62を取り付けるためのねじを芯金14に形成する必要は無く、したがって、粉体塗装しても固定手段62(アイボルト63)を芯金14に取り付けることができる。
(第15の実施の形態)
次に、第15の実施の形態を図40,図41を参照して説明する。
各固定手段69は、T形状の頭部70aを有するTボルト70と、ナット71と、座金21とからなる。
芯金14は固定用掛止部72を有し、Tボルト70は、弁体3を厚さ方向Aへ貫通せずに、固定用掛止部72に引っ掛けられることで、芯金14に取り付けられている。芯金14には、厚さ方向Aにおける表面に開口する凹部60が形成されている。凹部60は、弁棒4の軸心方向Dにおいて対向する一対の内面60a,60bを有している。
固定用掛止部72は、凹部60の下部の内面60aから上向きに立設され、弁体3の幅方向Cにおいて対向するように一対形成されている。Tボルト70の頭部70aが、厚さ方向Aにおいて対向する固定用掛止部72と凹部60の奥端面60cとの間に上方から嵌め込まれている。
凹部60内には、Tボルト70と上部の内面60bとの間のスペースを埋める脱落防止用部材73が嵌め込まれている。Tボルト70の先端部は、押え部材16の押え部材側ボルト用孔33に挿通され、ナット71に螺合している。尚、本第15の実施の形態におけるシール材15は、複数の開口部29を有しているが、上記第1の実施の形態で示したような固定部シール片30と渡し部31(図13参照)とを有していない。
以下、上記構成における作用を説明する。
Tボルト70は弁体3を厚さ方向Aに貫通していないため、弁体3を閉位置Sに移動して弁箱内流路5を閉じた際、弁箱2内の水が、弁体3の上流側からTボルト70と芯金14との間隙を伝って弁体3の下流側へ漏出することはない。したがって、シール材15に、上記第1の実施の形態で示したような固定部シール片30と渡し部31とを設ける必要は無い。
また、Tボルト70と上部の内面60bとの間のスペースは、凹部60内に嵌め込まれた脱落防止用部材73により、埋められている。このため、Tボルト70の頭部70aが一対の固定用掛止部72から外れてしまうのを防止することができ、Tボルト70の脱落を防止することができる。
さらに、Tボルト70を固定用掛止部72に引っ掛けることで芯金14に取り付けているので、固定手段69を取り付けるためのねじを芯金14に形成する必要は無く、したがって、粉体塗装しても固定手段69(Tボルト70)を芯金14に取り付けることができる。
(第16の実施の形態)
次に、第16の実施の形態を図42〜図44を参照して説明する。
各固定手段76は、L形状に屈曲した頭部77aを有するフックボルト77と、ナット78と、座金21とからなる。
芯金14は固定用掛止部79を有し、フックボルト77は、弁体3を厚さ方向Aへ貫通せずに、固定用掛止部79に引っ掛けられることで、芯金14に取り付けられている。芯金14には、厚さ方向Aにおける表面に開口する凹部60が形成されている。凹部60は、弁棒4の軸心方向Dにおいて対向する一対の内面60a,60bを有している。
固定用掛止部79は凹部60の下部の内面60aから上向きに立設されている。フックボルト77の頭部77aが、厚さ方向Aにおいて対向する固定用掛止部79と凹部60の奥端面60cとの間に上方から嵌め込まれている。
凹部60内には、フックボルト77と上部の内面60bとの間のスペースを埋める脱落防止用部材80が嵌め込まれている。フックボルト77の先端部は、押え部材16の押え部材側ボルト用孔33に挿通され、ナット78に螺合している。尚、本第16の実施の形態におけるシール材15は、複数の開口部29を有しているが、上記第1の実施の形態で示したような固定部シール片30と渡し部31(図13参照)とを有していない。
以下、上記構成における作用を説明する。
フックボルト77は弁体3を厚さ方向Aに貫通していないため、弁体3を閉位置Sに移動して弁箱内流路5を閉じた際、弁箱2内の水が、弁体3の上流側からフックボルト77と芯金14との間隙を伝って弁体3の下流側へ漏出することはない。したがって、シール材15に、上記第1の実施の形態で示したような固定部シール片30と渡し部31とを設ける必要は無い。
また、フックボルト77と上部の内面60bとの間のスペースは、凹部60内に嵌め込まれた脱落防止用部材80により、埋められている。このため、フックボルト77の頭部77aが固定用掛止部79から外れてしまうのを防止することができ、フックボルト77の脱落を防止することができる。
さらに、フックボルト77を固定用掛止部79に引っ掛けることで芯金14に取り付けているので、固定手段76を取り付けるためのねじを芯金14に形成する必要は無く、したがって、粉体塗装しても固定手段76(フックボルト77)を芯金14に取り付けることができる。
(第17の実施の形態)
次に、第17の実施の形態を図45,図46を参照して説明する。
固定手段56はUボルト57とナット58と座金21とからなる。固定用掛止部83は凹部60の下部の内面60aから上向きに立設されている。Uボルト57は凹部60内の奥側から固定用掛止部83に係止されている。凹部60内には、Uボルト57と上部の内面60bとの間のスペースを埋める脱落防止用部材84が嵌め込まれている。
尚、本第17の実施の形態におけるシール材15は、複数の開口部29を有しているが、上記第1の実施の形態で示したような固定部シール片30と渡し部31(図13参照)とを有していない。
これによると、上記第13の実施の形態と同様の作用・効果が得られる。
(第18の実施の形態)
次に、第18の実施の形態を図47,図48を参照して説明する。
固定用掛止部86は凹部60内に設けられ、固定用掛止部86にはボルト孔87が形成され、Uボルト57がボルト孔87に挿通されている。弁体3の厚さ方向Aにおける固定用掛止部86の外端面86aは芯金14の表面と面一である。押え部材16の一部は、固定部分において、ナット58と固定用掛止部86との間に挟み込まれ、固定用掛止部86の外端面86aと芯金14の表面とに当接して面接触している。
尚、本第18の実施の形態におけるシール材15は、複数の開口部29を有しているが、上記第1の実施の形態で示したような固定部シール片30と渡し部31(図13参照)とを有していない。
これによると、上記第13の実施の形態と同様の作用・効果が得られる。
(第19の実施の形態)
次に、第19の実施の形態を図49,図50を参照して説明する。
固定用掛止部86の外端面86aは芯金14の表面よりも凹部60の奥へ入り込んでいる。押え部材16の一部は、固定部分において、ナット58と芯金14の表面との間に挟み込まれ、芯金14の表面に当接して面接触しており、固定用掛止部86の外端面86aから離間している。
尚、本第19の実施の形態におけるシール材15は、複数の開口部29を有しているが、上記第1の実施の形態で示したような固定部シール片30と渡し部31(図13参照)とを有していない。
これによると、上記第13の実施の形態と同様の作用・効果が得られる。
(第20の実施の形態)
上記第13の実施の形態では、芯金14は、凹部60内に固定用掛止部59を有しているが、本第20の実施の形態では、図51,図52に示すように、芯金14は、厚さ方向Aにおける表面から外側へ突出する固定用掛止部89を有している。固定用掛止部89はシール材15の開口部29に挿入されている。固定用掛止部89にはボルト孔90が形成され、Uボルト57はボルト孔90に挿通されている。
押え部材16には二個一組の押え部材側ボルト用孔33が二組(複数組)形成されている。Uボルト57の両端部は押え部材側ボルト用孔33に挿通され、ナット58がUボルト57の両端部に螺合している。押え部材16の一部は、固定部分において、ナット58と固定用掛止部89との間に挟み込まれ、固定用掛止部89に当接して面接触している。
尚、本第20の実施の形態におけるシール材15は、複数の開口部29を有しているが、上記第1の実施の形態で示したような固定部シール片30と渡し部31(図13参照)とを有していない。
以下、上記構成における作用を説明する。
Uボルト57は弁体3を厚さ方向Aに貫通していないため、弁体3を閉位置Sに移動して弁箱内流路5を閉じた際、弁箱2内の水が、弁体3の上流側からUボルト57と芯金14との間隙を伝って弁体3の下流側へ漏出することはない。したがって、シール材15に、上記第1の実施の形態で示したような固定部シール片30と渡し部31とを設ける必要は無い。
また、Uボルト57を固定用掛止部89に引っ掛けることで芯金14に取り付けているので、固定手段56を取り付けるためのねじを芯金14に形成する必要は無い。したがって、芯金14に粉体塗装を施すことができる。尚、仮に芯金14にねじを形成すると、粉体塗装を施した場合、ねじが潰れてしまう虞がある。
上記各実施の形態では、固定手段17,56,62,69,76の一例として、ボルト19,57,63,70,77とナット20,58,64,71,78と座金21とを用いたが、別の例として、ピンやリベット或は止め輪等を用いてもよい。また、ボルト19,57,63,70,77とナット20,58,64,71,78のみを用いて、座金21を用いなくてもよい。
また、上記第13〜第20の実施の形態では、芯金14にねじ部が存在しない。このため、固定手段56,62,69,76(Uボルト57,アイボルト63,Tボルト70,フックボルト77)を、固定用掛止部59,65,72,79,83,86,89に、回転操作を行うことなく、非回転で引っ掛けることができる。
1 ソフトシール弁
2 弁箱
3 弁体
5 弁箱内流路
6 弁箱シート部
14 芯金(基材)
15 シール材
16 押え部材
17,56,62,69,76 固定手段
17a 一方の固定手段
17b 他方の固定手段
23 芯金側ボルト用孔(基材側固定用孔)
23a 一方の芯金側ボルト用孔(基材側固定用孔)
23b 他方の芯金側ボルト用孔(基材側固定用孔)
28 弁体シート部
29 開口部
30 固定部シール片
33 押え部材側ボルト用孔(押え部材側固定用孔)
48 スペーサー(間隔設定部材)
54 凹部
59,65,72,79,83,86,89 固定用掛止部
A 弁体の厚さ方向
B 芯金と押え部材との間隔
C 弁体の幅方向
S 閉位置

Claims (8)

  1. 弁箱内に、弁箱内の流路を横切る方向へ移動して弁箱内の流路を開閉する弁体と、弁箱シート部とが設けられ、
    弁体は、基材と、弁体の厚さ方向における基材の両表面に設けられ且つ弾性材からなるシール材と、シール材を基材の表面に押え付ける押え部材と、押え部材を基材に押圧して固定する固定手段とを備え、
    シール材は、基材の表面と押え部材との間に挟まれ、且つ、閉位置において弁箱シート部に当接する弁体シート部を有し、
    押え部材と基材とが当接している又は押え部材と基材との間に間隔設定部材が設けられていることにより、押え部材と基材との間隔が、弁体の厚さ方向において、設定された間隔に固定されていることを特徴とするソフトシール弁。
  2. シール材は開口部を有し、
    シール材の開口部を通じて押え部材が固定手段により基材に固定されていることを特徴とする請求項1記載のソフトシール弁。
  3. シール材は押え部材を挟持することによって押え部材に固定されていることを特徴とする請求項1又は請求項2に記載のソフトシール弁。
  4. シール材は押え部材に接着されることによって固定されていることを特徴とする請求項1又は請求項2に記載のソフトシール弁。
  5. 固定手段は、弁体の厚さ方向において、弁体を貫通していることを特徴とする請求項1から請求項4のいずれか1項に記載のソフトシール弁。
  6. 弁体は、厚さ方向における中途部に、弁体の幅方向において外側方に開口する凹部を有し、
    弁体の厚さ方向において、弁体の一方の表面から凹部に貫通する一方の固定手段と、弁体の他方の表面から凹部に貫通する他方の固定手段とが備えられ、
    一方の押え部材は一方の固定手段によって基材に固定され、
    他方の押え部材は他方の固定手段によって基材に固定されていることを特徴とする請求項1から請求項5のいずれか1項に記載のソフトシール弁。
  7. 基材に基材側固定用孔が形成され、
    押え部材に、弁体の厚さ方向において貫通する押え部材側固定用孔が形成され、
    固定手段は基材側固定用孔と押え部材側固定用孔とに挿通され、
    シール材は、固定手段と基材側固定用孔との間に流体が侵入することを防止する固定部シール片を有していることを特徴とする請求項1から請求項6のいずれか1項に記載のソフトシール弁。
  8. 基材は固定用掛止部を有し、
    固定手段は、弁体を厚さ方向へ貫通せずに、固定用掛止部に引っ掛けられることで、基材に取り付けられていることを特徴とする請求項1から請求項4のいずれか1項に記載のソフトシール弁。
JP2011074201A 2011-03-30 2011-03-30 ソフトシール弁 Active JP5713757B2 (ja)

Priority Applications (1)

Application Number Priority Date Filing Date Title
JP2011074201A JP5713757B2 (ja) 2011-03-30 2011-03-30 ソフトシール弁

Applications Claiming Priority (1)

Application Number Priority Date Filing Date Title
JP2011074201A JP5713757B2 (ja) 2011-03-30 2011-03-30 ソフトシール弁

Publications (2)

Publication Number Publication Date
JP2012207728A true JP2012207728A (ja) 2012-10-25
JP5713757B2 JP5713757B2 (ja) 2015-05-07

Family

ID=47187645

Family Applications (1)

Application Number Title Priority Date Filing Date
JP2011074201A Active JP5713757B2 (ja) 2011-03-30 2011-03-30 ソフトシール弁

Country Status (1)

Country Link
JP (1) JP5713757B2 (ja)

Cited By (3)

* Cited by examiner, † Cited by third party
Publication number Priority date Publication date Assignee Title
JP2014092262A (ja) * 2012-11-07 2014-05-19 Maezawa Ind Inc ソフトシール仕切弁
JP2014105709A (ja) * 2012-11-22 2014-06-09 Maezawa Ind Inc ソフトシール仕切弁
KR20180090681A (ko) * 2017-02-03 2018-08-13 이병순 디스크의 밀봉탄력을 높인 게이트밸브

Citations (7)

* Cited by examiner, † Cited by third party
Publication number Priority date Publication date Assignee Title
JPS4615034Y1 (ja) * 1967-06-23 1971-05-26
JPS55163576U (ja) * 1979-05-11 1980-11-25
US5085403A (en) * 1988-12-12 1992-02-04 R.M.I. Holland B.V. Gate valves
JP2000130591A (ja) * 1998-10-28 2000-05-12 Uchiyama Mfg Corp カバーガスケット
JP2002243042A (ja) * 2001-02-19 2002-08-28 Uchiyama Mfg Corp ガスケットの装着構造
JP2004138196A (ja) * 2002-10-18 2004-05-13 Yanmar Co Ltd ロッカーカバーの密封構造
JP2006170300A (ja) * 2004-12-15 2006-06-29 Yaskawa Electric Corp 筐体のシール装置とこれを用いた産業用ロボット

Patent Citations (7)

* Cited by examiner, † Cited by third party
Publication number Priority date Publication date Assignee Title
JPS4615034Y1 (ja) * 1967-06-23 1971-05-26
JPS55163576U (ja) * 1979-05-11 1980-11-25
US5085403A (en) * 1988-12-12 1992-02-04 R.M.I. Holland B.V. Gate valves
JP2000130591A (ja) * 1998-10-28 2000-05-12 Uchiyama Mfg Corp カバーガスケット
JP2002243042A (ja) * 2001-02-19 2002-08-28 Uchiyama Mfg Corp ガスケットの装着構造
JP2004138196A (ja) * 2002-10-18 2004-05-13 Yanmar Co Ltd ロッカーカバーの密封構造
JP2006170300A (ja) * 2004-12-15 2006-06-29 Yaskawa Electric Corp 筐体のシール装置とこれを用いた産業用ロボット

Cited By (4)

* Cited by examiner, † Cited by third party
Publication number Priority date Publication date Assignee Title
JP2014092262A (ja) * 2012-11-07 2014-05-19 Maezawa Ind Inc ソフトシール仕切弁
JP2014105709A (ja) * 2012-11-22 2014-06-09 Maezawa Ind Inc ソフトシール仕切弁
KR20180090681A (ko) * 2017-02-03 2018-08-13 이병순 디스크의 밀봉탄력을 높인 게이트밸브
KR101987100B1 (ko) 2017-02-03 2019-09-27 이병순 디스크의 밀봉탄력을 높인 게이트밸브

Also Published As

Publication number Publication date
JP5713757B2 (ja) 2015-05-07

Similar Documents

Publication Publication Date Title
US20140021392A1 (en) Two-stud diaphragm for diaphragm valves
JP4006218B2 (ja) 止め弁のシール構造
JP5713757B2 (ja) ソフトシール弁
TWI555936B (zh) 下段構件的固定裝置及具備該下段構件的固定裝置之流體控制裝置
JP5722701B2 (ja) ケーブルクランプ
US6874759B2 (en) Plug valve
JP2012041986A (ja) リニアガイド装置
KR101076451B1 (ko) 다중 시트를 이용한 양압 밀폐용 삼차 편심 버터플라이 밸브
JP2019167978A (ja) 流体デバイス
JP4879285B2 (ja) 反発性ダイヤフラムを備える弁
KR101810063B1 (ko) 파이프 커플링
JP5408443B2 (ja) バルブステムシール
KR101809810B1 (ko) 다이어프램 밸브
US20160208931A1 (en) Retaining device for sealing gasket in pressure regulating valve
JP6941515B2 (ja) 過圧縮防止構造を有するガスケットとその製造方法
KR20200137094A (ko) 설치가 용이한 파이프 커플링
JP2008082358A (ja) 流体機器モジュール、及び流体機器モジュール接続構造
JP2016525200A (ja) 加圧体付き加圧式シール
US10465722B2 (en) Multiple valve core, multiple valve and valve arrangement
JP4971002B2 (ja) 流体機器ユニット
JP2016217504A (ja) 逆止弁体及びそれを用いた逆止弁
CN112824719B (zh)
JP5986751B2 (ja) ソフトシール仕切弁
JP2014185738A (ja) 配管固定部材
JP5789571B2 (ja) 流体継手、流体機器マニホールド

Legal Events

Date Code Title Description
A621 Written request for application examination

Free format text: JAPANESE INTERMEDIATE CODE: A621

Effective date: 20130924

A131 Notification of reasons for refusal

Free format text: JAPANESE INTERMEDIATE CODE: A131

Effective date: 20140729

A977 Report on retrieval

Free format text: JAPANESE INTERMEDIATE CODE: A971007

Effective date: 20140730

A521 Written amendment

Free format text: JAPANESE INTERMEDIATE CODE: A523

Effective date: 20140916

TRDD Decision of grant or rejection written
A01 Written decision to grant a patent or to grant a registration (utility model)

Free format text: JAPANESE INTERMEDIATE CODE: A01

Effective date: 20150210

A61 First payment of annual fees (during grant procedure)

Free format text: JAPANESE INTERMEDIATE CODE: A61

Effective date: 20150310

R150 Certificate of patent or registration of utility model

Ref document number: 5713757

Country of ref document: JP

Free format text: JAPANESE INTERMEDIATE CODE: R150