JP2012190835A - 端子ボックス用端子 - Google Patents
端子ボックス用端子 Download PDFInfo
- Publication number
- JP2012190835A JP2012190835A JP2011050509A JP2011050509A JP2012190835A JP 2012190835 A JP2012190835 A JP 2012190835A JP 2011050509 A JP2011050509 A JP 2011050509A JP 2011050509 A JP2011050509 A JP 2011050509A JP 2012190835 A JP2012190835 A JP 2012190835A
- Authority
- JP
- Japan
- Prior art keywords
- terminal
- flat plate
- cable
- terminal box
- terminals
- Prior art date
- Legal status (The legal status is an assumption and is not a legal conclusion. Google has not performed a legal analysis and makes no representation as to the accuracy of the status listed.)
- Withdrawn
Links
- 230000017525 heat dissipation Effects 0.000 abstract description 11
- 238000005476 soldering Methods 0.000 abstract description 10
- 238000001816 cooling Methods 0.000 abstract description 3
- 230000020169 heat generation Effects 0.000 abstract description 3
- 230000002093 peripheral effect Effects 0.000 description 11
- 210000000078 claw Anatomy 0.000 description 8
- 239000007788 liquid Substances 0.000 description 7
- 238000004382 potting Methods 0.000 description 7
- 238000002788 crimping Methods 0.000 description 5
- 238000005452 bending Methods 0.000 description 3
- 239000000463 material Substances 0.000 description 3
- 229910000679 solder Inorganic materials 0.000 description 3
- 229920003002 synthetic resin Polymers 0.000 description 3
- 239000000057 synthetic resin Substances 0.000 description 3
- 230000037237 body shape Effects 0.000 description 2
- 230000008878 coupling Effects 0.000 description 2
- 238000010168 coupling process Methods 0.000 description 2
- 238000005859 coupling reaction Methods 0.000 description 2
- 238000010248 power generation Methods 0.000 description 2
- 230000001154 acute effect Effects 0.000 description 1
- 230000000903 blocking effect Effects 0.000 description 1
- 238000006073 displacement reaction Methods 0.000 description 1
- 238000004049 embossing Methods 0.000 description 1
- 238000003780 insertion Methods 0.000 description 1
- 230000037431 insertion Effects 0.000 description 1
- 238000009413 insulation Methods 0.000 description 1
- 238000005304 joining Methods 0.000 description 1
- 230000013011 mating Effects 0.000 description 1
- 239000002184 metal Substances 0.000 description 1
- 238000000034 method Methods 0.000 description 1
- 239000000758 substrate Substances 0.000 description 1
Images
Classifications
-
- Y—GENERAL TAGGING OF NEW TECHNOLOGICAL DEVELOPMENTS; GENERAL TAGGING OF CROSS-SECTIONAL TECHNOLOGIES SPANNING OVER SEVERAL SECTIONS OF THE IPC; TECHNICAL SUBJECTS COVERED BY FORMER USPC CROSS-REFERENCE ART COLLECTIONS [XRACs] AND DIGESTS
- Y02—TECHNOLOGIES OR APPLICATIONS FOR MITIGATION OR ADAPTATION AGAINST CLIMATE CHANGE
- Y02E—REDUCTION OF GREENHOUSE GAS [GHG] EMISSIONS, RELATED TO ENERGY GENERATION, TRANSMISSION OR DISTRIBUTION
- Y02E10/00—Energy generation through renewable energy sources
- Y02E10/50—Photovoltaic [PV] energy
Landscapes
- Photovoltaic Devices (AREA)
Abstract
【課題】端子ボックス用端子に電気素子を接続する場合の組み付け作業を容易にしかつ放熱性を確保する。
【解決手段】端子5を、ケーブル接続部5aと、拡幅部5b及び小幅部5c・5dからなる平板部とを有する形状に形成し、端子ボックスのボディ3の底面3aとの間に隙間を設けるように脚部5f・5gを形成する。拡幅部に係止孔5hを設け、底面に弾性係止片3bを立設し、互いに係合可能にして端子をボディに組み付ける。端子の平板部に電気素子の端子や本体を載置し易いため、電気素子の平板部への位置決めかつ半田付け作業が容易であると共に、脚部により平板部を端子ボックスの底面から離すことにより、平板部による放熱性を高めることができるため、電気素子の発熱に対する冷却性能を向上し、かつ放熱性を確保するための別部品を用いる必要が無いため組み付け作業も簡素化し得る。
【選択図】図1
【解決手段】端子5を、ケーブル接続部5aと、拡幅部5b及び小幅部5c・5dからなる平板部とを有する形状に形成し、端子ボックスのボディ3の底面3aとの間に隙間を設けるように脚部5f・5gを形成する。拡幅部に係止孔5hを設け、底面に弾性係止片3bを立設し、互いに係合可能にして端子をボディに組み付ける。端子の平板部に電気素子の端子や本体を載置し易いため、電気素子の平板部への位置決めかつ半田付け作業が容易であると共に、脚部により平板部を端子ボックスの底面から離すことにより、平板部による放熱性を高めることができるため、電気素子の発熱に対する冷却性能を向上し、かつ放熱性を確保するための別部品を用いる必要が無いため組み付け作業も簡素化し得る。
【選択図】図1
Description
本発明は、端子ボックス用端子に関し、特に、端子ボックス内に少なくとも2個以上設けられかつ互いに並列に配設される端子ボックス用端子に関するものである。
従来、装置間の電気的接続を行うために種々の形態の端子ボックスが用いられている。例えば太陽光発電システムの太陽電池パネルでは複数枚の太陽電池モジュールを縦横に並べ、各太陽電池モジュールにそれぞれ外部出力用ケーブルが接続される端子ボックスが取り付けられているものがある(例えば特許文献1参照)。
上記したような太陽電池モジュール用端子ボックスでは、合成樹脂製のケースの中に、太陽電池モジュールの正負の電極に接続されかつ外部出力用ケーブルが接続される2個の端子が設けられていると共に、端子間には電気素子としてのバイパスダイオードが接続されているものがある。そのような端子ボックスでは、太陽電池モジュールの数が多いため、コスト削減と生産性向上のため簡便な組み付け性が求められることから、バイパスダイオードの接続を簡単かつ確実に行うことができるようにすることが求められる。
また、バイパスダイオードの本体の形状には、円柱型のものと平板型のものとがある。円柱型のものでは、軸線方向両端面の軸心からそれぞれワイヤ状端子が延出されており、各ワイヤ状端子を隣り合う端子にそれぞれ載せた状態で半田付けすることができる。一方、平板型としては、表面実装型であり、上記特許文献1では、ねじ孔を有するブラケットを本体と一体的に設けて放熱ブロックにねじ止めし、本体から延出されている2本の端子を互いに隣接する各端子にそれぞれ半田付けしている。
上記円柱型のものでは径方向に厚みがあり、ワイヤ状端子を端子に半田付けした状態で端子ボックスの底面との間に空間が必要でありかつ例えばパッケージを工具で保持しながら半田付けすることになる。それに対して表面実装型の平板形状の場合には厚みは薄く、円柱型の場合のような空間を設ける必要はないが、半田付けのための位置決めは必要であり、上記特許文献1のようにねじ止めする場合にはその工程が煩雑化するという問題があった。
また、バイパスダイオードの放熱性を確保する必要があり、上記特許文献1の場合には放熱ブロックを設けているため、部品点数が増大し、組み付け作業も繁雑化するという問題があった。
このような課題を解決して、端子ボックス内に少なくとも2個以上設けられかつ互いに並列に配設される端子ボックス用端子に電気素子を接続する場合の組み付け作業を容易にしかつ放熱性を確保するために、本発明に於いては、端子ボックス内に少なくとも2個以上設けられかつ互いに並列に配設される端子であって、前記端子が、外部接続用ケーブルが接続されるケーブル接続部と、隣り合う前記端子間に設けられる電気素子の端子が半田付けされる平板部と、前記平板部が前記端子ボックスの底面との間に隙間を有して対峙するように前記平板部から突出するように形成された脚部とを有するものとした。
これによれば、電気素子を隣り合う端子間に接続する場合に、電気素子の本体から延出されている端子を平板部上に載置し易く、特に表面実装型の平板形状の素子の場合には本体を載置し易く、それにより半田付けも容易になるため組み付け作業が容易である。さらに、脚部により平板部を端子ボックスの底面から離すことにより、平板部による放熱性を高めることができるため、特に表面実装型の電気素子の発熱に対する冷却性能が向上し、かつ放熱性を確保するための別部品を用いる必要が無いため、組み付け作業も簡素化し得る。
特に、前記電気素子が表面実装型であり、前記平坦部に、前記電気素子の本体を位置決めするべく、当該本体の外縁に沿うように配置された位置決め用溝が設けられていると良い。これによれば、電気素子としての例えばバイパスダイオードの本体形状が平板型の場合には、平板部の上に載置することができるため、平板部に設けた位置決め用溝により本体を位置決めすることができ、所定の位置に容易に半田付けすることができる。
あるいは、前記電気素子が、互いに相反する方向に延出されたワイヤ状端子を有し、前記平坦部に、前記ワイヤ状端子を間に挟むように配置された少なくとも一対の位置決め用突部が、両隣りに前記電気素子が接続される場合に当該両隣りからの前記ワイヤ状端子を異なる位置に位置決めするべく、複数箇所に設けられていると良い。これによれば、電気素子としての例えばバイパスダイオードの本体形状が円筒型の場合には軸線方向に延出されたワイヤ状端子を、一対の位置決め用突部により挟んだ状態で位置決めすることができるため、端子の半田付け作業が容易になる。
このように本発明によれば、端子の平板部に電気素子の端子や本体を載置し易いため、電気素子の平板部への位置決めかつ半田付け作業が容易であると共に、脚部により平板部を端子ボックスの底面から離すことにより、平板部による放熱性を高めることができるため、電気素子の発熱に対する冷却性能を向上し、かつ放熱性を確保するための別部品を用いる必要が無いため組み付け作業も簡素化し得る。
以下、本発明の実施の形態を、図面を参照しながら説明する。図1は本発明に基づく端子ボックス1の組み立て分解斜視図であり、図2は、本発明が適用された太陽光発電システムにおける太陽電池モジュール2と端子ボックス1との接続を示す組み立て分解斜視図である。
図1及び図2に示されるように、端子ボックス1は、合成樹脂材の成形品からなり、図における上方に開口する扁平な矩形箱形のボディ3と、ボディ3の図における上面を覆うための矩形平板状のカバー4と、ボディ3の内部に固定される端子ボックス用端子(以下端子と称す)5が結合されている外部接続用ケーブル6をボディ3との間で固定するための各ケーブルクランプ7とにより構成されている。
本図示例では、4つの端子5がボディ3内に配設されるようになっており、各端子5の隣り合うものの間には本体が円柱型の電気素子としてのバイパスダイオード8が接続される。円柱型の場合には、図に示されるように軸線方向両端面から互いに相反する向きにワイヤ状端子8aがそれぞれ延出されている。
なお、バイパスダイオードとしては、図1の二点鎖線で示されるように本体が平板型のバイパスダイオード9がある。本図示例の平板型の場合には、相反する両側部から表裏面に沿う延長面上に各端子9a・9bがそれぞれ延出されている。図示例では、一方の端子9aは横長の平板状に形成されており、他方の端子9bは互いに平行な2本の突片からなる。図示例の本体及び端子9a・9bの形状等は一例であり、他の形状の表面実装型のバイパスダイオードも適用可能である。
端子5は、導電性の細長い金属製板材の適所を曲折して形成されている。図3(a)に示されるように、端子5の長手方向一端部には、ケーブル6の心線6aを受容し得る凹状部分とその両側に水平状に拡開する一対の翼状部分5jとを有する形状のケーブル接続部5aが設けられている。ケーブル接続部5aの凹状部分に心線6aを落とし込むように位置させて、両側に拡開する一対の翼状部分に亘って半田を盛るようにして半田結合を行う。また、図示されない圧着機により圧着結合する場合には、図3(b)に示されるように、ケーブル接続部5aの形状を、心線6aを位置させる凹状部分の両側に拡開する一対の翼状部分5jが斜めに拡がるように形成しておく。これにより、圧着機により容易に一対の翼状部分を心線6aに被せるように変形させて圧着結合することができる。このように半田付けまたは圧着のいずれかを選択することができる。
端子5の長手方向中間部には他の部分より拡幅された拡幅部5bが設けられ、拡幅部5bの圧着片5a側には第1小幅部5cが設けられ、拡幅部5bの第1小幅部5cとは相反する側(端子5の先端側)には第2小幅部5dが設けられ、第2小幅部5dより端子5の先端側には幅方向(長手方向に直交しかつ上面に沿う方向)に横長板状の頭部5eが設けられている。これら拡幅部5bと各小幅部5c・5dと頭部5eとの各上面が連続する同一平坦面となり、拡幅部5bと各小幅部5c・5dと頭部5eとにより平坦部が構成されている。
拡幅部5bの両側縁には、両側部分を下面側に曲折してコ字状断面形状に形成された脚部5fが設けられている。第1及び第2小幅部5c・5dの各両側縁にも、両側部分を下面側に曲折して矩形の略閉断面形状に形成された各脚部5gが設けられている。これら各脚部5f・5gの高さ(図3のh)は同一にされており、端子5をボディ3に配設した状態で、平坦部(5b・5c・5d・5e)とボディ3の底面3aとの間に一定の隙間が生じるようになっている。
拡幅部5bの中央部には、長手方向に互いに離間した2箇所に係止孔5hが設けられており、頭部5eには、中央部分に切り込みを入れて舌片状に形成されかつ斜め下側に曲折された端子接続片5iが設けられている。この端子接続片5iに、図2に示される太陽電池モジュール2のリボンケーブル状の正負の接続線2a・2b・2c・2dの対応する方が半田付けにより接続される。なお、ボディ3は、太陽電池モジュール2の接着面2eに接着固定される。
また、ボディ3の底面3aには、各端子5が配設される部分に対応して各一対の弾性係止片3bがそれぞれ立設されている。弾性係止片3bの突出端部には側方に突形状をなしかつ上方に先細りされた爪部が形成されており、端子5を図1の矢印Aに示されるようにボディ3に入れて、脚部5f・5gが底面3aに当接した状態で、図3〜図5に示されるように弾性係止片3bの爪部が係止孔5hに係合し、端子5が抜け止めかつ位置決めされて組み付けられる。なお、脚部5f・5gの高さに応じて、弾性係止片3bの全長(高さ)も長いため、弾性係止片3bが撓み易く、端子5の組み付け作業が容易となる。
上記したようにして4つの端子5が組み付けられることにより、図2に示されるように隣り合う端子5間となる3箇所にバイパスダイオード8がそれぞれ接続される。図の実線で示された円柱型のバイパスダイオード8の場合には、ワイヤ状端子8aの一方が隣接する一方の端子5に半田付けされ、ワイヤ状端子の他方が隣接する他方の端子5に半田付けされる。
端子5には、上記ワイヤ状端子8aを半田付けする際の位置決めとして、各小幅部5c・5dの上面に各一対の位置決め用突部11が設けられている。位置決め用突部11は、例えばエンボス加工により形成される。一対の位置決め用突部11は、端子5の長手方向に略直交する方向に延在するように載置されるワイヤ状端子8aを径方向に挟むように位置しかつワイヤ状端子8aの延在方向に互いに離れて位置するように配置されている。これにより、バイパスダイオード8の隣り合う端子5間に架け渡されるようになる両ワイヤ状端子8aがそれぞれワイヤ状端子8aの延在方向に離れた位置で一対の位置決め用突部11により挟まれた状態になるため、バイパスダイオード8の位置決め状態が安定する。
また、隣り合う端子5の各小幅部5c・5dの間にバイパスダイオード8の円柱型の本体が収まるようになっている。したがって、端子5の上面に対してバイパスダイオード8の略下半分が底面3a側に突出するようになるため、底面3aには、バイパスダイオード8の下半分を両側から受けるように臨む斜面または凹面を有する各一対の突状部12が配設されている。一対の突状部12によりバイパスダイオード8の円筒状の本体が略位置決めされるようになるため、上記ワイヤ状端子8aを各一対の位置決め用突部11間に位置させることがより一層容易となる。
拡幅部5bの上面の幅方向一端側には、コ字状に配置された3本の位置決め用溝13が設けられている。これら位置決め用溝13は、平板型のバイパスダイオード9の本体の矩形形状に対応させていると共に、コ字状の開いた側を端子5の側方に向けるように配置されている。バイパスダイオード9の本体は、表面実装型として基板等の平面上に載置されるように形成されていることから、拡幅部5bの平坦な上面に載置可能である。バイパスダイオード9の本体を3本の位置決め用溝13に囲まれるように位置させることにより、所定の位置にバイパスダイオード9を位置決めすることができ。各端子9a・9bの拡幅部5bの上面への半田付けも所定の位置に行うことができ、平板型のバイパスダイオード9の位置決めかつ半田付け作業が容易となる。
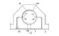
ボディ3の下面(カバー4側とは相反する側の面)には、太陽電池モジュール2のリボンケーブル状の正負の接続線2a・2b・2c・2dをボディ3内に通すための開口3cと、図1の矢印Bに示されるようにケーブルクランプ7を嵌め込むための凹設部3dとが設けられている。凹設部3dは、直方体状部分とその底面にさらに半円筒状に凹設された第1半円筒部18とからなるように形成されている(図6参照)。なお、第1半円筒部18は、ケーブル6の外周面を略隙間無く外囲し得る大きさであって良い。
また、本実施形態のように屋外に設置される機器に組み付けられる端子ボックスでは、水密性による絶縁性の確保が必要となり、図示例では、ボディ3の外周壁の内側に全周に亘って閉じられた内壁3eの内側に端子5やバイパスダイオード8が受容されていることから、内壁3eの内部にポッティング液(合成樹脂材)を充填するポッティングを行うようにしている。
端子5の係止孔5hには弾性係止片3bの爪部が挿通状態になり、爪部の先端部が係止孔5hの縁部に係合するようになっていることにより、弾性係止片3bの背面(爪部とは相反する側)と係止孔5hとの間に開口が生じ得る(図4参照)。この開口を介して上記ポッティング液が流れ得るので、ポッティング液の回り込みが好適に行われる。
また、上記したケーブルクランプ7は、矩形の厚板状部材の片面に上記第1半円筒部18と対称形をなすようにケーブル6の外周面の半周分に対応する半円筒状に凹設された第2半円筒部19を有する形状に形成されている。図6に併せて示されるように、第2半円筒部19の内周面には、軸線方向(ケーブル6の軸線方向)中間部に周方向に延在する円弧状突条14aが設けられていると共に、内壁3cの内部側となる軸線方向端部に上記と同様の形状で互いに隣接する一対の円弧状突条14bが設けられている。また、ケーブルクランプ7の外面における凹設部3dに没入する没入方向端面と両側面とに、上記一対の円弧状突条14bに対応する位置に突壁部14cが設けられている。
上記第1半円筒部18の内周面には、半円筒の軸線方向(ケーブル6の軸線方向)中間部にて半周方向に延在する一対の円弧状突条14dが設けられていると共に、内壁3eの内側となる軸線方向端部にて半周方向に延在しかつ互いに隣接する一対の円弧状突条14eが設けられている。また、凹設部3dにおけるケーブルクランプ6を受容する直方体状部分において、ケーブルクランプ7を受け止める両側の段部と、ケーブルクランプ7を側方から挟む側面とに、上記突壁部14cを嵌合状態に受容する溝14fが設けられている。
なお、ケーブルクランプ7の両側壁部分の外側面に係合爪7aが形成され、凹設部3dの対応する両内側壁面に係合凹部3fが形成されており、ケーブルクランプ7を凹設部3fに没入させることにより係合爪7aと係合凹部3fとが係合し、ボディ3にケーブルクランプ7が組み付けられる。
このようにして、凹設部3dとケーブルクランプ7との各半円筒部18・19によりケーブル6を外囲する形で挟持することができ、かつ各半円筒部18・19の内周面に設けている各円弧状突条14a・14b・14d・14eがケーブル5の被覆の外周面に対して全周に亘って径方向に食い込むようになる(図7参照)。これにより、ポッティング液がケーブル5の外周面を軸線方向に伝わって漏れ出ようとする場合に、内壁2c側の各円弧状突条14b・14eにて遮断し得ると共に、さらに外側の各円弧状突条14a・14dでも遮断する二重遮断構造としていることから、ポッティング液の漏洩を確実に防止することができる。さらに、ケーブルクランプ7の突壁部14cと凹設部3dの溝14fとの嵌合部分がラビリンス構造となり、ケーブルクランプ7と凹設部3dとの隙間からの漏れも防止される。
また、各半円筒部18・19による挟持状態では、ケーブル6の被覆の弾性復元力によりケーブルクランプ7が凹設部3dから押し出される向きの付勢力を受けるが、その付勢方向は係合爪7aが係合凹部3fに係合力を増す向きとなる。したがって、係合爪7aと係合凹部3fとの係合力がより一層強固なものとなり、ケーブルクランプ7の固定状態がより一層強固なものとなる。また、第1半円筒部18に設けられた上記一対の円弧状突条14dは第2半円筒部19の円弧状突状14aに対して軸線方向に異なりかつ互い違いに位置するように配設されている。これにより、ケーブル6を蛇行状態で径方向に挟持することになる。
さらに、図7に示されるように、円弧状突状14dの断面形状は台形に形成され、かつ台形における第1半円筒部18の内周面に直交する壁面が、ケーブル6が引き抜かれる方向(図の矢印C)とは相反する側に設けられている。このように、円弧状突条14dの突出方向端部のケーブル6の引き抜き方向とは相反する側に、直角となる角部15が形成されている。これにより、ケーブル6に外力による引き抜き力が加わっても、角部15にケーブル6の外周面が食い込んで抵抗となり、ケーブル6の抜け止めが強固なものとなる。このように、各円弧状突状14a・14dの好適な配置及び形状により、ケーブルクランプ6と凹設部3dとによる挟持力を高めることなく、ケーブル6の耐引き抜き力を高めることができるため、ケーブルクランプ6の凹設部3dとの間の挟持方向の荷重を小さくすることができる。したがって、ケーブルクランプ7の凹設部3dへの組み付け力(図1の矢印B方向の挿入力)を軽減することができ、組み付け作業性が向上し得る。なお、角部15の角度は図示例では直角としたが、直角を含む鋭角であれば良い。
さらに、第1半円筒部18の内周面における一対の円弧状突条14dの間には軸線方向に延在する互いに平行な一対の軸線方向突条14gが設けられている。これら一対の軸線方向突条14gは、第2半円筒部19の円弧状突条14aに対向する位置に設けられており、ケーブルクランプ7の組み付け状態で円弧状突条14aと軸線方向突条14gとによりケーブル6の径方向対称位置が押圧される。これにより、ケーブル6の軸線周りの変位が防止され、ケーブル6が、ケーブルクランプ7と凹設部3dとにより強固に固定される。
また、図6及び図8(ケーブル6は図示省略)に示されるように、第2半円筒部19の円弧状突条14bの周方向端面16が円弧状突条14bの円の接線に直交する面で形成されているのに対して、円弧状突条14dの周方向端面17は、周方向端面16に対して後退する傾斜面により形成されている。これにより、ケーブルクランプ7を凹設部3dに組み付けた状態で、両円弧状突条14b・14eの互いに対向する両周方向端面16・17間に楔形の隙間が形成され、両端面16・17がケーブル6の外周面に対して拡開状になるため、両円弧状突条14b・14eによりケーブル6を押圧して挟持した場合にケーブル6の被覆の一部が膨出するように変形しても、その膨出部分が両周方向端面16・17間の隙間に逃げることができ、凹設部3dとケーブルクランプ7との合わせ面によりケーブル6の被覆を挟み込んで傷付けてしまうことがないと共に、挟み込んだ場合のポッティング液の漏洩を防止し得る。
1 端子ボックス
3 ボディ
3a 底面
5 端子
5a ケーブル接続部
5b 拡幅部
5c・5d 小幅部
5f・5g 脚部
6 ケーブル
8・9 バイパスダイオード
8a ワイヤ状端子
11 位置決め用突部
13 位置決め用溝
3 ボディ
3a 底面
5 端子
5a ケーブル接続部
5b 拡幅部
5c・5d 小幅部
5f・5g 脚部
6 ケーブル
8・9 バイパスダイオード
8a ワイヤ状端子
11 位置決め用突部
13 位置決め用溝
Claims (3)
- 端子ボックス内に少なくとも2個以上設けられかつ互いに並列に配設される端子であって、
前記端子が、外部接続用ケーブルが接続されるケーブル接続部と、隣り合う前記端子間に設けられる電気素子の接続端子が半田付けされる平板部と、前記平板部が前記端子ボックスの底面との間に隙間を有して対峙するように前記平板部から突出するように形成された脚部とを有することを特徴とする端子ボックス用端子。 - 前記電気素子が表面実装型であり、
前記平坦部に、前記電気素子の本体を位置決めするべく、当該本体の外縁に沿うように配置された位置決め用溝が設けられていることを特徴とする請求項1に記載の端子ボックス用端子。 - 前記電気素子が、互いに相反する方向に延出されたワイヤ状端子を有し、
前記平坦部に、前記ワイヤ状端子を間に挟むように配置された少なくとも一対の位置決め用突部が、両隣りに前記電気素子が接続される場合に当該両隣りからの前記ワイヤ状端子を異なる位置に位置決めするべく、複数箇所に設けられていることを特徴とする請求項1に記載の端子ボックス用端子。
Priority Applications (1)
| Application Number | Priority Date | Filing Date | Title |
|---|---|---|---|
| JP2011050509A JP2012190835A (ja) | 2011-03-08 | 2011-03-08 | 端子ボックス用端子 |
Applications Claiming Priority (1)
| Application Number | Priority Date | Filing Date | Title |
|---|---|---|---|
| JP2011050509A JP2012190835A (ja) | 2011-03-08 | 2011-03-08 | 端子ボックス用端子 |
Publications (1)
| Publication Number | Publication Date |
|---|---|
| JP2012190835A true JP2012190835A (ja) | 2012-10-04 |
Family
ID=47083726
Family Applications (1)
| Application Number | Title | Priority Date | Filing Date |
|---|---|---|---|
| JP2011050509A Withdrawn JP2012190835A (ja) | 2011-03-08 | 2011-03-08 | 端子ボックス用端子 |
Country Status (1)
| Country | Link |
|---|---|
| JP (1) | JP2012190835A (ja) |
Cited By (2)
| Publication number | Priority date | Publication date | Assignee | Title |
|---|---|---|---|---|
| WO2016103626A1 (ja) * | 2014-12-24 | 2016-06-30 | パナソニックIpマネジメント株式会社 | 端子ボックスおよびそれを利用した端子ボックス付太陽電池モジュール |
| WO2017164151A1 (ja) * | 2016-03-25 | 2017-09-28 | パナソニックIpマネジメント株式会社 | 端子ボックス |
-
2011
- 2011-03-08 JP JP2011050509A patent/JP2012190835A/ja not_active Withdrawn
Cited By (2)
| Publication number | Priority date | Publication date | Assignee | Title |
|---|---|---|---|---|
| WO2016103626A1 (ja) * | 2014-12-24 | 2016-06-30 | パナソニックIpマネジメント株式会社 | 端子ボックスおよびそれを利用した端子ボックス付太陽電池モジュール |
| WO2017164151A1 (ja) * | 2016-03-25 | 2017-09-28 | パナソニックIpマネジメント株式会社 | 端子ボックス |
Similar Documents
| Publication | Publication Date | Title |
|---|---|---|
| US7365965B2 (en) | Terminal box for a solar battery module, a rectifying-device unit | |
| JP5945710B2 (ja) | キャパシタモジュール | |
| US8647160B2 (en) | Connection terminal, terminal connection structure, and terminal box | |
| CN101305473B (zh) | 用于太阳能电池模块的端子盒 | |
| JP5759119B2 (ja) | 端子ボックスのポッティング液漏洩防止構造 | |
| JP5825991B2 (ja) | 蓄電池用の電線配索構造 | |
| US9853296B2 (en) | Heat exchanger for a battery unit | |
| KR20090096732A (ko) | 배터리 팩 | |
| JP6282794B2 (ja) | 蓄電素子及びその製造方法 | |
| JP2019519915A (ja) | 外部電気コネクタを有する光起電力モジュール | |
| JP5670228B2 (ja) | 端子ボックス | |
| JP6107442B2 (ja) | 蓄電モジュール | |
| JP2011082210A (ja) | 太陽電池モジュール用端子ボックス | |
| JP2012190835A (ja) | 端子ボックス用端子 | |
| JP2012094740A (ja) | ケーブル接続構造 | |
| JP5608002B2 (ja) | 端子ボックス | |
| JP2006059990A (ja) | 太陽電池モジュール用端子ボックス | |
| JP2006049621A (ja) | 太陽電池モジュール用端子ボックス | |
| JP6307573B1 (ja) | ケーブル固定構造 | |
| JP5890637B2 (ja) | 端子ボックスにおける端子部材の取付構造 | |
| JP6226573B2 (ja) | 蓄電モジュール | |
| JP5541597B2 (ja) | 太陽電池モジュール用端子ボックスの出力ケーブル固定構造 | |
| JP4948492B2 (ja) | 太陽電池モジュール用端子ボックスのダイオード接続構造 | |
| JP6118995B2 (ja) | キャパシタモジュール | |
| JP7645496B2 (ja) | コンデンサ |
Legal Events
| Date | Code | Title | Description |
|---|---|---|---|
| A300 | Application deemed to be withdrawn because no request for examination was validly filed |
Free format text: JAPANESE INTERMEDIATE CODE: A300 Effective date: 20140513 |