JP2012159757A - カラーフィルタ、液晶表示装置およびカラーフィルタの製造方法 - Google Patents
カラーフィルタ、液晶表示装置およびカラーフィルタの製造方法 Download PDFInfo
- Publication number
- JP2012159757A JP2012159757A JP2011020392A JP2011020392A JP2012159757A JP 2012159757 A JP2012159757 A JP 2012159757A JP 2011020392 A JP2011020392 A JP 2011020392A JP 2011020392 A JP2011020392 A JP 2011020392A JP 2012159757 A JP2012159757 A JP 2012159757A
- Authority
- JP
- Japan
- Prior art keywords
- colored layer
- colored
- color filter
- pillar
- layer
- Prior art date
- Legal status (The legal status is an assumption and is not a legal conclusion. Google has not performed a legal analysis and makes no representation as to the accuracy of the status listed.)
- Granted
Links
Images
Landscapes
- Liquid Crystal (AREA)
- Optical Filters (AREA)
Abstract
【解決手段】基板と、前記基板上にこの順に形成される第1〜第3の着色層と、を有し、表示領域に隣接して額縁部が形成されるカラーフィルタであって、前記第1〜第3の着色層を用いてブラックマトリクス、画素部、前記額縁部を構成し、前記表示領域にある前記第1〜第3の着色層が積層して、メイン柱を構成し、前記表示領域にある前記第1〜第3の着色層のうち、2以上の着色層が積層してなり、前記メイン柱より低いサブ柱を構成し、前記額縁部にある前記第1〜第3の着色層のうち、2以上の着色層が積層してなり、前記サブ柱よりも低い額縁柱を構成することを特徴とするカラーフィルタである。
【選択図】図4
Description
(1)基板と、前記基板上にこの順に形成される第1の着色層、第2の着色層及び第3の着色層と、を少なくとも有し、表示領域に隣接して額縁部が形成されるカラーフィルタであって、前記表示領域にある前記第1の着色層、前記第2の着色層及び前記第3の着色層のうち2つの着色層が積層して、ブラックマトリクスを構成し、前記表示領域にある前記第1の着色層、前記第2の着色層及び前記第3の着色層のうちいずれか1つの着色層により、画素部を構成し前記第1の着色層、前記第2の着色層及び前記第3の着色層のうち2以上の着色層が積層して、前記額縁部を構成し、前記表示領域にある前記第1の着色層、前記第2の着色層及び前記第3の着色層が積層して、メイン柱を構成し、前記表示領域にある前記第1の着色層、前記第2の着色層及び前記第3の着色層のうち、2以上の着色層が積層して、前記メイン柱より低いサブ柱を構成し、前記額縁部にある前記第1の着色層、前記第2の着色層及び前記第3の着色層のうち、2以上の着色層が積層して、前記メイン柱より低い額縁柱を構成することを特徴とするカラーフィルタ。
(2)前記サブ柱を構成する前記第3の着色層の底面積が、前記メイン柱を形成する前記第3の着色層よりも小さいことを特徴とする(1)に記載のカラーフィルタ。
(3)前記サブ柱を構成する前記第2の着色層が、前記画素部を形成する前記第2の着色層から離れた突起状であることを特徴とする(1)に記載のカラーフィルタ。
(4)前記サブ柱を構成する前記第2の着色層の幅が、前記メイン柱を構成する前記第2の着色層の幅より、狭いことを特徴とする(1)に記載のカラーフィルタ。
(5)前記サブ柱を構成する前記第1の着色層及び/又は前記第2の着色層に、孔部が設けられていることを特徴とする(1)に記載のカラーフィルタ。
(6)前記サブ柱を構成する前記第1の着色層の厚さが、前記メイン柱を構成する前記第1の着色層の厚さよりも薄いことを特徴とする(1)に記載のカラーフィルタ。
(7)前記サブ柱を構成する前記第2の着色層の厚さが、前記メイン柱を構成する前記第2の着色層の厚さよりも薄いことを特徴とする(1)に記載のカラーフィルタ。
(8)さらに、前記基板上に前記第3の着色層の次に形成される第4の着色層を有し、前記表示領域にある前記第1の着色層、前記第2の着色層、前記第3の着色層及び前記第4の着色層のうち2つの着色層が積層して、ブラックマトリクスを構成し、前記表示領域にある前記第1の着色層、前記第2の着色層、前記第3の着色層及び前記第4の着色層のうちいずれか1つの着色層により、画素部を構成し前記第1の着色層、前記第2の着色層、前記第3の着色層及び前記第4の着色層のうち2以上の着色層が積層して、前記額縁部を構成し、前記表示領域にある前記第1の着色層、前記第2の着色層、前記第3の着色層及び前記第4の着色層のうち、3以上の着色層が積層して、メイン柱を構成し、前記表示領域にある前記第1の着色層、前記第2の着色層、前記第3の着色層及び前記第4の着色層のうち、2以上の着色層が積層してなり、前記メイン柱より低いサブ柱を構成し、前記額縁部にある前記第1の着色層、前記第2の着色層、前記第3の着色層及び前記第4の着色層のうち、2以上の着色層が積層してなり、前記メイン柱よりも低い額縁柱を構成することを特徴とする(1)〜(7)のいずれかに記載のカラーフィルタ。
(9)前記額縁部を構成する、前記第1の着色層、前記第2の着色層、前記第3の着色層及び前記第4の着色層のうちの2以上の着色層のうち、少なくとも1つの着色層の厚さが、前記画素部を構成する前記第1の着色層、前記第2の着色層、前記第3の着色層及び前記第4の着色層のうち対応する着色層の厚さよりも薄いことを特徴とする(1)〜(8)のいずれかに記載のカラーフィルタ。
(10)さらに、前記額縁部の周縁にある周縁部に、前記第1の着色層、前記第2の着色層及び前記第3の着色層、または、前記第1の着色層、前記第2の着色層、前記第3の着色層及び第4の着色層のうち2以上の着色層が積層してなる周縁部柱を有することを特徴とする(1)〜(9)のいずれかに記載のカラーフィルタ。
(11)前記メイン柱の頂部と、前記画素部の表面との高さの差であるセルギャップが1.5〜5.0μmであることを特徴とする(1)〜(10)のいずれかに記載のカラーフィルタ。
(12)さらに、前記第1の着色層、前記第2の着色層及び前記第3の着色層、または、前記第1の着色層、前記第2の着色層、前記第3の着色層及び第4の着色層の上にオーバーコート層を有し、前記メイン柱の頂部のオーバーコート層の表面と、前記画素部の上のオーバーコート層の表面との高さの差であるセルギャップが1.5〜5.0μmであることを特徴とする(1)〜(10)のいずれかに記載のカラーフィルタ。
(13)(1)〜(12)のいずれかに記載のカラーフィルタを有することを特徴とする液晶表示装置。
(14)基板上に、少なくとも第1の着色層、第2の着色層及び第3の着色層を形成し、表示領域と、前記表示領域に隣接する額縁部と、を形成するカラーフィルタの製造方法であって、前記表示領域にある前記第1の着色層、前記第2の着色層及び前記第3の着色層のうち2つの着色層が積層して、ブラックマトリクスを構成し、前記表示領域にある前記第1の着色層、前記第2の着色層及び前記第3の着色層のうちいずれか1つの着色層により、画素部を構成し前記第1の着色層、前記第2の着色層及び前記第3の着色層のうち2以上の着色層が積層して、前記額縁部を構成し、前記表示領域にある前記第1の着色層、前記第2の着色層及び前記第3の着色層が積層して、メイン柱を構成し、前記表示領域にある前記第1の着色層、前記第2の着色層及び前記第3の着色層のうち、2以上の着色層が積層して、前記メイン柱より低いサブ柱を構成し、前記額縁部にある前記第1の着色層、前記第2の着色層及び前記第3の着色層のうち、2以上の着色層が積層して、前記メイン柱より低い額縁柱を構成することを特徴とするカラーフィルタの製造方法。
(15)前記サブ柱を構成する前記第3の着色層の底面積を、前記メイン柱を形成する前記第3の着色層よりも小さいように形成することを特徴とする(14)に記載のカラーフィルタの製造方法。
(16)前記サブ柱を構成する前記第2の着色層を、前記画素部を形成する前記第2の着色層から離れた突起状に形成することを特徴とする(14)に記載のカラーフィルタの製造方法。
(17)前記サブ柱を構成する前記第2の着色層の幅を、前記メイン柱を構成する前記第2の着色層の幅より、狭く形成することを特徴とする(14)に記載のカラーフィルタの製造方法。
(18)前記サブ柱を構成する前記第1の着色層に、孔部を設けることを特徴とする(14)に記載のカラーフィルタの製造方法。
(19)階調マスクを用いて、前記サブ柱を構成する前記第1の着色層の厚さが、前記メイン柱を構成する前記第1の着色層の厚さよりも薄いように形成することを特徴とする(14)に記載のカラーフィルタの製造方法。
(20)階調マスクを用いて、前記サブ柱を構成する前記第2の着色層の厚さを、前記メイン柱を構成する前記第2の着色層の厚さよりも薄いように形成することを特徴とする(14)に記載のカラーフィルタの製造方法。
(21)さらに、前記基板上に前記第3の着色層の次に第4の着色層を形成し、前記表示領域にある前記第1の着色層、前記第2の着色層、前記第3の着色層及び前記第4の着色層のうち2つの着色層が積層して、ブラックマトリクスを構成し、前記表示領域にある前記第1の着色層、前記第2の着色層、前記第3の着色層及び前記第4の着色層のうちいずれか1つの着色層により、画素部を構成し前記第1の着色層、前記第2の着色層、前記第3の着色層及び前記第4の着色層のうち2以上の着色層が積層して、前記額縁部を構成し、前記表示領域にある前記第1の着色層、前記第2の着色層、前記第3の着色層及び前記第4の着色層のうち、3以上の着色層が積層して、メイン柱を構成し、前記表示領域にある前記第1の着色層、前記第2の着色層、前記第3の着色層及び前記第4の着色層のうち、2以上の着色層が積層してなり、前記メイン柱より低いサブ柱を構成し、前記額縁部にある前記第1の着色層、前記第2の着色層、前記第3の着色層及び前記第4の着色層のうち、2以上の着色層が積層してなり、前記メイン柱よりも低い額縁柱を構成することを特徴とする(14)〜(20)のいずれかに記載のカラーフィルタの製造方法。
(22)階調マスクを用いて、前記額縁部を構成する、前記第1の着色層、前記第2の着色層、前記第3の着色層及び第4の着色層のうちの2以上の着色層のうち、少なくとも1つの着色層の厚さを、前記画素部を構成する前記第1の着色層、前記第2の着色層、前記第3の着色層及び第4の着色層のうち対応する着色層の厚さよりも薄いように形成することを特徴とする(14)〜(21)のいずれかに記載のカラーフィルタの製造方法。
(23)さらに、前記額縁部の周縁に、前記第1の着色層、前記第2の着色層及び前記第3の着色層、または、前記第1の着色層、前記第2の着色層、前記第3の着色層及び前記第4の着色層のうち2以上の着色層が積層してなる周縁部柱を形成することを特徴とする(14)〜(22)のいずれかに記載のカラーフィルタの製造方法。
以下、図面を参照しながら、本発明の第1の実施形態について説明する。本発明のカラーフィルタは、カラーフィルタと、液晶駆動側基板(不図示)と、カラーフィルタと液晶駆動側基板との間に形成される液晶層(不図示)とを具備し、カラーフィルタと液晶駆動側基板に対し垂直または水平な方向に電界を発生させ、液晶を駆動させる液晶表示装置(不図示)におけるカラーフィルタとして説明する。つまり、VA方式においては、カラーフィルタに、さらに透明電極層(共通電極として作用する)とリブ(液晶分子の配向制御用の突起)を設け、カラーフィルタの共通電極と液晶駆動側基板の画素電極との間に、カラーフィルタに対して垂直な方向に電界を発生させる。TN方式においては、カラーフィルタに、さらに透明電極層(共通電極として作用する)を設け、カラーフィルタの共通電極と液晶駆動側基板の画素電極との間に、カラーフィルタに対して垂直な方向に電界を発生させる。また、IPS方式においては、カラーフィルタにオーバーコート層を設け、液晶駆動側基板の櫛歯状の共通電極と画素電極との間に、カラーフィルタと液晶駆動側基板に対し水平な方向に電界を発生させる。
まず、図1を参照して、第1の実施形態に係るカラーフィルタ1について説明する。図1(a)は、第1の実施形態に係るカラーフィルタ1の概略平面図であり、図1(b)は、カラーフィルタ1の部分的な概略平面図である。なお、各図面は、各構成要素を模式的に示したもので、実際の大きさや相対的な大きさの比率を正確に示したものではない。
サブ柱13は、表示領域3のブラックマトリクス5にあり、カラーフィルタと液晶駆動側基板とを貼り合わせる際に、メイン柱の補助として働き、セルギャップが狭くなりすぎることを防ぐ。そのため、サブ柱13は、メイン柱11よりも低い。また、液晶パネルとした際には、メイン柱が塑性変形するほどの荷重がかからないよう、パネルを指などで押された際に、荷重を分散する効果を有する。
額縁柱15は、額縁部6にあり、液晶パネルの額縁部6付近において、セルギャップが変化するのを防ぐ。額縁柱15は、メイン柱11よりも低い。
周縁部柱17は、カラーフィルタと液晶駆動側基板とを貼り合わせる際に、周縁部7の基板に過大な荷重がかかり、破損することを防ぐ。つまり、通常の張り合わせ工程は、パネルごとに切断する前の状態で行われるため、基板が過大にたわむことを防ぐために、周縁部7にも柱が必要である。周縁部柱17は、メイン柱11よりも低い。
なお、メイン柱、サブ柱、額縁柱、周縁部柱は、図1においては円形で示されているが、前述した機能を有するのであれば形状は問わない。例えば楕円形、正方形、長方形などでもよい。
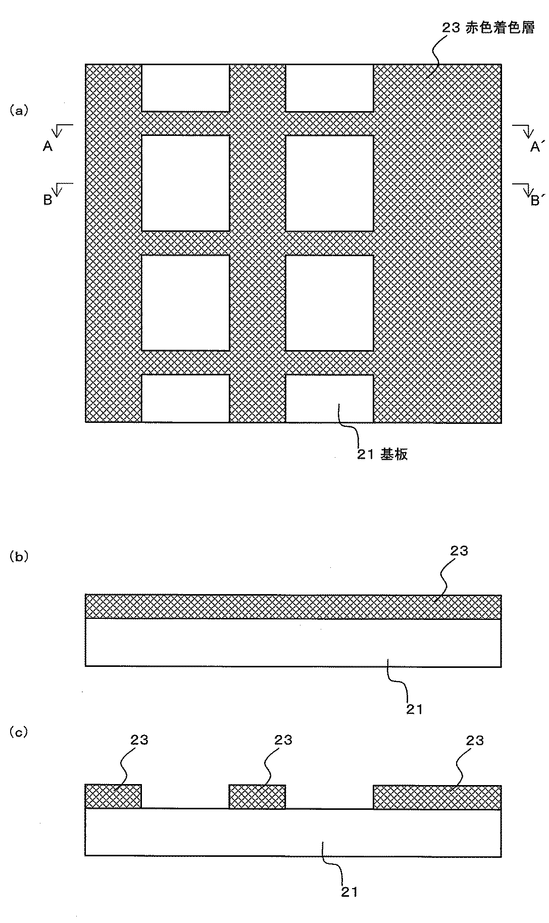
続いて、図2〜図4を用いて、図1に示したカラーフィルタ1の構成の詳細と製造方法について説明する。図2〜図4の(a)は、第1の実施形態に係るカラーフィルタ1の製造工程を説明する部分斜視図であり、(b)は、各(a)でのA−A’部分断面図である。また、図2〜4で図示する領域は、図1(b)で破線で囲まれた領域に対応する。
基板21は特に限定されるものではなく、カラーフィルタに一般的に用いられる基板を使用することができる。例えば、ホウ珪酸ガラス、アルミノホウ珪酸ガラス、無アルカリガラス、石英ガラス、合成石英ガラス、ソーダライムガラス、ホワイトサファイアなどの可撓性のない透明なリジット材、あるいは、透明樹脂フィルム、光学用樹脂フィルムなどの可撓性を有する透明なフレキシブル材を用いることができる。前記フレキシブル材としては、ポリメチルメタクリレート等のアクリル、ポリアミド、ポリアセタール、ポリブチレンテレフタレート、ポリエチレンテレフタレート、ポリエチレンナフタレート、トリアセチルセルロース、シンジオタクティック・ポリスチレン、ポリフェニレンサルファイド、ポリエーテルケトン、ポリエーテルエーテルケトン、フッ素樹脂、ポリエーテルニトリル、ポリカーボネート、変性ポリフェニレンエーテル、ポリシクロヘキセン、ポリノルボルネン系樹脂、ポリサルホン、ポリエーテルサルホン、ポリアリレート、ポリアミドイミド、ポリエーテルイミド、熱可塑性ポリイミド等からなるものを挙げることができるが、一般的なプラスチックからなるものも使用可能である。特に、無アルカリガラスは、熱膨脹率の小さい素材であり、寸法安定性および高温加熱処理における特性に優れており、好ましい。
ブラックマトリクス5は、2層以上の着色層が積層して形成される。つまり、赤色の画素部4と緑色の画素部4との間は、赤色着色層23と緑色着色層25の積層部分がブラックマトリクス5として機能する。同様に、緑色の画素部4と青色の画素部4との間は、緑色着色層25と青色着色層27の積層部分がブラックマトリクス5として機能し、青色の画素部4と赤色の画素部4との間は、青色着色層27と赤色着色層23の積層部分がブラックマトリクス5として機能する。ブラックマトリクス5は、2色以上の着色層の積層で形成されるため、十分な光学濃度を有し、十分な遮光性能を得ることができる。
赤色着色層23、緑色着色層25、青色着色層27は、顔料等の各色の着色剤を含む感光性樹脂で形成される。着色層の厚さは0.5μm〜5μmの範囲にあることが望ましい。この範囲より膜厚が小さい、あるいは大きい場合、パターニング特性などの性能を保つのが難しいからである。
各着色層に使用される感光性樹脂としては、ネガ型感光性樹脂およびポジ型感光性樹脂のいずれも用いることができる。
なお、ポジ型感光性樹脂も特に限定されるものではなく、一般的に使用されるものを用いることができる。具体的には、ノボラック樹脂をベース樹脂とした化学増幅型感光性樹脂等が挙げられる。
オーバーコート層は、カラーフィルタ1をIPS方式の液晶表示装置に使用する場合に、各着色層を覆うように形成される。オーバーコート層は、可視光域で透明な樹脂膜、もしくは無機膜で形成される。樹脂膜の場合、通常0.5μm〜2.5μm程度の厚さを有し、感光性樹脂あるいは熱硬化性樹脂を用いて形成される。オーバーコート層を感光性樹脂にて形成する場合、感光性樹脂を塗布した後、露光し、現像、焼成することにより形成される。上記の感光性樹脂としては、ネガ型感光性樹脂およびポジ型感光性樹脂のいずれも用いることができる。オーバーコート層を熱硬化性樹脂にて形成する場合には、熱硬化性樹脂を塗布した後、焼成することで形成される。オーバーコート層を無機膜で形成する場合、酸化ケイ素膜、窒化ケイ素膜等の透明無機膜を、スパッタリング法、真空蒸着法、CVD法等の一般的な成膜方法を用いて形成する。透明無機膜の膜厚は、通常0.05〜2.0μm程度である。
メイン柱11と、画素部4を構成する着色層(例えば赤色着色層23)の最表面の高さの差であるセルギャップは、1.5〜5.0μmであることが好ましい。セルギャップの値が液晶層の厚さとなるため、セルギャップが1.5μmより低いとセルギャップの制御が難しく、5.0μmより高いとメイン柱の形成が困難になるためである。画面表示の高速応答が求められる場合には、セルギャップが小さいほうが好ましく、セルギャップを2μm程度とすることが好ましい。着色層上にオーバーコート層を設ける場合には、メイン柱11を覆うオーバーコート層と、画素部4の赤色着色層23を覆うオーバーコート層の高さの差であるセルギャップが、1.5〜5.0μmであることが好ましい。同様に、セルギャップが1.5μmより低いとセルギャップの制御が難しく、5.0μmより高いとメイン柱の形成が困難になるためである。
第1の実施形態によれば、3色の着色層を形成するだけで、ブラックマトリクス、メイン柱、サブ柱などを形成でき、独立したブラックマトリクス形成工程と各種の柱の形成工程を必要としないため、簡略な製造工程によりカラーフィルタを製造でき、生産性が高く、低コスト化が可能である。
次に、本発明のカラーフィルタの第2の実施形態について図5〜図7を用いて説明する。図5〜図7の(a)は、第2の実施形態に係るカラーフィルタ33の製造工程を説明する部分平面図であり、(b)は、(a)でのA−A’部分断面図であり、(c)は、(a)でのB−B’部分断面図である。以下の実施形態で第1の実施形態と同一の様態を果たす要素には同一の番号を付し、重複した説明は避ける。なお、図7中の破線は画素部4の領域に対応し、点線は各種柱の領域に対応する。図10、図13、図16、図19において同じである。
次に、本発明のカラーフィルタの第3の実施形態について図8〜図10を用いて説明する。図8〜図10の(a)は、第3の実施形態に係るカラーフィルタ37の製造工程を説明する部分平面図であり、(b)は、(a)でのA−A’部分断面図であり、(c)は、(a)でのB−B’部分断面図である。
次に、本発明のカラーフィルタの第4の実施形態について図11〜図13を用いて説明する。図11〜図13の(a)は、第4の実施形態に係るカラーフィルタ43の製造工程を説明する部分平面図であり、(b)は、(a)でのA−A’部分断面図であり、(c)は、(a)でのB−B’部分断面図である。
次に、本発明のカラーフィルタの第5の実施形態について図14〜図16を用いて説明する。図14〜図16の(a)は、第5の実施形態に係るカラーフィルタ47の製造工程を説明する部分平面図であり、(b)は、(a)でのA−A’部分断面図であり、(c)は、(a)でのB−B’部分断面図である。
次に、本発明のカラーフィルタの第6の実施形態について図17〜図19を用いて説明する。図17〜図19の(a)は、第6の実施形態に係るカラーフィルタ51の製造工程を説明する部分平面図であり、(b)は、(a)でのA−A’部分断面図であり、(c)は、(a)でのB−B’部分断面図である。
階調マスクは、透明基板と、遮光膜と、透過率調整機能を有する半透明膜とが順不同に積層され、透明基板上に遮光膜が設けられた遮光部と、透明基板上に半透明膜のみが設けられた半透過部と、透明基板上に遮光膜および半透明膜のいずれも設けられていない透過部とを有する。
[実施例1]
1.ネガ型の感光性樹脂組成物の調製
重合槽中にメタクリル酸メチル(MMA)を63重量部、アクリル酸(AA)を12重量部、メタクリル酸−2−ヒドロキシエチル(HEMA)を6重量部、ジエチレングリコールジメチルエーテル(DMDG)を88重量部仕込み、攪拌し溶解させた後、2,2´−アゾビス(2−メチルブチロニトリル)を7重量部添加し、均一に溶解させた。その後、窒素気流下、85℃で2時間攪拌し、更に100℃で1時間反応させた。得られた溶液に、更にメタクリル酸グリシジル(GMA)を7重量部、トリエチルアミンを0.4重量部、及びハイドロキノンを0.2重量部添加し、100℃で5時間攪拌し、共重合樹脂溶液(固形分50%)を得た。
<感光性樹脂組成物の組成>
・上記共重合樹脂用液(固形分50%):16重量部
・ジペンタエリスリトールペンタアクリレート(サートマー社 SR399):24重量部
・オルソクレゾールノボラック型エポキシ樹脂(油化シェルエポキシ社 エピコート180S70):4重量部
・2−メチル−1−(4−メチルチオフェニル)−2−モルフォリノプロパン−1−オン:4重量部
・ジエチレングリコールジメチルエーテル:52重量部
次に、下記組成の赤色用感光性樹脂組成物、緑色用感光性樹脂組成物、および青色用感光性樹脂組成物を調製した。
<赤色用感光性樹脂組成物の組成>
・C.I.ピグメントレッド254:8重量部
(BASF社「イルガーフォーレッド B-CF」)
・C.I.ピグメントイエロー150:2重量部
(バイエル社製「E‐4GN」)
・ポリスルホン酸型高分子分散剤:3重量部
・上記の感光性樹脂組成物:30重量部
・酢酸−3−メトキシブチル:57重量部
・C.I.ピグメントグリーン36:5重量部
(アビシア社製 モナストラルグリーンθY−C)
・C.I.ピグメントイエロー150:5重量部
(バイエル社製「E‐4GN」)
・ポリスルホン酸型高分子分散剤:3重量部
・上記の感光性樹脂組成物:30重量部
・酢酸−3−メトキシブチル:57重量部
・C.I.ピグメントブルー15:6:8重量部
(大日精化工業株式会社製「Chromofine Blue 5201A」)
・C.I.ピグメントバイオレット23:2重量部
(山陽色素株式会社製「Fast Violet BLD」)
・ポリスルホン酸型高分子分散剤:3重量部
・上記の感光性樹脂組成物:30重量部
・酢酸−3−メトキシブチル:57重量部
(赤色着色層の作製)
透明基板として、大きさが300mm×400mm、厚みが0.7mmのガラス基板(コーニング社製EAGLE XGガラス)を準備した。この基板を定法にしたがって洗浄した後、基板の片側に、赤色用感光性樹脂組成物をスピンコート法により塗布し、100℃で3分間乾燥させた。次いで、第1の実施形態に対応したパターンを有する赤色着色層用のフォトマスクを介して、超高圧水銀ランプで露光した後、0.05wt%水酸化カリウム水溶液で現像し、その後、基板を230℃の雰囲気下に30分間の加熱処理を施すことで、厚さ約3.2μmの赤色着色層を形成した。この赤色着色層のパターンは図2のようであり、表示領域内に略格子状のパターンで、額縁部の全面を覆うパターンで、周縁部に略円柱状のパターンで形成され、長方形状(150μm×450μm)の赤色の画素部が得られる大きさとした。
次に、緑色用感光性樹脂組成物を用いて、同様の操作により、緑色着色層を形成した。この緑色着色層は図3のようであり、表示領域内に略櫛状のパターンで、額縁部に略円柱状のパターンで、周縁部で赤色着色層上に円柱状のパターンで形成された。基板上に形成された緑色着色層の厚さは約3.2μmであったが、赤色着色層上に形成された緑色着色層の厚さは約2.6μmであった。
次に、青色用感光性樹脂組成物を用いて、同様の操作により、青色着色層を形成した。この青色着色層は図4のようであり、表示領域内に略ストライプ状のパターンで、額縁部では全面を覆うパターンで、周縁部で緑色着色層上に円柱状のパターンで形成された。基板上に形成された青色着色層の厚さは約3.2μmであったが、赤色着色層と緑色着色層とで形成されたブラックマトリックス上のメイン柱部青色着色層の厚さは約2.1μmであった。
着色層を形成済みの上記カラーフィルター基板に、ネガ型感光性樹脂組成物を用いて、同様の操作により、オーバーコート層を形成した。ただしオーバーコート層を露光するさいにはフォトマスクを使用しないことで、表示領域、額縁部、周縁部がオーバーコート層で覆われるようにした。オーバーコート層の厚さは周縁部で約1.5μmであった。
実施例2−1、2−2、2−3として、[実施例1]で調製した着色層用のネガ型感光性樹脂組成物を用い、第2、第3、第4の実施形態のそれぞれに対応したパターンを有するフォトマスクを用いて、カラーフィルタを作製した。
(赤色着色層の作製)
第2、第3、第4の実施形態に対応したパターンを有するフォトマスクを用い、実施例1と同様の操作によりそれぞれ、図5、図8、図11のようなパターンを形成した。赤色着色層の厚さは約2.4μmとなるように塗布条件は変更した。
(緑色着色層の作製)
第2、第3、第4の実施形態に対応したパターンを有するフォトマスクを用い、実施例1と同様の操作によりそれぞれ、図6、図9、図12のようなパターンを形成した。緑色着色層の厚さは約2.4μmとなるように塗布条件は変更した。赤色着色層上に形成された緑色着色層の厚さは約2.1μmであった。
(青色着色層の作製)
第2、第3、第4の実施形態に対応したパターンを有するフォトマスクを用い、実施例1と同様の操作によりそれぞれ、図7、図10、図13のようなパターンを形成した。青色着色層の厚さは約2.4μmとなるように塗布条件は変更した。赤色着色層と緑色着色層とで形成されたブラックマトリックス上のメイン柱部青色着色層の厚さは約1.4μmであった。
[実施例1]で調製した着色層用のネガ型感光性樹脂組成物を用い、第5の実施形態に対応したパターンを有するフォトマスクを用いて、カラーフィルタを作製した。
(赤色着色層の作製)
第5の実施形態に対応したパターンを有するフォトマスクを用い、実施例2と同様の操作により図14のようなパターンを形成した。サブ柱が形成されるブラックマトリックス部分の赤色着色層の厚さを薄くするため、当該箇所を形成するフォトマスクのパターンは光透過率16%のグレートーンパターンとした。光透過率16%のグレートーンパターンは、フォトマスク上の遮光膜に1.0μm×1.0μmサイズの略正方形透過部をx方向、y方向ともに2.5μmのピッチで配置することで形成した。赤色着色層の厚さは画素部で約2.4μm、グレートーンパターンで形成した部分で約1.9μmだった。
(緑色着色層の作製)
第5の実施形態に対応したパターンを有するフォトマスクを用い、実施例2と同様の操作によりそれぞれ、図15のようなパターンを形成した。緑色着色層の厚さは約2.4μm、赤色着色層上に形成された緑色着色層の厚さは約2.1μmであった。
(青色着色層の作製)
第5の実施形態に対応したパターンを有するフォトマスクを用い、実施例2と同様の操作によりそれぞれ、図16のようなパターンを形成した。青色着色層の厚さは約2.4μm、赤色着色層と緑色着色層とで形成されたブラックマトリックス上のメイン柱部青色着色層の厚さは約1.4μmであった。
1.ブラックマトリックス層用感光性樹脂組成物の調製
まず、下記分量の成分を混合し、サンドミルにて十分に分散し、黒色顔料分散液を調製した。
<黒色顔料分散液の組成>
・黒色顔料:23重量部
・高分子分散材(ビックケミー・ジャパン(株) Disperbyk111):2重量部
・溶剤(ジエチレングリコールジメチルエーテル):75重量部
次に、上記黒色顔料分散液を、下記分量の成分を十分混合して、遮光部用感光性樹脂組成物を得た。
<遮光部用感光性樹脂組成物の組成>
・上記黒色顔料分散液:40重量部
・実施例1の感光性樹脂組成物:25重量部
・ジエチレングリコールジメチルエーテル:35重量部
(ブラックマトリクスの作製)
透明基板として、大きさが300mm×400mm、厚みが0.7mmのガラス基板(コーニング社製EAGLE XGガラス)を準備した。この基板を定法にしたがって洗浄した後、基板の片側に、ブラックマトリックス層用のネガ型感光性樹脂組成物をスピンコート法により塗布し、100℃で3分間乾燥させた。次いで、ブラックマトリックス層用のフォトマスクを介して、超高圧水銀ランプで露光した後、0.05wt%水酸化カリウム水溶液で現像し、その後、基板を230℃の雰囲気下に30分間の加熱処理を施すことで、厚さ約1.2μm、線幅30μm、ピッチ150μmのブラックマトリックス層を形成した。
次いで、ガラス基板上にブラックマトリックスを覆うように、実施例1で調製した赤色着色層用のネガ型感光性樹脂組成物をスピンコート法により塗布し、赤色パターン用のフォトマスクを介して、露光、現像して、厚さ約2.4μmの赤色着色層を形成した。この赤色パターンは、長方形状(150μm×450μm)とした。
その後、実施例1で調製した緑色着色層用のネガ型感光性樹脂組成物、実施例1で調製した青色着色層用のネガ型感光性樹脂組成物を用いて、同様の操作により、緑色着色層、青色着色層を形成した。これにより、赤色着色層、緑色着色層、青色着色層が配列された着色層を形成した。
(柱の形成)
さらに、実施例1で調製したネガ型感光性樹脂組成物をスピンコート法により塗布し、フォトスペーサー用のフォトマスクを介して、露光、現像して、高さ約3.5μmの柱状のフォトスペーサーを形成した。
実施例1、2、3および比較例1のカラーフィルタ額縁部の光学濃度、メイン柱・サブ柱・額縁柱・周縁部柱の高さを測定した。
光学濃度は、オリンパス光学工業(株)製、分光測色計、OSP−SP200により測色し、分光のY値からOD(光学濃度)値を算出した。
各柱の高さは、高さプロファイルを、KLA−Tencor P−15(KLA−Tencor Japan Ltd.社製)により測定し、着色画素表面と柱部との高低差および、ガラス基板面と柱部の高低差を算出した。
実施例と比較例の評価結果を以下の表1、表2にまとめた。
3………表示領域
4………画素部
5………ブラックマトリクス
6………額縁部
7………周縁部
11………メイン柱
13………サブ柱
15………額縁柱
17………周縁部柱
21………基板
23………赤色着色層
25………緑色着色層
27………青色着色層
31………緑色着色層
33………カラーフィルタ
35………緑色着色層
37………カラーフィルタ
39………赤色着色層
41………孔部
43………カラーフィルタ
45………赤色着色層
47………カラーフィルタ
49………緑色着色層
51………カラーフィルタ
Claims (23)
- 基板と、
前記基板上にこの順に形成される第1の着色層、第2の着色層及び第3の着色層と、
を少なくとも有し、
表示領域に隣接して額縁部が形成されるカラーフィルタであって、
前記表示領域にある前記第1の着色層、前記第2の着色層及び前記第3の着色層のうち2つの着色層が積層して、ブラックマトリクスを構成し、
前記表示領域にある前記第1の着色層、前記第2の着色層及び前記第3の着色層のうちいずれか1つの着色層により、画素部を構成し
前記第1の着色層、前記第2の着色層及び前記第3の着色層のうち2以上の着色層が積層して、前記額縁部を構成し、
前記表示領域にある前記第1の着色層、前記第2の着色層及び前記第3の着色層が積層して、メイン柱を構成し、
前記表示領域にある前記第1の着色層、前記第2の着色層及び前記第3の着色層のうち、2以上の着色層が積層して、前記メイン柱より低いサブ柱を構成し、
前記額縁部にある前記第1の着色層、前記第2の着色層及び前記第3の着色層のうち、2以上の着色層が積層して、前記メイン柱より低い額縁柱を構成する
ことを特徴とするカラーフィルタ。 - 前記サブ柱を構成する前記第3の着色層の底面積が、前記メイン柱を形成する前記第3の着色層よりも小さいことを特徴とする請求項1に記載のカラーフィルタ。
- 前記サブ柱を構成する前記第2の着色層が、前記画素部を形成する前記第2の着色層から離れた突起状であることを特徴とする請求項1に記載のカラーフィルタ。
- 前記サブ柱を構成する前記第2の着色層の幅が、前記メイン柱を構成する前記第2の着色層の幅より、狭いことを特徴とする請求項1に記載のカラーフィルタ。
- 前記サブ柱を構成する前記第1の着色層及び/又は前記第2の着色層に、孔部が設けられていることを特徴とする請求項1に記載のカラーフィルタ。
- 前記サブ柱を構成する前記第1の着色層の厚さが、前記メイン柱を構成する前記第1の着色層の厚さよりも薄いことを特徴とする請求項1に記載のカラーフィルタ。
- 前記サブ柱を構成する前記第2の着色層の厚さが、前記メイン柱を構成する前記第2の着色層の厚さよりも薄いことを特徴とする請求項1に記載のカラーフィルタ。
- さらに、前記基板上に前記第3の着色層の次に形成される第4の着色層を有し、
前記表示領域にある前記第1の着色層、前記第2の着色層、前記第3の着色層及び前記第4の着色層のうち2つの着色層が積層して、ブラックマトリクスを構成し、
前記表示領域にある前記第1の着色層、前記第2の着色層、前記第3の着色層及び前記第4の着色層のうちいずれか1つの着色層により、画素部を構成し
前記第1の着色層、前記第2の着色層、前記第3の着色層及び前記第4の着色層のうち2以上の着色層が積層して、前記額縁部を構成し、
前記表示領域にある前記第1の着色層、前記第2の着色層、前記第3の着色層及び前記第4の着色層のうち、3以上の着色層が積層して、メイン柱を構成し、
前記表示領域にある前記第1の着色層、前記第2の着色層、前記第3の着色層及び前記第4の着色層のうち、2以上の着色層が積層してなり、前記メイン柱より低いサブ柱を構成し、
前記額縁部にある前記第1の着色層、前記第2の着色層、前記第3の着色層及び前記第4の着色層のうち、2以上の着色層が積層してなり、前記メイン柱よりも低い額縁柱を構成する
ことを特徴とする請求項1〜7のいずれか1項に記載のカラーフィルタ。 - 前記額縁部を構成する、前記第1の着色層、前記第2の着色層、前記第3の着色層及び前記第4の着色層のうちの2以上の着色層のうち、少なくとも1つの着色層の厚さが、前記画素部を構成する前記第1の着色層、前記第2の着色層、前記第3の着色層及び前記第4の着色層のうち対応する着色層の厚さよりも薄いことを特徴とする請求項1〜8のいずれか1項に記載のカラーフィルタ。
- さらに、前記額縁部の周縁にある周縁部に、前記第1の着色層、前記第2の着色層及び前記第3の着色層、または、前記第1の着色層、前記第2の着色層、前記第3の着色層及び第4の着色層のうち2以上の着色層が積層してなる周縁部柱を有することを特徴とする請求項1〜9のいずれか1項に記載のカラーフィルタ。
- 前記メイン柱の頂部と、前記画素部の表面との高さの差であるセルギャップが1.5〜5.0μmであることを特徴とする請求項1〜10のいずれか1項に記載のカラーフィルタ。
- さらに、前記第1の着色層、前記第2の着色層及び前記第3の着色層、または、前記第1の着色層、前記第2の着色層、前記第3の着色層及び第4の着色層の上にオーバーコート層を有し、
前記メイン柱の頂部のオーバーコート層の表面と、前記画素部の上のオーバーコート層の表面との高さの差であるセルギャップが1.5〜5.0μmであることを特徴とする請求項1〜10のいずれか1項に記載のカラーフィルタ。 - 請求項1〜12のいずれか1項に記載のカラーフィルタを有することを特徴とする液晶表示装置。
- 基板上に、少なくとも第1の着色層、第2の着色層及び第3の着色層を形成し、
表示領域と、前記表示領域に隣接する額縁部と、を形成するカラーフィルタの製造方法であって、
前記表示領域にある前記第1の着色層、前記第2の着色層及び前記第3の着色層のうち2つの着色層が積層して、ブラックマトリクスを構成し、
前記表示領域にある前記第1の着色層、前記第2の着色層及び前記第3の着色層のうちいずれか1つの着色層により、画素部を構成し
前記第1の着色層、前記第2の着色層及び前記第3の着色層のうち2以上の着色層が積層して、前記額縁部を構成し、
前記表示領域にある前記第1の着色層、前記第2の着色層及び前記第3の着色層が積層して、メイン柱を構成し、
前記表示領域にある前記第1の着色層、前記第2の着色層及び前記第3の着色層のうち、2以上の着色層が積層して、前記メイン柱より低いサブ柱を構成し、
前記額縁部にある前記第1の着色層、前記第2の着色層及び前記第3の着色層のうち、2以上の着色層が積層して、前記メイン柱より低い額縁柱を構成する
ことを特徴とするカラーフィルタの製造方法。 - 前記サブ柱を構成する前記第3の着色層の底面積を、前記メイン柱を形成する前記第3の着色層よりも小さいように形成することを特徴とする請求項14に記載のカラーフィルタの製造方法。
- 前記サブ柱を構成する前記第2の着色層を、前記画素部を形成する前記第2の着色層から離れた突起状に形成することを特徴とする請求項14に記載のカラーフィルタの製造方法。
- 前記サブ柱を構成する前記第2の着色層の幅を、前記メイン柱を構成する前記第2の着色層の幅より、狭く形成することを特徴とする請求項14に記載のカラーフィルタの製造方法。
- 前記サブ柱を構成する前記第1の着色層に、孔部を設けることを特徴とする請求項14に記載のカラーフィルタの製造方法。
- 階調マスクを用いて、前記サブ柱を構成する前記第1の着色層の厚さが、前記メイン柱を構成する前記第1の着色層の厚さよりも薄いように形成することを特徴とする請求項14に記載のカラーフィルタの製造方法。
- 階調マスクを用いて、前記サブ柱を構成する前記第2の着色層の厚さを、前記メイン柱を構成する前記第2の着色層の厚さよりも薄いように形成することを特徴とする請求項14に記載のカラーフィルタの製造方法。
- さらに、前記基板上に前記第3の着色層の次に第4の着色層を形成し、
前記表示領域にある前記第1の着色層、前記第2の着色層、前記第3の着色層及び前記第4の着色層のうち2つの着色層が積層して、ブラックマトリクスを構成し、
前記表示領域にある前記第1の着色層、前記第2の着色層、前記第3の着色層及び前記第4の着色層のうちいずれか1つの着色層により、画素部を構成し
前記第1の着色層、前記第2の着色層、前記第3の着色層及び前記第4の着色層のうち2以上の着色層が積層して、前記額縁部を構成し、
前記表示領域にある前記第1の着色層、前記第2の着色層、前記第3の着色層及び前記第4の着色層のうち、3以上の着色層が積層して、メイン柱を構成し、
前記表示領域にある前記第1の着色層、前記第2の着色層、前記第3の着色層及び前記第4の着色層のうち、2以上の着色層が積層してなり、前記メイン柱より低いサブ柱を構成し、
前記額縁部にある前記第1の着色層、前記第2の着色層、前記第3の着色層及び前記第4の着色層のうち、2以上の着色層が積層してなり、前記メイン柱よりも低い額縁柱を構成する
ことを特徴とする請求項14〜20のいずれか1項に記載のカラーフィルタの製造方法。 - 階調マスクを用いて、前記額縁部を構成する、前記第1の着色層、前記第2の着色層、前記第3の着色層及び第4の着色層のうちの2以上の着色層のうち、少なくとも1つの着色層の厚さを、前記画素部を構成する前記第1の着色層、前記第2の着色層、前記第3の着色層及び第4の着色層のうち対応する着色層の厚さよりも薄いように形成することを特徴とする請求項14〜21のいずれか1項に記載のカラーフィルタの製造方法。
- さらに、前記額縁部の周縁に、前記第1の着色層、前記第2の着色層及び前記第3の着色層、または、前記第1の着色層、前記第2の着色層、前記第3の着色層及び前記第4の着色層のうち2以上の着色層が積層してなる周縁部柱を形成することを特徴とする請求項14〜22のいずれか1項に記載のカラーフィルタの製造方法。
Priority Applications (1)
| Application Number | Priority Date | Filing Date | Title |
|---|---|---|---|
| JP2011020392A JP5699372B2 (ja) | 2011-02-02 | 2011-02-02 | カラーフィルタ、液晶表示装置およびカラーフィルタの製造方法 |
Applications Claiming Priority (1)
| Application Number | Priority Date | Filing Date | Title |
|---|---|---|---|
| JP2011020392A JP5699372B2 (ja) | 2011-02-02 | 2011-02-02 | カラーフィルタ、液晶表示装置およびカラーフィルタの製造方法 |
Publications (2)
| Publication Number | Publication Date |
|---|---|
| JP2012159757A true JP2012159757A (ja) | 2012-08-23 |
| JP5699372B2 JP5699372B2 (ja) | 2015-04-08 |
Family
ID=46840312
Family Applications (1)
| Application Number | Title | Priority Date | Filing Date |
|---|---|---|---|
| JP2011020392A Expired - Fee Related JP5699372B2 (ja) | 2011-02-02 | 2011-02-02 | カラーフィルタ、液晶表示装置およびカラーフィルタの製造方法 |
Country Status (1)
| Country | Link |
|---|---|
| JP (1) | JP5699372B2 (ja) |
Cited By (4)
| Publication number | Priority date | Publication date | Assignee | Title |
|---|---|---|---|---|
| CN103268037A (zh) * | 2013-05-15 | 2013-08-28 | 京东方科技集团股份有限公司 | 一种彩膜基板、制备方法以及显示装置 |
| WO2016136042A1 (ja) * | 2015-02-24 | 2016-09-01 | ソニー株式会社 | 表示装置、表示装置の製造方法、及び、電子機器 |
| WO2016185873A1 (ja) * | 2015-05-21 | 2016-11-24 | 株式会社オルタステクノロジー | 液晶表示装置 |
| JP2019515343A (ja) * | 2016-04-26 | 2019-06-06 | 深▲せん▼市華星光電技術有限公司Shenzhen China Star Optoelectronics Technology Co., Ltd. | カラーフィルタ基板の製作方法及び液晶パネルの製作方法 |
Citations (7)
| Publication number | Priority date | Publication date | Assignee | Title |
|---|---|---|---|---|
| WO2006013933A1 (ja) * | 2004-08-04 | 2006-02-09 | Sharp Kabushiki Kaisha | カラーフィルタ基板およびそれを備える液晶表示パネル |
| JP2008158138A (ja) * | 2006-12-22 | 2008-07-10 | Dainippon Printing Co Ltd | カラーフィルタ基板および液晶表示装置 |
| JP2008250094A (ja) * | 2007-03-30 | 2008-10-16 | Dainippon Printing Co Ltd | カラーフィルタ基板および液晶表示装置 |
| JP2008281919A (ja) * | 2007-05-14 | 2008-11-20 | Dainippon Printing Co Ltd | カラーフィルタ形成基板の作製方法およびカラーフィルタ形成基板 |
| JP2009198534A (ja) * | 2008-02-19 | 2009-09-03 | Dainippon Printing Co Ltd | カラーフィルタ |
| JP2009210926A (ja) * | 2008-03-05 | 2009-09-17 | Dainippon Printing Co Ltd | 横電界液晶駆動方式用カラーフィルタ |
| JP2009210918A (ja) * | 2008-03-05 | 2009-09-17 | Dainippon Printing Co Ltd | 横電界液晶駆動方式用カラーフィルタおよびその製造方法 |
-
2011
- 2011-02-02 JP JP2011020392A patent/JP5699372B2/ja not_active Expired - Fee Related
Patent Citations (7)
| Publication number | Priority date | Publication date | Assignee | Title |
|---|---|---|---|---|
| WO2006013933A1 (ja) * | 2004-08-04 | 2006-02-09 | Sharp Kabushiki Kaisha | カラーフィルタ基板およびそれを備える液晶表示パネル |
| JP2008158138A (ja) * | 2006-12-22 | 2008-07-10 | Dainippon Printing Co Ltd | カラーフィルタ基板および液晶表示装置 |
| JP2008250094A (ja) * | 2007-03-30 | 2008-10-16 | Dainippon Printing Co Ltd | カラーフィルタ基板および液晶表示装置 |
| JP2008281919A (ja) * | 2007-05-14 | 2008-11-20 | Dainippon Printing Co Ltd | カラーフィルタ形成基板の作製方法およびカラーフィルタ形成基板 |
| JP2009198534A (ja) * | 2008-02-19 | 2009-09-03 | Dainippon Printing Co Ltd | カラーフィルタ |
| JP2009210926A (ja) * | 2008-03-05 | 2009-09-17 | Dainippon Printing Co Ltd | 横電界液晶駆動方式用カラーフィルタ |
| JP2009210918A (ja) * | 2008-03-05 | 2009-09-17 | Dainippon Printing Co Ltd | 横電界液晶駆動方式用カラーフィルタおよびその製造方法 |
Cited By (12)
| Publication number | Priority date | Publication date | Assignee | Title |
|---|---|---|---|---|
| CN103268037A (zh) * | 2013-05-15 | 2013-08-28 | 京东方科技集团股份有限公司 | 一种彩膜基板、制备方法以及显示装置 |
| WO2014183430A1 (zh) * | 2013-05-15 | 2014-11-20 | 京东方科技集团股份有限公司 | 彩膜基板、制备方法以及显示装置 |
| CN103268037B (zh) * | 2013-05-15 | 2015-07-29 | 京东方科技集团股份有限公司 | 一种彩膜基板、制备方法以及显示装置 |
| US9256012B2 (en) | 2013-05-15 | 2016-02-09 | Boe Technology Group Co., Ltd. | Color filter substrate, manufacturing method thereof and display device |
| WO2016136042A1 (ja) * | 2015-02-24 | 2016-09-01 | ソニー株式会社 | 表示装置、表示装置の製造方法、及び、電子機器 |
| CN107251648A (zh) * | 2015-02-24 | 2017-10-13 | 索尼公司 | 显示装置、用于制造显示装置的方法和电子设备 |
| US10566403B2 (en) | 2015-02-24 | 2020-02-18 | Sony Corporation | Display device, manufacturing method for display device, and electronic device with substrate spacer |
| CN107251648B (zh) * | 2015-02-24 | 2020-08-14 | 索尼公司 | 显示装置、用于制造显示装置的方法和电子设备 |
| WO2016185873A1 (ja) * | 2015-05-21 | 2016-11-24 | 株式会社オルタステクノロジー | 液晶表示装置 |
| JP2016218278A (ja) * | 2015-05-21 | 2016-12-22 | 株式会社 オルタステクノロジー | 液晶表示装置 |
| US10310320B2 (en) | 2015-05-21 | 2019-06-04 | Ortus Technology Co., Ltd. | Liquid crystal display |
| JP2019515343A (ja) * | 2016-04-26 | 2019-06-06 | 深▲せん▼市華星光電技術有限公司Shenzhen China Star Optoelectronics Technology Co., Ltd. | カラーフィルタ基板の製作方法及び液晶パネルの製作方法 |
Also Published As
| Publication number | Publication date |
|---|---|
| JP5699372B2 (ja) | 2015-04-08 |
Similar Documents
| Publication | Publication Date | Title |
|---|---|---|
| JP5228390B2 (ja) | 階調マスク | |
| JP5200439B2 (ja) | カラーフィルタの製造方法 | |
| JP5428725B2 (ja) | カラーフィルタ、カラーフィルタの製造方法およびそれを備える液晶表示装置 | |
| JP2010014870A (ja) | カラーフィルタ及びカラーフィルタの製造方法 | |
| JP2008158138A (ja) | カラーフィルタ基板および液晶表示装置 | |
| WO2012046589A1 (ja) | 液晶表示パネル用基板の製造方法、及び、フォトマスク | |
| JP5699372B2 (ja) | カラーフィルタ、液晶表示装置およびカラーフィルタの製造方法 | |
| US10802329B2 (en) | Colour filter, display apparatus and method for manufacturing colour filter | |
| JP5453724B2 (ja) | 横電界液晶駆動方式用カラーフィルタ | |
| JP5625424B2 (ja) | カラーフィルタ、カラーフィルタの製造方法およびそれを備える液晶表示装置 | |
| JP4882830B2 (ja) | カラーフィルタ基板および液晶表示装置 | |
| WO2014176904A1 (zh) | 显示装置、彩膜基板及其制作方法 | |
| JP5277664B2 (ja) | 横電界液晶駆動方式用カラーフィルタ | |
| JP6137639B2 (ja) | 柱状体を有する位相差制御板 | |
| JP5228594B2 (ja) | カラーフィルタ形成用基板およびカラーフィルタの製造方法 | |
| JP2008026668A (ja) | 階調マスク | |
| JP4919043B2 (ja) | 半透過型液晶表示装置用カラーフィルタの製造方法 | |
| JP5028768B2 (ja) | カラーフィルタの製造方法および液晶表示装置 | |
| JP4699073B2 (ja) | 半透過型液晶表示装置用カラーフィルタおよびその製造方法 | |
| JP5418129B2 (ja) | カラーフィルタおよびカラーフィルタ製造方法 | |
| JP5893237B2 (ja) | 柱状体を有する位相差制御板 | |
| JP5655907B2 (ja) | 半透過半反射型液晶表示装置用カラーフィルタ | |
| JP2009181089A (ja) | カラーフィルタ | |
| CN106371283A (zh) | 一种半色调掩膜及显示面板、显示器 | |
| JP2011197599A (ja) | カラーフィルタ、カラーフィルタの製造方法およびそれを備える液晶表示装置 |
Legal Events
| Date | Code | Title | Description |
|---|---|---|---|
| A621 | Written request for application examination |
Free format text: JAPANESE INTERMEDIATE CODE: A621 Effective date: 20131216 |
|
| A977 | Report on retrieval |
Free format text: JAPANESE INTERMEDIATE CODE: A971007 Effective date: 20140908 |
|
| A131 | Notification of reasons for refusal |
Free format text: JAPANESE INTERMEDIATE CODE: A131 Effective date: 20141104 |
|
| A521 | Written amendment |
Free format text: JAPANESE INTERMEDIATE CODE: A523 Effective date: 20141215 |
|
| TRDD | Decision of grant or rejection written | ||
| A01 | Written decision to grant a patent or to grant a registration (utility model) |
Free format text: JAPANESE INTERMEDIATE CODE: A01 Effective date: 20150113 |
|
| A61 | First payment of annual fees (during grant procedure) |
Free format text: JAPANESE INTERMEDIATE CODE: A61 Effective date: 20150126 |
|
| R150 | Certificate of patent or registration of utility model |
Ref document number: 5699372 Country of ref document: JP Free format text: JAPANESE INTERMEDIATE CODE: R150 |
|
| LAPS | Cancellation because of no payment of annual fees |
