JP2012144758A - 導電用端子 - Google Patents

導電用端子 Download PDF

Info

Publication number
JP2012144758A
JP2012144758A JP2011002211A JP2011002211A JP2012144758A JP 2012144758 A JP2012144758 A JP 2012144758A JP 2011002211 A JP2011002211 A JP 2011002211A JP 2011002211 A JP2011002211 A JP 2011002211A JP 2012144758 A JP2012144758 A JP 2012144758A
Authority
JP
Japan
Prior art keywords
conductive terminal
electrical conductivity
copper
pure copper
metal film
Prior art date
Legal status (The legal status is an assumption and is not a legal conclusion. Google has not performed a legal analysis and makes no representation as to the accuracy of the status listed.)
Pending
Application number
JP2011002211A
Other languages
English (en)
Inventor
Shinji Saito
慎二 斎藤
Yuichiro Yamauchi
雄一郎 山内
Current Assignee (The listed assignees may be inaccurate. Google has not performed a legal analysis and makes no representation or warranty as to the accuracy of the list.)
NHK Spring Co Ltd
Original Assignee
NHK Spring Co Ltd
Priority date (The priority date is an assumption and is not a legal conclusion. Google has not performed a legal analysis and makes no representation as to the accuracy of the date listed.)
Filing date
Publication date
Application filed by NHK Spring Co Ltd filed Critical NHK Spring Co Ltd
Priority to JP2011002211A priority Critical patent/JP2012144758A/ja
Publication of JP2012144758A publication Critical patent/JP2012144758A/ja
Pending legal-status Critical Current

Links

Images

Landscapes

  • Other Surface Treatments For Metallic Materials (AREA)
  • Manufacturing Of Electrical Connectors (AREA)

Abstract

【課題】高い硬度かつ良好な電気伝導性を有し、安価に作製できる導電用端子を提供すること。
【解決手段】純銅、貴金属または前記純銅と前記貴金属との合金を含む粉体をガスと共に加速し、表面に固相状態のままで吹き付けて堆積させることによって形成される金属皮膜からなり、接触対象と接触する接触部133aを備えることによって、安価に作製でき、高い硬度かつ良好な電気伝導性を有する導電用端子13aを得ることができる。
【選択図】図2

Description

本発明は、電極や電線等の部材間を接合する際に用いられる導電用端子に関する。
従来、発電所や自動車等の輸送機器の電気系統、家電製品等において、部材間を接合する溶接のうち、電源供給ライン等として配設される金属部材同士を溶接する方法として、スポット溶接法がある。スポット溶接法は、溶接したい2つの金属部材に対して先細な先端形状をなす電極(導電用端子)をあて、この電極に電流を流して発生した熱によって金属を溶かし、金属部材間を接合する。
上述したスポット溶接法によって接合した接合部分では、高い接合強度が求められている。このうち、抵抗率の小さい銅からなる金属部材同士の接合強度を向上させる溶接方法が開示されている(例えば、特許文献1を参照)。
ところで、従来の電極(導電用端子)を形成する材料として、クロム銅や酸化物分散銅(ODC)が用いられている。クロム銅は、ビッカース硬さ(Hv)が130であり、焼鈍された純銅(無酸素銅)の電気伝導度を100としたときの比率(%)が80%の電気伝導度を有する。また、酸化物分散銅は、例えば、ビッカース硬さ(Hv)が150であり、比率(%)が90%の電気伝導度を有する。導電用端子は、接合対象の部材と繰り返し接触させるため、高い硬度と良好な電気伝導性を有する材料を用いて形成されることが好ましい。
特開2008−110357号公報
しかしながら、クロム銅は、酸化物分散銅に比べて安価であるものの、クロム銅を用いて形成した導電用端子は、酸化物分散銅を用いて作成したものよりも電極としての硬度および電気伝導度が劣っており、耐久性・操作性の観点から高い硬度および良好な電気伝導性を有することが望まれている。また、酸化物分散銅は、高い硬度と良好な電気伝導性を有する一方、高価であるため、これを用いて導電用端子を形成すると、製造にかかるコストが増大してしまう。
本発明は、上記に鑑みてなされたものであって、高い硬度かつ良好な電気伝導性を有し、安価に作製できる導電用端子を提供することを目的とする。
上述した課題を解決し、目的を達成するために、本発明にかかる導電用端子は、純銅、貴金属または前記純銅と前記貴金属との合金を含む粉体をガスと共に加速し、表面に固相状態のままで吹き付けて堆積させることによって形成される金属皮膜からなり、接触対象と接触する接触部を備えたことを特徴とする。
また、本発明にかかる導電用端子は、上記の発明において、純銅、貴金属または純銅と貴金属と合金からなる金属を含む粉体をガスと共に加速し、前記先端部の表面に固相状態のままで吹き付けて堆積させることによって形成された金属皮膜からなることを特徴とする。
また、本発明にかかる導電用端子は、上記の発明において、前記金属皮膜は、ビッカース硬さが120〜170であり、純銅の電気伝導度を100としたときの比率(%)が80〜95%の電気伝導度を有することを特徴とする。
また、本発明にかかる導電用端子は、上記の発明において、前記貴金属は、金、銀、白金、イリジウム、パラジウムからなる群より選択される少なくとも1種類を含むことを特徴とする。
本発明にかかる導電用端子は、少なくとも接合対象の部材と接触する部分を、コールドスプレー法による皮膜によって形成するようにしたので、高い硬度かつ良好な電気伝導性を有し、安価に作製できるという効果を奏する。
図1は、本発明の実施の形態にかかるスポット溶接装置の構成を模式的に示す斜視図である。 図2は、本発明の実施の形態にかかるスポット溶接装置の要部の構成を示す模式図である。 図3は、本発明の実施の形態にかかるスポット溶接装置の一使用例を示す模式図である。 図4は、本発明の実施の形態にかかるスポット溶接装置の導電用端子の製造に使用されるコールドスプレー装置の概要を示す模式図である。 図5は、本発明の実施の形態の変形例にかかるスポット溶接装置の導電用端子の構成を示す模式図である。 図6は、本発明の実施例にかかる導電用端子の特性を示す図である。
以下、本発明を実施するための形態を図面と共に詳細に説明する。なお、以下の実施の形態により本発明が限定されるものではない。また、以下の説明において参照する各図は、本発明の内容を理解し得る程度に形状、大きさ、および位置関係を概略的に示してあるに過ぎない。すなわち、本発明は各図で例示された形状、大きさ、および位置関係のみに限定されるものではない。
まず、本発明の実施の形態にかかる導電用端子について、図面を参照して詳細に説明する。以下の説明では、導電用端子の例としてスポット溶接装置を説明する。図1は、本実施の形態にかかるスポット溶接装置の構成を模式的に示す斜視図である。図2は、本実施の形態にかかるスポット溶接装置の要部の構成を示す模式図である。図1に示すスポット溶接装置1は、電源供給等を行う本体部10と、本体部10と電気的に接続されるコード11a,11bと、コード11a,11bの本体部10との接続側と異なる端部にそれぞれ電気的に接続される接続部12a,12bと、接続部12a,12bのコード11a,11bとの接続側と異なる端部にそれぞれ電気的に接続され、一対の電極をなす導電用端子13a,13bと、を備える。
コード11a,11bは、本体部10と導電用端子13a,13bとが所望の距離となるように延伸されてなる。なお、コード11a,11bの外表面は、絶縁性の樹脂等によって被覆されている。
接続部12a,12bは、少なくとも外表面が絶縁性を有する。
導電用端子13aは、略円柱状をなす基部131aと、基部131aから延びて先細な先端形状をなす先端部132aとを有する(図2参照)。先端部132aは、基部131aの連結側と異なる端部側に、後述するコールドスプレー法によって形成される金属皮膜であって、接合対象部材と接触する接触部133aを有する。導電用端子13a,13bは、接続部12a,12bに対してねじ止めや嵌め合い等によって固定される。基部131aおよび先端部132aは、純銅等の導電性材料を用いて形成される。
接触部133aの形成に用いられる金属皮膜(皮膜材料)としては、純銅や、金、銀、白金、イリジウム、パラジウム等の貴金属、または純銅と貴金属との合金が挙げられる。なお、銅よりも電気伝導性に優れる貴金属であれば適用可能である。ここで、金属皮膜は、ビッカース硬さが120〜170であり、純銅の電気伝導度を100としたときの比率(%)が80〜95%の電気伝導度を有することが好ましい。
なお、導電用端子13bについても導電用端子13aと同様に、基部131b、先端部132bおよび接触部133bを有する。
上述した構成を有するスポット溶接装置1は、例えば、図3に示すように、重ね合わせられた状態の接合対象の部材101,102の接触面と反対方向の外表面に対して導電用端子13a,13bの接触部133a,133bをそれぞれ接触させる。本体部10からの電源供給によって、接合対象部材を介して導電用端子13a,13b間が通電する。通電して発生した熱によって接合対象の部材101,102の接触部分を溶かすことで部材101と部材102とを接合する。
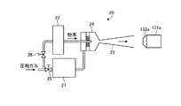
つづいて、接触部133a(金属皮膜)の形成について、図4を参照して説明する。図4は、金属皮膜の形成に使用されるコールドスプレー装置の概要を示す模式図である。コールドスプレー法による金属皮膜形成は、例えば図4に示すコールドスプレー装置20によって行われる。
コールドスプレー装置20は、圧縮ガスを加熱するガス加熱器21と、被溶射物に溶射する粉末材料を収容し、スプレーガン24に供給する粉末供給装置22と、スプレーガン24で加熱された圧縮ガスと混合された材料粉末を先端部132aの上面に向けて噴射するガスノズル23とを備えている。
圧縮ガスとしては、ヘリウム、窒素、空気などが使用される。供給された圧縮ガスは、バルブ25,26により、ガス加熱器21と粉末供給装置22にそれぞれ供給される。ガス加熱器21に供給された圧縮ガスは、例えば50〜700℃に加熱された後、スプレーガン24に供給される。より好ましくは、先端部132aの上面に噴射される粉末の上限温度を皮膜材料の融点以下に留めるように圧縮ガスを加熱する。粉末材料の加熱温度を皮膜材料の融点以下に留めることにより、皮膜材料の酸化を抑制することができる。
粉末供給装置22に供給された圧縮ガスは、粉末供給装置22内の、例えば、粒径が10〜100μm程度の材料粉末をスプレーガン24に所定の吐出量となるように供給する。加熱された圧縮ガスは先細末広形状をなすガスノズル23により超音速流(約340m/s以上)に加速される。スプレーガン24に供給された粉末材料は、この圧縮ガスの超音速流の中への投入により加速され、固相状態のまま先端部132aの上面に高速で衝突して皮膜を形成する。
上述したコールドスプレー装置20によって、図2に示すような接触部133aが形成される。なお、材料粉末を先端部132aの上面に固相状態で衝突させて皮膜を形成できるコールドスプレー装置であれば、図4のコールドスプレー装置20に限定されるものではない。
上述した処理によって、先端部132aの上面を金属皮膜で覆うことによって接触部133aを形成することができる。皮膜形成後、切削加工等の表面加工処理を施すことによって、表面の形状を調整してもよい。
上述した実施の形態にかかるスポット溶接装置の導電用端子によれば、接合対象部材との接触部分をコールドスプレー法によって形成された金属皮膜からなるようにしたので、安価な金属であっても高い硬度の金属皮膜として形成できる。また、コールドスプレー法では、高温で処理する溶接や溶射法等と比して緻密な金属皮膜を形成させることができるため、接触部の電気伝導性が向上する。したがって、一段と良好な電気伝導性を有する導電用端子を実現することができる。
図5は、本実施の形態の変形例にかかるスポット溶接装置の導電用端子の構成を示す模式図である。図5に示す導電用端子15は、略円柱状をなす基部151と、基部151から延びて先細な先端形状をなす先端部152とを有する。基部151および先端部152は、上述したコールドスプレー法によって形成される。このように、導電用端子全体をコールドスプレー法によって作製してもよい。なお、ここで用いられる金属皮膜(皮膜材料)としては、純銅や、金、銀、白金、イリジウム、パラジウム等の貴金属、または純銅と貴金属との合金が挙げられる。
図6は、本発明の実施例にかかる導電用端子に用いる金属皮膜の電気伝導度とビッカース硬さを示す図である。実施例では、コールドスプレー法によって形成された銅の電気伝導度とビッカース硬さを示している。また、比較例1は、クロム銅の電気伝導度とビッカース硬さを示している。比較例2は、酸化物分散銅(アルミナ分散銅1)の電気伝導度とビッカース硬さを示している。比較例3は、酸化物分散銅(アルミナ分散銅2)の電気伝導度とビッカース硬さを示している。なお、実施例および比較例1〜3の電気伝導度は、参考例としての無酸素銅の電気伝導度を100としたときの比率(%)を示している。なお、アルミナ分散銅は数種類存在し、電気伝導度が高いとビッカース硬さは低い。例えば、比較例2のアルミナ分散銅1は、電気伝導度(IACS%)が93%であり、ビッカース硬さ(Hv)が116である。また、比較例3のアルミナ分散銅2は、電気伝導度(IACS%)が77%であり、ビッカース硬さ(Hv)が152である。
図6に示すように、コールドスプレー法によって形成された銅は、クロム銅よりも電気伝導度(IACS%)およびビッカース硬さが高い値となっている。また、アルミナ分散銅1,2と比較しても、同等の電気伝導度と高いビッカース硬さを示している。ここで、コールドスプレー法で用いた銅は、アルミナ分散銅よりも安価であるため、コールドスプレー法によって銅皮膜を形成して作製した導電用端子は、アルミナ分散銅より安価に、かつ同等以上の電気伝導度およびビッカース硬さを有することが確認できる。
以上のように、本発明にかかる導電用端子は、高い硬度と良好な電気伝導性を有する接触部を安価に作製することに有用である。
1 スポット溶接装置
11a,11b コード
12a,12b 接続部
13a,13b,15 導電用端子
131a,131b,151 基部
132a,132b,152 先端部
133a,133b 接触部
20 コールドスプレー装置
21 ガス加熱器
22 粉末供給装置
23 ガスノズル
24 スプレーガン
25,26 バルブ

Claims (4)

  1. 純銅、貴金属または前記純銅と前記貴金属との合金を含む粉体をガスと共に加速し、表面に固相状態のままで吹き付けて堆積させることによって形成される金属皮膜からなり、接触対象と接触する接触部を備えたことを特徴とする導電用端子。
  2. 純銅、貴金属または純銅と貴金属と合金からなる金属を含む粉体をガスと共に加速し、前記先端部の表面に固相状態のままで吹き付けて堆積させることによって形成された金属皮膜からなることを特徴とする導電用端子。
  3. 前記金属皮膜は、ビッカース硬さが120〜170であり、純銅の電気伝導度を100としたときの比率(%)が80〜95%の電気伝導度を有することを特徴とする請求項1または2に記載の導電用端子。
  4. 前記貴金属は、金、銀、白金、イリジウム、パラジウムからなる群より選択される少なくとも1種類を含むことを特徴とする請求項1〜3のいずれか一つに記載の導電用端子。
JP2011002211A 2011-01-07 2011-01-07 導電用端子 Pending JP2012144758A (ja)

Priority Applications (1)

Application Number Priority Date Filing Date Title
JP2011002211A JP2012144758A (ja) 2011-01-07 2011-01-07 導電用端子

Applications Claiming Priority (1)

Application Number Priority Date Filing Date Title
JP2011002211A JP2012144758A (ja) 2011-01-07 2011-01-07 導電用端子

Publications (1)

Publication Number Publication Date
JP2012144758A true JP2012144758A (ja) 2012-08-02

Family

ID=46788623

Family Applications (1)

Application Number Title Priority Date Filing Date
JP2011002211A Pending JP2012144758A (ja) 2011-01-07 2011-01-07 導電用端子

Country Status (1)

Country Link
JP (1) JP2012144758A (ja)

Cited By (3)

* Cited by examiner, † Cited by third party
Publication number Priority date Publication date Assignee Title
JP2014135203A (ja) * 2013-01-10 2014-07-24 Hitachi Vehicle Energy Ltd 角形二次電池
JP2014135204A (ja) * 2013-01-10 2014-07-24 Hitachi Vehicle Energy Ltd 組電池
KR20180015749A (ko) * 2015-06-08 2018-02-13 티이 커넥티버티 저머니 게엠베하 전기 콘택 엘리먼트 및 전기 콘택 엘리먼트의 적어도 하나의 영역의 기계적 및/또는 전기적 특성들을 변경하기 위한 방법

Citations (6)

* Cited by examiner, † Cited by third party
Publication number Priority date Publication date Assignee Title
JPS4121159Y1 (ja) * 1964-02-18 1966-10-17
JPS6333948B2 (ja) * 1983-03-24 1988-07-07 Sumitomo Light Metal Ind
JP2005095886A (ja) * 2003-09-02 2005-04-14 Nippon Steel Corp コールドスプレー用ノズル並びにコールドスプレー被膜及び製造方法
JP2007197795A (ja) * 2006-01-27 2007-08-09 Toyota Motor Corp 電子部材の製造方法
JP2008091466A (ja) * 2006-09-29 2008-04-17 Nippon Chemicon Corp コンデンサ
JP2009206443A (ja) * 2008-02-29 2009-09-10 Sinto Brator Co Ltd 電子回路基板の製造方法およびその電子回路基板

Patent Citations (6)

* Cited by examiner, † Cited by third party
Publication number Priority date Publication date Assignee Title
JPS4121159Y1 (ja) * 1964-02-18 1966-10-17
JPS6333948B2 (ja) * 1983-03-24 1988-07-07 Sumitomo Light Metal Ind
JP2005095886A (ja) * 2003-09-02 2005-04-14 Nippon Steel Corp コールドスプレー用ノズル並びにコールドスプレー被膜及び製造方法
JP2007197795A (ja) * 2006-01-27 2007-08-09 Toyota Motor Corp 電子部材の製造方法
JP2008091466A (ja) * 2006-09-29 2008-04-17 Nippon Chemicon Corp コンデンサ
JP2009206443A (ja) * 2008-02-29 2009-09-10 Sinto Brator Co Ltd 電子回路基板の製造方法およびその電子回路基板

Cited By (6)

* Cited by examiner, † Cited by third party
Publication number Priority date Publication date Assignee Title
JP2014135203A (ja) * 2013-01-10 2014-07-24 Hitachi Vehicle Energy Ltd 角形二次電池
JP2014135204A (ja) * 2013-01-10 2014-07-24 Hitachi Vehicle Energy Ltd 組電池
KR20180015749A (ko) * 2015-06-08 2018-02-13 티이 커넥티버티 저머니 게엠베하 전기 콘택 엘리먼트 및 전기 콘택 엘리먼트의 적어도 하나의 영역의 기계적 및/또는 전기적 특성들을 변경하기 위한 방법
CN107710511A (zh) * 2015-06-08 2018-02-16 泰连德国有限公司 电接触元件和改变其至少一个区域的机械和/或电性能的方法
KR102119089B1 (ko) * 2015-06-08 2020-06-04 티이 커넥티버티 저머니 게엠베하 전기 콘택 엘리먼트 및 전기 콘택 엘리먼트의 적어도 하나의 영역의 기계적 및/또는 전기적 특성들을 변경하기 위한 방법
US10777912B2 (en) 2015-06-08 2020-09-15 Te Connectivity Germany Gmbh Electrical contact element and method for altering mechanical and/or electrical properties of at least one area of such

Similar Documents

Publication Publication Date Title
JP5186528B2 (ja) 導電部材及びその製造方法
JP5484360B2 (ja) 導電部材
CN107743429B (zh) 将导体连接到端子元件的方法以及由此生产的端子组件
US10892671B2 (en) Electrically conductive copper components and joining processes therefor
CA2958509A1 (en) Crimp contact
JP2012144758A (ja) 導電用端子
JP2006031980A (ja) 耐熱絶縁電線及びそれを用いるヒュージング方法
US3519778A (en) Method and apparatus for joining electrical conductors
US7355142B2 (en) Resistance welding electrode, welded copper flex lead, and method for making same
JP2014100019A (ja) 電線の端子構造および電線と端子の接続方法
JP2023167594A (ja) 端子付電線
JP6681372B2 (ja) 抵抗はんだ付け装置、および、それを使用する方法
JP2644860B2 (ja) 圧接用接合端子
KR101571616B1 (ko) 미끄럼 접촉부 및 그 제조 방법
KR101029222B1 (ko) 음극 지지바에 양호한 접촉표면을 형성하는 방법 및 지지바
CN117996484A (zh) 接触元件、连接组件、喷涂介质用途和接触元件制造方法
JP2002316293A (ja) 金属接合用電極及びその製造方法、並びに金属接合用電極を備えた溶接設備及びそれにより溶接された製品
JP2003145274A (ja) 熱圧着端子の製造方法及び熱圧着端子
JPH0982447A (ja) 電線接続方法
JPH11179536A (ja) 半田用チップおよびその製造方法
JPH0982377A (ja) 電線接続方法
JP2004237349A (ja) 形状記憶合金の接合構造及びその接合構造形成方法
US11862918B2 (en) Electric wire joining structure, electric wire joining method, and terminal
GB2103889A (en) Making connections to electrical brushes
JP2010162565A (ja) 電子部品の製造方法、アーク溶接装置、及びアーク溶接方法

Legal Events

Date Code Title Description
A621 Written request for application examination

Free format text: JAPANESE INTERMEDIATE CODE: A621

Effective date: 20130809

A977 Report on retrieval

Free format text: JAPANESE INTERMEDIATE CODE: A971007

Effective date: 20140312

A131 Notification of reasons for refusal

Free format text: JAPANESE INTERMEDIATE CODE: A131

Effective date: 20140401

A521 Written amendment

Free format text: JAPANESE INTERMEDIATE CODE: A523

Effective date: 20140530

A02 Decision of refusal

Free format text: JAPANESE INTERMEDIATE CODE: A02

Effective date: 20141118