JP2012144116A - 洗車機 - Google Patents

洗車機 Download PDF

Info

Publication number
JP2012144116A
JP2012144116A JP2011002981A JP2011002981A JP2012144116A JP 2012144116 A JP2012144116 A JP 2012144116A JP 2011002981 A JP2011002981 A JP 2011002981A JP 2011002981 A JP2011002981 A JP 2011002981A JP 2012144116 A JP2012144116 A JP 2012144116A
Authority
JP
Japan
Prior art keywords
water repellent
car wash
vehicle
wash machine
cleaned
Prior art date
Legal status (The legal status is an assumption and is not a legal conclusion. Google has not performed a legal analysis and makes no representation as to the accuracy of the status listed.)
Granted
Application number
JP2011002981A
Other languages
English (en)
Other versions
JP5598336B2 (ja
Inventor
Yoshiki Kinoshita
義樹 木下
Current Assignee (The listed assignees may be inaccurate. Google has not performed a legal analysis and makes no representation or warranty as to the accuracy of the list.)
Daifuku Co Ltd
Original Assignee
Daifuku Co Ltd
Priority date (The priority date is an assumption and is not a legal conclusion. Google has not performed a legal analysis and makes no representation as to the accuracy of the date listed.)
Filing date
Publication date
Application filed by Daifuku Co Ltd filed Critical Daifuku Co Ltd
Priority to JP2011002981A priority Critical patent/JP5598336B2/ja
Publication of JP2012144116A publication Critical patent/JP2012144116A/ja
Application granted granted Critical
Publication of JP5598336B2 publication Critical patent/JP5598336B2/ja
Active legal-status Critical Current
Anticipated expiration legal-status Critical

Links

Images

Landscapes

  • Vehicle Cleaning, Maintenance, Repair, Refitting, And Outriggers (AREA)

Abstract

【課題】排水の量や、排水と共に廃棄される撥水剤の量を減らし、利便性を高める洗車機を提供する。
【解決手段】被洗浄車両CAに対して相対移動して洗浄を行う洗車機WAにおいて、前記被洗浄車両CAに近傍の位置から撥水剤を単独又は空気流と共に噴射して、車体表面に液滴状の撥水剤を吹き付ける撥水剤噴射ノズル46A(撥水剤噴射ノズル46B)を備えた撥水剤塗布部45A(撥水剤塗布部45B)と、前記車体表面に付着した液滴状の撥水剤を吹き延ばして拡散させる送風部トップ送風ノズル51(サイド送風ノズル52)と、を備えた。
【選択図】図4

Description

本発明は、洗車機に関するものである。
従来の洗車機では、ワックスや撥水剤がけに際し、ワックス液などの撥水剤を何倍かに希釈して車両に大量に散布することで均一塗布していた。この場合、多量の散布によって、車両につかない撥水剤は排水として流れ、さらに環境汚染へ繋がるという問題がある。
そのため、排水の量や、排水と共に廃棄される撥水剤の使用量を減らし、利便性を高める洗車機が求められる。例えば、洗車機に備えるブロワノズル内部からワックスがけを行う装置が開示されている(例えば、特許文献1参照)。これにより、撥水剤はブロワノズルから空気の吹き出しにより行われ、車両全体に対して押し広げられるようになっている。
実開昭62−122761号公報
しかしながら、上記特許文献1に示す装置では、撥水剤をブロワノズルから空気とともに吹き付ける。撥水剤を含んだ空気はブロワノズルから車両へ吹き付けられるため、撥水剤の使用量は撥水剤を空気と混入するため多くなる。また、空気の吹き出しと同時に車両へ撥水剤が塗布されるため、大気中に撥水剤が飛散すると共に、車体表面に濃淡のある塗布面ができ、液垂れ状態が発生するという問題があった。
そこで、本発明が斯かる問題点を鑑みてなされたものであって、その目的とするところは、排水と撥水剤の使用量を減らすとともに、効率よく、また、車体表面に薄く均一に撥水剤を塗布(例えばワックスがけ)ができ、利便性の高い洗車機を提供するものである。
上記目的を達成するために本発明は、被洗浄車両に対して相対移動して洗浄を行う洗車機において、前記被洗浄車両に近傍の位置から撥水剤を単独又は空気流と共に噴射して、車体表面に液滴状の撥水剤を吹き付ける撥水剤噴射ノズルを備えた撥水剤塗布部と、前記車体表面に付着した液滴状の撥水剤を吹き延ばして拡散させる送風部と、を備えたことを特徴とする。
この構成によると、撥水剤塗布部は、前記被洗浄車両に近傍の位置から撥水剤を単独又は空気流と共に噴射して、車体表面に液滴状の撥水剤を吹き付ける。その後、送風部は、前記車体表面に付着した液滴状の撥水剤を吹き延ばして拡散させる。このため、排水と撥水剤の使用量を減らすとともに、効率よく、また、車体表面に薄く均一に撥水剤を塗布(例えばワックスがけ)ができ、利便性の高い洗車機を提供するものである。
また、上記目的を達成するために本発明は、前記撥水剤噴射ノズルは複数の撥水剤噴射口を設けるとともに、前記被洗浄車両の上又は左右から撥水剤を空気流と共に噴射することを特徴とする。
この構成によると、撥水剤噴射ノズルは複数の撥水剤噴射口を設けている。また、前記被洗浄車両の上又は左右から撥水剤を空気流と共に噴射する構成を取っている。このため、車体表面に薄く均一に撥水剤を塗布(例えばワックスがけ)ができるという効果を一層奏する。
また、上記目的を達成するために本発明は、前記撥水剤塗布部と前記送風部とを囲んで、風の影響を抑制するためのカバー部材を設けたことを特徴とする。
この構成によると、前記撥水剤塗布部と前記送風部とを囲んで、風の影響を抑制するためのカバー部材を設けたため、風の影響を受けずに、被洗浄車両に近傍の位置から撥水剤を噴射して車体表面に吹き付け、被洗浄車両に付着した液滴状の撥水剤を吹き延ばして拡散することができる。よって、効率よく、車体表面に薄く均一に撥水剤を塗布(例えばワックスがけ)ができるという効果を奏する。
また、上記目的を達成するために本発明は、前記撥水剤塗布部と前記送風部との間に、風の影響を抑制するためのカバー部材を設けたことを特徴とする。
この構成によると、前記撥水剤塗布部と前記送風部との間に、風の影響を抑制するためのカバー部材を設けたため、前記撥水剤塗布部と前記送風部と互いの影響を少なくすることができ、効率よく、車体表面に薄く均一に撥水剤を塗布(例えばワックスがけ)ができるという効果を奏する。
また、上記目的を達成するために本発明は、前記カバー部材はスリット入りスポンジ素材からなることを特徴とする。
この構成によると、前記カバー部材はスリット入りスポンジなどのやわらかい素材からなる。スリットが入っているため、被洗浄車両の突起物を適切に避けることができ、スポンジ素材のため、素材が軽量となり、車両に傷をつけることが無い。
また、上記目的を達成するために本発明は、前記撥水剤塗布部と前記送風部とが近傍することを特徴とする。
この構成によると、前記撥水剤塗布部と前記送風部とが近傍するため、洗車機の省スペース化に資することになる。
以上のように本発明によれば、排水と撥水剤の使用量を減らすとともに、効率よく、また、車体表面に薄く均一に撥水剤を塗布(例えばワックスがけ)ができ、利便性の高い洗車機を提供するものである。
本発明に係る洗車機の一例を示す図である。 本発明に係る洗車機の洗車動作を示すフローチャートである。 洗車動作を示す図である。 洗車動作を示す図である。 洗車動作を示す図である。 洗車動作を示す図である。 本発明に係る洗車機の一部の図である。 本発明に係る洗車機の一部の図である。 本発明に係る洗車機の一部の図である。 本発明に係る洗車機の一部の図である。 撥水動作に関する図である。 撥水動作に関する図である。
以下、図面を参照して、本発明の実施の形態を説明する。図1は給油装置内に設置される洗車機の一例を示す図である。給油所などに設置されている洗車機WAは、被洗浄車両CAと洗車機本体31を前後方向に相対移動させながら、被洗浄車両CAに貯液タンクに貯留された洗剤と撥水剤と洗浄水とを噴射して洗車を行う構成とされている。
この洗車機WAは、例えば、複数のブラシを備える洗浄部材と、ブロワと複数の送風ノズルを備える乾燥部材とを装着し、被洗浄車両CAを跨ぐように門型とされる洗車機本体31を備えた構成であり、被洗浄車両CAと洗車機本体31を前後方向に相対移動させながら、複数の貯液タンクに貯留された洗浄液をそれぞれ水により希釈して前記被洗浄車両CAへ噴射して、前記被洗浄車両CAの洗車を行う。また、洗車機本体31が、車輪33を介してレール32上に沿って走行移動する構成とする。
門型の洗車機本体31は、被洗浄車両CAを洗浄するブラシとして、例えば、被洗浄車両CAの上面を洗浄するトップブラシ34と、被洗浄車両CAの両側面と前後面を洗浄する左右一対のサイドブラシ35と、被洗浄車両CAの両側面下部を洗浄する左右一対のロッカーブラシ36とを備えている。
また、ブラッシングの際に使用する洗浄水や各種撥水剤を噴射する各種ノズルや各種撥水剤を貯液する貯液タンクを備えている。各種撥水剤を貯液する複数の貯液タンクは、洗車機本体31に設けられるタンク収納部60に収納されており、電磁式の開閉弁と副給水ホースを備える分配配管部61を介して各ノズルに分配している。撥水剤を噴射するノズルとしては、例えば、第一浄水ノズル41、第一洗剤ノズル42、第二浄水ノズル43、第二洗剤ノズル44などが配設されている。
さらに、乾燥のために、ブロワ50と該ブロワ50からの送風を吹き付ける昇降自在なトップ送風ノズル51(送風部と同義)と左右一対のサイド送風ノズル52(送風部と同義)を備えている。トップ送風ノズル51の近傍には撥水剤塗布部45Aを備えている。また、左右一対のサイド送風ノズル52それぞれの近傍には撥水剤塗布部45Bを備えている。撥水剤塗布部45A(撥水剤塗布部45B)とトップ送風ノズル51やサイド送風ノズル52(送風部)の関係については後述する。
また、洗車機本体31に配設する操作パネル37、もしくは、洗車機本体31から離れた位置に設置するリモートパネル37Aを介して、洗車機WAの駆動条件を設定し、設定された条件に基づいて洗車機WAを駆動する構成としている。38は、被洗浄車両CAの有無および車高を検知するセンサであって、例えば、光電センサや超音波を利用したソニックセンサが好適に用いられる。
次に洗車動作について、図2のフローチャート及び図3A〜図3Dを用いて説明する。
ステップS1では、ユーザは洗車コースを設定する。例えば、被洗浄車両CAを、該被洗浄車両CAを跨ぐ門型とされる洗車機の左右一対のレール間の所定の位置に停車して、洗車機本体31に設置する操作パネル37もしくは洗車機本体31から離れた位置に設置するリモートパネル37Aから、所望の洗車モードを設定し、スタート釦を操作して、洗車操作を開始する。
操作パネル37やリモートパネル37Aには、水洗いモードや、洗剤を用いた洗浄モードや、ワックスを塗布するワックスモードや、撥水剤をコートする撥水モードなどの各種洗車モードを選択する選択釦や、ブラシの回転数を制御するブラシ回転スイッチや、スタート・ストップ釦などが設けられている。
ステップS2では、洗車機本体31が前進する第1往路において(図3A)、洗車(ブラッシング)を開始する。被洗浄車両CAに対して、第一洗剤ノズル42と第二洗剤ノズル44から洗剤が噴射され、第一浄水ノズル41と第二浄水ノズル43から洗浄水(リンス)が噴射され、洗車機本体31により被洗浄車両CAの洗浄が各種のブラシを用いて行われる。
ステップS3では、ユーザが選択した洗車コースが洗車機本体31が被洗浄車両CAを2往復して洗浄する処理か否か判断される。2往復の処理の場合にはステップS5へ移行し、1往復の処理の場合にはステップS4へ移行する。
ステップS4では、洗車機本体31が後進する第1復路において(図3B)、被洗浄車両CAに対して撥水剤の吹き付けが行われる。吹き付けられた撥水剤は、トップ送風ノズル51から出力される空気流(ブロー)によって吹き延ばされ、その後、被洗浄車両CAは水洗される。
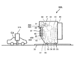
撥水剤の吹き付けについて、さらに説明する。図4に示すように、撥水剤噴射ノズル46Aに設けられた撥水剤噴射口47A、即ち、被洗浄車両CAに近傍の位置から、撥水剤を単独又は空気流と共に噴射して、被洗浄車両CAの車体表面に液滴状の撥水剤を吹き付ける。空気流と共に噴射する場合には、撥水剤はミスト状になって吹き付けられ、単独よりも広範囲に吹き付けられることになる。
図4に示すように撥水剤噴射口47Aは撥水剤噴射ノズル46Aに複数設けられており、これにより、効率よく、被洗浄車両CAの車体表面に薄く均一に撥水剤(ワックス)を噴射することができる。
なお、撥水剤塗布部45Aは撥水剤噴射ノズル46Aと撥水剤噴射口47Aとを合わせた総称である。また、撥水剤塗布部45Aはトップ送風ノズル51と近傍する。
図4に示すように、撥水剤塗布部45Aとトップ送風ノズル51とを囲んで、風の影響を抑制するためのカバー部材55を設けている。このため、風の影響を受けずに、被洗浄車両CAに近傍した位置から撥水剤を単独又は空気流と共に噴射して車体表面に吹き付け、被洗浄車両CAに付着した液滴状の撥水剤を吹き延ばして拡散することができる。よって、効率よく、被洗浄車両CAの車体表面に薄く均一にワックスがけができるという効果を奏する。
カバー部材55はスリット56入りスポンジなどのやわらかい素材から成る。スリット56が入っているため、被洗浄車両CAの突起物を適切に避けることができる。また、スポンジ素材のため、素材が軽量となり、被洗浄車両CAの表面を傷つけることはない。
図4は、被洗浄車両CAの上面へ液滴状の撥水剤を吹き付けたが、図5に示すように被洗浄車両CAの横面(サイド面)から吹き付ける構成であってもよい。
図8Aは、撥水剤を単独又は空気流と共に噴射して被洗浄車両CAの車体表面に液滴状の撥水剤HSZを吹き付けた状態である。CAHは被洗浄車両CAの車体表面の一部であり、車体表面CAHへ液滴状の撥水剤HSZが多数存在する。図8Aにあるように、撥水剤噴射ノズル46Aから噴射された液滴状の撥水剤HSZは、所定の圧力と距離と角度によって噴射することで、車体表面CAHから零れ落ちない程度の大きさで、点在することが好ましい。これにより、撥水剤HSZの無駄を無くすことができる。また、撥水剤噴射ノズル46Aから噴射では圧縮気体を用いても良い。
図8Bは、被洗浄車両CAに付着した液滴状の撥水剤HSZを吹き延ばして拡散させた図である。このように、撥水剤HSZを吹き延ばして拡散させたため、効率よく、また、車体表面に薄く均一にワックスがけができる。送風部(トップ送風ノズル51、サイド送風ノズル52)からの圧縮空気の放出角は、適宜調整し得るように形成することが望ましい。また、上記の理由により、撥水剤HSZは吹き延ばして拡散させやすいものを使用することが好ましい。
ステップS5では、洗車機本体31が後進する第1復路において(図3B)、洗剤ノズル25から洗剤が噴射され、各種のブラシを用いて被洗浄車両CAの洗浄が行われる。
ステップS6では、洗車機本体31が前進する第2往路において(図3C)、被洗浄車両CAに対して撥水剤HSZの吹き付けが行われる。吹き付けられた撥水剤HSZはトップ送風ノズル51から出力される空気流(ブロー)によって吹き延ばされる。撥水剤HSZの吹き付け及び、吹き延ばしはステップS4と同様である。
ステップS7では、洗車機本体31が後進する第2復路において(図3D)、被洗浄車両CAの水洗がなされる。
ステップS8では、送風部(トップ送風ノズル51、サイド送風ノズル52)から空気を吹き付け、被洗浄車両CAを乾燥(エアーブロー)させる。
ステップS9では、被洗浄車両CAは退出して、洗車動作を終了する。そして、出口信号灯(付図示)を点灯し、被洗浄車両CAの退出を促す。
上記の通り、本願発明は、被洗浄車両CAに対して相対移動して洗浄を行う洗車機において、前記被洗浄車両CAに近傍の位置から液滴状の撥水剤を単独又は空気流と共に噴射して車体表面に吹き付ける撥水剤噴射ノズル46A(撥水剤噴射ノズル46B)を備えた撥水剤塗布部45A(撥水剤塗布部45B)と、前記車体表面に付着した液滴状の撥水剤を吹き延ばして拡散させる送風部(トップ送風ノズル51、サイド送風ノズル52)と、を備えたことを特徴とする洗車機である。
このため、排水と撥水剤の使用量を減らすとともに、効率よく、また、車体表面に薄く均一に撥水剤を塗布(例えばワックスがけ)ができ、利便性の高い洗車機を提供するものである。
また本発明の構成は、上記実施形態のほか、発明の趣旨を逸脱しない範囲で種々の変更を加えることが可能である。
31 洗車機本体
32 レール
33 車輪
34 トップブラシ
35 サイドブラシ
36 ロッカーブラシ
37 操作パネル
38 センサ
41 第一浄水ノズル
42 第一洗剤ノズル
43 第二浄水ノズル
44 第二洗剤ノズル
37A リモートパネル
45A 撥水剤塗布部
45B 撥水剤塗布部
46A 撥水剤噴射ノズル
46B 撥水剤噴射ノズル
47A 撥水剤噴射口
47B 撥水剤噴射口
50 ブロワ
51 トップ送風ノズル(送風部)
52 サイド送風ノズル(送風部)
55 カバー部材
56 スリット
CA 被洗浄車両
WA 洗車器

Claims (6)

  1. 被洗浄車両に対して相対移動して洗浄を行う洗車機において、
    前記被洗浄車両に近傍の位置から撥水剤を単独又は空気流と共に噴射して、車体表面に液滴状の撥水剤を吹き付ける撥水剤噴射ノズルを備えた撥水剤塗布部と、
    前記車体表面に付着した液滴状の撥水剤を吹き延ばして拡散させる送風部と、
    を備えたことを特徴とする洗車機。
  2. 前記撥水剤噴射ノズルは複数の撥水剤噴射口を設けるとともに、前記被洗浄車両の上又は左右から撥水剤を空気流と共に噴射することを特徴とする請求項1に記載の洗車機。
  3. 前記撥水剤塗布部と前記送風部とを囲んで、風の影響を抑制するためのカバー部材を設けたことを特徴とする請求項1又は2に記載の洗車機。
  4. 前記撥水剤塗布部と前記送風部との間に、風の影響を抑制するためのカバー部材を設けたことを特徴とする請求項1又は2に記載の洗車機。
  5. 前記カバー部材はスリット入りスポンジ素材からなることを特徴とする請求項3又は4に記載の洗車機。
  6. 前記撥水剤塗布部と前記送風部とが近傍することを特徴とする請求項1〜5のいずれかに記載の洗車機。
JP2011002981A 2011-01-11 2011-01-11 洗車機 Active JP5598336B2 (ja)

Priority Applications (1)

Application Number Priority Date Filing Date Title
JP2011002981A JP5598336B2 (ja) 2011-01-11 2011-01-11 洗車機

Applications Claiming Priority (1)

Application Number Priority Date Filing Date Title
JP2011002981A JP5598336B2 (ja) 2011-01-11 2011-01-11 洗車機

Publications (2)

Publication Number Publication Date
JP2012144116A true JP2012144116A (ja) 2012-08-02
JP5598336B2 JP5598336B2 (ja) 2014-10-01

Family

ID=46788167

Family Applications (1)

Application Number Title Priority Date Filing Date
JP2011002981A Active JP5598336B2 (ja) 2011-01-11 2011-01-11 洗車機

Country Status (1)

Country Link
JP (1) JP5598336B2 (ja)

Citations (4)

* Cited by examiner, † Cited by third party
Publication number Priority date Publication date Assignee Title
JPS62122761U (ja) * 1986-01-28 1987-08-04
JPH0752762A (ja) * 1993-08-11 1995-02-28 Daifuku Co Ltd 洗車機
JPH0776266A (ja) * 1993-09-07 1995-03-20 Takeuchi Iron Works Corp 車両のオートポリッシャー
JPH0939746A (ja) * 1995-07-26 1997-02-10 Nissei Build Kogyo Co Ltd 洗車装置

Patent Citations (4)

* Cited by examiner, † Cited by third party
Publication number Priority date Publication date Assignee Title
JPS62122761U (ja) * 1986-01-28 1987-08-04
JPH0752762A (ja) * 1993-08-11 1995-02-28 Daifuku Co Ltd 洗車機
JPH0776266A (ja) * 1993-09-07 1995-03-20 Takeuchi Iron Works Corp 車両のオートポリッシャー
JPH0939746A (ja) * 1995-07-26 1997-02-10 Nissei Build Kogyo Co Ltd 洗車装置

Also Published As

Publication number Publication date
JP5598336B2 (ja) 2014-10-01

Similar Documents

Publication Publication Date Title
JP5664522B2 (ja) 洗車機および洗車方法
US6227745B1 (en) Vehicle washing device
JP5598336B2 (ja) 洗車機
JP5273077B2 (ja) 洗車機
JP2016049944A (ja) 洗車機
JP6264263B2 (ja) 洗車機及び洗車方法
JP2019182047A (ja) 洗車機
JP5772602B2 (ja) 洗車機
JP5594280B2 (ja) 洗車機
JP2014231031A (ja) 洗浄液散布方法及び洗浄液散布装置
JP5895885B2 (ja) 洗車機
JP5488504B2 (ja) 洗車機および洗車方法
JP6582886B2 (ja) 洗車機及び洗車方法
JP2019182049A (ja) 洗車機
JP6119473B2 (ja) 洗車機
JP5447280B2 (ja) 洗車機
JP2016097706A (ja) 洗車機及び洗車方法
JP2019182048A (ja) 洗車機
JP2018202944A (ja) 洗車機
JP5861585B2 (ja) 洗車機
JP5521869B2 (ja) 洗車機
JP6107728B2 (ja) 洗車機
JP2019182031A (ja) 洗車機
JP2017165241A (ja) 洗車機及び洗車方法
JPH0641898Y2 (ja) 洗車機のアーチ構造

Legal Events

Date Code Title Description
A621 Written request for application examination

Free format text: JAPANESE INTERMEDIATE CODE: A621

Effective date: 20130227

A977 Report on retrieval

Free format text: JAPANESE INTERMEDIATE CODE: A971007

Effective date: 20131227

A131 Notification of reasons for refusal

Free format text: JAPANESE INTERMEDIATE CODE: A131

Effective date: 20140128

A521 Request for written amendment filed

Free format text: JAPANESE INTERMEDIATE CODE: A523

Effective date: 20140311

A02 Decision of refusal

Free format text: JAPANESE INTERMEDIATE CODE: A02

Effective date: 20140422

A521 Request for written amendment filed

Free format text: JAPANESE INTERMEDIATE CODE: A523

Effective date: 20140516

A911 Transfer to examiner for re-examination before appeal (zenchi)

Free format text: JAPANESE INTERMEDIATE CODE: A911

Effective date: 20140623

TRDD Decision of grant or rejection written
A01 Written decision to grant a patent or to grant a registration (utility model)

Free format text: JAPANESE INTERMEDIATE CODE: A01

Effective date: 20140715

A61 First payment of annual fees (during grant procedure)

Free format text: JAPANESE INTERMEDIATE CODE: A61

Effective date: 20140728

R150 Certificate of patent or registration of utility model

Ref document number: 5598336

Country of ref document: JP

Free format text: JAPANESE INTERMEDIATE CODE: R150

R250 Receipt of annual fees

Free format text: JAPANESE INTERMEDIATE CODE: R250

R250 Receipt of annual fees

Free format text: JAPANESE INTERMEDIATE CODE: R250

R250 Receipt of annual fees

Free format text: JAPANESE INTERMEDIATE CODE: R250

RD03 Notification of appointment of power of attorney

Free format text: JAPANESE INTERMEDIATE CODE: R3D03

R250 Receipt of annual fees

Free format text: JAPANESE INTERMEDIATE CODE: R250

R250 Receipt of annual fees

Free format text: JAPANESE INTERMEDIATE CODE: R250

R250 Receipt of annual fees

Free format text: JAPANESE INTERMEDIATE CODE: R250

R250 Receipt of annual fees

Free format text: JAPANESE INTERMEDIATE CODE: R250

R250 Receipt of annual fees

Free format text: JAPANESE INTERMEDIATE CODE: R250

R250 Receipt of annual fees

Free format text: JAPANESE INTERMEDIATE CODE: R250