JP2012144012A - 光書き込みヘッド及び画像形成装置 - Google Patents
光書き込みヘッド及び画像形成装置 Download PDFInfo
- Publication number
- JP2012144012A JP2012144012A JP2011005818A JP2011005818A JP2012144012A JP 2012144012 A JP2012144012 A JP 2012144012A JP 2011005818 A JP2011005818 A JP 2011005818A JP 2011005818 A JP2011005818 A JP 2011005818A JP 2012144012 A JP2012144012 A JP 2012144012A
- Authority
- JP
- Japan
- Prior art keywords
- light emitting
- writing head
- optical writing
- emitting element
- lens system
- Prior art date
- Legal status (The legal status is an assumption and is not a legal conclusion. Google has not performed a legal analysis and makes no representation as to the accuracy of the status listed.)
- Granted
Links
Images
Classifications
-
- G—PHYSICS
- G02—OPTICS
- G02B—OPTICAL ELEMENTS, SYSTEMS OR APPARATUS
- G02B27/00—Optical systems or apparatus not provided for by any of the groups G02B1/00 - G02B26/00, G02B30/00
- G02B27/42—Diffraction optics, i.e. systems including a diffractive element being designed for providing a diffractive effect
- G02B27/4205—Diffraction optics, i.e. systems including a diffractive element being designed for providing a diffractive effect having a diffractive optical element [DOE] contributing to image formation, e.g. whereby modulation transfer function MTF or optical aberrations are relevant
- G02B27/4211—Diffraction optics, i.e. systems including a diffractive element being designed for providing a diffractive effect having a diffractive optical element [DOE] contributing to image formation, e.g. whereby modulation transfer function MTF or optical aberrations are relevant correcting chromatic aberrations
-
- B—PERFORMING OPERATIONS; TRANSPORTING
- B41—PRINTING; LINING MACHINES; TYPEWRITERS; STAMPS
- B41J—TYPEWRITERS; SELECTIVE PRINTING MECHANISMS, i.e. MECHANISMS PRINTING OTHERWISE THAN FROM A FORME; CORRECTION OF TYPOGRAPHICAL ERRORS
- B41J2/00—Typewriters or selective printing mechanisms characterised by the printing or marking process for which they are designed
- B41J2/435—Typewriters or selective printing mechanisms characterised by the printing or marking process for which they are designed characterised by selective application of radiation to a printing material or impression-transfer material
- B41J2/447—Typewriters or selective printing mechanisms characterised by the printing or marking process for which they are designed characterised by selective application of radiation to a printing material or impression-transfer material using arrays of radiation sources
- B41J2/45—Typewriters or selective printing mechanisms characterised by the printing or marking process for which they are designed characterised by selective application of radiation to a printing material or impression-transfer material using arrays of radiation sources using light-emitting diode [LED] or laser arrays
- B41J2/451—Special optical means therefor, e.g. lenses, mirrors, focusing means
-
- B—PERFORMING OPERATIONS; TRANSPORTING
- B41—PRINTING; LINING MACHINES; TYPEWRITERS; STAMPS
- B41J—TYPEWRITERS; SELECTIVE PRINTING MECHANISMS, i.e. MECHANISMS PRINTING OTHERWISE THAN FROM A FORME; CORRECTION OF TYPOGRAPHICAL ERRORS
- B41J2/00—Typewriters or selective printing mechanisms characterised by the printing or marking process for which they are designed
- B41J2/435—Typewriters or selective printing mechanisms characterised by the printing or marking process for which they are designed characterised by selective application of radiation to a printing material or impression-transfer material
- B41J2/47—Typewriters or selective printing mechanisms characterised by the printing or marking process for which they are designed characterised by selective application of radiation to a printing material or impression-transfer material using the combination of scanning and modulation of light
-
- G—PHYSICS
- G02—OPTICS
- G02B—OPTICAL ELEMENTS, SYSTEMS OR APPARATUS
- G02B27/00—Optical systems or apparatus not provided for by any of the groups G02B1/00 - G02B26/00, G02B30/00
- G02B27/0025—Optical systems or apparatus not provided for by any of the groups G02B1/00 - G02B26/00, G02B30/00 for optical correction, e.g. distorsion, aberration
- G02B27/0037—Optical systems or apparatus not provided for by any of the groups G02B1/00 - G02B26/00, G02B30/00 for optical correction, e.g. distorsion, aberration with diffracting elements
- G02B27/0043—Optical systems or apparatus not provided for by any of the groups G02B1/00 - G02B26/00, G02B30/00 for optical correction, e.g. distorsion, aberration with diffracting elements in projection exposure systems, e.g. microlithographic systems
-
- G—PHYSICS
- G02—OPTICS
- G02B—OPTICAL ELEMENTS, SYSTEMS OR APPARATUS
- G02B27/00—Optical systems or apparatus not provided for by any of the groups G02B1/00 - G02B26/00, G02B30/00
- G02B27/0025—Optical systems or apparatus not provided for by any of the groups G02B1/00 - G02B26/00, G02B30/00 for optical correction, e.g. distorsion, aberration
- G02B27/005—Optical systems or apparatus not provided for by any of the groups G02B1/00 - G02B26/00, G02B30/00 for optical correction, e.g. distorsion, aberration for correction of secondary colour or higher-order chromatic aberrations
- G02B27/0056—Optical systems or apparatus not provided for by any of the groups G02B1/00 - G02B26/00, G02B30/00 for optical correction, e.g. distorsion, aberration for correction of secondary colour or higher-order chromatic aberrations by using a diffractive optical element
-
- G—PHYSICS
- G02—OPTICS
- G02B—OPTICAL ELEMENTS, SYSTEMS OR APPARATUS
- G02B27/00—Optical systems or apparatus not provided for by any of the groups G02B1/00 - G02B26/00, G02B30/00
- G02B27/42—Diffraction optics, i.e. systems including a diffractive element being designed for providing a diffractive effect
- G02B27/4205—Diffraction optics, i.e. systems including a diffractive element being designed for providing a diffractive effect having a diffractive optical element [DOE] contributing to image formation, e.g. whereby modulation transfer function MTF or optical aberrations are relevant
- G02B27/4227—Diffraction optics, i.e. systems including a diffractive element being designed for providing a diffractive effect having a diffractive optical element [DOE] contributing to image formation, e.g. whereby modulation transfer function MTF or optical aberrations are relevant in image scanning systems
Landscapes
- Physics & Mathematics (AREA)
- Optics & Photonics (AREA)
- General Physics & Mathematics (AREA)
- Health & Medical Sciences (AREA)
- General Health & Medical Sciences (AREA)
- Toxicology (AREA)
- Facsimile Heads (AREA)
- Printers Or Recording Devices Using Electromagnetic And Radiation Means (AREA)
- Lenses (AREA)
- Diffracting Gratings Or Hologram Optical Elements (AREA)
Abstract
Description
画像信号に応じて変調された光束を発光素子から放射し、レンズアレイにより感光ドラムの面上にスポット状に集光することで、画像記録を行っている。
このような光書き込みヘッドにおいては、より高精細な印字を行うことが求められている。
ところで、感光ドラムは円柱形状を有しており、円柱の軸を回転軸として回転している。この回転軸は、作製誤差及び組み立て時の設置誤差により、感光ドラムの中心軸からずれが生じる。
そのため、感光ドラムの回転に応じて、像面が光軸方向に前後する。その結果、感光ドラムの面上に形成されるスポット位置やスポット径が感光ドラムの回転に伴い変化し、記録された画像に濃度むら、色変わりが発生する原因となる。
従来において、像面が光軸方向に前後することによるスポット位置変化を低減可能とする手段として、例えば特許文献1等においてレンズアレイの像側をテレセントリックな構成にすることが開示されている。
このような構成によると、主光線が光軸と平行であるため、像面が前後しても、スポット位置変化が小さく、また、レンズアレイの焦点深度の範囲内ではスポット径変化も小さくすることができる。
一方、レンズアレイの像側NAを大きくすると、レンズアレイの焦点深度が浅くなり、像面位置変化の許容範囲が狭くなる。
すなわち、高精細の印字を行うためには、感光ドラムの作製及び組み立て時の設置を高精度に行う必要があり、光書き込みヘッドおよび感光ドラムが高コスト化する。
このようなことから、径の小さい集光スポットと、深い焦点深度を両立した光書き込みヘッドが望まれている。
前記発光素子から放射された光束を所定の像面に集光するレンズアレイを備えたレンズ系と、を有する光書き込みヘッドであって、
前記レンズ系は、像側にテレセントリックであり、
前記発光素子から放射された光束がピーク光強度を有する波長をλ0とし、該ピーク光強度の0.81倍の光強度を有する波長の軸上色収差をΔskとし、該レンズ系の像側開口数をNAとするとき、
以下の条件式を満たすことを特徴とする。
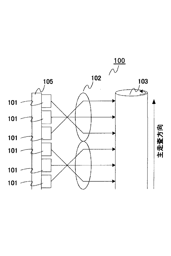
図1は、光書き込みヘッド100の主走査方向と平行な面での断面概略図を示している。
図1において、100は光書き込みヘッドである。また、101は基板105上に配列された発光素子であり、これらの複数の発光素子が基板上に配列されて発光素子アレイが構成されている。これらの発光素子101は、例えばLEDや有機ELで構成することができる。
また、102はレンズが並列に複数配列され、発光素子から放射された光束を所定の像面に集光するレンズアレイである。
ここでは、発光素子101から放射された光束は、レンズアレイ102により集光され、感光ドラム103の面上にスポットを形成する。
レンズアレイ102は、主光線が像側にて光軸と平行になる像側テレセントリックな構成を有しており、例えば図2に光書き込みヘッド100の一部を概略図で示す。
図2においては、201は光源面(物体面)であり、発光素子がアレイ状に配列されている。
202は絞り板であり、203は感光体面(像面)である。光源面201と感光体面203の間に絞り202とレンズアレイ102を配置し、絞り202とレンズアレイ102の物体側主点間の距離をレンズアレイ102の焦点距離とする。以上の配置により、レンズアレイ102は像側テレセントリックな構成となる。発光素子101から放射された光の発光スペクトルは、有限の波長幅を有している。
図3(a)に、発光素子101の発光スペクトルの一例を示す。図3(a)は、横軸に波長、縦軸に光強度をとった発光素子101の発光スペクトルを表す図である。
発光素子101は、波長301Aにて光強度301Bを有し、波長302A及び304Aにて光強度302Bを有し、波長303A及び305Aにて光強度303Bを有している。
発光素子101から放射された光をレンズアレイ102にて集光すると、軸上色収差により波長ごとに異なる位置に像を形成する。
図3(b)は、波長301A〜305Aの各デフォーカス位置での点像の中心強度(点像中心強度)を示した図である。
図3(b)の横軸は波長301Aの近軸像面を基準にしたデフォーカス、縦軸は各デフォーカス位置での点像中心強度である。
軸上色収差により、各波長の点像は異なるデフォーカス位置にて最大強度を有している。
発光素子101は、波長301A〜305Aの他に複数の波長を含んだ光を放射している。
そのため、発光素子101の点像中心強度は、各波長の点像を積算することで表せる。
図3(c)の実線306は、各波長の点像を積算した発光素子101の点像中心強度である。
また、図3(c)の点線307は、各波長の点像の最大強度を示している。
図3(c)の横軸は波長301Aの近軸像面を基準にしたデフォーカス、縦軸は比較のためにデフォーカス=0の強度で規格化している。
図3(c)から、実線306と点線307は略等しいデフォーカス特性を示していることが分かる。
以上から、発光素子101の単位デフォーカスあたりの点像の中心強度変化は、各波長の点像の最大強度の単位デフォーカスあたりの変化で表すことができる。
発光素子101の点像中心強度は、各波長の点像の最大強度と略等しいデフォーカス特性を有するため、レンズアレイ102の軸上色収差を大きくすることで単位デフォーカスあたりの点像中心強度変化を小さくでき、焦点深度を深くできる。
以上から、レンズアレイ102の像側NAを小さくすることなく焦点深度を深くすることができるため、小さいスポット径と深い焦点深度を両立することができる。
図4は、発光素子101の点像中心強度と、発光素子から放射された光束がピーク光強度を有する波長であるピーク波長λ0の点像中心強度を示す図である。
図4の横軸は発光素子101のピーク波長λ0の近軸像面を基準にしたデフォーカス、縦軸はデフォーカス=0の強度で規格化した点像中心強度である。
発光素子101から放射された光の点像中心強度を実線401で、波長λ0の点像中心強度を破線402で示している。
図4における403は、デフォーカス=0の点像中心強度の0.81倍の点像中心強度を示している。
デフォーカス404は実線401が点像中心強度403をとるデフォーカスであり、デフォーカス405は破線402が点像中心強度403をとるデフォーカスである。
一般的に、光学系による像の変化が小さい領域は、点像中心強度がデフォーカス=0での点像中心強度の0.81倍以内と言われている。よって、焦点深度は点像中心強度403を有するデフォーカスで表せる。
すなわち、デフォーカス405は、レンズアレイ102の像側像側開口数NAにより決まる焦点深度を表し、デフォーカス404は、本発明の光書き込みヘッド100の焦点深度を表す。
デフォーカス405をz0としたとき、z0は以下の条件式1で表される。
式1におけるNAは、レンズアレイ102の像側開口数である。
破線402のデフォーカス位置z0よりも、実線401のデフォーカス位置Δskが大きい値を有するとき、レンズアレイ102の像側NAによらず、焦点深度を深くすることができる。
よって、以下の条件式2を満たすことでレンズアレイ102の像側NAによらず焦点深度を深くすることができ、小さいスポット径と深い焦点深度を両立することができる。
図5の縦軸及び横軸は、図4と同様である。
一点鎖線503は、実線501とほぼ同じグラフとなり、焦点深度を深くする効果は小さい。
一方、破線502は実線501と比べて、単位デフォーカスあたりの点像中心強度変化が小さく、焦点深度を深くすることができている。
以上のように、条件式2を満たすことで、レンズアレイ102の像側NAにて決まる焦点深度よりも、焦点深度を深くすることができる。
また、本発明において、像側テレセントリックとは、像面に入射する主光線が光軸と完全に平行になる場合には限定されない。像面である感光ドラム103に入射する主光線が光軸と成す角度が±1°以内にある場合も含むものとする。
本発明においては、上記した光書き込みヘッドを用い、該光書き込みヘッドからの光を感光部に照射することにより潜像が形成される画像形成装置を構成することができる。
[実施例1]
実施例1として、本発明を適用した光書き込みヘッドの構成例を説明する。
図6(a)は、発光素子101の発光スペクトルを示す図であり、横軸に波長、縦軸に光強度をとったグラフである。
発光素子101は、半値全幅=40nmの発光スペクトルを有している。
波長601は発光素子101のピーク波長λ0であり、本実施例においてはλ0=546nmである。
波長602及び波長603は、ピーク強度605の0.81倍の光強度604を有する波長λ1及びλ2であり、λ1=535nm、λ2=558nmである。図6(b)は、実施例1の1個のレンズアレイ102に対応する光学系の主走査断面図であり、クラウンレンズである第1レンズとフリントレンズである第2レンズからなるダブレットレンズである。
第1レンズと第2レンズからなる合成レンズ系の物体側焦点に絞り板607を配置して像側にテレセントリックとしている。
図6(c)は、本実施例の点像中心強度デフォーカス特性を示す図であり、横軸に波長λ0の近軸像面を基準としたデフォーカス、縦軸に点像中心強度を示している。
実線612は本実施例の点像中心強度を示し、破線613は、波長λ0の点像中心強度を示している。
図6(c)から、単位デフォーカスあたりの点像中心強度変化は、実線612の方が小さく、本実施例の構成にて、深い焦点深度を得ていることがわかる。
仮に、屈折率分散の大きい(アッベ数の小さい)ポリカーボネイド等の樹脂製正レンズを用いたとしても、その軸上色収差は0.003〜0.004mm程度と小さく、条件式2を満たすことは困難である。
条件式2を満たす軸上色収差を得るためには、本実施例に示すように、屈折率分散の異なるクラウンレンズとフリントレンズを組み合わせたダブレットレンズが有効である。
光源面606側から感光体面611側へ順に、r2、r3・・・は各光学面の曲率半径(mm)、d1、d2・・・は各光学面間の間隔(mm)、n1、n2は各透明媒質の屈折率を表す。
なお、各透明媒質の屈折率は、以下の条件式3の分散公式を用いて表される。
n1:C1=2.633127 C2=−7.937823E−2 C3=−1.734506E−1 C4=8.609268E−2 C5=−1.617892E−2 C6=1.128933E−3
n2:C1=2.399964 C2=−8.308636E−2 C3=−1.919569E−1 C4=8.720608E−2 C5=−1.666411E−2 C6=1.169519E−3
r1=∞(物体面) d1=4
r2=0.39549 d2=0.25 n1
r3=−0.64735 d3=0.06 n2
r4=0.33311 d4=3
r5=∞(像面)
物体側開口角(半角)=0.075rad
像側開口角(半角)=0.075rad
横倍率=−1.0
[実施例2]
実施例2は、実施例1とは異なり、正のパワーを有する面を回折光学素子(DOE)にて構成した例である。
波長λ1におけるDOEのパワーφ1は、波長λ0でのパワーをφ0とした時、
φ1=(λ1/λ0)×φ0
と表すことができ、単位波長あたりのパワー変化が大きい。そのため、大きな軸上色収差を得ることができる。
発光素子101は、半値全幅=40nmの発光スペクトルを有している。波長701は発光素子101のピーク波長λ0であり、本実施例においてはλ0=680nmである。
波長702及び波長703は、ピーク強度705の0.81倍の光強度704を有する波長λ1及びλ2であり、λ1=669nm、λ2=691nmである。図7(b)は、実施例2の1個のレンズアレイ102に対応する光学系の主走査断面図である。
第1レンズ708は、前側面710と後側面711をDOEで構成している。第1レンズ708の前側レンズの物体側焦点に光源面706を配置している。
さらに、第1レンズ708の前側面710と後側面711間の間隔を、前側面710の焦点距離と後側面711の焦点距離の和を第1レンズの屈折率で除した値とすることで、物体側および像側にテレセントリックな構成となっている。
図7(c)は、本実施例の点像中心強度デフォーカス特性を示す図であり、横軸に波長λ0の近軸像面を基準としたデフォーカス、縦軸に点像中心強度を示している。
実線712は本実施例の点像中心強度を示し、破線713は、波長λ0の点像中心強度を示している。
図7(c)から、単位デフォーカスあたりの点像中心強度変化は、実線712の方が小さく、本実施例の構成にて、深い焦点深度を得ていることがわかる。本実施例では、光学面にDOEを用いることで、大きな軸上色収差を発生させ、より深い焦点深度を得ている。
本実施例のレンズアレイ102は、横倍率−1.2倍を有する倒立拡大光学系である。
横倍率絶対値を1よりも大きくすることで、軸上色収差を大きくすることができ、より焦点深度を深くすることができる。
なお、本実施例では、レンズアレイ102を倒立拡大系としたが、倒立縮小系であってもよい。
図8(b)及び図8(c)は、縮小光学系を用いた光書き込みヘッド100の概略図である。
図8(b)及び図8(c)に示す光書き込みヘッド100では、レンズアレイ102を副走査方向にも複数列配列している。図8(b)と図8(c)は副走査方向にて異なる列の概略図を示している。
このような構成では、副走査方向の異なる列間にて、レンズアレイ102を主走査方向に平行移動して配置する。
さらに、感光ドラム103の回転と同期して発光素子101を変調することで、感光ドラム上にて一列の像を形成することができる。
縮小光学系では、拡大光学系に比べて軸上色収差が小さくなるが、拡大光学系よりも像のサイズを小さくすることができ、感光ドラム103に径の小さい潜像を形成することができる。
本実施例では、発光素子101の放射角度について特に限定していないが、発光素子101の放射角度(半角)がレンズアレイ102の物体側開口角と等しい0.012ラジアンにすることが望ましい。
発光素子101の放射角度とレンズアレイ102の物体側開口角を等しくすることで、レンズアレイ102中の絞り板が不要になり、さらに、発光素子101からの放射光束を効率よく感光体面709に導くことができる。
光源面706側から感光体面709側へ順に、f1、f2、・・・は各光学面の焦点距離(mm)、d1、d2・・・は各光学面間の間隔(mm)、n1は透明媒質の屈折率を表す。なお、各透明媒質の屈折率は条件式3の分散公式を用いて表され、n1の各係数は、以下の値である。
n1:C1=2.399964 C2=−8.308636E−2 C3=−1.919569E−1 C4=8.720608E−2 C5=−1.666411E−2 C6=1.169519E−3
f1=∞(物体面) d1=1.6667
f2=1.6667 d2=5.4525 n1
f3=2 d3=2
f4=∞(像面)
物体側開口角(半角)=0.012rad
像側開口角(半角)=0.01rad
横倍率=−1.2
101:発光素子
102:レンズアレイ
103:感光ドラム
Claims (6)
- 前記レンズ系は、複数配列した回折光学素子により構成されることを特徴とする請求項1に記載の光書き込みヘッド。
- 前記レンズ系は、物体側がテレセントリックであることを特徴とする請求項1または請求項2に記載の光書き込みヘッド。
- 前記レンズ系は、横倍率絶対値が1よりも大きいことを特徴とする請求項1から3のいずれか1項に記載の光書き込みヘッド。
- 前記発光素子から放射される光束の放射角度が、前記レンズ系の物体側開口角と等しいことを特徴とする請求項1から4のいずれか1項に記載の光書き込みヘッド。
- 請求項1から5のいずれか1項に記載の光書き込みヘッドと、前記光書き込みヘッドからの光の照射により潜像が形成される感光部と、を有することを特徴とする画像形成装置。
Priority Applications (2)
| Application Number | Priority Date | Filing Date | Title |
|---|---|---|---|
| JP2011005818A JP5792959B2 (ja) | 2011-01-14 | 2011-01-14 | 光書き込みヘッド及び画像形成装置 |
| US13/346,994 US8994769B2 (en) | 2011-01-14 | 2012-01-10 | Optical writing head and image forming apparatus |
Applications Claiming Priority (1)
| Application Number | Priority Date | Filing Date | Title |
|---|---|---|---|
| JP2011005818A JP5792959B2 (ja) | 2011-01-14 | 2011-01-14 | 光書き込みヘッド及び画像形成装置 |
Publications (2)
| Publication Number | Publication Date |
|---|---|
| JP2012144012A true JP2012144012A (ja) | 2012-08-02 |
| JP5792959B2 JP5792959B2 (ja) | 2015-10-14 |
Family
ID=46490471
Family Applications (1)
| Application Number | Title | Priority Date | Filing Date |
|---|---|---|---|
| JP2011005818A Expired - Fee Related JP5792959B2 (ja) | 2011-01-14 | 2011-01-14 | 光書き込みヘッド及び画像形成装置 |
Country Status (2)
| Country | Link |
|---|---|
| US (1) | US8994769B2 (ja) |
| JP (1) | JP5792959B2 (ja) |
Cited By (1)
| Publication number | Priority date | Publication date | Assignee | Title |
|---|---|---|---|---|
| WO2021145190A1 (ja) * | 2020-01-16 | 2021-07-22 | ソニーセミコンダクタソリューションズ株式会社 | 光源装置および電子機器 |
Families Citing this family (1)
| Publication number | Priority date | Publication date | Assignee | Title |
|---|---|---|---|---|
| GB201806337D0 (en) * | 2018-04-18 | 2018-05-30 | Datalase Ltd | Improvements in or relating to laser making |
Citations (7)
| Publication number | Priority date | Publication date | Assignee | Title |
|---|---|---|---|---|
| JPH02201386A (ja) * | 1989-01-30 | 1990-08-09 | Canon Inc | 画像記録装置 |
| JPH06167659A (ja) * | 1992-08-03 | 1994-06-14 | Hughes Aircraft Co | 正倍率の素子間にダブレット素子を有する視準レンズ |
| JPH07146435A (ja) * | 1993-01-28 | 1995-06-06 | Gradient Lens Corp | 負アッベ数の径方向屈折率分布型リレイ、その製造方法及びその使用方法 |
| JP2000221405A (ja) * | 1999-02-01 | 2000-08-11 | Nikon Corp | 投影光学系、投影露光装置、及び投影露光方法 |
| JP2009098613A (ja) * | 2007-09-27 | 2009-05-07 | Seiko Epson Corp | ラインヘッド及びそれを用いた画像形成装置 |
| JP2009104107A (ja) * | 2007-10-03 | 2009-05-14 | Seiko Epson Corp | ラインヘッド及びそれを用いた画像形成装置 |
| JP2011000864A (ja) * | 2009-06-22 | 2011-01-06 | Seiko Epson Corp | 露光ヘッド、画像形成装置 |
Family Cites Families (4)
| Publication number | Priority date | Publication date | Assignee | Title |
|---|---|---|---|---|
| US5914814A (en) * | 1997-06-26 | 1999-06-22 | Xerox Corporation | Telecentric laser beam optical focusing system of two diffractive optical elements |
| US8089695B2 (en) | 2007-09-27 | 2012-01-03 | Seiko Epson Corporation | Line head and image forming apparatus using the same |
| JP2011085743A (ja) * | 2009-10-15 | 2011-04-28 | Seiko Epson Corp | 画像形成装置、画像形成方法 |
| JP5493990B2 (ja) * | 2010-02-24 | 2014-05-14 | 富士ゼロックス株式会社 | 露光装置及び画像形成装置 |
-
2011
- 2011-01-14 JP JP2011005818A patent/JP5792959B2/ja not_active Expired - Fee Related
-
2012
- 2012-01-10 US US13/346,994 patent/US8994769B2/en not_active Expired - Fee Related
Patent Citations (7)
| Publication number | Priority date | Publication date | Assignee | Title |
|---|---|---|---|---|
| JPH02201386A (ja) * | 1989-01-30 | 1990-08-09 | Canon Inc | 画像記録装置 |
| JPH06167659A (ja) * | 1992-08-03 | 1994-06-14 | Hughes Aircraft Co | 正倍率の素子間にダブレット素子を有する視準レンズ |
| JPH07146435A (ja) * | 1993-01-28 | 1995-06-06 | Gradient Lens Corp | 負アッベ数の径方向屈折率分布型リレイ、その製造方法及びその使用方法 |
| JP2000221405A (ja) * | 1999-02-01 | 2000-08-11 | Nikon Corp | 投影光学系、投影露光装置、及び投影露光方法 |
| JP2009098613A (ja) * | 2007-09-27 | 2009-05-07 | Seiko Epson Corp | ラインヘッド及びそれを用いた画像形成装置 |
| JP2009104107A (ja) * | 2007-10-03 | 2009-05-14 | Seiko Epson Corp | ラインヘッド及びそれを用いた画像形成装置 |
| JP2011000864A (ja) * | 2009-06-22 | 2011-01-06 | Seiko Epson Corp | 露光ヘッド、画像形成装置 |
Cited By (3)
| Publication number | Priority date | Publication date | Assignee | Title |
|---|---|---|---|---|
| WO2021145190A1 (ja) * | 2020-01-16 | 2021-07-22 | ソニーセミコンダクタソリューションズ株式会社 | 光源装置および電子機器 |
| JPWO2021145190A1 (ja) * | 2020-01-16 | 2021-07-22 | ||
| JP7592030B2 (ja) | 2020-01-16 | 2024-11-29 | ソニーセミコンダクタソリューションズ株式会社 | 電子機器 |
Also Published As
| Publication number | Publication date |
|---|---|
| US8994769B2 (en) | 2015-03-31 |
| JP5792959B2 (ja) | 2015-10-14 |
| US20120182371A1 (en) | 2012-07-19 |
Similar Documents
| Publication | Publication Date | Title |
|---|---|---|
| TWI339163B (en) | Surface-emitting laser array, optical scanning device, and image forming device | |
| JP2009186624A (ja) | 光走査装置及び画像形成装置 | |
| JP5022253B2 (ja) | 光走査装置及び画像形成装置 | |
| JP5381538B2 (ja) | 露光装置及び画像形成装置 | |
| JP2001150715A (ja) | 光プリントヘッド及びこれを用いた画像形成装置 | |
| JP4862905B2 (ja) | 集光素子、集光素子アレイ、露光装置及び画像形成装置 | |
| JP2012020549A (ja) | 露光装置及び画像形成装置 | |
| JP5792959B2 (ja) | 光書き込みヘッド及び画像形成装置 | |
| JP5316759B2 (ja) | 光走査装置、調整方法及び画像形成装置 | |
| JP2012056123A (ja) | 発光素子基板、露光装置、及び画像形成装置 | |
| US20110199662A1 (en) | Focusing element, focusing element array, exposure device and image forming device | |
| JP4575748B2 (ja) | 光量分布制御素子、並びにそれを用いた光学機器 | |
| JP2008070797A (ja) | 回折光学素子および走査光学系および光走査装置および画像形成装置 | |
| JP5381258B2 (ja) | 露光装置及び画像形成装置 | |
| JP2012168542A (ja) | 光走査装置、およびそれを用いた画像形成装置 | |
| JP5493990B2 (ja) | 露光装置及び画像形成装置 | |
| JP5792969B2 (ja) | 光書き込みヘッド及び画像形成装置 | |
| KR20100009056A (ko) | 프린트 헤드 및 이를 채용한 화상형성장치 | |
| JP2010253882A (ja) | 画像形成装置及びレンズアレイ | |
| JP5005438B2 (ja) | 光走査装置、および画像形成装置 | |
| JP4979444B2 (ja) | 光走査装置及び画像形成装置 | |
| JP5403127B2 (ja) | 露光装置及び画像形成装置 | |
| JP2011161862A (ja) | 露光装置及び画像形成装置 | |
| JP4800897B2 (ja) | 光走査装置及び画像形成装置 | |
| JP4891146B2 (ja) | 光走査装置及び画像形成装置 |
Legal Events
| Date | Code | Title | Description |
|---|---|---|---|
| RD01 | Notification of change of attorney |
Free format text: JAPANESE INTERMEDIATE CODE: A7421 Effective date: 20131212 |
|
| A621 | Written request for application examination |
Free format text: JAPANESE INTERMEDIATE CODE: A621 Effective date: 20140114 |
|
| A977 | Report on retrieval |
Free format text: JAPANESE INTERMEDIATE CODE: A971007 Effective date: 20141128 |
|
| A131 | Notification of reasons for refusal |
Free format text: JAPANESE INTERMEDIATE CODE: A131 Effective date: 20141209 |
|
| A521 | Request for written amendment filed |
Free format text: JAPANESE INTERMEDIATE CODE: A523 Effective date: 20150209 |
|
| TRDD | Decision of grant or rejection written | ||
| A01 | Written decision to grant a patent or to grant a registration (utility model) |
Free format text: JAPANESE INTERMEDIATE CODE: A01 Effective date: 20150714 |
|
| A61 | First payment of annual fees (during grant procedure) |
Free format text: JAPANESE INTERMEDIATE CODE: A61 Effective date: 20150807 |
|
| R151 | Written notification of patent or utility model registration |
Ref document number: 5792959 Country of ref document: JP Free format text: JAPANESE INTERMEDIATE CODE: R151 |
|
| LAPS | Cancellation because of no payment of annual fees |
