JP2012132603A - 石炭及び石油コークスを用いた燃焼方法及び装置 - Google Patents
石炭及び石油コークスを用いた燃焼方法及び装置 Download PDFInfo
- Publication number
- JP2012132603A JP2012132603A JP2010283864A JP2010283864A JP2012132603A JP 2012132603 A JP2012132603 A JP 2012132603A JP 2010283864 A JP2010283864 A JP 2010283864A JP 2010283864 A JP2010283864 A JP 2010283864A JP 2012132603 A JP2012132603 A JP 2012132603A
- Authority
- JP
- Japan
- Prior art keywords
- exhaust gas
- coal
- value
- petroleum coke
- temperature change
- Prior art date
- Legal status (The legal status is an assumption and is not a legal conclusion. Google has not performed a legal analysis and makes no representation as to the accuracy of the status listed.)
- Withdrawn
Links
Images
Landscapes
- Chimneys And Flues (AREA)
- Combustion Of Fluid Fuel (AREA)
Abstract
【課題】燃料切替時に、排ガス中のSOX濃度を許容値以下に維持しつつ、排ガス路に被覆されたライニング材の亀裂や剥離の発生を低コストな手段で防止する。
【解決手段】ボイラ12で石炭や石油コークスを燃焼したとき発生する排ガスeは、集塵器14で除塵された後、硫黄分が少ない石炭の排ガスeはバイパス路24を通し、硫黄分が多い石油コークスの排ガスeは、脱硫塔16を通して煙突18まで排出する。煙突18付近で排ガスeの温度とSOX濃度を検出し、コントローラ40で温度変化速度を演算する。過去の実験結果から温度変化速度及びSOX濃度の閾値α及びβを設定し、コントローラ40でダンパ26、28の動作を制御することで、排ガス路20a及びバイパス路24の排ガス流量を制御し、燃料切替時等に、温度変化速度及びSOX濃度が閾値α及びβ以下となるようにする。
【選択図】図1
【解決手段】ボイラ12で石炭や石油コークスを燃焼したとき発生する排ガスeは、集塵器14で除塵された後、硫黄分が少ない石炭の排ガスeはバイパス路24を通し、硫黄分が多い石油コークスの排ガスeは、脱硫塔16を通して煙突18まで排出する。煙突18付近で排ガスeの温度とSOX濃度を検出し、コントローラ40で温度変化速度を演算する。過去の実験結果から温度変化速度及びSOX濃度の閾値α及びβを設定し、コントローラ40でダンパ26、28の動作を制御することで、排ガス路20a及びバイパス路24の排ガス流量を制御し、燃料切替時等に、温度変化速度及びSOX濃度が閾値α及びβ以下となるようにする。
【選択図】図1
Description
本発明は、石炭及び石油コークスを燃料として用いる燃焼装置において、煙突等、煙道の内壁に施工されたライニング材の熱伸縮に起因した剥離を防止可能にした燃焼方法及び装置に関する。
産業用火力プラントでは、ボイラ等の燃焼器の燃料の多様化が急速に進んでいる。例えば、特許文献1には、石炭、石油コークス等の固体燃料を使用するボイラが開示されている。特許文献1は、該ボイラに適用される未燃分の抑制及びNOX、SOX低減のための燃焼灰のリサイクル法を提案するものである。
また、特許文献2には、石油コークスと重油を燃焼させるボイラが開示されている。特許文献2は、該ボイラの燃焼排ガスに含まれるダストの金属成分を効率的に処理しつつ、かつダスト中の燃料成分の有効利用を図る運転方法を提案するものである。
また、特許文献2には、石油コークスと重油を燃焼させるボイラが開示されている。特許文献2は、該ボイラの燃焼排ガスに含まれるダストの金属成分を効率的に処理しつつ、かつダスト中の燃料成分の有効利用を図る運転方法を提案するものである。
石炭及び石油コークスを燃焼させるボイラにおいては、石油コークスが含有する硫黄分は石炭より多く、石油コークスを燃焼する場合には、燃焼排ガスから硫黄分を除去するための脱硫装置が必要となる。脱硫装置を稼動させるために、消石灰と水を必要とし、ランニングコストがかかる。特に、水が乏しい地域では、海水から真水を製造しているので、可能な限り水の使用量を抑える必要がある。
そこで、従来は、石炭と石油コークスの混焼用ボイラで、排ガス路に脱硫装置を設けると共に、該脱硫装置をバイパスして煙突に至るバイパス路を設けていた。そして、石炭を燃焼させる時、燃焼排ガスをバイパス路を経て煙突から排出し、石油コークスを燃焼させる時、燃焼排ガスを脱硫装置に通すことで、燃焼排ガス中のSOX濃度を許容値以下とし、煙突から排出させていた。
しかし、脱硫装置を出た排ガスの温度は50℃前後であるのに対し、脱硫装置をバイパスした排ガスの温度は200℃前後に達し、両排ガスの温度差は大きい。そのため、燃料切替時、排ガスの温度変動が急激になり、この温度差で、煙突や煙道の内壁が伸縮し、これが原因となって、煙突や煙道の内壁に被覆されたライニング材に亀裂や隔離を生じさせるおそれがある。
なお、特許文献3及び特許文献4には、煙突や煙道の内壁に被覆され、温度変化によって内壁が伸縮したときでも、亀裂や剥離が生じないとされるライニング構造が開示されている。
なお、特許文献3及び特許文献4には、煙突や煙道の内壁に被覆され、温度変化によって内壁が伸縮したときでも、亀裂や剥離が生じないとされるライニング構造が開示されている。
特許文献3に開示されたライニング構造は、吹付けコンクリートを鉄筋等を用いて補強するものである。また、特許文献4に開示されたライニング構造は、シリコーンゴムシートを多数のスタッドボルトとナットを用いて固定するものであり、いずれのライニング構造も高コストとなる。また、このような高コストなライニング構造を採用しても、ライニング材の亀裂や剥離を完全に防止することはできない。そのため、排ガスの温度変化速度を小さくすることで、ライニング材の亀裂や剥離の発生を抑えることが望ましい。
本発明は、かかる従来技術の課題に鑑み、石炭及び石油コークスを用いた燃焼装置で、排ガス中のSOX濃度を許容値以下に維持しつつ、排ガス路に被覆されたライニング材の亀裂や剥離の発生を低コストな手段で防止することを目的とする。
かかる目的を達成するため、本発明の石炭及び石油コークスを用いた燃焼方法は、石炭及び石油コークスを燃料とする燃焼装置であって、排ガス路が脱硫装置を介設した排ガス路と脱硫装置をバイパスするバイパス路とに分岐し、石炭の燃焼排ガスを該バイパス路を通し、石油コークスの燃焼排ガスを脱硫装置を通して排出させるようにした石炭及び石油コークスを用いた燃焼方法において、バイパス路下流側の排ガス路に施工されたライニング材の温度を検出する第1工程と、バイパス路下流側の排ガス路の燃焼排ガスのSOX濃度を検出する第2工程と、燃料切替時に、ライニング材の温度検出値からライニング材の温度変化速度の絶対値を演算し、この演算値と予め設定された閾値とを比較し、該演算値が閾値以下となるように排ガス路又はバイパス路の排ガス流量を調整する第3工程と、燃料切替時に、SOX濃度の検出値を予め設定された閾値と比較し、該検出値が閾値以下となるように排ガス路又はバイパス路の排ガス流量を調整する第4工程と、からなり、燃料切替時に、排ガス路の排ガス温度変化を抑制してライニング材の剥離を防止すると共に、排ガス路から排出される排ガスのSOX濃度を閾値以下に抑制するようにしたものである。
本発明方法では、ライニング材の亀裂や剥離が生じない温度変化速度の閾値を予め設定すると共に、排出基準に合格した許容可能なSOX濃度の閾値を予め設定しておき、ライニング材の温度変化速度及び排ガス中のSOX濃度がこれら閾値を上回らないように、燃料切替時に、排ガス路及びバイパス路の排ガス流量を調整するようにしている。そのため、排ガス中のSOX濃度を許容値以下に維持しつつ、ライニング材の亀裂や剥離を抑制できる。従って、高コストなライニング構造を採用することなく、低コストでライニング材の亀裂や剥離を抑制できる。
なお、「温度変化速度」とは、温度上昇時及び温度下降時の両方の変化速度を含み、「温度変化速度の絶対値」とは、温度上昇時又は温度下降時にかかわらず、これら両方の場合の変化速度を含む意味をもつ。また、ライニング材の温度変化速度の閾値は、ライニング材の亀裂や剥離が発生しない上限値であり、予め実験を行って決定される。排ガス中のSOX濃度の閾値は、許容上限値に設定される。
本発明方法において、ライニング材の温度変化速度の絶対値又はSOX濃度検出値が閾値以下にならないとき、燃焼器に投入する石炭又は石油コークスの投入量を調節して、前記温度変化速度の絶対値及びSOX濃度検出値を閾値以下とする第5工程を行なうようにするとよい。これによって、前記第1工程から第4工程を行っても、ライニング材の温度変化速度又は排ガス中のSOX濃度が閾値以下にならなくても、第5工程を行なうことによって、確実にこれらの値を閾値以下にすることができる。
さらには、必要に応じ、バイパス路又はバイパス路下流側の排ガス路に設けられた排ガス冷却手段によって、バイパス路を通る排ガスを冷却し、ライニング材の温度変化速度を閾値以下に制御する第6工程を行なうようにするとよい。これによって、さらに確実にライニング材の温度変化速度を閾値以下とすることができる。
さらには、必要に応じ、脱硫装置出口または煙突入口に水飛沫を除去する工程を行なうようにするとよい。これによって、ライニング材に付着した水分が蒸発する際の温度低下を避けることができ、さらに確実にライニング材の温度変化速度を閾値以下とすることができる。
本発明方法において、燃料を石炭から石油コークスに切り替えるときに設定される温度変化速度の閾値を、石油コークスから石炭に切り替えるときに設定される温度変化速度の閾値より小さく設定するとよい。
本発明者等の実験により、ライニング材の温度上昇時よりも温度下降時のほうが、同じ温度変化速度でも亀裂が生じやすいことがわかった。そこで、温度下降時の温度変化速度の閾値を温度上昇時の閾値より小さく設定することで、ライニング材の亀裂や剥離の発生をより確実に防止できる。
本発明者等の実験により、ライニング材の温度上昇時よりも温度下降時のほうが、同じ温度変化速度でも亀裂が生じやすいことがわかった。そこで、温度下降時の温度変化速度の閾値を温度上昇時の閾値より小さく設定することで、ライニング材の亀裂や剥離の発生をより確実に防止できる。
前記本発明方法の実施に直接使用可能な本発明の石炭及び石油コークスを用いた燃焼装置は、石炭及び石油コークスを燃料とする燃焼装置であって、燃焼器と、排ガス路と、該排ガス路に設けられた脱硫装置と、排ガス路から分岐して該脱硫装置をバイパスするバイパス路とを備え、石炭の燃焼排ガスを該バイパス路を通し、石油コークスの燃焼排ガスを脱硫装置を通して排出させるようにした石炭及び石油コークスを用いた燃焼装置において、バイパス路下流側の排ガス路に施工されたライニング材の温度を検出する温度センサと、バイパス路下流側の排ガス路の燃焼排ガスのSOX濃度を検出するSOX濃度センサと、排ガス路及びバイパス路に設けられて排ガスの流量を調整する第1のダンパ及び第2のダンパと、燃料切替時に、ライニング材の温度検出値からライニング材の温度変化速度の絶対値を演算し、この演算値と予め設定された閾値とを比較し、演算値が閾値以下となるように第1のダンパ又は第2のダンパの動作を制御すると共に、SOX濃度の検出値を予め設定された閾値と比較し、該検出値が閾値以下となるように、第1のダンパ又は第2のダンパの動作を制御するコントローラと、を備えているものである。
本発明装置では、燃料切替時に、前記コントローラによって、ライニング材の温度変化速度及び排ガス中のSOX濃度が閾値以下となるように、排ガス路又はバイパス路の排ガス流量を調整するようにしている。そのため、排ガス中のSOX濃度を許容値以下に維持しつつ、ライニング材の亀裂や剥離を抑制できる。従って、高コストなライニング構造を採用することなく、低コストでライニング材の亀裂や剥離を抑制できる。
本発明装置において、ライニング材の温度変化速度又は排ガス中のSOX濃度の検出値が閾値以下にならないとき、前記コントローラが、燃焼器に投入する石炭又は石油コークスの投入量を調節して、該温度変化速度及びSOX濃度の検出値を閾値以下とするものであるとよい。これによって、ライニング材の温度変化速度又は排ガス中のSOX濃度を確実に閾値以下にすることができる。
本発明装置において、バイパス路又はバイパス路下流側の排ガス路に排ガス冷却手段を設け、コントローラが、該排ガス冷却手段によってライニング材の温度変化速度を閾値以下に制御するものであるとよい。このように、高温の石炭排ガスが流れるバイパス路又はバイパス路下流側の排ガス路に排ガス冷却手段を設けることにより、さらに確実にライニング材の温度変化速度を閾値以下とすることができる。
本発明方法によれば、石炭及び石油コークスを燃料とする燃焼装置であって、排ガス路が脱硫装置を介設した排ガス路と脱硫装置をバイパスするバイパス路とに分岐し、石炭の燃焼排ガスを該バイパス路を通し、石油コークスの燃焼排ガスを脱硫装置を通して排出させるようにした石炭及び石油コークスを用いた燃焼方法において、バイパス路下流側の排ガス路に施工されたライニング材の温度を検出する第1工程と、バイパス路下流側の排ガス路の燃焼排ガスのSOX濃度を検出する第2工程と、燃料切替時に、ライニング材の温度検出値からライニング材の温度変化速度の絶対値を演算し、この演算値と予め設定された閾値とを比較し、該演算値が閾値以下となるように排ガス路又はバイパス路の排ガス流量を調整する第3工程と、燃料切替時に、SOX濃度の検出値を予め設定された閾値と比較し、該検出値が閾値以下となるように排ガス路又はバイパス路の排ガス流量を調整する第4工程と、からなり、燃料切替時に、排ガス路の排ガス温度変化を抑制してライニング材の剥離を防止すると共に、排ガス路から排出される排ガスのSOX濃度を閾値以下に抑制するようにしたので、燃料切替時に、排ガス中のSOX濃度を許容値以下に維持しつつ、低コストでライニング材の亀裂や剥離を抑制できる。
また、本発明装置によれば、石炭及び石油コークスを燃料とする燃焼装置であって、 燃焼器と、排ガス路と、該排ガス路に設けられた脱硫装置と、排ガス路から分岐して該脱硫装置をバイパスするバイパス路とを備え、石炭の燃焼排ガスを該バイパス路を通し、石油コークスの燃焼排ガスを脱硫装置を通して排出させるようにした石炭及び石油コークスを用いた燃焼装置において、バイパス路下流側の排ガス路に施工されたライニング材の温度を検出する温度センサと、バイパス路下流側の排ガス路の燃焼排ガスのSOX濃度を検出するSOX濃度センサと、排ガス路及びバイパス路に設けられて排ガスの流量を調整する第1のダンパ及び第2のダンパと、燃料切替時に、ライニング材の温度検出値からライニング材の温度変化速度の絶対値を演算し、この演算値と予め設定された閾値とを比較し、演算値が閾値以下となるように前記第1のダンパ又は第2のダンパの動作を制御すると共に、前記SOX濃度の検出値を予め設定された閾値と比較し、該検出値が閾値以下となるように、第1のダンパ又は第2のダンパの動作を制御するコントローラと、を備えているので、前記本発明方法と同様の作用効果を得ることができる。
以下、本発明を図に示した実施形態を用いて詳細に説明する。但し、この実施形態に記載されている構成部品の寸法、材質、形状、その相対配置などは特に特定的な記載がない限り、この発明の範囲をそれのみに限定する趣旨ではない。
(実施形態1)
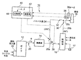
本発明方法及び装置の第1実施形態を図1〜図4に基づいて説明する。図1に示す燃焼装置10の構成機器は、ボイラ12と、集塵器14と、脱硫塔16と、煙突18と、これら機器類間を接続する排ガス路20とで構成されている。ボイラ12の燃料投入器22には、燃料として石炭又は石油コークスが投入される。燃料の投入の仕方は、石炭若しくは石油コークスの専焼の場合、及び石炭と石油コークスとの混焼の場合とがある。
本発明方法及び装置の第1実施形態を図1〜図4に基づいて説明する。図1に示す燃焼装置10の構成機器は、ボイラ12と、集塵器14と、脱硫塔16と、煙突18と、これら機器類間を接続する排ガス路20とで構成されている。ボイラ12の燃料投入器22には、燃料として石炭又は石油コークスが投入される。燃料の投入の仕方は、石炭若しくは石油コークスの専焼の場合、及び石炭と石油コークスとの混焼の場合とがある。
ボイラ12で発生した燃焼排ガスeは、集塵器14で排ガス中のダストが集塵される。集塵器14の下流側で、バイパス路24が排ガス路20から分岐し、バイパス路24は、脱硫塔16の下流側で排ガス路20bに合流している。バイパス路24との分岐点より下流側の排ガス路20aに流量調整用のダンパ26が設けられ、バイパス路24の入口部に流量調整用のダンパ28が設けられている。脱硫塔16の下流側排ガス路20bには、流量調整用のダンパ30が設けられており、バイパス路24の出口部に流量調整用のダンパ32が設けられている。ダンパ26〜32の動作はコントローラ40によって制御されている。
脱硫塔16では、消石灰と水とが注入され、脱硫塔16の内部空間では、消石灰と水との混合液が循環ポンプ17で循環されている。この混合液が排ガスeと反応して、排ガスeからSOXが除去される。SOXが除去された排ガスeは、排ガス路20b及びバイパス路24との合流部下流側の排ガス路20cを通り、煙突18から排出される。硫黄分が石炭より多く含まれる石油コークスを燃焼させるとき、あるいは石炭に対して石油コークスの投入量が多いとき、コントローラ40によって、ダンパ26を開とし、ダンパ28を閉として、排ガスeは脱硫塔16に送られ、脱硫される。
図2に示すように、排ガス路20cは煙突18に接続されている。排ガス路20cと煙突18との接続部付近の領域及び煙突18の内壁には、ライニング材34が被覆されている。ライニング材34の被覆領域は、高温の排ガスeが流れる領域である。ライニング材34には、複数の温度センサ36a〜dが分散配置されている。また、煙突18との合流部近傍の排ガス路20cにはSOX濃度センサ38が設けられている。これらセンサの検出信号は、コントローラ40に送られる。
コントローラ40は、演算部42と比較部44とを備えている。演算部42では、温度センサ36a〜dから送られたライニング材34の温度検出値から、夫々の温度検出値に基づいて、温度変化速度の絶対値を演算する。この場合、最大の温度変化速度の絶対値が選択され、採用される。前述のように、バイパス路24を通る排ガスeは、200℃前後の温度となり、脱硫塔16を通った後の排ガスeの温度は50℃前後となる。そのため、燃料を石炭と石油コークスとの間で切り替えるとき、排ガス路20cに到達する排ガスeに温度変化が生じる。この温度変化速度が大であると、ライニング材34に亀裂や剥離が発生するおそれがある。
図3に示すように、温度変化速度は、過去の実験値に基づいて、ライニング材34の亀裂や剥離の発生限度を示す閾値αが設定されている。比較部44では、演算された温度変化速度の絶対値と閾値αとを比較し、この絶対値が閾値αを超えているとき、コントローラ40によってダンパ26及び28を操作し、温度変化速度が閾値α以下となるように制御する。
なお、本発明者等の今までの実験により、ライニング材34の温度上昇時よりも温度下降時のほうが、同じ温度変化速度でも亀裂や剥離が生じやすいことがわかった。そこで、本実施形態では、温度下降時、即ち、石炭専焼から石炭と石油コークスとの混焼に切り替えるときの温度変化速度の閾値α1を、温度上昇時、即ち、石炭と石油コークスとの混焼から石炭専焼に切り替えるときの閾値α2より小さく設定している(α1<α2)。
また、図4に示すように、排ガス路20cのSOX濃度についても、過去の実験値に基づいて、許容値の上限となる閾値βが設定されている。比較部44では、SOX濃度検出値と閾値βとを比較し、SOX濃度検出値が閾値βを超えないように、コントローラ40によって、ダンパ26及び28の動作を制御するようにしている。
次に、燃料切替時の動作を説明する。石炭及び石油コークスの混焼から石炭の専焼に切り替えるとき、最初はダンパ26を開とし、ダンパ28を閉として、排ガスeを脱硫塔16に導入する。燃料切替開始後、温度変化速度及びSOX濃度検出値が夫々閾値α2、βを超えないように、徐々にダンパ28の開度を大きくし、ダンパ26の開度を小さくしていく。
次に、石炭専焼から石炭及び石油コークスの混焼に切り替えるとき、最初はダンパ26を閉とし、ダンパ28を開として、排ガスeをバイパス路24に通す。燃料切替開始後、温度変化速度及びSOX濃度検出値が夫々閾値α1、βを超えないように、徐々にダンパ28の開度を小さくし、ダンパ26の開度を大きくしていく。
本実施形態によれば、SOX濃度センサ38により検出するSOX濃度検出値が、常に閾値β以下となるように、コントローラ40でダンパ26及び28の動作を制御するようにしているので、燃焼装置10の運転中、特に、燃料切替時に排ガスe中のSOX濃度を許容値以下に保持できる。また、排ガス路20c及び煙突18を通る排ガスeの温度変化速度を、常に、閾値α1又はα2以下としているので、ライニング材34の亀裂や剥離が生じるのを防止できる。特に、温度変化速度が大きくなる燃料切替時に、温度変化速度を閾値以下に保持できるので、ライニング材34の亀裂や剥離を防止できる。
しかも、ライニング材34を高コストな構成を採用することなく、低コストのままでライニング材34の亀裂や剥離を防止できる。
また、本実施形態では、石炭専焼から石炭と石油コークスとの混焼に切り替えるとき、即ち、排ガス温度が下降する時の温度変化速度の閾値α1を、石炭と石油コークスとの混焼から石炭専焼に切り替えるとき、即ち、排ガス温度が上昇する時の閾値α2より小さくしているので、排ガス温度の下降時に、ライニング材34の亀裂や剥離を確実に防止できる。
(実施形態2)
次に、本発明方法及び装置の第2実施形態を図5に基づいて説明する。本実施形態は、前記第1実施形態の構成に加えて、コントローラ40によって燃料投入器22の動作を制御し、石炭及び石油コークスの投入割合を制御可能にしている。その他の構成は、第1実施形態と同一である。本実施形態の燃料切替時の動作を説明する。本実施形態での基本制御方針は、燃料切替時のライニング材34の温度変化速度は、ダンパ26及び28の動作で制御し、排ガスeのSOX濃度は、ボイラ12への石炭及び石油コークスの投入量又は投入比を制御することで制御するものである。
次に、本発明方法及び装置の第2実施形態を図5に基づいて説明する。本実施形態は、前記第1実施形態の構成に加えて、コントローラ40によって燃料投入器22の動作を制御し、石炭及び石油コークスの投入割合を制御可能にしている。その他の構成は、第1実施形態と同一である。本実施形態の燃料切替時の動作を説明する。本実施形態での基本制御方針は、燃料切替時のライニング材34の温度変化速度は、ダンパ26及び28の動作で制御し、排ガスeのSOX濃度は、ボイラ12への石炭及び石油コークスの投入量又は投入比を制御することで制御するものである。
次に、燃料切替時の動作を説明する。石炭及び石油コークスの混焼から石炭専焼に切り替えるとき、最初はダンパ26を開とし、ダンパ28を閉として、排ガスeを脱硫塔16に導入する。燃料切替開始後、温度変化速度及びSOX濃度検出値が夫々閾値α2、βを超えないように、徐々にダンパ28の開度を大きくし、ダンパ26の開度を小さくする。前記の操作で、SOX濃度が閾値β以下とならないとき、ボイラ12への石炭及び石油コークスの投入量又は投入比を制御することで、SOX濃度を閾値β以下とする。
次に、石炭専焼から石炭及び石油コークスの混焼に切り替えるとき、最初はダンパ26を閉とし、ダンパ28を開として、排ガスeをバイパス路24に通す。燃料切替開始後、温度変化速度及びSOX濃度検出値が夫々閾値α1、βを超えないように、徐々にダンパ28の開度を小さくし、ダンパ26の開度を大きくしていく。前記の操作で、SOX濃度が閾値β以下とならないとき、ボイラ12への石炭及び石油コークスの投入量又は投入比を制御することで、SOX濃度を閾値β以下とする。
本実施形態によれば、第1実施形態と比べて、コントローラ40でボイラ12への石炭及び石油コークスの投入量又は投入比を制御するようにしているので、燃料切替時の温度変化速度及びSOX濃度を、さらに確実に閾値以下に保持できる。
(実施形態3)
つぎに、本発明方法及び装置の第3実施形態を図6及び図7により説明する。本実施形態は、前記第1実施形態又は第2実施形態の構成に加えて、バイパス路24に排ガスeを冷却する手段を設けることによって、ライニング材34の急激な温度変化をコントロールするものである。
つぎに、本発明方法及び装置の第3実施形態を図6及び図7により説明する。本実施形態は、前記第1実施形態又は第2実施形態の構成に加えて、バイパス路24に排ガスeを冷却する手段を設けることによって、ライニング材34の急激な温度変化をコントロールするものである。
図6は、バイパス路24に熱交換器50を設けた構成を有する冷却手段である。熱交換器50は、バイパス路24の外周面を覆うジャケット52と、該ジャケット52に冷媒導入管54及び冷媒排出管56を接続し、ジャケット52に覆われるバイパス路24の外周面に周方向に複数の連通孔58を穿設し、該連通孔間に接続された蛇行形状の熱交換管59を排ガスeの流路中に配置したものである。
冷媒導入管54に冷媒として、例えば、冷却水又は冷却空気を導入する。この熱交換器50を設けることによって、高温の石炭排ガスが流れるバイパス路24を流れる排ガスeを冷却するようにしているので、前記第1実施形態又は第2実施形態の構成に加えて、ライニング材34の温度変化速度を確実に閾値α以下に保持できる。
図7に、前記第3実施形態の変形例を示す。この変形例は、バイパス路24に設けた連通孔62に冷媒導入管60を接続し、該冷媒導入管60からバイパス路24の内部に、冷却空気又は細粒状に噴霧された冷却水を供給するようにしている。冷却水を供給した場合、排ガスeから冷却水の蒸発潜熱を奪うので、冷却効果が大きい。これによって、ライニング材34の温度変化速度を確実に閾値α以下に保持できる。
(実施形態4)
次に、本発明方法及び装置の第4実施形態を図8により説明する。本実施形態は、前記第1実施形態又は第2実施形態の構成に加えて、煙突18の内壁にライニング材34を施工した領域の外周面に、ジャケット70を設けると共に、該ジャケット70に冷媒導入管72及び冷媒排出管74を接続している。冷媒排出管74からジャケット70に冷却水wを供給し、この冷却水wでライニング材34を冷却するようにしている。
次に、本発明方法及び装置の第4実施形態を図8により説明する。本実施形態は、前記第1実施形態又は第2実施形態の構成に加えて、煙突18の内壁にライニング材34を施工した領域の外周面に、ジャケット70を設けると共に、該ジャケット70に冷媒導入管72及び冷媒排出管74を接続している。冷媒排出管74からジャケット70に冷却水wを供給し、この冷却水wでライニング材34を冷却するようにしている。
さらに、ジャケット70内の冷却水wの温度を検出する温度センサ76を設け、温度センサ76の温度検出値をコントローラ40に送るようにしている。コントローラ40では、この温度検出値に基づいて、冷媒導入管72に冷却水wを送る冷却水ポンプ78の稼動を制御し、冷却水wの流量を制御することで、ライニング材34の冷却度を制御するようにしている。これによって、ライニング材34の温度変化をコントロールできるので、ライニング材34の温度変化速度を確実に閾値α以下に保持できる。
本発明によれば、石炭及び石油コークスを用いた燃焼装置で、燃料切替時に、排ガス中のSOX濃度を許容値以下に維持しつつ、排ガス路に被覆されたライニング材の亀裂や剥離の発生を低コストな手段で防止できる。
10 燃焼装置
12 ボイラ
14 集塵器
16 脱硫塔
17 循環ポンプ
18 煙突
20,20a〜c 排ガス路
22 燃料投入器
24 バイパス路
26,28,30,32 ダンパ
34 ライニング材
36a〜d、76 温度センサ
38 SOX濃度センサ
40 コントローラ
42 演算部
44 比較部
50 熱交換器
52、70 ジャケット
54、60、72 冷媒導入管
56,74 冷媒排出管
58,62 連通孔
59 熱交換管
78 冷却水ポンプ
e 排ガス
w 冷却水
α、α1、α2、β 閾値
12 ボイラ
14 集塵器
16 脱硫塔
17 循環ポンプ
18 煙突
20,20a〜c 排ガス路
22 燃料投入器
24 バイパス路
26,28,30,32 ダンパ
34 ライニング材
36a〜d、76 温度センサ
38 SOX濃度センサ
40 コントローラ
42 演算部
44 比較部
50 熱交換器
52、70 ジャケット
54、60、72 冷媒導入管
56,74 冷媒排出管
58,62 連通孔
59 熱交換管
78 冷却水ポンプ
e 排ガス
w 冷却水
α、α1、α2、β 閾値
Claims (7)
- 石炭及び石油コークスを燃料とする燃焼装置であって、排ガス路が脱硫装置を介設した排ガス路と脱硫装置をバイパスするバイパス路とに分岐し、石炭の燃焼排ガスを該バイパス路を通し、石油コークスの燃焼排ガスを脱硫装置を通して排出させるようにした石炭及び石油コークスを用いた燃焼方法において、
バイパス路下流側の排ガス路に施工されたライニング材の温度を検出する第1工程と、
バイパス路下流側の排ガス路の燃焼排ガスのSOX濃度を検出する第2工程と、
燃料切替時に、ライニング材の温度検出値からライニング材の温度変化速度の絶対値を演算し、この演算値と予め設定された閾値とを比較し、該演算値が閾値以下となるように排ガス路又はバイパス路の排ガス流量を調整する第3工程と、
燃料切替時に、SOX濃度の検出値を予め設定された閾値と比較し、該検出値が閾値以下となるように排ガス路又はバイパス路の排ガス流量を調整する第4工程と、からなり、
燃料切替時に、排ガス路の排ガス温度変化を抑制して前記ライニング材の剥離を防止すると共に、排ガス路から排出される排ガスのSOX濃度を閾値以下に抑制するようにしたことを特徴とする石炭及び石油コークスを用いた燃焼方法。 - 前記温度変化速度の絶対値又はSOX濃度検出値が閾値以下にならないとき、燃焼器に投入する石炭又は石油コークスの投入量を調節して、前記温度変化速度の絶対値及びSOX濃度検出値を閾値以下とする第5工程を含むことを特徴とする請求項1に記載の石炭及び石油コークスを用いた燃焼方法。
- 前記バイパス路又はバイパス路下流側の排ガス路に設けられた排ガス冷却手段によって、バイパス路を通る排ガスを冷却し、前記ライニング材の温度変化速度を閾値以下に制御する第6工程を含むことを特徴とする請求項1又は2に記載の石炭及び石油コークスを用いた燃焼方法。
- 燃料を石炭から石油コークスに切り替えるときに設定される前記温度変化速度の閾値を、石油コークスから石炭に切り替えるときに設定される温度変化速度の閾値より小さく設定したことを特徴とする請求項1〜3のいずれかの項に記載の石炭及び石油コークスを用いた燃焼方法。
- 石炭及び石油コークスを燃料とする燃焼装置であって、燃焼器と、排ガス路と、該排ガス路に設けられた脱硫装置と、排ガス路から分岐して該脱硫装置をバイパスするバイパス路とを備え、石炭の燃焼排ガスを該バイパス路を通し、石油コークスの燃焼排ガスを脱硫装置を通して排出させるようにした石炭及び石油コークスを用いた燃焼装置において、
バイパス路下流側の排ガス路に施工されたライニング材の温度を検出する温度センサと、
バイパス路下流側の排ガス路の燃焼排ガスのSOX濃度を検出するSOX濃度センサと、
排ガス路及びバイパス路に設けられて排ガスの流量を調整する第1のダンパ及び第2のダンパと、
燃料切替時に、前記ライニング材の温度検出値からライニング材の温度変化速度の絶対値を演算し、この演算値と予め設定された閾値とを比較し、演算値が閾値以下となるように前記第1のダンパ又は第2のダンパの動作を制御すると共に、前記SOX濃度の検出値を予め設定された閾値と比較し、該検出値が閾値以下となるように、第1のダンパ又は第2のダンパの動作を制御するコントローラと、を備えていることを特徴とする石炭及び石油コークスを用いた燃焼装置。 - 前記コントローラが、前記温度変化速度又はSOX濃度の検出値が閾値以下にならないとき、燃焼器に投入する石炭又は石油コークスの投入量を調節して、前記温度変化速度及びSOX濃度の検出値を閾値以下とするものであることを特徴とする請求項5に記載の石炭及び石油コークスを用いた燃焼装置。
- 前記バイパス路又はバイパス路下流側の排ガス路に排ガス冷却手段が設けられ、前記コントローラが、該排ガス冷却手段によって前記ライニング材の温度変化速度を閾値以下に制御するものであることを特徴とする請求項5又は6に記載の石炭及び石油コークスを用いた燃焼装置。
Priority Applications (1)
| Application Number | Priority Date | Filing Date | Title |
|---|---|---|---|
| JP2010283864A JP2012132603A (ja) | 2010-12-20 | 2010-12-20 | 石炭及び石油コークスを用いた燃焼方法及び装置 |
Applications Claiming Priority (1)
| Application Number | Priority Date | Filing Date | Title |
|---|---|---|---|
| JP2010283864A JP2012132603A (ja) | 2010-12-20 | 2010-12-20 | 石炭及び石油コークスを用いた燃焼方法及び装置 |
Publications (1)
| Publication Number | Publication Date |
|---|---|
| JP2012132603A true JP2012132603A (ja) | 2012-07-12 |
Family
ID=46648399
Family Applications (1)
| Application Number | Title | Priority Date | Filing Date |
|---|---|---|---|
| JP2010283864A Withdrawn JP2012132603A (ja) | 2010-12-20 | 2010-12-20 | 石炭及び石油コークスを用いた燃焼方法及び装置 |
Country Status (1)
| Country | Link |
|---|---|
| JP (1) | JP2012132603A (ja) |
Cited By (4)
| Publication number | Priority date | Publication date | Assignee | Title |
|---|---|---|---|---|
| JP2016205679A (ja) * | 2015-04-20 | 2016-12-08 | 三菱日立パワーシステムズ株式会社 | 廃熱回収システム及びその運転方法 |
| JP2018132276A (ja) * | 2017-02-17 | 2018-08-23 | メタウォーター株式会社 | 排ガスからの水銀除去方法及びこの方法を用いた廃棄物処理装置 |
| JP2019049243A (ja) * | 2017-09-12 | 2019-03-28 | ダイハツ工業株式会社 | 排気システム |
| JP2019051485A (ja) * | 2017-09-15 | 2019-04-04 | 宇部興産株式会社 | 排ガス処理装置及び排ガス処理方法 |
-
2010
- 2010-12-20 JP JP2010283864A patent/JP2012132603A/ja not_active Withdrawn
Cited By (5)
| Publication number | Priority date | Publication date | Assignee | Title |
|---|---|---|---|---|
| JP2016205679A (ja) * | 2015-04-20 | 2016-12-08 | 三菱日立パワーシステムズ株式会社 | 廃熱回収システム及びその運転方法 |
| JP2018132276A (ja) * | 2017-02-17 | 2018-08-23 | メタウォーター株式会社 | 排ガスからの水銀除去方法及びこの方法を用いた廃棄物処理装置 |
| JP7074425B2 (ja) | 2017-02-17 | 2022-05-24 | メタウォーター株式会社 | 排ガスからの水銀除去方法及びこの方法を用いた廃棄物処理装置 |
| JP2019049243A (ja) * | 2017-09-12 | 2019-03-28 | ダイハツ工業株式会社 | 排気システム |
| JP2019051485A (ja) * | 2017-09-15 | 2019-04-04 | 宇部興産株式会社 | 排ガス処理装置及び排ガス処理方法 |
Similar Documents
| Publication | Publication Date | Title |
|---|---|---|
| US12325828B2 (en) | Exhaust flow modifier, duct intersection incorporating the same, and methods therefor | |
| KR101616527B1 (ko) | 바이오매스 합성가스 냉각 및 세정 방법 및 그 시스템 | |
| US11441774B2 (en) | Method for operating flue gas purification system | |
| JP2012132603A (ja) | 石炭及び石油コークスを用いた燃焼方法及び装置 | |
| CA2970761C (en) | Method and apparatus for controlling inlet temperature of dedusting apparatus in oxygen combustion boiler equipment | |
| CN112664953A (zh) | 一种燃烧固废物的循环流化床焚烧锅炉 | |
| EP3112751B1 (en) | Marine boiler comprising an exhaust gas recirculation system and exhaust gas recirculation method | |
| JP4235651B2 (ja) | ストーカ式焼却炉及びその運転方法 | |
| EP2938700B1 (en) | Duct intersection incorporating a flow modifier and method for improving gas flow | |
| JP2936449B2 (ja) | 蓄熱式交番燃焼バーナシステムを備えた加熱炉の操炉方法 | |
| JP4111107B2 (ja) | 溶融炉二次燃焼室ダスト排出機の腐食防止方法及び装置 | |
| CN105259938A (zh) | 燃煤锅炉烟气控制方法 | |
| CN114877345A (zh) | 一种炉排驱动机构冷却系统和焚烧炉 | |
| JP4299841B2 (ja) | コークス乾式消火方法及び装置 | |
| CN207112841U (zh) | 一种发电厂排烟系统 | |
| Hunt et al. | Kansanshi Copper Smelter: the first four years of operation | |
| CN221198083U (zh) | 一种安全泄压的全密闭矿热炉 | |
| JP5044317B2 (ja) | 廃棄物ガス化溶融設備の燃焼室及び燃焼方法 | |
| JP2007211760A (ja) | 排熱回収機能を備える流動層式排気ガス浄化装置 | |
| EP3597996B1 (en) | Falling fluid sand type circulating fluidized bed boiler with a plurality of risers and method of operating the same | |
| JP2006023052A (ja) | 灰溶融炉の排ガス処理方法およびその処理設備 | |
| JP3611277B2 (ja) | スラグ結晶化コンベア | |
| CN119163977A (zh) | 一种蓄热式焚烧系统及反烧工序控制方法 | |
| RU2299377C1 (ru) | Котельная установка | |
| JP2022035618A (ja) | 燃焼設備 |
Legal Events
| Date | Code | Title | Description |
|---|---|---|---|
| A300 | Withdrawal of application because of no request for examination |
Free format text: JAPANESE INTERMEDIATE CODE: A300 Effective date: 20140304 |