JP2012106952A - 脱色剤又は酸化染毛剤、及び毛髪の脱色又は染色方法 - Google Patents
脱色剤又は酸化染毛剤、及び毛髪の脱色又は染色方法 Download PDFInfo
- Publication number
- JP2012106952A JP2012106952A JP2010257506A JP2010257506A JP2012106952A JP 2012106952 A JP2012106952 A JP 2012106952A JP 2010257506 A JP2010257506 A JP 2010257506A JP 2010257506 A JP2010257506 A JP 2010257506A JP 2012106952 A JP2012106952 A JP 2012106952A
- Authority
- JP
- Japan
- Prior art keywords
- agent
- hair
- hair dye
- decoloring
- oxidative hair
- Prior art date
- Legal status (The legal status is an assumption and is not a legal conclusion. Google has not performed a legal analysis and makes no representation as to the accuracy of the status listed.)
- Granted
Links
Images
Landscapes
- Cosmetics (AREA)
Abstract
【解決手段】本発明に係る脱色剤又は酸化染毛剤は、アルカリ剤を含む第1剤と、酸化剤を含む第2剤とを少なくとも備えており、混合されて混合剤として用いられる多剤式の脱色剤又は酸化染毛剤である。上記第1剤及び上記第2剤はそれぞれ、液状又はジェル状である。酸化染毛剤の場合には、上記第1剤は酸化染料をさらに含む。上記第1剤及び上記第2剤の内の少なくとも一方は、アニオン性界面活性剤及び両性界面活性剤の内の少なくとも1種の界面活性剤成分を含む。上記第1剤及び前記第2剤の内の少なくとも一方は、増粘性高分子を含む。本発明に係る脱色剤又は酸化染毛剤が混合された混合剤は、ジェル状である。
【選択図】図1
Description
第1剤及び第2剤はそれぞれ、液状又はジェル状であり、流動性を有する。第1剤及び第2剤における「液状」又は「ジェル状」とは、第1剤及び第2剤の25℃での粘度が3000mPa・s未満であることをいう。液状又はジェル状である第1剤及び第2剤の25℃での粘度はそれぞれ、3000mPa・s未満であり、好ましくは2000mPa・s未満である。液状又はジェル状である第1剤及び第2剤の25℃での粘度はそれぞれ、B型粘度計(トキメック社製)を用いて、ロータNo.3、60rpm及び1分の各条件で測定される。
本発明に係る脱色剤又は酸化染毛剤は、上記第1剤と上記第2剤とを少なくとも備える。本発明に係る脱色剤又は酸化染毛剤は、毛髪処理剤である。本発明に係る脱色剤又は酸化染毛剤は、上記第1剤と上記第2剤とを少なくとも備える毛髪処理剤キットである。本発明に係る脱色剤又は酸化染毛剤は、上記第1剤及び上記第2剤に加えて、第3剤をさらに備えていてもよい。第3剤としては、脱色剤、ヘアリンス剤、ヘアトリートメント剤及びヘアコンディショニング剤等が挙げられる。また、脱色剤などの第3剤と、ヘアリンス剤、ヘアトリートメント剤又はヘアコンディショニング剤等の第4剤とを用いてもよい。
本発明に係る毛髪の脱色又は染色方法では、上述した多剤式の脱色剤又は酸化染毛剤を混合し、ジェル状の混合剤にする工程と、該混合剤をジェル状である状態で毛髪に塗布する工程と、毛髪に塗布されたジェル状の混合剤を泡立てる工程とを備える。
N−ヤシ油脂肪酸アシル−L−グルタミン酸トリエタノールアミン(30質量%)(旭化成ケミカルズ社製「アミノサーファクト ACMT−L」)
ラウリル(2−ヒドロキシスルホプロピル)ジメチルベタイン(30質量%)(花王社製「アンヒトール 20HD」)
ラウリン酸アミドプロピルベタイン(30質量%)(新日本理化社製「リカビオン B−300」)
ポリオキシエチレンラウリル硫酸ナトリウム(25質量%)(花王社製「エマール 125HP」)
塩化−O−[2−ヒドロキシ−3−(トリメチルアンモニオ)プロピル]ヒドロキシエチルセルロース(東邦化学工業社製「カチナール HC−200」)
塩化ジメチルジアリルアンモニウム・アクリル酸共重合体(40質量%)(オンデオナルコ社製「マーコート280」)
アクリル酸アルキル・メタクリル酸アルキル・ポリオキシエチレン(20)ステアリルエーテル(30質量%)(ローム・アンド・ハース社製「アキュリン22」)
下記の表1,2に示す各成分を下記の表1,2に示す含有量で配合し、混合して、第1剤を得た。また、下記の表1,2に示す各成分を下記の表1,2に示す含有量で配合し、混合して、第2剤を得た。得られた第2剤は、図1に示す容器2(混合容器)に収容した。実施例1〜8及び比較例1〜5で得られた第1剤及び第2剤はいずれも、液状又はジェル状であった。
(1)混合剤の性状(混合剤の粘度)
第1剤と第2剤との質量比(第1剤:第2剤)が1:2となるように、第2剤を含む容器2中に第1剤を入れ、図7に示す蓋51を取り付けて、均一になるまで混合し、混合剤を得た。なお、図7に示す蓋51は、ノズルを有さず、筒部51aと上壁部51bとを有する。
官能評価パネル20名がそれぞれ、第1剤と第2剤との質量比(第1剤:第2剤)が1:2となるように、第2剤を含む容器2中に第1剤を入れ、図7に示す蓋51を取り付けて、均一になるまで混合し、混合剤を得た。官能評価パネル20名がそれぞれ、蓋51を図1に示す蓋3に取り換えて、混合剤を容器から蓋3のノズル12を経由して吐出し、健常毛を有するウィッグ(レッスンマネキン:ユーカリジャパン社製)の毛の根元付近に混合剤を塗布した。
○○:20名中16名以上が、塗布時に混合剤の垂れ落ちがないと回答
○:20名中11〜15名が、塗布時に混合剤の垂れ落ちがないと回答
△:20名中6〜10名が、塗布時に混合剤の垂れ落ちがないと回答
×:20名中5名以下が、塗布時に混合剤の垂れ落ちがないと回答
上記(2)の評価の後、官能評価パネル20名がそれぞれ、毛の根元付近に塗布された混合剤を、シャンプーをする要領で泡立てようと試みた。
○○:20名中16名以上が、容易に泡立ち、起泡性に優れると回答
○:20名中11〜15名が、容易に泡立ち、起泡性に優れると回答
△:20名中6〜10名が、容易に泡立ち、起泡性に優れると回答
×:20名中5名以下が、容易に泡立ち、起泡性に優れるか回答(全く泡立たない場合も含む)
上記(3)の評価の後、官能評価パネル20名がそれぞれ、泡立ててから又は全く泡立たなかった場合には泡立てようとする作業をしてから30分間放置した。
○○:20名中16名以上が、放置中に毛髪からの混合剤の垂れ落ちがないと回答
○:20名中11〜15名が、放置中に毛髪からの混合剤の垂れ落ちがないと回答
△:20名中6〜10名が、放置中に毛髪からの混合剤の垂れ落ちがないと回答
×:20名中5名以下が、放置中に毛髪からの混合剤の垂れ落ちがないと回答
上記(4)の評価の後、官能評価パネル20名がそれぞれ、30分間放置後の混合剤を温水で洗い流した。次に、タオルドライ及びドライヤーによる温風乾燥を行った。
○○:20名中16名以上が、むらがなく、毛の根元まで均一に脱色又は染色されていると回答
○:20名中11〜15名が、むらがなく、毛の根元まで均一に脱色又は染色されていると回答
△:20名中6〜10名が、むらがなく、毛の根元まで均一に脱色又は染色されていると回答
×:20名中5名以下が、むらがなく、毛の根元まで均一に脱色又は染色されていると回答
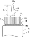
2…容器
2a…底部
2b…開口部
2c…筒部
2d…雄ねじ部
2e…滑り止め部
3…蓋
11…蓋本体
11a…筒部
11b…上壁部
11c…基端部
11d…雌ねじ部
11e…滑り止め部
12…ノズル
12a…流路
12b…流入口
12c…流出口
51…蓋
51a…筒部
51b…上壁部
Claims (9)
- アルカリ剤を含む第1剤と、酸化剤を含む第2剤とを少なくとも備え、混合されて混合剤として用いられる多剤式の脱色剤又は酸化染毛剤であって、
前記第1剤及び前記第2剤はそれぞれ液状又はジェル状であり、
多剤式の脱色剤又は酸化染毛剤が酸化染毛剤である場合には、前記第1剤が酸化染料を含み、
前記第1剤及び前記第2剤の内の少なくとも一方が、アニオン性界面活性剤及び両性界面活性剤の内の少なくとも1種の界面活性剤成分を含み、
前記第1剤及び前記第2剤の内の少なくとも一方が、増粘性高分子を含み、
多剤式の脱色剤又は酸化染毛剤が混合された混合剤はジェル状である、脱色剤又は酸化染毛剤。 - 前記第1剤が、前記界面活性剤成分と前記増粘性高分子とを含み、かつ
前記第2剤が、前記界面活性剤成分と前記増粘性高分子とを含む、請求項1に記載の脱色剤又は酸化染毛剤。 - 前記第1剤が、前記増粘性高分子として、カチオン化セルロース及びカチオン性ポリマーの内の少なくとも1種を含む、請求項1又は2に記載の脱色剤又は酸化染毛剤。
- 前記第2剤が、前記増粘性高分子として、アニオン性ポリマーを含む、請求項1〜3のいずれか1項に記載の脱色剤又は酸化染毛剤。
- 混合された混合剤がジェル状である状態で毛髪に塗布される多剤式の脱色剤又は酸化染毛剤である、請求項1〜4のいずれか1項に記載の脱色剤又は酸化染毛剤。
- 容器中で混合され、混合された混合剤がジェル状である状態で容器から吐出され、毛髪に塗布される多剤式の脱色剤又は酸化染毛剤である、請求項5に記載の脱色剤又は酸化染毛剤。
- 混合された混合剤がジェル状である状態で毛髪に塗布され、毛髪に塗布された混合剤が毛髪上で泡立てられる多剤式の脱色剤又は酸化染毛剤である、請求項5又は6に記載の脱色剤又は酸化染毛剤。
- 多剤式の請求項1〜7のいずれか1項に記載の脱色剤又は酸化染毛剤を混合し、ジェル状の混合剤にする工程と、
前記混合剤をジェル状である状態で毛髪に塗布する工程と、
毛髪に塗布されたジェル状の混合剤を泡立てる工程とを備える、毛髪の脱色又は染色方法。 - 前記多剤式の脱色剤又は酸化染毛剤を容器中で混合し、ジェル状の混合剤にする工程と、
前記混合剤をジェル状である状態で容器から吐出して、毛髪に塗布する工程と、
毛髪に塗布されたジェル状の混合剤を毛髪上で泡立てて泡状にする工程とを備える、請求項8に記載の毛髪の脱色又は染色方法。
Priority Applications (1)
| Application Number | Priority Date | Filing Date | Title |
|---|---|---|---|
| JP2010257506A JP5824764B2 (ja) | 2010-11-18 | 2010-11-18 | 脱色剤又は酸化染毛剤、及び毛髪の脱色又は染色方法 |
Applications Claiming Priority (1)
| Application Number | Priority Date | Filing Date | Title |
|---|---|---|---|
| JP2010257506A JP5824764B2 (ja) | 2010-11-18 | 2010-11-18 | 脱色剤又は酸化染毛剤、及び毛髪の脱色又は染色方法 |
Publications (2)
| Publication Number | Publication Date |
|---|---|
| JP2012106952A true JP2012106952A (ja) | 2012-06-07 |
| JP5824764B2 JP5824764B2 (ja) | 2015-12-02 |
Family
ID=46493009
Family Applications (1)
| Application Number | Title | Priority Date | Filing Date |
|---|---|---|---|
| JP2010257506A Active JP5824764B2 (ja) | 2010-11-18 | 2010-11-18 | 脱色剤又は酸化染毛剤、及び毛髪の脱色又は染色方法 |
Country Status (1)
| Country | Link |
|---|---|
| JP (1) | JP5824764B2 (ja) |
Cited By (6)
| Publication number | Priority date | Publication date | Assignee | Title |
|---|---|---|---|---|
| JP2013184966A (ja) * | 2012-03-12 | 2013-09-19 | Mandom Corp | 毛髪処理剤、及び毛髪の処理方法 |
| JP2013184964A (ja) * | 2012-03-12 | 2013-09-19 | Mandom Corp | 毛髪処理剤及び毛髪の処理方法 |
| JP2013184968A (ja) * | 2012-03-12 | 2013-09-19 | Mandom Corp | 毛髪処理剤用の第2剤、毛髪処理剤、及び毛髪の処理方法 |
| JP2013184969A (ja) * | 2012-03-12 | 2013-09-19 | Mandom Corp | 毛髪処理剤用の第1剤、毛髪処理剤、及び毛髪の処理方法 |
| JP2013184965A (ja) * | 2012-03-12 | 2013-09-19 | Mandom Corp | 毛髪処理剤、及び毛髪の処理方法 |
| JP2016108296A (ja) * | 2014-12-09 | 2016-06-20 | 花王株式会社 | 染毛剤組成物 |
Citations (11)
| Publication number | Priority date | Publication date | Assignee | Title |
|---|---|---|---|---|
| JPH01106813A (ja) * | 1987-09-24 | 1989-04-24 | Henkel Kgaa | 髪の脱色用および酸化染髪用のエマルジョン型過酸化水素製剤 |
| JPH0782122A (ja) * | 1993-08-26 | 1995-03-28 | Bristol Myers Squibb Co | 酸化性毛染組成物 |
| JPH0940534A (ja) * | 1995-07-27 | 1997-02-10 | Shiseido Co Ltd | 用時混合型の染毛剤組成物 |
| JP2001525351A (ja) * | 1997-12-08 | 2001-12-11 | ヘンケル・コマンディットゲゼルシャフト・アウフ・アクチエン | 染毛製剤 |
| JP2002193772A (ja) * | 2000-12-27 | 2002-07-10 | Hoyu Co Ltd | 染毛剤組成物 |
| JP2002544215A (ja) * | 1999-05-12 | 2002-12-24 | ウエラ アクチェンゲゼルシャフト | 酸化毛髪染色剤 |
| JP2007119480A (ja) * | 2005-10-27 | 2007-05-17 | Kwangduk Pharmaceutical Co Ltd | 染毛剤組成物及びその製造方法 |
| JP2008137937A (ja) * | 2006-12-01 | 2008-06-19 | Milbon Co Ltd | 染毛用第2剤組成物 |
| JP2009541300A (ja) * | 2006-07-12 | 2009-11-26 | ザ プロクター アンド ギャンブル カンパニー | 毛髪染色組成物及び脱色組成物用のゲル網状界面活性剤系増粘系 |
| WO2010106789A1 (ja) * | 2009-03-18 | 2010-09-23 | 花王株式会社 | 頭髪染色方法 |
| JP2013541570A (ja) * | 2010-11-02 | 2013-11-14 | ロレアル | アンモニア含有量の少ない染料組成物 |
-
2010
- 2010-11-18 JP JP2010257506A patent/JP5824764B2/ja active Active
Patent Citations (11)
| Publication number | Priority date | Publication date | Assignee | Title |
|---|---|---|---|---|
| JPH01106813A (ja) * | 1987-09-24 | 1989-04-24 | Henkel Kgaa | 髪の脱色用および酸化染髪用のエマルジョン型過酸化水素製剤 |
| JPH0782122A (ja) * | 1993-08-26 | 1995-03-28 | Bristol Myers Squibb Co | 酸化性毛染組成物 |
| JPH0940534A (ja) * | 1995-07-27 | 1997-02-10 | Shiseido Co Ltd | 用時混合型の染毛剤組成物 |
| JP2001525351A (ja) * | 1997-12-08 | 2001-12-11 | ヘンケル・コマンディットゲゼルシャフト・アウフ・アクチエン | 染毛製剤 |
| JP2002544215A (ja) * | 1999-05-12 | 2002-12-24 | ウエラ アクチェンゲゼルシャフト | 酸化毛髪染色剤 |
| JP2002193772A (ja) * | 2000-12-27 | 2002-07-10 | Hoyu Co Ltd | 染毛剤組成物 |
| JP2007119480A (ja) * | 2005-10-27 | 2007-05-17 | Kwangduk Pharmaceutical Co Ltd | 染毛剤組成物及びその製造方法 |
| JP2009541300A (ja) * | 2006-07-12 | 2009-11-26 | ザ プロクター アンド ギャンブル カンパニー | 毛髪染色組成物及び脱色組成物用のゲル網状界面活性剤系増粘系 |
| JP2008137937A (ja) * | 2006-12-01 | 2008-06-19 | Milbon Co Ltd | 染毛用第2剤組成物 |
| WO2010106789A1 (ja) * | 2009-03-18 | 2010-09-23 | 花王株式会社 | 頭髪染色方法 |
| JP2013541570A (ja) * | 2010-11-02 | 2013-11-14 | ロレアル | アンモニア含有量の少ない染料組成物 |
Cited By (6)
| Publication number | Priority date | Publication date | Assignee | Title |
|---|---|---|---|---|
| JP2013184966A (ja) * | 2012-03-12 | 2013-09-19 | Mandom Corp | 毛髪処理剤、及び毛髪の処理方法 |
| JP2013184964A (ja) * | 2012-03-12 | 2013-09-19 | Mandom Corp | 毛髪処理剤及び毛髪の処理方法 |
| JP2013184968A (ja) * | 2012-03-12 | 2013-09-19 | Mandom Corp | 毛髪処理剤用の第2剤、毛髪処理剤、及び毛髪の処理方法 |
| JP2013184969A (ja) * | 2012-03-12 | 2013-09-19 | Mandom Corp | 毛髪処理剤用の第1剤、毛髪処理剤、及び毛髪の処理方法 |
| JP2013184965A (ja) * | 2012-03-12 | 2013-09-19 | Mandom Corp | 毛髪処理剤、及び毛髪の処理方法 |
| JP2016108296A (ja) * | 2014-12-09 | 2016-06-20 | 花王株式会社 | 染毛剤組成物 |
Also Published As
| Publication number | Publication date |
|---|---|
| JP5824764B2 (ja) | 2015-12-02 |
Similar Documents
| Publication | Publication Date | Title |
|---|---|---|
| JP5919040B2 (ja) | 毛髪の処理方法 | |
| JP5824763B2 (ja) | 脱色剤又は酸化染毛剤、及び毛髪の脱色又は染色方法 | |
| JP5651297B2 (ja) | 二剤式染毛剤 | |
| CN102316847B (zh) | 双剂型染发剂 | |
| CN101820852B (zh) | 染发剂组合物 | |
| CN101835453B (zh) | 双剂型毛发染色剂组合物 | |
| JP6181826B2 (ja) | 二剤式染毛剤 | |
| JP5824764B2 (ja) | 脱色剤又は酸化染毛剤、及び毛髪の脱色又は染色方法 | |
| JP5466884B2 (ja) | 二剤式泡状染毛剤 | |
| JP2006124279A (ja) | 2剤式毛髪化粧料 | |
| CN101489627A (zh) | 用于毛发着色剂和漂白组合物的基于凝胶网络表面活性剂的增稠体系 | |
| WO2010103796A1 (ja) | 二剤式染毛剤 | |
| WO2011065560A1 (ja) | 二剤式染毛剤 | |
| JP5919041B2 (ja) | 毛髪処理剤キット、及び毛髪の処理方法 | |
| JP5919039B2 (ja) | 毛髪処理剤キット及び毛髪の処理方法 | |
| JPH08168409A (ja) | 染毛用具 | |
| JP5707611B2 (ja) | 脱色剤又は酸化染毛剤の塗布具、脱色剤又は酸化染毛剤を備えた塗布具並びに毛髪の脱色又は染色方法 | |
| US20160262994A1 (en) | Hair bleaching or hair dye cosmetics | |
| JP5919043B2 (ja) | 毛髪処理剤キット及び毛髪の処理方法 | |
| JP5751739B2 (ja) | 二剤式染毛剤 | |
| JP5919044B2 (ja) | 毛髪処理剤キット、及び毛髪の処理方法 | |
| JP5919042B2 (ja) | 毛髪処理剤キット、及び毛髪の処理方法 | |
| JP5751740B2 (ja) | 二剤式染毛剤 | |
| JP2025142362A (ja) | 染毛剤組成物 | |
| JP5759149B2 (ja) | 第1剤組成物、及び多剤式の脱色剤又は酸化染毛剤 |
Legal Events
| Date | Code | Title | Description |
|---|---|---|---|
| A621 | Written request for application examination |
Free format text: JAPANESE INTERMEDIATE CODE: A621 Effective date: 20130730 |
|
| A977 | Report on retrieval |
Free format text: JAPANESE INTERMEDIATE CODE: A971007 Effective date: 20140314 |
|
| A131 | Notification of reasons for refusal |
Free format text: JAPANESE INTERMEDIATE CODE: A131 Effective date: 20140422 |
|
| A521 | Request for written amendment filed |
Free format text: JAPANESE INTERMEDIATE CODE: A523 Effective date: 20140619 |
|
| A131 | Notification of reasons for refusal |
Free format text: JAPANESE INTERMEDIATE CODE: A131 Effective date: 20150127 |
|
| A601 | Written request for extension of time |
Free format text: JAPANESE INTERMEDIATE CODE: A601 Effective date: 20150327 |
|
| A521 | Request for written amendment filed |
Free format text: JAPANESE INTERMEDIATE CODE: A523 Effective date: 20150428 |
|
| TRDD | Decision of grant or rejection written | ||
| A01 | Written decision to grant a patent or to grant a registration (utility model) |
Free format text: JAPANESE INTERMEDIATE CODE: A01 Effective date: 20150915 |
|
| A61 | First payment of annual fees (during grant procedure) |
Free format text: JAPANESE INTERMEDIATE CODE: A61 Effective date: 20150924 |
|
| R150 | Certificate of patent or registration of utility model |
Ref document number: 5824764 Country of ref document: JP Free format text: JAPANESE INTERMEDIATE CODE: R150 |
|
| R250 | Receipt of annual fees |
Free format text: JAPANESE INTERMEDIATE CODE: R250 |
|
| R250 | Receipt of annual fees |
Free format text: JAPANESE INTERMEDIATE CODE: R250 |
|
| R250 | Receipt of annual fees |
Free format text: JAPANESE INTERMEDIATE CODE: R250 |
|
| R250 | Receipt of annual fees |
Free format text: JAPANESE INTERMEDIATE CODE: R250 |
|
| R250 | Receipt of annual fees |
Free format text: JAPANESE INTERMEDIATE CODE: R250 |
|
| R250 | Receipt of annual fees |
Free format text: JAPANESE INTERMEDIATE CODE: R250 |
|
| R250 | Receipt of annual fees |
Free format text: JAPANESE INTERMEDIATE CODE: R250 |
|
| R250 | Receipt of annual fees |
Free format text: JAPANESE INTERMEDIATE CODE: R250 |
