JP2012050737A - 遊技機 - Google Patents

遊技機 Download PDF

Info

Publication number
JP2012050737A
JP2012050737A JP2010196841A JP2010196841A JP2012050737A JP 2012050737 A JP2012050737 A JP 2012050737A JP 2010196841 A JP2010196841 A JP 2010196841A JP 2010196841 A JP2010196841 A JP 2010196841A JP 2012050737 A JP2012050737 A JP 2012050737A
Authority
JP
Japan
Prior art keywords
image
display
cpu
screen
liquid crystal
Prior art date
Legal status (The legal status is an assumption and is not a legal conclusion. Google has not performed a legal analysis and makes no representation as to the accuracy of the status listed.)
Pending
Application number
JP2010196841A
Other languages
English (en)
Inventor
Tatsuhiko Hibino
辰彦 日比野
Yusuke Nakamura
裕介 中村
Kenji Hayashi
建志 林
Current Assignee (The listed assignees may be inaccurate. Google has not performed a legal analysis and makes no representation or warranty as to the accuracy of the list.)
Kyoraku Sangyo Co Ltd
Original Assignee
Kyoraku Sangyo Co Ltd
Priority date (The priority date is an assumption and is not a legal conclusion. Google has not performed a legal analysis and makes no representation as to the accuracy of the date listed.)
Filing date
Publication date
Application filed by Kyoraku Sangyo Co Ltd filed Critical Kyoraku Sangyo Co Ltd
Priority to JP2010196841A priority Critical patent/JP2012050737A/ja
Publication of JP2012050737A publication Critical patent/JP2012050737A/ja
Pending legal-status Critical Current

Links

Images

Landscapes

  • Display Devices Of Pinball Game Machines (AREA)
  • Pinball Game Machines (AREA)

Abstract

【課題】興趣性が高い効果的な表示演出を行うことができる遊技機を提供すること。
【解決手段】演出時に、透過型のEL画面60を有するEL表示器6を所定の移動パターンで移動させ、液晶画面50に表示されている第1表示オブジェクトの少なくとも一部をEL画面60を通して視認できると判定されたときに、当該第1表示オブジェクトの少なくとも一部の異なる態様を示す第2表示オブジェクトがEL画面60に重畳する位置に表示される。
【選択図】図20A

Description

本発明は、固定された画像表示器に加えて移動可能な画像表示器を備える遊技機に関する。
パチンコ遊技機は、始動口への遊技球の入賞を契機として大当たり抽選を実行すると共に、特別図柄を変動表示してから大当たり抽選の結果を示す特別図柄を停止表示し、その停止表示された特別図柄が所定の当たり図柄であった場合に、大入賞口が解放されて遊技者が大当たり遊技を楽しめるように構成されている。この種のパチンコ遊技機としては、例えば特許文献1に開示されたパチンコ遊技機が挙げられる。
特許文献1に記載のパチンコ遊技機は、特別図柄等の遊技情報を表示する主表示部と、その他の遊技情報や遊技ガイド、テレビ映像、CM等を表示する副表示部とが左右に並べて配置された画像表示器を備えている。この画像表示器は、遊技者が首を曲げることなく主表示部を見ることができるように、遊技盤の中央部分に固定されている。
特開2006−158638号公報
ところで、特許文献1に開示されたパチンコ遊技機では、副表示部に様々な情報が表示されることで遊技者の視点が固定されてしまい、なかなか大当たりしないときなどに遊技者が完全に受け身の状態になって遊技が単調になり易いと考えられる。このため、遊技が単調になり難い興趣性が高い効果的な演出が求められていた。
それ故に、本発明の目的は、興趣性が高い効果的な演出を行うことができる遊技機を提供することである。
本発明は、上記の課題を解決するために、以下の構成を採用した。なお、本欄における括弧内の参照符号や補足説明等は、本発明の理解を助けるために後述する実施形態との対応関係を示したものであって、本発明を何ら限定するものではない。
本発明に係る遊技機(1)は、第1表示画面(50)を有する第1画像表示器(5)と、前記第1表示画面(50)の前面側に配置され、駆動手段(29,30)からの駆動力を受けて当該第1表示画面(50)に対して移動可能な透過型の第2表示画面(60)を有する第2画像表示器(6)と、前記第1表示画面(50)上に表示された第1表示オブジェクトの少なくとも一部を前記第2表示画面(60)を通して視認可能な位置に当該第2表示画面(60)が位置するか否かを判定する位置判定手段(131)と、前記位置判定手段(131)によって前記視認可能な位置に前記第2表示画面(60)が位置すると判定された場合に、前記第1表示オブジェクトの少なくとも一部の異なる態様を示す第2表示オブジェクトを、前記第2表示画面(60)上で当該第1表示オブジェクトの少なくとも一部と重畳する位置に表示させる表示制御手段(142)とを備える。
前記表示制御手段(142)は、前記第1表示オブジェクトを含む主画像をフレームバッファ(1426A,1426B)に描画すると共に、前記第2表示オブジェクトを含む副画像を複数の領域に分割して得られる分割画像として前記フレームバッファ(1426A,1426B)の空き領域に描画する描画手段(1424)と、前記主画像を前記フレームバッファ(1426A,1426B)から読み出して前記第1画像表示器(5)に出力すると共に、前記分割画像を当該フレームバッファ(1426A,1426B)から読み出して前記副画像として前記第2画像表示器(6)に出力する出力手段(1427)とを含んでいてもよい。
前記空き領域のサイズ及び前記副画像のサイズに基づいて、前記分割画像のサイズ、及び前記副画像を構成する前記分割画像の数を示す分割数を算出する算出手段(141)を備え、前記描画手段(1424)は、前記算出手段(141)によって算出された分割画像のサイズ及び分割数の画像を前記分割画像として前記空き領域に描画してもよい。
前記空き領域のサイズ及び前記副画像のサイズに基づいて、前記副画像を前記空き領域に描画するために分割が必要か否かを判定する分割判定手段(141)を備え、前記描画手段(1424)は、前記分割判定手段(141)によって分割が必要と判定された場合に前記副画像を前記分割画像として前記空き領域に描画し、前記分割判定手段(141)によって分割が不要と判定された場合には前記副画像を分割することなく前記空き領域に描画し、前記出力手段(1427)は、前記第2画像表示器(6)に対して、前記分割画像を前記フレームバッファ(1426A,1426B)から読み出して前記副画像として出力する処理、又は前記副画像を前記フレームバッファ(1426A,1426B)から読み出して出力する処理を行ってもよい。
この発明によれば、第1表示画面に表示された第1表示オブジェクトの少なくとも一部の異なる態様を示す第2表示オブジェクトを第2表示画面上で重畳する位置に表示させることができる。これにより、第1表示画面に対して移動する第2表示画面に遊技者の注意を引くことができるという興趣性が高い効果的な表示演出を行うことができる。
パチンコ遊技機1の概略正面図 パチンコ遊技機1の一部を示す概略平面図 図1における表示器4の拡大図 駆動機構10の構成を示す斜視図 駆動機構10の分解斜視図 EL表示器6の拡大斜視図 パチンコ遊技機1の制御装置の構成例を示すブロック図 画像音響制御部140の構成例を示すブロック図 VRAM_FB1426の構成について説明するための説明図 遊技制御部100によって行われる主要動作の一例を示すフローチャート 図10のステップS2における始動口スイッチ処理の詳細フローチャート 図10のステップS4における特別図柄処理の詳細フローチャート 演出制御部130によって行われる演出制御処理の一例を示すフローチャート 演出制御部130によって行われる装飾図柄処理の一例を示すフローチャート 液晶画面及びEL画面の表示例を示す図 液晶画面50及びEL画面60の表示例を示す図 EL画面の位置情報を説明するための説明図 表示オブジェクトの位置情報を説明するための説明図 重畳領域を説明するための説明図 重畳領域を説明するための説明図 EL画像の表示例を示す図 EL画像の表示例を示す図 EL画像の表示例を示す図 EL画像の表示例を示す図 EL画像の表示例を示す図 演出制御部130によって行われる大当たり演出処理の一例を示すフローチャート 演出制御部130によって行われる大当たり演出処理の一例を示すフローチャート EL画像の表示例を示す図 EL画像の表示例を示す図 EL画像の表示例を示す図 EL画像の表示例を示す図 EL画像の表示例を示す図 EL画像の表示例を示す図 EL画像の表示例を示す図 EL画像の表示例を示す図 EL画像の表示例を示す図 EL画像の表示例を示す図 画像音響制御部140によって行われる設定処理の一例を示すフローチャート 液晶画像サイズ、EL画像サイズ、フレームバッファサイズ、及び空き領域のサイズについて説明するための説明図 液晶画像サイズ、EL画像サイズ、フレームバッファサイズ、及び空き領域のサイズについて説明するための説明図 液晶画像サイズ、EL画像サイズ、フレームバッファサイズ、及び空き領域のサイズについて説明するための説明図 液晶画像サイズ、EL画像サイズ、フレームバッファサイズ、及び空き領域のサイズについて説明するための説明図 画像音響制御部140によって行われる設定処理について説明するための説明図 画像音響制御部140によって行われる設定処理について説明するための説明図 画像音響制御部140によって行われる設定処理について説明するための説明図 画像音響制御部140によって行われる表示制御処理の一例を示すフローチャート 画像音響制御部140によって行われる表示制御処理の一例を示すフローチャート 液晶画面50による1画面表示が行われる際のVDP142による描画処理について説明するための説明図 2画面表示を実現するためにVDP142によって行われる描画処理の一例を示すフローチャート 分割数SNが「0」に設定されている場合にVDP142によって行われる描画処理について説明するための説明図 分割数SNが「4」に設定されている場合にVDP142によって行われる描画処理について説明するための説明図 出力回路1427による分割画像の出力処理について説明するための説明図 駆動機構10の変形例について説明するための図 駆動機構10の変形例について説明するための図
以下、適宜図面を参照しつつ、本発明の遊技機の一実施形態に係るパチンコ遊技機1について説明する。
[パチンコ遊技機1の概略構成]
まず、パチンコ遊技機1の概略構成について説明する。図1は、パチンコ遊技機1の概略正面図である。図1に示されるように、パチンコ遊技機1は、遊技球が打ち出される遊技盤2と、遊技盤2を囲む枠部材3とを備えている。枠部材3は、遊技盤2の表面側(図1の紙面手前側)に遊技盤2と所定の間隔を隔てて平行に配置された透明なガラス板(不図示)を支持する部材であり、遊技盤2に対して蝶番(不図示)を介して開閉可能に構成されると共に、遊技盤2に対して着脱可能に構成されている。
枠部材3に支持されたガラス板と遊技盤2との間には、遊技球が移動する遊技領域20が形成されている。遊技者がハンドル31を握ってレバー32を時計方向へ回転させると、ハンドル31の回転角度に応じた打球力で不図示の発射装置から遊技球が発射される。図には示されていないが、遊技盤2には、発射装置から発射された遊技球を遊技領域20へ案内するガイド部材が設けられており、遊技球は、このガイド部材によって遊技領域20の上部位置へ案内される。遊技球は、遊技領域20に配置された不図示の遊技クギや風車等に接触することでその移動方向を変化させながら遊技盤2の表面に沿って落下する。
遊技領域20には、入賞や抽選に関する役物として、第1始動口21、第2始動口22、大入賞口23、普通入賞口24、及びゲート25が設けられている。また、遊技領域20における大入賞口23の下方には、始動口21,22、又は入賞口23,24に入らなかった遊技球を遊技領域20の外へ排出する排出口26が設けられている。
第1始動口21及び第2始動口22は、後述する液晶表示器5の下方に設けられている。第1始動口21及び第2始動口22は、第1始動口21を第2始動口22の上側として所定の間隔を隔てて上下に並んで配置されている。パチンコ遊技機1では、第1始動口21又は第2始動口22に遊技球が入賞することで、賞球が払い出されると共に大当たり抽選が実行される。なお、以下の説明では、第1始動口21への遊技球の入賞を契機として実行される大当たり抽選を第1特別図柄抽選と呼び、第2始動口22への遊技球の入賞を契機として実行される大当たり抽選を第2特別図柄抽選と呼び、第1特別図柄抽選及び第2特別図柄抽選を総称して特別図柄抽選と呼ぶものとする。
第1始動口21と第2始動口22との間には、チューリップの花を模した一対の羽根部材を有する電動チューリップ27が配置されている。電動チューリップ27は、一対の羽根部材が閉じた閉姿勢(図1参照)と、一対の羽根部材が開いた開姿勢(不図示)との間で姿勢変化可能に構成されており、不図示の電動ソレノイドが作動することによって閉姿勢から開姿勢に姿勢変化する。
電動チューリップ27の一対の羽根部材が閉姿勢の状態では、第1始動口21を構成する部材及び電動チューリップ27によって第2始動口22への遊技球の進入経路が塞がれており、遊技球が第2始動口22へ入ることはない。これに対して、遊技球がゲート25を通過すると、普通図柄抽選(電動チューリップ27の開閉抽選)が実行され、この普通図柄抽選に当選すると、電動チューリップ27の一対の羽根部材が規定時間だけ開姿勢を維持した後に閉姿勢に戻る動作が規定回数行われる。このように、普通図柄抽選に当選することで、第2始動口22への遊技球の進入経路が開放されて、遊技球が第2始動口22に入賞可能となる。すなわち、第2特別図柄抽選の実行が可能な状態となる。なお、普通図柄抽選の当選確率、電動チューリップ27の動作に関する規定時間及び規定回数は、パチンコ遊技機1の遊技状態に応じて変更されることがある。
普通入賞口24は、ゲート25の下方に配置されている。普通入賞口24に遊技球が入賞した場合、抽選は実行されないが、第1始動口21や第2始動口22に遊技球が入賞した場合よりも多い賞球が払い出される。
大入賞口23は、第2始動口22の下方に配置されている。大入賞口23は、特別図柄抽選の結果に応じて開放される。大入賞口23の開口部には、大入賞口23を開閉するプレートが設けられている。特別図柄抽選に当選していない状態では、このプレートが遊技盤2の表面と同一平面を形成する姿勢となっているために、大入賞口23に遊技球が入らない状態となっている。これに対して、特別図柄抽選に当選すると、プレートの下端側を軸としてプレートの上端側が遊技盤2の表面側へ傾倒して、大入賞口23が開放される。
ここで、賞球の払い出しについて説明する。第1始動口21、第2始動口22、大入賞口23、及び普通入賞口24に遊技球が入って入賞すると、入賞した場所に応じた個数の賞球(遊技球)が払い出される。例えば、第1始動口21又は第2始動口22に遊技球が入賞すると4個の賞球が払い出され、大入賞口23に遊技球が入賞すると13個の賞球が払い出され、普通入賞口24に遊技球が入賞すると10個の賞球が払い出される。なお、遊技球がゲート25を通過しても賞球が払い出されることはない。
遊技盤2の中央部には、演出のための各種の画像を表示する液晶表示器5及びEL表示器6が設けられている。液晶表示器5及びEL表示器6については、本発明の主要な構成であるため後に詳述する。
液晶表示器5と近接する位置に、各種の演出に用いられる盤ランプ8及び可動役物7が設けられている。盤ランプ8は、遊技者による遊技の進行に応じて発光することによって光による各種の演出を行う。可動役物7は、遊技盤2に対して可動に構成されており、例えば内蔵された発光素子を発光させながら回動することによって各種の演出を行う。なお、本実施形態では、遊技盤2に対して可動に構成された装飾役物が可動役物7のみである場合について説明するが、さらに他の可動役物が設けられていてもよい。
図2は、パチンコ遊技機1の一部を示す概略平面図である。図1及び図2に示されるように、枠部材3には、上記ハンドル31及びレバー32の他に、停止ボタン33、取り出しボタン34、スピーカ35、枠ランプ36、演出ボタン37、演出キー38、及び皿39が設けられている。
皿39は、枠部材3からパチンコ遊技機1の正面側へ突出するように設けられており、上述の発射装置へ供給される遊技球を一時的に溜めるものである。この皿39には、上述のように払い出された賞球が排出される。遊技者がハンドル31を握ってレバー32を時計方向へ回転させると、皿39に溜められた遊技球が発射装置へ供給されて、遊技領域20へ所定の時間間隔で発射される。この遊技球の発射は、遊技者が停止ボタン33を押下することによって一時的に停止される。
取り出しボタン34は、皿39と近接する位置に設けられている。遊技者が取り出しボタン34を操作すると、皿39の下面の一部が開口されて、皿39に溜まった遊技球が皿39の下方に配置された不図示の箱へ落下する。なお、この皿39は、1つの皿によって構成されてもよいし、発射装置へ供給される遊技球及び賞球を溜める上皿と、賞球のみを溜める下皿との2つの皿によって構成されてもよい。
スピーカ35は、楽曲や音声、効果音等を出力して音による演出を行う。枠ランプ36は、点灯又は点滅のパターンの変更、発光色の変更、光の照射方向の変更等の光による各種の演出を行う。
演出ボタン37及び演出キー38は、それぞれ遊技者が演出に対する操作入力を行うために設けられている。演出ボタン37は、皿39の横に設けられている。演出キー38は、中央キーと中央キーの周辺に配列された複数(ここでは4つ)の周辺キーとを有しており、演出ボタン37に隣接配置されている。後述するが、遊技者が演出キー38の周辺キーを操作することによって、液晶表示器5に表示された複数の選択肢の中からいずれかを選択指示することができる。このように、演出キー38は、遊技者が操作情報を入力するための操作手段として機能する。
図3は、図1における表示器4の拡大図である。表示器4は、上述した特別図柄抽選や普通図柄抽選の結果や保留数に関する情報を表示するものである。図3に示されるように、表示器4は、第1特別図柄表示器41、第2特別図柄表示器42、第1特別図柄保留表示器43、第2特別図柄保留表示器44、普通図柄表示器45、普通図柄保留表示器46、及び遊技状態表示器47を備えている。
第1特別図柄表示器41は、第1始動口21への遊技球の入賞を契機として特別図柄を変動表示してから第1特別図柄抽選の結果を示す特別図柄を停止表示する。第1特別図柄保留表示器43は、第1特別図柄抽選の保留数を表示する。第2特別図柄表示器42は、第2始動口22への遊技球の入賞を契機として特別図柄を変動表示してから第2特別図柄抽選の結果を示す特別図柄を停止表示する。第2特別図柄保留表示器44は、第2特別図柄抽選の保留数を表示する。普通図柄表示器45は、遊技球がゲート25を通過したことを契機として始動した普通図柄抽選の結果を表示する。普通図柄保留表示器46は、普通図柄抽選の保留数を表示する。遊技状態表示器47は、パチンコ遊技機1の電源投入時点における遊技状態(例えば、通常遊技状態、確変遊技状態、時短遊技状態、潜伏遊技状態)を表示する。
ここまでパチンコ遊技機1の概略構成について説明したが、上述したパチンコ遊技機1の構成は単なる一例であって、遊技盤2の盤面構成等は適宜変更されてもよい。例えば本発明に係る遊技機が右打ちが必要なパチンコ遊技機に適用される場合には、大入賞口23やゲート25等を液晶表示器5に対して右側の遊技領域20に配置するといった変更が行われる。
ところで、液晶表示器5が遊技者にとって視認し易い位置に固定されているので、特別図柄抽選に当選しない期間が長時間続いたとき等に遊技者の視点が固定され易く、遊技が単調になるおそれがある。そこで、本実施形態に係るパチンコ遊技機1は、裏返されたカードを液晶画面50に表示させた状態で、各カードの手前を通過するようにEL画面60を移動させながら、移動過程でEL画面60を通して視認される各カードを表側から見た画像をEL画面60に表示するといった興趣性の高い表示演出を行うことで、移動するEL画面60に遊技者の視線を誘導可能に構成されている。以下、このような効果的な表示演出を実現するためのパチンコ遊技機1の構成及び動作について説明する。
[液晶表示器5の構成]
液晶表示器5(本発明の第1画像表示器の一例)は、遊技盤2を支持するパチンコ遊技機1の筐体に固定されている。このため、液晶表示器5は、遊技盤2に対して固定されている。液晶表示器5としては、例えば垂直方向11の画素数が「600」で、水平方向12の画素数が「800」という画面解像度(垂直画素数×水平画素数)の液晶画面50(本発明の第1表示画面の一例)を有する液晶ディスプレイが使用される。液晶表示器5は、後述する画像音響制御部140(図7参照)から出力される画像を液晶画面50に表示する。液晶画面50には、例えば、特別図柄抽選の結果を報知するための装飾図柄、予告演出を行うキャラクタやアイテム、特別図柄抽選が保留されていることを示す保留表示画像等の各種表示オブジェクトが表示される。このような各種表示オブジェクトの中には、上述したようにEL画面60を用いた演出時に表示されるカード(例えば、図20A〜図20Eを参照)を示す画像も含まれる。
[EL表示器6の構成]
EL表示器6(本発明の第2画像表示器の一例)は、液晶表示器5の前面側に液晶画面50と所定の間隔を隔てて配置されており、後述する駆動機構10を介して伝達される第1ステッピングモータ29及び第2ステッピングモータ30の駆動力を受けて液晶画面50の表面に沿って上下左右に移動可能である。本実施形態におけるEL表示器6は、透明なEL画面60(本発明の第2表示画面の一例)に画像を単色表示する透明ELディスプレイである。EL画面60は、樹脂製のフレーム61に形成された開口部に嵌め込まれることによってフレーム61に固定されている。EL画面60としては、例えば垂直方向11の画素数が「240」で、水平方向12の画素数が「320」という画面解像度を有するものが使用される。従って、液晶表示器5及びEL表示器6は、EL画面60よりも液晶画面50の方が画面解像度が大きくなるように構成されている。
EL表示器6として透過型のELディスプレイが使用されるので、EL画面60に画像が表示された状態であっても、遊技者がEL表示器6の裏面側に位置するオブジェクト(液晶画面50に表示された上述した表示オブジェクト、可動役物7等)をEL画面60を通して視認することができる。
[駆動機構10の構成及び動作]
次に、図4〜図6を参照しつつ、EL表示器6を移動させる駆動機構10について説明する。図4は、駆動機構10の構成を示す斜視図であり、液晶画面50に表示された表示オブジェクトをEL画面60を通して視認可能な位置にEL表示器6が位置した状態を示している。図5は、駆動機構10の分解斜視図である。図6は、EL表示器6の拡大斜視図である。
駆動機構10は、EL表示器6を液晶画面50に沿って上下左右に移動させるものである。本実施形態においては、駆動機構10は、第1ステッピングモータ29(図7参照)の駆動力をEL表示器6に伝達して、EL表示器6を液晶画面50に沿って垂直方向11(図1参照)に移動させる昇降駆動機構200と、第2ステッピングモータ30(図7参照)の駆動力をEL表示器6に伝達して、EL表示器6を液晶画面50に沿って水平方向12(図1参照)に移動させるスライド駆動機構220とから構成されている。
昇降駆動機構200は、大別して、第1支持部材201、ガイド部材202、ガイド部材203、第1回転軸204、第2回転軸205、第1駆動ベルト206、及び第2駆動ベルト207を備えている。
第1支持部材201は、水平方向12を長手方向とする薄い板状部材である。この第1支持部材201は、図1に示されるように、液晶表示器5の液晶画面50の手前に配置されるため、液晶画面50に表示された画像の視認性の低下を最低限に抑えるために、透明な樹脂で形成されている。EL表示器6のフレーム61には、水平方向12に貫通する挿通孔62(図5及び図6参照)が形成されており、第1支持部材201は、挿通孔62に挿通されることによってフレーム61を水平方向12へ移動可能に支持する。
図6に示されるように、第1支持部材201は、その一端側に連結部材194が固定されると共に、その他端側に連結部材197が固定されている。連結部材194は、ガイド部材202(図5参照)が挿通される円筒状の挿通孔195と、第1駆動ベルト206(図5参照)を挟持する挟持片196とを有している。ガイド部材202は、断面外形が円形の棒状部材であり、その長手方向が垂直方向11と一致するようにパチンコ遊技機1の筐体に固定されている。ガイド部材202の外径寸法は、挿通孔195の内径寸法よりも若干小さく設定されており、連結部材194は、挿通孔195にガイド部材202が挿通されることによって、垂直方向11へ移動可能にガイド部材202によって支持される。
連結部材197は、連結部材194と同形状の部材であって、ガイド部材203(図5参照)が挿通される挿通孔198と、第2駆動ベルト207(図5参照)を挟持する挟持片199とを有している。ガイド部材203は、ガイド部材202と同形状の部材であって、ガイド部材202と所定の間隔を隔てて対向するようにパチンコ遊技機1の筐体に固定されている。連結部材197は、挿通孔198にガイド部材203が挿通されることによって、垂直方向11へ移動可能にガイド部材203によって支持される。
このように連結部材194及び連結部材197がガイド部材202及びガイド部材203に支持されているので、第1支持部材201は、垂直方向11へスライド可能である。
ガイド部材202,203の上側に第1回転軸204が設けられると共に、ガイド部材202,203の下側に第2回転軸205が設けられている(図4参照)。第1回転軸204及び第2回転軸205は、それぞれ軸方向が水平方向12と一致するように、不図示の軸受けに回転可能に支持されている。図5に示されるように、第1回転軸204は、その一端側にギヤ212及びプーリ208が固定されると共に、その他端にプーリ209が固定されている。第2回転軸205は、その一端にプーリ210が固定されると共に、その他端にプーリ211が固定されている。
プーリ208とプーリ210との間には、内側に歯が形成された無端環状の第1駆動ベルト206が張り渡されている。プーリ209とプーリ211との間には、第1駆動ベルト206と同じ構成の第2駆動ベルト207が張り渡されている。
第1回転軸204のギヤ212(図4参照)には、第1ステッピングモータ29(図7参照)の駆動力が入力される。これにより、ギヤ212が固定された第1回転軸204が回転する。プーリ208〜211の外周には、第1駆動ベルト206及び第2駆動ベルト207の歯と噛合する歯が形成されており、第1回転軸204の回転力がプーリ208,209を介して第1駆動ベルト206及び第2駆動ベルト207に伝達される。その結果、第1駆動ベルト206及び第2駆動ベルト207が周運動すると共に、第1回転軸204及び第2回転軸205が同期回転する。この第1駆動ベルト206及び第2駆動ベルト207には、第1支持部材201の両端に固定された連結部材194,197が挟持片196,199によって固定されているので、第1ステッピングモータ29の駆動力が第1支持部材201にも伝達されて、第1支持部材201に支持されたEL表示器6が垂直方向11へ移動する。なお、第1ステッピングモータ29の回転方向を正回転又は逆回転に切り換えることで、垂直方向11におけるEL表示器6の移動方向を切り換えることができる。
一方、スライド駆動機構220は、大別して、第2支持部材221、ガイド部材222、ガイド部材223、第1回転軸224、第2回転軸225、第1駆動ベルト226、及び第2駆動ベルト227を備えている。
第2支持部材221は、垂直方向11を長手方向とする薄い板状部材である。この第2支持部材221は、第1支持部材201と同様に、透明な樹脂で形成されている。EL表示器6のフレーム61には、垂直方向11に貫通する挿通孔63(図5及び図6参照)が形成されており、第2支持部材221は、挿通孔63に挿通されることによってフレーム61を垂直方向11へ移動可能に支持する。
図6に示されるように、第2支持部材221は、その一端側に連結部材214が固定されると共に、その他端側に連結部材217が固定されている。連結部材214は、ガイド部材222(図5参照)が挿通される円筒状の挿通孔215と、第2駆動ベルト227(図5参照)を挟持する挟持片216とを有している。ガイド部材222は、断面外形が円形の棒状部材であり、その長手方向が水平方向12と一致するように、パチンコ遊技機1の筐体に固定されている。ガイド部材222の外径寸法は、挿通孔215の内径寸法よりも若干小さく設定されており、連結部材214は、挿通孔215にガイド部材222が挿通されることによって、水平方向12へ移動可能にガイド部材222によって支持される。
連結部材217は、連結部材214と同形状の部材であって、ガイド部材223(図5参照)が挿通される挿通孔218と、第1駆動ベルト226(図5参照)を挟持する挟持片219とを有している。ガイド部材223は、ガイド部材222と同形状の部材であって、ガイド部材222と所定の間隔を隔てて対向するようにパチンコ遊技機1の筐体に固定されている。連結部材217は、挿通孔218にガイド部材223が挿通されることによって、水平方向12へ移動可能にガイド部材223によって支持される。
このように連結部材214及び連結部材217がガイド部材222及びガイド部材223に支持されているので、第2支持部材221は、水平方向12へスライド可能である。
水平方向12におけるガイド部材222,223の外側に、第1回転軸224及び第2回転軸225が設けられている(図4参照)。第1回転軸224及び第2回転軸225は、それぞれ軸方向が垂直方向11と一致するように、不図示の軸受けに回転可能に支持されている。図5に示されるように、第1回転軸224は、その一端側にギヤ232及びプーリ228が固定されると共に、その他端にプーリ229が固定されている。第2回転軸225は、その一端にプーリ230が固定されると共に、その他端にプーリ231が固定されている。
プーリ228とプーリ230との間には、内側に歯が形成された無端環状の第1駆動ベルト226が張り渡されている。プーリ229とプーリ231との間には、第1駆動ベルト226と同じ構成の第2駆動ベルト227が張り渡されている。
第1回転軸224のギヤ232(図4参照)には、第2ステッピングモータ30(図7参照)の駆動力が入力される。これにより、ギヤ232が固定された第1回転軸224が回転する。プーリ228〜231の外周には、第1駆動ベルト226及び第2駆動ベルト227の歯と噛合する歯が形成されており、第1回転軸224の回転力がプーリ228,229を介して第1駆動ベルト226及び第2駆動ベルト227に伝達される。その結果、第1駆動ベルト226及び第2駆動ベルト227が周運動すると共に、第1回転軸224及び第2回転軸225が同期回転する。この第1駆動ベルト226及び第2駆動ベルト227には、第2支持部材221の両端に固定された連結部材214,217が挟持片216,219によって固定されているので、第2ステッピングモータ30の駆動力が第2支持部材221にも伝達されて、第2支持部材221に支持されたEL表示器6が水平方向12へ移動する。なお、第2ステッピングモータ30の回転方向を正回転又は逆回転に切り換えることで、水平方向12におけるEL表示器6の移動方向を切り換えることができる。
このように、EL表示器6は、昇降駆動機構200によって垂直方向11へ移動し、スライド駆動機構220によって水平方向12へ移動する。なお、第1支持部材201及び第2支持部材221を除く駆動機構10の各構成部材は、液晶表示器5等が設けられた領域と遊技領域20とを区画する化粧カバー14(図1参照)によって覆われているために、図1には現れていない。
[パチンコ遊技機1の制御装置の構成]
遊技盤2の裏面側(図1の紙面奥側)には、賞球として払い出される遊技球を溜めておく球タンクの他に、パチンコ遊技機1の動作を制御する制御装置が設けられている。図には示されていないが、この制御装置は、メイン基板及びサブ基板を有している。メイン基板は、内部抽選や当選の判定等を行う遊技制御部100として機能するメイン制御基板、賞球の払い出しを制御する払出制御部120として機能する払出制御基板等から構成されている。このメイン基板は、メイン基板が改変された場合にその痕跡が残るように、透明部材で構成されたケース内に密閉状態で配置されている。一方のサブ基板は、演出を統括的に制御する演出制御部130として機能する演出制御基板、画像や音による演出を制御する画像音響制御部140として機能する画像音響制御基板、及び各種のランプ(枠ランプ36や盤ランプ8)や可動役物7による演出を制御するランプ制御部150として機能するランプ制御基板等から構成されている。
以下、図7を参照しつつ、パチンコ遊技機1の制御装置の構成について説明する。ここで、図7は、パチンコ遊技機1の制御装置の構成例を示すブロック図である。図7に示されるように、パチンコ遊技機1の制御装置は、遊技制御部100、払出制御部120、演出制御部130、画像音響制御部140、及びランプ制御部150を備えている。
[遊技制御部100の構成]
遊技制御部100は、CPU101、ROM102、及びRAM103を備えている。CPU101は、ROM102に記憶されたプログラムに基づいて、内部抽選や当選の判定等の払い出し賞球数に関連する各種の演算処理を行う。ROM102には、上記プログラムの他に、第1特別図柄抽選の最大保留数Umax1、第2特別図柄抽選の最大保留数Umax2等が記憶されている。RAM103は、CPU101が上記プログラムを実行する際に用いる各種データを一時的に記憶する記憶領域又はデータ処理などの作業領域として使用される。この遊技制御部100の主な機能は以下の通りである。
遊技制御部100は、第1始動口21又は第2始動口22に遊技球が入賞すると特別図柄抽選を実行し、特別図柄抽選での当選か否かを示す判定結果データを演出制御部130へ送信する。また、遊技制御部100は、特別図柄抽選に応じて決定した当選確率の変動設定(例えば300分の1から30分の1への変動設定)を示すデータ、特別図柄変動時間の短縮設定を示すデータ、普通図柄抽選に応じて決定した普通図柄変動時間の短縮設定を示すデータ等を演出制御部130へ送信する。
遊技制御部100は、電動チューリップ27の羽根部材が開姿勢となる開時間、羽根部材が開閉する回数、及び羽根部材が閉じてから次に開くまでの開閉時間間隔を制御する。また、遊技制御部100は、遊技球が第1始動口21又は第2始動口22へ入賞したことによる特別図柄抽選の保留数、及び遊技球がゲート25を通過したことによる普通図柄抽選の保留数を管理する。
遊技制御部100は、特別図柄抽選の結果に応じて、大入賞口23の開閉動作を制御する。例えば、所定条件(例えば、大入賞口23が開いてから30秒が経過、大入賞口23への10個の遊技球の入賞、又は大入賞口23の開放累積時間が1.8秒以内)を満たすまで、大入賞口23のプレートが突出傾倒して大入賞口23の開状態を維持するラウンドを所定回数(例えば15回)繰り返す。
遊技制御部100は、第1始動口21、第2始動口22、大入賞口23、及び普通入賞口24に遊技球が入賞すると、入賞した場所に応じた所定数の賞球の払い出しを払出制御部120に指示する。払出制御部120が遊技制御部100の指示に応じて賞球の払い出しを行った場合、払い出された賞球の個数に関する情報が払出制御部120から遊技制御部100へ送られる。遊技制御部100は、払出制御部120から取得した情報に基づいて、払い出す賞球の個数を管理する。
これらの機能を実現するために、遊技制御部100には、第1始動口スイッチ(SW)111、第2始動口スイッチ(SW)112、電動チューリップ開閉部113、ゲートスイッチ(SW)114、大入賞口スイッチ(SW)115、大入賞口制御部116、及び普通入賞口スイッチ(SW)117が接続されている。
第1始動口スイッチ111は、第1始動口21に遊技球が入賞したことを検出して、その検出信号を遊技制御部100へ送る。第2始動口スイッチ112は、第2始動口22に遊技球が入賞したことを検出して、その検出信号を遊技制御部100へ送る。電動チューリップ開閉部113は、電動チューリップ27の一対の羽根部材に駆動伝達可能に連結された電動ソレノイドを有している。遊技制御部100からの制御信号に応じて電動ソレノイドが作動して、電動チューリップ27の一対の羽根部材が姿勢変化する。ゲートスイッチ114は、ゲート25を遊技球が通過したことを検出して、その検出信号を遊技制御部100へ送る。大入賞口スイッチ115は、大入賞口23に遊技球が入賞したことを検出して、その検出信号を遊技制御部100へ送る。大入賞口制御部116は、大入賞口23のプレートに駆動伝達可能に連結された電動ソレノイドを有している。遊技制御部100からの制御信号に応じて電動ソレノイドが作動して、大入賞口23が開閉される。普通入賞口スイッチ117は、普通入賞口24に遊技球が入賞したことを検出して、その検出信号を遊技制御部100へ送る。
また、遊技制御部100には、表示器4(図3参照)が接続されている。遊技制御部100は、第1特別図柄抽選の結果を第1特別図柄表示器41に表示させ、第1特別図柄抽選を保留している保留数を第1特別図柄保留表示器43に表示させる。遊技制御部100は、第2特別図柄抽選の結果を第2特別図柄表示器42に表示させ、第2特別図柄抽選の保留数を第2特別図柄保留表示器44に表示させる。遊技制御部100は、普通図柄抽選の結果を普通図柄表示器45に表示させ、普通図柄抽選の保留数を普通図柄保留表示器46に表示させる。遊技制御部100は、遊技状態表示器47にパチンコ遊技機1の遊技状態を表示させる。
[払出制御部120の構成]
払出制御部120は、CPU121、ROM122、及びRAM123を備えている。CPU121は、ROM122に記憶されたプログラムに基づいて、賞球の払い出しを制御する際の演算処理を行う。RAM123は、CPU121が上記プログラムを実行する際に用いる各種データを一時的に記憶する記憶領域又はデータ処理などの作業領域として使用される。
払出制御部120は、遊技制御部100からの指示に基づいて、遊技球が入賞した場所に応じた所定数の賞球が皿39へ払い出されるように払出モータ125を制御する。ここで、払出モータ125は、遊技盤2の裏面側に配置された球タンクから遊技球を送り出すモータである。
払出制御部120には、払出モータ125の他に、払出球検出部126、球有り検出部127、及び満タン検出部128が接続されている。払出球検出部126は、払出モータ125により球タンクから皿39へ払い出された賞球の数を検出する。球有り検出部127は、球タンクにおける遊技球の有無を検出する。満タン検出部128は、皿39が遊技球で満タンになったことを検出する。払出制御部120は、払出球検出部126、球有り検出部127、及び満タン検出部128の検出結果に応じて所定の処理を実行する。
[演出制御部130の構成]
演出制御部130は、CPU131、ROM132、RAM133、及びRTC(リアルタイムクロック)134を備えている。CPU131は、ROM132に記憶されたプログラムに基づいて、演出を制御する際の演算処理を行う。RAM133は、CPU131が上記プログラムを実行する際に用いる各種データを一時的に記憶する記憶領域又はデータ処理などの作業領域として使用される。RTC134は、現時点の日時を計測する。
演出制御部130は、遊技制御部100から送られる特別図柄抽選の判定結果等を示すデータに基づいて、演出内容を設定する。その際、演出ボタン37又は演出キー38からの操作情報の入力を受け付けて、その操作情報に応じた演出内容を設定する場合もある。さらに、特別図柄抽選の当選確率の変動設定を示すデータを遊技制御部100から受信した場合、特別図柄抽選の変動時間の短縮設定を示すデータを遊技制御部100から受信した場合、及び普通図柄抽選の変動時間の短縮設定を示すデータを遊技制御部100から受信した場合には、これらのデータに応じて演出内容を設定する。演出制御部130は、このようにして設定した演出内容の演出の実行を指示するコマンドを画像音響制御部140及びランプ制御部150へ送信する。
[ランプ制御部150の構成]
ランプ制御部150は、CPU151、ROM152、及びRAM153を備えている。CPU151は、盤ランプ8や枠ランプ36の発光、及び可動役物7の動作を制御する際の演算処理を行う。ROM152には、CPU151によって実行されるプログラムや各種データ等が記憶されている。RAM153は、CPU151が上記プログラムを実行する際に用いる各種データを一時的に記憶する記憶領域又はデータ処理などの作業領域として使用される。
ランプ制御部150のCPU151は、ROM152に記憶されている発光パターンデータの中から、演出制御部130から送信されたコマンドに対応する発光パターンデータを読み出して、盤ランプ8、枠ランプ36、及び可動役物7の発光を制御する。また、CPU151は、ROM152に記憶されている動作パターンデータの中から、演出制御部130から送信されたコマンドに対応する動作パターンデータを読み出して、可動役物7を動作させるモータ(不図示)の駆動を制御する。また、CPU151は、演出キー38による操作が可能となったときに遊技者に対して操作を促すために、演出キー38に内蔵されているボタンランプ40の発光を制御する。
[画像音響制御部140の構成]
図8は、画像音響制御部140の構成例を示すブロック図である。画像音響制御部140は、図8に示されるように、各種演出の実行を指示するための制御信号を生成するCPU141と、CPU141によって生成された制御信号に応じた演出を表現するための画像を生成するVDP(Video Display Processor)142と、CPU141によって生成された制御信号に応じた演出を実現するための音響データを生成する音響DSP(Digital Signal Processor)143とを備えている。
CPU141には、制御用ROM144、及びRAM145が接続されている。制御用ROM144には、CPU141によって実行されるプログラムや各種データ等が記憶されている。RAM145は、CPU141が上記プログラムを実行する際に用いる各種データを一時的に記憶する記憶領域又はデータ処理などの作業領域として使用される。CPU141は、演出制御部130から受信したコマンドに基づいて、VDP142及び音響DSP143の動作を制御するための制御信号を生成して、その制御信号をVDP142及び音響DSP143に出力する。
音響DSP143には、音響用ROM146、及びSDRAM147が接続されている。音響用ROM146には、スピーカ35から出力させる楽曲や音声、効果音等に関する各種音響データが記憶されている。SDRAM147は、音響DSP143によるデータ処理等の作業領域として使用される。
音響DSP143は、CPU141から入力された制御信号に対応する音響データを音響用ROM146からSDRAM147に読み出し、その音響データに対して必要なデータ処理を行う。そして、液晶画面50やEL画面60による画像表示と同期させて、又は画像表示とは非同期に、データ処理後の音響データを不図示の増幅器を介してスピーカ35に出力する。
VDP142は、CPU141から入力された制御信号に基づいて画像を描画して、液晶表示器5及びEL表示器6に出力する表示制御手段として機能する。このVDP142は、CPU I/F1421、デコーダ1422、ROM I/F1423、描画エンジン1424、VRAM_RS1425、VRAM_FB1426、及び出力回路1427を備えている。本実施形態では、描画エンジン1424が本発明の描画手段として機能し、出力回路1427が本発明の出力手段として機能する。
VDP142には、内部バス1428及び内部バス1429が設けられている。CPU I/F1421、デコーダ1422、ROM I/F1423、描画エンジン1424、及びVRAM_RS1425は、内部バス1428を介して通信可能に接続されている。また、描画エンジン1424、VRAM_FB1426、及び出力回路1427は、内部バス1429を介して通信可能に接続されている。
CPU I/F1421は、VDP142とCPU141とを通信可能に接続するインターフェースである。CPU141によって生成された制御信号は、CPU I/F1421を介してVDP142に入力される。ROM I/F1423は、画像用ROM148から画像データを読み出すためのインターフェースである。
画像用ROM148には、液晶表示器5及びEL表示器6に表示される演出画像を構成する素材となる素材データが記憶されている。具体的には、3つの数字からなる装飾図柄や期待度の大きさに応じた演出を行うためのキャラクタ、アイテム、カード等に関する画像データ、液晶表示器5に背景画面として表示される背景画像に関する画像データ、「リーチ」、「激アツ」等の文字に関する画像データといった、いわゆるスプライト機能を実現するための素材データが記憶されている。
VRAM_RS1425は、画像用ROM148から読み出された素材データを一時的に記憶する記憶領域又は描画エンジン1424が実行する描画処理などの作業領域として使用されるメモリである。なお、例えばMPEG2(Moving Picture Experts Group phase 2)方式で符号化された画像データが画像用ROM148から読み出される場合には、デコーダ1422によって復号された画像データが素材データとしてVRAM_RS1425に格納される。VRAM_RS1425に格納された素材データは、描画エンジン1424が行う描画処理に使用される。このため、描画処理で頻繁に使用される素材データをVRAM_RS1425にバッファリングしておくことによって、描画エンジン1424による描画処理を効率良く実行することができる。
描画エンジン1424は、CPU141からの制御信号に基づいて、液晶表示器5の液晶画面50及びEL表示器6のEL画面60に表示すべき画像をVRAM_FB1426に描画する。具体的には、CPU141からの制御信号、及びVRAM_RS1425に格納された素材データに基づいて、各ピクセルの色を計算し、計算した色の値をVRAM_FB1426に書き込むレンダリング処理を行う。VRAM_FB1426に描画された画像は、1フレーム分の画像に対応する複数の画素データから構成されており、各画素データは、R(Red)、G(Green)、B(Blue)を示す色情報と、画素の透過度を示すアルファ値とを含んでいる。出力回路1427は、VRAM_FB1426に描画された画像を所定の表示タイミングで液晶表示器5及びEL表示器6に出力して、液晶画面50及びEL画面60に画像を表示させる。なお、液晶表示器5のみを使用する場合には、描画エンジン1424は、液晶画面50に表示するための画像のみをVRAM_FB1426に描画して、出力回路1427がその画像を液晶表示器5に出力する。
図9は、VRAM_FB1426の構成について説明するための説明図である。図9に示されるように、VRAM_FB1426は、描画エンジン1424によって描画される1フレーム分の画像をそれぞれ記憶する第1フレームバッファ1426A及び第2フレームバッファ1426Bを備えるダブルバッファ方式のメモリである。描画エンジン1424は、第1フレームバッファ1426A内の画像を液晶表示器5及びEL表示器6に出力している間には、次のフレームの画像を第2フレームバッファ1426Bに描画する。一方、第2フレームバッファ1426B内の画像を液晶表示器5及びEL表示器6に出力している間には、次のフレームの画像を第1フレームバッファ1426Aに描画する。このように、描画エンジン1424は、一方のフレームバッファから画像を出力している間に他方のフレームバッファに描画処理を行うことで、高いフレームレートで描画処理を行うことができる。
[遊技制御部100による主要動作]
次に、遊技制御部100において行われる主要動作について説明する。図10は、遊技制御部100によって行われる主要動作の一例を示すフローチャートである。遊技制御部100は、電源投入時や電源断時等の特殊な場合を除く通常の動作時において、図10に示されている一連の処理を一定時間(例えば4ミリ秒)毎に繰り返し実行する。なお、図10以降のフローチャートに基づいて説明する遊技制御部100の処理は、ROM102に記憶されているプログラムに基づいてCPU101が発行する命令に従って行われる。
乱数更新処理(ステップS1)では、遊技制御部100のCPU101は、大当たり乱数、図柄乱数、リーチ乱数、変動パターン乱数、及び普通図柄乱数の各種の乱数の更新を行う。ここで、大当たり乱数は、特別図柄抽選の当選(大当たり)又は落選(ハズレ)を決定するための乱数である。図柄乱数は、特別図柄抽選に当選した場合に、当たりの種類(長当たり、短当たり、高確率状態への移行の有無、時短遊技状態への移行の有無)を決定するための乱数である。リーチ乱数は、特別図柄抽選に落選した場合に、リーチ有りの演出を行うか或いはリーチ無しの演出を行うかを決定するための乱数である。変動パターン乱数は、特別図柄が変動表示される際の変動パターンを決定するための乱数である。普通図柄乱数は、普通図柄抽選の当選又は落選を決定するための乱数である。大当たり乱数、図柄乱数、リーチ乱数、変動パターン乱数、及び普通図柄乱数は、このステップS1の処理が行われる毎に「1」ずつ加算される。そして、各抽選が行われた時点の値がステップS2の始動口スイッチ(SW)処理やステップS3のゲートスイッチ(SW)処理で取得され、ステップS4の特別図柄処理やステップS5の普通図柄処理で使用される。なお、このステップS1の処理を行うカウンタにはループカウンタが使用されており、設定されている乱数の最大値に達した後は、再び「0」に戻る。
始動口スイッチ(SW)処理(ステップS2)では、CPU101は、第1始動口スイッチ111及び第2始動口スイッチ112の状態を監視し、いずれかのスイッチから検出信号が出力された場合に、第1特別図柄抽選の保留数U1や第2特別図柄抽選の保留数U2に関する処理や乱数(大当たり乱数、図柄乱数、リーチ乱数、及び変動パターン乱数)を取得する処理等を実行する。この始動口スイッチ処理の詳細については、図11に基づいて後に詳述する。
ゲートスイッチ(SW)処理(ステップS3)では、CPU101は、ゲートスイッチ114の状態を監視し、遊技球がゲート25を通過してゲートスイッチ114から検出信号が出力された場合に、普通図柄抽選の保留数が上限値未満であるか否かを判断する。そして、保留数が上限値未満であると判断した場合に、ステップS5の普通図柄処理に使用される普通図柄乱数を取得する。
特別図柄処理(ステップS4)では、CPU101は、特別図柄抽選を実行し、表示器4に特別図柄を変動表示してから特別図柄抽選の結果を示す特別図柄を停止表示するための処理を実行する。この特別図柄処理については、図12に基づいて後に詳述する。
普通図柄処理(ステップS5)では、CPU101は、ステップS3のゲートスイッチ処理で取得された普通図柄乱数がその当選値と一致するか否かを判定する。そして、表示器4の普通図柄表示器45(図3参照)に普通図柄を変動表示させた後に判定結果を示す普通図柄を停止表示させる。
大入賞口処理(ステップS6)では、CPU101は、特別図柄抽選に当選した場合に、大入賞口制御部116を介して大入賞口23の開閉を制御する。
電動チューリップ処理(ステップS7)では、CPU101は、ステップS5の普通図柄処理において普通図柄乱数がその当選値と一致すると判定された場合に、電動チューリップ開閉部113を介して電動チューリップ27の一対の羽根部材を作動させる。電動チューリップ27が作動することによって第2始動口22へ遊技球が入賞可能な状態となり、第2始動口22に遊技球が入賞することで第2特別図柄抽選が始動する。
賞球処理(ステップS8)では、CPU101は、上述したように、遊技球の入賞個数の管理及び入賞に応じた賞球の払い出しを制御する。
出力処理(ステップS9)では、CPU101は、ステップS2の始動口スイッチ処理やステップS4の特別図柄処理等でRAM103にセットされた各種コマンドや演出に必要な情報を演出制御部130へ送る。また、ステップS8の賞球処理でRAM103にセットされた賞球の払い出しを指示するコマンドを払出制御部120へ送る。
[遊技制御部100による始動口スイッチ処理]
図11は、図10のステップS2における始動口スイッチ処理の詳細フローチャートである。遊技制御部100のCPU101は、図11に示されるように、第1始動口スイッチ111からの検出信号の有無に基づいて、第1始動口21に遊技球が入賞して第1始動口スイッチ111がONになったか否かを判定する(ステップS21)。第1始動口スイッチ111がONになったと判定した場合(ステップS21:YES)、CPU101は、ROM102から第1特別図柄抽選の最大保留数Umax1(本実施形態では「4」)を読み出し、RAM103に記憶されている第1特別図柄抽選の保留数U1が上限値Umax1未満であるか否かを判定する(ステップS22)。
CPU101は、保留数U1が最大保留数Umax1未満であると判定した場合(ステップS22:YES)、RAM103に記憶されている保留数U1の値を「1」加算した値に書き換える(ステップS23)。そして、CPU101は、ステップS23の処理によって保留した第1特別図柄抽選等に使用される乱数(大当たり乱数、図柄乱数、リーチ乱数、及び変動パターン乱数)を取得して、RAM103の所定領域に格納する(ステップS24)。
第1始動口スイッチ111がOFFであると判定した場合(ステップS21:NO)、保留数U1が最大保留数Umax1と等しいと判定した場合(ステップS22:NO)、又はステップS24の処理を行った場合、CPU101は、第2始動口スイッチ112からの検出信号の有無に基づいて、第2始動口22に遊技球が入賞して第2始動口スイッチ112がONになったか否かを判定する(ステップS25)。第2始動口スイッチ112がONになったと判定した場合(ステップS25:YES)、CPU101は、ROM102から第2特別図柄抽選の最大保留数Umax2(本実施形態では「4」)を読み出し、RAM103に記憶されている第2特別図柄抽選の保留数U2が最大保留数Umax2未満であるか否かを判定する(ステップS26)。
CPU101は、保留数U2が最大保留数Umax2未満であると判定した場合(ステップS26:YES)、RAM103に記憶されている保留数U2の値を「1」加算した値に書き換える(ステップS27)。そして、CPU101は、ステップS27の処理によって保留した第2特別図柄抽選等に使用される乱数(大当たり乱数、図柄乱数、リーチ乱数、及び変動パターン乱数)を取得して、RAM103の所定領域に格納する(ステップS28)。
第2始動口スイッチ112がOFFであると判定した場合(ステップS25:NO)、保留数U2が最大保留数Umax2と等しいと判定した場合(ステップS26:NO)、又はステップS28の処理を行った場合、一連の処理が終了して図11のステップS3におけるゲートスイッチ処理へ処理が進められる。
[遊技制御部100による特別図柄処理]
図12は、図10のステップS4における特別図柄処理の詳細フローチャートである。図12に示されるように、遊技制御部100のCPU101は、RAM103に記憶されている情報に基づいて、パチンコ遊技機1の現在の状態が大当たり中であるか否かを判定する(ステップS41)。大当たり中であるとCPU101が判定した場合(ステップS41:YES)、既に何らかの大当たりを表す特別図柄が選択されて停止表示されている状態であるため、特別図柄の変動表示を開始することなく特別図柄処理を終了し、図10のステップS5における普通図柄処理へ処理が進められる。
CPU101は、大当たり中ではないと判定した場合(ステップS41:NO)、表示器4の第1特別図柄表示器41又は第2特別図柄表示器42による特別図柄の変動表示中であるか否かを判定する(ステップS42)。CPU101は、特別図柄の変動表示中ではないと判定した場合(ステップS42:NO)、RAM103に記憶されている保留数U2が「1」以上であるか否かを判定する(ステップS43)。CPU101は、保留数U2が「1」以上であると判定した場合(ステップS43:YES)、RAM103に記憶されている保留数U2を「1」減算した値に書き換える(ステップS44)。
CPU101は、保留数U2が「1」以上ではない(第2特別図柄抽選が保留されていない)と判定した場合(ステップS43:NO)、RAM103に記憶されている保留数U1が「1」以上であるか否かを判定する(ステップS45)。CPU101は、保留数U1が「1」以上であると判定した場合(ステップS45:YES)、RAM103に記憶されている保留数U1を「1」減算した値に書き換える(ステップS46)。一方、保留数U1が「1」以上ではない(第1特別図柄抽選が保留されていない)とCPU101が判定した場合(ステップS45:NO)、特別図柄の変動表示を開始することなく特別図柄処理を終了し、図10のステップS5における普通図柄処理へ処理が進められる。
CPU101は、ステップS44又はステップS46の処理を行った後、大当たり判定処理を実行する(ステップS47)。具体的には、ステップS44の処理に続いてステップS47の処理を実行する場合、CPU101は、ROM102に記憶されている大当たりの当選値をRAM103に読み出し、第2始動口22への遊技球の入賞を契機としてステップS28の処理(図11参照)で取得されてRAM103に格納された大当たり乱数がこの大当たりの当選値と一致するか否かに基づいて、第2特別図柄抽選の結果が大当たりであるかハズレであるかを判定する。一方、ステップS46の処理に続いてステップS47の処理を実行する場合、CPU101は、ROM102に記憶されている大当たりの当選値をRAM103に読み出し、第1始動口21への遊技球の入賞を契機としてステップS24の処理(図11参照)で取得されてRAM103に格納された大当たり乱数がこの大当たりの当選値と一致するか否かに基づいて、第1特別図柄抽選の結果が大当たりであるかハズレであるかを判定する。
第1特別図柄抽選又は第2特別図柄抽選の結果が大当たりである場合、CPU101は、複数種の大当たりのそれぞれに割り当てられた図柄乱数をROM102から読み出す。そして、上述した当選値と一致するか否かの判定に使用した大当たり乱数と一緒に取得された図柄乱数が、複数種の大当たりのいずれの大当たりに割り当てられた図柄乱数と一致するか否かに応じて、大当たりの種類を判定する。そして、この大当たりの種類に応じた大当たり図柄を設定情報としてRAM103にセット(格納)する。一方、大当たりの判定結果がハズレである場合には、特別図柄抽選に落選したことを表すハズレ図柄を設定情報としてRAM103にセットする。
CPU101は、ステップS47の処理によって大当たり抽選の結果に応じた大当たり図柄又はハズレ図柄を設定情報としてセットした後に、変動パターン選択処理を実行する(ステップS48)。具体的には、ステップS47の大当たり判定処理で大当たりしたと判定した場合、大当たり用の変動パターンテーブルをROM102から読み出してRAM103にセットする。一方、ハズレと判定した場合、ROM102に記憶されているリーチ乱数をRAM103に読み出し、ステップS47の大当たり判定処理に使用した大当たり乱数及び図柄乱数と一緒に取得されたリーチ乱数が、このROM102から読み出したリーチ乱数と一致するか否かに基づいて、遊技者に対して大当たりを期待させるためのリーチ演出を行うか否かを判定する。そして、リーチ演出を行うと判定した場合にはリーチ用の変動パターンテーブルをROM102から読み出してRAM103にセットし、リーチ演出を行わないと判定した場合にはハズレ用の変動パターンテーブルをROM102から読み出してRAM103にセットする。ここで、変動パターンテーブルとは、予め用意されている複数の変動パターン(変動時間10秒、30秒、60秒、90秒など)と変動パターン乱数の乱数値とを対応付けたテーブルである。
次に、CPU101は、セットした変動パターンテーブルを参照して、ステップS47の大当たり判定処理に使用した大当たり乱数及び図柄乱数と一緒に取得された変動パターン乱数に対応する変動パターンを選択することによって特別図柄の変動パターン(変動時間)を決定する。このようにして選択された変動パターンは、設定情報としてRAM103にセットされる。
ステップS47の大当たり判定処理及びステップS48の変動パターン選択処理を行った後、CPU101は、大当たり判定処理を行ってセットした図柄の設定情報、変動パターン選択処理を行ってセットした変動パターンの設定情報、パチンコ遊技機1の遊技状態を示す遊技状態情報等を含む変動開始コマンドを生成してRAM103にセットする(ステップS49)。この変動開始コマンドは、後述するステップS50における特別図柄の変動表示を開始する際に、液晶表示器5による装飾図柄の変動表示の開始を指示するために用いられるコマンドであって、図10のステップS9における出力処理によって演出制御部130へ送信される。
ステップS49の処理に続いて、CPU101は、ステップS49の処理でセットされた変動開始コマンドに含まれている設定情報に基づいて、表示器4の第1特別図柄表示器41又は第2特別図柄表示器42による特別図柄の変動表示を開始し(ステップS50)、変動時間の計測を開始する(ステップS51)。この変動時間を示す情報は、RAM103に一時的に格納される。なお、ステップS50における特別図柄の変動表示は、ステップS44の処理の後に行われる場合には第2特別図柄表示器42を用いて行われ、ステップS46の処理の後に行われる場合には第1特別図柄表示器41を用いて行われる。
CPU101は、ステップS51の処理によって変動時間の計測を開始した場合、又は特別図柄の変動表示中であると判定した場合(ステップS42:YES)、ステップS51における変動時間の計測開始からステップS48の変動パターン選択処理で設定された変動パターンに対応する変動時間が経過したか否かを判定する(ステップS52)。変動時間が経過していないとCPU101が判定した場合(ステップS52:NO)、特別図柄処理を終了して、図10のステップS5における普通図柄処理へ処理が進められる。
一方、CPU101は、変動時間が経過したと判定した場合(ステップS52:YES)、液晶表示器5による装飾図柄の変動表示の終了を指示する変動停止コマンドをRAM103にセットし(ステップS53)、ステップS50の処理で開始した第1特別図柄表示器41又は第2特別図柄表示器42による特別図柄の変動表示を終了する(ステップS54)。そして、CPU101は、計測した変動時間をリセットする(ステップS55)。なお、ステップS53の処理でセットされた変動停止コマンドは、図10のステップS9における出力処理によって演出制御部130へ送信される。
CPU101は、変動時間をリセットした後、ステップS47の大当たり判定処理の結果に応じてパチンコ遊技機1の遊技状態を変更したり、大当たりと判定した場合に大入賞口制御部116に大入賞口23の開閉制御を開始させるといった停止中処理を実行する(ステップS56)。具体的には、CPU101は、特別図柄抽選の結果が大当たりであるか否か、大当たりである場合にはその大当たりが確率変動を伴うか否か、その大当たりが時間短縮を伴うか否かを判定する。CPU101は、大当たりか否かの判定結果や、大当たりである場合における確率変動又は時間短縮を伴うか否かなどの判定結果に基づいてパチンコ遊技機1の遊技状態を判定する。そして、CPU101は、大当たりであると判定した場合に、演出制御部130に対して大当たりの開始を通知する情報及び大当たりの種類を示す情報を含む大当たり開始コマンドをRAM103にセットする。CPU101によってセットされた大当たり開始コマンドは、図10のステップS9における出力処理で演出制御部130へ送信される。
[演出制御部130による演出制御処理]
以下、図面を参照しつつ、演出制御部130によって行われる演出制御処理について説明する。なお、以下で説明する演出制御部130で行われる処理は、ROM132に記憶されているプログラムに基づいてCPU131が発行する命令に従って行われる。
図13は、演出制御部130の演出制御処理の一例を示すフローチャートである。演出制御部130のCPU131は、図13に示されるように、第1始動口21又は第2始動口22への遊技球の入賞を契機として実行される液晶画面50における装飾図柄を変動表示させる装飾図柄処理をする(ステップS100)。装飾図柄処理を終了すると、CPU131は、第1始動口21又は第2始動口22への遊技球の入賞を契機として実行される大当たり抽選において当選した場合の演出を決定する大当たり演出決定処理をする(ステップS200)。この大当たり演出決定処理では、大当たり遊技中に液晶画面50で再生されるアニメーションを遊技者に選択させるためのゲームが行われ、そのゲームの結果に応じて選択されたアニメーションが液晶画面50で再生される。ちなみに、このゲームに伴う演出は、液晶画面50及びEL画面60の2つの画面を用いて行われる。大当たり演出決定処理の詳細については、図21A及び図21Bに基づいて後に詳述する。
[演出制御部130による装飾図柄処理]
図14は、図13のステップS100における装飾図柄処理の一例を示す詳細フローチャートである。演出制御部130のCPU131は、図14に示されるように、液晶画面50における装飾図柄の変動表示を伴う演出(以下、装飾図柄変動演出と称する)を実行中であるか否かを、例えば、画像音響制御部140から取得した情報に基づいて判定する(ステップS101)。CPU131は、装飾図柄変動演出を実行中ではないと判定した場合(ステップS101:NO)、図12のステップS49の処理でセットされた変動開始コマンドを遊技制御部100から受信したか否かを判定する(ステップS102)。CPU131は、変動開始コマンドを受信していないと判定した場合(ステップS102:NO)、装飾図柄処理を終了して図13のステップS200へ処理を進める。
CPU131は、変動開始コマンドを受信したと判定した場合(ステップS102:YES)、その変動開始コマンドを解析し(ステップS103)、変動開始コマンドに含まれている変動パターンの設定情報(図柄、変動パターン等)に基づいて演出パターンを決定する(ステップS104)。そして、CPU131は、ステップS104で決定した演出パターンに従って、装飾図柄変動演出を開始する(ステップS105)。具体的には、CPU131は、ステップS104の処理で決定した演出パターンで装飾図柄変動演出の開始を指示する変動演出開始コマンドを画像音響制御部140へ送信する。
これに対して、画像音響制御部140のCPU141は、受信した変動演出開始コマンドに応じた装飾図柄変動演出の実行を指示する制御信号をVDP142へ出力する。VDP142の描画エンジン1424は、制御信号によって指示された装飾図柄変動演出を実行するのに必要な素材データを画像用ROM148から読み出してVRAM_RS1425に格納し、その素材データを基にVRAM_FB1426に画像を描画する。そして、VDP142の描画エンジン1424は、描画した画像を出力回路1427を介して液晶表示器5へ出力する。これにより、液晶画面50で装飾図柄変動演出が開始される。また、画像音響制御部140のCPU141は、受信した変動演出開始コマンドに応じた音響データをデータ処理して付図時の増幅器を介してスピーカ35に出力させる指示を示す制御信号を音響DSP143に出力する。これにより、液晶画面50上で行われる表示演出と連動した音による演出が行われる。また、ランプ制御部150のCPU151は、受信した変動演出開始コマンドに応じた動作パターン及び発光パターンをROM152から読み出して、可動役物7、盤ランプ8、及び枠ランプ36を作動させる。これにより、液晶画面50上で行われる表示演出と連動した光及び可動役物7による演出が行われる。
また、変動演出開始コマンドは、ランプ制御部150にも送信され、盤ランプ8、枠ランプ36及び可動役物7の発光や可動役物7の動作をステップS104で決定した演出パターンに従って制御する演出がランプ制御部150によって開始される。
CPU131は、装飾図柄を変動表示させると(ステップS105)、変動表示を開始してからの経過時間を示す変動時間の計測を開始する(ステップS106)。
一方、CPU131は、装飾図柄の変動表示を伴う演出を実行中であると判定した場合(ステップS101:YES)又は変動時間の計測を開始した場合(ステップS106)、ステップS102の処理で受信したと判定した変動開始コマンドに含まれている設定情報に基づいて、今回の特別図柄抽選の結果がリーチ以上であるか否かを判定する(ステップS107)。
CPU131は、今回の特別図柄抽選の結果がリーチ以上であると判定した場合(ステップS107:YES)、ステップS106で計測を開始した変動時間に基づいて、リーチ発展時間が経過したか否かを判定する(ステップS108)。具体的には、CPU131は、ステップS106で計測を開始した変動時間がリーチ発展時間以上となったか否かを判定する。ここで、リーチ発展時間とは、ステップS105で装飾図柄変動演出を開始してから、リーチ演出表示に発展するまでの時間である。また、リーチ演出表示とは、装飾図柄として変動表示されている3つの数字の中で、残りの2桁の数字が停止表示され、いずれか1桁の数字の変動表示が継続されている表示状態である。なお、リーチ発展時間は、ステップS102の処理で受信したと判定した変動開始コマンドに含まれている変動パターンの設定情報に基づいてステップS104でCPU131により演出パターンが決定されることにより設定される。
CPU131は、リーチ発展時間が経過したと判定した場合(ステップS108:YES)、今回の特別図柄抽選の結果に応じて後述するステップS110の処理で開始するリーチ演出表示を開始済みか否かを、例えば、画像音響制御部140から取得した情報に基づいて判定する(ステップS109)。
CPU131は、リーチ演出表示を開始済みでないと判定した場合(ステップS109:NO)、上述したリーチ演出表示を開始する(ステップS110)。具体的には、CPU131は、上述したリーチ演出表示を開始する指示を示すリーチ演出開始コマンドを画像音響制御部140に送信する。
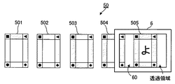
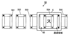
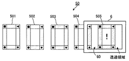
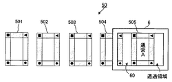
これに対して、画像音響制御部140のCPU141は、上述したリーチ演出表示及び裏返されたカード501〜505の液晶画面50の所定位置への表示を指示する制御信号をVDP142へ出力する。VDP142の描画エンジン1424は、制御信号によって表示するように指示された画像、すなわち、リーチ演出表示に必要な画像及び裏返されたカード501〜505の画像を示す画像データを画像用ROM148から読み出してVRAM_RS1425に格納し、その画像データを基にVRAM_FB1426に画像を描画して出力回路1427を介して液晶表示器5に出力する。これにより、上述したように1つの数字のみが変動表示されるリーチ演出表示と、液晶画面50における所定位置への裏返されたカード501〜505の表示が開始される。図15には、ステップS111の処理が行われて、裏返された5つのカード501〜505を示す画像が液晶画面50における所定位置にそれぞれ表示されている状態が示されている。
CPU131は、液晶画面50にカード501〜505を表示させると、カード501〜505の液晶画面50における表示位置を、例えば画像音響制御部140から取得してRAM133に格納する(ステップS111)。
そして、CPU131は、EL表示器6のEL画面60を所定の移動パターンで移動させる指示を示す移動開始コマンドをランプ制御部150に送信してEL表示器6の移動を開始させる(ステップS112)。
これに対して、ランプ制御部150のCPU151は、所定の移動パターンでEL表示器6のEL画面60が移動するように第1ステッピングモータ29及び第2ステッピングモータ30を制御する。図16には、待機位置から初期位置にEL画面60が配置された状態が示されている。EL画面60の移動パターンは、例えば、図16に破線の矢印で示すように液晶画面50に表示されたカードの上側(遊技盤2の前面側)を順番に通過しながら往復するような移動パターンである。
CPU131は、EL画面60の移動を開始させた場合(ステップS112)又はリーチ演出表示が開始済みであると判断した場合(ステップS109:YES)、液晶画面50に対するEL画面60の位置を示す位置情報を、ランプ制御部150から取得してRAM133に格納する(ステップS113)。EL画面60の位置情報は、例えば、図17に示されるように、EL画面60の中心位置G1を液晶画面50における二次元の座標で示す情報である。そして、EL画面60の位置情報で示される中心位置G1は、例えば、ランプ制御部150のCPU151が、第1ステッピングモータ29及び第2ステッピングモータ30のそれぞれのステップ数に基づいて液晶画面50における二次元の座標として認識する。
位置判定手段として機能するCPU131は、液晶画面50に表示されたカードを遊技者がEL画面60を通して視認できるか否かを、EL画面60の位置情報とカード501〜505のそれぞれの位置情報とに基づいて判定する(ステップS115)。CPU131は、液晶画面50に表示されたカード501〜505を遊技者がEL画面60を通して視認できるか否かを判定するとき図17に示すEL画面60の表示領域及び図18に示すカードの表示領域に基づいて判定する。
以下、図19A及び図19Bを参照しながら、CPU131が、液晶画面50に表示されたカードを遊技者がEL画面60を通して視認できるか否かを判定する処理を説明する。尚、図19A及び図19Bにおける点Oは、液晶画面50を構成する画素の位置を二次元のX−Y座標で示すときの原点である。また、図19A及び図19Bにそれぞれ示すX軸は水平方向12(図1参照)に沿った方向であり、Y軸は垂直方向11(図1参照)に沿った方向である。
CPU131は、液晶画面50に表示されたカードを遊技者がEL画面60を通して視認できるか否かを判定するとき、まず、透過領域を認識する。ここで、透過領域とは、何も表示されていないEL画面60を遊技者が遊技盤2の前方からみたときに通して視認できると考えられる液晶画面50上の領域である。具体的には、演出制御部130のROM132には、ランプ制御部150から取得した中心位置G1を基準として透過領域を図17に示すように四角形として規定するための所定の幅B1と所定の高さV1とが格納されている。CPU131は、透過領域を認識するとき、まず、ステップS113でRAM133に格納したEL画面60の中心位置G1とROM132に格納されている所定の幅B1を参照する。そして、CPU131は、参照した中心位置G1を基準とする幅B1に基づいて、図19Aに示すように、液晶画面50における透過領域の幅を規定するX座標TX1及びTX2を認識する。次に、CPU131は、ステップS113でRAM133に格納したEL画面60の中心位置G1とROM132に格納されている所定の高さV1とを参照する。そして、CPU131は、参照した中心位置G1を基準とする高さV1に基づいて、図19Aに示すように、液晶画面50における透過領域の高さを規定するY座標TY1及びTY2を認識する。CPU131は、TX1、TX2、TY1及びTY2をそれぞれ認識すると、液晶画面50の画素の中で、X座標がTX1からTX2の間に含まれ、Y座標がTY1からTY2の間に含まれる画素からなる領域をEL画面60の透過領域として認識する。
次に、CPU131は、液晶画面50におけるカード501〜505のそれぞれの表示領域を認識する。ここでは、説明の便宜のため、CPU131が、液晶画面50におけるカード501の表示領域を認識する場合を一例として説明する。具体的には、演出制御部130のROM132には、画像音響制御部140から取得した中心位置G2を基準としてカード501の表示領域を図18に示すように四角形として規定するための所定の幅B2と所定の高さV2とが格納されている。CPU131は、カード501の表示領域を認識するとき、まず、ステップS111でRAM133に格納したカード501の表示領域の中心位置G2とROM132に格納されている所定の幅B2を参照する。そして、CPU131は、参照した中心位置G2を基準とする幅B2に基づいて、図19Aに示すように、液晶画面50におけるカード501の表示領域の幅を規定するX座標DX1及びDX2を認識する。次に、CPU131は、ステップS111でRAM133に格納したカード501の表示領域の中心位置G2とROM132に格納されている所定の高さV2とを参照する。そして、CPU131は、参照した中心位置G2を基準とする高さV2に基づいて、図19Aに示すように、液晶画面50におけるカード501の表示領域を規定するY座標DY1及びDY2を認識する。CPU131は、DX1、DX2、DY1及びDY2をそれぞれ認識すると、液晶画面50の画素の中で、X座標がDX1からDX2の間に含まれ、Y座標がDY1からDY2に含まれる画素からなる領域をカード501の表示領域として認識する。CPU131は、カード502〜505の表示領域についても同様に認識する。
CPU131は、透過領域とカード501〜505の表示領域とを認識すると、それぞれの領域に基づいて、液晶画面50に表示されたカード501〜505の少なくとも一部を遊技者がEL画面60を通して視認できるか否かを判定する。具体的には、CPU131は、図19Bに示すように、それぞれ認識した透過領域とカード501〜505の表示領域とを構成する画素の中で、X座標及びY座標がそれぞれ一致する画素からなる領域があるか否かを判定する。そして、CPU131は、X座標及びY座標がそれぞれ一致する画素からなる領域があると判定したとき、液晶画面50に裏返されて表示されたカードを遊技者がEL画面60を通して視認できると判定する。一方、CPU131は、X座標及びY座標がそれぞれ一致する画素からなる領域がないと判定したとき、液晶画面50に裏返されて表示されたカードを遊技者がEL画面60を通して視認できないと判定できる。
CPU131は、液晶画面50に裏返されて表示されたカードが、EL画面60を通して遊技者から視認できると判定すると(ステップS115:YES)、上述した透過領域と表示領域とが重畳する重畳領域を認識する(ステップS116)。具体的には、CPU131は、図19Bに斜線で示すように、X座標及びY座標がそれぞれ一致するとステップS115で判定した画素からなる領域を重畳領域として認識する。
CPU131は、ステップS116の処理に続いて、EL画像の表示を指示するEL表示コマンドに重畳領域を構成する全ての画素のX座標及びY座標を示す重畳領域情報を含めて画像音響制御部140に送信し、EL画像を表示させる(ステップS117)。
これに対して、画像音響制御部140のCPU141は、液晶画面50に表示されているカード501〜505の中で重畳領域に含まれる部分の表面を示す表面画像が、液晶画面50の重畳領域にEL画面60で重畳するように表示する指示を示す制御信号にCPU131から送信された重畳領域情報を含ませてVDP142へ出力する。
これに対して、VDP142は、CPU141から出力される制御信号に含まれる重畳領域情報に基づいて、液晶画面50に表示されたカード501〜505の中で重畳領域に含まれるカードの部分の表面を示す表面画像を、EL画面60上で重畳する位置に表示する。具体的には、VDP142の描画エンジン1424が、CPU141から送信された重畳領域情報で示される全ての画素のX座標及びY座標に基づいて、液晶画面50に表示されているカード501〜505の画像の中で重畳領域に含まれるカードの部分を認識する。そして、描画エンジン1424は、認識したカードの部分の表面画像のデータを画像用ROM148から読み出してVRAM_RS1425に格納する。描画エンジン1424は、VRAM_RS1425に格納した画像データで示される表面画像が、液晶画面50の重畳領域に含まれるカードにEL画面60上で重畳するように表示され、他の部分には何も表示されない画像をEL画像として生成してVRAM_FB1426に描画する。VDP142の描画エンジン1424は、このようにEL画像をVRAM_FB1426に描画するとともに、ステップS110で開始したカード501〜505の表示も継続されるように、裏返されたカード501〜505もVRAM_FB1426に描画する。そして、VRAM_FB1426に描画されたEL画像は出力回路1427を介してEL表示器6に出力され、カード501〜505を示す画像は出力回路1427を介して液晶表示器5に出力される。
従って、図20A〜図20Eにそれぞれ一例として示すように、所定の移動パターンで移動するEL表示器6のEL画面60を通して視認可能なカードの表面が順番に表示される。図20A〜図20Eに示す例は、移動するEL画面60を遊技者に目で追わせることによって、「チャンス!」の文字を読ませ、リーチ演出における期待感を煽って興趣性を高められるEL画像を示している。
一方、CPU131は、視認可能でないと判定した場合(ステップS115:NO)又はEL表示コマンドを送信した場合(ステップS117)に、図11のステップS53の処理でセットされた変動停止コマンドを受信したか否かを判定する(ステップS118)。CPU131は、変動停止コマンドを受信したと判定した場合(ステップS118:YES)、装飾図柄の変動表示を伴う演出を終了する(ステップS119)。具体的には、CPU131は、ステップS105の処理で開始した液晶表示器5による装飾図柄の変動表示を終了して特別図柄抽選の結果を示す停止図柄を液晶表示器5に表示させ、EL表示器6を所定の待機位置で何も表示しない初期状態に初期化する指示を示す変動演出終了コマンドを画像音響制御部140に送信する。
CPU131は、変動演出終了コマンドを送信した場合(ステップS119)、変動停止コマンドを受信していないと判定した場合(ステップS118:NO)又は変動開始コマンドを受信していないと判定した場合(ステップS102)、図14の装飾図柄処理を終了して図13のステップS200へ処理を進める。
[演出制御部130による大当たり演出決定処理]
図21A〜図21Bは、図13のステップS200における大当たり演出決定処理の一例を示す詳細フローチャートである。CPU131は、図21Aに示されるように、大当たり演出を実行中であるか否かを、例えば、画像音響制御部140から取得した情報に基づいて判定する(ステップS201)。CPU131は、大当たり演出を実行中でないと判定した場合(ステップS201:NO)、図10のステップS9の処理によって遊技制御部100から送信される大当たり開始コマンドを受信したか否かを判定する(ステップS202)。大当たり開始コマンドを受信したと判定すると(ステップS202:YES)、CPU131は、裏返されたカード501〜505を液晶画面50における所定位置へ表示させる指示をしめすカード表示コマンドを画像音響制御部140に送信して、カードの表示を開始する(ステップS203)。
これに対して、画像音響制御部140のCPU141は、裏返されたカード501〜505を液晶画面50における所定位置への表示を指示する制御信号をVDP142へ出力する。VDP142の描画エンジン1424は、制御信号によって示される指示に従って裏返されたカード501〜505の画像を示す画像データを画像用ROM148から読み出してVRAM_RS1425に格納する。そして、描画エンジン1424は、VRAM_RS1425に格納した画像データを基にVRAM_FB1426に画像を描画して出力回路1427を介して液晶表示器5に出力する。これにより、液晶画面50における所定位置への裏返されたカード501〜505の表示(図15参照)が開始される。
ステップS203の処理に続いて、CPU131は、上述したステップS111〜ステップS112と同様の処理をして、表示させたカード501〜505の表示位置を取得し(ステップS204)、EL画面60を所定の移動パターンにおける移動を開始させる(ステップS205)。EL画面60の移動を開始すると、CPU131は、大当たり演出の実行中においてEL画面60の移動を開始させてからの経過時間を示す移動時間の計測を開始する(ステップS206)。
一方、CPU131は、大当たり演出を実行中であると判定した場合(ステップS201:YES)、後述するカード選択処理が実行済みであるか否かを判定する(ステップS207)。CPU131は、ステップS207でカード選択処理を実行済みであると判定した場合(ステップS207:YES)、大当たり演出決定処理を終了して図13のステップS100へ処理を戻す。
CPU131は、移動時間の計測を開始した場合(ステップS206)又はカード選択処理が実行済みでないと判定した場合(ステップS207:NO)、図14のステップS113と同様にEL画面60の位置情報を取得してRAM133に格納する(ステップS208)。そして、CPU131は、図14のステップS115〜S117と同様の処理をして、液晶画面50に表示されたカード501〜505がEL画面60を通して遊技者から視認できるか否かを判定し(ステップS209)、視認できると判定した場合(ステップS209:YES)には、重畳領域を認識して(ステップS210)、画像音響制御部140にEL画像を表示させる(ステップS211)。
ここで、大当たり演出決定処理において液晶画面50に裏返されて表示されるカード501〜505は、リーチ演出表示において図20A〜図20Eを参照して説明したようにカードの表面の文字を順番に表示したときに1つの単語を示すようなカードではない。大当たり演出決定処理において液晶画面50に裏返されて表示されるカード501〜505には、図22A〜図22Eを参照して後述で説明するように、同一の演出の名称(例えば、アニメーションのタイトル)が表面に描かれている2枚一組のカード(以下、同一カードと称する)が含まれる。このように、同一カードを少なくとも一組含む5枚の裏返したカード501〜505を液晶画面50に表示することにより、遊技者に神経衰弱ゲームを提供できる。
そして、CPU131が、EL画面60を移動させながら、ステップS209〜ステップS211の処理を繰り返すことにより、後述するように遊技者が2枚のカードを指示するのに先立って、図22A〜図22Eにそれぞれ示すように、神経衰弱ゲームの解答がEL画面60の移動に伴って順番に表示される。
また、CPU131が大当たり演出決定処理において画像音響制御部140に表示させるEL画像は、上述の説明から明らかなように同一カードの表面に同一の演出の名称を示す画像である。さらに、CPU131は、後述するように遊技者によって同一カードが指示されたか否かを判定する。従って、CPU131は、ステップS203において、カード表示コマンドを送信するときに、まずカード501〜505の中に少なくとも1組の同一カードが含まれるように、カード501〜505の表面にそれぞれ示す演出の名称を決定する。そして、CPU131は、決定したカード501〜505の表面にそれぞれ示す演出の名称を識別する情報をRAM133に格納する。CPU131は、ステップS203において、カード501〜505の表面にそれぞれ示す演出を識別する情報を格納した後、カード表示コマンドを送信する。
CPU131は、液晶画面50に表示されたカード501〜505がEL画面60を通して遊技者から視認できないと判定した場合(ステップS209:NO)又はEL画像を表示させた場合(ステップS211)、ステップS206の処理で計測を開始したEL画面60の移動時間が所定の移動許容時間を経過したか否かを判定する(ステップS212)。具体的には、CPU131は、計測している移動時間が移動許容時間以上であるか否かを判定する。CPU131は、計測している移動時間が移動許容時間以上である場合、移動時間が所定の移動許容時間を経過したと判定する。一方、CPU131は、計測している移動時間が移動許容時間以上でない場合、移動時間が所定の移動許容時間を経過していないと判定する。
CPU131は、EL画面60の移動時間が移動許容時間を経過したと判定した場合(ステップS212:YES)、計測している移動時間をゼロにリセットすると共に、EL画面60の所定の待機位置への退避を指示するコマンドをランプ制御部150へ送信して、EL画面60の待機位置への退避を開始させる(ステップS213)。一方、CPU131は、EL画面60の移動時間が移動許容時間を経過していないと判定した場合(ステップS212:NO)、大当たり演出決定処理を終了して図13のステップS100へ処理を戻す。
ステップS213の処理に続いて、CPU131は、後述するカード選択処理で遊技者に対してカードの選択指示を許可する操作時間を計測中であるか否かを判定する(ステップS214)。CPU131は、操作時間を計測中でないと判定した場合(ステップS214:NO)、操作時間の計測を開始し(ステップS215)、ボタンランプ40の点灯を指示するコマンドをランプ制御部150へ送信してボタンランプ40の点灯を開始する(ステップS216)。
CPU131は、ボタンランプ40を点灯させると(ステップS216)、カード選択処理を開始する(ステップS217)。ここで、カード選択処理とは、大当たり演出中において、液晶画面50に表示されているカードの中から裏返すカードを演出キー38の操作により遊技者に選択指示させるための処理である。カード選択処理では、カード501〜505の中から1枚ずつ合計で2枚のカードを遊技者に選択させ、裏返す指示をさせる。遊技者にカードを選択させるとき、CPU131は、ランプ制御部150から取得される周辺キーの操作情報に基づいて、遊技者によって選択されている選択カードをカード501〜505の中から認識する。CPU131は、選択カードを認識すると、認識した選択カードの強調表示を画像音響制御部140に指示する選択カード強調表示コマンドを送信する。
これに対して、選択カード強調表示コマンドを受信した画像音響制御部140が選択カードを強調表示することにより、周辺キーの操作に応じてカードの縁を強調する枠が液晶画面50で左右に移動するように表示される。具体的には、画像音響制御部140のCPU141が、液晶画面50に裏面が表示されているカード501〜505の中から選択カード強調表示コマンドによって指示される選択カードを認識する。CPU141は、認識した選択カードの縁の強調表示を指示する制御信号をVDP142へ出力する。VDP142は、制御信号に基づいて認識した選択候補カードを強調表示する。具体的には、VDP142の描画エンジン1424が、カードの縁を強調する枠を示す選択カード強調画像のデータを画像用ROM148から読み出してVRAM_RS1425に格納する。描画エンジン1424は、遊技者によって選択されている選択候補カードの縁が強調表示されるように、所定の表示位置に表示中のカード501〜505の画像と共に選択カード強調画像をVRAM_FB1426に描画する。VRAM_FB1426に描画された選択カード強調画像は、出力回路1427を介して液晶表示器5に出力される。これにより、遊技者による周辺キーの操作に応じて選択されている選択カードを示す枠が液晶画面50で左右に移動する表示が実現される。
CPU131は、ランプ制御部150から取得される中央キーの操作情報によって中央キーが押下されていることが示されている場合、裏返すカードの指示を受けたと判定する。裏返すカードの指示を受けると、CPU131は、裏返す指示を受けたカードの強調表示を画像音響制御部140に指示する。具体的には、CPU131は、中央キーが押下されたときの選択カードをカード501〜505の中から認識する。中央キーが押下されたときの選択カードは、裏返す指示を受けた指示カードとしてCPU131によって認識される。CPU131は、指示カードを認識すると、認識した指示カードを示す識別子をRAM133に格納する。指示カードの識別子を格納すると、CPU131は、認識した指示カードの強調表示を画像音響制御部140に指示する指示カード強調表示コマンドを送信する。
これに対して、指示カード強調表示コマンドを受信した画像音響制御部140が指示カードを強調表示することにより、遊技者によって裏返すように指示された指示カードの縁を強調する枠が液晶画面50に表示される。指示カードの縁を強調する枠は、選択カードの縁を強調する枠とは異なる枠として液晶画面50に表示される。指示カードを強調する枠は、選択カードを強調する枠を表示する場合と同様に、画像音響制御部140のCPU141からVDP142の描画エンジン1424に出力された制御信号に応じてVRAM_FB1426に描画されることによって、液晶画面50に表示される。
CPU131は、操作時間を計測中であると判定した場合(ステップS214:YES)又はカード選択処理を開始した場合(ステップS217)、RAM133を参照し、指示カードの識別子が2つ格納されているか否かに基づいて、カード選択処理において2枚のカードが指示されたか否かを判定する(ステップS218)。CPU131は、指示カードの識別子が2つ格納されている場合、カード選択処理において2枚のカードが遊技者によって選択されたと判定する。一方、CPU131は、指示カードの識別子が2つ格納されていない場合、カード選択処理において2枚のカードが選択されていないと判定する。
CPU131は、2枚のカードが選択されていないと判定した場合(ステップS218:NO)、ステップS215で計測を開始した操作時間が所定の操作許容時間を経過したか否かを判定する(ステップS219)。具体的には、CPU131は、計測している操作時間が操作許容時間以上であるか否かを判定する。CPU131は、計測している操作時間が操作許容時間以上である場合は、操作時間が操作許容時間を経過したと判定し、計測している操作時間が操作許容時間以上でない場合は、操作時間が操作許容時間を経過していないと判定する。
CPU131は、2枚のカードが選択されたと判定した場合(ステップS218:YES)又は操作時間が操作許容時間を経過したと判定した場合(ステップS219:YES)、選択された2枚のカードが、表面に描かれている演出の名称が同一である同一カードであるか否かを判定する(ステップS220)。具体的には、CPU131は、RAM133に格納されている2つの指示カードの識別子にそれぞれ対応する演出の名称を示す識別子が一致するか否かを判定する。CPU131は、2つの指示カードの演出の名称を示す識別子が一致したとき、裏返す指示を受けた2枚のカードが同一カードであると判定し、2つの指示カードの演出の名称を示す識別子が一致しなかったときは、裏返す指示を受けた2枚のカードが同一カードでないと判定する。
CPU131は、選択された2枚のカードが同一カードであると判定した場合(ステップS220:YES)、指示された2枚の同一カードのいずれかの演出の名称を示す識別子をRAM131を参照することによって認識し、認識した演出を特別演出として開始する指示を画像音響制御部140及びランプ制御部150に与える(ステップS221)。
一方、CPU131は、選択された2枚のカードが同一カードでないと判定した場合(ステップS220:NO)、同一カードでないカードが指示された場合における所定の演出の中からランダムに決定した演出の開始を指示する所定演出開始コマンドを画像音響制御部140及びランプ制御部150に送信する(ステップS222)。
ここで、CPU131によって開始を指示される演出はアニメーションの再生である。従って、CPU131によって演出の開始を指示されると、画像音響制御部140のCPU141は指示された演出に対応するアニメーションの再生を指示する制御信号をVDP142に出力する。画像音響制御部140によって再生されるアニメーションは、例えば、画像用ROM148にMPEG2方式で符号化されたデータとして格納されている。従って、アニメーションの再生を指示する制御信号が出力されると、VDP142の描画エンジン1424は、制御信号で示されるアニメーションのデータを画像用ROM148から読み出してデコーダ1422に復号させる。復号されたアニメーションデータに含まれる映像データは、VRAM_RS1425に格納され、描画エンジン1424によってVRAM_FB1426に描画され、出力回路1427を介して液晶表示器5に出力される。また、復号されたアニメーションデータに含まれる音響データは、音響DSP143に出力され、必要なデータ処理が行われる。データ処理が行われた音響データは、液晶画面50に表示されるアニメーションと同期するように音響DSP143から不図示のスピーカ35に出力される。
CPU131は、ステップS215で計測を開始した操作時間が操作許容時間を経過していないと判定した場合(ステップS219:NO)、同一カードが指示された場合の演出の開始指示をした場合(ステップS221)又は同一カードが指示されていない場合の演出の開始指示をした場合(ステップS222)、大当たり演出決定処理を終了して図13のステップS100へ処理を戻す。
このように、大当たり演出決定処理では、液晶画面50に表示されたカード501〜505の上(遊技盤2の前面側)を所定の移動パターンでEL画面60を移動させながら、EL画面60を通して遊技者に視認可能なカードの表面を示す画像がEL画面60に重畳するように表示させる処理を移動時間が移動許容時間を経過するまで続ける。その後、操作時間が操作許容時間を経過するまでに裏返す2枚のカードを遊技者に指示させて、同一カードが指示されたときには、同一カードの表面に示された名称の演出が行われる。一方、指示された2枚のカードが同一カードでなかった場合には、同一カードが選択されていない場合における名称の演出が行われる。
ここで、例えば、同一カードが選択されなかった場合には実行されない特別な演出の名称を、2枚のカードの表面に表示すれば、同一カードを選択できた遊技者にのみ特別な演出を体験させることができる。さらに、特別な演出は、同一カードを選択できた場合にのみ実行されるので、移動しながら神経衰弱ゲームの解答を表示するEL画面60に確実に遊技者の注意を引いて興趣性を向上させられる。
尚、上述の説明では、操作時間が操作許容時間を経過するまでに2枚のカードが指示されなかった場合、すなわち、カードが1枚も指示されなかった場合或いは1枚だけカードが指示された場合にも、ステップS222において、同一カードが選択されていない場合における名称の演出が行われる。
また、上述の説明では、EL画面60を通して視認できる液晶画面50に表示された全てのカードについて、裏返したカードの表面をEL画像として表示する場合を一例として説明した。しかしながら、例えば、図23A〜図23Eに示すように、液晶画面50に表示されたカード501〜505の中で所定のカードのみについてEL画面60を通して視認できると判定されたときにその表面をEL画像として表示するようにしてもよい。図23A〜図23Eに示す例では、カード501、カード503及びカード505の3枚のカードについてのみ、それらの表面をEL画像として表示する場合を示している。このように、所定のカードの表面をEL画像として表示することにより、遊技者により興味を持たせることができる。例えば、図23A〜図23Eに示すようにEL画像を表示すれば、全てのカードを裏返すと「あたりだよ」と表示されるのかもしれないという遊技者の想像を煽ることができる。
ところで、第1フレームバッファ1426A及び第2フレームバッファ1426Bは、本実施形態においては、いずれも垂直方向11に720ドット、水平方向12に960ドットの画素データを格納可能なメモリ領域を有している(図26A参照)。これに対して、液晶表示器5の液晶画面50に表示される画像(以下「液晶画像」と呼ぶ)は、垂直方向11に600ドット、水平方向12に800ドットの画素データから構成されている(図26A参照)。このため、EL画面60には画像を表示せずに液晶画面50にのみ画像を表示する場合には、何ら問題なく描画処理を行うことができる。しかしながら、EL画面60に表示されるEL画像が垂直方向11に240ドット、水平方向12に320ドットの画素データから構成されており(図26C参照)、液晶画像及びEL画像を並べて描画した場合に垂直方向11又は水平方向12の画素数が第1フレームバッファ1426Aに格納可能な画素データの画素数を超えるため、そのままでは、第1フレームバッファ1426Aに液晶画像及びEL画像を一緒に描画することは不可能である。これは、第2フレームバッファ1426Bに液晶画像及びEL画像を描画する場合についても同様である。そこで、本実施形態に係るVDP142は、第1フレームバッファ1426Aに液晶画像を描画した後にできる空き領域(図26B参照)にEL画像を複数の領域に分割した状態で描画することによって、第1フレームバッファ1426A(又は第2フレームバッファ1426B)に液晶画像及びEL画像を一緒に描画することを可能にしている。以下、このような描画処理を実現するためのパチンコ遊技機1の動作について詳細に説明する。なお、以下の説明では、第1フレームバッファ1426Aを使用して描画処理が行われる場合を例に説明するが、第2フレームバッファ1426Bを使用して描画処理を行う場合にも同様の処理が行われる。
[画像音響制御部140による分割画像サイズ及び分割数の設定]
第1フレームバッファ1426A及び第2フレームバッファ1426Bは、液晶画像が描画された場合に、描画処理に使用されていない空き領域が生じる(図25D参照)。EL画像は、この空き領域に描画されるが、空き領域にそのまま描画できない場合には複数の領域に分割された分割画像として空き領域に描画される。EL画像を分割画像として描画する処理は、予め設定された分割画像サイズSS及び分割数SNに基づいて行われる。
以下、図24〜図26Cを参照しつつ、分割画像サイズSS及び分割数SNを設定する処理について説明する。ここで、図24は、画像音響制御部140によって行われる設定処理の一例を示すフローチャートである。図25A〜図25Dは、液晶画像サイズ、EL画像サイズ、フレームバッファサイズ、及び空き領域のサイズについて説明するための説明図である。図26A〜図26Cは、画像音響制御部140によって行われる設定処理について説明するための説明図である。なお、図24以降のフローチャートに基づいて説明する画像音響制御部140で行われる処理は、制御用ROM144(図8参照)に記憶されているプログラムに基づいてCPU141が発行する命令に従って行われる。
例えばパチンコ遊技機1の電源が投入されたときや、液晶表示器5を用いた1画面表示から液晶表示器5及びEL表示器6を用いた2画面表示に切り換えられるとき等に、分割画像サイズSS及び分割数SNの設定処理を指示する設定指示コマンドが演出制御部130から画像音響制御部140へ送信される。これに対して、画像音響制御部140のCPU141は、設定指示コマンドを受信したか否かを判定する(ステップS201)。設定指示コマンドを受信していないとCPU141が判定した場合(ステップS201:NO)、待機状態となる。
CPU141は、設定指示コマンドを受信したと判定した場合(ステップS301:YES)、液晶画像サイズ、EL画像サイズ、及びフレームバッファ(FB)サイズを取得する(ステップS302)。具体的には、VDP142から第1フレームバッファ1426A及び第2フレームバッファ1426Bのフレームバッファサイズを取得してRAM145に格納すると共に、液晶画面50の画面解像度及びEL画面60の画面解像度を液晶画像サイズ及びEL画像サイズとしてVDP142を介して液晶表示器5及びEL表示器6から取得してRAM145に格納する。ここで、フレームバッファサイズは、図25Aに示されるように、第1フレームバッファ1426A(或いは第2フレームバッファ1426B)に格納可能な画素データの垂直方向11の画素数L1及び水平方向12の画素数C1を示す情報であり、本実施形態では720×960(垂直画素数L1×水平画素数C1)である(図26A参照)。液晶画像サイズは、図25Bに示されるように、液晶画像を構成する画素データの垂直方向11の画素数L2及び水平方向12の画素数C2を示す情報であり、液晶画面50の画面解像度と等しく、本実施形態では600×800(垂直画素数L2×水平画素数C2)である(図26A参照)。EL画像サイズは、図25Cに示されるように、EL画像を構成する画素データの垂直方向11の画素数L3及び水平方向12の画素数C3を示す情報であり、EL画面60の画面解像度と等しく、本実施形態では240×320(垂直画素数L3×水平画素数C3)である(図26C参照)。
次に、CPU141は、取得した液晶画像サイズ、及びフレームバッファサイズに基づいて、第1フレームバッファ1426Aに液晶画像を描画した後に生じる空き領域のサイズを算出する(ステップS303)。具体的には、以下の演算式を用いて、空き領域に描画可能な画素データの最低垂直画素数L4(図25D参照)、及び最低水平画素数C4(図25D参照)を算出する。
最低垂直画素数L4=垂直画素数L1−垂直画素数L2
最低水平画素数C4=水平画素数C1−水平画素数C2
本実施形態では、図26Aに示されるように、垂直画素数L1が「720」であり、垂直画素数L2が「600」であるため、最低垂直画素数L4として「120」が算出され、水平画素数C1が「960」であり、水平画素数C2が「800」であるため、最低水平画素数C4として「160」が算出される(図26B参照)。
続いて、CPU141は、以下の演算式を用いて、EL画像を構成する画素データの総数ST、及び空き領域に描画可能な画素データの総数VTを算出し、総数STが総数VT未満か否かを判定する(ステップS304)。
総数ST=垂直画素数L3×水平画素数C3
総数VT=垂直画素数L4×水平画素数C1+水平画素数C4×(垂直画素数L1−垂直画素数L4)
ここで、垂直画素数L3は、EL画像を構成する画素データの垂直方向11の画素数であり、水平画素数C3は、EL画像を構成する画素データの水平方向12の画素数である。総数ST及び総数VTを算出すると、CPU141は、総数STが総数VTよりも小さいか否かを判定する。総数STが総数VT未満であれば、EL画像をそのまま或いは分割して第1フレームバッファ1426Aに描画することができると判断することができる。一方、総数STが総数VTよりも大きければ、EL画像を分割したとしてもそのままでは第1フレームバッファ1426Aに描画することはできないと判断することができる。
分割判定手段として機能するCPU141は、総数STが総数VT未満であると判定した場合(ステップS304:YES)、EL画像を空き領域に描画するためにEL画像を分割する必要があるか否かを判定する(ステップS305)。具体的には、サブ画像を構成する画素データの垂直画素数L3(図25C参照)が空き領域の最低垂直画素数L4(図25D参照)よりも小さいか、又はEL画像を構成する画素データの水平画素数C3(図25C参照)が空き領域の最低水平画素数C4(図25D参照)よりも小さいかの少なくとも一方の条件を満たしているか否かを判定する。ここで、垂直画素数L3が最低垂直画素数L4よりも小さいか、又は水平画素数C3が最低水平画素数C4よりも小さければ、EL画像を分割することなく空き領域に描画することが可能であると判定することができる。一方、垂直画素数L3が最低垂直画素数L4よりも大きく且つ水平画素数C3が最低水平画素数C4よりも大きい場合、EL画像を空き領域にそのまま描画できないので、EL画像を分割して描画する必要があると判定することができる。このように、CPU141は、空き領域のサイズ及びEL画像サイズに基づいて、EL画像の分割の必要性を判定する。
CPU141は、分割が不要であると判定した場合(ステップS305:NO)、分割数SNを「0」に設定する(ステップS306)。ここで、分割数SNは、空き領域に描画される分割画像の数を示す情報である。言い換えれば、分割数SNは、EL画像を構成する分割画像の数を示す情報である。このステップS306で設定された分割数SNは、設定情報としてRAM145に格納される。この設定情報は、VDP142へ出力される制御信号に含まれて、VDP142へと送られる。後に詳述するが、分割数SNが「0」に設定された場合、空き領域には分割画像が描画されず、EL画像がそのまま描画されることになる。
算出手段として機能するCPU141は、分割が必要であると判定した場合(ステップS305:YES)、空き領域サイズ及びEL画像サイズに基づいて、分割画像サイズSS及び分割数SNを算出する(ステップS307)。ここで、分割画像サイズSSは、EL画像が分割数SNで示される個数の分割画像に分割された場合に、1個の分割画像のサイズ(垂直画素数及び水平画素数)を示す情報である。ステップS307では、以下の演算式を用いて、分割画像サイズSS(分割画像の垂直画素数SSLと分割画像の水平画素数SSC)及び分割数SNを算出する。
分割画像の垂直画素数SSL=最低垂直画素数L4
分割画像の水平画素数SSC=最低水平画素数C4
分割数SN=(垂直画素数L3/最低垂直画素数L4)×(水平画素数C3/最低水平画素数C4)
図26B及び図26Cに示されるように、本実施形態では、最低垂直画素数L4として「120」が算出され、最低水平画素数C4として「160」が算出される。このため、ここでの分割画像サイズSSは、120×160(垂直画素数SSL×水平画素数SSC)となる。また、分割数SNは、(240/120)×(320/160)により「4」が算出される。
CPU141は、分割画像サイズSS及び分割数SNを算出した後、算出した分割画像サイズSS及び分割数SNを設定情報としてRAM145に格納する(ステップS308)。この設定情報は、VDP142へ出力される制御信号に含まれて、VDP142へと送られる。なお、ステップS308の設定処理に代えてステップS306の設定処理が行われた場合には、EL画像を分割する必要がないので分割画像サイズSSは算出されず、設定情報として、分割数SNが「0」であることを示す情報のみがVDP142へ送られる。
ここで、分割画像サイズSS及び分割数SNを変化させた場合の分割画像サイズSSと空き領域サイズとの関係について図26Cに基づいて説明する。垂直画素数L3が「240」であり水平画素数C3が「320」であるEL画像に対して、仮に分割数SNが「0」に設定された場合(ステップS306の処理が行われた場合)、図26B及び図26Cから明らかなように、垂直画素数L3が最低垂直画素数L4を超え且つ水平画素数C3が最低水平画素数C4を超えているので、第1フレームバッファ1426Aの空き領域にEL画像をそのまま描画することはできない。
また、仮に分割数SNが「2」に設定された場合、EL画像を垂直画素数が「240」で水平画素数が「160」である2個の分割画像として空き領域に描画する第1の方法と、EL画像を垂直画素数が「120」で水平画素数が「320」である2個の分割画像として空き領域に描画する第2の方法とが考えられる(図26Cの真ん中の図を参照)。しかしながら、第1の方法でEL画像を描画することを考えた場合、空き領域内の垂直方向11に延びる領域(図26B参照)に2個の分割画像を描画することは可能であるが、空き領域内の水平方向12に延びる領域に分割画像を描画することはできない。なぜなら、分割画像の垂直画素数「240」が、空き領域の最低垂直画素数L4(=120)を超えているからである。また、第2の方法でEL画像を描画することを考えた場合、空き領域内の水平方向12に延びる領域(図26B参照)に2個の分割画像を描画することは可能であるが、空き領域内の垂直方向11に延びる領域に2個の分割画像を描画することはできない。なぜなら、分割画像の水平画素数「320」が、空き領域の最低水平画素数C4(=160)を超えているからである。このように、本実施形態で例示したEL画像を分割画像として空き領域に描画する際に分割数SNを「2」に設定すると、分割画像を描画する位置によっては、分割画像を空き領域に描画できないケースが生じ得る。
これに対して、上述のように分割数SNが「4」に設定された場合、図26B及び図26Cの右側の図から明らかなように、垂直画素数SSLが空き領域の最低垂直画素数L4と同じ「120」に設定され、且つ水平画素数SSCが空き領域の最低水平画素数C4と同じ「160」に設定される。そして、この分割画像サイズSSの分割画像が空き領域に4個描画されることになる。この場合、各分割画像は、空き領域内の垂直方向11に延びる領域と水平方向12に延びる領域とのいずれにも描画可能である。従って、分割数SNが「2」に設定された場合とは異なり、分割画像を描画する位置によって空き領域に分割画像を描画できないケースが生じることはない。このように、分割数SN及び分割画像サイズSSは、分割画像をどのような配列で空き領域に描画したとしても確実に空き領域に収まるように、適切な値に設定される。
一方、上記ステップS304において総数STが総数VTよりも大きいとCPU141が判定した場合(ステップS304:NO)、たとえEL画像を分割したとしても、EL画像を構成する全ての画素データを空き領域に描画することは不可能である。このため、CPU141は、総数STが総数VTよりも大きいと判定した場合(ステップS304:NO)、縮小倍率を算出して(ステップS309)、算出した縮小倍率を設定情報としてRAM145に格納する(ステップS310)。そして、ステップS307,S308へ処理が進められて、分割画像サイズSS及び分割数SNが設定される。
ここで、縮小倍率の設定方法について説明する。例えばステップS309で縮小倍率が「0.5」に設定された場合、垂直画素数L3が「240」であり水平画素数C3が「320」であるEL画像(図26Cの左側の図を参照)が、垂直画素数L3が「120」(=240×0.5)であり水平画素数C3が「160」(=320×0.5)であるEL画像として、ステップS307,S308の処理が行われる。この場合、描画処理に際して、VRAM_RS1425上で垂直方向11及び水平方向12の画素数を1/2にしたEL画像が生成されて、そのEL画像が、分割画像サイズSS及び分割数SNに基づく分割画像として第1フレームバッファ1426Aの空き領域に描画されることになる。そして、これらの分割画像は、垂直方向11及び水平方向12の画素数を2倍にするスケーリング処理(拡大処理)が描画エンジン1424によって行われてからEL表示器6へ出力される。これにより、分割したとしても空き領域に描画できないEL画像を空き領域に描画することが可能になる。従って、空き領域サイズに対して画面解像度が大きい画像表示器を備えるパチンコ遊技機において、従来の描画処理ではその画像表示器に画像を表示することができないという問題を、分割画像サイズSS及び分割数SNに加えて縮小倍率を設定することで解決することができる。
なお、縮小倍率は、例えば縮小後のEL画像の総画素数(=垂直画素数×水平画素数)が、空き領域に描画可能な画素データの総数VT以下(好ましくは総数VTより所定数以上小さい値)となるように設定すればよい。これにより、EL画像を分割画像として空き領域に描画することが可能となる。ただし、縮小倍率を小さくし過ぎると、スケーリング処理の結果としてEL表示器6に表示される画像の画質が低下するおそれがあるので、縮小倍率は、縮小後のEL画像の総画素数が総数VTを超えない範囲で、できるだけ大きな値に設定することが好ましい。
以上説明した図24のフローチャートに基づく設定処理が行われることにより、第1フレームバッファ1426Aへの液晶画像及びEL画像の描画に際してEL画像の縮小が必要か否かを示す情報、縮小が必要な場合には縮小倍率、EL画像の分割が必要か否かを示す情報、分割が必要な場合には分割画像サイズSS及び分割数SN(分割数SN=0の場合は分割数SNのみ)が、設定情報としてRAM145に格納される。後述する描画エンジン1424による2画面表示のための描画処理は、この設定情報に基づいて実行される。
CPU141は、液晶表示器5のみを用いた1画面表示を実行する際には、上記設定処理によってRAM145に格納した設定情報を含まない制御信号をVDP142へ出力する。これにより、VRAM_FB1426に液晶画像のみが描画されて、液晶表示器5のみを用いた1画面表示が行われる。一方、液晶表示器5及びEL表示器6を用いた2画面表示を実行する際には、CPU141は、設定情報を含む制御信号をVDP142へ出力する。これにより、VRAM_FB1426に液晶画像及びEL画像が描画されて、液晶表示器5及びEL表示器6を用いた2画面表示が行われる。このように、CPU141が設定情報を含まない制御信号と設定情報を含む制御信号とを切り換えて出力することにより、VDP142が描画処理を適切に行うことができる。また、上記設定処理が行われることにより、例えばEL表示器6のリユースによってEL画面60の画面解像度、すなわちEL画像サイズが変化した場合でも、第1フレームバッファ1426A又は第2フレームバッファ1426Bの空き領域へのEL画像の描画を適切に行うことができる。
[画像音響制御部140による表示制御処理]
次に、図27及び図28を参照しつつ、画像音響制御部140によって行われる表示制御処理について説明する。ここで、図27は、画像音響制御部140のCPU141によって実行される表示制御処理の一例を示すフローチャートである。図28は、液晶画面50による1画面表示が行われる際のVDP142による描画処理について説明するための説明図である。なお、図27以降のフローチャートに基づいて説明する画像音響制御部140で行われる処理は、制御用ROM144(図8参照)に記憶されているプログラムに基づいてCPU141が発行する命令に従って行われる。
画像音響制御部140のCPU141は、図14のステップS105の処理によって演出制御部130から送信された変動演出開始コマンドを受信したか否かを判定する(ステップS401)。CPU141は、変動演出開始コマンドを受信したと判定すると(ステップS401:YES)、装飾図柄変動演出の開始を指示する制御信号をVDP142へ出力する(ステップS402)。これに対して、描画エンジン1424が、図14のステップS105の説明で述べたように、装飾図柄変動演出を開始する。
CPU141は、変動演出開始コマンドを受信していないと判定した場合(ステップS401:NO)又は装飾図柄変動演出の開始を指示する制御信号を出力した場合(ステップS402)、図14のステップS110の処理によって演出制御部130から送信されたリーチ演出開始コマンドを受信したか否かを判定する(ステップS403)。CPU141は、リーチ演出開始コマンドを受信したと判定すると(ステップS403:YES)、リーチ演出表示及び裏返されたカード501〜505の液晶画面50における所定位置への表示の開始を指示する制御信号をVDP142へ出力する(ステップS404)。
CPU141は、リーチ演出開始コマンドを受信していないと判定した場合(ステップS403:NO)又はリーチ演出表示及び裏返されたカード501を液晶画面50における所定位置への表示の開始を指示する制御信号を出力した場合(ステップS404)、図21AのステップS203の処理によって演出制御部130から送信されたカード表示コマンドを受信したか否かを判定する(ステップS405)。CPU141は、カード表示コマンドを受信したと判定した場合(ステップS405:YES)、裏返されたカード501〜505の液晶画面50の所定位置への表示の開始を指示する制御信号をVDP142へ出力する(ステップS406)。これに対して、描画エンジン1424が、図14のステップS203の説明で述べたように、裏返されたカード501〜505の液晶画面50における所定位置への表示を開始し、図15に一例として示すようなカード501〜505の表示が実現される。
CPU141は、カード表示コマンドを受信していないと判定した場合(ステップS405:NO)又は裏返されたカードの液晶画面50の所定位置への表示の開始を指示する制御信号を出力した場合(ステップS406)、図21BのステップS217の処理によって演出制御部130から送信される選択カード強調表示コマンドを受信したか否かを判定する(ステップS407)。CPU141は、選択カード強調表示コマンドを受信したと判定した場合(ステップS407:YES)、当該選択カード強調表示コマンドによって示される選択カードの縁の強調表示を指示する制御信号をVDP142へ出力する(ステップS408)。これにより、図21BのステップS217の説明で述べたように、遊技者による周辺キーの操作に応じて選択されているカードを示す枠が液晶画面50で左右に移動する表示が実現される。
CPU141は、選択カード強調表示コマンドを受信していないと判定した場合(ステップS407:NO)又は選択カードの縁の強調表示を指示する制御信号を出力した場合(ステップS408)、図21BのステップS217の処理によって演出制御部130から送信される指示カード強調表示コマンドを受信したか否かを判定する(ステップS409)。CPU141は、指示カード強調表示コマンドを受信したと判定した場合(ステップS409:YES)、当該指示カード強調表示コマンドによって示される指示カードの縁の強調表示を指示する制御信号をVDP142へ出力する(ステップS410)。これにより、図21BのステップS217の説明で述べたように、遊技者によって裏返すように指示された指示カードの縁を強調する枠が液晶画面50に表示される。
CPU141は、指示カード強調表示コマンドを受信していないと判定した場合(ステップS409:NO)又は指示カードの縁の強調表示を指示する制御信号をVDP142へ出力した場合(ステップS410)、図14のステップS117の処理又は図21AのステップS211の処理によって演出制御部130から送信されるEL表示コマンドを受信したか否かを判定する(ステップS411)。CPU141は、EL表示コマンドを受信したと判定した場合(ステップS411:YES)、受信したEL表示コマンドに重畳領域情報が含まれているか否かを判定する(ステップS412)。
CPU141は、EL表示コマンドに重畳領域情報が含まれていると判定した場合(ステップS412:YES)、液晶画面50に表示されている裏返されたカード501〜505の中で重畳領域に含まれる部分の表面を示す表面画像を含む画像をEL画像として描画する指示を示す制御信号をVDP142に出力する(ステップS413)。これに対して、VDP142の描画エンジン1424が、図14のステップS117の説明で述べたように、EL画像とカード501〜505を示す画像とをVRAM_FB1426に描画することによって、描画された画像がそれぞれ液晶表示器5及びEL表示器6に出力されて、図20A〜図20E、図22A〜図22E等に一例として示したような2画面表示が実現される。2画面表示の描画処理については、後に図29〜図32を参照しながら詳述する。
一方、CPU141は、EL表示コマンドに重畳領域情報が含まれていないと判定した場合(ステップS412:NO)、液晶画面50に裏返したカード501〜505を描画する指示を示す制御信号をVDP142へ出力する(ステップS414)。これにより、ステップS406の処理で開始されたカード501〜505の液晶画面50への表示が継続される。
CPU141は、EL表示コマンドを受信していないと判定した場合(ステップS411:NO)、表面画像を含む画像をEL画像として描画する指示を示す制御信号を出力した場合(ステップS413)又は裏返したカード501〜505を描画する指示を示す制御信号を出力した場合(ステップS414)、処理をステップS401へ戻す。
上述したように、CPU141のステップS409の処理によって制御信号が出力されると、これに対して、VDP142の描画エンジン1424は、液晶画面50に裏返したカード501〜505を表示する液晶画像をフレームバッファ(第1フレームバッファ1426A又は第2フレームバッファ1426B)に描画する。これと共に、描画エンジン1424は、表示されたカード501〜505の中で重畳領域に含まれる部分の表面画像を液晶画面50の重畳領域にEL画面60上で重畳するように表示するEL画像もフレームバッファに描画する。液晶画像とEL画像とは、1つのフレームバッファに描画され、液晶画像が液晶表示器5へ出力されると共にEL画像がEL表示器6へ出力される。この一連の処理がフレーム毎に繰り返されることによって、液晶画面50とEL画面60とを用いた2画面表示が実現される。
[2画面表示のための描画処理]
1画面表示のためにVDP142によって行われる描画処理は、図28に基づいて上述した通りである。以下、図29〜図32を参照しつつ、2画面表示のためにVDP142によって行われる描画処理について詳細に説明する。ここで、図29は、2画面表示を実現するためにVDP142によって行われる描画処理の一例を示すフローチャートである。図30は、分割数SNが「0」に設定されている場合にVDP142によって行われる描画処理について説明するための説明図である。図31は、分割数SNが「4」に設定されている場合にVDP142によって行われる描画処理について説明するための説明図である。図32は、出力回路1427による分割画像の出力処理について説明するための説明図である。なお、図29以降のフローチャートに基づいて説明するVDP142で行われる描画処理は、制御用ROM144に記憶されているプログラムに基づいてCPU141が生成する制御信号に基づいて行われる。また、以下の説明では、第1フレームバッファ1426A及び第2フレームバッファ1426Bのうち、第1フレームバッファ1426Aを使用して描画処理が行われる場合を例に説明するが、第2フレームバッファ1426Bを使用した描画処理も第1フレームバッファ1426Aを使用した描画処理と同様に行われる。
EL画像の分割に関する設定情報を含む制御信号がCPU141からVDP142に入力されると、描画エンジン1424は、図29に示されるように、液晶画像及びEL画像の描画処理に使用するフレームバッファを選択する(ステップS501)。具体的には、第1フレームバッファ1426A及び第2フレームバッファ1426Bのうち、液晶表示器5とEL表示器6へ画像を出力しているフレームバッファを特定して、画像を出力していない方のフレームバッファを今回のフレームの描画処理に使用するフレームバッファとして選択する。
ステップS501で例えば第1フレームバッファ1426Aを選択した場合、描画エンジン1424は、液晶表示器5に表示される液晶画像を第1フレームバッファ1426Aに描画する(ステップS502)。例えば、装飾図柄、キャラクタ及びカードを示す第1画像と、装飾図柄等の背景を示す背景画像としての第2画像と、文字画像としての第3画像とを画像用ROM148からVRAM_RS1425に読み出して、これらの画像を合成した画像である液晶画像を第1フレームバッファ1426Aに描画する(図30参照)。
続いて、描画エンジン1424は、EL画像を上述したように生成する(ステップS503)。ステップS503の処理を行ってEL画像を生成した後、描画エンジン1424は、CPU141から出力された制御信号にステップS310(図24参照)の処理によって設定された縮小倍率を示す情報が設定情報として含まれているか否かに基づいて、縮小倍率が設定されているか否かを判定する(ステップS504)。描画エンジン1424は、縮小倍率が設定されていると判定した場合(ステップS504:YES)、制御信号から抽出した縮小倍率を示す情報に基づいて、ステップS503の処理で生成したEL画像に対して縮小処理を行う(ステップS505)。例えば縮小倍率が「0.5」に設定されている場合、描画エンジン1424は、垂直画素数L3が例えば「480」で水平画素数C3が「640」のサブ画像から垂直画素数L3が「240」(=480×0.5)で水平画素数C3が「320」(=640×0.5)のEL画像を生成する。その結果、分割したとしても空き領域に描画できなかったEL画像の描画が可能となる。
描画エンジン1424は、ステップS505の処理を行った場合、又は縮小倍率が設定されていないと判定した場合(ステップS504:NO)、CPU141から出力された制御信号に含まれている分割数SNが「0」であるか否かを判定する(ステップS506)。分割数SNが「0」であると判定した場合(ステップS506:YES)、VRAM_RS1425内のEL画像を分割することなく第1フレームバッファ1426Aの空き領域に描画することができるので、EL画像をそのまま空き領域に描画する(ステップS507)。具体的には、ステップS503の処理でVRAM_RS1425に生成したEL画像を第1フレームバッファ1426Aの空き領域にそのまま描画する。ちなみに、図24に示されるように、本実施形態では、ステップS310の処理によって縮小倍率が設定された場合には分割数SNは「0」以外の値に設定されるので、ステップS507以降の処理が行われることはない。
このように、描画エンジン1424は、分割が不要であるとCPU141によって予め判定されている場合には、液晶画像の描画によってできた第1フレームバッファ1426A内の空き領域にEL画像を分割することなく描画する。
図30には、EL画像が分割されることなく第1フレームバッファ1426Aの空き領域に描画される例が示されている。図30に例示されているように、垂直画素数L2が「600」で水平画素数C2が「800」の液晶画像に対して上述した例とは異なり垂直画素数L1が「840」で水平画素数C1が「1120」であるフレームバッファが用意されている場合、そのフレームバッファの空き領域の最低垂直画素数L4は「240」(=840−600)で、最低水平画素数C4は「320」(=1120−800)である。このような空き領域に垂直画素数L3が「240」であり水平画素数C3が「320」であるEL画像を描画する場合、EL画像の垂直画素数L3が最低垂直画素数L4と等しく、且つ水平画素数C3が最低水平画素数L4と等しいので、EL画像の分割は不要である。このような場合に分割数SNが「0」に設定され、描画エンジン1424は、EL画像を分割することなく第1フレームバッファ1426Aの空き領域に描画する。
ステップS507の処理を行った場合、描画エンジン1424は、第2フレームバッファ1426Bに格納されている前のフレームの画像を表示する処理が完了して、ステップS502,S507の処理で第1フレームバッファ1426Aに描画した次のフレームの画像を表示するタイミングになったか否かを判定する(ステップS508)。表示タイミングになっていないと判定した場合(ステップS508:NO)、処理がステップS508へ戻されて待機状態となる。
表示タイミングになったと描画エンジン1424が判定した場合(ステップS508:YES)、出力回路1427は、図30に示されているように、液晶画像を第1フレームバッファ1426Aから読み出して液晶表示器5へ出力すると共に(ステップS509)、EL画像を同じく第1フレームバッファ1426Aから読み出してEL表示器6へ出力する(ステップS510)。
一方、描画エンジン1424は、CPU141から出力された制御信号に設定情報として含まれている分割数SNが「0」ではない(2以上の偶数である)と判定した場合(ステップS506:NO)、EL画像を分割画像として第1フレームバッファ1426Aの空き領域に描画する(ステップS511)。具体的には、ステップS503の処理でVRAM_RS1425に生成したEL画像、又はステップS505の処理で縮小したEL画像を、CPU141から設定情報として出力された分割画像サイズSSの分割数SN個の分割画像に分割して、各分割画像を第1フレームバッファ1426Aの空き領域に描画する。
図31には、分割数SNが「4」であり、垂直画素数L3が「240」で水平画素数C3が「320」であるEL画像が4個の分割画像(図26C参照)に対して分割画像サイズSSが120×160(垂直画素数×水平画素数)に設定されている場合に(図26Cの右側の図を参照)、第1フレームバッファ1426Aに液晶画像を描画した場合に生じた空き領域に対して、EL画像が4個の分割画像として描画される様子が示されている。EL画像の分割が必要であるとCPU141によって予め判定されている場合、描画エンジン1424は、図31に例示されるように、EL画像を複数の領域に分割して得られる分割画像(ここでは4個の分割画像)として第1フレームバッファ1426Aの空き領域に描画する。
このように、描画エンジン1424は、CPU141によって分割が必要であると判定されて分割画像サイズSS及び分割数SNが予め設定されている場合、その設定に基づいてEL画像を分割画像として第1フレームバッファ1426Aの空き領域に描画する。
分割画像を描画した場合、描画エンジン1424は、ステップS508の処理と同様に、ステップS502,S511の処理で第1フレームバッファ1426Aに描画した次のフレームの画像を表示するタイミングになったか否かを判定する(ステップS512)。表示タイミングになっていないと描画エンジン1424が判定した場合(ステップS512:NO)、処理がステップS512へ戻されて待機状態となる。一方、表示タイミングになったと描画エンジン1424が判定した場合(ステップS512:YES)、出力回路1427は、図31に示されるように、液晶画像を第1フレームバッファ1426Aから読み出して液晶表示器5に出力する(ステップS513)。
続いて、描画エンジン1424は、CPU141からの制御信号に縮小倍率を示す情報が含まれているか否か或いはステップS505の処理を行ったか否かに基づいて、縮小倍率が設定されているか否かを判定する(ステップS514)。縮小倍率が設定されていないと描画エンジン1424が判定した場合(ステップS514:NO)、すなわち図24に例示される設定処理でステップS309,S310の処理が行われていない場合、出力回路1427は、分割画像を第1フレームバッファ1426Aから読み出して、EL画像としてEL表示器6に出力する(ステップS515)。
ところで、液晶画像は、液晶画面50を構成する画素(カラー液晶素子52)と同じ配列で第1フレームバッファ1426Aに格納されている。このため、液晶画像を構成する各画素データに関しては、そのままの順番で液晶表示器5に出力すればよい。また、EL画像が縮小や分割されることなく第1フレームバッファ1426Aに描画された場合(図29参照)、このEL画像は、EL画面60を構成する画素と同じ配列で第1フレームバッファ1426Aに格納されている。このため、このEL画像を構成する各画素データに関しては、そのままの順番でEL表示器6に出力すればよい。
これに対して、EL画像が分割画像として第1フレームバッファ1426Aに描画された場合(図31参照)、このEL画像は、EL画面60を構成する画素とは異なる配列で第1フレームバッファ1426Aに格納されている。そこで、EL画像がEL画面60に正しく表示されるように、出力回路1427は、EL画像を構成する各画素データが本来出力されるべき所定の順序で出力されるように、分割画像を構成する各画素データを読み出す。例えば図31に例示された配列で4個の分割画像が第1フレームバッファ1426Aに格納されている場合、出力回路1427は、図32に示されるように、EL画像の左上方の領域と同じ表示内容を示す第1分割画像に対して、水平方向12に1ライン分の画素データを読み出して出力する処理と、EL画像の右上方の領域と同じ表示内容を示す第2分割画像に対して、水平方向12に1ライン分の画素データを読み出して出力する処理とを交互に繰り返す。これにより、EL画像の上半分に対応する画素データが出力されたことになる。続いて、EL画像の左下方の領域と同じ表示内容を示す第3分割画像に対して、水平方向12に1ライン分の画素データを読み出して出力する処理と、EL画像の右下方の領域と同じ表示内容を示す第4分割画像に対して、水平方向12に1ライン分の画素データを読み出して出力する処理とを交互に繰り返す。これにより、分割画像の下半分に対応する画素データが出力されたことになる。
このように、出力回路1427は、EL画像が分割画像として描画された場合であってもそのEL画像が正しくEL画面60に表示されるように分割画像の読み出しを行う。
一方、描画エンジン1424は、縮小倍率が設定されていると判定した場合(ステップS514:YES)、分割画像を拡大してから、EL画像としてEL表示器6に出力する(ステップS516)。具体的には、縮小倍率の逆数を拡大倍率として第1フレームバッファ1426A内の各分割画像に対して拡大処理を行い、拡大処理された分割画像を出力回路1427に出力させる。その結果、EL画面60の画面解像度と同じ画素数のEL画像が出力される。例えば縮小倍率が「0.5」に設定されている場合、描画エンジン1424は、拡大倍率2倍(=1/0.5)に設定する。そして、第1フレームバッファ1426Aに格納されている各分割画像をVRAM_RS上で2倍に拡大して、拡大処理した各分割画像を、EL画像として出力回路1427に出力させる。
ステップS510の処理、ステップS515の処理、又はステップS516の処理が行われた後、処理がステップS501へ戻されて次のフレームに対してステップS401以降の処理が行われる。
[本実施形態の作用効果]
以上説明したように、本実施形態によれば、液晶画面50に裏返されて表示されているカード501〜505の表面を示す画像が、移動するEL画面60に重畳するように表示される。このため、移動するEL表示器6を遊技者に目で追わせることのできる興趣性が高い効果的な表示演出を行うことができ、興趣性の低下を効果的に防止することができる。
また、本実施形態によれば、EL画像が第1フレームバッファ1426A又は第2フレームバッファ1426Bの空き領域に収まるように分割された状態で描画される。このため、必要以上に容量が大きいフレームバッファを設けることなく、液晶画面50に表示される液晶画像、及びEL画面60に表示されるEL画像を1個の描画手段(本実施形態では描画エンジン1424)によって1個のフレームバッファ(第1フレームバッファ1426A又は第2フレームバッファ1426B)に描画することができる。従って、液晶表示器5及びEL表示器6を備えることによる製造コストの上昇を最低限に抑えることができる。
また、特別図柄等を表示する液晶表示器5とは別の画像表示器(例えばEL表示器6)を追加した遊技機を製造する場合、EL表示器6の画面解像度(=EL画像の垂直画素数×水平画素数)は、どのような画面解像度のEL表示器6が追加されるかによって大きく異なる。本実施形態によれば、EL画像が第1フレームバッファ1426A又は第2フレームバッファ1426Bの空き領域に収まるように分割画像サイズSS及び分割数SNが算出されて、その算出結果に基づいてEL画像が分割画像として描画される。このため、液晶画面50又はEL画面60の画面解像度が変化したとしても、第1フレームバッファ1426A又は第2フレームバッファ1426Bへの描画処理を適切に行うことができる。
また、本実施形態によれば、液晶画像を描画した後の第1フレームバッファ1426A(又は第2フレームバッファ1426B)の空き領域にEL画像を分割しなければ描画できない場合にのみEL画像が分割画像として描画され(図31参照)、分割が不要な場合にはEL画像が空き領域にそのまま描画される(図30参照)。このため、第1フレームバッファ1426A又は第2フレームバッファ1426Bの空き領域に対するEL画像のサイズに応じた適切な描画処理を行うことができる。
また、図には示されていないが、パチンコ遊技機1における遊技に関する情報として、遊技球が第1始動口21、第2始動口22、大入賞口23等に入賞した場合に払い出される賞球の数や遊技状態に関する情報等を特別情報としてEL画面60に表示してもよい。
[駆動機構10の変形例]
図33A及び図33Bは、駆動機構10の変形例について説明するための図である。上記実施形態においては、昇降駆動機構200及びスライド駆動機構220からなる駆動機構10によってEL表示器6が移動する場合について説明したが、EL表示器6は、他の駆動機構によって移動するものであってもよい。例えば、図33Aに例示されるように、基台601に対して軸605を介して回動可能に連結されたアーム602と、アーム602に対して軸606を介して回動可能に連結されたアーム603と、アーム603に対して軸607を介して回動可能に連結されると共にEL表示器6が固定されたアーム604とを備える駆動機構を用いてもよい。
また、図33Bに例示されるように、アーム701の先端に固定された透明ELディスプレイ700が軸702を中心に回動することによって透明ELディスプレイ700が移動する駆動機構を用いてもよい。この場合、駆動機構10に比べて駆動機構の構成が簡素であるため、パチンコ遊技機1の製造コストをさらに低減させることができる。
[その他の変形例]
なお、上記実施形態では、CPU141が分割画像サイズSS及び分割数SNを算出する算出手段として機能する場合について説明したが、パチンコ遊技機1は、必ずしも算出手段を備えている必要はない。例えば、分割画像サイズSS及び分割数SNは、設定処理によって算出される代わりに例えば予め制御用ROM144に記憶されていてもよい。
また、上記実施形態では、パチンコ遊技機1がEL画像の分割が必要か否かを判定する分割判定手段(上記実施形態ではCPU141)を備えている場合について説明したが、例えば分割が必要であることが明らかである場合等には、分割が必要か否かの判定処理を行うことなくEL画像を分割画像として描画するようにしてもよい。すなわち、本発明の遊技機は、必ずしも分割判定手段を備えている必要はない。
また、上記実施形態では、1個の描画エンジン1424が液晶画像及びEL画像の両方の描画処理を行う場合について説明したが、液晶画像の描画処理を行う描画エンジンとは別の描画エンジンによってEL画像の描画処理を行うようにしてもよい。
また、上記実施形態では、EL画面60の移動パターンが、液晶画面50に表示されたカード501〜505の上側(遊技盤2の前面側)を順番に通過しながら往復するような移動パターンである場合を一例として説明した。しかしながら、液晶画面50に表示された表示オブジェクトの異なる態様をEL画面60上で重畳するように表示できるのであれば、EL画面60の移動パターンは、他の任意の移動パターンであってもよい。
また、上記実施形態では、液晶画面50に表示するカード501〜505の表示領域が四角形である場合を一例として説明した。しかしながら、液晶画面50に表示する表示オブジェクトの表示領域は、四角形に限られず、任意の表示オブジェクトの外形を示す領域など、他の任意の領域であってよい。
また、上記実施形態では、EL画面60の透過領域が四角形である場合を一例として説明した。しかしながら、透過領域は四角形に限られず、EL画面が他の任意の形状である場合にはその形状にしたがった形状であってもよいし、EL画面の一部に形成される任意の形状の領域としてもよい。
また、上記実施形態では、EL画面60を移動させるときに自動的に所定の移動パターンで移動させるものとした。しかしながら、他の実施形態では、EL画面60を移動させるときに、例えば、演出キー38の周辺キーの遊技者による操作に応じてEL画面60を移動させるようにしてもよい。具体的には、EL画面60を移動させるときにおいて、演出制御部130は、演出キー38から入力された操作情報を含む移動指示コマンドをランプ制御部150へ送信する。これに対して、ランプ制御部150のCPU151は、受信した移動指示コマンドに含まれる操作情報に基づいて、第1ステッピングモータ29及び第2ステッピングモータ30の駆動を制御する。ここで、第1ステッピングモータ29は、その回転軸が昇降駆動機構200のギヤ212(図4及び図5参照)と噛合するように配置されており、第1ステッピングモータ29の駆動力がギヤ212に入力されることによって、EL表示器6が垂直方向11へ移動する。一方、第2ステッピングモータ30は、その回転軸がスライド駆動機構220のギヤ232(図4及び図5参照)と噛合するように配置されており、第2ステッピングモータ30の駆動力がギヤ232に入力されることによって、EL表示器6が水平方向12へ移動する。このような実施形態においては、第1ステッピングモータ29、第2ステッピングモータ30、昇降駆動機構200、スライド駆動機構220が、EL表示器6を移動させる駆動手段として機能し、CPU151が移動手段として機能する。
このように、CPU151を移動手段として機能させることにより、遊技者の操作に応じてEL表示器6を移動させて裏返した表面の図柄を表示させるカードを選択させることができ、興趣性をより高めることができる。
また、上記実施形態では、液晶画面50に表示オブジェクトとして表示されているカードを裏返した態様、すなわち、カードの表面をEL画面60上で重畳する位置に表示するものとして説明をした。しかしながら、他の実施形態では、EL画面60上で重畳させて表示するのは裏返した態様に限られず、他の任意の異なる態様を表示してもよいし、異なる態様を表示するのは液晶画面50に表示されたカードに限られず、任意の表示オブジェクトであってもよい。
また、上記実施形態では、リーチ演出中及び大当たり演出中においてEL画面60を用いて液晶画面50に表示された裏返されたカードの表面を表示する表示演出をするものとした。しかしながら、他の実施形態では、EL画面60を用いて液晶画面50に表示された裏返されたカードの表面を表示する表示演出を他のタイミングで行ってもよい。このような表示演出をする他のタイミングについて説明すると、例えば、上述したように大入賞口23の開状態を維持するラウンドの回数が特別図柄抽選の当たりの種類に応じて予め設定されている場合がある。具体的には、少なくとも2種類の特別図柄抽選の当たりの種類に応じて7ラウンド及び15ラウンドのラウンド回数が予め設定されている場合がある。この場合において、例えば、特別図柄抽選の結果が15ラウンドの当たりであったとしても、はじめは7ラウンドの大当たりに対応する大当たり演出をし、8ラウンド目を迎えるときに、15ラウンドの大当たりの演出に切り換えるときに行われる、いわゆる昇格演出をする場合がある。そして、この昇格演出中に上記実施形態で説明したようにEL画面60を用いた表示演出をしてもよい。
1 パチンコ遊技機
2 遊技盤
5 液晶表示器(本発明の第1画像表示器の一例)
6 EL表示器(本発明の第2画像表示器の一例)
10 駆動機構
29 第1ステッピングモータ
30 第2ステッピングモータ
38 演出キー
50 液晶画面(本発明の第1表示画面の一例)
60 EL画面(本発明の第2表示画面の一例)
130 演出制御部
131 CPU
140 画像音響制御部
141 CPU
142 VDP
150 ランプ制御部
151 CPU
1424 描画エンジン
1425 VRAM_RS
1426 VRAM_FB
1426A 第1フレームバッファ
1426B 第2フレームバッファ
1427 出力回路

Claims (4)

  1. 第1表示画面を有する第1画像表示器と、
    前記第1表示画面の前面側に配置され、駆動手段からの駆動力を受けて当該第1表示画面に対して移動可能な透過型の第2表示画面を有する第2画像表示器と、
    前記第1表示画面上に表示された第1表示オブジェクトの少なくとも一部を前記第2表示画面を通して視認可能な位置に当該第2表示画面が位置するか否かを判定する位置判定手段と、
    前記位置判定手段によって前記視認可能な位置に前記第2表示画面が位置すると判定された場合に、前記第1表示オブジェクトの少なくとも一部の異なる態様を示す第2表示オブジェクトを、前記第2表示画面上で当該第1表示オブジェクトの少なくとも一部と重畳する位置に表示させる表示制御手段とを備える、遊技機。
  2. 前記表示制御手段は、
    前記第1表示オブジェクトを含む主画像をフレームバッファに描画すると共に、前記第2表示オブジェクトを含む副画像を複数の領域に分割して得られる分割画像として前記フレームバッファの空き領域に描画する描画手段と、
    前記主画像を前記フレームバッファから読み出して前記第1画像表示器に出力すると共に、前記分割画像を当該フレームバッファから読み出して前記副画像として前記第2画像表示器に出力する出力手段とを含む、請求項1に記載の遊技機。
  3. 前記空き領域のサイズ及び前記副画像のサイズに基づいて、前記分割画像のサイズ、及び前記副画像を構成する前記分割画像の数を示す分割数を算出する算出手段を備え、
    前記描画手段は、前記算出手段によって算出された分割画像のサイズ及び分割数の画像を前記分割画像として前記空き領域に描画する、請求項2に記載の遊技機。
  4. 前記空き領域のサイズ及び前記副画像のサイズに基づいて、前記副画像を前記空き領域に描画するために分割が必要か否かを判定する分割判定手段を備え、
    前記描画手段は、前記分割判定手段によって分割が必要と判定された場合に前記副画像を前記分割画像として前記空き領域に描画し、前記分割判定手段によって分割が不要と判定された場合には前記副画像を分割することなく前記空き領域に描画し、
    前記出力手段は、前記第2画像表示器に対して、前記分割画像を前記フレームバッファから読み出して前記副画像として出力する処理、又は前記副画像を前記フレームバッファから読み出して出力する処理を行う、請求項2に記載の遊技機。
JP2010196841A 2010-09-02 2010-09-02 遊技機 Pending JP2012050737A (ja)

Priority Applications (1)

Application Number Priority Date Filing Date Title
JP2010196841A JP2012050737A (ja) 2010-09-02 2010-09-02 遊技機

Applications Claiming Priority (1)

Application Number Priority Date Filing Date Title
JP2010196841A JP2012050737A (ja) 2010-09-02 2010-09-02 遊技機

Publications (1)

Publication Number Publication Date
JP2012050737A true JP2012050737A (ja) 2012-03-15

Family

ID=45904800

Family Applications (1)

Application Number Title Priority Date Filing Date
JP2010196841A Pending JP2012050737A (ja) 2010-09-02 2010-09-02 遊技機

Country Status (1)

Country Link
JP (1) JP2012050737A (ja)

Cited By (7)

* Cited by examiner, † Cited by third party
Publication number Priority date Publication date Assignee Title
JP2013212285A (ja) * 2012-04-02 2013-10-17 Kyoraku Sangyo Kk 遊技機
JP2013212284A (ja) * 2012-04-02 2013-10-17 Kyoraku Sangyo Kk 遊技機
JP2015186674A (ja) * 2015-07-27 2015-10-29 京楽産業.株式会社 遊技機
JP2015186675A (ja) * 2015-07-27 2015-10-29 京楽産業.株式会社 遊技機
JP2016077737A (ja) * 2014-10-21 2016-05-16 株式会社カプコン 遊技機
JP2016104152A (ja) * 2015-12-14 2016-06-09 株式会社ソフイア 遊技機
JP2016189950A (ja) * 2015-03-31 2016-11-10 株式会社平和 遊技機

Citations (7)

* Cited by examiner, † Cited by third party
Publication number Priority date Publication date Assignee Title
JPH05127663A (ja) * 1991-11-01 1993-05-25 Mitsubishi Electric Corp 表示方法
JP2003236173A (ja) * 2002-02-21 2003-08-26 Shinnichi Electronics Kk パチンコ機のオペレーティングシステム
JP2005087542A (ja) * 2003-09-18 2005-04-07 Daiman:Kk 遊技機
JP2005312515A (ja) * 2004-04-27 2005-11-10 Takao:Kk 弾球遊技機
JP2008289786A (ja) * 2007-05-28 2008-12-04 Seiko Epson Corp 画像表示装置、遊技機、画像表示方法、画像表示プログラム、および記録媒体
JP2009261813A (ja) * 2008-04-30 2009-11-12 Kyoraku Sangyo Kk 遊技機
JP2010012069A (ja) * 2008-07-04 2010-01-21 Seiko Epson Corp 画像表示装置及び遊技機

Patent Citations (7)

* Cited by examiner, † Cited by third party
Publication number Priority date Publication date Assignee Title
JPH05127663A (ja) * 1991-11-01 1993-05-25 Mitsubishi Electric Corp 表示方法
JP2003236173A (ja) * 2002-02-21 2003-08-26 Shinnichi Electronics Kk パチンコ機のオペレーティングシステム
JP2005087542A (ja) * 2003-09-18 2005-04-07 Daiman:Kk 遊技機
JP2005312515A (ja) * 2004-04-27 2005-11-10 Takao:Kk 弾球遊技機
JP2008289786A (ja) * 2007-05-28 2008-12-04 Seiko Epson Corp 画像表示装置、遊技機、画像表示方法、画像表示プログラム、および記録媒体
JP2009261813A (ja) * 2008-04-30 2009-11-12 Kyoraku Sangyo Kk 遊技機
JP2010012069A (ja) * 2008-07-04 2010-01-21 Seiko Epson Corp 画像表示装置及び遊技機

Cited By (7)

* Cited by examiner, † Cited by third party
Publication number Priority date Publication date Assignee Title
JP2013212285A (ja) * 2012-04-02 2013-10-17 Kyoraku Sangyo Kk 遊技機
JP2013212284A (ja) * 2012-04-02 2013-10-17 Kyoraku Sangyo Kk 遊技機
JP2016077737A (ja) * 2014-10-21 2016-05-16 株式会社カプコン 遊技機
JP2016189950A (ja) * 2015-03-31 2016-11-10 株式会社平和 遊技機
JP2015186674A (ja) * 2015-07-27 2015-10-29 京楽産業.株式会社 遊技機
JP2015186675A (ja) * 2015-07-27 2015-10-29 京楽産業.株式会社 遊技機
JP2016104152A (ja) * 2015-12-14 2016-06-09 株式会社ソフイア 遊技機

Similar Documents

Publication Publication Date Title
JP5860206B2 (ja) 遊技機
JP5686462B2 (ja) 遊技機
JP5649344B2 (ja) 遊技機
JP5649346B2 (ja) 遊技機
JP5497518B2 (ja) 遊技機
JP5580111B2 (ja) 遊技機
JP2012019948A (ja) 遊技機
JP5939732B2 (ja) 遊技機
JP5544207B2 (ja) 遊技機
JP2012019939A (ja) 遊技機
JP5649414B2 (ja) 遊技機
JP2012050786A (ja) 遊技機
JP2012050737A (ja) 遊技機
JP5520396B1 (ja) 遊技機
JP5450253B2 (ja) 遊技機
JP2012085798A (ja) 遊技機
JP5887050B2 (ja) 遊技機
JP2012019938A (ja) 遊技機
JP5544208B2 (ja) 遊技機
JP2012024302A (ja) 遊技機
JP5759112B2 (ja) 遊技機
JP5455779B2 (ja) パチンコ遊技機
JP2005329158A (ja) 遊技機
JP5717384B2 (ja) 遊技機
JP5912233B2 (ja) 遊技機

Legal Events

Date Code Title Description
A621 Written request for application examination

Free format text: JAPANESE INTERMEDIATE CODE: A621

Effective date: 20130718

A131 Notification of reasons for refusal

Free format text: JAPANESE INTERMEDIATE CODE: A131

Effective date: 20140228

A977 Report on retrieval

Free format text: JAPANESE INTERMEDIATE CODE: A971007

Effective date: 20140306

A521 Written amendment

Free format text: JAPANESE INTERMEDIATE CODE: A523

Effective date: 20140415

A02 Decision of refusal

Free format text: JAPANESE INTERMEDIATE CODE: A02

Effective date: 20140623