JP2011221663A - 携帯情報表示端末 - Google Patents

携帯情報表示端末 Download PDF

Info

Publication number
JP2011221663A
JP2011221663A JP2010088053A JP2010088053A JP2011221663A JP 2011221663 A JP2011221663 A JP 2011221663A JP 2010088053 A JP2010088053 A JP 2010088053A JP 2010088053 A JP2010088053 A JP 2010088053A JP 2011221663 A JP2011221663 A JP 2011221663A
Authority
JP
Japan
Prior art keywords
state
display terminal
information display
portable information
inclination
Prior art date
Legal status (The legal status is an assumption and is not a legal conclusion. Google has not performed a legal analysis and makes no representation as to the accuracy of the status listed.)
Pending
Application number
JP2010088053A
Other languages
English (en)
Inventor
Yasuo Masaki
康生 政木
Makoto Kono
誠 河野
Current Assignee (The listed assignees may be inaccurate. Google has not performed a legal analysis and makes no representation or warranty as to the accuracy of the list.)
Funai Electric Co Ltd
Original Assignee
Funai Electric Co Ltd
Priority date (The priority date is an assumption and is not a legal conclusion. Google has not performed a legal analysis and makes no representation as to the accuracy of the date listed.)
Filing date
Publication date
Application filed by Funai Electric Co Ltd filed Critical Funai Electric Co Ltd
Priority to JP2010088053A priority Critical patent/JP2011221663A/ja
Priority to US13/639,712 priority patent/US20130027375A1/en
Priority to PCT/JP2011/058572 priority patent/WO2011125995A1/ja
Priority to KR1020127027135A priority patent/KR20130038843A/ko
Priority to EP11765895A priority patent/EP2557478A1/en
Publication of JP2011221663A publication Critical patent/JP2011221663A/ja
Pending legal-status Critical Current

Links

Images

Classifications

    • GPHYSICS
    • G06COMPUTING OR CALCULATING; COUNTING
    • G06FELECTRIC DIGITAL DATA PROCESSING
    • G06F1/00Details not covered by groups G06F3/00 - G06F13/00 and G06F21/00
    • G06F1/26Power supply means, e.g. regulation thereof
    • GPHYSICS
    • G06COMPUTING OR CALCULATING; COUNTING
    • G06FELECTRIC DIGITAL DATA PROCESSING
    • G06F1/00Details not covered by groups G06F3/00 - G06F13/00 and G06F21/00
    • G06F1/26Power supply means, e.g. regulation thereof
    • G06F1/32Means for saving power
    • G06F1/3203Power management, i.e. event-based initiation of a power-saving mode
    • G06F1/3206Monitoring of events, devices or parameters that trigger a change in power modality
    • GPHYSICS
    • G06COMPUTING OR CALCULATING; COUNTING
    • G06FELECTRIC DIGITAL DATA PROCESSING
    • G06F1/00Details not covered by groups G06F3/00 - G06F13/00 and G06F21/00
    • G06F1/16Constructional details or arrangements
    • G06F1/1613Constructional details or arrangements for portable computers
    • G06F1/1626Constructional details or arrangements for portable computers with a single-body enclosure integrating a flat display, e.g. Personal Digital Assistants [PDAs]
    • GPHYSICS
    • G09EDUCATION; CRYPTOGRAPHY; DISPLAY; ADVERTISING; SEALS
    • G09FDISPLAYING; ADVERTISING; SIGNS; LABELS OR NAME-PLATES; SEALS
    • G09F9/00Indicating arrangements for variable information in which the information is built-up on a support by selection or combination of individual elements
    • HELECTRICITY
    • H04ELECTRIC COMMUNICATION TECHNIQUE
    • H04BTRANSMISSION
    • H04B1/00Details of transmission systems, not covered by a single one of groups H04B3/00 - H04B13/00; Details of transmission systems not characterised by the medium used for transmission
    • H04B1/38Transceivers, i.e. devices in which transmitter and receiver form a structural unit and in which at least one part is used for functions of transmitting and receiving
    • H04B1/40Circuits
    • HELECTRICITY
    • H04ELECTRIC COMMUNICATION TECHNIQUE
    • H04NPICTORIAL COMMUNICATION, e.g. TELEVISION
    • H04N21/00Selective content distribution, e.g. interactive television or video on demand [VOD]
    • H04N21/40Client devices specifically adapted for the reception of or interaction with content, e.g. set-top-box [STB]; Operations thereof
    • H04N21/41Structure of client; Structure of client peripherals
    • H04N21/414Specialised client platforms, e.g. receiver in car or embedded in a mobile appliance
    • H04N21/41407Specialised client platforms, e.g. receiver in car or embedded in a mobile appliance embedded in a portable device, e.g. video client on a mobile phone, PDA, laptop
    • HELECTRICITY
    • H04ELECTRIC COMMUNICATION TECHNIQUE
    • H04NPICTORIAL COMMUNICATION, e.g. TELEVISION
    • H04N21/00Selective content distribution, e.g. interactive television or video on demand [VOD]
    • H04N21/40Client devices specifically adapted for the reception of or interaction with content, e.g. set-top-box [STB]; Operations thereof
    • H04N21/41Structure of client; Structure of client peripherals
    • H04N21/422Input-only peripherals, i.e. input devices connected to specially adapted client devices, e.g. global positioning system [GPS]
    • H04N21/42202Input-only peripherals, i.e. input devices connected to specially adapted client devices, e.g. global positioning system [GPS] environmental sensors, e.g. for detecting temperature, luminosity, pressure, earthquakes
    • HELECTRICITY
    • H04ELECTRIC COMMUNICATION TECHNIQUE
    • H04NPICTORIAL COMMUNICATION, e.g. TELEVISION
    • H04N21/00Selective content distribution, e.g. interactive television or video on demand [VOD]
    • H04N21/40Client devices specifically adapted for the reception of or interaction with content, e.g. set-top-box [STB]; Operations thereof
    • H04N21/43Processing of content or additional data, e.g. demultiplexing additional data from a digital video stream; Elementary client operations, e.g. monitoring of home network or synchronising decoder's clock; Client middleware
    • H04N21/443OS processes, e.g. booting an STB, implementing a Java virtual machine in an STB or power management in an STB
    • H04N21/4436Power management, e.g. shutting down unused components of the receiver

Landscapes

  • Engineering & Computer Science (AREA)
  • Theoretical Computer Science (AREA)
  • General Engineering & Computer Science (AREA)
  • Signal Processing (AREA)
  • Multimedia (AREA)
  • Physics & Mathematics (AREA)
  • General Physics & Mathematics (AREA)
  • Biodiversity & Conservation Biology (AREA)
  • Environmental Sciences (AREA)
  • Human Computer Interaction (AREA)
  • Business, Economics & Management (AREA)
  • Life Sciences & Earth Sciences (AREA)
  • Computer Hardware Design (AREA)
  • Ecology (AREA)
  • Emergency Management (AREA)
  • Environmental & Geological Engineering (AREA)
  • Software Systems (AREA)
  • Remote Sensing (AREA)
  • Computer Networks & Wireless Communication (AREA)
  • Controls And Circuits For Display Device (AREA)
  • User Interface Of Digital Computer (AREA)
  • Telephone Function (AREA)
  • Power Sources (AREA)
  • Devices For Indicating Variable Information By Combining Individual Elements (AREA)

Abstract

【課題】筐体の状態に応じてスタンバイモードに自動的に移行させる制御を行う場合に、所定の状態以外の状態でスタンバイモードに移行してしまうのを抑制することが可能な携帯情報表示端末を提供する。
【解決手段】この携帯情報表示端末1は、フレーム20の傾きを検出することにより、第1の状態(フレーム20を載置面100に寝かせて使用する状態(寝かせた状態)およびフレーム20を載置面100に立てて使用する状態(立てた状態))になったことと、第2の状態(フレーム20が載置面100に対向するように伏せられた不使用状態)になったこととを検出する傾きセンサ53と、傾きセンサ53により不使用状態であることが検出された場合に、不使用状態であると判別して特定するとともに、スタンバイモードに移行する制御を行う制御部51とを備えている。
【選択図】図13

Description

この発明は、携帯情報表示端末に関し、特に、筐体を備える携帯情報表示端末に関する。
従来、筐体を備える携帯情報表示端末が知られている(たとえば、特許文献1参照)。
上記特許文献1には、表示部が設けられるパネル枠(筐体)と、パネル枠が載置面に立った状態でパネル枠を支持可能な支持体とを備える表示装置(携帯情報表示端末)が開示されている。パネル枠の表示部が設けられている側の面には、開口部が形成されており、開口部の内部に照度センサが設けられている。上記特許文献1では、照度センサが光を検知しない場合に、表示部に表示されている表示がオフにされるように構成されている。これにより、表示部が載置面に対向するようにパネル枠が伏せられた場合には、照度センサが光を検知しなくなることにより、自動的に表示部の表示がオフ(スタンバイモード)になる。
特開2009−139772号公報
しかしながら、上記特許文献1による表示装置(携帯情報表示端末)では、周囲が明るい環境においては、パネル枠(筐体)が伏せられた状態と伏せられていない状態とを判別することが可能である一方、周囲が暗い環境においては、パネル枠が伏せられた状態と伏せられていない状態とを判別することが困難になると考えられる。したがって、伏せた状態でのみスタンバイモードに移行させたい場合であっても、周囲の明るさの環境によって、伏せた状態以外の状態でもスタンバイモードに移行してしまう場合があるという問題点がある。
この発明は、上記のような課題を解決するためになされたものであり、この発明の1つの目的は、筐体の状態に応じてスタンバイモードに自動的に移行させる制御を行う場合に、所定の状態以外の状態でスタンバイモードに移行してしまうのを抑制することが可能な携帯情報表示端末を提供することである。
課題を解決するための手段および発明の効果
この発明の一の局面による携帯情報表示端末は、筐体と、筐体の傾きを検出することにより、第1の状態になったことと、第2の状態になったこととを検出するための傾きセンサと、傾きセンサにより第2の状態であることが検出された場合に、第2の状態であると判別して特定するとともに、スタンバイモードに移行する制御を行う制御部とを備えている。
この一の局面による携帯情報表示端末では、上記のように、筐体の傾きを検出することにより、第1の状態になったことと、第2の状態になったこととを検出する傾きセンサを設けることによって、照度センサを用いる構成のように携帯情報表示端末の周囲の環境(明るさ)に影響されることなく、傾きセンサにより検出される傾きに基づいて、第1の状態および第2の状態の少なくとも2種類の状態を検出することができる。これにより、第2の状態でスタンバイモードに自動的に移行させる制御を行う場合に、第2の状態以外の状態(第1の状態)でスタンバイモードに移行してしまうのを抑制することができる。
上記一の局面による携帯情報表示端末において、好ましくは、情報を表示する表示部をさらに備え、第2の状態は、筐体および表示部が載置面に対向するように伏せられた不使用状態であり、制御部は、傾きセンサにより筐体および表示部を載置面に対向するように伏せた不使用状態であることが検出された場合に、スタンバイモードに移行する制御を行うように構成されている。このように構成すれば、ユーザが携帯情報表示端末を使用しない場合に、筐体および表示部を載置面に対向するように伏せるだけでスタンバイモードに移行させることができるので、スタンバイモードに移行される分、容易に、携帯情報表示端末の消費電力を小さくすることができる。
上記一の局面による携帯情報表示端末において、好ましくは、傾きセンサは、第1の状態および第2の状態に加えて、ユーザにより筐体が把持された状態である第3の状態を検出するように構成されており、制御部は、ユーザにより筐体が把持された第3の状態であることが傾きセンサにより検出された場合には、第2の状態の傾きが検出された場合にも、スタンバイモードに移行しない制御を行うように構成されている。このように構成すれば、ユーザにより筐体が把持された第3の状態である場合には、ユーザは携帯情報表示端末を使用していることが多いため、ユーザにより筐体が把持された第3の状態で第2の状態の傾きが検出された場合に、使用中の携帯情報表示端末がスタンバイモードに移行してしまうのを防止することができる。
上記一の局面による携帯情報表示端末において、好ましくは、第1の状態および第2の状態は、筐体が載置面に載置される状態であり、第1の状態は、筐体を立てて使用する立て置き使用状態と、筐体を寝かせて使用する寝かせ使用状態とを含み、筺体は、立て置き使用状態における筺体の傾きと、寝かせ使用状態における筺体の傾きと、第2の状態における筺体の傾きとが、互いに異なる傾きになるように載置面に載置可能に構成されており、傾きセンサにより第2の状態における筐体の傾きが検出された場合に、制御部によりスタンバイモードに移行する制御を行うように構成されている。このように構成すれば、立て置き使用状態における筺体の傾きと、寝かせ使用状態における筺体の傾きと、第2の状態における筺体の傾きとが、互いに異なる傾きであることにより、容易に、傾きセンサにより携帯情報表示端末の立て置き使用状態、寝かせ使用状態および第2の状態のいずれの状態であるかを検出することができる。
この場合において、好ましくは、情報を表示する表示部をさらに備え、第2の状態は、筐体および表示部が載置面に対向するように伏せられた不使用状態であり、筺体は、立て置き使用状態での傾きと、寝かせ使用状態での傾きと、伏せられた不使用状態での傾きとが、互いに異なる傾きになるように載置面に載置可能な外形形状を有するように構成されている。このように構成すれば、筺体が互いに異なる傾きになるように載置面に載置可能な外形形状を有することにより、スタンド部材などの補助部材を別途用いることなく、傾きセンサが検知可能な立て置き使用状態における筺体の傾き、寝かせ使用状態における筺体の傾き、および、伏せられた不使用状態での傾きのいずれかの傾きで筐体を載置面に載置することができる。
上記一の局面による携帯情報表示端末において、好ましくは、第1の状態は、使用状態であり、制御部は、傾きセンサにより第1の状態になったことが検出された場合には、検出された状態に対応するアプリケーションプログラムを起動するとともに、傾きセンサにより第2の状態であることが検出された場合には、アプリケーションプログラムを起動せずにスタンバイモードに移行するように制御するようにように構成されている。このように構成すれば、使用状態である第1の状態になった場合に、各状態に対応するアプリケーションプログラムを自動的に起動することができるとともに、第2の状態になった場合に、自動的にスタンバイモードに移行することができる。これにより、ユーザによる操作性を向上することができる。
この場合において、好ましくは、リモコンモードの際に使用する通信部をさらに備え、第1の状態は、筐体を載置面に寝かせて使用する寝かせ使用状態を含み、制御部は、傾きセンサにより寝かせ使用状態であると検出された場合に、リモコンモードに対応するアプリケーションプログラムを起動するように構成されている。このように構成すれば、筐体を載置面に寝かせた場合に、リモコンモードに対応するアプリケーションプログラムが起動することにより、即時にリモコンとして使用することができるので、ユーザによる操作性を向上することができる。
上記一の局面による携帯情報表示端末において、好ましくは、リモコンモードの際に使用する通信部をさらに備え、制御部は、リモコンモードで使用されている場合に、第2の状態になったことが傾きセンサにより検出された時に、携帯情報表示端末をスタンバイモードに移行させるとともに、リモコンモードの操作対象である機器に対してスタンバイモードに移行するように指示する信号を通信部を介して送信するように構成されている。このように構成すれば、リモコンモードで使用されている場合において、第2の状態に変更されることにより携帯情報表示端末がスタンバイモードに移行される場合には、リモコンモードの操作対象である機器を使用することがなくなると考えられるので、操作対象である機器に対してスタンバイモードに移行する信号を通信部を介して送信することにより、容易に操作対象である機器をもスタンバイモードに移行させることができる。
本発明の第1実施形態による携帯情報表示端末の液晶表示部側の構成を説明するための全体斜視図である。 図1に示した第1実施形態による携帯情報表示端末のフレームの液晶表示部が設けられている表面とは反対側の表面側の構成を説明するための全体斜視図である。 図1に示した第1実施形態による携帯情報表示端末の長手方向を横向きにして携帯情報表示端末が把持された状態を示した斜視図である。 図1に示した第1実施形態による携帯情報表示端末の長手方向を縦向きにして携帯情報表示端末が把持された状態を示した斜視図である。 図1に示した第1実施形態による携帯情報表示端末のフレームおよび液晶表示部を載置面に立てた状態を示した斜視図である。 図1に示した第1実施形態による携帯情報表示端末のフレームおよび液晶表示部を載置面に寝かせた状態を示した斜視図である。 図1に示した第1実施形態による携帯情報表示端末の内部構成を説明するためのブロック図である。 図1に示した第1実施形態による携帯情報表示端末のフレームおよび液晶表示部が載置面に対して伏せた不使用状態を示した斜視図である。 図1に示した第1実施形態による携帯情報表示端末の液晶表示部に表示される小規模のアプリケーションソフト(ガジェット)の表示画面を示した図である。 図1に示した第1実施形態による携帯情報表示端末のリモコンモード時に液晶表示部に表示される表示画面を示した図である。 図1に示した第1実施形態による携帯情報表示端末のリモコンモード時にテレビジョン装置に赤外線を送信する状態を示した斜視図である。 図1に示した第1実施形態による携帯情報表示端末の液晶表示部に表示されるストリーミング動画を再生するアプリケーションの表示画面を示した図である。 図1に示した第1実施形態による携帯情報表示端末の状態に対応するアプリケーションプログラムの起動およびスタンバイモード移行フローを説明するためのフローチャートである。 本発明の第2実施形態による携帯情報表示端末の内部構成を説明するためのブロック図である。 本発明の第2実施形態による携帯情報表示端末の状態に対応するアプリケーションプログラムの起動およびスタンバイモード移行フローを説明するためのフローチャートである。
以下、本発明を具体化した実施形態を図面に基づいて説明する。
(第1実施形態)
まず、図1〜図12を参照して、本発明の第1実施形態による携帯情報表示端末1の構成について説明する。
図1および図2に示すように、本発明の第1実施形態による携帯情報表示端末1は、情報を表示する液晶表示部10(図1参照)と、液晶表示部10が表面に設けられるフレーム20とにより主に構成されている。なお、液晶表示部10は、本発明の「表示部」の一例であり、フレーム20は、本発明の「筐体」の一例である。この携帯情報表示端末1は、ユーザにより把持された状態(図3および図4参照)で使用可能に構成されているとともに、フレーム20および液晶表示部10を載置面100に立てた状態(図5参照)、および、フレーム20および液晶表示部10を載置面100に寝かせた状態(図6参照)でも使用可能に構成されている。なお、ユーザにより把持された状態は、本発明の「第3の状態」の一例であり、フレーム20および液晶表示部10を載置面100に立てた状態は、本発明の「第1の状態」および「立て置き使用状態」の一例である。また、フレーム20および液晶表示部10を載置面100に寝かせた状態は、本発明の「第1の状態」および「寝かせ使用状態」の一例である。
この携帯情報表示端末1は、インターネット接続可能に構成されており、インターネット接続を行うことによりストリーミング配信の受信および再生出力機能、メール機能、ビデオチャット機能およびボイスチャット機能を使用可能に構成されている。また、携帯情報表示端末1は、インターネット接続をしていない場合にも、リモコンモードに移行することにより、メディアプレーヤーおよびテレビジョン装置(図示せず)などのリモコンとして使用可能に構成されている。また、携帯情報表示端末1は、フレーム20および液晶表示部10を立てた状態(図5参照)では、小規模のアプリケーションソフト(ガジェット)により、カレンダーや時計などを表示することが可能である。
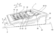
次に、携帯情報表示端末1の液晶表示部10およびフレーム20の構成について詳細に説明する。液晶表示部10は、図1に示すように、タッチパネル機能を有しており、ユーザが液晶表示部10に表示された操作ボタン10aを押下することにより、アプリケーションプログラムに従った操作が可能なように構成されている。また、液晶表示部10の矢印X1方向側には、カメラユニット11が設置されている。このカメラユニット11は、たとえば、ユーザにより把持された状態で携帯情報表示端末1を使用する場合などに、ビデオチャット時の画像を入力する機能を有する。
また、カメラユニット11の近傍には、マイクユニット12が設置されている。このマイクユニット12は、たとえば、ボイスチャットおよびビデオチャット時などの音声を入力する機能を有する。
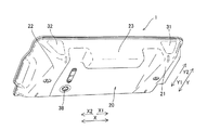
また、フレーム20は、樹脂により形成されている。図1および図2に示すように、フレーム20の液晶表示部10が設けられている表面とは反対側の表面には、複数の突起部21、22および23が一体的に設けられている。突起部21および22は、フレーム20の長手方向(X方向)の両方の端部近傍にフレーム20の短手方向(Y方向)に延びるように設けられている。また、図6に示すように、突起部21(図2参照)および22は、それぞれ、フレーム20の短手方向(Y方向)の一方端側(矢印Y1方向側)から他方端側(矢印Y2方向側)に向かって徐々に厚みが増加するように構成されている。つまり、突起部21および22は、それぞれ、フレーム20の長手方向(矢印X1方向および矢印X2方向)から見て、フレーム20の短手方向の他方側(矢印Y2方向側)から一方側(矢印Y1方向側)に向かってテーパ状に先細る楔形形状を有するように構成されている。
上記のように突起部21および22を構成することによって、図5に示すように、突起部21および突起部22の矢印Y2方向側の面を下にして携帯情報表示端末1を載置面100に載置することにより、突起部21および22は、フレーム20および液晶表示部10を立てた状態でフレーム20を支持可能である。また、図6に示すように、突起部21および22は、フレーム20および液晶表示部10を載置面100に対して所定の角度θ傾斜させて寝かせた状態で、フレーム20を支持可能である。
また、上記のように突起部21および22を構成することによって、図3に示すように、突起部21および22は、フレーム20および液晶表示部10の長手方向(X方向)をユーザから見て横向きにしてユーザが両手で把持することが可能である。また、図4に示すように、突起部22は、フレーム20および液晶表示部10の長手方向(X方向)を縦向きにして片手(左手)で把持可能である。
また、突起部23は、図2に示すように、フレーム20の短手方向(Y方向)の他方端部(矢印Y2方向端部)近傍で、かつ、突起部21および22の間に設けられている。この突起部23の内部には、携帯情報表示端末1の電源を供給するための二次電池(リチウムイオン電池)が内蔵(収納)されている。
また、突起部21および22の他方端部側(矢印Y2方向側)の端面には、それぞれ、赤外線通信部31および32が内蔵されている。なお、赤外線通信部31および32は、本発明の「通信部」の一例である。これら赤外線通信部31および32は、後述するリモコンモードの際に、メディアプレーヤーおよびテレビジョン装置90(図11参照)などを操作可能な所定の信号(リモコン信号)を含む赤外線を発光するように構成されている。
また、液晶表示部10の長手方向(X方向)の矢印X2方向側の部分には、図1に示すように、情報処理装置モード用各種スイッチ33が設けられている。情報処理装置モード用各種スイッチ33は、それぞれ、メール、ビデオおよびボイスチャットなどを処理する情報処理装置モードで使用されるスイッチである。また、情報処理装置モード用各種スイッチ33の矢印X2方向側の近傍には、4方向移動スイッチ34(選択スイッチ)が設けられている。また、4方向移動スイッチ34の中心部分には、決定スイッチ35が設けられている。これら4方向移動スイッチ34および決定スイッチ35は、それぞれ、リモコンモードおよび情報処理装置モードの両方で使用可能に構成されている。
また、4方向移動スイッチ34の矢印Y2方向側には、リモコンモードと情報処理装置モードとを切替可能なリモコンモード遷移スイッチ36が設けられている。また、4方向移動スイッチ34の矢印Y1方向側には、リモコンモードにおけるリモコン操作対象機器(テレビなど)の表示部にOSD表示された操作画面を現在の状態から1つ前の状態に戻すための戻る機能スイッチ37が設けられている。また、図2に示すように、フレーム20の裏面には、電源スイッチ38が設けられている。この電源スイッチ38は、携帯情報表示端末1がオフ状態である場合には、押圧されることによりオン状態に起動させるとともに、後述するスタンバイモードである場合には、押圧されることによりスタンバイモードから復帰させる機能を有する。
また、図5に示すように、フレーム20の矢印X1方向側の側面部24には、複数の接続部40が設けられている。この接続部40は、2つのUSB接続部41および42と、HDMI接続部43と、音声ケーブル接続部44と、電源コネクタ45とを含んでいる。
次に、携帯情報表示端末1の内部構成について説明する。携帯情報表示端末1のフレーム20には、図7に示すように、携帯情報表示端末1の制御を司る制御部(CPU)51と、記憶部(メモリ)52と、傾きセンサ53とが設けられている。
記憶部52は、制御部51により実行されるアプリケーションプログラムを記憶している。また、記憶部52は、ユーザの手で把持して使用する状態(以下、手持ち状態(図3および図4参照)と呼ぶ)、フレーム20および液晶表示部10を載置面100に立てて使用する状態(以下、立てた状態(図5参照)と呼ぶ)、および、フレーム20および液晶表示部10を載置面100に寝かせて使用する状態(以下、寝かせた状態(図6参照)と呼ぶ)において使用されたアプリケーションプログラムの使用履歴を記憶している。
ここで、第1実施形態では、傾きセンサ53は、フレーム20(図1参照)の傾きを取得する機能を有する。傾きセンサ53は、立てた状態(図5参照)、寝かせた状態(図6参照)および手持ち状態(図3および図4参照)のいずれの使用状態であるかを検出(判別)するために設けられている。また、傾きセンサ53は、立てた状態(図5参照)、寝かせた状態(図6参照)および手持ち状態(図3および図4参照)のみならず、フレーム20および液晶表示部10が載置面100に対向するように伏せられた不使用状態(以下、不使用状態(図8参照)と呼ぶ)を検出可能に構成されている。なお、フレーム20および液晶表示部10が載置面100に対向するように伏せられた不使用状態は、本発明の「第2の状態」の一例である。
また、上述したフレーム20の外形形状により、立てた状態(図5参照)での傾きと、寝かせた状態(図6参照)での傾きと、伏せた不使用状態(図8参照)での傾きとは、フレーム20の載置面100に対する角度が互いに90度以上異なるため、制御部51は、フレーム20の載置面100に対する異なる傾きに基づいて容易に各状態を判別して特定することが可能である。
また、手持ち状態(図3および図4参照)では、ユーザが微妙に動くことに起因して傾きセンサ53により検出される検出値が検出時間毎に変化するため、制御部51は、立てた状態、寝かせた状態および不使用状態と、手持ち状態とを区別することが可能となる。また、傾きセンサ53は、手持ち状態(図3および図4参照)である場合にも、フレーム20の長手方向を縦にして使用する縦向きでの使用状態(以下、縦持ち状態(図4参照)と呼ぶ)とフレーム20の長手方向を横にして使用する横向きでの使用状態(以下、横持ち状態(図3参照)と呼ぶ)とを検出可能に構成されている。また、縦持ち状態と横持ち状態とでは、図3および図4に示すように、液晶表示部10が約90度回転されるため、傾きセンサ53は、縦持ち状態と横持ち状態との異なる傾きを容易に判別して特定することが可能である。
ここで、第1実施形態では、制御部51は、傾きセンサ53により取得された傾きに基づいてフレーム20および液晶表示部10の使用状態を判別して特定するように構成されている。そして、制御部51は、特定した使用状態に対応するアプリケーションプログラムを自動的に起動、または、スタンバイモードに移行する制御を行うように構成されている。具体的には、制御部51は、立てた状態(図5参照)であると特定した場合には、ユーザが操作することを前提としないアプリケーションプログラムを起動するように構成されている。ここで、ユーザが操作することを前提としないアプリケーションプログラムとは、たとえば、図9に示す時計10b、カレンダー10cおよびニュース10dのトピックスなどを液晶表示部10上に表示するガジェットを含むユーザにとって受動的なアプリケーションである。また、このガジェットは、液晶表示部10のアイコン10eおよび10fなどが操作されることにより、それぞれ、スケジューラーおよび天気予報などを液晶表示部10に表示可能に構成されている。
また、制御部51は、寝かせた状態(図6参照)であると特定した場合には、ユーザが操作することを前提とするアプリケーションプログラムを起動するように構成されている。ここで、ユーザが操作することを前提とするアプリケーションプログラムとは、たとえば、図10に示すように、メディアプレーヤーおよびテレビジョン装置90(図11参照)などのリモコンとして使用可能なユーザにとって能動的なアプリケーションである。このリモコンアプリケーションプログラムは、リモコンモードに移行された際に使用されるプログラムである。たとえば、リモコンアプリケーションプログラムでは、制御部51は、テレビジョン装置90の電源をオンまたはオフに切り替えるための電源ボタン10g、テレビジョン装置90が受信する放送のチャンネルを切り替えるためのチャンネルボタン群10hおよびチャンネル送りボタン10i、テレビジョン装置90から出力される音声の音量を調整する音量調整ボタン10j、および、テレビジョン装置90(図11参照)以外のテレビジョン装置(図示せず)およびメディアプレーヤー(図示せず)などのリモコンの操作対象を変更する対象切替ボタン群10kなどをタッチパネル機能を有する液晶表示部10に表示するように構成されている。
また、制御部51は、手持ち状態(図3および図4参照)であると特定した場合にも、ユーザが操作することを前提とするアプリケーションプログラムを起動するように構成されている。ここで、ユーザが操作することを前提とするアプリケーションプログラムとは、たとえば、図12に示すように、ストリーミング動画を再生可能な、ユーザにとって能動的なアプリケーションプログラムである。この動画再生アプリケーションプログラムは、情報処理装置モード時に使用されるプログラムである。たとえば、この動画再生アプリケーションプログラムでは、制御部51は、インターネット回線を介して表示される複数の動画コンテンツ10l、10mおよび10nなどからいずれか1つの動画コンテンツをタッチパネル上で選択可能に構成されている。また、動画再生アプリケーションプログラムでは、制御部51は、動画コンテンツ10l、10mおよび10nなどのうちいずれかの動画コンテンツがユーザにより選択された際には、選択された動画コンテンツの再生をすることが可能なように構成されている。なお、特定した使用状態に対応するアプリケーションプログラムは、ユーザにより予め設定される。
また、制御部51は、傾きセンサ53により検出される傾き値が常時小刻みに変化しているか否かを判断することにより、携帯情報表示端末1が載置面100に載置されている状態(図5、図6および図8の状態)、または、ユーザにより把持されている状態(図3および図4の状態)のいずれかを判断するように構成されている。傾きセンサ53により検出される傾き値が常時小刻みに変化している場合には、制御部51は、携帯情報表示端末1がユーザにより把持されている状態であると判断するように構成されている。また、傾きセンサ53により検出される傾き値が安定している場合には、制御部51は、携帯情報表示端末1が載置面100に載置されている状態であると判断するように構成されている。
また、第1実施形態では、制御部51は、傾きセンサ53によりフレーム20および液晶表示部10が載置面100に対向するように伏せられた不使用状態(図8参照)であることを特定した場合に、スタンバイモードに移行する制御を行うように構成されている。この場合、制御部51は、使用状態(立てた状態、寝かせた状態および手持ち状態)の時とは異なり、ユーザにより使用されるアプリケーションプログラムを起動しないように構成されている。
また、第1実施形態では、制御部51は、手持ち状態の傾き値(小刻みに変動する傾き値)が傾きセンサ53により検出された場合には、不使用状態に対応する傾き値の範囲に含まれる傾き値が検出された場合にも、スタンバイモードに移行しないように構成されている。
次に、図3〜図8および図13を参照して、第1実施形態による携帯情報表示端末1の状態に対応するアプリケーションプログラムの起動および維持、および、スタンバイモード移行フローについて説明する。
図13に示すように、制御部51が傾きセンサ53により取得された傾き値が変化したこと(イベント発生)を認識することにより、携帯情報表示端末1の使用状態に対応するアプリケーションプログラムの起動フローがスタートされる。まず、ステップS1において、制御部51(図7参照)により、傾きセンサ53から取得した傾き値が認識(評価)され、その傾き値が記憶部52に記憶される。そして、ステップS2において、記憶された過去の傾き値(前回傾き値が変化したときに記憶された傾き値)と今回記憶された傾き値とに基づいて、携帯情報表示端末1が立てた状態(図5参照)、寝かせた状態(図6参照)、不使用状態(図8参照)、および、手持ち状態(図3および図4参照)のいずれの状態であるかが決定される。すなわち、記憶された過去の傾き値および今回記憶された傾き値が小刻みに変化している場合には、手持ち状態と決定される。また、記憶された過去の傾き値および今回記憶された傾き値が小刻みに変化しておらずに、今回記憶された傾き値が立てた状態の傾き値の範囲内である場合には、立てた状態と決定され、今回記憶された傾き値が寝かせた状態の傾き値の範囲内である場合には、寝かせた状態と決定され、今回記憶された傾き値が伏せた不使用状態の傾き値の範囲内である場合には、不使用状態と決定される。
その後、ステップS3において、制御部51により、決定された状態が、傾きセンサ53により取得された傾き値が変化する前(イベント発生前)の状態から変更されたか否かが判断される。そして、ステップS3において、決定された状態が傾きセンサ53により取得された傾き値が変化する前(イベント発生前)の状態から変更されていないと判断された場合には、ステップS4に進む。そして、ステップS4において、状態の変更がされていないので、アプリケーションプログラムが変更されることなく、アプリケーションプログラムはそのまま維持され、ステップS5に進む。そして、ステップS5において、液晶表示部10に表示されている表示向きも変更されることなく、そのまま維持され、アプリケーションプログラムの起動および維持、および、スタンバイモード移行フローが終了する。
また、ステップS3において、決定された状態が、傾きセンサ53により取得された傾き値が変化する前(イベント発生前)の状態から変更されたと判断された場合には、ステップS6に進む。そして、ステップS6において、制御部51により、変更された状態がフレーム20および液晶表示部10が載置面100に対向するように伏せられた不使用状態(図8参照)であるか否かが判断される。そして、ステップS6において、変更された状態が不使用状態であると判断された場合には、ステップS7に進む。そして、ステップS7において、制御部51により、スタンバイモードに移行され、アプリケーションプログラムの起動および維持、および、スタンバイモード移行フローが終了する。また、ステップS6において、変更された状態が不使用状態ではないと判断された場合には、ステップS8に進む。
その後、ステップS8において、制御部51により、変更された状態に対応するアプリケーションプログラムが設定されているか否かが判断される。つまり、ステップS8において、立てた状態、寝かせた状態および手持ち状態のそれぞれについて自動的に起動させるアプリケーションプログラムがユーザにより設定されているか否かが判断される。そして、ステップS8において、変更された状態に対応するアプリケーションプログラムが設定されていないと判断された場合には、上述したステップS4およびステップS5に進み、アプリケーションプログラムの起動および維持、および、スタンバイモード移行フローが終了する。また、ステップS8において、変更された状態に対応するアプリケーションプログラムが設定されていると判断された場合には、ステップS9に進む。
そして、ステップS9において、制御部51により、設定されていたアプリケーションプログラムが現在使用中のアプリケーションプログラムと同じアプリケーションプログラムであるか否かが判断される。そして、ステップS9において、設定されていたアプリケーションプログラムが現在使用中のアプリケーションプログラムと同じアプリケーションプログラムであると判断された場合には、アプリケーションプログラムを変更する必要がないので、上述したステップS4およびステップS5に進み、アプリケーションプログラムの起動および維持、および、スタンバイモード移行フローが終了する。また、ステップS9において、設定されていたアプリケーションプログラムが現在使用中のアプリケーションプログラムと同じアプリケーションプログラムではないと判断された場合には、ステップS10に進む。
その後、ステップS10において、変更された状態に対応するユーザにより設定されたアプリケーションプログラムが起動され、ステップS11に進む。そして、ステップS11において、状態に対応する表示向きに変更または状態に対応する表示向きが維持され、アプリケーションプログラムの起動および維持、および、スタンバイモード移行フローが終了する。たとえば、立てた状態と、寝かせた状態または手持ち状態の横持ち状態との間で状態が変更された場合には、液晶表示部10に表示される表示向きは180度回転されて変更される。また、手持ち状態のうちの縦持ち状態と、立てた状態、寝かせた状態または手持ち状態の横持ち状態との間で状態が変更された場合には、液晶表示部10に表示される表示向きは90度または270度回転されて変更される。また、手持ち状態のうちの横持ち状態と寝かせた状態との間で状態が変更された場合には、液晶表示部10に表示される表示向きは変更されずにそのまま維持される。
第1実施形態では、上記のように、フレーム20の傾きを検出することにより、第1の状態(フレーム20を載置面に寝かせて使用する状態(寝かせた状態)およびフレーム20を載置面に立てて使用する状態(立てた状態))になったことと、第2の状態(フレーム20が載置面に対向するように伏せた不使用状態)になったこととを検出する傾きセンサ53を設けることによって、照度センサを用いる構成のように携帯情報表示端末1の周囲の環境(明るさ)に影響されることなく、傾きセンサ53により検出される傾きに基づいて、第1の状態(フレーム20を載置面に寝かせて使用する状態(寝かせた状態)およびフレーム20を載置面に立てて使用する状態(立てた状態))および第2の状態(フレーム20が載置面に対向するように伏せた不使用状態)の少なくとも2種類の状態を検出することができる。これにより、第2の状態でスタンバイモードに自動的に移行させる制御を行う場合に、第2の状態以外の状態(第1の状態)でスタンバイモードに移行してしまうのを抑制することができる。
また、第1実施形態では、上記のように、傾きセンサ53によりフレーム20および液晶表示部10を載置面100に対向するように伏せた不使用状態であることが検出された場合に、スタンバイモードに移行する制御を行うことによって、ユーザが携帯情報表示端末1を使用しない場合に、フレーム20および液晶表示部10を載置面100に対向するように伏せるだけでスタンバイモードに移行させることができるので、スタンバイモードに移行される分、容易に、携帯情報表示端末1の消費電力を小さくすることができる。
また、第1実施形態では、上記のように、ユーザによりフレーム20が把持された状態(手持ち状態)であることが傾きセンサ53により検出された場合には、フレーム20および液晶表示部10を載置面100に対向するように伏せた不使用状態の傾きが検出された場合にも、スタンバイモードに移行しない制御を行うことによって、ユーザによりフレーム20が把持された状態(手持ち状態)である場合には、ユーザは携帯情報表示端末1を使用していることが多いため、ユーザによりフレーム20が把持された状態で不使用状態の傾きが検出された場合に、使用中の携帯情報表示端末1がスタンバイモードに移行してしまうのを防止することができる。
また、第1実施形態では、上記のように、フレーム20を、寝かせた状態におけるフレーム20の傾きと、立てた状態におけるフレーム20の傾きと、不使用状態におけるフレーム20の傾きとが、互いに異なる傾きになるように載置面100に載置可能に構成することによって、寝かせた状態におけるフレーム20の傾きと、立てた状態におけるフレーム20の傾きと、不使用状態におけるフレーム20の傾きとが、互いに異なる傾きであることにより、容易に、傾きセンサ53により携帯情報表示端末1の寝かせた状態、立てた状態および不使用状態のいずれの状態であるかを検出することができる。
また、第1実施形態では、上記のように、フレーム20を、寝かせた状態におけるフレーム20の傾きと、立てた状態におけるフレーム20の傾きと、不使用状態におけるフレーム20の傾きとが、互いに異なる傾きになるように載置面100に載置可能な外形形状を有するように構成することによって、フレーム20が互いに異なる傾きになるように載置面100に載置可能な外形形状を有することにより、スタンド部材などの補助部材を別途用いることなく、傾きセンサ53が検知可能な寝かせた状態におけるフレーム20の傾き、立てた状態におけるフレーム20の傾き、および、伏せられた不使用状態におけるフレーム20の傾きのいずれかの傾きでフレーム20を載置面100に載置することができる。
また、第1実施形態では、上記のように、傾きセンサ53により寝かせた状態または立てた状態になったことが検出された場合には、検出された状態に対応するアプリケーションプログラムを起動するとともに、傾きセンサ53により不使用状態であることが検出された場合には、アプリケーションプログラムを起動せずにスタンバイモードに移行するように制御することによって、使用状態である寝かせた状態および立てた状態になった場合に、各状態に対応するアプリケーションプログラムを自動的に起動することができるとともに、不使用状態になった場合に、自動的にスタンバイモードに移行することができる。これにより、ユーザによる操作性を向上することができる。
また、第1実施形態では、上記のように、傾きセンサ53によりフレーム20および液晶表示部10を載置面100に寝かせて使用する状態であると検出された場合に、リモコンモードに対応するアプリケーションプログラムを起動することによって、フレーム20および液晶表示部10を載置面100に寝かせた場合に、リモコンモードに対応するアプリケーションプログラムが起動することにより、即時にリモコンとして使用することができるので、ユーザによる操作性を向上することができる。
(第2実施形態)
次に、図11、図14および図15を参照して、本発明の第2実施形態による携帯情報表示端末201について説明する。この第2実施形態では、不使用状態が検出された場合に、携帯情報表示端末1のみがスタンバイモードに移行する上記第1実施形態とは異なり、リモコンモード時に不使用状態に変更された場合に、携帯情報表示端末201およびリモコンモードの操作対象機器(たとえば、テレビジョン装置190)の両方をスタンバイモードに移行する例について説明する。
第2実施形態では、図14に示すように、制御部(CPU)151は、リモコンモードで使用されている場合において、不使用状態の傾き値が傾きセンサ53により検出された場合に、携帯情報表示端末201をスタンバイモードに移行させるように構成されている。この場合、制御部(CPU)151は、さらに、リモコンモードの操作対象である機器(たとえば、テレビジョン装置190(図11参照))に対してスタンバイモードに移行するように指示する信号を赤外線通信部31および32を介して送信するように構成されている。携帯情報表示端末201の赤外線通信部31および32からテレビジョン装置190にスタンバイモードに移行するように指示する信号が送信された場合には、テレビジョン装置190の受光部191により信号が受信される。この場合、テレビジョン装置190の制御部192は、受光部191により受信された信号に基づいてテレビジョン装置190をスタンバイモードに移行するように構成されている。すなわち、制御部151は、リモコンモードである場合において、フレーム20および液晶表示部10が載置面100に対向するように伏せられた場合に、携帯情報表示端末201およびリモコンモードの操作対象である機器(たとえば、テレビジョン装置190)の両方をスタンバイモードに移行する制御を行うように構成されている。
次に、図11、図14および図15を参照して、第2実施形態による携帯情報表示端末201の状態に対応するアプリケーションプログラムの起動および維持、および、スタンバイモード移行フローについて説明する。なお、図15のフローチャートのうち、ステップS1〜ステップS11の処理は、上記第1実施形態の処理と同様である。
図15に示すように、ステップS7において、制御部151(図14参照)により、スタンバイモードに移行され、ステップS21に進む。そして、ステップS21において、制御部151により、赤外線通信部31および32を介してリモコンモードの操作対象である機器(たとえば、テレビジョン装置190(図11参照))に対してスタンバイモードに移行するように指示する赤外線信号が発信される。その後、アプリケーションプログラムの起動および維持、および、スタンバイモード移行フローが終了する。
第2実施形態では、上記のように、リモコンモードで使用されている場合に、不使用状態になったことが傾きセンサ53により検出された時に、携帯情報表示端末201をスタンバイモードに移行させるとともに、リモコンモードの操作対象である機器(たとえば、テレビジョン装置190)に対してスタンバイモードに移行するように指示する信号を赤外線通信部31および32を介して送信することによって、リモコンモードで使用されている場合において、不使用状態に変更されることにより携帯情報表示端末201がスタンバイモードに移行される場合には、リモコンモードの操作対象である機器(たとえば、テレビジョン装置190)を使用することがなくなると考えられるので、操作対象である機器(たとえば、テレビジョン装置190)に対してスタンバイモードに移行する信号を赤外線通信部31および32を介して送信することにより、容易に操作対象である機器(たとえば、テレビジョン装置190)をもスタンバイモードに移行させることができる。
なお、今回開示された実施形態は、すべての点で例示であって制限的なものではないと考えられるべきである。本発明の範囲は、上記した実施形態の説明ではなく特許請求の範囲によって示され、さらに特許請求の範囲と均等の意味および範囲内でのすべての変更が含まれる。
たとえば、上記第1および第2実施形態では、傾きセンサがフレームおよび液晶表示部を載置面に立てて使用する立てた状態、フレームおよび液晶表示部を載置面に寝かせて使用する寝かせた状態、フレームを手で把持して使用する手持ち状態、および、フレームおよび液晶表示部が載置面に対向するように伏せられた不使用状態のいずれかのみを検出する例について示したが、本発明はこれに限られない。たとえば、立てた状態、寝かせた状態、手持ち状態および不使用状態に加えて、携帯情報表示端末を壁面に引っ掛けて保持するなど、立てた状態、寝かせた状態、手持ち状態および不使用状態以外の状態を検出するようにしてもよい。
また、上記第1および第2実施形態では、携帯情報表示端末を載置面に対向するように伏せた場合に、携帯情報表示端末をスタンバイモードに移行する例について示したが、本発明はこれに限られない。たとえば、フレームおよび液晶表示部を載置面に立てて使用する立てた状態で携帯情報表示端末をスタンバイモードに移行するなど、携帯情報表示端末を載置面に対向するように伏せた状態以外の状態で携帯情報表示端末をスタンバイモードに移行するようにしてもよい。
また、上記第1および第2実施形態では、傾きセンサがフレームおよび液晶表示部を載置面に立てて使用する立てた状態、および、フレームおよび液晶表示部を載置面に寝かせて使用する寝かせた状態に載置可能な外形形状にフレームを構成した例について示したが、本発明はこれに限られない。別部材のスタンドなどをフレーム(筐体)に取り付けることにより、傾きセンサがフレームおよび液晶表示部を載置面に立てて使用する立てた状態、および、フレームおよび液晶表示部を載置面に寝かせて使用する寝かせた状態に載置するようにしてもよい。
また、上記第1および第2実施形態では、リモコンモード時に、制御対象機器に対してリモコン信号を含む赤外線を出射することにより、制御対象機器のリモコン制御を行う例について示したが、本発明はこれに限られない。たとえば、Bluetooth(登録商標)およびZigbee(登録商標)などの無線通信規格を用いることにより制御対象機器のリモコン制御を行うようにしてもよい。
また、上記第1実施形態では、説明の便宜上、制御部の処理動作をスタート時はイベント駆動的に記載し、スタート移行の処理動作はフロー駆動的に記載したフローチャートを用いて説明したが、本発明はこれに限られない。制御部の処理動作を完全なイベント駆動型で行ってもよいし、完全なフロー駆動型で行ってもよいし、並行処理的に行ってもよい。
また、上記第2実施形態では、携帯情報表示端末を載置面に対向するように伏せた場合に、テレビジョン装置をスタンバイモードに移行する例について示したが、本発明はこれに限られない。携帯情報表示端末のリモコンモードにおいてリモコン操作可能な外部機器であれば、携帯情報表示端末を載置面に対向するように伏せた場合に、テレビジョン装置以外の外部機器をスタンバイモードに移行するようにしてもよい。
1、201 携帯情報表示端末
10 液晶表示部(表示部)
20 フレーム(筐体)
31、32 赤外線通信部(通信部)
51、151 制御部
53 傾きセンサ
90、190 テレビジョン装置(機器)
100 載置面

Claims (8)

  1. 筐体と、
    前記筐体の傾きを検出することにより、第1の状態になったことと、第2の状態になったこととを検出するための傾きセンサと、
    前記傾きセンサにより前記第2の状態であることが検出された場合に、前記第2の状態であると判別して特定するとともに、スタンバイモードに移行する制御を行う制御部とを備えた、携帯情報表示端末。
  2. 情報を表示する表示部をさらに備え、
    前記第2の状態は、前記筐体および前記表示部が載置面に対向するように伏せられた不使用状態であり、
    前記制御部は、前記傾きセンサにより前記筐体および前記表示部を前記載置面に対向するように伏せた不使用状態であることが検出された場合に、スタンバイモードに移行する制御を行うように構成されている、請求項1に記載の携帯情報表示端末。
  3. 前記傾きセンサは、前記第1の状態および前記第2の状態に加えて、ユーザにより前記筐体が把持された状態である第3の状態を検出するように構成されており、
    前記制御部は、ユーザにより前記筐体が把持された前記第3の状態であることが前記傾きセンサにより検出された場合には、前記第2の状態の傾きが検出された場合にも、前記スタンバイモードに移行しない制御を行うように構成されている、請求項1または2に記載の携帯情報表示端末。
  4. 前記第1の状態および前記第2の状態は、前記筐体が載置面に載置される状態であり、
    前記第1の状態は、前記筐体を立てて使用する立て置き使用状態と、前記筐体を寝かせて使用する寝かせ使用状態とを含み、
    前記筺体は、前記立て置き使用状態における前記筺体の傾きと、前記寝かせ使用状態における前記筺体の傾きと、前記第2の状態における前記筺体の傾きとが、互いに異なる傾きになるように前記載置面に載置可能に構成されており、
    前記傾きセンサにより前記第2の状態における前記筐体の傾きが検出された場合に、前記制御部により前記スタンバイモードに移行する制御を行うように構成されている、請求項1〜3のいずれか1項に記載の携帯情報表示端末。
  5. 情報を表示する表示部をさらに備え、
    前記第2の状態は、前記筐体および前記表示部が前記載置面に対向するように伏せられた不使用状態であり、
    前記筺体は、前記立て置き使用状態での傾きと、前記寝かせ使用状態での傾きと、前記伏せられた不使用状態での傾きとが、互いに異なる傾きになるように前記載置面に載置可能な外形形状を有するように構成されている、請求項4に記載の携帯情報表示端末。
  6. 前記第1の状態は、使用状態であり、
    前記制御部は、前記傾きセンサにより前記第1の状態になったことが検出された場合には、検出された状態に対応するアプリケーションプログラムを起動するとともに、前記傾きセンサにより前記第2の状態であることが検出された場合には、アプリケーションプログラムを起動せずにスタンバイモードに移行するように制御するようにように構成されている、請求項1〜5のいずれか1項に記載の携帯情報表示端末。
  7. リモコンモードの際に使用する通信部をさらに備え、
    前記第1の状態は、前記筐体を載置面に寝かせて使用する寝かせ使用状態を含み、
    前記制御部は、前記傾きセンサにより前記寝かせ使用状態であると検出された場合に、前記リモコンモードに対応するアプリケーションプログラムを起動するように構成されている、請求項6に記載の携帯情報表示端末。
  8. リモコンモードの際に使用する通信部をさらに備え、
    前記制御部は、前記リモコンモードで使用されている場合に、前記第2の状態になったことが前記傾きセンサにより検出された時に、前記携帯情報表示端末をスタンバイモードに移行させるとともに、前記リモコンモードの操作対象である機器に対してスタンバイモードに移行するように指示する信号を前記通信部を介して送信するように構成されている、請求項1〜7のいずれか1項に記載の携帯情報表示端末。
JP2010088053A 2010-04-06 2010-04-06 携帯情報表示端末 Pending JP2011221663A (ja)

Priority Applications (5)

Application Number Priority Date Filing Date Title
JP2010088053A JP2011221663A (ja) 2010-04-06 2010-04-06 携帯情報表示端末
US13/639,712 US20130027375A1 (en) 2010-04-06 2011-04-05 Portable Information Display Terminal
PCT/JP2011/058572 WO2011125995A1 (ja) 2010-04-06 2011-04-05 携帯情報表示端末
KR1020127027135A KR20130038843A (ko) 2010-04-06 2011-04-05 휴대 정보 표시 단말기
EP11765895A EP2557478A1 (en) 2010-04-06 2011-04-05 Portable information display terminal

Applications Claiming Priority (1)

Application Number Priority Date Filing Date Title
JP2010088053A JP2011221663A (ja) 2010-04-06 2010-04-06 携帯情報表示端末

Publications (1)

Publication Number Publication Date
JP2011221663A true JP2011221663A (ja) 2011-11-04

Family

ID=44762931

Family Applications (1)

Application Number Title Priority Date Filing Date
JP2010088053A Pending JP2011221663A (ja) 2010-04-06 2010-04-06 携帯情報表示端末

Country Status (5)

Country Link
US (1) US20130027375A1 (ja)
EP (1) EP2557478A1 (ja)
JP (1) JP2011221663A (ja)
KR (1) KR20130038843A (ja)
WO (1) WO2011125995A1 (ja)

Cited By (1)

* Cited by examiner, † Cited by third party
Publication number Priority date Publication date Assignee Title
JP2016188941A (ja) * 2015-03-30 2016-11-04 旭硝子株式会社 表示装置付き透明面材

Families Citing this family (8)

* Cited by examiner, † Cited by third party
Publication number Priority date Publication date Assignee Title
JP5327060B2 (ja) * 2010-01-05 2013-10-30 船井電機株式会社 携帯情報表示端末
CN103150194A (zh) * 2013-04-10 2013-06-12 天津三星光电子有限公司 一种移动终端的休眠控制方法及其移动终端
JP6397171B2 (ja) * 2013-08-26 2018-09-26 任天堂株式会社 情報処理装置および情報処理システム
US9529420B2 (en) * 2014-12-11 2016-12-27 Google Inc. Transitioning between two power states based on user related signals
KR102308968B1 (ko) * 2015-03-02 2021-10-05 김성일 화면을 제어하는 방법, 저장 매체 및 이동 단말
JP6531268B2 (ja) * 2015-05-21 2019-06-19 株式会社エンビジョンAescジャパン 車両用バッテリパック
CN104991789B (zh) * 2015-06-02 2018-09-18 小米科技有限责任公司 应用程序开启方法和装置
CN106406726B (zh) * 2016-08-26 2019-09-17 Oppo广东移动通信有限公司 应用操控方法、装置及终端设备

Family Cites Families (12)

* Cited by examiner, † Cited by third party
Publication number Priority date Publication date Assignee Title
JP3551774B2 (ja) * 1998-07-16 2004-08-11 三菱電機株式会社 省電力システム
JP2002055177A (ja) * 2000-05-29 2002-02-20 Citizen Watch Co Ltd 電子時計
JP2003345390A (ja) * 2002-05-23 2003-12-03 Matsushita Electric Ind Co Ltd 音声処理装置及びリモートコントローラ装置
US20070149262A1 (en) * 2003-11-21 2007-06-28 Nokia Corporation Two step activation of phone
JP2006101041A (ja) * 2004-09-28 2006-04-13 Fujitsu Ltd 携帯電話機
US20060208573A1 (en) * 2005-03-21 2006-09-21 Panamax Uninterrupted power supply with IR control link
JP4611866B2 (ja) * 2005-11-02 2011-01-12 シャープ株式会社 電子機器
JP4869710B2 (ja) * 2005-12-27 2012-02-08 京セラ株式会社 携帯端末装置及び画像表示方法
US7667686B2 (en) * 2006-02-01 2010-02-23 Memsic, Inc. Air-writing and motion sensing input for portable devices
GB2442031A (en) * 2006-09-25 2008-03-26 Peter John Ensinger Standby saver
WO2009016719A1 (ja) * 2007-07-30 2009-02-05 Fujitsu Limited 自動起動設定装置、方法およびプログラム
JP2009139772A (ja) 2007-12-10 2009-06-25 Seiko Epson Corp 表示装置およびこれを備えた印刷機器

Cited By (1)

* Cited by examiner, † Cited by third party
Publication number Priority date Publication date Assignee Title
JP2016188941A (ja) * 2015-03-30 2016-11-04 旭硝子株式会社 表示装置付き透明面材

Also Published As

Publication number Publication date
US20130027375A1 (en) 2013-01-31
EP2557478A1 (en) 2013-02-13
WO2011125995A1 (ja) 2011-10-13
KR20130038843A (ko) 2013-04-18

Similar Documents

Publication Publication Date Title
JP5440334B2 (ja) 携帯情報表示端末
JP2011221663A (ja) 携帯情報表示端末
JP5327060B2 (ja) 携帯情報表示端末
JP5445285B2 (ja) 携帯情報表示端末
EP2683158B1 (en) Electronic apparatus, control method thereof, remote control apparatus, and control method thereof
JP5625462B2 (ja) 携帯情報表示端末
KR101445211B1 (ko) 전자 장치와 상기 전자 장치의 제어 방법 및 원격 제어 장치와 상기 원격 제어 장치의 제어 방법
KR102330250B1 (ko) 디스플레이 장치, 제어 장치 및 그 동작 방법
US9372615B2 (en) Method and apparatus for touch input for electronic device
JP6476117B2 (ja) リモート制御出力モードを有するハンドヘルド情報処理デバイス
JP5076014B1 (ja) 電子機器、電子機器の制御装置、電子機器の制御方法
JP2010245692A (ja) 携帯端末
WO2012137327A1 (ja) 携帯情報表示端末
JP2008197276A (ja) 映像表示装置
JP2011142393A (ja) 携帯情報処理装置
JP2013207733A (ja) 情報端末
JP2008243011A (ja) 通信装置
JP2010171900A (ja) プロジェクタ機能を備えた携帯型情報通信端末及びその制御方法