JP2011141663A - 無人搬送車、および、その走行制御方法 - Google Patents

無人搬送車、および、その走行制御方法 Download PDF

Info

Publication number
JP2011141663A
JP2011141663A JP2010001236A JP2010001236A JP2011141663A JP 2011141663 A JP2011141663 A JP 2011141663A JP 2010001236 A JP2010001236 A JP 2010001236A JP 2010001236 A JP2010001236 A JP 2010001236A JP 2011141663 A JP2011141663 A JP 2011141663A
Authority
JP
Japan
Prior art keywords
guided vehicle
automatic guided
distance
deceleration
stop
Prior art date
Legal status (The legal status is an assumption and is not a legal conclusion. Google has not performed a legal analysis and makes no representation as to the accuracy of the status listed.)
Pending
Application number
JP2010001236A
Other languages
English (en)
Inventor
Hideaki Furuno
英昭 古野
Yoshiharu Tomioka
芳治 冨岡
Toshio Moriya
俊夫 守屋
Current Assignee (The listed assignees may be inaccurate. Google has not performed a legal analysis and makes no representation or warranty as to the accuracy of the list.)
Hitachi Ltd
Original Assignee
Hitachi Plant Technologies Ltd
Priority date (The priority date is an assumption and is not a legal conclusion. Google has not performed a legal analysis and makes no representation as to the accuracy of the date listed.)
Filing date
Publication date
Application filed by Hitachi Plant Technologies Ltd filed Critical Hitachi Plant Technologies Ltd
Priority to JP2010001236A priority Critical patent/JP2011141663A/ja
Publication of JP2011141663A publication Critical patent/JP2011141663A/ja
Pending legal-status Critical Current

Links

Images

Landscapes

  • Control Of Driving Devices And Active Controlling Of Vehicle (AREA)
  • Control Of Position, Course, Altitude, Or Attitude Of Moving Bodies (AREA)
  • Steering Control In Accordance With Driving Conditions (AREA)

Abstract

【課題】無人搬送車の走行制御において、走行速度により目標走行経路と、停止範囲および減速範囲を決定することにより、安全性を高めた走行をおこなう。
【解決手段】地図データと、走行速度が設定された経路データとを保持し、レーザにより周辺環境の状況を計測して、地図データと計測されたデータとをマッチングして、現在位置を求める無人搬送車において、走行速度に応じて、走行速度が大きくなればなるほど大きくなるように、移動先距離を決定する。そして、基準点から移動先距離にあたる経路上の点を、移動先位置として、その移動先位置に向かって走行させる。また、その走行速度に応じて、減速範囲と、停止範囲を定めて、障害物をそれらの範囲内で検知したときには、それぞれ無人搬送車を減速または停止するように制御する。この減速範囲と停止範囲も、走行速度に応じて広くなるようにとる。
【選択図】図11

Description

本発明は、無人搬送車、および、その走行制御方法に係り、レーザ方式により周囲の環境を認識して、走行するインテリジェントな無人搬送車を安全に走行させる用途に用いて好適な無人搬送車、および、その走行制御方法に関する。
工場の生産ラインや倉庫等において、省人化や搬送の正確性を向上させるために、自動制御によって、目標走行経路を自動的に走行させ、荷物の積み降ろしをおこなう無人搬送車(AGV:Automatic Guided Vehicle)が導入されている。このような無人搬送車においては、その目標走行経路の誘導方式には各種のものが開発・適用されている。
例えば、電磁誘導方式は、床に埋設された電線から発信される誘導磁界を無人搬送車に搭載したコイルにより検出し、無人搬送車の走行速度制御と操舵制御をおこない、目標走行経路に追従した走行をおこなうものである。
また、光学方式は、床面に貼り付けられた反射テープからの反射光を無人搬送車に搭載した光学センサにより検出し、無人搬送車の走行速度制御と操舵制御をおこない、目標走行経路に追従した走行をおこなうものである。
また、磁気誘導方式は、床に埋設された永久磁石または、床面に貼り付けられた磁気テープの磁気を無人搬送車に搭載した磁気検出センサにより検出し、無人搬送車の走行速度制御と操舵制御をおこない、目標走行経路に追従した走行をおこなうものである。例えば、特許文献1には、そのような無人搬送車の車速を制御する機構が記載されている。
さらに、ジャイロ方式は、無人搬送車に搭載したジャイロセンサ、および、床に埋め込んだ位置補正用の基準位置マーカーを無人搬送搬送車に搭載したセンサにより検出し、無人搬送車の走行速度制御と操舵制御をおこない、目標走行経路に追従した自律走行をおこなうものである。例えば、特許文献2には、ジャイロを搭載し、走行経路に施設した塗色ラインやGPSにより、走行を制御する無人搬送車が開示されている。
その他にレーザ方式がある。これは走行経路周辺の壁・柱・設備等に無人搬送車から発せられるレーザ光を反射するための反射板を取り付け、無人搬送車から発せられたレーザ光の反射光を無人搬送車に搭載したレーザ反射光検出センサにより検出しその反射光の受光角度に基づく三角測量法等の演算処理により位置を特定し、無人搬送車の走行速度制御と操舵制御をおこない、目標走行経路に追従した自律走行をおこなうものである。このような自律走行の方式は、目標走行経路が固定であるため、センサのズレ量に応じて走行方向を決定する仕組みとなっている。さらに、この方式は、走行センサとは別に独立して安全センサを無人搬送車に搭載し、固定範囲内で障害物や人間を判断し、無人搬送車の走行に問題がある場合、減速や停止をおこなうのが一般的である。
特開2005−339582号公報 特開2001−350520号公報
上記従来技術に係るレーザ方式の無人搬送車では、目標走行経路に追従して動くものの走行速度に応じて、制御する方法は用いられてこなかった。また、その走行中に障害物を検知して減速する範囲や停止する範囲も走行速度に応じて定められおらず、低速のときも高速のときも同じ減速範囲や停止範囲が用いられてきた。
本発明は、上記問題点を解決するためになされたもので、その目的は、無人搬送車の走行速度により目標走行経路を決定することにより、安定した走行をおこない、また、無人搬送車の走行速度により停止範囲および減速範囲を決定することにより、安全性を高めた走行をおこなうことのできる無人搬送車を提供することにある。
本発明の無人搬送車は、先ず、予備段階として、レーザ距離センサにより測定した測定データに基づいて、地図データと、その地図データの表す地図の経路を示す経路データとを作成しておく。また、経路データには、無人搬送車が走行すべき速度を、予め設定しておく。
そして、走行時には、レーザにより周辺環境の状況を計測して、地図データと計測されたデータとをマッチングして、現在位置を求める。
走行の制御としては、経路に設定された走行速度に応じて、走行速度が大きくなればなるほど大きくなるように、移動先距離を決定し、無人搬送車の基準点から移動先距離にあたる経路上の点を、移動先位置とする。そして、現在位置から移動先位置に向かって走行するように、操舵角を定めて無人搬送車を走行させる。
また、無人搬送車の走行速度に応じて、障害物検知時の減速範囲と、停止範囲を定めて、障害物を減速範囲内で検知したときには、無人搬送車を減速するように制御し、障害物を停止範囲内で検知したときには、無人搬送車を停止するように制御する。この減速範囲と、停止範囲も、走行速度に応じて、広くなるようにとる。
上記構成により、無人搬送車の速度が速いときには、経路上の目標地点を遠くにとることにより、無人搬送車のぶれが少ない安定した走行が可能となる。また、速度に応じて、停止範囲と減速範囲を決めて、速度の大きいときには、停止範囲と減速範囲の面積を大きくとることにより、安全な運用が可能となる。
本発明によれば、無人搬送車の走行速度により目標走行経路を決定することにより、安定した走行をおこない、また、無人搬送車の走行速度により停止範囲および減速範囲を決定することにより、安全性を高めた走行をおこなうことのできる無人搬送車を提供することができる。
本発明の第一の実施形態の無人搬送車のハードウェア構成を示す図である。 本発明の第一の実施形態の無人搬送車の走行を説明する図である。 本発明の第一の実施形態の無人搬送車の走行制御の処理を示すフローチャートである。 目標となる移動先位置を決定する処理を説明する図である(その一)。 目標となる移動先位置を決定する処理を説明する図である(その二)。 本発明の第二の実施形態の無人搬送車のハードウェア構成を示す図である。 本発明の第二の実施形態の無人搬送車の走行制御の処理を示すフローチャートである。 現在位置(X,Y)からの停止範囲を説明する図である。 図8の停止範囲に加えて、現在位置(X,Y)からの減速範囲を説明する図である。 障害物があるときの現在位置(X,Y)からの減速範囲と停止範囲における無人搬送車100の動作を説明する図である(その一)。 障害物があるときの現在位置(X,Y)からの減速範囲と停止範囲における無人搬送車100の動作を説明する図である(その二)。 経路がカーブしているときの現在位置(X,Y)からの減速範囲と停止範囲を説明する図である。
以下、本発明に係る各実施形態を、図1ないし図12を用いて説明する。
〔実施形態1〕
以下、本発明に係る第一の実施形態を、図1ないし図5を用いて説明する。
先ず、図1を用いて本発明の第一の実施形態の無人搬送車のハードウェア構成について説明する。
図1は、本発明の第一の実施形態の無人搬送車のハードウェア構成を示す図である。
無人搬送車100は、図1に示されるように、コントローラ110、プログラムメモリ120、データメモリ130、プログラマブルロジックコントローラ140、操舵輪150、走行輪160、レーザ距離センサ180、レーザ装置170、外部インタフェース190、リモコンインタフェース195からなる。
コントローラ110は、無人搬送車100の各部を制御し、データメモリ130に格納されている各データを参照して、プログラムメモリ120に格納された各モジュールを実行する。
プログラムメモリ120は、走行制御のためのプログラムを格納する記憶装置である。
データメモリ130は、走行制御のためのデータを格納する記憶装置である。
プログラマブルロジックコントローラ140は、操舵輪と走行輪を制御する。操舵輪150は、操舵角をパラメータとして制御され、走行輪160は、速度をパラメータとして制御される。
レーザ装置170は、レーザ光を発射する装置である。本実施形態のレーザ装置180は、無人搬送車100の先頭に取り付けられ、180度のレンジで回転することができ、所定の角度ごとにレーザを発射することができるようになっている。
レーザ距離センサ180は、レーザ装置によるレーザ光の反射光を検知して、障害物までの距離を測定するセンサである。
外部インタフェース190は、外部のパソコンなどの情報処理機器からデータをやり取りするためのインタフェースである。
リモコンインタフェース195は、外部から電波によりリモコン装置で、この無人搬送車を操作するときに用いられるインタフェースである。
データメモリ130には、レーザ測定データ131、地図データ132、経路データ133が格納されている。
レーザ測定データ131は、レーザ距離センサ180により測定したデータである。
地図データ132は、レーザ測定データ131に基づき、外部のパソコンなどにより認識処理した作成した地図データである。
経路データ133は、外部のパソコンなどの地図データの編集ソフトウェアにより、地図データ上に作成された無人搬送車100の走行を予定している経路のデータである。
プログラムメモリ120には、コントローラ110で実行するモジュールとして、レーザ測定データ取込モジュール121、位置決定モジュール122、走行経路決定モジュール123、制御モジュール124が格納されている。
レーザ測定データ取込モジュール121は、リモコンによる手動運転時に、レーザ距離センサ180から収集されたデータを取り込むためのモジュールである。
位置決定モジュール122は、走行中に地図データ132と、レーザ距離センサ180の計測値に基づき、無人搬送車100の現在の位置を求めるモジュールである。
走行経路決定モジュール123は、無人搬送車100の速度と、現在位置に基づいて、経路データ133による経路上の移動先位置を定めるモジュールである。
制御モジュール124は、無人搬送車100の速度と、操舵角をプログラマブルロジックコントローラ140に指示するモジュールである。
次に、図2および図3を用いて、本発明の第一の実施形態に係る無人搬送車の走行制御の処理の流れについて説明する。
図2は、本発明の第一の実施形態の無人搬送車の走行を説明する図である。
図3は、本発明の第一の実施形態の無人搬送車の走行制御の処理を示すフローチャートである。
無人搬送車を走行させるためには、地図データ132と経路データ133を作成する必要がある。これらのデータを作成するためには、通常の運行の前に、予備走行としてリモコンによる手動運転をおこない、走行する地形のデータを2次元データで収集する。
ユーザは、無人搬送車100を、通常の運行経路に近いルートを予測して、リモコンにより手動運転で走行させる。このときに、図2に示されるように、レーザ装置180は、5cmから10cmごとに、レーザ装置170を180度回転させて、例えば、0.5度ずつ、30msごとにレーザ光3を発射し、レーザ距離センサ180は、そのレーザ光の反射光によるレーザ測定データ131を収集する(図3のS100)。
レーザ測定データ131は、データメモリ130に格納されるので、次のフェーズとしては、外部インタフェースを介して、外部のパソコンなどの情報処理装置に出力する。
ユーザは、パソコンなどの情報処理装置上で稼動する地図作成ソフトウェアにより、地図データを作成する(S101)。
次に、ユーザは、パソコンの地図編集ソフトウェアの経路作成機能を利用して、地図上に経路を指定し、経路データを作成する(S102)。パソコンの地図編集ソフトウェアには、表示された地図データを表す地図画面上をマウスなどのポインティングデバイスで操作することにより、簡単に地図上に経路を作成できる機能を有している。また、作成した経路上に無人搬送車100が走行するときの速度を指定する(S103)。例えば、図2に示されるように、最初の区間では、2速(1.2[km/h])、次のカーブの区間では、1速(0.6[km/h])、カーブを抜けた所では、3速(2.4[km/h])で走行するというように経路上に設定する。
このようにして、地図データ132と経路データ133が作成されるので、外部インタフェース190を介して、パソコンからデータメモリ130に取り込む。
この段階で、無人搬送車100の走行のためのデータが準備できたので、走行を開始する(S104)。
無人搬送車100は、走行中は、レーザ距離センサ180により、レーザ装置170のレーザの反射光を測定する(S105)。
そして、地図データ132とS105のレーザ測定データをマッチングして(S106)、現在の無人搬送車100の位置(X,Y)を決定する(S107)。
次に、経路に設定している速度vに基づき、移動距離dを決定する(S108)。無人搬送車100が、経路から外れているときには、無人搬送車100から一番近い経路の部分(無人搬送車の基準点(本実施形態では、無人搬送車の前面の中央)から経路に垂線を伸ばして、その垂線と経路が交わる点)の速度を用いる。移動距離のとり方は、速度が大きいほど、移動距離が大きくなるようにとる。例えば、速度と移動距離を正比例の関係を持たせるようにして、1速(0.6[km/h])のときには、720mm、2速(1.2[km/h])のときには、1440mm、3速(2.4[km/h])のときには、2880mm、…、8速(7.2[km/h])のときには、8640mmのようにとればよう。また、速度と移動距離の関係を二次関数、さらに、高次の関数の関係を有するようにしてもよい。
次に、S107で求めた移動距離dと、現在位置(X,Y)に基づき、経路上に目標となる移動先位置を決定する(S109)。
移動先位置の具体的な求め方は、後に詳述する。
次に、コントローラ110は、現在位置(X,Y)とS109で求めた移動先位置から、操舵角θを求め、プログラマブルロジックコントローラ140にそれを指示する(S110)。
また、コントローラ110は、現在位置(X,Y)に基づき、経路上に設定されている速度vを、プログラマブルロジックコントローラ140に指示する(S111)。
この段階で、無人搬送車100を動かすための操舵角θ、速度vが与えられたので、このパラメタに従って、一定の時間または一定の距離分、無人搬送車100を動作させる(S112)。
そして、S105〜S112の処理を、無人搬送車の動作が完了するまで繰り返す(S120)。
次に、図4および図5を用いて目標となる移動先位置を決定する処理と操舵角の指示について説明する。
図4および図5は、目標となる移動先位置を決定する処理を説明する図である。
本実施形態では、無人搬送車の基準点6を無人搬送車の前面の中央にしている。移動距離dが求まると、無人搬送車の基準点6から経路2上で移動距離dにあたる点を求める。それが、移動先位置8となる。そして、無人搬送車100を移動先位置8の方向に動かせるように、操舵輪に指示する角度が、操舵角θとなる。
また、別の移動先位置8を求める方法としては、図5に示されるように、無人搬送車の基準点6から、経路2上に垂線の足4(無人搬送車の基準点6から経路の最短距離となる点)をとり、ここから曲線の長さを移動距離dとして計算して、経路上の移動先位置8を決定してもよい。これは、計算量は大きくなるが、経路2の曲率が大きいときに、正確な経路上の移動先位置8を求めることができる。
上述のように、本実施形態では、無人搬送車の走行速度に応じて、速度が大きくなるにつれて、移動距離を大きくとり、経路上の目標となる移動先位置を遠くにとるので、無人搬送車のブレの少ない安定した走行をおこなうように制御することができる。
〔実施形態2〕
以下、本発明に係る第二の実施形態を、図6ないし図12を用いて説明する。
第一の実施形態は、速度に応じて移動距離を定め、それに基づいて移動先位置を決めることにより、無人搬送車の走行の制御をおこなうものであった。
本実施形態は、第一の実施形態の機能に付け加えて、速度に応じた停止距離と減速距離を定め、停止範囲と減速範囲に障害物を検知したときに、無人搬送車の速度を制御することにより、安全に運行させるものである。
先ず、図6を用いて本発明の第一の実施形態の無人搬送車のハードウェア構成について説明する。
図6は、本発明の第二の実施形態の無人搬送車のハードウェア構成を示す図である。
本実施形態の無人搬送車100のハードウェア構成は、第一の実施形態とほぼ同様であるが、プログラムメモリ120に、障害物検知モジュール122が格納されていることのみが異なっている。
障害物検知モジュール125は、無人搬送車100が走行しているときに、周辺に障害物が存在するか否かを検知するためのモジュールである。
次に、図7を用いて本発明の第二の実施形態に係る無人搬送車の走行制御の処理の流れについて説明する。
図7は、本発明の第二の実施形態の無人搬送車の走行制御の処理を示すフローチャートである。
本実施形態の処理の説明は、第一の実施形態と異なった所を中心として説明する。
S100〜S109までの処理は、第一の実施形態の図3と同様である。
本実施形態では、コントローラ110は、現在位置(X,Y)からの減速範囲を決定する(S200)。なお、現在位置(X,Y)からの減速範囲の決め方については、後に詳細に説明する。
次に、コントローラ110は、現在位置(X,Y)からの停止範囲を決定する(S201)。なお、現在位置(X,Y)からの停止範囲の決め方については、後に詳細に説明する。
S110の操舵角指示の処理の後に、レーザ距離センサ180の測定結果により、コントローラ110は、障害物が検出されたかを判定する(S202)。
次に、障害物が検出されたときには、それが無人搬送車100が、現在位置(X,Y)からの減速範囲内にあるか否かを判定する(S203)。
無人搬送車100が、現在位置(X,Y)からの減速範囲内にないときには、S110の処理に行き、通常運行をおこなう。
無人搬送車100が、現在位置(X,Y)からの減速範囲内にあるときには、さらに、それが無人搬送車100が、現在位置(X,Y)からの停止範囲内にあるか否かを判定する(S204)。
無人搬送車100が、現在位置(X,Y)からの停止範囲内にないときには、減速速度の設定をして(S205)、S110の操舵角の指示の後に、S111の速度指示の処理で、この減速速度に基づく速度指示の処理をおこなう。減速速度をvとすると、v>vである。
無人搬送車100が、現在位置(X,Y)からの停止範囲内にあるときには、無人搬送車の停止の設定をして(S206)、走行を終了する(S120)。
次に、図8ないし図12を用いて減速範囲と停止範囲の設定と、それらにおける無人搬送車の動作について説明する。
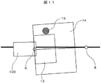
図8は、現在位置(X,Y)からの停止範囲を説明する図である。
図9は、図8の停止範囲に加えて、現在位置(X,Y)からの減速範囲を説明する図である。
図10および図11は、障害物があるときの現在位置(X,Y)からの減速範囲と停止範囲における無人搬送車100の動作を説明する図である。
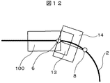
図12は、経路がカーブしているときの現在位置(X,Y)からの減速範囲と停止範囲を説明する図である。
本実施形態では、第一の実施形態の図4に示したように、移動距離dから移動先位置2を決めた後に、減速範囲と停止範囲を定める処理をおこなう。
図8に示されるように、移動距離dとしたときに、停止距離dを、例えば、d=d/3を満たすようにとる。そして、無人搬送車100の横幅wとしたときに、停止幅wを、w=w+α、α≧0になるようにとる。そして、基準点6を横辺の中点に持ち、横幅がw、縦幅がdの長方形のエリアを停止範囲13とする。
また、図9に示されるように、移動距離dとしたときに、減速距離dを、例えば、d=d/2を満たすようにとる。そして、無人搬送車100の横幅wとしたときに、減速幅wを、w=w+β、β≧αになるようにとる。そして、基準点6を横辺の中点に持ち、横幅がw、縦幅がdの長方形のエリアを減速範囲14とする。
ここで、αとβは、無人搬送車100の速度に応じて、大きくなるようにとることが好ましい。
停止距離dと減速距離dと、移動距離dとの割合は、無人搬送車100の使用目的や使用環境に応じて、自由に定めることができるが、d>d≧dにとる必要がある。また、停止幅wと、減速幅wは、w≧wの関係がある。
当然のことながら、停止範囲13の面積をS、減速範囲14の面積をSとしたときに、S≧Sである。
上述のように、無人搬送車100のコントローラ110は、レーザ距離センサ180の測定により、減速範囲14内に障害物を検知したときには、無人搬送車100の速度を減速した速度v(<v:経路上の設定速度)とし、停止範囲13内に障害物を検知したときには、停止する制御をおこなう。
例えば、図10に示されるように、低速で無人搬送車100が走行しているときには、障害物15は、減速範囲14に含まれておらず、通常の経路上の設定速度vで走行する。無人搬送車100が高速で走行するようになると、移動距離dも大きくなり、それに伴って、停止距離dと減速距離dも大きくなる。したがって、低速では、障害物13が減速範囲14に含まれていなかった場合でも、図11に示されるように、高速では、障害物13は、広がった減速範囲14に含まれるようになり、無人搬送車100は、減速走行することになる。図示しなかったが、さらに、高速で無人搬送車100が走行するようになると、障害物13は、停止範囲13内に含まれることになる。
このように、無人搬送車100の速度が大きくなると、減速範囲14と停止範囲13が広がるので、従来より安全に運行することが期待できる。
経路がカーブしているときには、停止範囲13と減速範囲14は、図12に示されるようになる。無人搬送車100が、カーブ走行時は、停止範囲13と減速範囲14が目標走行経路の方向に傾いた状態となる。これにより、無人搬送車3は、カーブ走行時にも経路したカーブに応じた適切な停止範囲13と減速範囲14をとり、安全に走行することが可能となる。
100…無人搬送車、110…コントローラ、120…プログラムメモリ、130…データメモリ、140…プログラマブルロジックコントローラ、150…操舵輪、160…走行輪…、170…レーザ距離センサ、180…レーザ装置、190…外部インタフェース、195…リモコンインタフェース。
2…経路、3…レーザ光6…基準点、8…移動先位置、13…停止範囲、14…減速範囲、15…障害物。

Claims (11)

  1. 地図データと、前記地図データの表す地図の経路を示す経路データとを格納し、レーザにより周辺環境の状況を計測して、前記地図データと計測されたデータとをマッチングして、現在位置を求める無人搬送車において、
    前記無人搬送車の走行速度に応じて、移動先距離を決定し、前記無人搬送車の基準点から前記移動先距離にあたる経路データ上の点を、移動先位置とし、前記現在位置から前記移動先位置に向かって走行するように制御することを特徴とする無人搬送車。
  2. 前記移動先距離は、前記無人搬送車の走行速度が大きくなればなるほど、長くすることを特徴とする請求項1記載の無人搬送車。
  3. 前記経路データに、前記無人搬送車の走行速度が設定されていることを特徴とする請求項1記載の無人搬送車。
  4. 前記現在位置から前記移動先位置に向かって走行するときに、操舵輪に該当する操舵角と走行速度を指示することを特徴とする請求項1記載の無人搬送車。
  5. レーザにより障害物を検知し、
    前記無人搬送車の走行速度に応じて、前記移動先距離よりも小さな減速距離を求め、前記減速距離を一辺とする長方形状の減速範囲内に、前記障害物を検知したときに、減速するように制御することを特徴とする請求項1記載の無人搬送車。
  6. 前記減速範囲の一辺とする減速幅は、前記無人搬送車の走行速度に応じて定められることを特徴とする請求項1記載の無人搬送車。
  7. レーザにより障害物を検知し、
    前記無人搬送車の走行速度に応じて、前記移動先距離よりも小さな停止距離を求め、前記停止距離を一辺とする長方形状の停止範囲内に、前記障害物を検知したときに、停止するように制御することを特徴とする請求項1記載の無人搬送車。
  8. 前記停止範囲の一辺とする停止幅は、前記無人搬送車の走行速度に応じて定められることを特徴とする請求項1記載の無人搬送車。
  9. レーザにより障害物を検知し、
    前記無人搬送車の走行速度に応じて、前記移動先距離よりも小さな停止距離と、停止幅とを求め、前記停止距離と前記停止幅を両辺とする長方形状の停止範囲内に、前記障害物を検知したときに、停止するように制御され、
    前記無人搬送車の走行速度に応じて、前記移動先距離よりも小さな減速距離と、減速幅とを求め、前記減速距離と前記減速幅を両辺とする長方形状の減速範囲内に、前記障害物を検知したときに、減速するように制御され、
    前記停止距離は、前記減速距離よりも小さいか等しく、前記停止幅は、前記減速幅よりも小さいか等しいように設定されることを特徴とする請求項1記載の無人搬送車。
  10. コントローラと、地図データと、前記地図データの表す地図の経路を示す経路データとを格納するメモリと、レーザ距離センサと、操舵輪と、前記操舵輪の操舵角を指示するプログラマブルロジックコントローラとを有する無人搬送車の走行制御方法において、
    前記コントローラにより、前記レーザ距離センサの計測結果と、前記地図データと計測されたデータとをマッチングして、現在位置を求めるステップと、
    前記コントローラが、前記経路データに設定された速度を読み取るステップと、
    前記コントローラが、前記無人搬送車の走行速度に応じて、移動先距離を決定するステップと、
    前記コントローラが、前記無人搬送車の基準点から前記移動先距離にあたる経路上の点を、移動先位置として求めるステップと、
    前記コントローラが、前記移動先位置に向かって走行するように、前記プログラマブルロジックコントローラに操舵角を指示するステップとを有することを特徴とする無人搬送車の走行制御方法。
  11. さらに、
    前記レーザ距離センサが障害物を検知するステップと、
    前記コントローラが、前記無人搬送車の走行速度に応じて、移動先距離よりも小さな減速距離を決定し、前記減速距離に基づいた減速範囲を決定するステップと、
    前記コントローラが、前記無人搬送車の走行速度に応じて、前記減速距離よりも小さいか等しい停止距離を決定し、前記減速距離に基づいた減速範囲を決定し、
    前記コントローラが、前記障害物が前記減速範囲にあると判定したときには、前記無人搬送車が減速するように制御するステップと、
    前記コントローラが、前記障害物が前記停止範囲にあると判定したときには、前記無人搬送車が停止するように制御するステップとを有することを特徴とする無人搬送車の走行制御方法。
JP2010001236A 2010-01-06 2010-01-06 無人搬送車、および、その走行制御方法 Pending JP2011141663A (ja)

Priority Applications (1)

Application Number Priority Date Filing Date Title
JP2010001236A JP2011141663A (ja) 2010-01-06 2010-01-06 無人搬送車、および、その走行制御方法

Applications Claiming Priority (1)

Application Number Priority Date Filing Date Title
JP2010001236A JP2011141663A (ja) 2010-01-06 2010-01-06 無人搬送車、および、その走行制御方法

Publications (1)

Publication Number Publication Date
JP2011141663A true JP2011141663A (ja) 2011-07-21

Family

ID=44457473

Family Applications (1)

Application Number Title Priority Date Filing Date
JP2010001236A Pending JP2011141663A (ja) 2010-01-06 2010-01-06 無人搬送車、および、その走行制御方法

Country Status (1)

Country Link
JP (1) JP2011141663A (ja)

Cited By (9)

* Cited by examiner, † Cited by third party
Publication number Priority date Publication date Assignee Title
WO2014181647A1 (ja) * 2013-05-07 2014-11-13 村田機械株式会社 自律移動体の移動制御装置、自律移動体、及び自律移動体の制御方法
KR101510250B1 (ko) * 2013-11-05 2015-04-08 주식회사 이노텍 컨베이어와 연계된 무인반송대차 모니터링 시스템 및 그 제어방법
US9200912B2 (en) 2013-11-08 2015-12-01 Hanwha Techwin Co., Ltd. Apparatus and method of controlling traveling of automatic guided vehicle
GB2548969A (en) * 2016-02-11 2017-10-04 Jaguar Land Rover Ltd Improvements in vehicle speed control
KR20180103462A (ko) * 2017-03-10 2018-09-19 현대자동차주식회사 라이더 스캔 데이터의 누적에 의한 자율주행 자동차의 위치인식 시스템 및 그 방법
CN110502018A (zh) * 2019-09-06 2019-11-26 百度在线网络技术(北京)有限公司 确定车辆安全区域的方法、装置、电子设备及存储介质
KR20200060650A (ko) * 2018-11-22 2020-06-01 현대자동차주식회사 차량 및 그 트레일러 결합 방법
WO2022237374A1 (zh) * 2021-05-14 2022-11-17 灵动科技(北京)有限公司 用于仓库中的物流车的控制方法和控制装置
US11614750B2 (en) 2018-03-28 2023-03-28 Nec Corporation Self-propelled device, self-propelling method, and recording medium

Citations (4)

* Cited by examiner, † Cited by third party
Publication number Priority date Publication date Assignee Title
JP2000172338A (ja) * 1998-12-01 2000-06-23 Kawasaki Heavy Ind Ltd 車両の走行制御装置およびそれを用いた車両
JP2001350520A (ja) * 2000-06-08 2001-12-21 Nippon Sharyo Seizo Kaisha Ltd 無人搬送車の走行制御装置
JP2002278624A (ja) * 2001-03-19 2002-09-27 Nippon Steel Corp 走行キャリア
JP2005339582A (ja) * 2005-08-09 2005-12-08 Yanmar Co Ltd 無人搬送車の走行制御機構

Patent Citations (4)

* Cited by examiner, † Cited by third party
Publication number Priority date Publication date Assignee Title
JP2000172338A (ja) * 1998-12-01 2000-06-23 Kawasaki Heavy Ind Ltd 車両の走行制御装置およびそれを用いた車両
JP2001350520A (ja) * 2000-06-08 2001-12-21 Nippon Sharyo Seizo Kaisha Ltd 無人搬送車の走行制御装置
JP2002278624A (ja) * 2001-03-19 2002-09-27 Nippon Steel Corp 走行キャリア
JP2005339582A (ja) * 2005-08-09 2005-12-08 Yanmar Co Ltd 無人搬送車の走行制御機構

Cited By (15)

* Cited by examiner, † Cited by third party
Publication number Priority date Publication date Assignee Title
WO2014181647A1 (ja) * 2013-05-07 2014-11-13 村田機械株式会社 自律移動体の移動制御装置、自律移動体、及び自律移動体の制御方法
JP2014219799A (ja) * 2013-05-07 2014-11-20 村田機械株式会社 自律移動体の移動制御装置、自律移動体、及び自律移動体の制御方法
KR101510250B1 (ko) * 2013-11-05 2015-04-08 주식회사 이노텍 컨베이어와 연계된 무인반송대차 모니터링 시스템 및 그 제어방법
US9200912B2 (en) 2013-11-08 2015-12-01 Hanwha Techwin Co., Ltd. Apparatus and method of controlling traveling of automatic guided vehicle
US10967846B2 (en) 2016-02-11 2021-04-06 Jaguar Land Rover Limited Vehicle speed control
GB2548969B (en) * 2016-02-11 2018-08-29 Jaguar Land Rover Ltd Improvements in vehicle speed control
GB2548969A (en) * 2016-02-11 2017-10-04 Jaguar Land Rover Ltd Improvements in vehicle speed control
KR20180103462A (ko) * 2017-03-10 2018-09-19 현대자동차주식회사 라이더 스캔 데이터의 누적에 의한 자율주행 자동차의 위치인식 시스템 및 그 방법
KR102283773B1 (ko) 2017-03-10 2021-07-29 현대자동차주식회사 라이더 스캔 데이터의 누적에 의한 자율주행 자동차의 위치인식 시스템 및 그 방법
US11614750B2 (en) 2018-03-28 2023-03-28 Nec Corporation Self-propelled device, self-propelling method, and recording medium
KR20200060650A (ko) * 2018-11-22 2020-06-01 현대자동차주식회사 차량 및 그 트레일러 결합 방법
KR102699142B1 (ko) 2018-11-22 2024-08-28 현대자동차주식회사 차량 및 그 트레일러 결합 방법
CN110502018A (zh) * 2019-09-06 2019-11-26 百度在线网络技术(北京)有限公司 确定车辆安全区域的方法、装置、电子设备及存储介质
CN110502018B (zh) * 2019-09-06 2022-04-12 百度在线网络技术(北京)有限公司 确定车辆安全区域的方法、装置、电子设备及存储介质
WO2022237374A1 (zh) * 2021-05-14 2022-11-17 灵动科技(北京)有限公司 用于仓库中的物流车的控制方法和控制装置

Similar Documents

Publication Publication Date Title
JP2011141663A (ja) 無人搬送車、および、その走行制御方法
CN102269994B (zh) 无人搬送车以及行驶控制方法
CN101971116B (zh) 自动移动体及其控制方法、以及控制系统
EP3088280B1 (en) Autonomous driving vehicle system
US20210284198A1 (en) Self-driving vehicle path adaptation system and method
KR101503418B1 (ko) 반자동 주차 기계
US10261511B2 (en) Mobile body and position detection device
WO2017158973A1 (ja) 自動搬送車
KR101049906B1 (ko) 자율 이동 장치 및 이의 충돌 회피 방법
WO2019026761A1 (ja) 移動体およびコンピュータプログラム
CN108369418A (zh) 用于自主车辆的虚拟线路跟随和改进方法
JP7043847B2 (ja) 無人搬送車の制御システム及び制御方法
JP2021047670A (ja) 無人搬送車の制御システム及び制御方法
JP2019036302A (ja) 無人搬送車の制御装置及び制御方法
JP4670807B2 (ja) 移動経路作成方法、自律移動体および自律移動体制御システム
JP2015055906A (ja) 移動体の走行制御手段に対して制御指令を出力する位置検出装置及び移動体システム
JP2009129016A (ja) 移動経路作成方法、自律移動体及び自律移動体制御システム
JP2009223632A (ja) 自律移動装置、及び、自律移動装置システム
JP2021056764A (ja) 移動体
CN109947105A (zh) 一种自动牵引车的调速方法和调速装置
JP2016009246A (ja) 環境地図生成制御装置、移動体、及び環境地図生成方法
JP2019067001A (ja) 移動体
JP2011141665A (ja) 無人搬送車、および、その走行制御方法
JP6687313B1 (ja) 搬送システム
JP7205220B2 (ja) 走行制御装置及び走行制御システム

Legal Events

Date Code Title Description
A621 Written request for application examination

Free format text: JAPANESE INTERMEDIATE CODE: A621

Effective date: 20120704

A711 Notification of change in applicant

Free format text: JAPANESE INTERMEDIATE CODE: A712

Effective date: 20130614

A977 Report on retrieval

Free format text: JAPANESE INTERMEDIATE CODE: A971007

Effective date: 20130724

A131 Notification of reasons for refusal

Free format text: JAPANESE INTERMEDIATE CODE: A131

Effective date: 20130730

A521 Request for written amendment filed

Free format text: JAPANESE INTERMEDIATE CODE: A523

Effective date: 20130926

A02 Decision of refusal

Free format text: JAPANESE INTERMEDIATE CODE: A02

Effective date: 20140204