JP2011104792A - 眼用レンズ成形型を分離する方法及びそれに用いる装置 - Google Patents

眼用レンズ成形型を分離する方法及びそれに用いる装置 Download PDF

Info

Publication number
JP2011104792A
JP2011104792A JP2009259282A JP2009259282A JP2011104792A JP 2011104792 A JP2011104792 A JP 2011104792A JP 2009259282 A JP2009259282 A JP 2009259282A JP 2009259282 A JP2009259282 A JP 2009259282A JP 2011104792 A JP2011104792 A JP 2011104792A
Authority
JP
Japan
Prior art keywords
mold
pressing
ophthalmic lens
concave
convex
Prior art date
Legal status (The legal status is an assumption and is not a legal conclusion. Google has not performed a legal analysis and makes no representation as to the accuracy of the status listed.)
Granted
Application number
JP2009259282A
Other languages
English (en)
Other versions
JP5428005B2 (ja
Inventor
Yasuhiko Kato
靖彦 加藤
Takuo Kato
卓雄 加藤
Current Assignee (The listed assignees may be inaccurate. Google has not performed a legal analysis and makes no representation or warranty as to the accuracy of the list.)
Menicon Nect Co Ltd
Original Assignee
Menicon Nect Co Ltd
Priority date (The priority date is an assumption and is not a legal conclusion. Google has not performed a legal analysis and makes no representation as to the accuracy of the date listed.)
Filing date
Publication date
Application filed by Menicon Nect Co Ltd filed Critical Menicon Nect Co Ltd
Priority to JP2009259282A priority Critical patent/JP5428005B2/ja
Publication of JP2011104792A publication Critical patent/JP2011104792A/ja
Application granted granted Critical
Publication of JP5428005B2 publication Critical patent/JP5428005B2/ja
Active legal-status Critical Current
Anticipated expiration legal-status Critical

Links

Images

Classifications

    • BPERFORMING OPERATIONS; TRANSPORTING
    • B29WORKING OF PLASTICS; WORKING OF SUBSTANCES IN A PLASTIC STATE IN GENERAL
    • B29DPRODUCING PARTICULAR ARTICLES FROM PLASTICS OR FROM SUBSTANCES IN A PLASTIC STATE
    • B29D11/00Producing optical elements, e.g. lenses or prisms
    • B29D11/00009Production of simple or compound lenses
    • B29D11/00038Production of contact lenses
    • B29D11/00125Auxiliary operations, e.g. removing oxygen from the mould, conveying moulds from a storage to the production line in an inert atmosphere
    • B29D11/00192Demoulding, e.g. separating lenses from mould halves
    • B29D11/00221Demoulding, e.g. separating lenses from mould halves using prying means

Landscapes

  • Engineering & Computer Science (AREA)
  • Health & Medical Sciences (AREA)
  • Manufacturing & Machinery (AREA)
  • Ophthalmology & Optometry (AREA)
  • Mechanical Engineering (AREA)
  • Moulds For Moulding Plastics Or The Like (AREA)

Abstract

【課題】本発明の目的は、成形型内の眼用レンズを、素材に負担のない処理によって迅速かつ選択的に特定の側の型に残して分離することができる方法を提供することである。
【解決手段】凸面型と凹面型を有する眼用レンズ用成形型内で重合性モノマー組成物を重合した後、凸面型と凹面型とを分離する方法であって、凸面型の周辺を固定し、凸成形面の背面より押圧して曲率を一時的に大きくする力を加える第一工程の後、凹面型の周辺を固定し、凹成形面の背面より押圧して曲率を一時的に小さくする力を加える第二工程を行うこと、を特徴とする成形型を分離する方法。
【選択図】図10

Description

本発明は、凸面型と凹面型を有する眼用レンズ成形型内で重合性モノマー組成物を重合して眼用レンズまたは眼用レンズを与えうるブランクスを成形した後、凸面型と凹面型を分離する方法及びそれに用いる装置に関する。
特に、本発明は、型を分離する際にレンズ素材に対して悪影響を与えることがないのは無論のこと、凸面型に常に成形品が残るように分離することができる型分離方法に係わるものである。
眼用レンズを製造する一つの方法として、樹脂製の成形型でレンズの形状に対応した空間を形成させ、その空間内に重合性モノマー組成物を流し込んで重合する片面モールド製法或いはモールド製法が知られている。片面モールド製法では、眼用レンズの一方の面を成形型で、他方の面を切削等の加工を施すことにより得られ、モールド製法では、重合完了時点で眼用レンズの両面が形成されるものである。いずれも大量生産が容易で、所謂使い捨てレンズと呼ばれるソフトヒドロゲルコンタクトレンズの製法として重用されている。
これらの樹脂型を用いた眼用レンズの製法では、重合性モノマー組成物が凸面型と凹面型との間で重合されるため、気泡混入を防止する或いは成形精度を向上させることを目的として、前記組成物との親和性が高い型材料が選択されることが多い。そうすると型間の眼用レンズがそれぞれの成形面に吸着して、型を開く際に、せっかく形成された面に傷や亀裂または欠損が生じるおそれがあった。また、型を開く際には、成形物を常に特定の側の型に固着させていることが重要である。片面モールド製法では一方の面を切削等の後加工がし易いように凸面型(通常、眼用レンズの内面が型にて成形されているので外面側が加工される)に固着していることが望ましく、モールド製法では、眼用レンズが固着している側の型を保持して次工程に搬送し、型から完全に剥離する必要があり、いずれの製法にあっても型を分離した後に眼用レンズがどちらの型に残存しているかは、非常に大きな問題だからである。
これらの要求に対して、以下の具体的な方法が提案されている。例えば、雄型あるいは雌型のどちらか一方に表面処理を施し、雄型の表面が雌型の表面に比べてコンタクトレンズ材料との密着性が大きくなるようにして、雄型から雌型を取り出す際に選択的に雄型側にレンズが接着しているようにする方法(特許文献1)、一方の成形面にコロナ放電処理を施すことにより、型を開けたときにコンタクトレンズが処理面側の型に付着するようにする方法(特許文献2)等がある。これらの方法によれば、レンズを特定の側の型に付着させることが可能であるが、型の表面処理に伴う処理時間、処理の均一性、処理装置が必要等の点で、必ずしも満足のいくものではなかった。
また、第1および第2金型間で重合したのち型抜き前に第2の金型に電磁放射線が照射され、これが第2の金型に吸い込まれて第2金型と型抜きされるコンタクトレンズとの間に十分な温度勾配をもたせ、第1金型内にレンズを残す方法(特許文献3)、同様に型枠の間に温度差を提供し、一方の型に挙上及び回転力を加えつつ他方の型の制動を維持して段階的に分離する方法(特許文献4)、後部曲面金型に既定量の赤外線エネルギを投射することにより、後部曲面金型とその下のレンズの間に熱勾配を与え、金型を分離する方法(特許文献5)、レンズの金型を伝導加熱する伝導性加熱プローブにより熱が後面カーブ金型によって伝導され、後面カーブ金型と取り出されるレンズとの間で温度勾配を作り、後面カーブ金型の面を差を付けて膨張させることによりレンズとの付着性を弱めて前面カーブ金型にレンズを残したままで金型を分離する方法(特許文献6)などの提案がある。これらはいずれも熱勾配を利用して一方の型を選択的に剥離しやすくしたものである。この方法は、熱という謂わば見えないものを制御することが難しく、眼用レンズとその成形型材料との親和性が高い組み合わせについて適用しても、選択性良く一方の型にレンズを残存させることについて保証することも困難であった。
特開平6−170857号公報 特開平7−195558号公報 特開平7−329204号公報 特開平8−99370号公報 特開平9−174706号公報 特開平10−71623号公報
したがって、本発明の目的は、凸面型と凹面型との間で実質的に形成される空間で重合性モノマー組成物を重合して得られる眼用レンズまたはレンズブランクを簡易な方法で分離する方法を提供することを目的とする。特に、得られるレンズを一方の型に選択的に残す方法に関する。
また、前記分離方法において、その分離工程を一連の流れとして製造ラインに組み込み、該分離工程を実施するための装置を提供することをも目的とする。
前記目的を達成するため、本発明では眼用レンズ成形面の背面側から適切な順番に押圧するだけで、後工程における処理の容易な型の方にレンズを残存させることができる方法及び該方法を実行する装置を提案するものである。
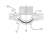
すなわち、本発明の成形型の分離方法は、凸面型10と凹面型15を有する眼用レンズ用成形型内で重合性モノマー組成物を重合した後、凸面型と凹面型とを分離する方法であって、凸面型の周辺11を固定し、凸成形面の背面12より押圧して曲率を一時的に大きくする力を加える第一工程の後(図9(a)参照)、凹面型の周辺16を固定し、凹成形面の背面17より押圧して曲率を一時的に小さくする力を加える第二工程を行う(図9(b)(c)参照)ことを特徴とする(図9参照)。
前記第一工程では凸成形面を有する型に対して押圧力を加えるものであるが、このとき型の周辺を固定しているので、固定部より内側を型の背面から押圧すると必然的に凸成形面は曲率を大きくすることができる。また、第二工程では凹成形面を有する型に対して押圧力を加えるもので、型の周辺を固定しているので、固定部よりも内側を型の背面から押圧すると凹成形面の曲率を小さくすることができる。
前記第一工程の押圧領域は、具体的には目的とする眼用レンズ成形物の直径よりも−2.0〜+1.0mmの間の環状領域に相当する部分に対して、押圧力が加えられることが好ましい。前記環状領域の全領域を押圧するよりも、その一部、好ましくは外径が眼用レンズ成形物の−2.0〜+1.0mmの円柱状の部材もしくは、前記円柱の一部に非接触部を有する部材によって押圧することが望ましい。環状領域全体を押圧する場合にはかなりの加圧力が必要だからである。
本発明の第二工程について、凹面型の周辺を固定し、円筒状の押圧治具20により眼用レンズの周辺部を凹成形面の背面より押圧して曲率を一時的に小さくする第三工程(図10(b)参照)と、柱状の押圧治具30により眼用レンズの中心部を凹成形面の背面より押圧して再度曲率を一時的に小さくする第四工程(図10(c)参照)とを含むことが好ましい。形成された眼用レンズを常に凸面成形面に残存させたままで型を開くために、凹面型に対してより作用を施すことが望ましいからである。
第三工程の押圧領域は、具体的には眼用レンズ成形物の直径よりも−1.0〜+1.0mmの間の環状領域に相当する部分に対して、押圧力が加えられることが好ましい。第一工程と同様の理由に環状領域全体を押圧するよりも、その一部、好ましくは外径は内径の+0.5〜+10mm、内径が眼用レンズ成形物の−1.0〜+1.0mmの円筒状の部材もしくは、前記円筒の一部に非接触部を有する部材によって押圧することが望ましい。
また、前記本発明の成形型を分離する方法を実施するための装置としては、凸面型の周辺を固定し、凸成形面の背面より押圧して曲率を一時的に大きくする力を加える第1手段と、凹面型の周辺を固定し、凹成形面の背面より押圧して曲率を一時的に小さくする力を加える第2手段と、を具備することを特徴とする。各手段は成形型内で重合された眼用レンズに対して直接接触することはなく、押圧される側の型についてのみ周辺が固定されていて他はフリーな状態であるため、レンズに対する物理的負荷が少ない。しかも型に挟まれた状態で処理が施されるので、眼用レンズへの負荷がより緩和されることになる。
前記第2手段はさらに、凹面型の周辺を固定しつつ、円筒状の押圧治具により眼用レンズの周辺部を凹成形面の背面より押圧して曲率を一時的に小さくする第3手段と、柱状の押圧治具により眼用レンズの中心部を凹成形面の背面より押圧して再度曲率を一時的に小さくする第4手段とからなることを特徴とする。これらの2つの手段によって、眼用レンズの前面が凹面型と分離されることを確実にすることができる。
本発明の成形型分離方法は、先ず凸面型に力を作用(第一工程)させ、次いで凹面型に作用(第二工程)させる。型を開く直前に凹面型に対して作用させることによって、眼用レンズを常に凸面型に残留させることができる。また、第二工程を第三、第四工程から構成することによって、凸面型に眼用レンズを選択的かつ確実に残留させることができるので、その後の処理にスムーズに移行することができる。
そして前記方法を実施するための本発明の装置は、作用を加える側の型を固定し、他をフリーな状態にすることにより、レンズに対する物理的な負荷を少なくして、分離工程におけるレンズの変形、破損、亀裂などの発生を防止し、レンズ良品率を低下させることがない。しかも、各手段が成形用型に対して作用するので、各型を確実に保持することにより、生産ラインに容易に組み込むことができる。
図1は第一工程に使用される治具の一例を示した図である。(a)は連続面で押圧する治具、(b)は2箇所に非接触部が(c)は6箇所に非接触部を設けた治具の例である。 図2は型の固定の仕方について示す図である。(a)は両型のつばの間で、(b)は型の周辺側面を押圧しつつ固定するものである。また、(c)はつば部分を2点で、(d)、(e)はつば全体または一部を除いて支持する状態を上方から見た概略図である。 図3は第一工程の一例を示す図である。 図4は第二または第三工程に使用される治具の一例を示す図である。 図5は第二工程の一例をを示す図である。(a)は一時的に押圧して型を変形させようとする状態を、(b)は凹面型を取り除く状態を、(c)は凸面型を持ち上げる状態をそれぞれ示している。 図6(a)は第三工程、(b)は第四工程の一例を示す図である。 図7(a)は第三工程、(b)は第四工程の他の例を示す図である。 図8は第四工程の治具の一例を示す図である。各図の上側が上方斜視図、下側が断面図である。 図9は第一工程(a)および第二工程(b)に係る一例を示す図である。 図10は第一工程(a)および第三工程(b)ならびに第四工程(c)に係る一例を示す図である。
以下に、本発明の成形型の分離方法および分離装置について順を追って詳細に説明する。
本発明方法が適用される眼用レンズの製造工程としては、眼用レンズの前面側を形成する凹面型と、後面側を形成する凸面型とから基本的になる成形型内で、重合性モノマー組成物を重合した後に、型を開く場面である。製造ラインを自動化するためには、特定の側の型に常に眼用レンズを残留させておくことが必要となる。本発明では、凸面型に眼用レンズを選択的に残留させる方法について提案するものである。このような型を利用した眼用レンズの製造方法は、重合終了と同時に眼用レンズが形成されているモールド製法と、重合終了時には一方の面(通常眼用レンズの内面側)が型により形成され、他方(眼用レンズの外面側)が眼用レンズのパワーに応じて切削などを施す片面モールド製法があるが、本発明はいずれの方法にも採用することができる。片面モールド製法では、型のデザイン設計によって眼用レンズの周辺エッジを凸面型に設けることが可能(特開昭63−3810参照)であり、これによって凸面型に選択的に残留させることが可能となりうるので、モールド製法に対して特に好適である。
片面モールド製法やモールド製法においては、型表面との間に重合収縮などにより気泡が発生することを抑えたり、重合性モノマー組成物を成形面全体に馴染みやすくするために、該組成物と親和性の高い型材料を使用することも有るが、そのような場合には重合後の眼用レンズと型とが強固に張り付いて容易に型から離れない。本発明の方法によれば、凸面型、凹面型それぞれに対して荷重をかけるので、型を分離する際に眼用レンズ素材に対する負荷が殆どない。また、重合性モノマー組成物には、重合収縮を防止するなどの目的で溶媒等を添加する場合がある。或いは、重合後の眼用レンズが室温下で柔軟な場合もある。このような場合には、型を多少変形させても眼用レンズがその変形に追随して、所望の側にレンズを残留させることが困難になりうる。本発明では、そのような場合であっても有効な技術である。また、重合性モノマー組成物には、重合収縮を防止するなどの目的で溶媒等を添加する場合がある。或いは、重合後の眼用レンズが室温下で柔軟な場合もある。このような場合には、型を多少変形させても眼用レンズがその変形に追随して、所望の側にレンズを残留させることが困難になりうる。本発明では、そのような場合であっても有効な技術である。
本発明は、重合性モノマー組成物を重合した後に凸面型と凹面型とを分離する際に、まず第一工程として凸面型の周辺を固定し、凸成形面の背面から押圧力を加えて、凸成形面の曲率を一時的に大きくする。凸成形面の曲率が大きくなるということは、凸成形面がより突出した形状に変形されることを意味する。この第一工程では、重合性モノマー組成物が、型で形成された眼用レンズ成形空間よりあふれ出た部分(以下、リング部分ということがある。通常、眼用レンズ成形空間には重合収縮や気泡が残らないことを考慮して、完全に組成物で満たしうる量以上に充填されるため、余剰分はあふれ出て、重合完了後に型を開く場合に障害となる。)が両型を接着して、型を開く場合に余計な力を加えなければならないことを防止する目的もある。つまり、重合完了後にいきなり型を分離しようとすれば、眼用レンズ成形面だけでなく前記リング部分と型との接着力にもうち勝つ力を加える必要があり、これが眼用レンズ素材に与える影響も無視できないからである。従って、第一工程では背面から加える押圧力ができるだけ眼用レンズ素材に影響しないように、後述するレンズ直径付近の領域に作用するように押圧することとなる。
第一工程における押圧力を加える部分であるが、具体的には眼用レンズ成形物の直径より−2.0〜+1.0mm、より好ましくは−1.5〜+0.5mmの環状部に相当する領域の一部である。この円環状領域を押圧するためには、円柱状または型に一部接触しない切り欠き部2を有する円柱状の治具が用いられる。具体的には図1(a)、(b)、(c)に示すような治具1により押圧する。押圧力を型に対して均等に加えるためには、円柱状の治具の中心軸3は眼用レンズの中心を通るように設計されることが好ましい。また、型との接触部4が面取りされていても良い。
このときの押圧力は、型材料によって異なるが、例えばナイロンなどの場合は5〜100kg重、好ましくは10〜50kg重の間である。押圧力が前記範囲より小さい場合にはリング部分の接着解除が充分でなく、大きい場合には眼用レンズ素材に対する悪影響のおそれがあるからである。
ところで、眼用レンズ成形用の凸面型や凹面型は一般に射出成形によって形成される樹脂型である。そして射出成形による成型品に対して冷却後の変形、ひずみなどを防止するためには、成型品の厚みがある程度均一であることが好ましい。すなわち、凸面型の凸成形面の背面は凸成形面の曲率と同心円の曲率の凹面であり、凹面型の凹成形面の背面は凹成形面の曲率と同心円の曲率の凸面を有する。このように本発明に摘要される型の形状としては、図面にも示すように縦断面を見たときにある程度均一な厚みを有することが好ましいが、それぞれ型の背面が平坦面である型を用いることを排除するものではない。
さて、第一工程において凸面型の周辺の固定の仕方について具体的には図2(a)に示すような方法が好ましいのであるが、型の周辺側面から中心部方向に押さえつける方法(図2(b))や、凸面型10の周辺につば11がある場合には、単につば部分を対角状に2点で支える(図2(c))、或いはつばに沿って周囲を支えるなど種々の方法(図2(d))がある。このときの留意点としては、押圧力が型に対して均等に加えられるように支えることが重要である。
また、第一工程における「一時的」とは、型材料によって異なるが、具体的にナイロンなどの場合は0.05〜8秒間、好ましくは0.10〜5秒間押圧力を加えることを言う。このとき、前記範囲より短い場合には、リング部分の接着解除が不完全となりやすく、前記範囲より長くしてもすでに目的を達している以上不要であり、また眼用レンズ素材への悪影響が懸念されるからである。
次に凹面型の周辺を固定し、凹成形面の背面より押圧して曲率を一時的に小さくする力を加える第二工程について説明する。第二工程では眼用レンズを凸面型に残して凹面型を分離するための操作が行われる。第一工程に関して説明した所と同様の操作については省くが、第二工程での押圧力は前記したナイロン型を例にすれば、5〜100kg重、好ましくは10〜50kg重の間である。押圧力が前記範囲より小さい場合には凹面型が分離できないことが有り、大きい場合には第二工程の目的を達している以上不要だからである。なお、第一工程、第二工程の説明で凸面型および凹面型の型材料を同じナイロンを例示して説明したが、相異なる型材料を用いることも勿論可能である。
第二工程の「一時的」とは、前記したナイロンを例とすれば、0.5〜10秒、好ましくは1〜5秒である。前記範囲より短い場合には型を開くことが困難となり、前記範囲より長くしても型が分離された後の押圧は不要だからである。
この第二工程は、型を分離するためであるが、型と眼用レンズ素材との接着力が強い場合には、第二工程に換えて、第三工程と第四工程を行うことが望ましい。
前記第三工程は、円筒状の押圧治具20により眼用レンズの周辺部を、凹成形面の背面より押圧して凹成形面の曲率を一時的に小さくするものである。円筒状の押圧治具は、円筒の一部に切り欠き部があって断片的に型を押圧するものであっても良い。但し、断片的に接触部分が偏在するものよりも一定間隔で離間された接触部を有する治具の方が均等な押圧力を作用させうるので好ましい。第三工程での押圧力は前記したナイロン型を例にすれば、5〜100kg重、好ましくは10〜50kg重の間である。また、第三工程の「一時的」とは、0.5〜10秒、好ましくは1〜5秒である。
この第三工程ではいきなり眼用レンズの前面側を全て型から離そうとするものではない。つまり円筒状の押圧治具によって眼用レンズの周辺部を集中的に離間させることを目的としているのである。このように円筒状の治具を用いることによって、凹成形面の曲率が小さくなるから、眼用レンズ前面の中心部は型と接触しているが周辺部から型が離れていくことを意味する。これにより、接着部の周辺から離間部を形成させ、型との接着面すべてを一度に引き離すことを避けて、徐々に離間部をレンズ中心部に向けて広げることができる。
第三工程で押圧する領域は具体的には、眼用レンズ成形物の直径より−1.0〜+1.0mm、好ましくは−0.5〜+0.5mmの環状部に相当する領域の一部である。前記範囲より小さい領域を押圧すると、眼用レンズ前面と型との接触領域の内側から離間させることとなって眼用レンズ素材への影響が大きくなり、前記範囲より大きい領域を押圧しても、眼用レンズ直径より外側すぎるので、離間が十分に行われないからである。なお、円筒状の押圧治具はその中心軸を眼用レンズ前面の中心軸と同軸にすることが好ましい。これにより眼用レンズ周辺に均等に力を作用させることができる。
前記第三工程に続き、柱状の押圧治具30により眼用レンズの中心部を、凹成形面の背面より押圧して再度曲率を一時的に小さくする第四工程を行う。凹面型の背面は、前記したように凹成形面の曲率に合わせるように同心円の曲率の凸面となっている。従って柱状の押圧治具で押圧した場合にはちょうど眼用レンズの中心部を押し上げることとなる。第三工程で眼用レンズの周辺部を離間させ、この第四工程で完全に眼用レンズの前面が離間して、常に凸面型に眼用レンズを残して型をひらくことができるのである。
第四工程での押圧力は前記したナイロン型を例にすれば、2〜60kg重、好ましくは4〜30kg重の間である。また、第四工程の「一時的」とは、0.1〜5秒、好ましくは0.2〜3秒である。前記範囲未満の場合には、眼用レンズの離間が充分でなく、前記範囲より大きな力或いは長い時間押圧しても、既に眼用レンズが離間した後であるため操作が無駄になるからである。
ここまで型材料はナイロンを中心として説明してきたが、型に使用する樹脂は、安価で取り扱いやすいように、例えばポリエチレン、ポリプロピレン、エチレンビニルアセテート、プロピレンコポリマー、ポリスチレン等から適宜選択される熱可塑性プラスチック材料から構成される。これらは、使用する重合性モノマー組成物と型材料との親和性および熱重合か紫外線等の光重合によるのかによって適宜選択される。
また本発明の眼用レンズを形成する重合性モノマー組成物は、光学レンズの機能を発揮し型分離によって光学的な影響をうけないものであればどのような材料であっても良く、例えばメチル(メタ)アクリレート、エチル(メタ)アクリレート等のアルキル(メタ)アクリレートをはじめ、スチレンモノマーや、シリコン含有モノマー、フッ素含有モノマー、N−ビニルピロリドン、ジメチルアクリルアミド、などのレンズ材料として用いられる一般的な各種モノマーを適宜組み合わせて重合した材料からなる。そして例えば、N−ビニルピロリドン、ジメチルアクリルアミドなどのモノマーを使用した場合には、型材料としてナイロンが好ましい。
次に本発明の凸面型と凹面型を分離する方法を実現する装置について説明する。本発明の型分離装置は、成形型を用いた重合の後、凸面型に眼用レンズを残して、凹面型を分離するための装置である。その構成は、凸面型の周辺を固定し、凸成形面の背面より押圧して曲率を一時的に大きくする力を加える第1手段と、凹面型の周辺を固定し、凹成形面の背面より押圧して曲率を一時的に小さくする力を加える第2手段と、を備えている。
重合装置から出てきた成形型は、個別にまたは一定のグループごとに型分離装置まで運ばれる。このときの搬送方法としては、成形型を吸引する、フィンガー様の機構により挟む、あるいはベルトコンベアやレール上を移動するなど公知の方法によって搬送することができる。装置に到着すると、凸面型10の周辺11が固定される。具体的には図3に示すように凸面型10と凹面型15との間に拘束フィンガー6を挿入する。ここでの拘束力はそれほど重要ではない。次の押圧治具7によって力が加えられれば、必然的に型が固定されるからである。図では凸面型が上に、凹面型が下にした状態が例示されているが、これが上下逆で有っても良く、押圧治具の配置に合わせて構成すれば良い。
拘束フィンガーにより保持された凸面型の上方に、眼用レンズの中心と同心軸で押圧治具が配置される。押圧治具は同心軸8に沿って降下し凸成形面の背面側に接触するまで降下し、一旦停止される。必ずしも停止することは必須ではないが、例えば、成形型(眼用レンズ)の中心と押圧治具の中心軸が多少ずれていても、この一時停止により成形型が拘束フィンガー上を移動して同心位置に調整することができるからである。なお、これは凸面型の背面が凹面であって凸成形面と該凹面との中心が同軸にある場合に特に有効である。
次に、押圧治具が凸面型の背面を押圧し、結果として凸成形面の曲率が大きくなる。このときの押圧速度は、2〜200mm/秒程度であり、目的とする眼用レンズ材料と型材料の組み合わせによって適宜選択する。押圧力、押圧時間等は前記した範囲内にて行われ、まず眼用レンズ以外(リング部分9)の両型の接着を解除する。続いて第2手段の拘束フィンガーが凹面型の周辺を固定する。この拘束フィンガーは第1手段と共通にしても良く、第2手段用の別の拘束フィンガーであっても良い。ちなみに図3では、拘束フィンガーが共通のものを使用した場合を示している。
そして凹面型15の下方に、眼用レンズ5の中心と同心軸8で押圧治具21が配置され、押圧治具が同心軸に沿って上昇し凹成形面の背面側17に位置して、凹面型を押し上げる。第2手段用の押圧治具の押圧速度は2〜200mm/秒であり、その他の押圧条件は前記方法発明で説明した通りである。その結果凹成形面の曲率が小さくなる方向に押圧されるので、眼用レンズが凹面型から離れて凸面型に残留した状態で型が開かれる(図5)。このとき押圧治具側から吸引により凹面型15を引っ張るようにして下降すると良い(図5(b))。逆に、凸面型10を上昇させることも可能である(図5(c))。
このように、第1手段は、本発明の第一工程を実施するものに相当し、第2手段は、第二工程を実施するものに相当する。重合性モノマー組成物と型材料との親和性が非常に高い場合には、これらの手段だけで常に凸面型に眼用レンズを残して型を開くことが困難な場合がある。そこで第2手段に換えて、円筒状の押圧治具により眼用レンズの周辺部を、凹成形面の背面より押圧して曲率を一時的に小さくする第3手段と、柱状の押圧治具により眼用レンズの中心部を、凹成形面の背面より押圧して再度曲率を一時的に小さくする第4手段とを備える装置にすることが好ましい。
第3手段は、円筒状の押圧治具20によってまず眼用レンズの周辺部を型から離すことを目的としている。そのためこの治具で押圧される領域は前記のように、眼用レンズ成形物の直径より−1.0〜+1.0mm、好ましくは−0.5〜+0.5mmの環状部に相当する領域の一部である。具体的には図4に示すような円筒状の端面25を有する治具が用いられる。この押圧治具の動きについては前記第2手段と、押圧条件は方法発明で説明した第三工程と、それぞれ同様であるためここでは説明を省略する。またこのときの型周辺を固定する拘束フィンガーについても同様である。なお、凹面型の背面が凸面である場合には、押圧治具の端面についてすり鉢状に面取り26が施され、適度な幅(具体的には0.1〜1mm)を持って押圧するように構成させることができる。押圧治具の円環状での接点が線接触とした場合、型材料に治具が食込み型を破損するだけでなく眼用レンズ素材に対しても悪影響を及ぼすことがないようにするためである。
第3手段に続いて第4手段によって、今度は眼用レンズ中心部に対して凹面型の背面より力を作用させる。このときの拘束フィンガーについては第3手段に使用したのと同じものを使用するほうが、装置構成上合理的である。押圧治具については第3手段の押圧治具を型から離間させたのち、柱状の押圧治具31を凹面型の中心軸8と同軸上に移動させ、中心軸に沿って上方に押し上げることができる(図6参照)。また、別の構成としては、第3手段の円筒状の押圧治具20の筒内に予め柱状の押圧治具30が備えられており、円筒状押圧治具を下降させつつ柱状の押圧治具を上昇させることも可能である(図7参照)。この押圧治具の端面35(押圧面)は、平坦面であっても良く(図8(a))、凹面型の背面が凸面である場合に該凸面の曲率に応じた凹面とする(図8(b))ことも可能である。その他、複数の半球状の凸部36を端面に配置(図8(c))して、型に対して分散した力を及ぼすようにしても良い。これらの具体的な各種形状については図8を参照されたい。
本発明の型分離方法及び分離装置については前記の通りであるが、以下に幾つかの実施例を挙げて、本発明の効果について述べる。
図3に示したポリスチレン製の雄型10と雌型15よりなる眼用レンズ成形型内に、ヒドロキシエチルメタクリレート95部、メタクリル酸3部、架橋剤エチレングリコールジメタクリレート0.2部、重合開始剤として0.5部の2−ヒドロキシ−2−メチル−1−フェニル−プロパン−1−オンからなる重合性モノマー組成物を充填し、紫外線照射によって重合した。
重合後の型を開く前の眼用レンズ成形型の断面は図3に示す通りである。図には眼用レンズ部分以外にその両端に余剰の重合性モノマー組成物が硬化していることが分かる。
この眼用レンズ成形型を本発明の型分離装置に搬送して、凸面型の周辺フランジで保持した。そして凸成形面の背面から図3に示すように押圧して曲率を一時的に大きくする力を加えた(第一工程)。このときの押圧治具の降下速度は50mm/秒であり、押圧部は眼用レンズの直径より+1.0mmの位置であり、押圧力は15kg重、押圧時間は1秒である。
次に図5に示すように下方から凹面型の背面を押し上げた(第二工程)。このときの押圧治具の上昇速度は50mm/秒であり、押圧部は眼用レンズの直径より+0.5mmの位置であり、押圧力は15kg重、押圧時間は1秒である。そして押圧治具側から吸引しつつ下降させることにより図5(b)に示すような動作により凹面型を取り除いた。
前記型分離処理を全10枚の眼用レンズに対して施したところ、全ての眼用レンズが確実に凸面型側に固定された状態で型を開くことができ、水和後のレンズ検査でも破れなどの破損がなく、光学的機能を保持した含水性の眼用レンズが得られた。
比較として前記第一工程を実施しない場合について同様に行ったところ、全10枚中、2枚の眼用レンズが凹面型側に残留し、選択的な型開きが行えなかった。
図3と同様のナイロン製の雄型と雌型よりなる眼用レンズ成形型内に、メチルメタクリレートを主成分としエチレングリコールジメタクリレート等の多官能モノマーを含む成分から成るマクロモノマーを24部、メチルメタクリレート28部、ジメチルアクリルアミド57部、N−ビニルピロリドン19部、着色成分メタクリロイル化テトラアミノ銅フタロシアニン0.007部、架橋剤エチレングリコールジメタクリレート0.3部、重合開始剤2,2′−アゾビスイソブチロニトリル0.04部からなる重合性モノマー組成物を充填し、90℃にて30分間重合した。
この組み合わせでは、重合性モノマー組成物と型材料との親和性が強いので、第三、第四工程を実施した。すなわち、まず凸成形面の背面から図10(a)に示すように押圧して曲率を一時的に大きくする力を加えた(第一工程)。このときの押圧治具の降下速度は50mm/秒であり、押圧部は眼用レンズの直径より−0.5mmの位置であり、押圧力は30kg重、押圧時間は2秒である。
次に図10(b)に示すように下方から凹面型の背面を押し上げた(第三工程)。このときの押圧治具の上昇速度は50mm/秒であり、押圧部は眼用レンズの直径より−0.2mmの位置であり、押圧力は30kg重、押圧時間は2秒である。
続いて図10(c)に示すように再度下方から凹面型の背面を押し上げた(第四工程)。このときの押圧治具の上昇速度は50mm/秒であり、押圧部は眼用レンズの中心であり、押圧力は30kg重、押圧時間は1秒である。
前記型分離処理を全10枚の眼用レンズに対して施したところ、全ての眼用レンズが確実に凸面型側に固定された状態で型を開くことができ、水和後のレンズ検査でも破れなどの破損がなく、光学的機能を保持した含水性の眼用レンズが得られた。
比較として前記第四工程を実施しない場合について同様に行ったところ、全10枚中、3枚の眼用レンズが凹面型側に残留し、選択的な型開きが行えなかった。
本発明の型分離方法によれば、眼用レンズと成形型が強固に固着しているような場合であっても、眼用レンズ素材の物性に悪影響を与えることなく確実にレンズを凸面型に残して分離することができる。また本発明の装置は、自動化が容易に行えるので、眼用レンズの製造ラインに組み込むことで良品率の向上した量産システムの構築が可能である。
1 第一工程の押圧治具
2 切り欠き部
3、8 中心軸
4 型との接触部
5 眼用レンズ
6 拘束フィンガー
10 凸面型
11、16 つば
15 凹面型
20 第三工程の押圧治具
21 第二工程の押圧治具
30、31 第四工程の押圧治具

Claims (6)

  1. 凸面型と凹面型を有する眼用レンズ用成形型内で重合性モノマー組成物を重合した後、凸面型と凹面型とを分離する方法であって、
    凸面型の周辺を固定し、凸成形面の背面より押圧して曲率を一時的に大きくする力を加える第一工程の後、
    凹面型の周辺を固定し、凹成形面の背面より押圧して曲率を一時的に小さくする力を加える第二工程を行うこと、
    を特徴とする成形型を分離する方法。
  2. 前記第一工程の押圧領域が、眼用レンズ成形物の直径より−2.0〜+1.0mmの環状部に相当する領域の一部であることを特徴とする請求項1記載の方法。
  3. 前記第二工程が、円筒状の押圧治具により眼用レンズの周辺部を、凹成形面の背面より押圧して曲率を一時的に小さくする第三工程と、
    柱状の押圧治具により眼用レンズの中心部を、凹成形面の背面より押圧して再度曲率を一時的に小さくする第四工程を行うことを特徴とする請求項1または2に記載の方法。
  4. 前記第三工程の押圧領域が、眼用レンズ成形物の直径より−1.0〜+1.0mmの環状部に相当する領域の一部であることを特徴とする請求項3に記載の方法。
  5. 凸面型と凹面型を有する眼用レンズ用成形型内で重合性モノマー組成物を重合した後、凸面型と凹面型とを分離する装置であって、
    凸面型の周辺を固定し、凸成形面の背面より押圧して曲率を一時的に大きくする力を加える第1手段と、
    凹面型の周辺を固定し、凹成形面の背面より押圧して曲率を一時的に小さくする力を加える第2手段と、
    を具備することを特徴とする成形型を分離する装置。
  6. 前記第2手段が、円筒状の押圧治具により眼用レンズの周辺部を、凹成形面の背面より押圧して曲率を一時的に小さくする第3手段と、
    柱状の押圧治具により眼用レンズの中心部を、凹成形面の背面より押圧して再度曲率を一時的に小さくする第4手段とからなることを特徴とする請求項5に記載の装置。
JP2009259282A 2009-11-12 2009-11-12 眼用レンズ成形型を分離する方法及びそれに用いる装置 Active JP5428005B2 (ja)

Priority Applications (1)

Application Number Priority Date Filing Date Title
JP2009259282A JP5428005B2 (ja) 2009-11-12 2009-11-12 眼用レンズ成形型を分離する方法及びそれに用いる装置

Applications Claiming Priority (1)

Application Number Priority Date Filing Date Title
JP2009259282A JP5428005B2 (ja) 2009-11-12 2009-11-12 眼用レンズ成形型を分離する方法及びそれに用いる装置

Publications (2)

Publication Number Publication Date
JP2011104792A true JP2011104792A (ja) 2011-06-02
JP5428005B2 JP5428005B2 (ja) 2014-02-26

Family

ID=44228868

Family Applications (1)

Application Number Title Priority Date Filing Date
JP2009259282A Active JP5428005B2 (ja) 2009-11-12 2009-11-12 眼用レンズ成形型を分離する方法及びそれに用いる装置

Country Status (1)

Country Link
JP (1) JP5428005B2 (ja)

Cited By (4)

* Cited by examiner, † Cited by third party
Publication number Priority date Publication date Assignee Title
US20180104919A1 (en) * 2016-10-14 2018-04-19 Novartis Ag Method for producing contact lenses
CN111319201A (zh) * 2016-09-30 2020-06-23 Hoya株式会社 分离夹具
TWI714546B (zh) * 2014-12-19 2021-01-01 英商古柏威順國際控股有限合夥公司 將一隱形鏡片從攜載一隱形鏡片之一鏡片模具部分移除之方法、用於將一隱形鏡片從一鏡片模具部分移除之裝置、脫鏡片站及用於生產隱形鏡片之製造線
US11279103B2 (en) * 2016-10-14 2022-03-22 Alcon Inc. Method for producing contact lenses

Families Citing this family (1)

* Cited by examiner, † Cited by third party
Publication number Priority date Publication date Assignee Title
JP6916932B2 (ja) * 2016-09-30 2021-08-11 Hoya株式会社 コンタクトレンズの製造方法およびコンタクトレンズの製造装置

Citations (2)

* Cited by examiner, † Cited by third party
Publication number Priority date Publication date Assignee Title
JP2002515837A (ja) * 1996-11-06 2002-05-28 ボシュ アンド ロム インコーポレイテッド コンタクトレンズの金型部分からの分離方法および装置
JP2003103537A (ja) * 2001-09-28 2003-04-09 Tomey Corp レンズ型開き手段及び方法

Patent Citations (2)

* Cited by examiner, † Cited by third party
Publication number Priority date Publication date Assignee Title
JP2002515837A (ja) * 1996-11-06 2002-05-28 ボシュ アンド ロム インコーポレイテッド コンタクトレンズの金型部分からの分離方法および装置
JP2003103537A (ja) * 2001-09-28 2003-04-09 Tomey Corp レンズ型開き手段及び方法

Cited By (8)

* Cited by examiner, † Cited by third party
Publication number Priority date Publication date Assignee Title
TWI714546B (zh) * 2014-12-19 2021-01-01 英商古柏威順國際控股有限合夥公司 將一隱形鏡片從攜載一隱形鏡片之一鏡片模具部分移除之方法、用於將一隱形鏡片從一鏡片模具部分移除之裝置、脫鏡片站及用於生產隱形鏡片之製造線
CN111319201A (zh) * 2016-09-30 2020-06-23 Hoya株式会社 分离夹具
EP3521905A4 (en) * 2016-09-30 2020-11-18 Hoya Corporation METHOD OF MANUFACTURING A CONTACT LENS
CN111319201B (zh) * 2016-09-30 2022-05-31 Hoya株式会社 分离夹具
EP4020064A1 (en) * 2016-09-30 2022-06-29 Hoya Corporation Method for manufacturing contact lens
US11628639B2 (en) 2016-09-30 2023-04-18 Hoya Corporation Contact lens manufacturing method
US20180104919A1 (en) * 2016-10-14 2018-04-19 Novartis Ag Method for producing contact lenses
US11279103B2 (en) * 2016-10-14 2022-03-22 Alcon Inc. Method for producing contact lenses

Also Published As

Publication number Publication date
JP5428005B2 (ja) 2014-02-26

Similar Documents

Publication Publication Date Title
JP5053255B2 (ja) 光学レンズ上に平坦なフィルムを適合するための装置
JP5428005B2 (ja) 眼用レンズ成形型を分離する方法及びそれに用いる装置
JP5128308B2 (ja) 眼内レンズ製造方法
JP3776149B2 (ja) 眼内装用レンズの型抜きの方法及びその装置
JP2018514426A (ja) 積層造形装置
EP0985520A2 (en) Mold assembly for forming opthalmic lens, method of producing the same, and method of producing opthalmic lens using the mold assembly
US11358353B2 (en) Method for producing contact lenses
JP2004507377A (ja) 眼用装置を作成するための金型
JPH0890666A (ja) コンタクトレンズ製造用金型部品およびその金型部品の成形方法
TW200821141A (en) Delensing of ophthalmic lenses using gas
EP3526016B1 (en) Method for producing contact lenses
TWI714546B (zh) 將一隱形鏡片從攜載一隱形鏡片之一鏡片模具部分移除之方法、用於將一隱形鏡片從一鏡片模具部分移除之裝置、脫鏡片站及用於生產隱形鏡片之製造線
CN109803815B (zh) 制造接触镜片的方法
US20050212155A1 (en) Method for producing contact lenses
JP2006501089A (ja) レンズを前方の型枠半体から乾式にはずすための方法および装置
JP4695797B2 (ja) レンズ型開き手段及び方法
TW200526399A (en) Apparatus and method for handling an ophthalmic lens
CA2586407C (en) Methods of demolding ophthalmic lenses
JP2008265070A (ja) プラスチックレンズの製造方法及び同離型方法
US10077202B2 (en) Method for manufacturing optical element
KR102000857B1 (ko) 안과용 렌즈를 제조하기 위한 방법 및 장치
KR20220147077A (ko) 웨이퍼를 열형성하고 상기 웨이퍼를 포함하는 안과용 렌즈를 사출 몰딩하기 위한 연신 중합체를 갖는 웨이퍼의 제조 방법
CN111483099B (zh) 用于隐形眼镜脱模的模具及其方法
TW200817156A (en) Reduction of excess polymeric flash ring
JP4247349B2 (ja) コンタクトレンズの閉鎖型成形装置、該装置に用いる金型ブロック、及び該金型を用いたコンタクトレンズの製造方法

Legal Events

Date Code Title Description
A621 Written request for application examination

Free format text: JAPANESE INTERMEDIATE CODE: A621

Effective date: 20120706

A977 Report on retrieval

Free format text: JAPANESE INTERMEDIATE CODE: A971007

Effective date: 20131018

TRDD Decision of grant or rejection written
A01 Written decision to grant a patent or to grant a registration (utility model)

Free format text: JAPANESE INTERMEDIATE CODE: A01

Effective date: 20131023

A61 First payment of annual fees (during grant procedure)

Free format text: JAPANESE INTERMEDIATE CODE: A61

Effective date: 20131101

R150 Certificate of patent or registration of utility model

Free format text: JAPANESE INTERMEDIATE CODE: R150

Ref document number: 5428005

Country of ref document: JP

Free format text: JAPANESE INTERMEDIATE CODE: R150

S531 Written request for registration of change of domicile

Free format text: JAPANESE INTERMEDIATE CODE: R313531

R350 Written notification of registration of transfer

Free format text: JAPANESE INTERMEDIATE CODE: R350

R250 Receipt of annual fees

Free format text: JAPANESE INTERMEDIATE CODE: R250

R250 Receipt of annual fees

Free format text: JAPANESE INTERMEDIATE CODE: R250

R250 Receipt of annual fees

Free format text: JAPANESE INTERMEDIATE CODE: R250

R250 Receipt of annual fees

Free format text: JAPANESE INTERMEDIATE CODE: R250

R250 Receipt of annual fees

Free format text: JAPANESE INTERMEDIATE CODE: R250

R250 Receipt of annual fees

Free format text: JAPANESE INTERMEDIATE CODE: R250

R250 Receipt of annual fees

Free format text: JAPANESE INTERMEDIATE CODE: R250

R250 Receipt of annual fees

Free format text: JAPANESE INTERMEDIATE CODE: R250

R250 Receipt of annual fees

Free format text: JAPANESE INTERMEDIATE CODE: R250

R250 Receipt of annual fees

Free format text: JAPANESE INTERMEDIATE CODE: R250