JP2011102932A - 表示装置およびその駆動方法、電子機器、ならびに表示パネル - Google Patents
表示装置およびその駆動方法、電子機器、ならびに表示パネル Download PDFInfo
- Publication number
- JP2011102932A JP2011102932A JP2009258318A JP2009258318A JP2011102932A JP 2011102932 A JP2011102932 A JP 2011102932A JP 2009258318 A JP2009258318 A JP 2009258318A JP 2009258318 A JP2009258318 A JP 2009258318A JP 2011102932 A JP2011102932 A JP 2011102932A
- Authority
- JP
- Japan
- Prior art keywords
- signal
- scanning lines
- line
- transistor
- pixels
- Prior art date
- Legal status (The legal status is an assumption and is not a legal conclusion. Google has not performed a legal analysis and makes no representation as to the accuracy of the status listed.)
- Pending
Links
Images
Landscapes
- Electroluminescent Light Sources (AREA)
- Control Of Indicators Other Than Cathode Ray Tubes (AREA)
- Control Of El Displays (AREA)
Abstract
【課題】まとめ駆動における筋ムラの発生を抑制することの可能な表示装置およびその駆動方法ならびに電子機器を提供する。
【解決手段】行列状に配置された複数の画素13を、3×3ごとにブロック15とみなして概念的に分離すると、各ブロック15には、3つの信号線DTLが接続されている。各ブロック15において、1つ目の信号線DTLが1ライン目の表示画素14に含まれる画素13R、画素13G、および画素13に接続されており、2つ目の信号線DTLが2ライン目の表示画素14に含まれる画素13R、画素13G、および画素13に接続されており、3つ目の信号線DTLが3ライン目の表示画素14に含まれる画素13R、画素13G、および画素13に接続されている。
【選択図】図3
【解決手段】行列状に配置された複数の画素13を、3×3ごとにブロック15とみなして概念的に分離すると、各ブロック15には、3つの信号線DTLが接続されている。各ブロック15において、1つ目の信号線DTLが1ライン目の表示画素14に含まれる画素13R、画素13G、および画素13に接続されており、2つ目の信号線DTLが2ライン目の表示画素14に含まれる画素13R、画素13G、および画素13に接続されており、3つ目の信号線DTLが3ライン目の表示画素14に含まれる画素13R、画素13G、および画素13に接続されている。
【選択図】図3
Description
本発明は、画素ごとに配置した発光素子で画像を表示する表示装置およびその駆動方法に関する。また、本発明は、上記表示装置を備えた電子機器に関する。さらに、本発明は、画素ごとに配置した発光素子で画像を表示する表示パネルに関する。
近年、画像表示を行う表示装置の分野では、画素の発光素子として、流れる電流値に応じて発光輝度が変化する電流駆動型の光学素子、例えば有機EL(electro luminescence)素子を用いた表示装置が開発され、商品化が進められている。
有機EL素子は、液晶素子などと異なり自発光素子である。そのため、有機EL素子を用いた表示装置(有機EL表示装置)では、光源(バックライト)が必要ないので、光源を必要とする液晶表示装置と比べて画像の視認性が高く、消費電力が低く、かつ素子の応答速度が速い。
有機EL表示装置では、液晶表示装置と同様、その駆動方式として単純(パッシブ)マトリクス方式とアクティブマトリクス方式とがある。前者は、構造が単純であるものの、大型かつ高精細の表示装置の実現が難しいなどの問題がある。そのため、現在では、アクティブマトリクス方式の開発が盛んに行なわれている。この方式は、画素ごとに配した発光素子に流れる電流を、発光素子ごとに設けた駆動回路内に設けた能動素子(一般にはTFT(Thin Film Transistor;薄膜トランジスタ))によって制御するものである。
ところで、一般的に、有機EL素子の電流−電圧(I−V)特性は、時間の経過に従って劣化(経時劣化)する。有機EL素子を電流駆動する画素回路では、有機EL素子のI−V特性が経時変化すると、有機EL素子と、有機EL素子に直列に接続された駆動トランジスタとの分圧比が変化するので、駆動トランジスタのゲート−ソース間電圧(電位差Vgs)も変化する。その結果、駆動トランジスタに流れる電流値が変化するので、有機EL素子に流れる電流値も変化し、その電流値に応じて発光輝度も変化する。
また、駆動トランジスタにおいて、閾値電圧Vthや移動度μが経時的に変化したり、製造プロセスのばらつきによって画素回路ごとに異なったりする場合がある。駆動トランジスタの閾値電圧Vthや移動度μが画素回路ごとに異なる場合には、駆動トランジスタに流れる電流値が画素回路ごとにばらつく。その結果、駆動トランジスタのゲートに同じ電圧を印加しても、有機EL素子の発光輝度がばらつき、画面の一様性(ユニフォーミティ)が損なわれる。
そこで、有機EL素子のI−V特性が経時変化したり、駆動トランジスタの閾値電圧Vthや移動度μが経時変化したりしても、それらの影響を受けることなく、有機EL素子の発光輝度を一定に保つようにするために、駆動トランジスタの閾値電圧Vthや移動度μを補正する方策が提案されている(例えば、特許文献1参照)。
ところで、上記の有機EL表示装置において、フルハイビジョンのパネルを用いた場合に、そのパネルを例えば120Hz程度のハイフレームレートで駆動すると、駆動トランジスタの閾値補正と信号書き込みを行う時間が不足してしまう。そこで、複数ラインの閾値補正をまとめて行い、信号書き込みのみを順番に行う方法(以下、「まとめ駆動」と称する)が考えられる。しかし、まとめ駆動では、閾値補正を行ってから信号書き込みを行うまでの時間が、閾値補正をまとめて行った複数ラインにおいて、ラインごとに異なってしまう。これにより、駆動トランジスタの電流リーク時間も、閾値補正をまとめて行った複数ラインにおいて、ラインごとに異なってしまうので、ラインごとに発光輝度に差が生じ、筋ムラが発生してしまうという問題があった。
本発明はかかる問題点に鑑みてなされたもので、その目的は、まとめ駆動における筋ムラの発生を抑制することの可能な表示装置およびその駆動方法、電子機器、ならびに表示パネルに関する。
本発明の表示装置は、表示部と、駆動部とを備えたものである。表示部は、行状に配置された複数の走査線と、列状に配置された複数の信号線と、行列状に配置された複数の画素とを含む表示部とを含んでいる。駆動部は、映像信号に基づいて各画素を駆動するようになっている。複数の走査線は、複数の赤色用走査線と、複数の緑色用走査線と、複数の青色用走査線とを含んでいる。複数の画素は、赤色用走査線に接続された複数の赤色用の画素と、緑色用走査線に接続された複数の緑色用の画素と、青色用走査線に接続された複数の青色用の画素とを含んでいる。各画素は、発光素子および画素回路を有している。画素回路は、発光素子に流れる電流を制御する第1トランジスタと、信号線の電圧を第1トランジスタに書き込む第2トランジスタとを有している。駆動部は、所定の信号を各信号線に印加し続けている間に、複数の赤色用走査線のうち1または複数の第1走査線、複数の緑色用走査線のうち1または複数の第2走査線、および複数の青色用走査線のうち1または複数の第3走査線に対して第2トランジスタをオンする第1パルス信号を印加して第1トランジスタの閾値電圧を補正するようになっている。駆動部は、閾値補正を行ったのち、赤色用の映像信号を各信号線に印加している間に1または複数の第1走査線に対して第2トランジスタをオンする第2パルス信号を印加して信号書き込みを行うようになっている。また、駆動部は、閾値補正を行ったのち、緑色用の映像信号を各信号線に印加している間に1または複数の第2走査線に対して第2トランジスタをオンする第3パルス信号を印加して信号書き込みを行うようになっている。また、駆動部は、閾値補正を行ったのち、青色用の映像信号を各信号線に印加している間に1または複数の第3走査線に対して第2トランジスタをオンする第4パルス信号を印加して信号書き込みを行うようになっている。
本発明の電子機器は、上記表示装置を備えたものである。
本発明の表示装置の駆動方法は、以下の構成を備えた表示装置において、以下の4つのステップを含むものである。
(A)所定の信号を各信号線に印加し続けている間に、複数の赤色用走査線のうち1または複数の第1走査線、複数の緑色用走査線のうち1または複数の第2走査線、および複数の青色用走査線のうち1または複数の第3走査線に対して第2トランジスタをオンする第1パルス信号を印加して第1トランジスタの閾値電圧を補正すること
(B)閾値補正を行ったのち、赤色用の映像信号を各信号線に印加している間に1または複数の第1走査線に対して第2トランジスタをオンする第2パルス信号を印加して信号書き込みを行うこと
(C)閾値補正を行ったのち、緑色用の映像信号を各信号線に印加している間に1または複数の第2走査線に対して第2トランジスタをオンする第3パルス信号を印加して信号書き込みを行うこと
(D)閾値補正を行ったのち、青色用の映像信号を各信号線に印加している間に1または複数の第3走査線に対して第2トランジスタをオンする第4パルス信号を印加して信号書き込みを行うこと
(A)所定の信号を各信号線に印加し続けている間に、複数の赤色用走査線のうち1または複数の第1走査線、複数の緑色用走査線のうち1または複数の第2走査線、および複数の青色用走査線のうち1または複数の第3走査線に対して第2トランジスタをオンする第1パルス信号を印加して第1トランジスタの閾値電圧を補正すること
(B)閾値補正を行ったのち、赤色用の映像信号を各信号線に印加している間に1または複数の第1走査線に対して第2トランジスタをオンする第2パルス信号を印加して信号書き込みを行うこと
(C)閾値補正を行ったのち、緑色用の映像信号を各信号線に印加している間に1または複数の第2走査線に対して第2トランジスタをオンする第3パルス信号を印加して信号書き込みを行うこと
(D)閾値補正を行ったのち、青色用の映像信号を各信号線に印加している間に1または複数の第3走査線に対して第2トランジスタをオンする第4パルス信号を印加して信号書き込みを行うこと
上記駆動方法が用いられる表示装置は、表示部と、駆動部とを備えたものである。表示部は、行状に配置された複数の走査線と、列状に配置された複数の信号線と、行列状に配置された複数の画素とを含む表示部とを含んでいる。駆動部は、映像信号に基づいて各画素を駆動するようになっている。複数の走査線は、複数の赤色用走査線と、複数の緑色用走査線と、複数の青色用走査線とを含んでいる。複数の画素は、赤色用走査線に接続された複数の赤色用の画素と、緑色用走査線に接続された複数の緑色用の画素と、青色用走査線に接続された複数の青色用の画素とを含んでいる。各画素は、発光素子および画素回路を有している。画素回路は、発光素子に流れる電流を制御する第1トランジスタと、信号線の電圧を第1トランジスタに書き込む第2トランジスタとを有している。
本発明の表示装置およびその駆動方法ならびに電子機器では、複数ラインの閾値補正をまとめて行い、信号書き込みを順番に行う「まとめ駆動」を行う際に、信号書き込みが、画素の色ごとに順番に行われる。これにより、第1トランジスタの電流リーク量がラインごとに大きく変わらなくなるので、ラインごとの発光輝度の差を低減することができる。
本発明の表示パネルは、複数の赤色用走査線と、複数の緑色用走査線と、複数の青色用走査線と、複数の信号線と、複数の赤色用の画素、複数の緑色用の画素、および複数の青色用の画素とを備えたものである。複数の赤色用走査線、複数の緑色用走査線、および複数の青色用走査線は、色ごとに行状に配置されると共に、列方向に周期的に配置されている。複数の赤色用の画素、複数の緑色用の画素、および複数の青色用の画素は、色ごとに列状に配置されると共に、行方向に周期的に配置されている。各赤色用走査線は、複数の赤色用の画素のうち3つの画素に接続されている。各緑色用走査線は、複数の緑色用の画素のうち3つの画素に接続されている。各青色用走査線は、複数の青色用の画素のうち3つの画素に接続されている。各信号線は、赤色用の画素、緑色用の画素、および青色用の画素に接続されている。
本発明の表示パネルでは、複数ラインの閾値補正をまとめて行い、信号書き込みを順番に行う「まとめ駆動」を行う際に、信号書き込みを、画素の色ごとに順番に行うことが可能である。そのため、そのような駆動を行った場合には、第1トランジスタの電流リーク量がラインごとに大きく変わらなくなるので、ラインごとの発光輝度の差を低減することができる。
本発明の表示装置およびその駆動方法ならびに電子機器によれば、まとめ駆動を行う際に、信号書き込みを、画素の色ごとに順番に行うことにより、ラインごとの発光輝度の差を低減するようにした。これにより、まとめ駆動における筋ムラの発生を抑制することができる。
本発明の表示パネルによれば、まとめ駆動を行う際に、信号書き込みを画素の色ごとに順番に行うことができるような構成にした。これにより、ラインごとの発光輝度の差を低減することができるので、まとめ駆動における筋ムラの発生を抑制することができる。
以下、発明を実施するための形態について、図面を参照して詳細に説明する。なお、説明は以下の順序で行う。
1.実施の形態(図1〜図9)
2.モジュールおよび適用例(図10〜図15)
1.実施の形態(図1〜図9)
2.モジュールおよび適用例(図10〜図15)
<実施の形態>
(表示装置1の概略構成)
図1は、本発明の一実施の形態に係る表示装置1の全体構成の一例を表したものである。この表示装置1は、表示パネル10(表示部)と、駆動回路20(駆動部)とを備えている。
(表示装置1の概略構成)
図1は、本発明の一実施の形態に係る表示装置1の全体構成の一例を表したものである。この表示装置1は、表示パネル10(表示部)と、駆動回路20(駆動部)とを備えている。
(表示パネル10)
表示パネル10は、発光色の互いに異なる3種類の有機EL素子11R,11G,11B(発光素子)が2次元配置された表示領域10Aを有している。表示領域10Aとは、有機EL素子11R,11G,11Bから発せられる光を利用して映像を表示する領域である。有機EL素子11Rは赤色光を発する有機EL素子であり、有機EL素子11Gは緑色光を発する有機EL素子であり、有機EL素子11Bは青色光を発する有機EL素子である。なお、以下では、有機EL素子11R,11G,11Bの総称として有機EL素子11を適宜、用いるものとする。
表示パネル10は、発光色の互いに異なる3種類の有機EL素子11R,11G,11B(発光素子)が2次元配置された表示領域10Aを有している。表示領域10Aとは、有機EL素子11R,11G,11Bから発せられる光を利用して映像を表示する領域である。有機EL素子11Rは赤色光を発する有機EL素子であり、有機EL素子11Gは緑色光を発する有機EL素子であり、有機EL素子11Bは青色光を発する有機EL素子である。なお、以下では、有機EL素子11R,11G,11Bの総称として有機EL素子11を適宜、用いるものとする。
(表示領域10A)
図2は、表示領域10A内の回路構成の一例を表したものである。表示領域10A内には、複数の画素回路12が個々の有機EL素子11と対となって2次元配置されている。なお、本実施の形態では、一対の有機EL素子11および画素回路12が1つの画素13を構成している。より詳細には、図1に示したように、一対の有機EL素子11Rおよび画素回路12が1つの画素13R(赤色用の画素)を構成し、一対の有機EL素子11Gおよび画素回路12が1つの画素13G(緑色用の画素)を構成し、一対の有機EL素子11Bおよび画素回路12が1つの画素13B(青色用の画素)を構成している。さらに、互いに隣り合う3つの画素13R,13G,13Bが1つの表示画素14を構成している。
図2は、表示領域10A内の回路構成の一例を表したものである。表示領域10A内には、複数の画素回路12が個々の有機EL素子11と対となって2次元配置されている。なお、本実施の形態では、一対の有機EL素子11および画素回路12が1つの画素13を構成している。より詳細には、図1に示したように、一対の有機EL素子11Rおよび画素回路12が1つの画素13R(赤色用の画素)を構成し、一対の有機EL素子11Gおよび画素回路12が1つの画素13G(緑色用の画素)を構成し、一対の有機EL素子11Bおよび画素回路12が1つの画素13B(青色用の画素)を構成している。さらに、互いに隣り合う3つの画素13R,13G,13Bが1つの表示画素14を構成している。
各画素回路12は、例えば、駆動トランジスタTr1、書き込みトランジスタTr2および保持容量Csによって構成されたものであり、2Tr1Cの回路構成となっている。駆動トランジスタTr1および書き込みトランジスタTr2は、例えば、nチャネルMOS型の薄膜トランジスタ(TFT(Thin Film Transistor))により形成されている。駆動トランジスタTr1または書き込みトランジスタTr2は、例えば、pチャネルMOS型のTFTであってもよい。
表示領域10Aにおいて、複数の書込線WSL(走査線)が行状に配置され、複数の信号線DTLが列状に配置されている。表示領域10Aには、さらに、複数の電源線PSL(電源電圧の供給される部材)が書込線WSLに沿って行状に配置されている。各信号線DTLと各走査線WSLとの交差点近傍には、有機EL素子11が1つずつ設けられている。各信号線DTLは、後述の信号線駆動回路23の出力端(図示せず)と、書き込みトランジスタTr2のドレイン電極およびソース電極のいずれか一方(図示せず)に接続されている。各走査線WSLは、後述の書込線駆動回路24の出力端(図示せず)と、書き込みトランジスタTr2のゲート電極(図示せず)に接続されている。各電源線PSLは、後述の電源線駆動回路25の出力端(図示せず)と、駆動トランジスタTr1のドレイン電極およびソース電極のいずれか一方(図示せず)に接続されている。書き込みトランジスタTr2のドレイン電極およびソース電極のうち信号線DTLに非接続の方(図示せず)は、駆動トランジスタTr1のゲート電極(図示せず)と、保持容量Csの一端に接続されている。駆動トランジスタTr1のドレイン電極およびソース電極のうち電源線PSLに非接続の方(図示せず)と保持容量Csの他端とが、有機EL素子11のアノード電極(図示せず)に接続されている。有機EL素子11のカソード電極(図示せず)は、例えば、グラウンド線GNDに接続されている。
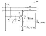
図3は、各表示画素14と、駆動回路20との接続関係の一例を表したものである。複数の書込線WSLは、複数の赤色用書込線WSLR(赤色用走査線)と、複数の緑色用書込線WSLG(緑色用走査線)と、複数の青色用書込線WSLB(青色用走査線)とを含んで構成されている。複数の電源線PSLは、複数の赤色用電源線PSLRと、複数の緑色用電源線PSLGと、複数の青色用電源線PSLBとを含んで構成されている。赤色用書込線WSLRおよび赤色用電源線PSLRには画素13Rが接続されている。緑色用書込線WSLGおよび緑色用電源線PSLGには画素13Gが接続されている。青色用書込線WSLBおよび青色用電源線PSLBには画素13Bが接続されている。
複数の赤色用書込線WSLR、複数の緑色用書込線WSLG、および青色用書込線WSLBは、色ごとに行状に配置されると共に、列方向に周期的(例えば、WSLR,WSLG,WSLB,WSLR,WSLG,WSLB,…)に配置されている。同様に、複数の赤色用電源線PSLR、複数の緑色用電源線PSLG、および青色用電源線PSLBは、色ごとに行状に配置されると共に、列方向に周期的(例えば、WSLR,WSLG,WSLB,WSLR,WSLG,WSLB,…)に配置されている。また、赤色用電源線PSLRは赤色用書込線WSLRに沿って配置されており、緑色用電源線PSLGは緑色用書込線WSLGに沿って配置されており、青色用電源線PSLBは青色用書込線WSLBに沿って配置されている。
複数の画素13R、複数の画素13G、および複数の画素13Bは、色ごとに列状に配置されると共に、行方向に周期的(例えば、13R,13G,13B,13R,13G,13B,…)に配置されている。複数の赤色用書込線WSLRは、3ライン(3画素行)ごとに1つずつ割り当てられており、各赤色用書込線WSLRは、割り当てられた3ライン(3画素行)に含まれる3NR個(NRは1ライン(1画素行)に含まれる画素13Rの数)の画素13Rに接続されている。同様に、複数の緑色用書込線WSLGは、3ライン(3画素行)ごとに1つずつ割り当てられており、各緑色用書込線WSLGは、割り当てられた3ライン(3画素行)に含まれる3NG個(NGは1ライン(1画素行)に含まれる画素13Gの数)の画素13Gに接続されている。複数の青色用書込線WSLBは、3ライン(3画素行)ごとに1つずつ割り当てられており、各青色用書込線WSLBは、割り当てられた3ライン(3画素行)に含まれる3NB個(NBは1ライン(1画素行)に含まれる画素13Bの数)の画素13Bに接続されている。なお、NR、NG、NBは、通常、互いに等しいが、互いに等しくなっていなくてもよい。
一方、複数の赤色用電源線PSLRについても、3ライン(3画素行)ごとに1つずつ割り当てられており、各赤色用電源線PSLRは、一の赤色用書込線WSLRに接続された3NR個の画素13Rに接続されている。同様に、複数の緑色用電源線PSLGは、3ライン(3画素行)ごとに1つずつ割り当てられており、各緑色用電源線PSLGは、一の緑色用書込線WSLGに接続された3NG個の画素13Gに接続されている。複数の青色用電源線PSLBは、3ライン(3画素行)ごとに1つずつ割り当てられており、各青色用電源線PSLBは、一の青色用書込線WSLBに接続された3NB個の画素13Bに接続されている。
各信号線DTLは、表示画素14に含まれる画素13R、画素13G、および画素13に接続されている。より詳細には、例えば、図3に示したように、行列状に配置された複数の画素13を、3×3ごとにブロック15とみなして概念的に分離すると、各ブロック15には、3つの信号線DTLが接続されている。各ブロック15において、1つ目の信号線DTLが1ライン目の表示画素14に含まれる画素13R、画素13G、および画素13に接続されており、2つ目の信号線DTLが2ライン目の表示画素14に含まれる画素13R、画素13G、および画素13に接続されており、3つ目の信号線DTLが3ライン目の表示画素14に含まれる画素13R、画素13G、および画素13に接続されている。
従って、例えば、一のブロック15において、3つの信号線DTLに映像信号を印加しつつ、3つの書込線WSLを上から順番に1つずつ選択していくと、例えば、図4(A),(B),(C)に示したように、9つの画素13は、左から右に向かって順番に選択される。つまり、一のブロック15において、9つの画素13は、左から右に向かって順番に選択される接続関係となっており、上から下に向かって順番に選択されない接続関係となっている。なお、図4(A),(B),(C)において、太枠で示された画素13が選択されていることを意味している。
(駆動回路20)
次に、駆動回路20内の各回路について、図1を参照して説明する。駆動回路20は、タイミング生成回路21、映像信号処理回路22、信号線駆動回路23、書込線駆動回路24、および電源線駆動回路25を有している。
次に、駆動回路20内の各回路について、図1を参照して説明する。駆動回路20は、タイミング生成回路21、映像信号処理回路22、信号線駆動回路23、書込線駆動回路24、および電源線駆動回路25を有している。
タイミング生成回路21は、映像信号処理回路22、信号線駆動回路23、書込線駆動回路24、および電源線駆動回路25が連動して動作するように制御するものである。タイミング生成回路21は、例えば、外部から入力された同期信号20Bに応じて(同期して)、上述した各回路に対して制御信号21Aを出力するようになっている。
映像信号処理回路22は、外部から入力されたデジタルの映像信号20Aに対して所定の補正を行うと共に、補正した後の映像信号をアナログに変換して、アナログの映像信号22Aとして信号線駆動回路23に出力するようになっている。所定の補正としては、例えば、ガンマ補正や、オーバードライブ補正などが挙げられる。
信号線駆動回路23は、制御信号21Aの入力に応じて(同期して)、映像信号処理回路22から入力されたアナログの映像信号22A(信号電圧Vsig)を各信号線DTLに印加して、選択対象の画素13に書き込むものである。なお、書き込みとは、駆動トランジスタTr1のゲートに所定の電圧を印加することを指している。信号線駆動回路23は、各信号線DTLに対して、書込線駆動回路24によって選択される所定の色の3ライン分の画素13に対応する信号電圧を出力するようになっている。信号線駆動回路23は、例えば、信号電圧Vsigと、有機EL素子11の消光時に駆動トランジスタTr1のゲートに印加する電圧Vofsとを出力することが可能となっている。ここで、電圧Vofsは、非階調信号であり、有機EL素子11の閾値電圧Velよりも低い電圧値(一定値)である。
書込線駆動回路24は、制御信号21Aの入力に応じて(同期して)、複数の走査線WSLの中から一の走査線WSLを順次選択するものである。書込線駆動回路24は、例えば、書き込みトランジスタTr2をオンさせるときに印加する電圧Vonと、書き込みトランジスタTr2をオフさせるときに印加する電圧Voffとを出力することが可能となっている。電源線駆動回路25は、制御信号21Aの入力に応じて(同期して)、複数の電源線PSLに、図示しない電源回路から供給された電源電圧を順次印加して、有機EL素子11の発光および消光を制御するものである。電源線駆動回路25は、例えば、有機EL素子11を発光させるときに印加する電圧VCCLと、有機EL素子11を消光させるときに印加する電圧VCCLとを出力することが可能となっている。
(表示装置1の動作)
次に、本実施の形態の表示装置1の動作(消光から発光までの動作)の一例について説明する。本実施の形態では、駆動トランジスタTr1の閾値電圧Vthや移動度μが経時変化したりしても、それらの影響を受けることなく、有機EL素子11の発光輝度を一定に保つようにするために、閾値電圧Vthや移動度μの変動に対する補正動作が組み込まれている。本実施の形態では、さらに、表示パネル10をハイフレームレートで駆動したときに、駆動トランジスタTr1の閾値補正と信号書き込みを行う時間を十分に確保するために、複数ラインの閾値補正をまとめて行い、信号書き込みのみを順番に行う「まとめ駆動」が用いられている。本実施の形態では、複数の書込線WSLが、3つの書込線WSLごとに1つのグループに分けられている。
次に、本実施の形態の表示装置1の動作(消光から発光までの動作)の一例について説明する。本実施の形態では、駆動トランジスタTr1の閾値電圧Vthや移動度μが経時変化したりしても、それらの影響を受けることなく、有機EL素子11の発光輝度を一定に保つようにするために、閾値電圧Vthや移動度μの変動に対する補正動作が組み込まれている。本実施の形態では、さらに、表示パネル10をハイフレームレートで駆動したときに、駆動トランジスタTr1の閾値補正と信号書き込みを行う時間を十分に確保するために、複数ラインの閾値補正をまとめて行い、信号書き込みのみを順番に行う「まとめ駆動」が用いられている。本実施の形態では、複数の書込線WSLが、3つの書込線WSLごとに1つのグループに分けられている。
図5(A)〜(H)は、表示装置1をまとめ駆動させたときの複数グループにおける各種波形の一例を表したものである。図6(A)〜(E)は、図1の表示装置の一のラインにおける各種波形の一例を表したものである。図5(A)には、水平同期信号HSYNCが周期的に発生している様子が示されている。図5(B)には、信号線DTLにVsigR,VsigG,VsigB,Vofsが周期的に印加され、図5(C)〜(H)には、各書込線WSL(WSLR(1)〜WSLB(2))にVon、Voffが所定のタイミングで印加されている様子がそれぞれ示されている。図5(C)〜(E)には、一のグループにおける各種波形の一例が示されており、図5(F)〜(H)には、図5(E)のラインに隣接する他のグループにおける各種波形の一例が示されている。
なお、図5(B)中のVsigR,VsigG,VsigBは、上述の信号電圧Vsigに相当するものである。信号電圧VsigRは各グループに含まれる複数の赤色用の画素13Rに印加される信号電圧Vsigである。信号電圧VsigGは各グループに含まれる複数の緑用の画素13Gに印加される信号電圧Vsigである。信号電圧VsigBは各グループに含まれる複数の青用の画素13Bに印加される信号電圧Vsigである。
図6(A),(B)には、信号線DTLにVsigR,VsigG,VsigB,Vofsが周期的に印加され、書込線WSLにVon、Voffが所定のタイミングで印加されている様子がそれぞれ示されている。図6(C)には、電源線PSLにVccL、VccHが所定のタイミングで印加されている様子がそれぞれ示されている。図6(D),(E)には、信号線DTL、書込線WSL、および電源線PSLへの電圧印加に応じて、駆動トランジスタTr1のゲート電圧Vgおよびソース電圧Vsが時々刻々変化している様子が示されている。
[閾値補正準備期間]
まずは、図6(A)〜(E)を参照して、表示装置1の一の画素13(書込線WSLR(1)に接続された画素13R)における動作について説明する。まず、閾値補正の準備を行う。具体的には、電源線駆動回路25が電源線PSL(1)の電圧をVccHからVccLに下げる(T1)。すると、ソース電圧VsがVccLとなり、有機EL素子11が消光すると共に、ゲート電圧Vgが所定の電圧にまで下がる。
まずは、図6(A)〜(E)を参照して、表示装置1の一の画素13(書込線WSLR(1)に接続された画素13R)における動作について説明する。まず、閾値補正の準備を行う。具体的には、電源線駆動回路25が電源線PSL(1)の電圧をVccHからVccLに下げる(T1)。すると、ソース電圧VsがVccLとなり、有機EL素子11が消光すると共に、ゲート電圧Vgが所定の電圧にまで下がる。
[閾値補正期間]
次に、Vthの補正を行う。具体的には、信号線DTLの電圧がVofsとなっている間に、書込線駆動回路24が書込線WSLR(1)の電圧をVoffからVonに上げたのち(T2)、電源線駆動回路25が電源線PSLR(1)の電圧をVccLからVccHに上げる(T3)。すると、ゲート電圧VgがVofsとなり、さらに、駆動トランジスタTr1のドレイン−ソース間に電流Idが流れ、ソース電圧Vsが上昇する。このとき、ソース電圧Vsが(Vofs−Vth)よりも低い場合(閾値補正がまだ完了していない場合)には、駆動トランジスタTr1がカットオフするまで(電位差VgsがVthになるまで)、駆動トランジスタTr1のドレイン−ソース間に電流Idが流れる。その結果、保持容量CsがVthに充電され、電位差VgsがVthとなる。その後、引き続き、信号線DTLの電圧がVofsとなり続けている間に、書込線駆動回路24が書込線WSLR(1)の電圧をVonからVoffに下げる(T4)。すると、駆動トランジスタTr1のゲートがフローティングとなり、Vthの補正が停止する。これにより、電位差Vgsを信号線DTLの電圧の大きさに拘わらずVthのままで維持することができる。このように、電位差VgsをVthに設定することにより、駆動トランジスタTr1の閾値電圧Vthが画素回路12ごとにばらついた場合であっても、有機EL素子11の発光輝度がばらつくのをなくすることができる。
次に、Vthの補正を行う。具体的には、信号線DTLの電圧がVofsとなっている間に、書込線駆動回路24が書込線WSLR(1)の電圧をVoffからVonに上げたのち(T2)、電源線駆動回路25が電源線PSLR(1)の電圧をVccLからVccHに上げる(T3)。すると、ゲート電圧VgがVofsとなり、さらに、駆動トランジスタTr1のドレイン−ソース間に電流Idが流れ、ソース電圧Vsが上昇する。このとき、ソース電圧Vsが(Vofs−Vth)よりも低い場合(閾値補正がまだ完了していない場合)には、駆動トランジスタTr1がカットオフするまで(電位差VgsがVthになるまで)、駆動トランジスタTr1のドレイン−ソース間に電流Idが流れる。その結果、保持容量CsがVthに充電され、電位差VgsがVthとなる。その後、引き続き、信号線DTLの電圧がVofsとなり続けている間に、書込線駆動回路24が書込線WSLR(1)の電圧をVonからVoffに下げる(T4)。すると、駆動トランジスタTr1のゲートがフローティングとなり、Vthの補正が停止する。これにより、電位差Vgsを信号線DTLの電圧の大きさに拘わらずVthのままで維持することができる。このように、電位差VgsをVthに設定することにより、駆動トランジスタTr1の閾値電圧Vthが画素回路12ごとにばらついた場合であっても、有機EL素子11の発光輝度がばらつくのをなくすることができる。
[閾値補正停止期間]
その後、閾値補正の停止期間中に、信号線駆動回路23が信号線DTLの電圧をVofsからVsigに切り替える。
その後、閾値補正の停止期間中に、信号線駆動回路23が信号線DTLの電圧をVofsからVsigに切り替える。
[書き込み・μ補正期間]
次に、書き込みとμ補正を行う。具体的には、信号線DTLの電圧がVsigRとなっている間に、書込線駆動回路24が書込線WSLR(1)の電圧をVoff1からVonに上げ(T5)、駆動トランジスタTr1のゲートを信号線DTLに接続する。すると、駆動トランジスタTr1のゲート電圧がVsigRとなる。このとき、有機EL素子11のアノード電圧はこの段階ではまだ有機EL素子11の閾値電圧Velよりも小さく、有機EL素子11はカットオフしている。そのため、電流Idは有機EL素子11の素子容量(図示せず)に流れ、素子容量が充電されるので、ソース電圧VsがΔVだけ上昇し、やがて電位差VgsがVsigR+Vth−ΔVとなる。このようにして、書き込みと同時にμ補正が行われる。ここで、駆動トランジスタTr1の移動度μが大きい程、ΔVも大きくなるので、電位差Vgsを発光前にΔVだけ小さくすることにより、画素回路12ごとの移動度μのばらつきを取り除くことができる。
次に、書き込みとμ補正を行う。具体的には、信号線DTLの電圧がVsigRとなっている間に、書込線駆動回路24が書込線WSLR(1)の電圧をVoff1からVonに上げ(T5)、駆動トランジスタTr1のゲートを信号線DTLに接続する。すると、駆動トランジスタTr1のゲート電圧がVsigRとなる。このとき、有機EL素子11のアノード電圧はこの段階ではまだ有機EL素子11の閾値電圧Velよりも小さく、有機EL素子11はカットオフしている。そのため、電流Idは有機EL素子11の素子容量(図示せず)に流れ、素子容量が充電されるので、ソース電圧VsがΔVだけ上昇し、やがて電位差VgsがVsigR+Vth−ΔVとなる。このようにして、書き込みと同時にμ補正が行われる。ここで、駆動トランジスタTr1の移動度μが大きい程、ΔVも大きくなるので、電位差Vgsを発光前にΔVだけ小さくすることにより、画素回路12ごとの移動度μのばらつきを取り除くことができる。
[発光期間]
次に、書込線駆動回路24が書込線WSLR(1)の電圧をVonからVoffに下げる(T6)。すると、駆動トランジスタTr1のゲートがフローティングとなり、駆動トランジスタTr1のゲート−ソース間の電圧(電位差Vgs)を一定に維持した状態で、駆動トランジスタTr1のドレイン−ソース間に電流Idが流れる。その結果、ソース電圧Vsが上昇し、それに連動して駆動トランジスタTr1のゲートも上昇し、有機EL素子11が所望の輝度よりも小さな輝度で発光し始める。
次に、書込線駆動回路24が書込線WSLR(1)の電圧をVonからVoffに下げる(T6)。すると、駆動トランジスタTr1のゲートがフローティングとなり、駆動トランジスタTr1のゲート−ソース間の電圧(電位差Vgs)を一定に維持した状態で、駆動トランジスタTr1のドレイン−ソース間に電流Idが流れる。その結果、ソース電圧Vsが上昇し、それに連動して駆動トランジスタTr1のゲートも上昇し、有機EL素子11が所望の輝度よりも小さな輝度で発光し始める。
[まとめ駆動]
次に、図5(A)〜(H)を参照して、表示装置1の複数グループにおける動作について説明する。本実施の形態では、書込線駆動回路24は、書込線WSLを走査する際に、複数ラインの閾値補正をまとめて行い、信号書き込みのみを順番に行う「まとめ駆動」を行う。具体的には、まず、信号線DTLに電圧Vofsが印加され続けている(つまり、信号線DTLの電圧の波高値がVofsという閾値補正信号に固定され続けている)間に、書込線駆動回路24は、一のグループに含まれる複数の書込線WSLR(1)〜WSLB(1)に対して、波高値がVonである選択パルス信号(第1パルス信号P1)を印加する。これにより、駆動トランジスタTr1の閾値電圧Vthが補正される。このとき、図6(C)〜(E)に示したように、書込線駆動回路24は、各書込線WSLR(1)〜WSLB(1)に対して、第1パルス信号P1を同時に印加してもよい。
次に、図5(A)〜(H)を参照して、表示装置1の複数グループにおける動作について説明する。本実施の形態では、書込線駆動回路24は、書込線WSLを走査する際に、複数ラインの閾値補正をまとめて行い、信号書き込みのみを順番に行う「まとめ駆動」を行う。具体的には、まず、信号線DTLに電圧Vofsが印加され続けている(つまり、信号線DTLの電圧の波高値がVofsという閾値補正信号に固定され続けている)間に、書込線駆動回路24は、一のグループに含まれる複数の書込線WSLR(1)〜WSLB(1)に対して、波高値がVonである選択パルス信号(第1パルス信号P1)を印加する。これにより、駆動トランジスタTr1の閾値電圧Vthが補正される。このとき、図6(C)〜(E)に示したように、書込線駆動回路24は、各書込線WSLR(1)〜WSLB(1)に対して、第1パルス信号P1を同時に印加してもよい。
次に、信号線DTLの電圧がVofsからVsigR、VsigG、VsigBと順番に変化していく中、書込線駆動回路24は、一のグループに含まれる各書込線WSLR(1)〜WSLB(1)に対して、波高値がVonである選択パルス信号を順番に印加する。これにより、駆動トランジスタTr1に対して信号書き込みが行われる。
例えば、書込線駆動回路24は、信号線DTLの電圧がVsigRとなっているときに、書込線WSLR(1)に対して、選択パルス信号(第2パルス信号P2)を印加する。また、書込線駆動回路24は、信号線DTLの電圧がVsigGとなっているときに、書込線WSLG(1)に対して、選択パルス信号(第3パルス信号P3)を印加する。さらに、書込線駆動回路24は、信号線DTLの電圧がVsigBとなっているときに、書込線WSLB(1)に対して、選択パルス信号(第4パルス信号P4)を印加する。
このとき、書込線駆動回路24は、例えば、図5(C)〜(E)に示したように、第2パルス信号P2、第3パルス信号P3、第4パルス信号P4をこの順に印加してもよいし、それとは異なる順番で、第2パルス信号P2、第3パルス信号P3、第4パルス信号P4を印加してもよい。例えば、書込線駆動回路24は、図示しないが、第3パルス信号P3、第2パルス信号P2、第4パルス信号P4をこの順に印加してもよい。ただし、この場合には、信号線DSLに印加する信号電圧Vsigについて、VsigG、VsigR、VsigBと順番に変化させることが必要となる。
同様に、図3(E)のラインに隣接する他のグループにおいても、書込線駆動回路24は、まとめ駆動を行う。
本実施の形態の表示装置1では、上記のようにして、各画素13において画素回路12がオンオフ制御され、各画素13の有機EL素子11に駆動電流が注入されることにより、正孔と電子とが再結合して発光が起こり、その光が外部に取り出される。その結果、表示パネル10の表示領域10Aにおいて画像が表示される。
ところで、有機EL表示装置においてハイフレームレートを実現する方法の1つとして、複数ラインの閾値補正をまとめて行い、信号書き込みのみを順番に行う「まとめ駆動」が用いられている。例えば、図7に示したように、比較例に係る表示装置100の表示パネル110において、各書込線WSL(WSL(1),WSL(2),…)および各電源線PSL(PSL(1),PSL(2),…)に、赤色用の画素111R、緑色用の画素111G、および青色用の画素111Bが接続され、信号線DTLが色ごとに画素112に接続されているとする。この表示装置100において、図8に示したような「まとめ駆動」が行われたとする。なお、図8に示した波形は、図5との関係では、信号線DSLに印加される信号電圧Vsigが異なっている。すなわち、図8では、例えば、信号線DSLに、1ライン目の信号電圧Vsig1、2ライン目の信号電圧Vsig2、3ライン目の信号電圧Vsig3がこの順に印加されている。
このとき、閾値補正を行ったのち、信号書き込みを行うまでの間、例えば、図9に示したように、駆動トランジスタTr1のソースに向かって、リーク電流IL1,IL2がわずかに流れる。このリーク電流IL1,IL2によってソース電圧Vsおよびゲート電圧Vgが所望の値よりも大きくなるので、信号書き込みが行われたときにゲート−ソース間電圧(電位差Vgs)が所望の値にまで大きくならず、各画素13の発光輝度が低下してしまう。このとき、全ての画素13において、発光輝度の低下量が等しい場合には、表示映像全体の輝度が低下するだけであるが、「まとめ駆動」の場合には、閾値補正を行ったのち、信号書き込みを行うまでの期間がラインごとに異なるので、発光輝度の低下量がラインごとに異なってしまう。従って、従来のように、単純に「まとめ駆動」を行った場合には、発光輝度の低下量がラインごとに異なってしまい、筋ムラが発生してしまう。
一方、本実施の形態では、複数ラインの閾値補正をまとめて行い、信号書き込みを順番に行う「まとめ駆動」を行う際に、信号書き込みが、画素13の色ごとに順番に行われる。例えば、図4(A)〜(C)に示したように、一のブロック15において、9つの画素13は、左から右に向かって順番に選択される。これにより、駆動トランジスタTr1の電流リーク量がラインごとに大きく変わらなくなるので、ラインごとの発光輝度の差を低減することができる。その結果、ラインごとの発光輝度の差を低減することができるので、まとめ駆動における筋ムラの発生を抑制することができる。
また、本実施の形態において、一のグループに含まれる各書込線WSLに対して、第1パルス信号を同時に印加するようにした場合には、一のグループにおける閾値補正時間を最短にすることができる。これにより、表示パネル10を例えば120Hz程度のハイフレームレートで駆動した場合であっても、駆動トランジスタTr1の閾値補正と信号書き込みを行う時間を十分に確保することができる。
<変形例>
上記実施の形態では、一のグループに含まれる各書込線WSLに対する閾値補正が、信号線DTLの電圧がVofsとなり続けている間に1回だけ行われるようになっていたが、複数回行われるようになっていてもよい。また、上記実施の形態において、第2パルス信号P2、第3パルス信号P3、第4パルス信号P4のパルス幅が互いに等しくなっていてもよいし、互いに等しくなっていなくてもよい。
上記実施の形態では、一のグループに含まれる各書込線WSLに対する閾値補正が、信号線DTLの電圧がVofsとなり続けている間に1回だけ行われるようになっていたが、複数回行われるようになっていてもよい。また、上記実施の形態において、第2パルス信号P2、第3パルス信号P3、第4パルス信号P4のパルス幅が互いに等しくなっていてもよいし、互いに等しくなっていなくてもよい。
<モジュールおよび適用例>
以下、上記実施の形態等で説明した表示装置1の適用例について説明する。上記実施の形態等の表示装置1は、テレビジョン装置、デジタルカメラ、ノート型パーソナルコンピュータ、携帯電話等の携帯端末装置あるいはビデオカメラなど、外部から入力された映像信号あるいは内部で生成した映像信号を、画像あるいは映像として表示するあらゆる分野の電子機器の表示装置に適用することが可能である。
以下、上記実施の形態等で説明した表示装置1の適用例について説明する。上記実施の形態等の表示装置1は、テレビジョン装置、デジタルカメラ、ノート型パーソナルコンピュータ、携帯電話等の携帯端末装置あるいはビデオカメラなど、外部から入力された映像信号あるいは内部で生成した映像信号を、画像あるいは映像として表示するあらゆる分野の電子機器の表示装置に適用することが可能である。
(モジュール)
上記実施の形態等の表示装置1は、例えば、図10に示したようなモジュールとして、後述する適用例1〜5などの種々の電子機器に組み込まれる。このモジュールは、例えば、基板31の一辺に、封止用基板32から露出した領域210を設け、この露出した領域210に、駆動回路20の配線を延長して外部接続端子(図示せず)を形成したものである。外部接続端子には、信号の入出力のためのフレキシブルプリント配線基板(FPC;Flexible Printed Circuit)220が設けられていてもよい。
上記実施の形態等の表示装置1は、例えば、図10に示したようなモジュールとして、後述する適用例1〜5などの種々の電子機器に組み込まれる。このモジュールは、例えば、基板31の一辺に、封止用基板32から露出した領域210を設け、この露出した領域210に、駆動回路20の配線を延長して外部接続端子(図示せず)を形成したものである。外部接続端子には、信号の入出力のためのフレキシブルプリント配線基板(FPC;Flexible Printed Circuit)220が設けられていてもよい。
(適用例1)
図11は、上記実施の形態等の表示装置1が適用されるテレビジョン装置の外観を表したものである。このテレビジョン装置は、例えば、フロントパネル310およびフィルターガラス320を含む映像表示画面部300を有しており、この映像表示画面部300は、上記実施の形態等に係る表示装置1により構成されている。
図11は、上記実施の形態等の表示装置1が適用されるテレビジョン装置の外観を表したものである。このテレビジョン装置は、例えば、フロントパネル310およびフィルターガラス320を含む映像表示画面部300を有しており、この映像表示画面部300は、上記実施の形態等に係る表示装置1により構成されている。
(適用例2)
図12は、上記実施の形態等の表示装置1が適用されるデジタルカメラの外観を表したものである。このデジタルカメラは、例えば、フラッシュ用の発光部410、表示部420、メニュースイッチ430およびシャッターボタン440を有しており、その表示部420は、上記実施の形態等に係る表示装置1により構成されている。
図12は、上記実施の形態等の表示装置1が適用されるデジタルカメラの外観を表したものである。このデジタルカメラは、例えば、フラッシュ用の発光部410、表示部420、メニュースイッチ430およびシャッターボタン440を有しており、その表示部420は、上記実施の形態等に係る表示装置1により構成されている。
(適用例3)
図13は、上記実施の形態等の表示装置1が適用されるノート型パーソナルコンピュータの外観を表したものである。このノート型パーソナルコンピュータは、例えば、本体510,文字等の入力操作のためのキーボード520および画像を表示する表示部530を有しており、その表示部530は、上記実施の形態等に係る表示装置1により構成されている。
図13は、上記実施の形態等の表示装置1が適用されるノート型パーソナルコンピュータの外観を表したものである。このノート型パーソナルコンピュータは、例えば、本体510,文字等の入力操作のためのキーボード520および画像を表示する表示部530を有しており、その表示部530は、上記実施の形態等に係る表示装置1により構成されている。
(適用例4)
図14は、上記実施の形態等の表示装置1が適用されるビデオカメラの外観を表したものである。このビデオカメラは、例えば、本体部610,この本体部610の前方側面に設けられた被写体撮影用のレンズ620,撮影時のスタート/ストップスイッチ630および表示部640を有しており、その表示部640は、上記実施の形態等に係る表示装置1により構成されている。
図14は、上記実施の形態等の表示装置1が適用されるビデオカメラの外観を表したものである。このビデオカメラは、例えば、本体部610,この本体部610の前方側面に設けられた被写体撮影用のレンズ620,撮影時のスタート/ストップスイッチ630および表示部640を有しており、その表示部640は、上記実施の形態等に係る表示装置1により構成されている。
(適用例5)
図15は、上記実施の形態等の表示装置1が適用される携帯電話機の外観を表したものである。この携帯電話機は、例えば、上側筐体710と下側筐体720とを連結部(ヒンジ部)730で連結したものであり、ディスプレイ740,サブディスプレイ750,ピクチャーライト760およびカメラ770を有している。そのディスプレイ740またはサブディスプレイ750は、上記実施の形態等に係る表示装置1により構成されている。
図15は、上記実施の形態等の表示装置1が適用される携帯電話機の外観を表したものである。この携帯電話機は、例えば、上側筐体710と下側筐体720とを連結部(ヒンジ部)730で連結したものであり、ディスプレイ740,サブディスプレイ750,ピクチャーライト760およびカメラ770を有している。そのディスプレイ740またはサブディスプレイ750は、上記実施の形態等に係る表示装置1により構成されている。
以上、実施の形態および適用例を挙げて本発明を説明したが、本発明は上記実施の形態等に限定されるものではなく、種々変形が可能である。
例えば、上記実施の形態等では、表示装置1がアクティブマトリクス型である場合について説明したが、アクティブマトリクス駆動のための画素回路12の構成は上記実施の形態等で説明したものに限られず、必要に応じて容量素子やトランジスタを画素回路12に追加してもよい。その場合、画素回路12の変更に応じて、上述した信号線駆動回路23、書込線駆動回路24、電源線駆動回路25のほかに、必要な駆動回路を追加してもよい。
また、上記実施の形態等では、信号線駆動回路23、書込線駆動回路24、電源線駆動回路25の駆動をタイミング制御回路21が制御していたが、他の回路がこれらの駆動を制御するようにしてもよい。また、信号線駆動回路23、書込線駆動回路24、電源線駆動回路25の制御は、ハードウェア(回路)で行われていてもよいし、ソフトウェア(プログラム)で行われていてもよい。
また、上記実施の形態等では、画素回路12が、2Tr1Cの回路構成となっていたが、デュアルゲート型のトランジスタが有機EL素子11に直列に接続された回路構成を含んでいるものであれば、2Tr1Cの回路構成以外の回路構成となっていてもよい。
また、上記実施の形態等では、駆動トランジスタTr1,書き込みトランジスタTr2は、nチャネルMOS型の薄膜トランジスタ(TFT(Thin Film Transistor))により形成されている場合が例示されていたが、pチャネルトランジスタ(例えばpチャネルMOS型のTFT)により形成されていてもよい。ただし、その場合には、トランジスタTr2のソースおよびドレインのうち電源線PSLと未接続の方と保持容量Csの他端とを有機EL素子11のカソードに接続し、有機EL素子11のアノードをGNDなどに接続することが好ましい。
1,100…表示装置、10,110…表示パネル、10A…表示領域、11,11R,11G,11B,111,11R,111G,111B…有機EL素子、12,112…画素回路、13,13R,13G,13B…画素、14…表示画素、15…ブロック、20…駆動回路、20A,22A…映像信号、20B…同期信号、21…タイミング生成回路、21A…制御信号、22…映像信号処理回路、23…信号線駆動回路、24…書込線駆動回路、25…電源線駆動回路、Cs…保持容量、DTL…信号線、Id…電流、IL1,IL2…リーク電流、GND…グラウンド線、NR、NG、NB…画素数、PSL…電源線、PSLR…赤色用電源線、PSLG…緑色用電源線、PSLB…青色用電源線、P1…第1パルス信号、P2…第2パルス信号、P3…第3パルス信号、P4…第4パルス信号、Tr1…駆動トランジスタ、Tr2…書き込みトランジスタ、Vg…ゲート電圧、Vgs…電位差、Vs…ソース電圧、Vsig,VsigR,VsigG,VsigB…信号電圧、VccH,VCCL,Voff,Vofs,Von,ΔV…電圧、Vth,Vel…閾値電圧、WSL…書込線、WSLR,WSLR(1),WSLR(2)…赤色用書込線、WSLG,WSLG(1),WSLG(2)…緑色用書込線、WSLB,WSLB(1),WSLB(2)…青色用書込線、μ…移動度。
Claims (7)
- 行状に配置された複数の走査線と、列状に配置された複数の信号線と、行列状に配置された複数の画素とを含む表示部と、
映像信号に基づいて各画素を駆動する駆動部と
を備え、
前記複数の走査線は、複数の赤色用走査線と、複数の緑色用走査線と、複数の青色用走査線とを含み、
前記複数の画素は、前記赤色用走査線に接続された複数の赤色用の画素と、前記緑色用走査線に接続された複数の緑色用の画素と、前記青色用走査線に接続された複数の青色用の画素とを含み、
各画素は、発光素子および画素回路を有し、
前記画素回路は、前記発光素子に流れる電流を制御する第1トランジスタと、前記信号線の電圧を前記第1トランジスタに書き込む第2トランジスタとを有し、
前記駆動部は、所定の信号を各信号線に印加し続けている間に、前記複数の赤色用走査線のうち1または複数の第1走査線、前記複数の緑色用走査線のうち1または複数の第2走査線、および前記複数の青色用走査線のうち1または複数の第3走査線に対して前記第2トランジスタをオンする第1パルス信号を印加して前記第1トランジスタの閾値電圧を補正したのち、赤色用の映像信号を各信号線に印加している間に前記1または複数の第1走査線に対して前記第2トランジスタをオンする第2パルス信号を、緑色用の映像信号を各信号線に印加している間に前記1または複数の第2走査線に対して前記第2トランジスタをオンする第3パルス信号を、青色用の映像信号を各信号線に印加している間に前記1または複数の第3走査線に対して前記第2トランジスタをオンする第4パルス信号をそれぞれ印加して信号書き込みを行う
表示装置。 - 前記駆動部は、前記第1パルス信号を、各第1走査線、各第2走査線、および各第3走査線に対して同時に印加する
請求項1に記載の表示装置。 - 前記駆動部は、前記第2パルス信号、前記第3パルス信号、および前記第4パルス信号をこの順に印加する
請求項1または請求項2に記載の表示装置。 - 前記所定の信号は、波高値の固定された閾値補正信号である
請求項1または請求項2に記載の表示装置。 - 行状に配置された複数の走査線と、列状に配置された複数の信号線と、行列状に配置された複数の画素とを含む表示部と、
映像信号に基づいて各画素を駆動する駆動部と
を備え、
前記複数の走査線は、複数の赤色用走査線と、複数の緑色用走査線と、複数の青色用走査線とを含み、
前記複数の画素は、前記赤色用走査線に接続された複数の赤色用の画素と、前記緑色用走査線に接続された複数の緑色用の画素と、前記青色用走査線に接続された複数の青色用の画素とを含み、
各画素は、発光素子および画素回路を有し、
前記画素回路は、前記発光素子に流れる電流を制御する第1トランジスタと、前記信号線の電圧を前記第1トランジスタに書き込む第2トランジスタとを有する表示装置において、所定の信号を各信号線に印加し続けている間に、前記複数の赤色用走査線のうち1または複数の第1走査線、前記複数の緑色用走査線のうち1または複数の第2走査線、および前記複数の青色用走査線のうち1または複数の第3走査線に対して前記第2トランジスタをオンする第1パルス信号を印加して前記第1トランジスタの閾値電圧を補正したのち、赤色用の映像信号を各信号線に印加している間に前記1または複数の第1走査線に対して前記第2トランジスタをオンする第2パルス信号を、緑色用の映像信号を各信号線に印加している間に前記1または複数の第2走査線に対して前記第2トランジスタをオンする第3パルス信号を、青色用の映像信号を各信号線に印加している間に前記1または複数の第3走査線に対して前記第2トランジスタをオンする第4パルス信号をそれぞれ印加して信号書き込みを行う
表示装置の駆動方法。 - 表示装置を備え、
前記表示装置は、
行状に配置された複数の走査線と、列状に配置された複数の信号線と、行列状に配置された複数の画素とを含む表示部と、
映像信号に基づいて各画素を駆動する駆動部と
を有し、
前記複数の走査線は、複数の赤色用走査線と、複数の緑色用走査線と、複数の青色用走査線とを含み、
前記複数の画素は、前記赤色用走査線に接続された複数の赤色用の画素と、前記緑色用走査線に接続された複数の緑色用の画素と、前記青色用走査線に接続された複数の青色用の画素とを含み、
各画素は、発光素子および画素回路を有し、
前記画素回路は、前記発光素子に流れる電流を制御する第1トランジスタと、前記信号線の電圧を前記第1トランジスタに書き込む第2トランジスタとを有し、
前記駆動部は、所定の信号を各信号線に印加し続けている間に、前記複数の赤色用走査線のうち1または複数の第1走査線、前記複数の緑色用走査線のうち1または複数の第2走査線、および前記複数の青色用走査線のうち1または複数の第3走査線に対して前記第2トランジスタをオンする第1パルス信号を印加して前記第1トランジスタの閾値電圧を補正したのち、赤色用の映像信号を各信号線に印加している間に前記1または複数の第1走査線に対して前記第2トランジスタをオンする第2パルス信号を、緑色用の映像信号を各信号線に印加している間に前記1または複数の第2走査線に対して前記第2トランジスタをオンする第3パルス信号を、青色用の映像信号を各信号線に印加している間に前記1または複数の第3走査線に対して前記第2トランジスタをオンする第4パルス信号をそれぞれ印加して信号書き込みを行う
電子機器。 - 複数の赤色用走査線と、複数の緑色用走査線と、複数の青色用走査線と、複数の信号線と、複数の赤色用の画素、複数の緑色用の画素、および複数の青色用の画素とを備え、
前記複数の赤色用走査線、前記複数の緑色用走査線、および前記複数の青色用走査線は、色ごとに行状に配置されると共に、列方向に周期的に配置され、
前記複数の赤色用の画素、前記複数の緑色用の画素、および前記複数の青色用の画素は、色ごとに列状に配置されると共に、行方向に周期的に配置され、
各赤色用走査線は、前記複数の赤色用の画素のうち3つの画素に接続され、
各緑色用走査線は、前記複数の緑色用の画素のうち3つの画素に接続され、
各青色用走査線は、前記複数の青色用の画素のうち3つの画素に接続され、
各信号線は、赤色用の画素、緑色用の画素、および青色用の画素に接続されている
表示パネル。
Priority Applications (1)
| Application Number | Priority Date | Filing Date | Title |
|---|---|---|---|
| JP2009258318A JP2011102932A (ja) | 2009-11-11 | 2009-11-11 | 表示装置およびその駆動方法、電子機器、ならびに表示パネル |
Applications Claiming Priority (1)
| Application Number | Priority Date | Filing Date | Title |
|---|---|---|---|
| JP2009258318A JP2011102932A (ja) | 2009-11-11 | 2009-11-11 | 表示装置およびその駆動方法、電子機器、ならびに表示パネル |
Publications (1)
| Publication Number | Publication Date |
|---|---|
| JP2011102932A true JP2011102932A (ja) | 2011-05-26 |
Family
ID=44193288
Family Applications (1)
| Application Number | Title | Priority Date | Filing Date |
|---|---|---|---|
| JP2009258318A Pending JP2011102932A (ja) | 2009-11-11 | 2009-11-11 | 表示装置およびその駆動方法、電子機器、ならびに表示パネル |
Country Status (1)
| Country | Link |
|---|---|
| JP (1) | JP2011102932A (ja) |
Cited By (3)
| Publication number | Priority date | Publication date | Assignee | Title |
|---|---|---|---|---|
| WO2013129216A1 (ja) * | 2012-02-28 | 2013-09-06 | シャープ株式会社 | 表示装置およびその駆動方法 |
| JP2023130445A (ja) * | 2014-09-12 | 2023-09-20 | 株式会社半導体エネルギー研究所 | El表示装置、電子機器 |
| JP2025071128A (ja) * | 2015-12-11 | 2025-05-02 | 株式会社半導体エネルギー研究所 | El表示装置、電子機器 |
-
2009
- 2009-11-11 JP JP2009258318A patent/JP2011102932A/ja active Pending
Cited By (7)
| Publication number | Priority date | Publication date | Assignee | Title |
|---|---|---|---|---|
| WO2013129216A1 (ja) * | 2012-02-28 | 2013-09-06 | シャープ株式会社 | 表示装置およびその駆動方法 |
| JP2023130445A (ja) * | 2014-09-12 | 2023-09-20 | 株式会社半導体エネルギー研究所 | El表示装置、電子機器 |
| JP7499917B2 (ja) | 2014-09-12 | 2024-06-14 | 株式会社半導体エネルギー研究所 | El表示装置、電子機器 |
| JP2024107100A (ja) * | 2014-09-12 | 2024-08-08 | 株式会社半導体エネルギー研究所 | El表示装置、電子機器 |
| JP7610063B2 (ja) | 2014-09-12 | 2025-01-07 | 株式会社半導体エネルギー研究所 | El表示装置、電子機器 |
| JP2025071128A (ja) * | 2015-12-11 | 2025-05-02 | 株式会社半導体エネルギー研究所 | El表示装置、電子機器 |
| JP7812952B2 (ja) | 2015-12-11 | 2026-02-10 | 株式会社半導体エネルギー研究所 | El表示装置、電子機器 |
Similar Documents
| Publication | Publication Date | Title |
|---|---|---|
| CN102110410B (zh) | 显示装置和电子装置 | |
| JP2011112723A (ja) | 表示装置およびその駆動方法ならびに電子機器 | |
| JP2011112724A (ja) | 表示装置およびその駆動方法ならびに電子機器 | |
| US9412289B2 (en) | Display unit, drive circuit, drive method, and electronic apparatus | |
| JP2011112722A (ja) | 表示装置およびその駆動方法ならびに電子機器 | |
| TWI409755B (zh) | Display device and its driving method and electronic machine | |
| JP2015225150A (ja) | 表示装置及び電子機器 | |
| JP2011209434A (ja) | 表示装置および電子機器 | |
| JP6736276B2 (ja) | 表示パネルおよび表示装置 | |
| JP2011128442A (ja) | 表示パネル、表示装置および電子機器 | |
| JP5577719B2 (ja) | 表示装置およびその駆動方法ならびに電子機器 | |
| JP2011022462A (ja) | 表示装置およびその駆動方法ならびに電子機器 | |
| JP2012137513A (ja) | 信号処理装置および表示装置 | |
| JP2011102932A (ja) | 表示装置およびその駆動方法、電子機器、ならびに表示パネル | |
| JP5282970B2 (ja) | 表示装置およびその駆動方法ならびに電子機器 | |
| JP2011128443A (ja) | 表示装置およびその駆動方法ならびに電子機器 | |
| JP2011145531A (ja) | 表示装置およびその駆動方法ならびに電子機器 | |
| JP2011022239A (ja) | 表示装置およびその駆動方法ならびに電子機器 | |
| JP2011145396A (ja) | 表示装置および電子機器 | |
| JP2013029613A (ja) | 表示装置、電子機器、発光制御プログラムおよび発光制御方法 | |
| JP2011102930A (ja) | 表示装置およびその駆動方法ならびに電子機器 | |
| JP2010002801A (ja) | El表示装置。 | |
| JP2011154200A (ja) | 表示装置およびその駆動方法ならびに電子機器 | |
| JP2011150079A (ja) | 表示装置およびその駆動方法ならびに電子機器 | |
| JP2011102933A (ja) | 表示装置およびその駆動方法ならびに電子機器 |