JP2011074754A - プレキャストコンクリート板を使用した鋼・コンクリート合成床版の構築方法 - Google Patents

プレキャストコンクリート板を使用した鋼・コンクリート合成床版の構築方法 Download PDF

Info

Publication number
JP2011074754A
JP2011074754A JP2010263682A JP2010263682A JP2011074754A JP 2011074754 A JP2011074754 A JP 2011074754A JP 2010263682 A JP2010263682 A JP 2010263682A JP 2010263682 A JP2010263682 A JP 2010263682A JP 2011074754 A JP2011074754 A JP 2011074754A
Authority
JP
Japan
Prior art keywords
precast concrete
concrete
stud
steel
floor slab
Prior art date
Legal status (The legal status is an assumption and is not a legal conclusion. Google has not performed a legal analysis and makes no representation as to the accuracy of the status listed.)
Granted
Application number
JP2010263682A
Other languages
English (en)
Other versions
JP5051598B2 (ja
Inventor
Shinya Yoshimatsu
慎哉 吉松
Current Assignee (The listed assignees may be inaccurate. Google has not performed a legal analysis and makes no representation or warranty as to the accuracy of the list.)
PS Mitsubishi Construction Co Ltd
Original Assignee
PS Mitsubishi Construction Co Ltd
Priority date (The priority date is an assumption and is not a legal conclusion. Google has not performed a legal analysis and makes no representation as to the accuracy of the date listed.)
Filing date
Publication date
Application filed by PS Mitsubishi Construction Co Ltd filed Critical PS Mitsubishi Construction Co Ltd
Priority to JP2010263682A priority Critical patent/JP5051598B2/ja
Publication of JP2011074754A publication Critical patent/JP2011074754A/ja
Application granted granted Critical
Publication of JP5051598B2 publication Critical patent/JP5051598B2/ja
Anticipated expiration legal-status Critical
Expired - Lifetime legal-status Critical Current

Links

Images

Landscapes

  • Joining Of Building Structures In Genera (AREA)
  • Rod-Shaped Construction Members (AREA)
  • Bridges Or Land Bridges (AREA)
  • Revetment (AREA)

Abstract

【課題】鋼桁上にコンクリート床版を一体化させた鋼・コンクリート合成床版の構築に際し、コンクリートの乾燥収縮やPC緊張材の緊張によるプレストレスの導入による変位よる影響をなくし、しかも構造上の弱点となる場所打ち部分を極力小さいものとする。
【解決手段】プレキャストコンクリート板12によって構成されるコンクリート床版の底面の鋼桁上に対応する位置に、プレキャストコンクリート板12の厚さ方向の中央部分より浅く、かつ幅方向に連続されせたスタッド埋設用凹部14を設けておき、そのスタッド埋設用凹部14内に鋼桁11の上面に突設したずれ止め用スタッド16を挿入させた状態に前記プレキャストコンクリート板を架設し、各プレキャストコンクリート板12に連続させてプレストレスを導入することによって各プレキャストコンクリート板相互間を一体化させた後スタッド埋設用凹部14内に硬化性充填材17を充填する。
【選択図】図8

Description

本発明は、鋼桁上にプレキャストコンクリート板を並べて架設し、プレキャストコンクリート板相互間に連続させてプレストレスを導入させることによってコンクリート床版を構成させ、該コンクリート床版の底面に前記鋼桁から突設させたスタッドを埋設することによって鋼桁とコンクリート床版とを一体化されるようにしたプレキャストコンクリート板を使用した鋼・コンクリート合成床版の構築方法に関する。
一般に、ジャケット構造の桟橋等、鋼桁上にプレキャストコンクリート板を並べて設置し、そのプレキャストコンクリート板相互間をこれらに連続させたプレストレスによって一体化させることによって連続したコンクリート床版となし、このコンクリート床版と鋼桁とを、鋼桁の上面に突設した滑り止めスタッドを床版内に埋設することによって一体化した鋼・コンクリート合成床版が構築されている。
このような従来の合成床版の構築に際しては、図12に示すように、鋼桁1上にてプレキャストコンクリート板2,2の端面間に目地空間3を隔てて対向させた状態で、各プレキャストコンクリート板2,2......を鋼桁1,1......間に掛け渡し、各鋼桁1の上面より前記目地空間3内に滑り止めスタッド4を突設させ、その目地空間3内に無収縮のセメントモルタルからなる目地コンクリート5を充填してスタッド4を埋め込み、然る後プレキャストコンクリート板2,2......に跨らせて挿通したPC緊張材6を緊張することによって、プレキャストコンクリート板2,2間に目地コンクリート5を介在させて一体化され、連続したプレストレスが導入されたプレストレストコンクリート床版となす工法が開発されている。
しかし、上述のスタッドは、目地コンクリート内に直接埋め込まれているため、プレストレスの導入や乾燥収縮等によるコンクリート床版の変位を拘束することとなり、目地コンクリートにひび割れが生じたり、鋼桁にもプレストレスが導入される等、床板及び桁に多大な影響を及ぼすという問題があった。
そこで、スタッドジベルの根元部の周囲に空隙を設けたもの(例えば、特許文献1を参照)やスタッドジベルの根元部の周囲に遅延硬化性樹脂を被覆したもの(例えば、特許文献2を参照)のように、床板へのプレストレス導入や目地コンクリート又は床板コンクリートの乾燥収縮に対応して桁と床板との相対移動を許容できるようにした工法が開発されている。
特開昭63−19353号公報 特開2002−4475号公報
しかし、上述の従来技術の如くスタッドジベルの根元部の周囲に空隙を設けた場合、スタッドジベルとコンクリートとの付着が阻害され、ジベル材引きぬき方向の強度が確保できず、床板と桁との間の結合強度が十分にとれない虞があった。
一方、スタッドジベルの根元部の周囲に遅延硬化性樹脂を被覆した構造のものでは、遅延硬化性樹脂が硬化した後は、スタッドジベルとコンクリートとが一体化され、ジベル材引抜き方向の強度が確保されるが、スタッドジベルの周囲に厚く樹脂を塗布することができないことから、大きな変位に対応することができず、適用できる構造物の規模が制限され、空港滑走路等の大規模な鋼・コンクリート合成構造物への適用が困難であったり、施工開始後には、硬化時期の変更ができず、その後工程の変更等が生じた場合に対応することができない等の問題があった。
更に、従来の工法では、コンクリート目地内にスタッドを突設させるものであるため、鋼桁とコンクリート床版との結合力を大きくする必要がある場合には、スタッド数を多くする必要があり、そのためスタッド突設部分の面積が大きくなり、これを埋め込むための目地空間を広幅にする必要があるが、そうすると場所打ちの目地コンクリートの占める割合が大きくなり、工場で高品質に形成されるプレキャストコンクリート板に比べて構造上の弱点となる場所打ち部分が大きくなるという問題があった。
本発明は、上述の従来技術の問題を鑑み、コンクリートの乾燥収縮や、PC緊張材の緊張によるプレストレスの導入による変位よる影響をなくし、しかも構造上の弱点となる場所打ち部分を極力小さいものとすることができるプレキャストコンクリート板を使用した鋼・コンクリート合成床版の構築方法の提供を目的とする。
上述の如き従来の問題を解決し、所期の目的を達成するための請求項1に記載の発明の特徴は、鋼桁上に複数のプレキャストコンクリート板を並べて設置し、該プレキャストコンクリート板相互間に連続させてプレストレスを導入することによって前記プレキャストコンクリート板相互間を一体化させるプレキャストコンクリート板を使用した鋼・コンクリート合成床版の構築方法において、互いに隣り合う平行な鋼桁上に、個別のプレキャストコンクリート板の中央部分下面を支持させ、各プレキャストコンクリート板間の目地空間が互いに隣り合う鋼桁の間の位置に位置される配置に複数のプレキャストコンクリート板を架設し、前記鋼桁上のプレキャストコンクリート板の底面に該プレキャストコンクリート板の厚さ方向の中央部分より浅いスタッド埋設用凹部を予め設けておき、該スタッド埋設用凹部内に前記鋼桁の上面に突設したずれ止め用スタッドを挿入させ、前記目地空間内に目地用充填材を充填し、その硬化を待って各プレキャストコンクリート板に連続させたプレストレスを導入させることにより各プレキャストコンクリート板を一体化させたコンクリート床版を形成し、然る後前記スタッド埋設用凹部内に充填材を充填して該スタッドを前記コンクリート床版の底面内に埋め込むことにより前記コンクリート床版と鋼桁とを一体化させることにある。
請求項2に記載の発明の特徴は、請求項1の構成に加え、スタッド埋設用凹部への充填材の充填は、前記コンクリート床版を貫通してその上面に開口させた複数の充填材注入路より行うことにある。
本発明に係るプレキャストコンクリート板を使用した鋼・コンクリート合成床版の構築方法は、プレキャストコンクリート板によって構成されるコンクリート床版の底面に、該底面の前記鋼桁上に対応する位置に、該プレキャストコンクリート板の厚さ方向の中央部分より浅く、かつ前記各プレキャストコンクリート板の幅方向に連続されせたスタッド埋設用凹部を設けておき、該スタッド埋設用凹部内に前記鋼桁の上面に突設したずれ止め用スタッドを挿入させた状態に前記プレキャストコンクリート板を架設した後、前記各プレキャストコンクリート板に連続させてプレストレスを導入することによって各プレキャストコンクリート板相互間を一体化させ、然る後前記スタッド埋設用凹部内に硬化性充填材を充填することによって前記スタッドを前記コンクリート床版の底面内に埋め込むようにしたことにより、床版の底面に広い面積のスタッド埋設凹部を設けた場合にあっても、プレキャストコンクリート板間にあってプレストレスが導入される場所打ちによる目地部の割合を小さいものとすることができ、しかもスタッド埋設用凹部内におけるスタッドはそのコンクリート床版に対する相対移動長さを大きくすることができ、コンクリート床版の大きな乾燥収縮やプレストレス導入による大きな変形に対しても拘束力を及ぼさない構造とすることができる。
また、本発明は、隣り合うプレキャストコンクリート板を、鋼桁上にてその端面間に空隙を隔てて突合せた配置に架設し、該プレキャストコンクリート板の端面間の空隙を上下に仕切り、その上側を目地用空隙となすとともに下側をスタッド埋設用凹部となし、該スタッド埋設用凹部内にのみ前記鋼桁と一体化させたずれ止め用スタッドを突設させた状態となし、該スタッド埋設用凹部内への充填材の充填に先立って、前記目地用空隙に硬化性目地材を充填し、その硬化を待って該目地用空隙を横切る方向に前記プレキャストコンクリート板間に跨らせたPC緊張材によってプレストレスを付与することとしたことにより、目地部を鋼桁上に位置させる場合においても、場所打ち地の目地材が占める割合を小さいものとし、広いスタッド埋設用凹部の形成が容易となる。
更に、鋼桁上に端面が突合せ配置に架設される各プレキャストコンクリート板の突合せ側端面に、中間高さ位置より稍下側に水平方向に向けた仕切り用突条を一体に備え、該突条を前記鋼桁上で互いに突合せることによって前記プレキャストコンクリート板間の空隙を上下に仕切るようにしたことにより、狭い目地空間と広いスタッド埋設用凹部とをプレキャストコンクリート板製造時に形成しておくことができ、現場作業が簡略化され、しかも工場での成型が可能なため、目地部の構造を高品質で信頼性の高いものとすることができる。
更に、前記スタッド埋設用凹部は、その上側の目地用空隙より広幅となし、該スタッド埋設用凹部内に、該空隙のプレキャストコンクリート板突き合わせ端面間方向(空隙幅方向)及びこれと直交する方向(空隙長さ方向)に向けて多数のスタッドを並べて突設することにより、場所打ち目地を小さく、ずれ止めのためのスタッド数を多くすることができ、コンクリート床版の品質の均質にでき、しかも鋼桁とコンクリート床版の結合を強固なものとすることができる。
更に、プレキャストコンクリート板間端面の両側端部に、前記仕切り用突条の下側に連続して下向き突条部を一体に形成しておき、該下向き突条部によって前記スタッド埋設用凹部の両端部を閉鎖させるようにすることにより、プレキャストコンクリート板を鋼桁上で端面を突き合わせるのみで、両端が閉鎖されプレキャストコンクリート板接合端面の長さ方向に連続したスタッド埋設用凹部が形成され、現場作業を少なくできる。
更に、互いに隣り合う平行な鋼桁上に、個別のプレキャストコンクリート板の中央部分下面を支持させ、各プレキャストコンクリート板間の目地空間を互いに隣り合う鋼桁の間の位置に設ける配置に複数のプレキャストコンクリート板を架設し、前記鋼桁上のプレキャストコンクリート板の底面に前記スタッド埋設用凹部を形成しておき、該スタッド埋設用凹部内に前記鋼桁上面のずれ止め用スタッドを挿入した状態で該プレキャストコンクリート板を架設し、前記目地空間内に目地用充填材を充填し、その硬化を待って各プレキャストコンクリート板に連続させたプレストレスを導入させ、然る後前記スタッド埋設用凹部内に充填材を充填することによりコンクリート床版と鋼桁とを一体化させるようにすることにより、施工上の条件、例えば1枚のプレキャストコンクリート板の重量制限や、運搬時の大きさの制限によって、鋼桁間隔より短いプレキャストコンクリート板を使用しなければならない場合であっても、前述と同様に場所打ちの目地部を小さいものとし、かつ鋼桁とコンクリート床版とを結合させるスタッド埋設用凹部の面積を大きなものとすることができる。
更に、スタッド埋設用凹部への充填材の充填は、前記コンクリート床版を貫通してその上面に開口させた複数の充填材注入路より行うこととすることによって、プレストレスを付与した後のコンクリート床版上で充填材の注入作業ができ、作業効率がよくなる。
次に、本発明の実施形態を図に基づいて説明する。
図1は本発明方法によって構築される、鋼桁上に目地部を設けた合成床版の一例の概略を示している。図において、符号10はコンクリート床版であり、11はコンクリート床版10を支持しこれと一体化された鋼桁である。この鋼桁11は図には示してないが、ジャケツと構造の桟橋に使用する場合には、水底の地盤に立設したコンクリート支柱等の下部工に支持させるものである。
コンクリート床版10は、複数のプレキャストコンクリート板12,12......を鋼桁11,11......間に掛け渡し、各プレキャストコンクリート板12,12の接合端面を鋼桁11上で互いにつき合わせ、その突合せ部の上側には上方が開放され、底部が閉鎖された目地空間13を形成させ、下側に下側が開放され上側が閉鎖されたスタッド埋設用凹部14を形成させている。そして目地空間13内には硬化性の目地材15が充填され、スタッド埋設用凹部14内には、鋼桁11の上面に突設した多数のずれ止め用スタッド16,16......が挿入されるとともにこれを埋め込んで一体化させる硬化性の充填材17が充填されている。この目地材15及び充填材17には一例として無収縮性のセメント系目地モルタルを使用するが、この他樹脂モルタル等、充填作業時には流動性を有し、充填後に硬化し、所定の強度が発現する各種の材料が使用できる。
また、目地空間13の幅a(図2中に示す)はプレキャストコンクリート板12,12相互間の接合の際に必要な目地を形成するに足る幅例えば50〜150mm程度としている。これに対し、スタッド埋設用凹部14の幅bは、鋼桁11上に突設された該鋼桁コンクリート床版との結合に必要な強度を発現させるに必要な数のスタッド16が全て収容され、かつ床版のコンクリート乾燥収縮やプレストレス付与の際の圧縮変形が生じた際の、スタッド16が凹部14の内面に接することなく相対移動が可能な幅に成型されている。と床版とに相対移動に影響を及ぼさない広さにその幅が設定されている。
プレキャストコンクリート板12,12......には、所定の単位長さのコンクリート床版10を構成するものに跨らせた配置にPC緊張材18が挿通されており、これが目地空間13内を横切って貫通されている。このPC緊張材18によってプレキャストコンクリート板12,12及び目地材15に連続させたプレストレスが付与され、これによって目地材15を介在させた複数のプレキャストコンクリート板12,12......に連続したプレストレスが付与されたトコンクリート床版10となっている。
次に上述したコンクリート床版10の構築方法について説明する。
先ず、使用するプレキャストコンクリート板12の長さに合わせて一定間隔毎に鋼桁11,11を設置する。この鋼桁11は水底面又は陸地上に立設した支柱に支持させるなど、適宜の下部工に支持させて設置する。鋼桁11には、その上面の所定位置にスタッド16,16......を予め一体に立設したものを使用する。
次いで、図6に示すように、鋼桁11,11に端部下面を支持させてプレキャストコンクリート板12,12......を架設する。このプレキャストコンクリート板12は工場にて成型されたものを使用し、それぞれの接合端面12aを鋼桁11上で突合せ配置に接合させる。
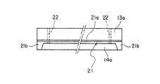
各接合端面12aには、その厚さ方向(上下方向)の中央よりやや高い位置にPC緊張材挿通孔20が開口されているとともに、厚さ方向の中央よりやや低い位置に水平方向に向けて仕切り用の突条21が突設されている。
この突条21は、図4、図5に示すように、プレキャストコンクリート板の両側縁部、即ち接合端面の両側端部に至る長さに形成され、接合端面12aの両端に到る水平部21aと、該水平部21aの両側端部下よりプレキャストコンクリート板底面に到る下向き部21b,21bとから構成されている。この水平部21aの上側が目地空間構成部13aとなっており、目地空間13を2分割した形状に成型されている。
また、水平部21aと両下向き部21b,21bによって囲まれる部分がスタッド埋設用凹部構成部14aとなっており、スタッド埋設用凹部14を2分割した形状に予め成型されている。
また、各プレキャストコンクリート板12の端部には、その上面と前記スタッド埋設用凹部構成部14aとに連通開口させた複数の充填材注入孔22が開口されている。
上記形状の接合端面を持つプレキャストコンクリート板12,12を、鋼桁11の上で両接合端面における突条21,21が接合するように対向させて鋼桁間に架設させることにより、突条21の上側に目地空間13を形成させ、突条21の下側にスタッド埋設用凹部14を形成させ、そのスタッド埋設用凹部14内にスタッド16を挿入させている。
また、プレキャストコンクリート板12の架設に際しては、その端部底面の前記スタッド埋設用凹部14の開口縁部と鋼桁上面間に目地材24を介在させ、スタッド埋設用凹部14の開口縁部と鋼桁11との間の隙間を埋めている。
このようにして各プレキャストコンクリート板12を架設した後、目地空間13内に開口したPC緊張材挿通孔20,20間に、これを連通させるジョイントシース23(図2に示す)を掛け渡す。また図には示してないが、必要に応じて互いに突合せ配置の突条21,21間の隙間をテープ状材又はコーキング材によって閉鎖する。
この状態で図7に示すように、目地空間13内に目地材15を注入し、その固化を待ってPC緊張材挿通孔20,20に跨らせてPC緊張材18を挿通し、これを緊張することにより予定した枚数のプレキャストコンクリート板20,20......に連続されたプレストレスを付与してそれらを一体化させ、所定長さのプレストレスが導入されたコンクリート床版10となす。
このようにしてコンクリート床版10を鋼桁11上に造成した後、コンクリートの乾燥収縮が著しい期間が経過するのを待ってスタッド埋設用凹部14内に充填材17を充填する。この充填作業は、コンクリート床版10上にて充填材注入孔22より充填材17を加圧注入することによって行い。これによってスタッド埋設用凹部14内にスタッド16を埋め込み、鋼桁11とコンクリート床版10とを一体化させる。
次に本発明の第2実施例を図8〜図10について説明する。
この実施例は、鋼桁11上にプレキャストコンクリート板の中央部分を支持させる場合を示しており、図8は完成状態の断面構造を示している。この実施例では鋼桁11上にプレキャストコンクリート板の長さ方向中央部分を支持させるものであり、鋼桁上用プレキャストコンクリート板30と、中間部用プレキャストコンクリート板31とを使用している。
鋼桁上用プレキャストコンクリート板30には、その底面の中央部分に予めスタッド埋設用凹部32が形成されている。このスタッド埋設用凹部32は前述と同様に、鋼桁11上に複数列配置に突設させたスタッド16が全て収容され、コンクリートの乾燥収縮やプレストレスの導入による床版の変形に対し、鋼桁が相対移動できるようにスタッド16とスタッド埋設用凹部32の内面との間に隙間ができる大きさに形成されている。このスタッド埋設用凹部32とプレキャストコンクリート板30の上面間に複数の充填材注入孔22が貫通開口されている。
鋼桁上用プレキャストコンクリート板30の両端の接合端面30aには、その下縁部に突条33が、接合端面30aの両側端部に跨る配置に突設されており、その上側が目地空間構成部34となっている。
中間部用プレキャストコンクリート板31は、スタッド埋設用凹部がなく、両端の接合端面31aに、鋼桁上用と同様の突条33が形成され、その上側が目地空間形成部33となっている。
また、各プレキャストコンクリート板30,31にはそれらに互いに連通させることができる配置にPC緊張材挿通孔20が形成されている。
施工に際しては、鋼桁11の上に鋼桁上用プレキャストコンクリート板30を、そのスタッド埋設用凹部32の開口縁部に目地材24を介在させ、該スタッド埋設用凹部32内に鋼桁11上のスタッド16を収容した状態に設置する。
この各鋼桁上用プレキャストコンクリート板30,30間に中間部用プレキャストコンクリート板31を挿入し、図示してないが支保工に支持させて、接合端面30a,31aの突条を付き合わせた状態に設置する。
このようにして各プレキャストコンクリート板30,31を架設した後、目地空間構成部34によって構成されている目地空間13内に開口したPC緊張材挿通孔20,20間に、これを連通させるジョイントシース23を掛け渡す。また前述と同様に必要に応じて互いに突合せ配置の突条33,33間の隙間をテープ状材又はコーキング材によって閉鎖する。
この状態で目地空間13内に目地材15を注入し、その固化を待ってPC緊張材挿通孔20,20に跨らせてPC緊張材18を挿通し、これを緊張することにより予定した枚数のプレキャストコンクリート板30,31に連続されたプレストレスを付与してそれらを一体化させ、所定長さのプレストレスが導入されたコンクリート床版10となす。
このようにしてコンクリート床版10を鋼桁11上に造成した後、コンクリートの乾燥収縮が著しい期間が経過するのを待って前述と同様にしてスタッド埋設用凹部32内に充填材17を充填する。これによってスタッド埋設用凹部14内にスタッド16を埋め込み、鋼桁11とコンクリート床版10とを一体化させる。
この第2実施例では、鋼桁上用プレキャストコンクリート板の間に中間部用プレキャストコンクリート板を介在させることによって目地位置を荷重によって生じる断面力(曲げモーメント)が小さい位置に設けることができるという利点があるが、これに限るものではなく1枚以上の中間部用プレキャストコンクリート板を介在させても良く、またこれを使用することなく、鋼桁上用プレキャストコンクリート板相互間を接合させるようにしてもよい。
上述した各実施例では、スタッド埋設用凹部14又は32をプレキャストコンクリート板の幅方向の両端に跨って連続した形状に形成し、1つのプレキャストコンクリート板と鋼桁とを一体化するための全てのずれ止め用スタッド16を、上記1つのスタッド埋設用凹部14又は32内に挿入する構造としているが、この他、図11に示すように、プレキャストコンクリート板12又は30の幅方向に複数のスタッド埋設用凹部35,35......を並べて開口させ、それぞれのスタッド埋設用凹部35に充填材注入孔22,22を連通させ、そのスタッド埋設用凹部35毎に鋼桁11上に突設したずれ止め用スタッド16,16......を挿入させる構造としてもよい。
また、上述した実施例では、1つのスタッド埋設用スタッド埋設用凹部14,32又は35内に複数のずれ止め用スタッド16を挿入したもの、即ち、複数のスタッド16に対して1つのスタッド埋設用凹部14,32又は35を共用したものを示しているが、この他図には示してないが、1本のずれ止め用スタッド16毎に、1つのスタッド埋設用凹部を個別に備えたものであってもよい。
本発明方法の第1実施例によって構築される合成床版の縦断面図である。 同上の鋼桁上部分の拡大縦断側面図である。 同、拡大縦断正面図である。 第1実施例において使用しているプレキャストコンクリート板の縦断面図である。 同、正面図である。 本発明方法の施工工程におけるプレキャストコンクリート板架設時の状態を略図的に示す断面図である。 同、プレストレス導入状態を示す断面図である。 本発明方法の第2実施例によって構築される合成床版の断面図である。 同上の鋼桁上部分の拡大縦断側面図である。 第2実施例のプレキャストコンクリート板の接合部分を示す縦断正面図である。 本発明方法におけるスタッド埋設用凹部の配置を違えた実施例を示す断面図である。 従来例の概略を示す縦断面図である。
a,b 幅
10 コンクリート床版
11 鋼桁
12 プレキャストコンクリート板
12a 接合端面
13 目地空間
13a 目地空間構成部
14 スタッド埋設用凹部
14a スタッド埋設用凹部構成部
15 目地材
16 ずれ止め用スタッド
17 充填材
18 PC緊張材
20 PC緊張材挿通孔
21 突条
21a 水平部
21b 下向き部
22 充填材注入孔
23 ジョイントシース
24 目地材
30 鋼桁上用プレキャストコンクリート板
30a 接合端面
31 中間部用プレキャストコンクリート板
31a 接合端面
32 スタッド埋設用凹部
33 突条
34 目地空間形成部
35 スタッド埋設用凹部

Claims (2)

  1. 鋼桁上に複数のプレキャストコンクリート板を並べて設置し、該プレキャストコンクリート板相互間に連続させてプレストレスを導入することによって前記プレキャストコンクリート板相互間を一体化させるプレキャストコンクリート板を使用した鋼・コンクリート合成床版の構築方法において、
    互いに隣り合う平行な鋼桁上に、個別のプレキャストコンクリート板の中央部分下面を支持させ、各プレキャストコンクリート板間の目地空間が互いに隣り合う鋼桁の間の位置に位置される配置に複数のプレキャストコンクリート板を架設し、前記鋼桁上のプレキャストコンクリート板の底面に該プレキャストコンクリート板の厚さ方向の中央部分より浅いスタッド埋設用凹部を予め設けておき、
    該スタッド埋設用凹部内に前記鋼桁の上面に突設したずれ止め用スタッドを挿入させ、前記目地空間内に目地用充填材を充填し、その硬化を待って各プレキャストコンクリート板に連続させたプレストレスを導入させることにより各プレキャストコンクリート板を一体化させたコンクリート床版を形成し、
    然る後前記スタッド埋設用凹部内に充填材を充填して該スタッドを前記コンクリート床版の底面内に埋め込むことにより前記コンクリート床版と鋼桁とを一体化させることを特徴としてなるプレキャストコンクリート板を使用した鋼・コンクリート合成床版の構築方法。
  2. スタッド埋設用凹部への充填材の充填は、前記コンクリート床版を貫通してその上面に開口させた複数の充填材注入路より行う請求項1に記載のプレキャストコンクリート板を使用した鋼・コンクリート合成床版の構築方法。
JP2010263682A 2010-11-26 2010-11-26 プレキャストコンクリート板を使用した鋼・コンクリート合成床版の構築方法 Expired - Lifetime JP5051598B2 (ja)

Priority Applications (1)

Application Number Priority Date Filing Date Title
JP2010263682A JP5051598B2 (ja) 2010-11-26 2010-11-26 プレキャストコンクリート板を使用した鋼・コンクリート合成床版の構築方法

Applications Claiming Priority (1)

Application Number Priority Date Filing Date Title
JP2010263682A JP5051598B2 (ja) 2010-11-26 2010-11-26 プレキャストコンクリート板を使用した鋼・コンクリート合成床版の構築方法

Related Parent Applications (1)

Application Number Title Priority Date Filing Date
JP2005289713A Division JP4844918B2 (ja) 2005-10-03 2005-10-03 プレキャストコンクリート板を使用した鋼・コンクリート合成床版の構築方法

Publications (2)

Publication Number Publication Date
JP2011074754A true JP2011074754A (ja) 2011-04-14
JP5051598B2 JP5051598B2 (ja) 2012-10-17

Family

ID=44019008

Family Applications (1)

Application Number Title Priority Date Filing Date
JP2010263682A Expired - Lifetime JP5051598B2 (ja) 2010-11-26 2010-11-26 プレキャストコンクリート板を使用した鋼・コンクリート合成床版の構築方法

Country Status (1)

Country Link
JP (1) JP5051598B2 (ja)

Cited By (7)

* Cited by examiner, † Cited by third party
Publication number Priority date Publication date Assignee Title
CN102251581A (zh) * 2011-04-29 2011-11-23 深圳市建筑设计研究总院有限公司 钢梁-钢筋混凝土楼盖结构及其施工方法
CN103790237A (zh) * 2014-02-17 2014-05-14 沈阳建筑大学 一种预制混凝土叠合楼板与h型钢梁的连接构件
CN103866689A (zh) * 2014-03-30 2014-06-18 长安大学 一种桥梁加宽用新旧桥连接加固构造
CN105275091A (zh) * 2015-09-17 2016-01-27 中民筑友有限公司 一种预制板与预制梁的连接节点及其施工方法
JP2017101445A (ja) * 2015-12-01 2017-06-08 鹿島建設株式会社 プレキャスト床版の接合方法及びプレキャスト床版の接合構造
CN110130220A (zh) * 2019-06-21 2019-08-16 浙江省交通规划设计研究院有限公司 一种应用于梁桥上的新型混凝土桥面连续构造
JP2020100966A (ja) * 2018-12-20 2020-07-02 鹿島建設株式会社 主桁とプレキャスト床版との固定構造及び主桁とプレキャスト床版との固定方法

Families Citing this family (1)

* Cited by examiner, † Cited by third party
Publication number Priority date Publication date Assignee Title
CN106481027A (zh) * 2016-12-26 2017-03-08 河南省第建筑工程集团有限责任公司 楼板质量综合控制方法及所用多功能楼板质量控制模块

Cited By (11)

* Cited by examiner, † Cited by third party
Publication number Priority date Publication date Assignee Title
CN102251581A (zh) * 2011-04-29 2011-11-23 深圳市建筑设计研究总院有限公司 钢梁-钢筋混凝土楼盖结构及其施工方法
CN103790237A (zh) * 2014-02-17 2014-05-14 沈阳建筑大学 一种预制混凝土叠合楼板与h型钢梁的连接构件
CN103790237B (zh) * 2014-02-17 2016-07-06 沈阳建筑大学 一种预制混凝土叠合楼板与h型钢梁的连接构件
CN103866689A (zh) * 2014-03-30 2014-06-18 长安大学 一种桥梁加宽用新旧桥连接加固构造
CN103866689B (zh) * 2014-03-30 2015-12-30 长安大学 一种桥梁加宽用新旧桥连接加固构造
CN105275091A (zh) * 2015-09-17 2016-01-27 中民筑友有限公司 一种预制板与预制梁的连接节点及其施工方法
JP2017101445A (ja) * 2015-12-01 2017-06-08 鹿島建設株式会社 プレキャスト床版の接合方法及びプレキャスト床版の接合構造
JP2020100966A (ja) * 2018-12-20 2020-07-02 鹿島建設株式会社 主桁とプレキャスト床版との固定構造及び主桁とプレキャスト床版との固定方法
JP7186600B2 (ja) 2018-12-20 2022-12-09 鹿島建設株式会社 主桁とプレキャスト床版との固定構造及び主桁とプレキャスト床版との固定方法
CN110130220A (zh) * 2019-06-21 2019-08-16 浙江省交通规划设计研究院有限公司 一种应用于梁桥上的新型混凝土桥面连续构造
CN110130220B (zh) * 2019-06-21 2024-03-05 浙江数智交院科技股份有限公司 一种应用于梁桥上的新型混凝土桥面连续构造

Also Published As

Publication number Publication date
JP5051598B2 (ja) 2012-10-17

Similar Documents

Publication Publication Date Title
JP5051598B2 (ja) プレキャストコンクリート板を使用した鋼・コンクリート合成床版の構築方法
KR102025048B1 (ko) 프리캐스트 콘크리트 바닥판 모듈
JP4844918B2 (ja) プレキャストコンクリート板を使用した鋼・コンクリート合成床版の構築方法
KR101479613B1 (ko) 박스형 연결보를 이용하여 바닥판 이음부를 형성하는 프리캐스트 강합성 바닥판 및 그 연결 방법
JP2009041227A (ja) プレキャスト床版の接合構造及び接合方法
JP6223082B2 (ja) 橋桁
KR102061224B1 (ko) 상하분리형 프리캐스트 암거 박스 및 그 시공 방법
KR101018411B1 (ko) 골 데크플레이트용 보 옆판 거푸집 및 그를 사용한 춤이 깊은 골 데크플레이트 플로어 공법을 위한 철근콘크리트보와 바닥판의 결합구조 및 시공방법
KR101653803B1 (ko) 소하천 조립식 교량
JP2006316580A (ja) 波形鋼板ウエブpc合成桁及びその波形鋼板ウエブpc合成桁を使用した橋梁構築方法
JP6674768B2 (ja) プレキャスト床版の接合方法及びプレキャスト床版の接合構造
KR101402620B1 (ko) 슬래브교용 하프피씨슬래브를 이용한 합성 슬래브형 라멘교의 시공방법
JP7528002B2 (ja) プレキャストコンクリート床版及び接合方法
JP5875951B2 (ja) 桁と床版との接合構造及び方法
KR101324884B1 (ko) 습식공법과 건식공법을 결합한 하이브리드 건축 시공방법
KR101492066B1 (ko) 기둥의 기초공법
KR101639592B1 (ko) 교량용 조립형 경량거더 및 이를 이용한 교량의 시공방법
JP4604279B2 (ja) コンクリート床板の構築方法
JP2010281040A (ja) 鋼コンクリート合成床版、鋼コンクリート合成床版構築用パネルおよび鋼コンクリート合成床版の構築方法
KR101650856B1 (ko) 상단에 슬래브 블록이 일체로 구성되는 i형 거더 및 이를 이용한 교량의 시공방법
JPH0426483Y2 (ja)
JPH09273117A (ja) 床版の目地構造
JP6952628B2 (ja) ハーフPCa耐震壁の接合構造
JP2001146715A (ja) ハーフプレキャスト床版及びその接合構造
KR101047426B1 (ko) 몰 타르 접착에 의한 강 합성 교량 시공방법 및 이를이용하여 얻어진 강 합성 교량

Legal Events

Date Code Title Description
TRDD Decision of grant or rejection written
A01 Written decision to grant a patent or to grant a registration (utility model)

Free format text: JAPANESE INTERMEDIATE CODE: A01

Effective date: 20120620

A01 Written decision to grant a patent or to grant a registration (utility model)

Free format text: JAPANESE INTERMEDIATE CODE: A01

A61 First payment of annual fees (during grant procedure)

Free format text: JAPANESE INTERMEDIATE CODE: A61

Effective date: 20120713

R150 Certificate of patent or registration of utility model

Free format text: JAPANESE INTERMEDIATE CODE: R150

Ref document number: 5051598

Country of ref document: JP

Free format text: JAPANESE INTERMEDIATE CODE: R150

FPAY Renewal fee payment (event date is renewal date of database)

Free format text: PAYMENT UNTIL: 20150803

Year of fee payment: 3

R250 Receipt of annual fees

Free format text: JAPANESE INTERMEDIATE CODE: R250

R250 Receipt of annual fees

Free format text: JAPANESE INTERMEDIATE CODE: R250

R250 Receipt of annual fees

Free format text: JAPANESE INTERMEDIATE CODE: R250

S531 Written request for registration of change of domicile

Free format text: JAPANESE INTERMEDIATE CODE: R313531

R350 Written notification of registration of transfer

Free format text: JAPANESE INTERMEDIATE CODE: R350

S533 Written request for registration of change of name

Free format text: JAPANESE INTERMEDIATE CODE: R313533

R250 Receipt of annual fees

Free format text: JAPANESE INTERMEDIATE CODE: R250

R350 Written notification of registration of transfer

Free format text: JAPANESE INTERMEDIATE CODE: R350