JP2011069106A - シールド掘削機のビット交換装置 - Google Patents

シールド掘削機のビット交換装置 Download PDF

Info

Publication number
JP2011069106A
JP2011069106A JP2009220805A JP2009220805A JP2011069106A JP 2011069106 A JP2011069106 A JP 2011069106A JP 2009220805 A JP2009220805 A JP 2009220805A JP 2009220805 A JP2009220805 A JP 2009220805A JP 2011069106 A JP2011069106 A JP 2011069106A
Authority
JP
Japan
Prior art keywords
bit
hole
reaction force
housing
cutter head
Prior art date
Legal status (The legal status is an assumption and is not a legal conclusion. Google has not performed a legal analysis and makes no representation as to the accuracy of the status listed.)
Granted
Application number
JP2009220805A
Other languages
English (en)
Other versions
JP5244061B2 (ja
Inventor
Takashi Nakane
隆 中根
Current Assignee (The listed assignees may be inaccurate. Google has not performed a legal analysis and makes no representation or warranty as to the accuracy of the list.)
IHI Corp
Original Assignee
IHI Corp
Priority date (The priority date is an assumption and is not a legal conclusion. Google has not performed a legal analysis and makes no representation as to the accuracy of the date listed.)
Filing date
Publication date
Application filed by IHI Corp filed Critical IHI Corp
Priority to JP2009220805A priority Critical patent/JP5244061B2/ja
Publication of JP2011069106A publication Critical patent/JP2011069106A/ja
Application granted granted Critical
Publication of JP5244061B2 publication Critical patent/JP5244061B2/ja
Active legal-status Critical Current
Anticipated expiration legal-status Critical

Links

Images

Landscapes

  • Excavating Of Shafts Or Tunnels (AREA)

Abstract

【課題】構造が簡単で、高水圧下及び土砂雰囲気での作動の信頼性が高いシールド掘削機のビット交換装置を提供する。
【解決手段】カッタヘッド4に設けられカッタヘッド4内からビット8を挿入してビット8の先端部が切羽側に突出するように収容する貫通穴11を有するハウジング12と、切羽側に突出したビット8が摩耗した際に新たなビット8を摩耗したビット8の後部に押し当てた状態でハウジング12から反力をとって新たなビット8を貫通穴11の前方向に押し込んで摩耗したビット8を貫通穴11の前方に押し出すための押出装置13と、新たなビット8を押出装置13で貫通穴11に押し込む際に押出装置13の反力をハウジング12に伝える第一反力材14と、押出装置13で貫通穴11に押し込んだ新たなビット8が後退しないように新たなビット8の後部を支持する第二反力材15とを備えた。
【選択図】図2

Description

本発明は、シールド掘削機のカッタヘッドに設けられ地山を切削するビットを交換するための装置に関する。
シールド掘削機は、一般に、掘進方向と平行な軸回りに回転駆動されるカッタヘッドを備えており、そのカッタヘッドには、地山を切削するためのビットが取り付けられている。かかるビットは、地山を切削することで摩耗するため、長距離施工においてはビット交換等の対策が必要となる。
従来、薬液注入等で前方の切羽を固めた後、作業員が切羽側に出てビットを交換する方法が一般的に採用されている。作業員が切羽側に出てビットを交換する場合、薬液注入等を行うことによる工事費の増大や作業期間の長期化等、各種の問題が存在する。
そこで、作業員が切羽側に出ることなく、ビットを交換可能とするビット交換装置が多数提案されている(特許文献1〜3参照)。
特開2001−27097号公報 特開2002−357084号公報 特開2008−63780号公報
しかしながら、提案されているビット交換装置は、構造が複雑なものが多く、高水圧下及び土砂雰囲気での作動の信頼性が低いものが多かった。
そこで、本発明の目的は、構造が簡単で、高水圧下及び土砂雰囲気での作動の信頼性が高いシールド掘削機のビット交換装置を提供することにある。
前記目的を達成するために、本発明は、シールド掘削機のカッタヘッドに設けられ地山を切削するビットを交換するための装置において、前記カッタヘッドに設けられ前記カッタヘッド内からビットを挿入して該ビットの先端部が切羽側に突出するように収容する貫通穴を有するハウジングと、該ハウジングに着脱可能に設けられ切羽側に突出したビットが摩耗した際に新たなビットを摩耗したビットの後部に押し当てた状態で前記ハウジングから反力をとって新たなビットを前記貫通穴の前方向に押し込んで摩耗したビットを前記貫通穴の前方に押し出すための押出装置と、前記ハウジングに着脱可能に設けられ新たなビットを前記押出装置で前記貫通穴に押し込む際に前記押出装置の反力を前記ハウジングに伝える第一反力材と、前記ハウジングに着脱可能に設けられ前記押出装置で前記貫通穴に押し込んだ新たなビットが後退しないように新たなビットの後部を支持する第二反力材とを備えたものである。
本発明によれば、構造が簡単で、高水圧下及び土砂雰囲気での作動の信頼性が高いシールド掘削機のビット交換装置を提供することができるという優れた効果を奏する。
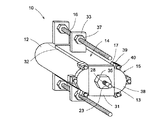
図1は、本発明の一実施形態に係るビット交換装置を備えたシールド掘削機の側断面図である。 図2(a)はビット交換装置の側断面図であり、図2(b)は図2(a)のA−A線矢視図及び図2(a)のB−B線矢視図である。 図3は、ビット交換装置の斜視図である。 図4(a)〜図4(d)は、ビット交換手順を示す図である。 図5(e)〜図5(h)は、ビット交換手順を示す図である。
以下、本発明の好適な実施形態を添付図面に基づいて詳述する。
図1に示すように、シールド掘削機1は、円筒状のシールドフレーム2と、シールドフレーム2内を掘進方向の前後に仕切る隔壁3と、隔壁3に掘進方向と平行な軸回りに回転可能に支持されたカッタヘッド4と、シールドフレーム2内でセグメントをリング状に組み立てるエレクタ(図示せず)と、シールドフレーム2の内面に装着されリング状に組み立てられたセグメントに反力を取ってシールドフレーム2を前進させるシールドジャッキ(図示せず)とを備えている。
カッタヘッド4は、隔壁3に回転可能に支持された中心部5と、中心部5に周方向に間隔を隔てて放射状に装着された複数のカッタスポーク6とを有し、図示しないモータ、ギヤ等からなる駆動手段により、掘進方向と平行な軸回りに回転駆動される。中心部5には、フィッシュテールビット7が装着され、カッタスポーク6には、ビット8がカッタヘッド4の径方向に間隔を隔てて複数配設されている。
フィッシュテールビット7及びビット8は、シールドジャッキを伸長させることで地山に押し付けられ、その状態でカッタヘッド4が回転されることで地山を切削する。
なお、カッタヘッド4は、本実施形態ではスポークタイプのものを示したが、面板タイプのものであっても良い。
図1に示すように、ビット交換装置10は、カッタスポーク6に複数整列して設けられている。
図2及び図3に示すように、ビット交換装置10は、カッタヘッド4(本実施形態では、カッタースポーク6)にその前面Fに開口するように設けられカッタヘッド4内からビット8を挿入してその先端部が切羽側に突出するように収容する貫通穴11を有するハウジング12と、ハウジング12に着脱可能に設けられ、切羽側に突出したビット8が摩耗した際に新たなビット8を摩耗したビット8の後部に押し当てた状態でハウジング12から反力をとって新たなビット8を貫通穴11の前方向に押し込んで摩耗したビット8を貫通穴11の前方に押し出すための押出装置13と、ハウジング12に着脱可能に設けられ、新たなビット8を押出装置13で貫通穴11に押し込む際に押出装置13の反力をハウジング12に伝える第一反力材14と、ハウジング12に着脱可能に設けられ、押出装置13で貫通穴11に押し込んだ新たなビット8が後退しないように新たなビット8の後部を支持する第二反力材15とを備えている。
ハウジング12の貫通穴11は、楕円形(或いは小判形)に形成されている(図2(b)参照)。また、ハウジング12の前端部には、前端部から貫通穴11の後方向に延出するスタッドボルト16が設けられている。また、ハウジング12の後端部には、後端部から貫通穴11の径方向外方に突出するように複数形成された耳部17が設けられている。
ビット8は、貫通穴11に貫通穴11の前後方向に沿って移動可能に挿入される台座18と、台座18から貫通穴11の前方向に延出させて設けられ、台座18より小径に形成される小径部19と、小径部19から貫通穴11の前方向に延出させて設けられ、超硬チップ(図示せず)が取り付けられる本体部20とを有している。台座18の外周部には、貫通穴11の内周と台座18の外周との隙間をシールするリング状のシール21が設けられている。台座18は、断面楕円形(或いは断面小判形)に形成されており(図2(b)参照)、台座18の外周面が貫通穴11の内周面に当接することでビット8が貫通穴11の前後方向軸回りに回転するのを防止するようになっている。台座18には、そのビット8の後方に配置されるビット8の本体部20を収容する凹部22が設けられており、後方のビット8の本体部20を前方のビット8の凹部22に収容した状態で、後方のビット8を貫通穴11の前方向に押し込むことで、後方のビット8によって前方のビット8が貫通穴11の前方向に移動されるようになっている。また、台座18、小径部19及び本体部20には、後述するロッド23を挿通可能なロッド挿通穴24が凹部22に連続させて設けられており、ロッド挿通穴24の先端部には雌ネジ部25が設けられている。
本実施形態では、ビット8は、各ハウジング12の貫通穴11に二個ずつ直列に収容されている。
押出装置13は、ビット8のロッド挿通穴24に挿通されたロッド23と、ビット8を貫通穴11に沿って移動させるためのセンターホールジャッキ26(図4(d)等参照)とを有している。ロッド23の先端部には、先端側雄ネジ部27が設けられており、先端側雄ネジ部27が切羽側に突出したビット8の本体部20に設けられた雌ネジ部25に螺合されている。また、ロッド23の後端部には、後端側雄ネジ部28が設けられている。センターホールジャッキ26は、筒状に形成された外筒部29と、外筒部29に外筒部29の長手方向に沿って移動可能に挿通され、ロッド23と係合可能な内筒部30とを有している(図4(d)等参照)。
第一反力材14は、貫通穴11の幅方向中間部を塞ぐ四角形の板状の蓋部31(図2(a)参照)と、蓋部31から貫通穴11の前方向に延出させて設けられ、ハウジング12を貫通穴11の径方向外方から挟み込む一対の延出部32と、各延出部32から貫通穴11の径方向外方に延出させて設けられた耳部33とを有している。蓋部31には、ボルト挿通穴34が形成されており、ボルト挿通穴34にロッド23が挿通されている。ロックナット35を後方からロッド23の後端側雄ネジ部28に締めることで、ロッド23及びロックナット35によって、切羽側に突出したビット8を貫通穴11の前方向に移動しないように規制している。また、耳部33には、ボルト挿通穴36が形成されており、ボルト挿通穴36にスタッドボルト16が挿通されている。ナット37を後方からスタッドボルト16に締めることで、ナット37によって、第一反力材14を貫通穴11の後方向に移動しないように規制している。
第二反力材15は、貫通穴11の幅方向端部をそれぞれ塞ぐ一対の半円形の板状の蓋部38(図2(b)参照)と、各蓋部38から貫通穴11の径方向外方に突出するように複数形成された耳部39とを有している。ハウジング12の耳部17と第二反力材15の耳部39とをボルト40で締結することで、第二反力材15がハウジング12に取り付けられている。
次に、ビット交換手順を図4及び図5を用いて説明する。
ビット8を交換する場合、カッタヘッド4の駆動を止めた後、カッタスポーク6内の作業スペースS(図1及び図4(a)参照)に作業員が入り、カッタスポーク6に設けられたそれぞれのビット交換装置10のビット8を交換する。本実施形態では、カッタヘッド6の中心部5が中空に形成されると共に中心部5にマンホールが設けられており、そのマンホールを通じて作業員がカッタスポーク6内の作業スペースSに入るようになっている。図4(a)に示す状態では、ビット8は第一反力材14と第二反力材15とによって後退しないように支持されている。
まず、図4(b)に示すように、ロックナット35をロッド23から取り外すと共に、第一反力材14をハウジング12から取り外す。第一反力材14の取り外しにより、ビット8は第二反力材15によって後退しないように支持される。
次に、図4(c)に示すように、ロッド23を切羽側に突出したビット8から引き抜いて、切羽側に突出したビット8の後方に配置されたビット8に係合させる。そして、別のビット8を貫通穴11に予め収容されていたビット8の後方に配置する。その後、第一反力材14を再びハウジング12に取り付ける。
次に、図4(d)に示すように、ロッド23に継ぎ足し部41を継ぎ足すと共に、センターホールジャッキ26を第一反力材14に取り付ける。その後、第一反力材14の蓋部31前面を最後方に配置されたビット8の後端に当接させた状態で、ナット37をスタッドボルト16に締める。
次に、図5(e)に示すように、センターホールジャッキ26を伸ばしてロッド23と固定する。その後、第二反力材15をハウジング12から取り外す。第二反力材15の取り外しにより、ビット8はセンターホールジャッキ26及び第一反力材14によって後退しないように支持される。
次に、図5(f)に示すように、センターホールジャッキ26を縮めてビット8を貫通穴11の前方向に押し込むことで、切羽側に突出する摩耗したビット8を貫通穴11の前方向に移動させる。そして、センターホールジャッキ26を最縮退状態或いはそれに近い状態まで縮めたならば、センターホールジャッキ26を盛り替えるため、第二反力材15の蓋部38前面を最後方に配置されたビット8の後部に当接させた状態で、第二反力材15をボルト40を用いてハウジング12に取り付ける。第二反力材15の取り付けにより、ビット8は第二反力材15によって後退しないように支持される。
次に、図5(g)に示すように、第一反力材14を第二反力材15の位置まで貫通穴11の前方向に移動させ、ナット37をさらに締める。そして、切羽側に突出する摩耗したビット8が貫通穴11の前方に押し出されて、その後方のビット8の先端部が切羽側に突出するまで、図5(e)〜図5(g)の手順を繰り返す。
そして、図5(h)に示すように、切羽側に突出する摩耗したビット8が貫通穴11の前方に押し出されて、その後方のビット8の先端部が切羽側に突出したならば、センターホールジャッキ26を第一反力材14から取り外すと共に、継ぎ足し部41をロッド23から取り外す。そして、ロックナット35をロッド23に締結して、ビット8の交換作業が終了する。
このように、本実施形態によれば、摩耗したビット8を貫通穴11の前方に押し出すといった簡単な作業でビット8の交換が確実に行われるので、薬液注入等をして作業員が切羽側に出てビット8を交換する場合と比較して、工事費の増大や作業期間の長期化等を効果的に抑制することが可能となる。
また、本実施形態では、ビット8が後退しないように第二反力材15で支持する方法を採用しており、例えばラチェットのようなビット8の後退防止機構(特許文献2参照)を設ける必要がなく、その構造は、非常に簡単なものとなり、且つ高水圧下及び土砂雰囲気での作動の信頼性が高い。
以上、本発明の好適な実施形態について説明したが、本発明は上記実施形態には限定されず他の様々な実施形態を採ることが可能である。
例えば、ロングストロークの押出装置13(センターホールジャッキ26)を採用する場合や、ビット8の高さが低くても良い場合は、押出装置13(センターホールジャッキ26)の盛り替えが不用となる。
また、ビット交換装置10はカッタスポーク6に設けるものとしたが、これに限るものではない。ビット交換装置10を、カッタヘッド4のいずれの位置に設けても良く、例えば中心部5に設けても良い。
また、貫通穴11は楕円形(或いは小判形)に形成すると共にビット8の台座18は断面楕円形(或いは断面小判形)に形成するものとしたが、これに限るものではない。貫通穴11及びビット8の台座18は、ビット8の回転を防止できる形状であれば良く、非円形であれば他の形状であっても良い。
1 シールド掘削機
4 カッタヘッド
8 ビット
10 ビット交換装置
11 貫通穴
12 ハウジング
13 押出装置
14 第一反力材
15 第二反力材

Claims (1)

  1. シールド掘削機のカッタヘッドに設けられ地山を切削するビットを交換するための装置において、前記カッタヘッドに設けられ前記カッタヘッド内からビットを挿入して該ビットの先端部が切羽側に突出するように収容する貫通穴を有するハウジングと、該ハウジングに着脱可能に設けられ切羽側に突出したビットが摩耗した際に新たなビットを摩耗したビットの後部に押し当てた状態で前記ハウジングから反力をとって新たなビットを前記貫通穴の前方向に押し込んで摩耗したビットを前記貫通穴の前方に押し出すための押出装置と、前記ハウジングに着脱可能に設けられ新たなビットを前記押出装置で前記貫通穴に押し込む際に前記押出装置の反力を前記ハウジングに伝える第一反力材と、前記ハウジングに着脱可能に設けられ前記押出装置で前記貫通穴に押し込んだ新たなビットが後退しないように新たなビットの後部を支持する第二反力材とを備えたことを特徴とするシールド掘削機のビット交換装置。
JP2009220805A 2009-09-25 2009-09-25 シールド掘削機のビット交換装置 Active JP5244061B2 (ja)

Priority Applications (1)

Application Number Priority Date Filing Date Title
JP2009220805A JP5244061B2 (ja) 2009-09-25 2009-09-25 シールド掘削機のビット交換装置

Applications Claiming Priority (1)

Application Number Priority Date Filing Date Title
JP2009220805A JP5244061B2 (ja) 2009-09-25 2009-09-25 シールド掘削機のビット交換装置

Publications (2)

Publication Number Publication Date
JP2011069106A true JP2011069106A (ja) 2011-04-07
JP5244061B2 JP5244061B2 (ja) 2013-07-24

Family

ID=44014620

Family Applications (1)

Application Number Title Priority Date Filing Date
JP2009220805A Active JP5244061B2 (ja) 2009-09-25 2009-09-25 シールド掘削機のビット交換装置

Country Status (1)

Country Link
JP (1) JP5244061B2 (ja)

Citations (4)

* Cited by examiner, † Cited by third party
Publication number Priority date Publication date Assignee Title
JPH06229194A (ja) * 1993-02-03 1994-08-16 Hitachi Zosen Corp シールド掘進機
JPH09100697A (ja) * 1995-10-06 1997-04-15 Mitsubishi Heavy Ind Ltd カッタビット交換装置
JP2003253988A (ja) * 2002-03-05 2003-09-10 Kawasaki Heavy Ind Ltd カッタビット交換装置とその交換方法と交換治具
JP2010007402A (ja) * 2008-06-30 2010-01-14 Mitsubishi Heavy Industries Tunneling Machinery & Geotechnology Co Ltd トンネル掘削機のフィッシュテール、フィッシュテール保護装置、ビット交換装置及びビット交換方法

Patent Citations (4)

* Cited by examiner, † Cited by third party
Publication number Priority date Publication date Assignee Title
JPH06229194A (ja) * 1993-02-03 1994-08-16 Hitachi Zosen Corp シールド掘進機
JPH09100697A (ja) * 1995-10-06 1997-04-15 Mitsubishi Heavy Ind Ltd カッタビット交換装置
JP2003253988A (ja) * 2002-03-05 2003-09-10 Kawasaki Heavy Ind Ltd カッタビット交換装置とその交換方法と交換治具
JP2010007402A (ja) * 2008-06-30 2010-01-14 Mitsubishi Heavy Industries Tunneling Machinery & Geotechnology Co Ltd トンネル掘削機のフィッシュテール、フィッシュテール保護装置、ビット交換装置及びビット交換方法

Also Published As

Publication number Publication date
JP5244061B2 (ja) 2013-07-24

Similar Documents

Publication Publication Date Title
JP5355439B2 (ja) 掘削機のビット交換装置
JP6445336B2 (ja) ローラーカッター交換装置及びローラーカッター交換方法
JP6752090B2 (ja) トンネル掘削機
JP5244061B2 (ja) シールド掘削機のビット交換装置
JP4931869B2 (ja) トンネル掘削機のフィッシュテール、ビット交換装置及びビット交換方法
JP6470077B2 (ja) トンネル掘進機の切削ビット取付構造
JP2013204222A (ja) トンネル掘進機
JP2002047889A (ja) カッタの交換方法及びトンネル掘削機
JP2009256921A (ja) シールド掘進機
JP3164793B2 (ja) トンネル掘進機における各種機器の支持構造
JP3844136B2 (ja) シールド掘進機のカッターヘッド
JP4222986B2 (ja) シールド掘進機のカッタビット交換装置および方法
JP2002357084A (ja) シールド掘進機のビット交換機構
JP5635926B2 (ja) シールド掘進機
JP4252504B2 (ja) トンネル掘削機及びトンネル掘削機のカッタ交換方法
JP4635240B2 (ja) シールド掘進機のビット交換装置
JP5854770B2 (ja) 牽引式カッタ交換機構付き地中接合工法用トンネル掘削機
JP3750052B2 (ja) シールドマシンにおけるカッタビットの交換方法
JP3396446B2 (ja) トンネル掘削機
JP2022048035A (ja) トンネル掘削機、掘削ツール交換装置および掘削ツール交換方法
JP2005133370A (ja) カッタ交換装置及び方法とトンネル掘削機
JP2012067601A (ja) トンネル掘削機のフィッシュテール保護装置、ビット交換装置及びビット交換方法
CN109707390A (zh) 一种盾构刀具
JP3787766B2 (ja) シールド掘進機の回転カッタ再生方法および装置
JP4248370B2 (ja) シールド掘削機およびそのカッタビット交換方法

Legal Events

Date Code Title Description
A621 Written request for application examination

Free format text: JAPANESE INTERMEDIATE CODE: A621

Effective date: 20120522

A711 Notification of change in applicant

Free format text: JAPANESE INTERMEDIATE CODE: A712

Effective date: 20121109

TRDD Decision of grant or rejection written
A977 Report on retrieval

Free format text: JAPANESE INTERMEDIATE CODE: A971007

Effective date: 20130329

A01 Written decision to grant a patent or to grant a registration (utility model)

Free format text: JAPANESE INTERMEDIATE CODE: A01

Effective date: 20130402

A61 First payment of annual fees (during grant procedure)

Free format text: JAPANESE INTERMEDIATE CODE: A61

Effective date: 20130405

FPAY Renewal fee payment (event date is renewal date of database)

Free format text: PAYMENT UNTIL: 20160412

Year of fee payment: 3

R150 Certificate of patent or registration of utility model

Free format text: JAPANESE INTERMEDIATE CODE: R150

Ref document number: 5244061

Country of ref document: JP

Free format text: JAPANESE INTERMEDIATE CODE: R150

R250 Receipt of annual fees

Free format text: JAPANESE INTERMEDIATE CODE: R250

S111 Request for change of ownership or part of ownership

Free format text: JAPANESE INTERMEDIATE CODE: R313111

S531 Written request for registration of change of domicile

Free format text: JAPANESE INTERMEDIATE CODE: R313531

R350 Written notification of registration of transfer

Free format text: JAPANESE INTERMEDIATE CODE: R350

R250 Receipt of annual fees

Free format text: JAPANESE INTERMEDIATE CODE: R250

R250 Receipt of annual fees

Free format text: JAPANESE INTERMEDIATE CODE: R250

R250 Receipt of annual fees

Free format text: JAPANESE INTERMEDIATE CODE: R250

R250 Receipt of annual fees

Free format text: JAPANESE INTERMEDIATE CODE: R250

R250 Receipt of annual fees

Free format text: JAPANESE INTERMEDIATE CODE: R250

R250 Receipt of annual fees

Free format text: JAPANESE INTERMEDIATE CODE: R250

R250 Receipt of annual fees

Free format text: JAPANESE INTERMEDIATE CODE: R250