JP2011069053A - 防水シート - Google Patents
防水シート Download PDFInfo
- Publication number
- JP2011069053A JP2011069053A JP2009218716A JP2009218716A JP2011069053A JP 2011069053 A JP2011069053 A JP 2011069053A JP 2009218716 A JP2009218716 A JP 2009218716A JP 2009218716 A JP2009218716 A JP 2009218716A JP 2011069053 A JP2011069053 A JP 2011069053A
- Authority
- JP
- Japan
- Prior art keywords
- sheet
- water
- waterproof
- resin
- asphalt
- Prior art date
- Legal status (The legal status is an assumption and is not a legal conclusion. Google has not performed a legal analysis and makes no representation as to the accuracy of the status listed.)
- Pending
Links
- 239000000835 fiber Substances 0.000 claims abstract description 55
- 229920005989 resin Polymers 0.000 claims abstract description 44
- 239000011347 resin Substances 0.000 claims abstract description 44
- 229920003002 synthetic resin Polymers 0.000 claims abstract description 33
- 239000000057 synthetic resin Substances 0.000 claims abstract description 33
- 239000010426 asphalt Substances 0.000 claims abstract description 32
- 239000000463 material Substances 0.000 claims abstract description 24
- 229920002803 thermoplastic polyurethane Polymers 0.000 claims abstract description 24
- -1 polypropylene Polymers 0.000 claims description 33
- 239000004743 Polypropylene Substances 0.000 claims description 20
- 229920001155 polypropylene Polymers 0.000 claims description 20
- 238000004078 waterproofing Methods 0.000 claims description 14
- 238000001035 drying Methods 0.000 claims 2
- XLYOFNOQVPJJNP-UHFFFAOYSA-N water Substances O XLYOFNOQVPJJNP-UHFFFAOYSA-N 0.000 abstract description 35
- 238000010521 absorption reaction Methods 0.000 abstract description 6
- 238000007789 sealing Methods 0.000 abstract 2
- 239000004745 nonwoven fabric Substances 0.000 description 22
- XEKOWRVHYACXOJ-UHFFFAOYSA-N Ethyl acetate Chemical compound CCOC(C)=O XEKOWRVHYACXOJ-UHFFFAOYSA-N 0.000 description 15
- YXFVVABEGXRONW-UHFFFAOYSA-N Toluene Chemical compound CC1=CC=CC=C1 YXFVVABEGXRONW-UHFFFAOYSA-N 0.000 description 15
- 238000000034 method Methods 0.000 description 14
- 239000004698 Polyethylene Substances 0.000 description 12
- 229920000573 polyethylene Polymers 0.000 description 12
- 239000002904 solvent Substances 0.000 description 11
- 239000002250 absorbent Substances 0.000 description 9
- 230000035699 permeability Effects 0.000 description 8
- XAGFODPZIPBFFR-UHFFFAOYSA-N aluminium Chemical compound [Al] XAGFODPZIPBFFR-UHFFFAOYSA-N 0.000 description 7
- 229910052782 aluminium Inorganic materials 0.000 description 7
- 239000011888 foil Substances 0.000 description 6
- 229920000247 superabsorbent polymer Polymers 0.000 description 6
- 229920002125 Sokalan® Polymers 0.000 description 5
- 239000000853 adhesive Substances 0.000 description 5
- 230000001070 adhesive effect Effects 0.000 description 5
- 238000003475 lamination Methods 0.000 description 5
- 159000000000 sodium salts Chemical class 0.000 description 5
- 238000001879 gelation Methods 0.000 description 4
- NIXOWILDQLNWCW-UHFFFAOYSA-N acrylic acid group Chemical group C(C=C)(=O)O NIXOWILDQLNWCW-UHFFFAOYSA-N 0.000 description 3
- 239000003513 alkali Substances 0.000 description 3
- 239000011230 binding agent Substances 0.000 description 3
- 230000000052 comparative effect Effects 0.000 description 3
- 238000009820 dry lamination Methods 0.000 description 3
- 230000000694 effects Effects 0.000 description 3
- 238000001125 extrusion Methods 0.000 description 3
- 239000011120 plywood Substances 0.000 description 3
- 229920000728 polyester Polymers 0.000 description 3
- 230000008961 swelling Effects 0.000 description 3
- 239000002585 base Substances 0.000 description 2
- 229920001577 copolymer Polymers 0.000 description 2
- 239000000839 emulsion Substances 0.000 description 2
- 230000005484 gravity Effects 0.000 description 2
- 239000012943 hotmelt Substances 0.000 description 2
- 238000010030 laminating Methods 0.000 description 2
- 239000003973 paint Substances 0.000 description 2
- 239000000123 paper Substances 0.000 description 2
- 229920001495 poly(sodium acrylate) polymer Polymers 0.000 description 2
- NNMHYFLPFNGQFZ-UHFFFAOYSA-M sodium polyacrylate Chemical compound [Na+].[O-]C(=O)C=C NNMHYFLPFNGQFZ-UHFFFAOYSA-M 0.000 description 2
- 239000000126 substance Substances 0.000 description 2
- 238000009823 thermal lamination Methods 0.000 description 2
- 239000004820 Pressure-sensitive adhesive Substances 0.000 description 1
- 239000003522 acrylic cement Substances 0.000 description 1
- 230000003064 anti-oxidating effect Effects 0.000 description 1
- 239000011248 coating agent Substances 0.000 description 1
- 238000000576 coating method Methods 0.000 description 1
- 230000006866 deterioration Effects 0.000 description 1
- 239000005038 ethylene vinyl acetate Substances 0.000 description 1
- 238000011156 evaluation Methods 0.000 description 1
- 230000002209 hydrophobic effect Effects 0.000 description 1
- 230000001771 impaired effect Effects 0.000 description 1
- 230000008595 infiltration Effects 0.000 description 1
- 238000001764 infiltration Methods 0.000 description 1
- 239000002655 kraft paper Substances 0.000 description 1
- 239000004922 lacquer Substances 0.000 description 1
- 239000000155 melt Substances 0.000 description 1
- 239000012528 membrane Substances 0.000 description 1
- 238000002156 mixing Methods 0.000 description 1
- 239000004570 mortar (masonry) Substances 0.000 description 1
- 239000002245 particle Substances 0.000 description 1
- 230000002093 peripheral effect Effects 0.000 description 1
- 229920000642 polymer Polymers 0.000 description 1
- 229920000915 polyvinyl chloride Polymers 0.000 description 1
- 239000004800 polyvinyl chloride Substances 0.000 description 1
- 230000002265 prevention Effects 0.000 description 1
- 239000012209 synthetic fiber Substances 0.000 description 1
- 229920002994 synthetic fiber Polymers 0.000 description 1
- 238000009816 wet lamination Methods 0.000 description 1
Images
Landscapes
- Laminated Bodies (AREA)
Abstract
【課題】固定に使用されるステープル等の釘穴からの漏水を防水することができる防水シートを提供する。
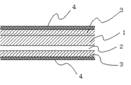
【解決手段】少なくとも合成樹脂膜またはアスファルト防水材1、止水シート2を順次積層した防水シートで、止水シート2が単位面積質量12〜40g/m2の繊維シートに、ウレタン樹脂10重量部に対し高吸水性樹脂50〜70重量部を含む溶液を含浸、乾燥させ、6g/m2以上の高吸水性樹脂が繊維シートの繊維間の空隙に均質に固着している。
【選択図】図1
【解決手段】少なくとも合成樹脂膜またはアスファルト防水材1、止水シート2を順次積層した防水シートで、止水シート2が単位面積質量12〜40g/m2の繊維シートに、ウレタン樹脂10重量部に対し高吸水性樹脂50〜70重量部を含む溶液を含浸、乾燥させ、6g/m2以上の高吸水性樹脂が繊維シートの繊維間の空隙に均質に固着している。
【選択図】図1
Description
本発明は、主に建築物の壁や屋根の下地用に使用される防水シートであり、防水シートを建築物に固定もしくは壁材や屋根材などの仕上げ材を施工する際に使用されるステープル及び釘周辺部からの雨水等の浸入を防ぐための防水シートに関するものである。
従来、建築物の防水材としてラグ質原紙にアスファルトを含浸させたアスファルトフェルトやアスファルトフェルトにアスファルトをさらに被覆させたアスファルトルーフィングが使用されている。これらは、アスファルトによる優れた防水効果を発揮するが、重量があり、一般的なアスファルトルーフィングで、単位面積あたり1kg/m2以上となり高所であると作業性が悪いことがあった。
また、特許文献1に記載されている防水性及び透湿性を有するポリエチレンフィルム上面に、防滑層を上面に有する不織布が接着され、該ポリエチレンフィルムの下面に、膨潤層を有する不織布が接着され、該膨潤層はポリエチレンフィルムと下面の不織布との間に位置しており、該膨潤層は高吸水性ポリマーより形成され、透湿防水ポリエチレンフィルムは厚さ40〜100μmよりなる防水シートが開示されている。詳細としては、下面の不織布のポリエチレン側に、高吸水性ポリマーとバインダーを印刷にて付与すると記載されている。また、通気性を損なわないように格子状等に付与できるとも記載されている。しかしながら、この発明で開示された不織布表面に高吸水性ポリマーとバインダーを印刷にて付与する方法では、ポリエチレンフィルム側の不織布表面のみ高吸水性ポリマーが設けられるため、高吸水性ポリマーの付与量に限界があり、また、多量に付与すると、下面の不織布の通気性が損なわれ、防水シート自身の特徴である、透湿性が低下する欠点があった。また、格子状等に部分的に塗布することにより通気性を確保できるが、高吸水性ポリマーが付与されていない部分に関しては、止水性に難があり、止水性能が安定しない欠点があった。
特許第3545732号
また、特許文献1に記載されている防水性及び透湿性を有するポリエチレンフィルム上面に、防滑層を上面に有する不織布が接着され、該ポリエチレンフィルムの下面に、膨潤層を有する不織布が接着され、該膨潤層はポリエチレンフィルムと下面の不織布との間に位置しており、該膨潤層は高吸水性ポリマーより形成され、透湿防水ポリエチレンフィルムは厚さ40〜100μmよりなる防水シートが開示されている。詳細としては、下面の不織布のポリエチレン側に、高吸水性ポリマーとバインダーを印刷にて付与すると記載されている。また、通気性を損なわないように格子状等に付与できるとも記載されている。しかしながら、この発明で開示された不織布表面に高吸水性ポリマーとバインダーを印刷にて付与する方法では、ポリエチレンフィルム側の不織布表面のみ高吸水性ポリマーが設けられるため、高吸水性ポリマーの付与量に限界があり、また、多量に付与すると、下面の不織布の通気性が損なわれ、防水シート自身の特徴である、透湿性が低下する欠点があった。また、格子状等に部分的に塗布することにより通気性を確保できるが、高吸水性ポリマーが付与されていない部分に関しては、止水性に難があり、止水性能が安定しない欠点があった。
本発明は、ステープル及び釘周辺からの止水性能を向上させ、また、透湿性を有している合成樹脂膜を使用した場合でも、十分な通気性を有する止水シートを使用しているため、透湿性能を低下させないことを課題とする。
少なくとも合成樹脂膜、止水シートを順次積層した防水シートで、止水シートが単位面積質量12〜40g/m2の繊維シートに、ウレタン樹脂10重量部に対し高吸水性樹脂50〜70重量部を含む溶液を含浸、乾燥させ、6g/m2以上の高吸水性樹脂が繊維シートの繊維間の空隙に均質に固着していることを特徴とする防水シートである。
少なくともアスファルト系防水材、止水シートを順次積層した防水シートで、止水シートが単位面積質量12〜40g/m2の繊維シートに、ウレタン樹脂10重量部に対し高吸水性樹脂50〜70重量部を含む溶液を含浸、乾燥させ、6g/m2以上の高吸水性樹脂が繊維シートの繊維間の空隙に均質に固着していることを特徴とする防水シートである。
止水シートに使用する繊維シートの主成分が、ポリプロピレンであることを特徴とした請求項1記載の防水シートである。
アスファルト系防水材が、繊維からなるシートにアスファルトを浸透させ単位面積質量が450g/m2以下であることを特徴とする請求項2および請求項3記載の防水シートである。
本発明の防水シートは、単位面積質量12〜40g/m2の繊維シートに、ウレタン樹脂10重量部に対し高吸水性樹脂50〜70重量部を含む溶液を含浸、乾燥させ6g/m2以上の高吸水性樹脂が繊維シートの繊維間の空隙に均質に固着した止水シートを使用しているので、ステープルや釘周辺から浸入する水を高吸水性樹脂が吸水しゲル化することにより、水の浸入を防ぐことができる。また、繊維シートに高吸水性樹脂を含浸、乾燥させているため、高吸水性樹脂が繊維間に均質に固着されているので止水性能が安定する。また、止水シートに使用する繊維シートにポリプロピレンを主成分としたものを使用した場合、他のポリエステルなどの繊維と比較し、比重が軽いため、同じ単位面積質量でも、ポリプロピレンを主成分とした繊維シートは体積が大きい。よって、厚み方向にも、高吸水性樹脂が固着されており、より止水性能が向上する。また、止水シートの表面には、合成樹脂膜もしくはアスファルト系防水材が設けられているため、雨水などの水は、直接、止水シートに接触することがなく、ステープルや釘周辺から浸入する水にのみ、止水効果が現れる。また、止水シートは室内側に設置されるので、高吸水性樹脂が吸湿、乾燥することで、調湿効果も有する。
本発明の防水シートの一例の断面図を図1に示す。図1は、合成樹脂膜またはアスファルト防水材、止水シートを順次積層しているが、例えば、合成樹脂膜上面ならびに止水シート下面に、シート材料もしくは塗料などを、単体もしくは複数使用し、積層することができる。
合成樹脂膜としては、合成樹脂フィルム、合成樹脂からなる繊維シートおよび合成樹脂押し出しラミネートで止水シート上に合成樹脂膜を形成したものを使用することができる。止水シートと合成樹脂膜の積層方法は、合成樹脂フィルム、合成樹脂からなる繊維シートを使用する場合、ドライラミネート法、ウェットラミネート法、熱ラミネート法およびホットメルトラミネート法などの接着法で積層する。接着剤の種類は特に限定しない。合成樹脂膜の材質は、特に限定せず、ポリエチレン、ポリプロピレン、エチレン−酢酸ビニル共重合体およびポリ塩化ビニルなどの合成樹脂が使用される。特に透湿性能を要求される場合は、ポリエチレンやポリプロピレンの微多孔質フィルムやメルトブロー方式で製造された不織布を使用する。その際、繊維シートならびに止水シートとの積層方法については、通気性を確保できる接着であれば特に限定せず、例えば、ドライラミネート法、熱ラミネート法およびホットメルトラミネート法などが可能である。接着剤の種類は特に限定しない。合成樹脂膜の厚みは、30〜100μmの範囲が好ましい。
アスファルト系防水材としては、繊維シートにアスファルトを浸透したものが使用できる。単位面積質量は450g/m2以下であることが作業面から好ましい。ラグ質原紙にアスファルトを浸透させたアスファルトフェルトやラス用フェルトが好ましい。
止水シートは、単位面積質量12〜40g/m2の繊維シートに、ウレタン樹脂10重量部に対し高吸水性樹脂50〜70重量部を含む溶液を含浸、乾燥させ、6g/m2以上の高吸水性樹脂が繊維シートの繊維間の空隙に均質に固着し得られる。止水シートに用いられる繊維シートとしては機械的強度があるスパンボンド方式で製造された不織布が好ましい。また、合成繊維の中でも比重の低い、ポリプロピレンからなる繊維シートを使用することにより、他の繊維シートと比べ同じ単位面積質量で体積を大きくすることができる。体積が大きいと、厚み方向についても、高吸水性樹脂が分布し、止水性能が向上する。また、ポリプロピレンの繊維を使用する理由として、ポリプロピレン繊維は吸湿性が無いことが挙げられる。本発明の止水機能は、ステープルや釘穴周辺からの水の浸入時に、高吸水性樹脂が吸水、ゲル化することにより水の浸入を防ぐことにより機能されるが、繊維自身が吸湿するものであると、水が繊維内部を伝わり、止水のために高吸水性樹脂がゲル化を発生させた部分周辺の高吸水性樹脂が連続的にゲル化を起こし、最終的に漏水になる恐れがある。さらにポリプロピレン繊維は疎水性し、例えば、止水シート側に水が接触しても、その疎水性のため、3/10の勾配があると水が流れ落ち、高吸水性樹脂の不要なゲル化を防止することが可能であることも特徴である。
繊維シートの単位面積質量は、12〜40g/m2の範囲で使用され、30g/m2のものを使用することが好ましい。目付が12g/m2未満であると、不織布の場合、ムラが大きくなり、高吸水性樹脂の分布にムラができ、また、50g/m2より大きいと、高吸水性樹脂の固着量が多くなり、経済的な問題が発生する。
繊維シートの単位面積質量は、12〜40g/m2の範囲で使用され、30g/m2のものを使用することが好ましい。目付が12g/m2未満であると、不織布の場合、ムラが大きくなり、高吸水性樹脂の分布にムラができ、また、50g/m2より大きいと、高吸水性樹脂の固着量が多くなり、経済的な問題が発生する。
ウレタン樹脂10重量部に対し、高吸水性樹脂50〜70重量部を含む溶液を繊維シートに含浸させ、乾燥させることにより、繊維シートの繊維間に均質に高吸水性樹脂を固着させる。つまり、ウレタン樹脂は、バインダーの役目をする。ウレタン樹脂と高吸水性樹脂の配合量であるが、ウレタン樹脂10重量部に対し、高吸水性樹脂50〜70重量部とする。ウレタン樹脂の割合が多くなると、高吸水性樹脂がウレタン樹脂に被覆され、ゲル化の速度が遅くなり十分な止水機能が発揮できず、水が浸入するおそれがある。また、ウレタン樹脂の割合が少ない場合、十分、高吸水性樹脂が繊維シートに十分固着されず、高吸水性樹脂が脱落する恐れがあり、十分に止水機能が発揮できない。高吸水性樹脂の固着量は、6g/m2以上とすることで、十分な止水機能を発揮することができる。高吸水性樹脂の固着量の上限は特に限定しないが、経済的に30g/m2以下であることが好ましい。高吸水性樹脂の固着量は、ウレタン樹脂と高吸水性樹脂を含む溶液の濃度で調整することが可能である。
ウレタン樹脂は、特に限定しないが、溶剤を揮発させることにより被膜を形成するラッカータイプを使用することが好ましい。高吸水性樹脂は、特に限定しないが、例えば、ポリアクリル酸ナトリウム、アクリル酸−ビニルアルコール共重合体、ポリアクリル酸ナトリウム架橋体、でんぷん−アクリル酸クラフト共重合体などが使用できる。平均粒径については、10〜1000μm程度のものが使用できるが、好ましくは、12〜100μm程度である。
合成樹脂膜またはアスファルト防水材と止水シートの積層方法は、合成樹脂膜が合成樹脂フィルム、合成樹脂からなる繊維シートおよびアスファルト防水材の場合、ドライラミネート法、熱ラミネート法およびホットメルトラミネート法などの接着法で積層する。接着剤の種類は特に限定しない。
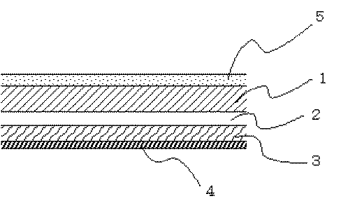
本発明は、合成樹脂膜またはアスファルト防水材、止水シートを順次積層しているが、例えば、合成樹脂膜またはアスファルト防水材の上面ならびに止水シート下面に、シート材料もしくは塗料などを、単体もしくは複数使用し、積層することができる。一例であるが、図2に、繊維シート、合成樹脂膜またはアスファルト防水材、止水シートを順次積層した断面図を、図3に滑り止め層、繊維シート、合成樹脂膜またはアスファルト防水材、止水シート層、繊維シート、滑り止め層を順次積層した断面図を、図4に、アルミ箔、合成樹脂膜またはアスファルト防水材、止水シート層、繊維シート層、滑り止め層を順次積層した断面図を示す。アルミ箔に関しては、合成樹脂膜に透湿性能を有している際は有孔処理を施す。また、アルミ箔を設けることにより屋外からの輻射熱を反射させる機能を併せ持つ。アルミ箔表面に酸化防止の処理を施すことにより、輻射熱反射機能を長期間実施することもできる。また、アルミ箔以外に、アルミを蒸着したフィルムも使用することができる。また、止水シート上面に、ポリプロピレン繊維からなる不織布を積層した場合、ポリプロピレンは耐アルカリ性を有するので、モルタル仕上げ時に防水シートの劣化が無い。その表面に、耐アルカリ性の薬剤等を塗布することにより、より耐アルカリ性が向上する。
実施例1として、酢酸エチルやトルエン等の溶剤を含むウレタン樹脂溶液(溶剤:ウレタン樹脂=64:6)70部とアクリル酸重合体の部分ナトリウム塩架橋物からなる高吸水性樹脂(品番 サンフレッシュ ST−250MPS 三洋化成工業(株)製)30部を均一になるまで、撹拌、その溶液中に、30g/m2のポリプロピレン製スパンボンド不織布を含浸、乾燥させ、24g/m2の高吸水性樹脂が固着した止水シートを作製した。止水シート表面に、押し出しラミネートで50μmのポリエチレンの合成樹脂膜を形成し、その表面に40g/m2のポリプロピレン製スパンボンド不織布を貼合し、防水シートを作製した。
実施例2として、酢酸エチルやトルエン等の溶剤を含むウレタン樹脂溶液(溶剤:ウレタン樹脂=64:6)70部とアクリル酸重合体の部分ナトリウム塩架橋物からなる高吸水性樹脂(品番 サンフレッシュ ST−250MPS 三洋化成工業(株)製)30部を均一になるまで、撹拌、その溶液中に、30g/m2のポリプロピレン製スパンボンド不織布を含浸、乾燥させ、24g/m2の高吸水性樹脂が固着した止水シートを作製した。JIS A 6005で規定されるアスファルトフェルト430(単位面積質量440g/m2)の表面にアクリル系エマルジョンタイプの粘着剤を塗布、乾燥させ、止水シートを貼着し、防水シートを作製した。
実施例3として、酢酸エチルやトルエン等の溶剤を含むウレタン樹脂溶液(溶剤:ウレタン樹脂=76:4)80部とアクリル酸重合体の部分ナトリウム塩架橋物からなる高吸水性樹脂(品番 サンフレッシュ ST−250MPS 三洋化成工業(株)製)20部を均一になるまで、撹拌、その溶液中に、20g/m2のポリプロピレン製スパンボンド不織布を含浸、乾燥させ、8g/m2の高吸水性樹脂が固着した止水シートを作製した。ドライラミネート法で止水シート上面にポリエチレン製の微多孔質フィルム40μmと30g/m2のポリエステル製不織布を積層し、止水シート下面に、30g/m2のポリエステル製不織布を積層し、防水シートを作製した。
実施例4として、酢酸エチルやトルエン等の溶剤を含むウレタン樹脂溶液(溶剤:ウレタン樹脂=76:4)80部とアクリル酸重合体の部分ナトリウム塩架橋物からなる高吸水性樹脂(品番 サンフレッシュ ST−250MPS 三洋化成工業(株)製)20部を均一になるまで、撹拌、その溶液中に、20g/m2のポリプロピレン製スパンボンド不織布を含浸、乾燥させ、8g/m2の高吸水性樹脂が固着した止水シートを作製した。アスファルトフェルト430の表面にアクリル系エマルジョンタイプの粘着剤と塗布、乾燥させ、止水シートを貼着し、防水シートを作製した。
比較例1として、酢酸エチルやトルエン等の溶剤を含むウレタン樹脂溶液(溶剤:ウレタン樹脂=82:3)85部とアクリル酸重合体の部分ナトリウム塩架橋物からなる高吸水性樹脂(品番 サンフレッシュ ST−250MPS 三洋化成工業(株)製)15部を均一になるまで、撹拌、その溶液中に、30g/m2のポリプロピレン製スパンボンド不織布を含浸、乾燥させ、5g/m2の高吸水性樹脂が固着した止水シートを作製した。止水シート表面に、押し出しラミネートで50μmのポリエチレンの合成樹脂膜を形成し、その表面にポリプロピレン製スパンボンド不織布を貼合し、防水シートを作製した。
比較例2として、30g/m2のポリプロピレン製スパンボンド不織布の表面に、押し出しラミネートで50μmのポリエチレンの合成樹脂膜を形成し、その表面に40g/m2のポリプロピレン製スパンボンド不織布を貼合し、防水シートを作製した。
比較例3として、 JIS A 6005で規定されるアスファルトフェルト430(単位面積質量440g/m2)とした。
止水性の評価として、JIS L 1092に規定されているブンデスマン降雨試験機を用いて行った。試験体は、70mm角の合板上に、70mmに切断した試験体を載せ、中央にステープル(厚さ0.7mm、幅12mm、長さ8mm)を打ち込み、試験体と合板の間に水が入り込まないよう、周辺部をアクリル粘着剤のついた防水テープを貼ったものを使用し、試験体数は10個用意した。防水シートは、止水シートを積層しているものについては、合板側に止水シートが位置するよう作製した。試験条件は、200±10ml/2.5分の雨量に20分間暴露した。結果は、全試験体10個中、2個以上、漏水が認められる場合を不合格とした。結果を、表1に示した。
表1より、本発明の防水シートは止水性に優れており、本発明の有効性が確認できた。
1 合成樹脂膜またはアスファルト防水材
2 止水シート
3 繊維シート
4 滑り止め層
5 アルミ箔
2 止水シート
3 繊維シート
4 滑り止め層
5 アルミ箔
Claims (4)
- 少なくとも合成樹脂膜、止水シートを順次積層した防水シートで、止水シートが単位面積質量12〜40g/m2の繊維シートに、ウレタン樹脂10重量部に対し高吸水性樹脂50〜70重量部を含む溶液を含浸、乾燥させ、6g/m2以上の高吸水性樹脂が繊維シートの繊維間の空隙に均質に固着していることを特徴とする防水シート。
- 少なくともアスファルト系防水材、止水シートを順次積層した防水シートで、止水シートが単位面積質量12〜40g/m2の繊維シートに、ウレタン樹脂10重量部に対し高吸水性樹脂50〜70重量部を含む溶液を含浸、乾燥させ、6g/m2以上の高吸水性樹脂が繊維シートの繊維間の空隙に均質に固着していることを特徴とする防水シート。
- 止水シートに使用する繊維シートの主成分が、ポリプロピレンであることを特徴とした請求項1および請求項2記載の防水シート。
- アスファルト系防水材が、繊維からなるシートにアスファルトを浸透させ、単位面積質量が450g/m2以下であることを特徴とする請求項2および請求項3記載の防水シート。
Priority Applications (1)
| Application Number | Priority Date | Filing Date | Title |
|---|---|---|---|
| JP2009218716A JP2011069053A (ja) | 2009-09-24 | 2009-09-24 | 防水シート |
Applications Claiming Priority (1)
| Application Number | Priority Date | Filing Date | Title |
|---|---|---|---|
| JP2009218716A JP2011069053A (ja) | 2009-09-24 | 2009-09-24 | 防水シート |
Publications (1)
| Publication Number | Publication Date |
|---|---|
| JP2011069053A true JP2011069053A (ja) | 2011-04-07 |
Family
ID=44014569
Family Applications (1)
| Application Number | Title | Priority Date | Filing Date |
|---|---|---|---|
| JP2009218716A Pending JP2011069053A (ja) | 2009-09-24 | 2009-09-24 | 防水シート |
Country Status (1)
| Country | Link |
|---|---|
| JP (1) | JP2011069053A (ja) |
Cited By (5)
| Publication number | Priority date | Publication date | Assignee | Title |
|---|---|---|---|---|
| JP2012229580A (ja) * | 2011-04-27 | 2012-11-22 | Three M Innovative Properties Co | 建築下地用防水構造体及び該構造体を施工した建築物 |
| JP2013100648A (ja) * | 2011-11-07 | 2013-05-23 | Nanao Kogyo Kk | 防水シート |
| KR101798580B1 (ko) * | 2017-03-23 | 2017-12-06 | 부경대학교 산학협력단 | 콘크리트 구조체에 일체 시공되는 방수시트 및 이를 이용한 방수공법 |
| CN113427856A (zh) * | 2020-03-23 | 2021-09-24 | 北京世纪洪雨科技有限公司 | 一种抗冻融防水卷材 |
| JP2023020677A (ja) * | 2021-07-30 | 2023-02-09 | 富士フイルム株式会社 | フィルム及び止水テープ |
-
2009
- 2009-09-24 JP JP2009218716A patent/JP2011069053A/ja active Pending
Cited By (5)
| Publication number | Priority date | Publication date | Assignee | Title |
|---|---|---|---|---|
| JP2012229580A (ja) * | 2011-04-27 | 2012-11-22 | Three M Innovative Properties Co | 建築下地用防水構造体及び該構造体を施工した建築物 |
| JP2013100648A (ja) * | 2011-11-07 | 2013-05-23 | Nanao Kogyo Kk | 防水シート |
| KR101798580B1 (ko) * | 2017-03-23 | 2017-12-06 | 부경대학교 산학협력단 | 콘크리트 구조체에 일체 시공되는 방수시트 및 이를 이용한 방수공법 |
| CN113427856A (zh) * | 2020-03-23 | 2021-09-24 | 北京世纪洪雨科技有限公司 | 一种抗冻融防水卷材 |
| JP2023020677A (ja) * | 2021-07-30 | 2023-02-09 | 富士フイルム株式会社 | フィルム及び止水テープ |
Similar Documents
| Publication | Publication Date | Title |
|---|---|---|
| JP5171473B2 (ja) | 建築用遮熱性透湿防水シート | |
| US7442659B2 (en) | Use of ionomers for sealing insulating materials | |
| CA2711480C (en) | Insulating plate/studded plate with adhesive absorbent qualities | |
| JP6461010B2 (ja) | 湿度可変方向性防湿材 | |
| US9115498B2 (en) | Roofing composite including dessicant and method of thermal energy management of a roof by reversible sorption and desorption of moisture | |
| US10358588B2 (en) | Modified cold applied asphalt emulsion | |
| CN100564715C (zh) | 透气式防水层状结构 | |
| JP2011069053A (ja) | 防水シート | |
| CA2887481C (en) | Building membrane with porous pressure sensitive adhesive | |
| JP2010275842A (ja) | 屋根用下地材とこれに使用される透湿性野地板 | |
| JP2002316373A (ja) | 建築用防水シート | |
| JP2001064881A (ja) | 屋根用下葺材 | |
| JP2007223046A (ja) | 建材用透湿防水シート | |
| US20200407972A1 (en) | Permeable water-resistive self adhesive underlayment/air barrier building membrane | |
| US12024893B2 (en) | Permeable water resistive roof underlayment | |
| JP2009062674A (ja) | 建築用下地シート | |
| JP6113948B2 (ja) | 建築下地用防水構造体及び該構造体を施工した建築物 | |
| JPH045312Y2 (ja) | ||
| JPS5846973B2 (ja) | 建築物の屋内湿度調整と壁面結露防止の方法 | |
| WO2019199264A1 (ru) | Слоистая подложка для покрытий | |
| JPS588809Y2 (ja) | 複合シ−ト状建築材料 | |
| EP2826620A1 (en) | An under tile multilayer sheet for waterproofing a roof of a building, wherein said roof includes a metal roof covering. | |
| CA3076331A1 (en) | Permeable water-resistive self adhesive underlayment/air barrier building membrane | |
| JPH09174731A (ja) | 建築物外壁又は屋根裏の結露防止材料及び結露防止方法 | |
| KR20200025689A (ko) | 방음난연성을 가지는 타일형 결로방지패드 |
