JP2011004792A - ラックの枠組み構造 - Google Patents

ラックの枠組み構造 Download PDF

Info

Publication number
JP2011004792A
JP2011004792A JP2009148539A JP2009148539A JP2011004792A JP 2011004792 A JP2011004792 A JP 2011004792A JP 2009148539 A JP2009148539 A JP 2009148539A JP 2009148539 A JP2009148539 A JP 2009148539A JP 2011004792 A JP2011004792 A JP 2011004792A
Authority
JP
Japan
Prior art keywords
plate portion
portions
engaged
engaging
shelf
Prior art date
Legal status (The legal status is an assumption and is not a legal conclusion. Google has not performed a legal analysis and makes no representation as to the accuracy of the status listed.)
Granted
Application number
JP2009148539A
Other languages
English (en)
Other versions
JP5168666B2 (ja
Inventor
Noriyuki Wada
典之 和田
Satoru Mukai
悟 向井
Current Assignee (The listed assignees may be inaccurate. Google has not performed a legal analysis and makes no representation or warranty as to the accuracy of the list.)
Daifuku Co Ltd
Original Assignee
Daifuku Co Ltd
Priority date (The priority date is an assumption and is not a legal conclusion. Google has not performed a legal analysis and makes no representation as to the accuracy of the date listed.)
Filing date
Publication date
Application filed by Daifuku Co Ltd filed Critical Daifuku Co Ltd
Priority to JP2009148539A priority Critical patent/JP5168666B2/ja
Publication of JP2011004792A publication Critical patent/JP2011004792A/ja
Application granted granted Critical
Publication of JP5168666B2 publication Critical patent/JP5168666B2/ja
Active legal-status Critical Current
Anticipated expiration legal-status Critical

Links

Images

Landscapes

  • Assembled Shelves (AREA)

Abstract

【課題】連結部材6の端から延出する接合板部26に係合部27cが設けられ、支柱5Aの側面には、係合部27cが下向きに係合する被係合部10cが設けられたラックの枠組み構造において、連結部材6と支柱5Aとの連結部の強度を容易に高めること。
【解決手段】被係合部10cは、支柱5Aの側面に設けられ且つ下辺から上向きの突出板部17aを備えた門形切欠開口17で構成され、係合部27cは、被係合部10cの門形切欠開口17に突出板部17aの上側で嵌合可能に接合板部26から支柱側に押し出し形成されたもので、接合板部26と一体に連なる左右両側壁部28a,28bを有する下側辺開放の垂直板部28を備え、この係合部27cを被係合部10cの門形切欠開口17に嵌合させた状態で接合板部26を下向きに移動させたとき、被係合部10cの突出板部17aが係合部27cの左右両側壁部28a,28b間で垂直板部28の外側に入り込む構成。
【選択図】図13

Description

本発明は、支柱と支柱間の連結部材とで構成された枠組みに棚板を支持させて構成されるラックの枠組み構造に関するものである。
ラックの棚板を支持する枠組みは、棚板の四隅に隣接する各支柱どうしを棚板長さ方向と平行な間口方向連結部材や棚板幅方向と平行な奥行き方向連結部材などによって連結することにより構成されるものである。具体的には、支柱どうしを連結する連結部材の端から当該連結部材の延長方向に突出して支柱の側面に当接する接合板部に係合部が設けられ、支柱の前記側面には、前記係合部が下向きに係合する連結部材支持用被係合部が設けられたものであって、前記係合部を支柱側面の被係合部に下向きに係合させることにより、端部の接合板部が支柱側面に当接する状態で連結部材を支柱の所定高さに連結するように構成されている。
このようなラックの枠組み構造における前記係合部及び被係合部の構造としては、基本的には、連結部材の接合板部にU字形切込みを設け、このU字形切込みの内側舌片を支柱側へ押し出して形成した下向きの係止片から前記係合部を構成し、支柱側の被係合部は、前記係合部全体を水平に嵌合できる矩形状開口を支柱の側面に設けて構成し、前記係止片を矩形状開口の下側辺に引っ掛けるように構成することが知られている。しかしながら、この構成では、係合部の強度不足という問題点があるので、特許文献1にも記載されているように、連結部材の接合板部に左右一対の縦方向切込みを設け、この切込み間の部分を支柱側へ押し出して形成した、上下両端に前記接合板部と一体に連なる上下両側壁部を備えた垂直板部で前記係合部を構成し、支柱側の被係合部は、前記係合部全体を水平に嵌合できる矩形状開口の下側辺から、前記垂直板部の下側壁部で形成した小幅括れ部が下向きに嵌入するV形凹入部を切欠き形成して構成することが考えられた。
特許第2704707号公報(特開平8−33529号公報)
上記の特許文献1に記載の構成では、連結部材の接合板部側の係合部を支柱側の被係合部に係合させたとき、係合部を構成する前記垂直板部の両側辺の下側角部を含む三角形領域が、前記被係合部のV形凹入部の左右両側の三角形領域と重なることになり、係合部と被係合部との面接部の総面積が非常に小さい。又、前記垂直板部の下側辺を接合板部に一体化する下側壁部には小幅括れ部が形成されるので、当該下側壁部自体の強度も低くなる。この係合部と被係合部との面接部の総面積を大きくして係合強度を高めると共に、下側壁部の小幅括れ部の幅を広くして当該下側壁部自体の強度を上げようとすると、前記垂直板部のサイズと、V形凹入部を含む矩形状開口のサイズを大きくしなければならず、接合板部や支柱の強度低下につながるだけでなく、上下複数段に前記係合部と被係合部とを設ける場合、連結部材から延出させる接合板部の上下幅を連結部材の上下幅よりも大きくしなければならない。
本発明は、上記のような従来の問題点を解消することのできるラックの枠組み構造を提案するものであって、請求項1に記載の本発明に係るラックの枠組み構造は、後述する実施形態の参照符号を付して示すと、支柱どうしを連結する連結部材6の端から当該連結部材6の延長方向に突出して支柱5Aの側面に当接する接合板部26に係合部27cが設けられ、支柱5Aの前記側面には、前記係合部27cが下向きに係合する連結部材支持用被係合部10cが設けられたラックの枠組み構造において、前記被係合部10cは、支柱5Aの側面に設けられ且つ下辺から上向きの突出板部17aを備えた門形切欠開口17で構成され、前記係合部27cは、前記被係合部10cの門形切欠開口17に前記突出板部17aの上側で嵌合可能に前記接合板部26から支柱側に押し出し形成されたもので、当該接合板部26と一体に連なる左右両側壁部28a,28bを有する下側辺開放の垂直板部28を備え、この係合部27cを前記被係合部10cの門形切欠開口17に嵌合させた状態で前記接合板部26を下向きに移動させたとき、前記被係合部10cの突出板部17aが当該係合部27cの左右両側壁部28a,28b間で垂直板部28の外側に入り込む構成になっている。
上記本発明を実施する場合、具体的には請求項2に記載のように、前記係合部27cの垂直板部28は、左右両側辺と上側辺とが接合板部26と一体に連なって下側辺のみ開放の袋状に形成することができるし、請求項3に記載のように、前記係合部27cの垂直板部28は、左右両側辺のみが前記両側壁部28a,28bで接合板部26と一体に連なって上下両側辺が開放されているように構成することができる。
請求項1に記載の本発明の構成によれば、連結部材の接合板部側の係合部を支柱側の被係合部に係合させた状態では、当該係合部を構成する垂直板部の全面と、被係合部を構成する門形切欠開口内の突出板部との全面とを面接触させることができ、係合部と被係合部とを総面積の大きな一つの面接部で互いに当接させることができる。しかも、係合部を構成する垂直板部は、その左右両側辺全体が側壁部で接合板部と一体化されており、被係合部を構成する門形切欠開口内の突出板部は、下側辺全域で接合板部と一体化された、前記垂直板部と殆ど同一サイズの板材で構成されるので、全体として、係合部及び被係合部をコンパクトに構成しながら、係合部と被係合部とによる連結部材と支柱との連結強度を十分に高めることができる。又、係合部を構成する垂直板部は、その左右両側辺を側壁部で接合板部と一体化するものであり、被係合部を構成する門形切欠開口内の突出板部は、下側辺で接合板部と一体化するものであるから、これら係合部と被係合部の高さを低くすることが容易である。従って、これら係合部と被係合部を上下複数段に配設して、これら係合部と被係合部とによる連結部材と支柱との連結強度を更に高めるように構成する場合でも、これら係合部と被係合部の高さを低くして上下間隔を狭めることができるので、接合板部の上下幅を連結部材の上下幅内に納めることができ、連結部材の軽量化と製造コストの低減を図ることもできる。
尚、請求項2に記載の構成によれば、係合部の垂直板部が、その左右両側辺と上側辺とが接合板部と一体に連なって下側辺のみ開放の袋状に形成されているので、係合部の強度が更に高められる。又、請求項3に記載の構成によれば、前記係合部の垂直板部が、左右両側辺のみが前記両側壁部で接合板部と一体に連なって上下両側辺が開放されているから、当該垂直板部の開放された上側辺を接合板部の上側辺と共通にして、接合板部の上側辺に隣接して係合部を構成する場合に好都合である。勿論、基本的に本発明における係合部の垂直板部は、その下側辺が開放しているので、当該垂直板部の開放された下側辺を接合板部の下側辺と共通にして、接合板部の下側辺に隣接して係合部を構成する場合にも好都合である。
枠組み構造のラックの全体を示す斜視図である。 A図は棚板を除くラック構成部品の一部切欠き平面図、B図は棚受けの一部切欠き斜視図である。 A図は支柱の一部切欠き正面図、B図はA図の左側面図、C図はA図のA−A線拡大断面図、D図は各被係合部を構成する門形切欠開口の形状を示す拡大図である。 A図は棚板の一部切欠き平面図、B図はA図の正面図、C図はA図のB−B線断面図である。 A図は連結部材の一部切欠き正面図、B図はA図の平面図、C図はA図の右側面図、D図はA図の要部拡大背面図、E図はD図のC−C線断面図である。 ラック全体の一部切欠き、一部横断平面図である。 ラック要部の一部切欠き縦断正面図である。 ラック要部の一部切欠き縦断側面図である。 ラックの最上段棚板(又は最下段棚板)を除いた要部の横断平面図である。 支柱上端部に対して間口方向連結部材の端部を連結した状態を示す要部の正面図である。 最上段棚板の取付け直前の状態を示す要部の縦断正面図である。 中間棚板の取付け直前の状態を示す要部の縦断正面図である。 A図は連結部材と支柱との連結手順の第一段階を示す要部の縦断立面図、B図は連結部材と支柱との連結手順の第二段階を示す要部の縦断立面図である。 A図は図13AのD−D線断面図、B図は図13BのE−E線断面図である。 図13BのF−F線断面図である。
図1に基づいて枠組み構造のラックの全体構成を説明すると、図示のラック1は、最上段棚板2A、最下段棚板2B、及び上下複数段の中間棚板2Cを備えたもので、これら全ての棚板2A〜2Cは、同一構造同一サイズの平面長方形のものである。これら棚板2A〜2Cの周囲を取り囲む枠組み構造体3は、棚板2A〜2Cの四隅に隣接する4本の支柱4A,4B及び5A,5B、これら支柱4A〜5Bの上端部どうし及び下端部どうしを矩形枠状に連結する棚板長さ方向と平行な4本の間口方向連結部材6と棚板幅方向と平行な4本の奥行き方向連結部材7から構成されている。
最上段棚板2Aは、支柱4A〜5Bの上端部どうしを連結する前後一対の間口方向連結部材6と左右一対の奥行き方向連結部材7とで形成される矩形枠の内側に配置され、最下段棚板2Bは、支柱4A〜5Bの下端部どうしを連結する前後一対の間口方向連結部材6と左右一対の奥行き方向連結部材7とで形成される矩形枠の内側に配置されている。全ての棚板2A〜2Cは、その長さ方向の両端が、前後一対の支柱4A,5A間と前後一対の支柱4B,5B間に水平に架設された棚受け8によって支持されている。
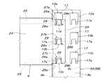
以下、詳細に説明すると、各支柱4A〜5Bは、図2及び図3に示すように、横断面輪郭がほぼ正方形のリップ付きC形鋼から成るもので、背側板部9a、左右一対の横側板部9b,9c、及びリップ板部9d,9eを備え、各支柱4A〜5Bのリップ板部9d,9eがこのラック1の前後奥行き方向で当該ラック1の内側に向かって対面する向きに配置されている。各支柱4A〜5Bの背側板部9aには、その上下両端部に、上下3段の被係合部10a〜10c及び11a〜11cが左右対称に2列設けられている。各支柱4A〜5Bの横側板部9b,9cには、その上下両端部に、上下3段の被係合部12a〜12c及び13a〜13cと、各1つの棚受け係止孔14,15とが設けられている。この上下3段の被係合部12a〜13cは、横側板部9b,9cとリップ板部9d,9eとの間の角部に接近して配設されており、当該角部との間の間隔は、背側板部9aと横側板部9b,9cとの間の角部と上下3段の被係合部10a〜11cとの間の間隔に等しい。棚受け係止孔14,15は、横側板部9b,9cと背側板部9aとの間の角部に接近して配設されており、更に横側板部9b,9cには、これら上下両端の棚受け係止孔14,15の中間において、これら上下両端の棚受け係止孔14,15と同一直線上に並ぶように、同一形状の棚受け係止孔16が等間隔おきに配設されている。
全ての被係合部10a〜12cは、図3Aの要部拡大図で示すように、背側板部9a及び横側板部9b,9cを切り抜いて形成された門形切欠開口17によって構成され、中央下辺の上向きの突出板部17a、この突出板部17aの上側のほぼ矩形の上半開口部17b、及び上半開口部17bと連なり且つ突出板部17aの左右両側に位置する脚孔部17c,17dを備えている。又、各被係合部10a〜12cを構成する門形切欠開口17の脚孔部17c,17dの内、横側板部9b,9c又はリップ板部9d,9eに接近している側の脚孔部17cは、その両側縁の内、突出板部17aを形成しない外側の側縁が、下側ほど突出板部17aに接近するように傾斜した相対摺接部18となっている。棚受け係止孔14〜16は、それぞれ同一長さの垂直な縦長スリット状のものである。
各棚板2A〜2Cは、図4に示すように、長方形の棚板面板19の長さ方向に沿った前後両側辺の下側ほぼ全域にわたって当該棚板面板19の折り曲げにより一体成形された補強用折曲部20a,20bと、当該棚板面板19の長さ方向の両端ほぼ全幅にわたって当該棚板面板19を下向きに90度折曲して一体成形された垂直係止片21a,21bと、棚板面板19の底面に補強用折曲部20a,20bと平行に固着した複数列の補強部材22a,22bを備えている。尚、補強用折曲部20a,20b、垂直係止片21a,21b、及び補強部材22a,22bの高さは同一であり、垂直係止片21a,21bの内側には、補強用折曲部20a,20bの両端と補強部材22a,22bの両端との間に当該垂直係止片21a,21bに沿って連続する所要幅の下側開放の空隙部23が確保されている。
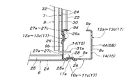
間口方向連結部材6と奥行き方向連結部材7とは、長さが異なるだけで構造は同一であり、図5に示すように、帯状垂直板24の上下両側辺を全長にわたって同一側に角形に折り返して形成した上下両折り返し部25を有すると共に、前記帯状垂直板24の両端を前記上下両折り返し部25の端より所要長さ延出させて形成した接合板部26を長さ方向の両端に有する。これら接合板部26の突出長さは、支柱4A〜5Bの幅の半分以下である。而して、各接合板部26には、上下両折り返し部25の端面25Aを支柱4A〜5Bの横側板部9b,9cに当接させて当該接合板部26を背側板部9aに重ねたとき、或いは上下両折り返し部25の端面25Aを支柱4A〜5Bのリップ板部9d,9eに当接させて当該接合板部26を横側板部9b,9cに重ねたとき、支柱4A〜5Bの背側板部9aに設けられている縦一列で上下3段の被係合部10a〜11c、或いは支柱4A〜5Bの横側板部9b,9cに設けられている縦一列で上下3段の被係合部12a〜13cに合致させることができるように、縦一列で上下3段の係合部27a〜27cが設けられている。
各係合部27a〜27cは、前記接合板部26と一体に連なる左右両横側壁部28a,28bを有する下側辺開放の垂直板部28から構成されている。この垂直板部28は、対応する各被係合部10a〜11cの門形切欠開口17における突出板部17aの上側の上半開口部17bに対して水平に嵌合離脱自在な大きさのほぼ矩形状のもので、前記接合板部26から支柱4A〜5B側に押し出し形成されている。而して、上下3段の係合部27a〜27cの内、中央の係合部27bと最上段の係合部27aの垂直板部28は、接合板部26に設けた水平のスリット29によって下側辺が開放され、最下段の係合部27cの垂直板部28は、その下側辺が接合板部26の下側辺と共通に形成されている。更に、中央の係合部27bと最下段の係合部27cの垂直板部28は、接合板部26と一体に連なり且つ左右両横側壁部28a,28bとも一体に連なる上側壁部28cを備えた、下側辺のみ開放の袋状に構成され、最上段の係合部27aの垂直板部28は、その上側辺が接合板部26の上側辺と共通に形成されて、上側辺も開放されている。
又、各係合部27a〜27cは、その垂直板部28の左右両側壁部28a,28bの内、接合板部26の基部側、即ち、連結部材6,7の上下両折り返し部25に近い側の側壁部28aは、下方ほど他方の側壁部28bに接近する方向に傾斜しており、その傾斜した外側面が相対摺接部18bを形成している。
棚受け8は、図2に示すように、帯状垂直板30の両端を直角外向きに折曲して係止片31a,31bを形成すると共に、帯状垂直板30の下側辺を直角内向きに折曲して水平折曲部32を形成したものである。係止片31a,31bは、各支柱4A〜5Bの横側板部9b,9cに設けられた棚受け係止孔14〜16に対して水平に抜き差し自在な大きさで、支柱4A〜5Bの横側板部9b,9cを形成する板材が入り込める幅の切欠き33が下側辺から上向きに形成されている。
図6〜図10は、上記各部材から組み立てられたラック1における各部材の連結状態を示している。これら図6〜図10に示すように、前後一対の支柱4A,5A及び支柱4B,5Bは、それぞれこれら支柱4A〜5Bの上下両端部において、奥行き方向連結部材7により連結されると共に、前側左右一対の支柱4A,4B及び支柱5A,5Bとは、それぞれこれら支柱4A〜5Bの上下両端部において、間口方向連結部材6より連結される。
奥行き方向連結部材7は、その上下両折り返し部25が支柱4A,5Aの内側のリップ板部9d,9e間に位置するように、両端の接合板部26を支柱4A,5Aの内側の横側板部9b,9cに当接させるのであるが、このとき奥行き方向連結部材7の接合板部26に設けられている縦一列で上下3段の係合部27a〜27cを支柱4A〜5Bの横側板部9b,9cの上下両端部に設けられている縦一列で上下3段の被係合部12a〜13cに係合連結させる。一方、間口方向連結部材6は、その上下両折り返し部25が支柱4A,4B及び支柱5A,5Bの内側の横側板部9b,9c間に位置するように、両端の接合板部26を支柱4A,4B及び支柱5A,5Bの背側板部9aに当接させるのであるが、このとき間口方向連結部材6の接合板部26に設けられている縦一列で上下3段の係合部27a〜27cを支柱4A〜5Bの横側板部9b,9cの上下両端部に設けられている縦一列で上下3段の被係合部10a〜11cに係合連結させる。
上記の各連結部材6,7の接合板部26における係合部27a〜27cを支柱4A〜5B側の被係合部12a〜13c又は被係合部10a〜11cに係合連結させる方法を具体的に説明すると、図13A及び図14Aに示すように、各係合部27a〜27cの内側に突出している垂直板部28を各被係合部10a〜13cの門形切欠開口17における突出板部17aの上側の上半開口部17bに嵌合させる。この状態で連結部材6,7(接合板部26)を支柱4A〜5Bに沿って押し下げると、各垂直板部28の開放されている下辺から当該垂直板部28の内側、即ち、左右一対の横側壁部28a,28bと垂直板部28とで囲まれた偏平な上下方向の凹入空間内に被係合部10a〜13cの突出板部17aが相対的に挿入される。この垂直板部28の内側凹入空間内へ突出板部17aが相対的に挿入される行程において、横側壁部28a,28bが被係合部10a〜13cの突出板部17aの両側の脚孔部17c,17d内に下向きに挿入されるが、このとき、片側の横側壁部28aの相対摺接部(傾斜している外側面)18bが脚孔部17cの傾斜した相対摺接部18aに摺接することにより、連結部材6,7と支柱4A〜5Bとが、連結部材6,7の長さ方向で互いに接近移動することになる。
従って、図13B、図14B、及び図15に示すように、連結部材6,7(接合板部26)が支柱4A〜5Bに沿って下降限位置まで降下したとき、即ち、係合部27a〜27cの左右一対の横側壁部28a,28bの下端が被係合部10a〜13cの左右一対の脚孔部17c,17dの下端付近まで降下したとき、前記相対摺接部18a,18bによる、連結部材6,7と支柱4A〜5Bとの連結部材6,7の長さ方向の接近移動量が最大になり、間口方向連結部材6の上下両折り返し部25の端面25aが支柱4A〜5Bの横側板部9b,9cに当接又は近接し、奥行き方向連結部材7の上下両折り返し部25の端面25aが支柱4A〜5Bのリップ板部9d,9eに当接又は近接することになる。勿論、連結部材6,7(接合板部26)が支柱4A〜5Bに沿って下降限位置まで降下したとき、係合部27a〜27cの左右一対の横側壁部28a,28bの内、傾斜していない横側壁部28bの内外両側面は、被係合部10a〜13cの脚孔部17dにおける内外両側面(内側は突出板部17aの側縁)から離れており、当該横側壁部28bの水平方向の位置は被係合部10a〜13cの脚孔部17dによって拘束されていない。
又、上記のようにして各連結部材6,7の接合板部26を支柱4A〜5Bの上下両端部に係合連結させたとき、接合板部26が支柱4A〜5Bの背側板部9a又は横側板部9b,9cから離れる方向に水平移動することは、支柱4A〜5B側の被係合部10a〜13cの突出板部17aと接合板部26側の係合部27a〜27cの垂直板部28とが互いに当接して阻止しており、接合板部26が支柱4A〜5Bの背側板部9a又は横側板部9b,9cに当接する状態に保持される。このとき、支柱4A〜5Bの横側板部9b,9c又はリップ板部9d,9eに当接又は近接する各連結部材6,7の上下両折り返し部25の端面25aの内、最下位部(下側折り返し部25の水平部の端面)は、図14に示すように、最下段の係合部27cと最下段の被係合部10c(11c,12c,13c)とが互いに嵌合する位置より若干低くなるように構成されている。又、図10に示すように、各連結部材6,7の上下両折り返し部25の端面25aの内、最上位部(上側折り返し部25の水平部の端面)は、最上段の係合部27aと最上段の被係合部10a(11a,12a,13a)とが互いに嵌合する位置より若干高くなるように構成されている。
上記のように、各支柱4A〜5Bの上下両端部を前後一対の間口方向連結部材6と左右一対の奥行き方向連結部材7とで平面矩形状に連結一体化することにより、枠組み構造体3が構成されるが、この枠組み構造体3の上端側に左右間口方向の水平外力が作用して、枠組み構造体3が左右水平方向に平行四辺形状に変形しようとしたとき、各間口方向連結部材6が支柱4A〜5Bに対して相対的に垂直上下方向に傾動しようとすることになる。このとき、各間口方向連結部材6の端部で支柱4A〜5Bに対して下方へ相対的に傾動することになる端部では、間口方向連結部材6の下側の折り返し部25の端面25aの最下位部と支柱4A〜5Bの横側板部9b,9cとの当接部を支点にして間口方向連結部材6が支柱4A〜5Bに対して下方へ相対的に傾動することになるので、当該端面25aの最下位部より上方にある縦一列上下3段の被係合部10a〜13cと係合部27a〜27cとの全ての連結部が、当該間口方向連結部材6の支柱4A〜5Bに対する下方への傾動を抑止することになる。又、各間口方向連結部材6の端部で支柱4A〜5Bに対して上方へ相対的に傾動することになる端部では、間口方向連結部材6の上側の折り返し部25の端面25aの最上位部と支柱4A〜5Bの横側板部9b,9cとの当接部を支点にして間口方向連結部材6が支柱4A〜5Bに対して上方へ相対的に傾動することになるので、当該端面25aの最上位部より下方にある縦一列上下3段の被係合部10a〜13cと係合部27a〜27cとの全ての連結部が、当該間口方向連結部材6の支柱4A〜5Bに対する上方への傾動を抑止することになる。
同様に、枠組み構造体3の上端側に前後奥行き方向の水平外力が作用して、枠組み構造体3が前後水平方向に平行四辺形状に変形しようとしたとき、各奥行き方向連結部材7が支柱4A〜5Bに対して相対的に垂直上下方向に傾動しようとすることになる。このとき、各奥行き方向連結部材7の端部で支柱4A〜5Bに対して下方へ相対的に傾動することになる端部では、奥行き方向連結部材7の下側の折り返し部25の端面25aの最下位部と支柱4A〜5Bのリップ板部9d,9eとの当接部を支点にして奥行き方向連結部材7が支柱4A〜5Bに対して下方へ相対的に傾動することになるので、当該端面25aの最下位部より上方にある縦一列上下3段の被係合部10a〜13cと係合部27a〜27cとの全ての連結部が、当該奥行き方向連結部材7の支柱4A〜5Bに対する下方への傾動を抑止することになる。又、各奥行き方向連結部材7の端部で支柱4A〜5Bに対して上方へ相対的に傾動することになる端部では、奥行き方向連結部材7の上側の折り返し部25の端面25aの最上位部と支柱4A〜5Bのリップ板部9d,9eとの当接部を支点にして奥行き方向連結部材7が支柱4A〜5Bに対して上方へ相対的に傾動することになるので、当該端面25aの最上位部より下方にある縦一列上下3段の被係合部10a〜13cと係合部27a〜27cとの全ての連結部が、当該奥行き方向連結部材7の支柱4A〜5Bに対する上方への傾動を抑止することになる。
尚、図示省略しているが、従来周知のように、上記のように枠組み構造体3を組み立てた状態において、間口方向連結部材6及び奥行き方向連結部材7の接合板部26と各支柱4A〜5Bの背側板部9a又は横側板部9b,9cとを、両者に設けられた貫通孔に係止ピンを着脱自在に挿通して、接合板部26が支柱4A〜5Bに対して上動するのを阻止できるように構成することができる。又、支柱4A〜5Bの上下両端部に矩形枠状に連結された間口方向連結部材6及び奥行き方向連結部材7は、それぞれ同一レベルに位置している。
組み立てられた枠組み構造体3には、図7及び図9に示すように、棚受け8が取り付けられる。この棚受け8は、前後対を成す支柱4A,5A間及び支柱4B,5B間に、左右2つの棚受け8が同一レベルになるように、適宜取付け高さを選択して取り付けられるが、ラック1の天板に相当する最上段棚板2Aを支持する棚受け8は、支柱上端部に架設されている奥行き方向連結部材7の内側定位置に取り付けられ、ラック1の底板に相当する最下段棚板2Bを支持する棚受け8は、支柱下端部に架設されている奥行き方向連結部材7の内側定位置に取り付けられる。
即ち、図9及び図11に示すように、各奥行き方向連結部材7の内側に配置した棚受け8の両端の係止片31a,31bを、前後対を成す支柱4A,5A及び支柱4B,5Bの横側板部9b,9cの上下両端部に設けられている棚受け係止孔14,15に差し込んで降下させ、各係止片31a,31bの切欠き33を、棚受け係止孔14,15の下端に嵌合させる。このようにして各奥行き方向連結部材7の内側に配置した棚受け8を、前後対を成す支柱4A,5A間及び支柱4B,5B間に架設したとき、当該奥行き方向連結部材7の帯状垂直板24と棚受け8の帯状垂直板30との間に、図9に示すように空隙が確保されるので、この空隙内に最上段棚板2A及び最下段棚板2Bの垂直係止片21a,21bを図11に示すように上から差し込むようにして、最上段棚板2A及び最下段棚板2Bの棚板面板19の長さ方向両端を棚受け8の帯状垂直板30の上辺に支持させる。このとき、棚受け8の帯状垂直板30は、最上段棚板2A及び最下段棚板2Bの垂直係止片21a,21bの内側の空隙部23に入り込むと共に、当該垂直係止片21a,21bの両端部は、棚受け8の帯状垂直板30の両端部と前後対を成す支柱4A,5A及び支柱4B,5Bの横側板部9b,9cとの間の空隙部内に入り込んでいる。このようにして支持された最上段棚板2A及び最下段棚板2Bは、その周囲を間口方向連結部材6と奥行き方向連結部材7とで取り囲まれており、その棚板面板19は、間口方向連結部材6の上側辺及び奥行き方向連結部材7の上側辺とほぼ同一レベルに位置している。
中間棚板2Cを支持する棚受け8は、図12に示すように、前後対を成す支柱4A,5A間及び支柱4B,5B間に、各支柱4A〜5Bの横側板部9b,9cに設けられている中間高さの棚受け係止孔16を利用して上記の要領で架設し、この棚受け8の帯状垂直板30に中間棚板2Cの垂直係止片21a,21bを引っ掛けるようにして、中間棚板2Cの棚板面板19の長さ方向両端を棚受け8の帯状垂直板30の上辺に支持させれば良い。このとき、中間棚板2Cの垂直係止片21a,21bの両端部は、棚受け8の帯状垂直板30の両端部と前後対を成す支柱4A,5A及び支柱4B,5Bの横側板部9b,9cとの間の空隙部内に入り込んでいる。
尚、相対摺接部18a,18bは、本発明に必須のものではないので、無くすこともできる。又、被係合部及び係合部として、縦一列上下3段の被係合部10a〜13cと係合部27a〜27cを設けたが、上下方向の段数は限定されない(一段でも良い)。又、間口方向連結部材6と奥行き方向連結部材7の両方に、本発明による被係合部10a〜13cと係合部27a〜27cを設けたが、何れか一方の連結部材にのみ本発明の構成を適用しても良い。更に、接合板部26に係合部27a〜27cを上下複数段(4段又はそれ以上でも良い)に配設する場合、最下段の係合部27cの垂直板部28の開放下側辺を接合板部26の下側辺と共通にしないで、接合板部26の下側辺より上方に離して最下段の係合部27cを設けることもできるし、最上段の係合部27aを最下段の係合部27c又は中段の係合部27bと同一構造にし、その垂直板部28の上側壁部28cを接合板部26の上側辺より下方に下げて、接合板部26の上側辺より下方に離して最上段の係合部27aを設けることもできる。勿論、最下段の係合部27cや中段の係合部27bも、最上段の係合部27aと同様に、その垂直板部28の上下両側辺が開放された構造とすることができる。
又、従来周知のように、連結部材6,7の端から延出する接合板部26の上下幅を連結部材6,7の上下幅より大きくしても良い。この場合、接合板部26の上下幅に余裕があるから、中段の係合部27bと同一構造(垂直板部28が下側辺のみ開放の袋状構造)の係合部を、接合板部26の上下両側辺から内側に離した状態で上下複数段に設けることが容易である。
本発明のラックの枠組み構造は、支柱と支柱間の連結部材とで構成された枠組みに棚板を支持させて構成される各種の物品収納ラックに活用できる。
1 ラック
2A 最上段棚板
2B 最下段棚板
2C 中間棚板
3 枠組み構造体
4A〜5B 支柱
6 間口方向連結部材
7 奥行き方向連結部材
8 棚受け
9a 支柱の背側板部
9b,9c 支柱の横側板部
9d,9e 支柱のリップ板部
10a〜13c 被係合部
14〜16 棚受け係止孔
17 門形切欠開口
17a 門形切欠開口の突出板部
17b 門形切欠開口の上半開口部
17c,17d 門形切欠開口の脚孔部
18a 被係合部の相対摺接部
18b 係合部の相対摺接部
21a,21b 棚板の垂直係止片
23 空隙部
25 連結部材の上下両折り返し部
25a 上下両折り返し部の端面
26 連結部材の接合板部
27a〜27c 係合部
28 係合部の垂直板部
28a,28b 係合部の横側壁部
28c 係合部の上側壁部
30 棚受けの帯状垂直板
31a,31b 棚受けの係止片
32 水平折曲部
33 係止片の切欠き

Claims (3)

  1. 支柱どうしを連結する連結部材の端から当該連結部材の延長方向に突出して支柱の側面に当接する接合板部に係合部が設けられ、支柱の前記側面には、前記係合部が下向きに係合する連結部材支持用被係合部が設けられたラックの枠組み構造において、前記被係合部は、支柱の側面に設けられ且つ下辺から上向きの突出板部を備えた門形切欠開口で構成され、前記係合部は、前記被係合部の門形切欠開口に前記突出板部の上側で嵌合可能に前記接合板部から支柱側に押し出し形成されたもので、当該接合板部と一体に連なる左右両側壁部を有する下側辺開放の垂直板部を備え、この係合部を前記被係合部の門形切欠開口に嵌合させた状態で前記接合板部を下向きに移動させたとき、前記被係合部の突出板部が当該係合部の左右両側壁部間で垂直板部の外側に入り込むように構成された、ラックの枠組み構造。
  2. 前記係合部の垂直板部は、左右両側辺と上側辺とが接合板部と一体に連なって下側辺のみ開放の袋状に形成されている、請求項1に記載のラックの枠組み構造。
  3. 前記係合部の垂直板部は、左右両側辺のみが前記両側壁部で接合板部と一体に連なって上下両側辺が開放されている、請求項1に記載のラックの枠組み構造。
JP2009148539A 2009-06-23 2009-06-23 ラックの枠組み構造 Active JP5168666B2 (ja)

Priority Applications (1)

Application Number Priority Date Filing Date Title
JP2009148539A JP5168666B2 (ja) 2009-06-23 2009-06-23 ラックの枠組み構造

Applications Claiming Priority (1)

Application Number Priority Date Filing Date Title
JP2009148539A JP5168666B2 (ja) 2009-06-23 2009-06-23 ラックの枠組み構造

Publications (2)

Publication Number Publication Date
JP2011004792A true JP2011004792A (ja) 2011-01-13
JP5168666B2 JP5168666B2 (ja) 2013-03-21

Family

ID=43562198

Family Applications (1)

Application Number Title Priority Date Filing Date
JP2009148539A Active JP5168666B2 (ja) 2009-06-23 2009-06-23 ラックの枠組み構造

Country Status (1)

Country Link
JP (1) JP5168666B2 (ja)

Citations (5)

* Cited by examiner, † Cited by third party
Publication number Priority date Publication date Assignee Title
JPS49128521U (ja) * 1973-03-02 1974-11-05
JPS5880039U (ja) * 1981-11-26 1983-05-30 株式会社伊藤喜工作所 組立棚における天板又は地板の取付装置
JPS58182005U (ja) * 1982-05-31 1983-12-05 株式会社伊藤喜工作所 支柱の継手装置
JPH0657244U (ja) * 1991-05-27 1994-08-09 株式会社岡村製作所 支柱への杆体取付装置
JP2006014790A (ja) * 2004-06-30 2006-01-19 Meiko Kogyo Kk 組立棚

Patent Citations (5)

* Cited by examiner, † Cited by third party
Publication number Priority date Publication date Assignee Title
JPS49128521U (ja) * 1973-03-02 1974-11-05
JPS5880039U (ja) * 1981-11-26 1983-05-30 株式会社伊藤喜工作所 組立棚における天板又は地板の取付装置
JPS58182005U (ja) * 1982-05-31 1983-12-05 株式会社伊藤喜工作所 支柱の継手装置
JPH0657244U (ja) * 1991-05-27 1994-08-09 株式会社岡村製作所 支柱への杆体取付装置
JP2006014790A (ja) * 2004-06-30 2006-01-19 Meiko Kogyo Kk 組立棚

Also Published As

Publication number Publication date
JP5168666B2 (ja) 2013-03-21

Similar Documents

Publication Publication Date Title
CN102014697B (zh) 组装架
RU2004112561A (ru) Система стеллажей для хранения и архивирования предметов
CN105849424B (zh) 组装式块构造以及锁定解除件
KR20180131781A (ko) 앵글선반프레임
KR20190089786A (ko) 조립식 선반
JP2009195677A (ja) 少なくとも1つの垂直支柱とこの垂直支柱に取り付けられる1次支持部材とを有する商品展示用の棚
JP5168667B2 (ja) ラックの枠組み構造
JP5168666B2 (ja) ラックの枠組み構造
KR200391947Y1 (ko) 조립식 진열대 구조
JP5360395B2 (ja) ラックの棚板支持構造
JP5360394B2 (ja) ラックの枠組み構造
JP2006014791A (ja) 組立棚における棚板取付構造
JP3980981B2 (ja) 入れ子式ラック及び連結ラック
JP2006014790A (ja) 組立棚
JP3238859B2 (ja) 陳列装置及びその連結構造
JP4388508B2 (ja) 収納棚
JP3419716B2 (ja) 棚における支柱と横梁との連結構造
JP2011111888A (ja) 仮設足場の構造
JP5144343B2 (ja) 棚装置
JP2001187610A (ja) 流動棚
CN220949244U (zh) 一种可拆装的提把结构
JP4427119B2 (ja) ラウンド棚板取付構造
CN211048761U (zh) 层架装置
JP4418067B2 (ja) 棚装置におけるパネルの取付構造
JP3117388U (ja) スペーサブロック

Legal Events

Date Code Title Description
A621 Written request for application examination

Free format text: JAPANESE INTERMEDIATE CODE: A621

Effective date: 20110331

TRDD Decision of grant or rejection written
A01 Written decision to grant a patent or to grant a registration (utility model)

Free format text: JAPANESE INTERMEDIATE CODE: A01

Effective date: 20121130

A61 First payment of annual fees (during grant procedure)

Free format text: JAPANESE INTERMEDIATE CODE: A61

Effective date: 20121213

R150 Certificate of patent or registration of utility model

Ref document number: 5168666

Country of ref document: JP

Free format text: JAPANESE INTERMEDIATE CODE: R150

R250 Receipt of annual fees

Free format text: JAPANESE INTERMEDIATE CODE: R250

R250 Receipt of annual fees

Free format text: JAPANESE INTERMEDIATE CODE: R250

R250 Receipt of annual fees

Free format text: JAPANESE INTERMEDIATE CODE: R250

R250 Receipt of annual fees

Free format text: JAPANESE INTERMEDIATE CODE: R250

R250 Receipt of annual fees

Free format text: JAPANESE INTERMEDIATE CODE: R250

R250 Receipt of annual fees

Free format text: JAPANESE INTERMEDIATE CODE: R250

R250 Receipt of annual fees

Free format text: JAPANESE INTERMEDIATE CODE: R250

R250 Receipt of annual fees

Free format text: JAPANESE INTERMEDIATE CODE: R250

R250 Receipt of annual fees

Free format text: JAPANESE INTERMEDIATE CODE: R250

R250 Receipt of annual fees

Free format text: JAPANESE INTERMEDIATE CODE: R250

R250 Receipt of annual fees

Free format text: JAPANESE INTERMEDIATE CODE: R250